EP0384146A2 - Positive Urform zur galvanoplastischen Abformung von Metallfolien - Google Patents

Positive Urform zur galvanoplastischen Abformung von Metallfolien Download PDF

Info

Publication number
EP0384146A2
EP0384146A2 EP90101441A EP90101441A EP0384146A2 EP 0384146 A2 EP0384146 A2 EP 0384146A2 EP 90101441 A EP90101441 A EP 90101441A EP 90101441 A EP90101441 A EP 90101441A EP 0384146 A2 EP0384146 A2 EP 0384146A2
Authority
EP
European Patent Office
Prior art keywords
layer
metal foil
galvanoplastic
roughened
master mold
Prior art date
Legal status (The legal status is an assumption and is not a legal conclusion. Google has not performed a legal analysis and makes no representation as to the accuracy of the status listed.)
Granted
Application number
EP90101441A
Other languages
English (en)
French (fr)
Other versions
EP0384146B1 (de
EP0384146A3 (de
Inventor
Arno Wirz
Hans-Jürgen Beck
Current Assignee (The listed assignees may be inaccurate. Google has not performed a legal analysis and makes no representation or warranty as to the accuracy of the list.)
Heidelberger Druckmaschinen AG
Original Assignee
Heidelberger Druckmaschinen AG
Priority date (The priority date is an assumption and is not a legal conclusion. Google has not performed a legal analysis and makes no representation as to the accuracy of the date listed.)
Filing date
Publication date
Application filed by Heidelberger Druckmaschinen AG filed Critical Heidelberger Druckmaschinen AG
Publication of EP0384146A2 publication Critical patent/EP0384146A2/de
Publication of EP0384146A3 publication Critical patent/EP0384146A3/de
Application granted granted Critical
Publication of EP0384146B1 publication Critical patent/EP0384146B1/de
Anticipated expiration legal-status Critical
Expired - Lifetime legal-status Critical Current

Links

Images

Classifications

    • BPERFORMING OPERATIONS; TRANSPORTING
    • B41PRINTING; LINING MACHINES; TYPEWRITERS; STAMPS
    • B41NPRINTING PLATES OR FOILS; MATERIALS FOR SURFACES USED IN PRINTING MACHINES FOR PRINTING, INKING, DAMPING, OR THE LIKE; PREPARING SUCH SURFACES FOR USE AND CONSERVING THEM
    • B41N7/00Shells for rollers of printing machines
    • BPERFORMING OPERATIONS; TRANSPORTING
    • B41PRINTING; LINING MACHINES; TYPEWRITERS; STAMPS
    • B41FPRINTING MACHINES OR PRESSES
    • B41F22/00Means preventing smudging of machine parts or printed articles
    • BPERFORMING OPERATIONS; TRANSPORTING
    • B41PRINTING; LINING MACHINES; TYPEWRITERS; STAMPS
    • B41NPRINTING PLATES OR FOILS; MATERIALS FOR SURFACES USED IN PRINTING MACHINES FOR PRINTING, INKING, DAMPING, OR THE LIKE; PREPARING SUCH SURFACES FOR USE AND CONSERVING THEM
    • B41N2207/00Location or type of the layers in shells for rollers of printing machines
    • B41N2207/02Top layers
    • BPERFORMING OPERATIONS; TRANSPORTING
    • B41PRINTING; LINING MACHINES; TYPEWRITERS; STAMPS
    • B41NPRINTING PLATES OR FOILS; MATERIALS FOR SURFACES USED IN PRINTING MACHINES FOR PRINTING, INKING, DAMPING, OR THE LIKE; PREPARING SUCH SURFACES FOR USE AND CONSERVING THEM
    • B41N2207/00Location or type of the layers in shells for rollers of printing machines
    • B41N2207/10Location or type of the layers in shells for rollers of printing machines characterised by inorganic compounds, e.g. pigments
    • YGENERAL TAGGING OF NEW TECHNOLOGICAL DEVELOPMENTS; GENERAL TAGGING OF CROSS-SECTIONAL TECHNOLOGIES SPANNING OVER SEVERAL SECTIONS OF THE IPC; TECHNICAL SUBJECTS COVERED BY FORMER USPC CROSS-REFERENCE ART COLLECTIONS [XRACs] AND DIGESTS
    • Y10TECHNICAL SUBJECTS COVERED BY FORMER USPC
    • Y10TTECHNICAL SUBJECTS COVERED BY FORMER US CLASSIFICATION
    • Y10T428/00Stock material or miscellaneous articles
    • Y10T428/12All metal or with adjacent metals
    • Y10T428/12389All metal or with adjacent metals having variation in thickness
    • YGENERAL TAGGING OF NEW TECHNOLOGICAL DEVELOPMENTS; GENERAL TAGGING OF CROSS-SECTIONAL TECHNOLOGIES SPANNING OVER SEVERAL SECTIONS OF THE IPC; TECHNICAL SUBJECTS COVERED BY FORMER USPC CROSS-REFERENCE ART COLLECTIONS [XRACs] AND DIGESTS
    • Y10TECHNICAL SUBJECTS COVERED BY FORMER USPC
    • Y10TTECHNICAL SUBJECTS COVERED BY FORMER US CLASSIFICATION
    • Y10T428/00Stock material or miscellaneous articles
    • Y10T428/12All metal or with adjacent metals
    • Y10T428/12431Foil or filament smaller than 6 mils
    • YGENERAL TAGGING OF NEW TECHNOLOGICAL DEVELOPMENTS; GENERAL TAGGING OF CROSS-SECTIONAL TECHNOLOGIES SPANNING OVER SEVERAL SECTIONS OF THE IPC; TECHNICAL SUBJECTS COVERED BY FORMER USPC CROSS-REFERENCE ART COLLECTIONS [XRACs] AND DIGESTS
    • Y10TECHNICAL SUBJECTS COVERED BY FORMER USPC
    • Y10TTECHNICAL SUBJECTS COVERED BY FORMER US CLASSIFICATION
    • Y10T428/00Stock material or miscellaneous articles
    • Y10T428/12All metal or with adjacent metals
    • Y10T428/12993Surface feature [e.g., rough, mirror]

Definitions

  • the invention relates to a metal foil produced from a master mold by means of galvanoplastic molding as an elevator for sheet-guiding cylinders and / or drums of rotary printing presses, one surface of which is smooth and the opposite surface of which is surface-structured.
  • the known metal foils of this type preferably consist of solid nickel and have a surface structure which essentially corresponds to the glass bead cloth which is also known for the same purposes.
  • An advantage of these metal foils is the fact that the surface structure is largely reproducible. This is important for speedy use in printing operations, for example for the control-free exchange of a damaged metal foil for a new one.
  • a disadvantage of these metal foils is that there is no optimal surface topography with regard to various work requirements.
  • EP-PS 17 776 in which the sheet-guiding film as a lift for impression cylinders of rotary printing presses for perfecting is made smooth on one surface and distributed statistically uniformly on the opposite surface.
  • the spherical caps are of the same height and in which the film is formed by a support layer and a cover layer, the supports layer of nickel or plastic with a high modulus of elasticity, for example polyamide or PVC, with a thin chrome layer which compensates for its micro-roughness and is applied as a cover layer on the spherical cap side. The compensation of only the micro roughness does not change the intended, very uniform spherical cap topography of the surface.
  • DE-PS 12 58 873 proposes surface structures of a impression cylinder or an aluminum foil to be assigned to it, which is designed as a chrome surface with a roughness (RMS) of between 2 and 7.5 ⁇ m.
  • RMS roughness
  • this compromise is not optimally achieved.
  • this solution has the disadvantage that it is not reproducible with regard to the surface structure. Even if one reproduces the roughness dimension (viewed on average over the entire film) with an acceptable tolerance, the overall surface structure of each film differs very significantly from the other film or each cylinder surface from the next cylinder surface. The reproducible blasting treatment of such thin aluminum foils is also problematic, as is their stability in use. All previously known products with a blasted surface are therefore unique.
  • the object of the present invention is to design a generic metal foil in such a way that with optimal adaptation of the surface structure to the functional conditions of the The reproducibility of the film is always identical.
  • a metal foil is provided as an elevator for sheet-guiding cylinders and / or drums of rotary printing presses, the surface structure of which basically represents the duplicate of a surface produced by beam roughening (and then freed from undercuts), and on the one hand is clearly highly reproducible at all times and on the other hand optimal Bring conditions to prevent smearing.
  • the structure of a beam-roughened and correspondingly leveled surface offers the most favorable compromise, both directly (as a positive profile) and with its negative profile, in particular with regard to the proportion of load, washability of the metal foil and prevention of smearing. All together brings optimal conditions of use.
  • the essence of the invention is the realization that this optimization can be achieved if the roughness elevations of a surface (the original form) produced by blasting are leveled and thereby freed from any undercuts, so that the finished metal foil can have no depressions expand towards the depth or no increases with an overhang.
  • the blasting treatment for roughening the top of the master mold can be carried out by known blowing or blasting methods, for example by shot peening.
  • the surface created in this regard can also be equipped with a chrome layer - also to stabilize and extend the service life. Such a chrome layer, applied to a surface topography generated by radiation and then galvanically leveled, further improves the surface compensation because, for example, because of the lack of undercuts, there are no electrolytically preferred edges / tips etc.
  • the corresponding metal foil can also be used as a covering for the printing cylinder of a rotary printing press.
  • the crests are ideally suited to increase the coefficient of friction of the cylinder surface, so that the paper tensile forces for the grippers can be smaller; pulling the sheet out of the grippers is still prevented.
  • the design of the domes can be adapted to the respective application (first transfer cylinder, third transfer cylinder, pressure cylinder, delivery drum or the like). Despite the relatively thin structure, the design is very durable. The surface in contact with the arch is also easy to clean. The flattened flanks of the ridges avoid nests for paint accumulation or residues of any cleaning agent.
  • the respective blasting process for roughening the top of the master mold enables a far-reaching adaptation to the later intended use of the metal foil to be achieved than was previously possible with the metal foils that were previously electroplated in spherical cap structure. Because of the optimal load-bearing components that such a topography entails, such a metal foil is also ideally suited for making a very fine adjustment to different paper thicknesses on a cylinder by placing the foil underneath.
  • Fig. 1, 1 denotes a section of the top of the master form as a partial cross-sectional view.
  • this archetype can have the shape of a cylinder, which is preferably made of aluminum. It has the upper side O, which is surface-structured, the surface structure being achieved by blasting, for example shot peening, so that the elevations 2 with the undercuts 2 'and the depressions 3 have been created.
  • This structured surface is then electroplated with a chrome layer 4.
  • the chrome layer 4 changes at the points 4 ', that is, in front of exposed points of the elevations 2, the topography of the surface, for example at 4 ⁇ , but more so that the undercuts increase.
  • undercuts are the reason why the beam-roughened surface appears in many respects to be less favorable than, for example, a spherical cap topography. If the undercuts are removed, the beam-roughened surface has been found to be superior to all other surface structures, as was found.
  • This chrome layer 4 is then covered with a bright nickel layer 5. This completely flattens the surface and in particular the flanks of the chrome-layered elevations / depressions, so that there are no longer any undercuts / undercuts, be it the undercuts from the blasting treatment or those from the galvanic application of the chrome layer 4.
  • the leveling electroplating layer 5 (bright nickel layer ) generated top of the original form 1 is now used for the galvanoplastic impression of the Metal foil 7 according to FIG. 2.
  • Its material preferably consists of nickel. Your side coming into contact with the arch has the negative profile of the structural profile generated by blasting, but without any overhangs on the flanks 8 of its elevations 9, which not only optimizes them in terms of printing function, but also improves them in terms of cleaning technology and avoids nests for long-term corrosion .
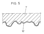
  • This metal foil 7 can be directly the metal foil according to the invention or the negative form N for producing a metal foil 7 ', shown in Fig. 3.
  • Both the metal foil 7 and 7' are always material-homogeneous duplicates of the corresponding original mold surface, whereby for the positive version according to 7 ', it is very important that the differently high contact surfaces (mountain peaks) are provided relatively widely and can be influenced with regard to their position and formation, the factors of material homogeneity and the lack of any undercuts to these together contribute to the optimization of use.
  • the metal foil 7 can still be coated with a thin chrome layer 10 after the electroplating, which not only optimizes the stability but also the lubrication-preventing behavior.
  • the metal foil 7 ' so in which the positive profile of the original form is equipped with this thin chrome layer 10'.
  • the thickness of the chrome layer 4 is preferably 40-50 mü, that of the bright nickel layer at 10-15 mü.

Landscapes

  • Printing Plates And Materials Therefor (AREA)
  • Electroplating Methods And Accessories (AREA)
  • Laminated Bodies (AREA)
  • Laser Beam Processing (AREA)
  • Supply, Installation And Extraction Of Printed Sheets Or Plates (AREA)
  • Rotary Presses (AREA)
  • Electroplating And Plating Baths Therefor (AREA)
  • Adhesives Or Adhesive Processes (AREA)
  • Breeding Of Plants And Reproduction By Means Of Culturing (AREA)
  • Manufacture Or Reproduction Of Printing Formes (AREA)
  • Moulds For Moulding Plastics Or The Like (AREA)
  • Treatments Of Macromolecular Shaped Articles (AREA)

Abstract

Eine Metallfolie als Aufzug für bogenführende Zylinder und/oder Trommeln von Rotationsdruckmaschinen wird von einer Urform im Wege der galvanoplastischen Abformung hergestellt. Die eine Fläche der Metallfolie ist glatt und die gegenüberliegende Fläche oberflächenstruckturiert ausgeführt. Ziel der Erfindung ist, diese Metallfolie so auszugestalten, daß bei optimaler Anpassung der Oberflächenstruktur an die Funktionsbedingungen der Folie eine stets identische Reproduzierbarkeit derselben gegeben ist. Gelöst wird diese Aufgabe dadurch, daß die Oberflächenstruktur der Metallfolie einer durch Strahlbehandlung gerauhten und zur Eliminierung von Hinterschnitten mit einer einebnende Galvanoschicht, z. B. einer Glanznickelschicht, überzogenen Oberseite der Urform entspricht.

Description

  • Die Erfindung betrifft eine von einer Urform im Wege der galvanoplastischen Abformung hergestellte Metallfolie als Aufzug für bogenführende Zylinder und/oder Trommeln von Rotationsdruckmaschinen, deren eine Fläche glatt und deren gegenüberliegende Fläche oberflächenstrukturiert ist.
  • Die bekannten Metallfolien dieser Art (DE-AS 26 05 330) bestehen vorzugsweise aus massivem Nickel und besitzen eine Oberflächenstruktur, die im wesentlichen dem für gleiche Zwecke ebenfalls vorbekannten Glasperlentuch entspricht. Dies resultiert daraus, daß die galvanoplastische Abformung der Metallfolien von einer Negativform erfolgt, die ihrer­seits von einer positivform Urform abgeformt ist, welche aus einer Trägerfolie mit aufgebrachter Gummischicht besteht, in die teilweise aus der Oberfläche herausragend Glaskugeln eingebettet sind. Vorteilhaft an diesen Metallfolien ist die Tatsache, daß die Oberflächenstruktur weitgehend reproduzier­bar ist. Das ist wichtig für den zügigen Einsatz im Druckbe­trieb, beispielsweise für den kontrollfreien Austausch einer beschädigten Metallfolie gegen eine neue. Nachteilig an diesen Metallfolien ist jedoch, daß keine optimale Oberflä­chen-Topographie im Hinblick auf verschiedene Arbeitsanforde­rungen vorliegt.
  • Die gleichen Nachteile treten bei einer anderen vorbekannten Lösung auf (EP-PS 17 776), bei denen die bogenführende Folie als Aufzug für Gegendruckzylinder von Rotationsdruckmaschi­nen für Schön- und Widerdruck auf der einen Fläche glatt ausgebildet und auf der gegenüberliegenden Fläche mit stati­stisch gleichmäßig verteilten, gleich hohen Kugelkalotten versehen ist und bei welcher die Folie von einer Träger­schicht und einer Deckschicht gebildet wird, die Träger­ schicht aus Nickel oder Kunststoff mit hohem Elastizitätsmo­dul, z.B. Polyamid oder PVC, besteht, wobei auf die Kugelka­lotten-Seite eine deren Mikrorauheit ausgleichende, dünne Chromschicht als Deckschicht aufgebracht ist. Der Ausgleich nur der Mikrorauheit verändert die beabsichtigte, sehr gleichmäßige Kugelkalotten-Topographie der Oberfläche nicht.
  • Im Hinblick auf einen über die Rauhheit zu erreichenden Kompromiß schlägt die DE-PS 12 58 873 Oberflächenstrukturen eines Gegendruckzylinders bzw. einer diesem zuzuordnenden Aluminiumfolie vor, die als Chromoberfläche mit einer Rauh­heit (RMS) zwischen 2 und 7,5 mü gestaltet ist. Dadurch sollten zwei Grenzbedingungen im Kompromiß optimal er­füllt werden, nämlich, daß die Rauhheit einerseits genügend groß ist, um einen gewissen (dort behaupteten) Farb-Abstoßef­fekt zu verwirklichen, beispielsweise um ein Schmieren des frisch bedruckten Bogens an seiner Rückseite beim Widerdruck zu verhindern, andererseits die Rauhheit aber auch so klein wie möglich sei, um den optimalen Traganteil für die Auflage­fläche des Bogens sicherzustellen. Einerseits wird dieser Kompromiß, wie gefunden wurde, nicht optimal erreicht. Ande­rerseits ist an dieser Lösung nachteilig, daß sie hinsicht­lich der Oberflächenstruktur nicht reproduzierbar ist. Selbst wenn man die Bemessung der Rauhheit (im entsprechen­den Mittel über die gesamte Folie betrachtet) mit vertretba­rer Toleranz reproduziert, so weicht die Oberflächenstruktur insgesamt jeder Folie wieder sehr erheblich von der anderen Folie bzw. jede Zylinderoberfläche von der nächsten Zylinder­oberfläche ab. Auch ist die reproduzierbare Strahlbehandlung solcher dünnen Aluminiumfolien problematisch, ferner deren Benutzungsstabilität. Alle diesbezüglich vorbekannten Produk­te mit strahlgerauhter Oberfläche stellen demgemäß Unikate dar.
  • Aufgabe der vorliegenden Erfindung ist es, eine gattungsgemä­ße Metallfolie so auszugestalten, daß bei optimaler Anpas­sung der Oberflächenstruktur an die Funktionsbedingungen der Folie eine stets identische Reproduzierbarkeit derselben gegeben ist.
  • Erreicht ist dies gemäß der Erfindung entweder dadurch, daß die Oberflächenstruktur der Metallfolie einer durch Strahlbe­handlung gerauhten und zur Eliminierung von Hinterschnitten mit einer einebnenden Galvano-Schicht, z.B. Glanznickel­schicht, überzogenen Oberseite der Urform entspricht oder dadurch, daß die Metallfolie von der durch Strahlbehandlung gerauhten und zur Eliminierung von Hinterschnitten mit einer einebnenden Galvano-Schicht z. B. einer Glanznickelschicht, überzogenen Oberseite der Urform abgeformt ist.
  • Zufolge dieser Ausgestaltung ist eine Metallfolie als Aufzug für bogenführende Zylinder und/oder Trommeln von Rotations­druckmaschinen gegeben, deren Oberflächenstruktur grundsätz­lich das Duplikat einer durch Strahlrauhung erzeugten (und danach von Hinterschnitten befreiten) Oberfläche darstellt, und dadurch einerseits jederzeit eindeutig höchstgradig genau reproduzierbar ist und andererseits optimale Bedingun­gen bezüglich einer Abschmierverhinderung bringt. Diesbezüg­lich wurde gefunden, daß die Struktur einer strahlgerauhten und entsprechend eingeebneten Fläche sowohl direkt (als Positiv-Profil) wie auch mit deren Negativ-Profil den gün­stigsten Kompromiss bietet, insbesondere hinsichtlich Tragan­teil, Waschbarkeit der Metallfolie und der Abschmierverhinde­rung. Alles zusammen bringt optimale Benutzungsbedingungen. Dabei ist das Wesentliche der Erfindung die Erkenntnis, daß man diese Optimierung erreicht, wenn man die durch Strahlbe­handlung erzeugten Rauhigkeiterhebungen einer Oberfläche (der Urform) einebnet und dabei von allen etwaigen Hinter­schnitten befreit, so daß also die abgeformte fertige Metall­folie keine Vertiefungen besitzen kann, die sich zur Tiefe hin erweitern bzw. keine Erhöhungen mit einem Überhang. Die Strahlbehandlung zur Rauhung der Oberseite der Urform kann durch bekannte Blas- oder Strahl-Verfahren erfolgen, z.B. durch Kugelstrahlen. Die diesbezüglich erzeugte Oberfläche kann zusätzlich - auch zur Stabilisierung und Verlängerung der Lebensdauer- mit einer Chromschicht ausgestattet sein. Eine solche Chromschicht, aufgebracht auf eine durch Strah­lung erzeugte und dann galvanisch eingeebnete Oberflächen-­Topographie, verbessert den Oberflächenausgleich noch wei­ter, weil z.B. wegen der fehlenden Hinterschneidungen keine elektrolytisch bevorzugten Kanten/Spitzen etc. vorliegen. Die entsprechende Metallfolie kann auch als Bespannung für den Druckzylinder einer Rotationsdruckmaschine eingesetzt werden. Dabei sind die Kuppen bestens geeignet, den Reibwert der Zylinderoberfläche zu erhöhen, so daß die Papierzugkräf­te für die Greifer geringer bemessen sein können; ein Heraus­ziehen des Bogens aus den Greifern ist dann trotzdem verhin­dert. Die Ausbildung der Kuppeln (spitz oder flach, hoher oder geringer Traganteil) kann dem jeweiligen Anwendungsfall (erster Umführzylinder, dritter Umführzylinder, Druckzylin­der, Auslagetrommel oder dergleichen) angepaßt werden. Trotz relativ dünner Struktur ergibt sich eine sehr haltbare Bau­form. Die bogenberührende Oberfläche ist auch reinigungsopti­mal. Die eingeebneten Flanken der Erhöhungen vermeiden Ne­ster zur Farbansammlung bzw. Resten eines etwaigen Reini­gungsmittels. Über das jeweilige Strahlverfahren zur Rauhung der Oberseite der Urform kann eine wesentlich weitergehende Anpassung an den späteren Einsatzzweck der Metallfolie errei­cht werden, als dies bei den bis dahin in Kugelkalotten-­Struktur galvanisch abgeformten Metallfolien möglich war. Wegen der optimalen Traganteile, die eine solche Toprgraphie mit sich bringt, ist eine solche Metallfolie auch bestens geeignet, um auf einem Zylinder durch Unterlegen der Folie eine sehr feine Anpassung an unterschiedliche Papierstärken vorzunehmen. Es ergibt sich, wie gefunden wurde, wegen der speziellen Bedingungen bezüglich Traganteil der Fläche, Tragflächengestalt, Material, Verteilung der Traganteile, Höhendifferenz und deren Verteilung, Gestalt der Kuppen und Tälern, insbesondere deren Flanken, eine Lösung, die einsatz­technisch sowohl den mikrogeglätteten, gleichhohen und gleichmäßig verteilten Kugelkalotten überlegen ist als auch den strahlgerauhten (plus verchromten) Zylinderflächen (mit Hinterschneidungs-Nestern). Durch die Bemessung der aufzu­bringenden Glanznickel-Masse ergibt sich dabei noch eine gute Möglichkeit, die obigen Faktoren zu beeinflussen.
  • Der Gegenstand der Erfindung ist auf der beiliegenden Zeich­nung in zwei Ausführungsbeispielen skizzenmäßig dargestellt.
  • In Fig. 1 bezeichnet 1 einen Ausschnitt aus der Oberseite der Urform als Teilquerschnittsdarstellung. Diese Urform kann insgesamt die Form eines Zylinders besitzen, der vor­zugsweise aus Aluminium besteht. Er weist die Oberseite O auf, welche oberflächenstrukturiert ist, wobei die Oberflä­chenstruktur durch Strahlbehandlung, z.B. Kugelstrahlen erzielt ist, so daß die Erhebungen 2 mit den Hinterschneid­ungen 2′ und die Vertiefungen 3 entstanden sind. Diese struk­turierte Oberfläche wird anschließend galvanisch mit einer Chromschicht 4 überzogen. Wie erkennbar, verändert die Chrom­schicht 4 an den Stellen 4′, also vor exponierten Punkten der Erhöhungen 2 die Topographie der Oberfläche, z.B. bei 4˝, jedoch mehr so, daß die Hinterschneidungen sich vergrö­ßern. Es ist ein wesentliches Element der Erfindung, erkannt zu haben, daß solche Hinterschneidungen die Ursache dafür sind, daß die strahlgerauhte Oberfläche in vieler Hinsicht ungünstiger erscheint als z.B. eine Kugelkalotten-Topogra­phie. Beseitigt man die Hinterschneidungen, erweist sich - wie gefunden wurde - die strahlgerauhte Fläche allen anderen Oberfläche-Strukturen gegenüber überlegen. Diese Chrom­schicht 4 wird anschließend mit einer Glanznickelschicht 5 überdeckt. Diese ebnet die Oberfläche und insbesondere die Flanken der chromschichtüberdeckten Erhebungen/Vertiefungen völlig ein, so daß keinerlei Hinterschnitte/Hinterschneidun­gen mehr auftreten, seien es die Hinterschneidungen aus der Strahlbehandlung oder solche aus dem galvanischen Aufbringen der Chromschicht 4. Diese durch die einebnende Galvano­schicht 5 (Glanznickelschicht) erzeugte Oberseite der Urform 1 wird nun benutzt zur galvanoplastischen Abformung der Metallfolie 7 gemäß Fig. 2. Deren Material besteht vorzugs­weise aus Nickel. Ihre mit dem Bogen in Berührung tretende Seite besitzt dabei das Negativ-Profil des durch Strahlbe­handlung erzeugten Strukturprofiles, dies jedoch ohne jegli­che Überhänge an den Flanken 8 ihrer Erhebungen 9, was sie nicht nur druckfunktionstechnisch optimiert, sondern auch reinigungstechnisch verbessert und Nester zur langfristigen Korrosion vermeidet. Diese Metallfolie 7 kann unmittelbar die erfindungsgemäße Metall-Folie sein oder die Negativ-Form N zur Herstellung einer Metallfolie 7′, dargestellt in Fig. 3. Sowohl bei der Metallfolie 7 wie 7′ handelt es sich stets um materialhomogene Duplikate der entsprechenden Urformober­fläche, wobei für die Positiv-Version gemäß 7′ sehr wichtig ist, daß die unterschiedlich hohen Auflageflächen (Bergspitzen) relativ weit verstreut vorgesehen und hinsicht­lich ihrer Lage und Ausbildung beeinflußbar sind, wobei die Faktoren der Materialhomogenität und das Fehlen jegliche Hinterschneidungen an diesen gemeinsam zur Benutzungsoptimie­rung beitragen.
  • Wie aus Fig. 4 ersichtlich, kann die Metallfolie 7 nach der galvanischen Abformung noch mit einer dünnen Chromschicht 10 überzogen sein, was nicht nur die Stabilität, sondern auch das abschmierverhindernde Verhalten optimiert. Das gleiche gilt, wie in Fig. 5 dargestellt, für die Metallfolie 7′, bei der also das Positiv-Profil der Urform mit dieser dünnen Chromschicht 10′ ausgestattet ist.
  • Jedesmal liegt eine Rauhigkeitsstruktur vor, bei welcher die Oberflächenstruktur einschließlich der Flanken der durch Strahlbehandlung erzeugten Rauhigkeitserhebungen eingeebnet ist. Die Rauhigkeit liegt bei 30 - 60 Rz; der Traganteil TP ist in den einzelnen Tiefen:
    TP bei Tiefe von 10.0 mü = 15 %
    TP bei Tiefe von 20.0 mü = 50 %
    TP bei Tiefe von 30.0 mü = 84 %
  • Die Dicke der Chromschicht 4 liegt vorzugsweise bei 40-50 mü, diejenige der Glanznickelschicht bei 10-15 mü. Die Dicke der Chromschicht 10 bzw. 10′ liegt bei 10 mü.
  • Alle in der Beschreibung erwähnten und in der Zeichnung dargestellten neuen Merkmale sind erfindungswesentlich, auch soweit sie in den Ansprüchen nicht ausdrücklich beansprucht sind.

Claims (5)

1. Von einer Urform unter Zwischenschaltung einer Negativ­form im Wege der galvanoplastischen Abformung hergestellte Metallfolie als Aufzug für bogenführende Zylinder und/oder Trommeln von Rotationsdruckmaschinen, deren eine Fläche glatt und deren gegenüberliegende Fläche entsprechend der Urform-Oberseite oberflächenstrukturiert ist,
dadurch gekennzeichnet,
daß die Oberflächenstruktur der Metallfolie (7) einer durch Strahlbehandlung gerauhten und zur Eliminierung von Hinter­schnitten (2′) mit einer einebnenden Galvano-Schicht (5) z. B. einer Glanznickelschicht, überzogenen Oberseite (O) der Urform (1) entspricht.
2. Von einer Urform im Wege der galvanoplastischen Abformung hergestellte Metallfolie als Aufzug für bogenführende Zylin­der und/oder Trommeln von Rotationsdruckmaschinen, deren eine Fläche glatt und deren gegenüberliegende Fläche oberflä­chenstrukturiert ist,
dadurch gekennzeichnung,
daß die Metallfolie (7) von einer durch Strahlbehandlung ge­rauhten und zur Eliminierung von Hinterschnitten (2′) mit einer einebnenden Galvano-Schicht (5) z. B. einer Glanznik­kelschicht, überzogenen Oberseite (O) der Urform (1) abge­formt ist.
3. Metallfolie nach Anspruch 1,
dadurch gekennzeichnet,
daß die strukturierte Fläche der aus Nickel bestehenden Metallfolie (7) nach dem Abformen mit einer dünnen Chrom­schicht (10) überzogen ist.
4. Zur galvanoplastischen Metallfolien-Herstellung dienende positive Urform, die zur galvanoplastischen Erzeugung einer aus Träger- und Deckschicht bestehenden Metallfolie dient, wobei eine Fläche der aus Nickel geformten Trägerschicht glatt ausgebildet und die gegenüberliegende Fläche struktu­riert ist und wobei die aus Chrom bestehende Deckschicht die strukturierte Fläche abdeckt,
dadurch gekennzeichnet,
daß die für die galvanoplastische Abformung vorgesehene Fläche der positiven Urform (1) unter Einsatz eines Blas- bzw. Strahlverfahrens aufgerauht ist und die aufgerauhte Fläche (bzw. aufgerauhte und dann verchromte Fläche) mit einer einebnenden galvanischen Schicht (5) überzogen ist.
5) Positive Urform gemäß Anspruch 4, dadurch gekennzeichnet, daß die durch Strahlung erzielte Rauhigkeit zwischen 30 und 50 Rz liegt und die Traganteile Nach Aufbringen der Chrom­schicht (4) und der Glanznickelschicht (5) von etwa 15% bei einer Tiefe von 10 mü ansteigt auf etwa 85% bei einer Tiefe von 30 mü.
EP90101441A 1989-02-24 1990-01-25 Positive Urform zur galvanoplastischen Abformung von Metallfolien Expired - Lifetime EP0384146B1 (de)

Applications Claiming Priority (3)

Application Number Priority Date Filing Date Title
DE3905679 1989-02-24
DE3905679A DE3905679A1 (de) 1989-02-24 1989-02-24 Metallfolie als aufzug fuer bogenfuehrende zylinder und/oder trommeln an rotationsdruckmaschinen
SG160394A SG160394G (en) 1989-02-24 1994-11-04 Positive original template for galvanoplastic shape of metallic foils

Publications (3)

Publication Number Publication Date
EP0384146A2 true EP0384146A2 (de) 1990-08-29
EP0384146A3 EP0384146A3 (de) 1991-07-10
EP0384146B1 EP0384146B1 (de) 1994-07-13

Family

ID=25878120

Family Applications (1)

Application Number Title Priority Date Filing Date
EP90101441A Expired - Lifetime EP0384146B1 (de) 1989-02-24 1990-01-25 Positive Urform zur galvanoplastischen Abformung von Metallfolien

Country Status (10)

Country Link
US (1) US5102744A (de)
EP (1) EP0384146B1 (de)
JP (1) JPH0794193B2 (de)
AT (1) ATE108374T1 (de)
AU (1) AU626978B2 (de)
CA (1) CA2008575A1 (de)
DE (2) DE3905679A1 (de)
ES (1) ES2058615T3 (de)
HK (1) HK21195A (de)
SG (1) SG160394G (de)

Cited By (1)

* Cited by examiner, † Cited by third party
Publication number Priority date Publication date Assignee Title
EP1040921A1 (de) * 1999-03-27 2000-10-04 Koenig & Bauer Aktiengesellschaft Oberfläche für Maschinenteile in Druckmaschinen

Families Citing this family (7)

* Cited by examiner, † Cited by third party
Publication number Priority date Publication date Assignee Title
DE19515394C1 (de) * 1995-04-26 1996-05-23 Roland Man Druckmasch Verfahren zur Herstellung einer Oberflächenstruktur und dessen Anwendung, vorzugsweise für einen Druckmaschinenzylinder
AU2001296868A1 (en) 2000-09-11 2002-03-26 Allison Advanced Development Company Mechanically grooved sheet and method of manufacture
US6811863B2 (en) 2001-07-20 2004-11-02 Brite Ideas, Inc. Anti-marking coverings for printing presses
CA2651816C (en) 2006-05-12 2016-02-02 Printguard, Inc. Fixture for anti-marking coverings for printing presses
ATE473870T1 (de) * 2006-07-17 2010-07-15 Heidelberger Druckmasch Ag Verfahren zum herstellen einer strukturierten, drucktechnischen oberfläche
US20090277677A1 (en) * 2008-05-12 2009-11-12 Occam Portfolio Llc Electronic Assemblies without Solder and Method for their Design, Prototyping, and Manufacture
US8462391B2 (en) * 2009-03-13 2013-06-11 Heidelberger Druckmaschinen Ag Method for producing a pseudo-stochastic master surface, master surface, method for producing a cylinder cover, cylinder cover, machine processing printing material, method for producing printed products and method for microstamping printing products

Family Cites Families (23)

* Cited by examiner, † Cited by third party
Publication number Priority date Publication date Assignee Title
US1789273A (en) * 1929-11-04 1931-01-13 Stanley Works Process of ornamenting strip metal
US2020177A (en) * 1933-11-03 1935-11-05 Leo E Grove Method of manufacturing slip sheets
DE639956C (de) * 1934-08-28 1936-12-16 Original Checko G M B H Einlegeblatt fuer Schreibmaschinen u. dgl. zum Erzielen nicht radierbarer Schrift
FR956760A (de) * 1943-04-19 1950-02-07
US2991544A (en) * 1957-05-07 1961-07-11 American Can Co Bright surfaced metal sheets and method of producing same
US3161130A (en) * 1963-05-27 1964-12-15 Miller Printing Machinery Co Printing apparatus
US3398442A (en) * 1965-03-04 1968-08-27 Gar Prec Products Inc Metal abrasive sheet and a method of making same
US3556874A (en) * 1967-08-01 1971-01-19 Republic Steel Corp Metal articles with controlled finish
US3649474A (en) * 1969-12-05 1972-03-14 Johns Manville Electroforming process
CH591570A5 (de) * 1972-11-28 1977-09-30 Buser Ag Maschf Fritz
DE2446188C3 (de) * 1974-09-27 1983-11-24 Heidelberger Druckmaschinen Ag, 6900 Heidelberg Bogenführende Mantelfläche von Gegendruckzylindern oder Bogenüberführungszylindern in Rotationsoffsetdruckmaschinen
CH578940A5 (de) * 1975-02-14 1976-08-31 Von Roll Ag
US4088544A (en) * 1976-04-19 1978-05-09 Hutkin Irving J Composite and method for making thin copper foil
CH620863A5 (en) * 1977-06-24 1980-12-31 Von Roll Ag Metal foil with sheet-bearing surface
DD136480A1 (de) * 1978-05-26 1979-07-11 Herbert Patzelt Ein-oder mehrschichtiger mantel fuer bogenfuehrende zylinder
DE2916505A1 (de) * 1979-04-24 1980-10-30 Heidelberger Druckmasch Ag Bogenfuehrende folie als aufzug fuer gegendruckzylinder
EP0036316B1 (de) * 1980-03-17 1986-03-05 Nippon Paint Co., Ltd. Lithographische Druckplatte
GB2081178A (en) * 1980-07-29 1982-02-17 Heidelberger Druckmasch Ag Sheet-guiding Foil as a Dressing for Back Pressure Cylinders
JPS5825592A (ja) * 1981-08-06 1983-02-15 Masao Umehara 重力による落下の衝撃力を取り出す装置
US4735883A (en) * 1985-04-06 1988-04-05 Canon Kabushiki Kaisha Surface treated metal member, preparation method thereof and photoconductive member by use thereof
DE3537483C1 (de) * 1985-10-22 1986-12-04 Kernforschungszentrum Karlsruhe Gmbh, 7500 Karlsruhe Verfahren zum Herstellen einer Vielzahl plattenfoermiger Mikrostrukturkoerper aus Metall
US4775599A (en) * 1985-12-24 1988-10-04 Kawasaki Steel Corporation Cold rolled steel sheets having an improved press formability
DE3815977A1 (de) * 1988-05-10 1989-11-30 Mtu Muenchen Gmbh Folienzwischenlage zur fuegung von reibkorrosionsgefaehrdeten maschinenbauteilen

Cited By (1)

* Cited by examiner, † Cited by third party
Publication number Priority date Publication date Assignee Title
EP1040921A1 (de) * 1999-03-27 2000-10-04 Koenig & Bauer Aktiengesellschaft Oberfläche für Maschinenteile in Druckmaschinen

Also Published As

Publication number Publication date
HK21195A (en) 1995-02-24
ES2058615T3 (es) 1994-11-01
EP0384146B1 (de) 1994-07-13
AU626978B2 (en) 1992-08-13
SG160394G (en) 1995-03-17
DE3905679A1 (de) 1990-08-30
DE59006386D1 (de) 1994-08-18
US5102744A (en) 1992-04-07
AU4879890A (en) 1990-08-30
DE3905679C2 (de) 1992-07-02
CA2008575A1 (en) 1990-08-24
JPH0794193B2 (ja) 1995-10-11
EP0384146A3 (de) 1991-07-10
JPH02276689A (ja) 1990-11-13
ATE108374T1 (de) 1994-07-15

Similar Documents

Publication Publication Date Title
EP0017776B1 (de) Bogenführende Folie als Aufzug für Gegendruckzylinder
DE2446188C3 (de) Bogenführende Mantelfläche von Gegendruckzylindern oder Bogenüberführungszylindern in Rotationsoffsetdruckmaschinen
EP0739719B1 (de) Bedruckstofführende Oberflächenstruktur, vorzugsweise für Druckmaschinenzylinder oder deren Aufzüge
DE3931479A1 (de) Bogenfuehrende folie als aufzug fuer gegendruckzylinder und bogenueberfuehrungszylinder in bogenoffsetdruckmaschinen fuer schoen- und widerdruck
DE3045322C2 (de) Verfahren zum Herstellen einer Tiefdruckform
EP1216832A1 (de) Zylindermantelprofil
DE3110842A1 (de) Rakel fuer den tiefdruck mit kunststoff-druckschichten
EP0384146B1 (de) Positive Urform zur galvanoplastischen Abformung von Metallfolien
EP0588091B1 (de) Folie als Aufzug für einen Gegendruckzylinder einer Offset-Bogen-Rotationsdruckmaschine zum Schön- und Widerdruck
DE2624930C3 (de) Raster für den Rotations-Tiefdruck
DE69703313T2 (de) Oberfläche für die Beförderung eines flüssigen, mehr oder weniger viscosen Produkts auf eine Unterlage, Herstellungsverfahren dieser Oberfläche und aus dieser Oberfläche gebildetes Drucktuch für Offset-Druckverfahren
DE202007006656U1 (de) Tampondruckmaschine und Tampon dafür
DE2050663C3 (de) Druckzylinder für eine Stahlstichdruckmaschine und Verfahren zu dessen Herstellung
DE102008019254B4 (de) Bedruckstoff kontaktierende Fläche mit einer Oberflächenstrukturierung
EP0402377A1 (de) Verfahren zur herstellung eines mit einem prägemuster versehenen metallischen endlosbandes.
DE2605330A1 (de) Verfahren zur herstellung von bogenfuehrenden folien fuer druckmaschinen
DE3138164A1 (de) Verfahren zur herstellung eines mehrfarbigen plattenandruckes fuer fussbodendessinandrucke, dekordrucke und dgl.
DE3913818C2 (de)
DE8816141U1 (de) Mehrschichtiges Drucktuch
DE7911947U1 (de) Bogenfuehrende folie als aufzug fuer gegendruckzylinder
DE8911255U1 (de) Bogenführende Folie als Aufzug für Gegendruckzylinder und Bogenüberführungszylinder in Bogenoffsetdruckmaschinen für Schön- und Widerdruck
EP1880860B1 (de) Verfahren zum Herstellen einer strukturierten, drucktechnischen Oberfläche
DE1293174B (de) Verfahren zum Herstellen eines Summentypentraegers
DE102021004568A1 (de) Tiefdruckform für die Herstellung von Druckerzeugnissen im Tiefdruck, Vorlage und Herstellungsverfahren für eine Tiefdruckform
DE10039912A1 (de) Aufzug für einen Gegendruckzylinder

Legal Events

Date Code Title Description
PUAI Public reference made under article 153(3) epc to a published international application that has entered the european phase

Free format text: ORIGINAL CODE: 0009012

17P Request for examination filed

Effective date: 19900125

AK Designated contracting states

Kind code of ref document: A2

Designated state(s): AT CH DE ES FR GB IT LI NL SE

PUAL Search report despatched

Free format text: ORIGINAL CODE: 0009013

AK Designated contracting states

Kind code of ref document: A3

Designated state(s): AT CH DE ES FR GB IT LI NL SE

17Q First examination report despatched

Effective date: 19930618

GRAA (expected) grant

Free format text: ORIGINAL CODE: 0009210

AK Designated contracting states

Kind code of ref document: B1

Designated state(s): AT CH DE ES FR GB IT LI NL SE

REF Corresponds to:

Ref document number: 108374

Country of ref document: AT

Date of ref document: 19940715

Kind code of ref document: T

REF Corresponds to:

Ref document number: 59006386

Country of ref document: DE

Date of ref document: 19940818

ITF It: translation for a ep patent filed
GBT Gb: translation of ep patent filed (gb section 77(6)(a)/1977)

Effective date: 19940919

REG Reference to a national code

Ref country code: ES

Ref legal event code: FG2A

Ref document number: 2058615

Country of ref document: ES

Kind code of ref document: T3

ET Fr: translation filed
EAL Se: european patent in force in sweden

Ref document number: 90101441.5

PLBE No opposition filed within time limit

Free format text: ORIGINAL CODE: 0009261

STAA Information on the status of an ep patent application or granted ep patent

Free format text: STATUS: NO OPPOSITION FILED WITHIN TIME LIMIT

26N No opposition filed
PGFP Annual fee paid to national office [announced via postgrant information from national office to epo]

Ref country code: AT

Payment date: 19960111

Year of fee payment: 7

PGFP Annual fee paid to national office [announced via postgrant information from national office to epo]

Ref country code: SE

Payment date: 19960115

Year of fee payment: 7

PGFP Annual fee paid to national office [announced via postgrant information from national office to epo]

Ref country code: NL

Payment date: 19960123

Year of fee payment: 7

PGFP Annual fee paid to national office [announced via postgrant information from national office to epo]

Ref country code: ES

Payment date: 19960124

Year of fee payment: 7

PG25 Lapsed in a contracting state [announced via postgrant information from national office to epo]

Ref country code: AT

Effective date: 19970125

PG25 Lapsed in a contracting state [announced via postgrant information from national office to epo]

Ref country code: SE

Effective date: 19970126

PG25 Lapsed in a contracting state [announced via postgrant information from national office to epo]

Ref country code: ES

Free format text: LAPSE BECAUSE OF NON-PAYMENT OF DUE FEES

Effective date: 19970127

PG25 Lapsed in a contracting state [announced via postgrant information from national office to epo]

Ref country code: NL

Effective date: 19970801

NLV4 Nl: lapsed or anulled due to non-payment of the annual fee

Effective date: 19970801

EUG Se: european patent has lapsed

Ref document number: 90101441.5

REG Reference to a national code

Ref country code: ES

Ref legal event code: FD2A

Effective date: 19990201

REG Reference to a national code

Ref country code: GB

Ref legal event code: IF02

PGFP Annual fee paid to national office [announced via postgrant information from national office to epo]

Ref country code: GB

Payment date: 20061218

Year of fee payment: 18

PGFP Annual fee paid to national office [announced via postgrant information from national office to epo]

Ref country code: CH

Payment date: 20070104

Year of fee payment: 18

PGFP Annual fee paid to national office [announced via postgrant information from national office to epo]

Ref country code: FR

Payment date: 20061227

Year of fee payment: 18

PGFP Annual fee paid to national office [announced via postgrant information from national office to epo]

Ref country code: DE

Payment date: 20080218

Year of fee payment: 19

Ref country code: IT

Payment date: 20080123

Year of fee payment: 19

REG Reference to a national code

Ref country code: CH

Ref legal event code: PL

GBPC Gb: european patent ceased through non-payment of renewal fee

Effective date: 20080125

PG25 Lapsed in a contracting state [announced via postgrant information from national office to epo]

Ref country code: CH

Free format text: LAPSE BECAUSE OF NON-PAYMENT OF DUE FEES

Effective date: 20080131

Ref country code: LI

Free format text: LAPSE BECAUSE OF NON-PAYMENT OF DUE FEES

Effective date: 20080131

REG Reference to a national code

Ref country code: FR

Ref legal event code: ST

Effective date: 20081029

PG25 Lapsed in a contracting state [announced via postgrant information from national office to epo]

Ref country code: GB

Free format text: LAPSE BECAUSE OF NON-PAYMENT OF DUE FEES

Effective date: 20080125

PG25 Lapsed in a contracting state [announced via postgrant information from national office to epo]

Ref country code: FR

Free format text: LAPSE BECAUSE OF NON-PAYMENT OF DUE FEES

Effective date: 20080131

PG25 Lapsed in a contracting state [announced via postgrant information from national office to epo]

Ref country code: DE

Free format text: LAPSE BECAUSE OF NON-PAYMENT OF DUE FEES

Effective date: 20090801

PG25 Lapsed in a contracting state [announced via postgrant information from national office to epo]

Ref country code: IT

Free format text: LAPSE BECAUSE OF NON-PAYMENT OF DUE FEES

Effective date: 20090125