EP0349738B1 - Schliesszylinder - Google Patents
Schliesszylinder Download PDFInfo
- Publication number
- EP0349738B1 EP0349738B1 EP19890108681 EP89108681A EP0349738B1 EP 0349738 B1 EP0349738 B1 EP 0349738B1 EP 19890108681 EP19890108681 EP 19890108681 EP 89108681 A EP89108681 A EP 89108681A EP 0349738 B1 EP0349738 B1 EP 0349738B1
- Authority
- EP
- European Patent Office
- Prior art keywords
- coupling part
- key
- locking cylinder
- cylinder according
- locking
- Prior art date
- Legal status (The legal status is an assumption and is not a legal conclusion. Google has not performed a legal analysis and makes no representation as to the accuracy of the status listed.)
- Expired - Lifetime
Links
- 230000008878 coupling Effects 0.000 claims description 74
- 238000010168 coupling process Methods 0.000 claims description 74
- 238000005859 coupling reaction Methods 0.000 claims description 74
- 230000037431 insertion Effects 0.000 claims description 14
- 238000003780 insertion Methods 0.000 claims description 14
- 230000005540 biological transmission Effects 0.000 claims description 4
- 238000006073 displacement reaction Methods 0.000 claims description 3
- 238000010276 construction Methods 0.000 description 2
- 230000006835 compression Effects 0.000 description 1
- 238000007906 compression Methods 0.000 description 1
- 230000003993 interaction Effects 0.000 description 1
Images
Classifications
-
- E—FIXED CONSTRUCTIONS
- E05—LOCKS; KEYS; WINDOW OR DOOR FITTINGS; SAFES
- E05B—LOCKS; ACCESSORIES THEREFOR; HANDCUFFS
- E05B17/00—Accessories in connection with locks
- E05B17/04—Devices for coupling the turning cylinder of a single or a double cylinder lock with the bolt operating member
-
- E—FIXED CONSTRUCTIONS
- E05—LOCKS; KEYS; WINDOW OR DOOR FITTINGS; SAFES
- E05B—LOCKS; ACCESSORIES THEREFOR; HANDCUFFS
- E05B29/00—Cylinder locks and other locks with plate tumblers which are set by pushing the key in
- E05B29/0026—Cylinder locks and other locks with plate tumblers which are set by pushing the key in with longitudinally movable cylinder
Definitions
- the invention relates to a locking cylinder with a cylinder core rotatably mounted in a cylinder housing, in which tumblers are mounted which extend into a key channel.
- the object of the invention is to improve a lock of the type mentioned in such a way that a violent displacement of the cylinder core into the lock does not lead to engagement.
- a plate-shaped or cylindrical coupling part is mounted axially parallel to the side of the key channel and is movable in the axial direction, that the coupling part is in a first position when the key is removed, in which at least one tumbler is in the path of movement of the coupling part and a displacement of the coupling part prevents the tumblers from being moved into a position releasing the coupling part and the cylinder core by inserting the key and from being displaceable into a second position by the key of the coupling part, in which the coupling part connects the cylinder core to an important part, in particular coupled to the locking bolt or a transmission part.
- a part connected to the coupling part in particular a projection of the coupling part, extends into the key channel for displacing the coupling part.
- the part connected to the coupling part can be a spring element, in particular a leaf spring, which can be actuated by the tip or a projection of the key. This ensures that a tool inserted into the key channel cannot move the coupling part even when high force is used.
- the spring form a toggle mechanism.
- a particularly safe function is achieved when the spring is plate-shaped and in particular in two parts or consists of two plate springs.
- the coupling part forms a projection which, in the second position of the coupling part, abuts the important part when the cylinder core is rotated. Also, in the first position, the coupling part should not protrude beyond the rear end of the cylinder core, so that when the cylinder core is forcibly shifted, coupling cannot occur.
- tongue-shaped projections are formed on the tumblers, which engage in recesses in the coupling part and lock the coupling part when the key is removed.
- an element in particular a plate, is slidably mounted in the cylinder housing, which extends into the key channel and can be moved outwards against spring pressure by the key shaft and only after reaching a certain area of the key shaft with full insertion of the key allows turning the key.
- an element in particular a plate, in particular a hardened plate, is fastened transversely to the direction of key insertion and extends into the key channel in such a way that turning the key is only possible after the key has been fully inserted.
- a particularly simple and reliable construction is achieved when the coupling part is hollow cylindrical or cylindrical and coaxially surrounds the cylinder core.
- a support for the movement of the coupling part is generated when the coupling part lies against the respective tumbler via an inclined surface and when the key is removed, the inclined surface acts on the coupling part in the direction of movement towards the first position.
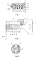
- a locking cylinder has a cylinder core 1 which is mounted in a cylinder housing 2.
- the cylinder core has a coaxial key channel 3 approximately in the middle, to which a plurality of plate-like tumblers 4 are mounted at right angles.
- the tumblers 4 protrude beyond the outer dimensions of the cylinder core 1 into recesses in the cylinder housing 2, so that the cylinder core 1 is prevented from rotating.
- a coupling part 6, 6a is longitudinally displaceably mounted, the longitudinal axis of which is parallel to the axis of rotation of the cylinder core 1 and can thus be displaced in its longitudinal direction parallel to the cylinder core axis.
- the coupling part 6, 6a rests with its inner side surface on the side edges of the tumblers 4, tongue-shaped projections 7 being freely movable in transverse slots 8 of the coupling part 6, 6a, as long as the coupling part is pulled out when the key 5 is removed in its first position (basic position).
- each tumbler 4 can move freely and protrude beyond the cylinder core 1 in order to lock it in the direction of rotation.
- each tumbler 4 has a nose 9 protruding on the other longitudinal edge of the tumbler, which is loaded by a helical compression spring in order to move the tumbler into the locking position when the key is not inserted.
- the tumblers 4 are moved so far into the cylinder core 1 that they no longer protrude beyond the outer jacket of the cylinder core, so that the cylinder core can be rotated.
- all the projections 7 are located at the level of a longitudinal recess 10 in the coupling part 6, 6a which connects the transverse slots 8 to one another.
- the coupling part 6, 6a is held in its first position according to FIG.
- the coupling part 6, 6a can be moved in the key insertion direction.
- This movement is generated by the key itself via a leaf spring 11 which is mounted transversely to the cylinder core 1 in the inner end of the key channel and against which the key tip abuts.
- the leaf spring 11 is fastened with the end used in the coupling part 6, 6a in the cylinder core 1 and the remaining area is movable in a corresponding recess 12 in the cylinder core 1.
- the other end of the leaf spring 11 lies in a groove 13 of the coupling part 6, 6a, so that a movement of the leaf spring 11 in the key insertion direction generates a movement of the coupling part 6, 6a in the same direction.
- a nose 14 formed on the coupling part 6, 6a is moved out of the cylinder core 1 on the side opposite the key insertion side in order to enter the range of movement of an important part, in particular a locking bolt or, as in this case, an actuating lever 15 which, when the cylinder core 1 is rotated is also rotated by the nose 14 in order to move an important part, in particular a locking bolt, directly or via further transmission parts.
- an actuating lever 15 which, when the cylinder core 1 is rotated is also rotated by the nose 14 in order to move an important part, in particular a locking bolt, directly or via further transmission parts.
- the interaction between the tumblers 4 and the coupling part 6, 6a can be reversed kenematically, i. H. the coupling part 6, 6a can have projections which extend into recesses in the tumblers 4, as shown in FIG. 4. Furthermore, inclined surfaces can be provided between the coupling part and the tumblers, as shown in FIG. 5, in order to provide movement support for the plate-shaped coupling part 6, 6a when the key is pulled out by the tumbler plates.
- the spring can form a toggle mechanism or be part of a toggle mechanism so that during the insertion of the key the coupling part 6, 6a is not yet moved by the spring, but shortly before or after fully inserting the Key snapped the spring according to Figure 6 and the coupling part 6, 6a moved suddenly into extended position.
- the spring can be plate-shaped and in particular divided into two.
- a further additional or alternative securing for a complete insertion of the key and a complete removal of the coupling part 6, 6a can be given by the fact that in the cylinder housing 2 a plate 16 is arranged transversely to the cylinder axis, which is radially displaceable and at the end facing the key shaft Has recess that is form-fitting with the profile of the key shaft, as long as the Key is not fully inserted and thus prevents the key from rotating. Only after the key has been fully inserted does the plate 16 reach a recess 17 in the key, which permits the key to be rotated.
- the coupling part 6, 6a does not necessarily have to be plate-shaped or profile-shaped, but it can also be formed by a hollow cylinder 6a or a hollow cylinder segment, as shown in FIG. 6.
- This hollow cylinder 6a or this segment is preferably arranged coaxially to the axis of rotation of the cylinder core 1 and is in particular mounted on the outside of the cylinder core 1 surrounding it and thus lies between the cylinder core 1 and the cylinder housing 2.
- This coupling part 6a also has a projection according to the embodiment according to FIG or a nose 14, which reaches the area of the lever 15. Instead of a nose 14, however, a differently shaped projection or a plurality of projections can also be provided, in particular conventional coupling means such as coupling teeth
Landscapes
- Physics & Mathematics (AREA)
- Electromagnetism (AREA)
- Lock And Its Accessories (AREA)
Description
- Die Erfindung betrifft einen Schließzylinder mit einem in einem Zylindergehäuse drehbar gelagerten Zylinderkern, in dem Zuhaltungen gelagert sind, die in einen Schlüsselkanal hineinreichen.
- Es ist bekannt, etwas dadurch abzuschließen, daß ein Drehen des Zylinderkerns eines Schließzylinders verhindert wird, indem die Zuhaltungen bei Schlüsselabzug über den Zylinderkern hinausragen und damit ein Drehen verhindern. Alternativ ist es aber auch aus der EP-A-0 234 144 bekannt, ein Abschließen durch Entkuppeln zu erzeugen, d. h. der Zylinderkern ist axial beweglich und kann nach Einstecken des Schlüssels axial verschoben werden um an die Schließwichtigen Teile, insbesondere an den Sperriegel oder ein Übertragungsteil angekuppelt zu werden. Hier kann ein Unbefugter eine verhältnismäßig hohe Kraft axial auf den Zylinderkern ausüben, so daß dieser dann doch noch einschiebbar ist und hierdurch ein Einkuppeln erzeugt.
- Aufgabe der Erfindung ist es, ein Schloß der eingangs genannten Art so zu verbessern, daß ein gewaltsames Verschieben des Zylinderkerns in das Schloß hinein zu einem Einkuppeln nicht führt.
- Diese Aufgabe wird erfindungsgemäß dadurch gelöst, daß seitlich des Schlüsselkanals ein platten- oder zylinderförmiges Kupplungsteil achsparallel gelagert und in Achsrichtung beweglich ist, daß das Kupplungsteil bei abgezogenem Schlüssel sich in einer ersten Stellung befindet, bei der mindestens eine Zuhaltung in der Bewegungsbahn des Kupplungsteils steht und ein Verschieben des Kupplungsteils verhindert, daß durch Einstecken des Schlüssel die Zuhaltungen in eine das Kupplungsteil und den Zylinderkern freigebende Stellung bewegbar sind und daß durch den Schlüssel des Kupplungsteils in eine zweite Stellung verschiebbar ist, in der das Kupplungsteil den Zylinderkern an ein schließwichtiges Teil, insbesondere an den Sperriegel oder ein Übertragungsteil ankuppelt.
- Bei einem solchen Schloß wird das Ankuppeln nicht mehr durch den Zylinderkern sondern durch das seitliche Kupplungsteil erreichte das bei Gewaltanwendung auf den Zylinderkern aus diesem nicht heraustritt und damit ein Kuppeln mit dem dahinterliegenden schließwichtigen Teil nicht erzeugt. Es wird damit eine hohe Sicherheit gegen Gewaltanwendungen bei hoher Funktionssicherheit und einfacher Konstruktion erreicht.
- Besonders vorteilhaft ist es, wenn zum Verschieben des Kupplungsteils ein mit dem Kupplungsteil verbundenes Teil, insbesondere ein Vorsprung des Kupplungsteils in den Schlüsselkanal hineinreicht. Hierbei kann das mit dem Kupplungsteil verbundene Teil ein Federelement insbesondere eine Blattfeder sein, die durch die Spitze oder einen Vorsprung des Schlüssels betätigbar ist. Dies stellt sicher, daß ein in den Schlüsselkanal eingestecktes Werkzeug auch bei hoher Kraftanwendung das Kupplungsteil nicht verschieben kann.
- Um dafür zu sorgen, daß das Kupplungsteil nur zwei Stellungen einnehmen kann, wird vorgeschlagen, daß die Feder ein Kippsprungwerk bildet. Eine besonders sichere Funktion wird dann erreicht, wenn die Feder tellerförmig und insbesondere zweiteilig ist oder aus zwei Tellerfedern besteht.
- Vorzugsweise wird vorgeschlagen, daß auf der der Schlüsseleinführung abgewandten Seite das Kupplungsteil einen Vorsprung bildet, der in der zweiten Stellung des Kupplungsteils bei Verdrehen des Zylinderkerns gegen das schließwichtige Teil stößt. Auch sollte in der ersten Stellung das Kupplungsteil über das hintere Ende des Zylinderkerns nicht hinausragen, so daß bei einem gewaltsamen Verschieben des Zylinderkerns ein Einkuppeln nicht entstehen kann.
- Besonders vorteilhaft ist es, wenn an den Zuhaltungen insbesondere zungenförmige Vorsprünge angeformt sind ,die in Ausnehmungen des Kupplungsteils eingreifen und bei Schlüsselabzug das Kupplungsteil sperren. Alternativ können in den Zuhaltungen Ausnehmungen sein, in die Bereiche des Kupplungsteils einliegen und bei Schlüsselabzug über diese Bereiche vorstehende Bereiche des Kupplungsteils an den Zuhaltungen anschlagen.
- Damit ein Einkuppeln und/oder Verdrehen erst nach vollständigem Schlüsseleinschub möglich ist, wird vorgeschlagen, daß im Zylindergehäuse ein Element, insbesondere eine Platte quer zur Schlüsseleinführungsrichtung verschieblich gelagert ist, das in den Schlüsselkanal hineinreicht und durch den Schlüsselschaft gegen Federdruck nach außen verschieblich ist und erst nach Erreichen eines bestimmten Bereiches des Schlüsselschaftes bei vollständigem Schlüsseleinschub ein Drehen des Schlüssels zuläßt.
- Besonders vorteilhaft ist es, wenn ein Element, insbesondere eine insbesondere gehärtete Platte quer zur Schlüsseleinführungsrichtung befestigt ist, das in den Schlüsselkanal hineinreicht, so gestaltet, daß ein Drehen des Schlüssels erst nach vollständigem Schlüsseleinschub möglich ist.
- Eine besonders einfache und zuverlässige Konstruktion wird dann erreicht, wenn das Kupplungsteil hohlzylindrisch oder zylinderförmig ist und den Zylinderkern koaxial umgibt. Eine Unterstützung der Bewegung des Kupplungsteils wird dadurch erzeugt, wenn das Kupplungsteil über eine Schrägfläche an der jeweiligen Zuhaltung anliegt und bei Herausziehen des Schlüssels die Schrägfläche das Kupplungsteil in Bewegungsrichtung zur ersten Stellung hin beaufschlagen.
- Ausführungsbeispiele der Erfindung sind in den Zeichnungen dargestellt und werden im folgenden näher beschrieben. Es zeigen:
- Figur 1
- einen axialen Schnitt durch den Zylinderkern in einem ersten Ausführungsbeispiel,
- Figur 2
- einen axialen Schnitt durch den Zylinderkern in einer zur Figur 1 um 90 Grad gedrehten Lage,
- Figur 3
- einen Querschnitt durch einen Zylinderkern in Höhe eines Zuhaltungsplättchens,
- Figur 4
- einen axialen Schnitt durch einen Schließzylinder eines zweiten Ausführungsbeispiels,
- Figur 5
- den Ausschnitt V aus Figur 6 und
- Figur 6
- einen axialen Schnitt durch einen Zylinderkern eines dritten Ausführungsbeispiels.
- Ein Schließzylinder weist einen Zylinderkern 1 auf, der in einem Zylindergehäuse 2 gelagert ist. Der Zylinderkern besitzt etwa mittig einen koaxialen Schlüsselkanal 3, zu dem rechtwinklig mehrere plättchenförmige Zuhaltungen 4 gelagert sind. Bei abgezogenem Schlüssel 5 ragen die Zuhaltungen 4 über die Außenabmessungen des Zylinderkerns 1 hinaus in Ausnehmungen des Zylindergehäuses 2, so daß der Zylinderkern 1 an einem Drehen gehindert ist.
- Seitlich versetzt zum Schlüsselkanal 3 ist im Zylinderkern 1 oder seitlich des Zylinderkerns zwischen dem Zylinderkern und dem Zylindergehäuse ein Kupplungsteil 6, 6a längs verschieblich gelagert, dessen Längsachse parallel zur Drehachse des Zylinderkerns 1 ist und sich damit in seiner Längsrichtung parallel zur Zylinderkernachse verschieben läßt. Das Kupplungsteil 6, 6a liegt im Ausführungsbeispiel nach den Figuren 1 bis 3 mit seiner inneren Seitenfläche an den Seitenrändern der Zuhaltungen 4 an, wobei zungenförmige Vorsprünge 7 in Querschlitzen 8 des Kupplungsteils 6, 6a frei beweglich sind, solange das Kupplungsteil sich bei abgezogenem Schlüssel 5 in seiner ersten Stellung (Grundstellung) befindet. Somit können sich bei abgezogenem Schlüssel die Zuhaltungen 4 frei bewegen und über den Zylinderkern 1 hinausragen, um diesen in Drehrichtung zu sperren. Den Vorsprüngen 7 gegenüber weist jede Zuhaltung 4 eine am anderen Längsrand der Zuhaltung vorstehenden Nase 9 auf, die durch eine Schraubendruckfeder belastet ist, um die Zuhaltung bei nicht eingestecktem Schlüssel in die sperrende Stellung zu bewegen.
- Sobald ein passender Schlüssel 5 in den Schlüsselkanal 3 eingesteckt wird, werden die Zuhaltungen 4 soweit in den Zylinderkern 1 hineinbewegt, daß sie nicht mehr über den Außenmantel des Zylinderkerns hinausstehen, so daß der Zylinderkern verdrehbar ist. In dieser Stellung der Zuhaltungen 4 befinden sich alle Vorsprünge 7 in Höhe einer Längsausnehmung 10 des Kupplungsteils 6, 6a die die Querschlitze 8 miteinander verbindet. Solange die Vorsprünge 7 bei abgezogenem oder falschem Schlüssel nicht mit dieser Längsausnehmung 10 fluchten, sondern seitlich verschoben in den Querschlitzen 8 einliegen, ist das Kupplungsteil 6, 6a in seiner ersten Stellung entsprechend Figur 2 festgehalten. Ist aber ein passender Schlüssel eingesteckt, so kann das Kupplungsteil 6, 6a in Schlüsseleinführungsrichtung bewegt werden. Diese Bewegung wird durch den Schlüssel selber über eine Blattfeder 11 erzeugt, die im inneren Ende des Schlüsselkanals im Zylinderkern 1 quer zu diesem gelagert ist und gegen die die Schlüsselspitze stößt. Die Blattfeder 11 ist mit dem im Kupplungsteil 6, 6a angewandten Ende im Zylinderkern 1 befestigt und der übrige Bereich ist in einer entsprechenden Ausnehmung 12 des Zylinderkerns 1 beweglich. Das andere Ende der Blattfeder 11 liegt in einer Nut 13 des Kupplungsteils 6, 6a ein, so daß eine Bewegung der Blattfeder 11 in Schlüsseleinführungsrichtung eine Bewegung des Kupplungsteils 6, 6a in derselben Richtung erzeugt. Hierdurch wird eine am Kupplungsteil 6, 6a angeformte Nase 14 auf der Schlüsseleinführungsseite gegenüberliegenden Seite aus dem Zylinderkern 1 herausbewegt, um in den Bewegungsbereich eines Schließwichtigen Teils, insbesondere eines Sperriegels oder wie in diesem Fall eines Betätigungshebels 15 zu treten, der bei Verdrehen des Zylinderkerns 1 durch die Nase 14 mitverdreht wird, um ein schließwichtiges Teil, insbesondere einen Sperriegel direkt oder über weitere Übertragungsteile zu bewegen. Durch das vollständige Einstecken des Schlüssels 5 wird somit das Kupplungsteil 6, 6a am Hebel 15 angekuppelt.
- Das Zusammenwirken zwischen den Zuhaltungen 4 und dem Kupplungsteil 6, 6a kann kenematisch umgekehrt sein, d. h. das Kupplungsteil 6, 6a kann Vorsprünge besitzen, die in Ausnehmungen der Zuhaltungen 4 hineinreichen, wie dies in Figur 4 gezeigt ist. Ferner können Schrägflächen zwischen dem Kupplungsteil und den Zuhaltungen vorgesehen sein, wie dies Figur 5 zeigt um beim Herausziehen des Schlüssels durch die Zuhaltungsplättchen eine Bewegungsunterstützung dem plattenförmigen Kupplungsteil 6, 6a zu geben.
- Damit das Kupplungsteil 6, 6a keine Zwischenstellungen einnimmt sondern sicher nur zwischen seinen beiden Stellungen, d. h. der eingezogenen und der vollständig herausgeschobenen Stellung verbleibt, kann die Feder ein Kippsprungwerk bilden oder ein Teil eines Kippsprungwerkes sein, so daß während des Einschiebens des Schlüssels das Kupplungsteil 6, 6a durch die Feder noch nicht bewegt wird, sondern kurz vor oder nach vollständigem Einschieben des Schlüssels die Feder nach Figur 6 umschnappt und das Kupplungsteil 6, 6a sprunghaft in herausgeschobene weite Stellung bewegt. Hierbei kann nach Figur 6 die Feder tellerförmig und insbesondere zweigeteilt sein.
- Eine weitere zusätzliche oder alternative Sicherung für ein vollständiges Einstecken des Schlüssels und ein vollständiges Herausschieben des Kupplungsteils 6, 6a kann dadurch gegeben seine daß im Zylindergehäuse 2 eine Platte 16 quer zur Zylinderachse angeordnet ist, die radial verschieblich ist und an dem dem Schlüsselschaft zugewandten Ende eine Ausnehmung besitzt, die mit dem Profil des Schlüsselschafts formschlüssig ist, solange der Schlüssel nicht vollständig eingesteckt ist und damit ein Verdrehen des Schlüssels verhindert. Erst nach vollständigem Einstecken des Schlüssels erreicht die Platte 16 eine Ausnehmung 17 des Schlüssels, die ein Verdrehen des Schlüssels zuläßt.
- Das Kupplungsteil 6, 6a muß nicht unbedingt platten- oder profilförmig sein, sondern es kann auch von einem Hohlzylinder 6a oder einem Hohlzylindersegment gebildet sein, wie dies Figur 6 zeigt. Dieser Hohlzylinder 6a oder dieses Segment ist vorzugsweise koaxial zur Drehachse des Zylinderkerns 1 angeordnet und wird insbesondere außen am Zylinderkern 1 diesen umgebend gelagert und liegt damit zwischen dem Zylinderkern 1 und dem Zylindergehäuse 2. Auch dieses Kupplungsteil 6a weist nach dem Ausführungsbeispiel entsprechend Figur 6 einen Vorsprung bzw. eine Nase 14 auf, die in den Bereich des Hebels 15 gelangt. Statt einer Nase 14 kann aber auch ein anders geformter Vorsprung oder mehrere Vorsprünge vorgesehen sein, insbesondere übliche Kupplungsmittel wie Kupplungszähne
Claims (13)
- Schließzylinder mit einem in einem Zylindergehäuse drehbar aber axial fest gelagerten Zylinderkern, in dem Zuhaltungen gelagert sind, die in einen Schlüsselkanal hineinreichen, dadurch gekennzeichnet,- daß seitlich des Schlüsselkanals (3) ein platten- oder zylinderförmiges Kupplungsteil (6,6a) achsparallel gelagert und in Achsrichtung beweglich ist, daß das Kupplungsteil (6, 6a) bei abgezogenem Schlüssel (5) sich in einer ersten Stellung befindet, bei der mindestens eine Zuhaltung (4) in der Bewegungsbahn des Kupplungsteils (6, 6a) steht und ein Verschieben des Kupplungsteils (6, 6a) verhindert,- daß durch Einstecken des Schlüssel (5) die Zuhaltungen (4) in eine das Kupplungsteil (6, 6a) und den Zylinderkern (1) freigebende Stellung bewegbar sind und- daß durch den Schlüssel (5) das Kupplungsteil (6, 6a) in eine zweite Stellung verschiebbar ist, in der das Kupplungsteil (6, 6a) den Zylinderkern (1) an ein schließwichtiges Teil (15), insbesondere an den Sperriegel oder ein Übertragungsteil ankuppelt.
- Schließzylinder nach Anspruch 1, dadurch gekennzeichnet, daß zum Verschieben des Kupplungsteils (6, 6a) ein mit dem Kupplungsteil (6, 6a) verbundenes Teil (11), insbesondere ein Vorsprung des Kupplungsteils (6, 6a) in den Schlüsselkanal (3) hineinreicht.
- Schließzylinder nach Anspruch 2, dadurch gekennzeichnet, daß das mit dem Kupplungsteil (6, 6a) verbundene Teil ein Federelement insbesondere eine Blattfeder (11) ist, die durch die Spitze oder einen Vorsprung des Schlüssels (5) betätigbar ist.
- Schließzylinder nach Anspruch 3, dadurch gekennzeichnet, daß die Feder (11) ein Kippsprungwerk bildet.
- Schließzylinder nach Anspruch 3 oder 4, dadurch gekennzeichnet, daß die Feder (11) tellerförmig und insbesondere zweiteilig ist oder aus zwei Tellerfedern besteht.
- Schließzylinder nach einem der vorherigen Ansprüche, dadurch gekennzeichnet, daß auf der der Schlüsseleinführung abgewandten Seite das Kupplungsteil (6, 6a) einen Vorsprung (14) bildet, der in der zweiten Stellung des Kupplungsteils (6, 6a) bei Verdrehen des Zylinderkerns (1) gegen das schließwichtige Teil (15) stößt.
- Schließzylinder nach einem der vorherigen Ansprüche, dadurch gekennzeichnet, daß in der ersten Stellung das Kupplungsteil (6, 6a) über das hintere Ende des Zylinderkerns (1) nicht hinausragt.
- Schließzylinder nach einem der vorherigen Ansprüche, dadurch gekennzeichnet, daß an den Zuhaltungen (4) insbesondere zungenförmige Vorsprünge (7) angeformt sind, die in Ausnehmungen (8, 10) des Kupplungsteils (6, 6a) eingreifen und bei Schlüsselabzug das Kupplungsteil (6, 6a) sperren.
- Schließzylinder nach einem der Ansprüche 1 bis 7, dadurch gekennzeichnet, daß in den Zuhaltungen (4) Ausnehmungen (4a) sind, in die Bereiche des Kupplungsteils (6) einliegen und bei Schlüsselabzug über diese Bereiche vorstehende Bereiche des Kupplungsteils (6, 6a) an den Zuhalten anschlagen.
- Schließzylinder nach einem der vorherigen Ansprüche dadurch gekennzeichnet, daß im Zylindergehäuse (2) ein Element, insbesondere eine Platte (16) quer zur Schlüsseleinführungsrichtung verschieblich gelagert ist, das in den Schlüsselkanal (3) hineinreicht und durch den Schlüsselschaft gegen Federdruck nach außen verschieblich ist und erst nach Erreichen eines bestimmten Bereiches des Schlüsselschaftes bei vollständigem Schlüsseleinschub ein Drehen des Schlüssels (5) zuläßt.
- Schließzylinder nach einem der vorherigen Ansprüche, dadurch gekennzeichnet, daß ein Element, insbesondere eine insbesondere gehärtete Platte quer zur Schlüsseleinführungsrichtung befestigt ist, das in den Schlüsselkanal hineinreicht, so gestaltet, daß ein Drehen des Schlüssels erst nach vollständigem Schlüsseleinschub möglich ist.
- Schließzylinder nach einem der vorherigen Ansprüche, dadurch gekennzeichnet, daß das Kupplungsteil (6, 6a) hohlzylindrisch oder zylinderförmig ist und den Zylinderkern (1) koaxial umgibt.
- Schließzylinder nach einem der vorherigen Ansprüche, dadurch gekennzeichnet, daß das Kupplungsteil (6, 6a) über eine Schrägfläche (6b) an der jeweiligen Zuhaltung (4) anliegt und bei Herausziehen des Schlüssels (5) die Schrägfläche das Kupplungsteil (6, 6a) in Bewegungsrichtung zur ersten Stellung hin beaufschlagen.
Applications Claiming Priority (2)
| Application Number | Priority Date | Filing Date | Title |
|---|---|---|---|
| DE3822975 | 1988-07-07 | ||
| DE19883822975 DE3822975C2 (de) | 1988-07-07 | 1988-07-07 | Schließzylinder |
Publications (3)
| Publication Number | Publication Date |
|---|---|
| EP0349738A2 EP0349738A2 (de) | 1990-01-10 |
| EP0349738A3 EP0349738A3 (de) | 1991-05-08 |
| EP0349738B1 true EP0349738B1 (de) | 1993-12-01 |
Family
ID=6358136
Family Applications (1)
| Application Number | Title | Priority Date | Filing Date |
|---|---|---|---|
| EP19890108681 Expired - Lifetime EP0349738B1 (de) | 1988-07-07 | 1989-05-13 | Schliesszylinder |
Country Status (3)
| Country | Link |
|---|---|
| EP (1) | EP0349738B1 (de) |
| DE (1) | DE3822975C2 (de) |
| ES (1) | ES2048783T3 (de) |
Families Citing this family (5)
| Publication number | Priority date | Publication date | Assignee | Title |
|---|---|---|---|---|
| DE8907074U1 (de) * | 1989-06-09 | 1989-10-12 | Schüring GmbH & Co Fenstertechnologie KG, 51147 Köln | Schließvorrichtung |
| DE19700333A1 (de) * | 1997-01-08 | 1998-07-09 | Danijel Golub | Umstellbares Zylinderschloß auf Standard oder Not- und Gefahrenfunktion mit Zutrittsberechtigungsfreigabe ohne Ausbau und durch unterschiedlich gebildete Schlüssel auf die Kupplungsmechanik wirkend bestimmbar |
| GB2347714A (en) * | 1999-03-10 | 2000-09-13 | Rover Group | Plate tumbler barrel lock |
| DE102011001055A1 (de) * | 2010-10-08 | 2012-04-12 | Huf Hülsbeck & Fürst Gmbh & Co. Kg | Schließzylinder |
| CN106917545B (zh) * | 2017-04-25 | 2022-03-22 | 珠海优特电力科技股份有限公司 | 锁芯组件及解锁装置 |
Family Cites Families (5)
| Publication number | Priority date | Publication date | Assignee | Title |
|---|---|---|---|---|
| DE2351975A1 (de) * | 1972-10-20 | 1974-04-25 | Neiman & Co Kg | Druckknopfartig betaetigbares drehzylinderschloss |
| AT367147B (de) * | 1980-01-14 | 1982-06-11 | Evva Werke | Zylinderschloss mit flachschluessel, insbesondere auf permanentmagnetbasis |
| FR2579655B2 (fr) * | 1984-10-12 | 1988-03-25 | Antivols Simplex Sa | Verrou a cle plate a pistons anti-effraction |
| FR2571772B1 (fr) * | 1984-10-12 | 1988-01-29 | Antivols Simplex Sa | Verrou a cle plate a pistons anti-effraction |
| FR2592423B1 (fr) * | 1985-12-27 | 1988-04-08 | Peugeot | Serrure de surete a cle, notamment pour vehicule automobiles |
-
1988
- 1988-07-07 DE DE19883822975 patent/DE3822975C2/de not_active Expired - Fee Related
-
1989
- 1989-05-13 ES ES89108681T patent/ES2048783T3/es not_active Expired - Lifetime
- 1989-05-13 EP EP19890108681 patent/EP0349738B1/de not_active Expired - Lifetime
Also Published As
| Publication number | Publication date |
|---|---|
| DE3822975A1 (de) | 1990-01-11 |
| DE3822975C2 (de) | 1997-07-31 |
| ES2048783T3 (es) | 1994-04-01 |
| EP0349738A3 (de) | 1991-05-08 |
| EP0349738A2 (de) | 1990-01-10 |
Similar Documents
| Publication | Publication Date | Title |
|---|---|---|
| AT392818B (de) | Schliesssystem | |
| EP1055788B1 (de) | Flachschlüssel und Zylinderschloss | |
| DE102011015314B4 (de) | Schließzylinder mit Zuhaltungsscheiben und Sperrstift, sowie Kombination aus einem solchen Schließzylinder und einem Schlüssel | |
| EP0472495A1 (de) | Schlüssel und Drehschliesszylinder für ein Sicherheitsschloss | |
| DE2942789A1 (de) | Permutationsschloss | |
| DE102010033904A1 (de) | Schließvorrichtung | |
| EP0555633B1 (de) | Türdrückergarnitur | |
| EP0252314B1 (de) | Lenkschloss zum Sperren der Drehbewegung einer Kraftfahrzeug-Lenkspindel | |
| EP0613987B1 (de) | Zylinderschloss und Flachschlüssel mit Steuernuten | |
| EP0349738B1 (de) | Schliesszylinder | |
| DE102009008922A1 (de) | Kupplungseinrichtung für einen zwei Zylinderkerne beinhaltenden Doppelschließzylinder mit Not- und Gefahrenfunktion | |
| DE3338713C2 (de) | Schließzylinder | |
| EP0053095A1 (de) | Notschlüsseleinrichtung an einem Doppelzylinderschloss | |
| EP2166179A1 (de) | Schließzylinder, insbesondere für ein Türschloss | |
| DE19544840A1 (de) | Zylinderschloß mit Zylinderkern und Zuhaltungen | |
| DE19959833C1 (de) | Schließvorrichtung für insbesondere an Fahrzeugen vollziehbare Schließfunktionen | |
| DE2614645A1 (de) | Sicherheitsschloss | |
| DE102018131779A1 (de) | Schließvorrichtung | |
| DE2308959A1 (de) | Schloss, insbesondere mit diebstahlsicherung fuer fahrzeuge | |
| DE4201998C1 (de) | ||
| DE9417227U1 (de) | Verriegelungsschloß | |
| EP1156179A2 (de) | Schliesszylinder | |
| EP4112856B1 (de) | Schloss mit einem von einem betätigungselement drehbaren riegel | |
| DE2646739A1 (de) | Schlossanordnung | |
| DE2558249A1 (de) | Mittels eines permanentmagnet- schluessels betaetigbares drehzylinderschloss |
Legal Events
| Date | Code | Title | Description |
|---|---|---|---|
| PUAI | Public reference made under article 153(3) epc to a published international application that has entered the european phase |
Free format text: ORIGINAL CODE: 0009012 |
|
| AK | Designated contracting states |
Kind code of ref document: A2 Designated state(s): ES FR GB IT |
|
| RAP1 | Party data changed (applicant data changed or rights of an application transferred) |
Owner name: VALEO NEIMANN |
|
| RAP3 | Party data changed (applicant data changed or rights of an application transferred) |
Owner name: VALEO NEIMAN |
|
| 17P | Request for examination filed |
Effective date: 19900427 |
|
| PUAL | Search report despatched |
Free format text: ORIGINAL CODE: 0009013 |
|
| AK | Designated contracting states |
Kind code of ref document: A3 Designated state(s): ES FR GB IT |
|
| 17Q | First examination report despatched |
Effective date: 19920826 |
|
| GRAA | (expected) grant |
Free format text: ORIGINAL CODE: 0009210 |
|
| RAP1 | Party data changed (applicant data changed or rights of an application transferred) |
Owner name: VALEO SECURITE HABITACLE |
|
| AK | Designated contracting states |
Kind code of ref document: B1 Designated state(s): ES FR GB IT |
|
| ET | Fr: translation filed | ||
| GBT | Gb: translation of ep patent filed (gb section 77(6)(a)/1977) |
Effective date: 19931209 |
|
| ITF | It: translation for a ep patent filed | ||
| REG | Reference to a national code |
Ref country code: ES Ref legal event code: FG2A Ref document number: 2048783 Country of ref document: ES Kind code of ref document: T3 |
|
| ITTA | It: last paid annual fee | ||
| PLBE | No opposition filed within time limit |
Free format text: ORIGINAL CODE: 0009261 |
|
| STAA | Information on the status of an ep patent application or granted ep patent |
Free format text: STATUS: NO OPPOSITION FILED WITHIN TIME LIMIT |
|
| 26N | No opposition filed | ||
| PGFP | Annual fee paid to national office [announced via postgrant information from national office to epo] |
Ref country code: GB Payment date: 20010508 Year of fee payment: 13 |
|
| PGFP | Annual fee paid to national office [announced via postgrant information from national office to epo] |
Ref country code: ES Payment date: 20010511 Year of fee payment: 13 |
|
| PGFP | Annual fee paid to national office [announced via postgrant information from national office to epo] |
Ref country code: FR Payment date: 20010530 Year of fee payment: 13 |
|
| REG | Reference to a national code |
Ref country code: GB Ref legal event code: IF02 |
|
| PG25 | Lapsed in a contracting state [announced via postgrant information from national office to epo] |
Ref country code: GB Free format text: LAPSE BECAUSE OF NON-PAYMENT OF DUE FEES Effective date: 20020513 |
|
| PG25 | Lapsed in a contracting state [announced via postgrant information from national office to epo] |
Ref country code: ES Free format text: LAPSE BECAUSE OF NON-PAYMENT OF DUE FEES Effective date: 20020514 |
|
| GBPC | Gb: european patent ceased through non-payment of renewal fee |
Effective date: 20020513 |
|
| PG25 | Lapsed in a contracting state [announced via postgrant information from national office to epo] |
Ref country code: FR Free format text: LAPSE BECAUSE OF NON-PAYMENT OF DUE FEES Effective date: 20030131 |
|
| REG | Reference to a national code |
Ref country code: FR Ref legal event code: ST |
|
| REG | Reference to a national code |
Ref country code: ES Ref legal event code: FD2A Effective date: 20030611 |
|
| PG25 | Lapsed in a contracting state [announced via postgrant information from national office to epo] |
Ref country code: IT Free format text: LAPSE BECAUSE OF NON-PAYMENT OF DUE FEES;WARNING: LAPSES OF ITALIAN PATENTS WITH EFFECTIVE DATE BEFORE 2007 MAY HAVE OCCURRED AT ANY TIME BEFORE 2007. THE CORRECT EFFECTIVE DATE MAY BE DIFFERENT FROM THE ONE RECORDED. Effective date: 20050513 |