EP0334836A2 - Einrichtung zum Entleeren des Flüssigkeitsbottiches von Wasch-, Reinigungs- oder Spülmaschinen - Google Patents
Einrichtung zum Entleeren des Flüssigkeitsbottiches von Wasch-, Reinigungs- oder Spülmaschinen Download PDFInfo
- Publication number
- EP0334836A2 EP0334836A2 EP89890081A EP89890081A EP0334836A2 EP 0334836 A2 EP0334836 A2 EP 0334836A2 EP 89890081 A EP89890081 A EP 89890081A EP 89890081 A EP89890081 A EP 89890081A EP 0334836 A2 EP0334836 A2 EP 0334836A2
- Authority
- EP
- European Patent Office
- Prior art keywords
- pump
- tub
- liquid
- container
- drain hose
- Prior art date
- Legal status (The legal status is an assumption and is not a legal conclusion. Google has not performed a legal analysis and makes no representation as to the accuracy of the status listed.)
- Withdrawn
Links
- 239000007788 liquid Substances 0.000 title claims abstract description 21
- 238000005406 washing Methods 0.000 title claims abstract description 6
- 238000004140 cleaning Methods 0.000 title claims abstract description 4
- 238000011144 upstream manufacturing Methods 0.000 claims description 2
- 238000007789 sealing Methods 0.000 claims 1
- XLYOFNOQVPJJNP-UHFFFAOYSA-N water Substances O XLYOFNOQVPJJNP-UHFFFAOYSA-N 0.000 description 2
- 238000005086 pumping Methods 0.000 description 1
Images
Classifications
-
- B—PERFORMING OPERATIONS; TRANSPORTING
- B65—CONVEYING; PACKING; STORING; HANDLING THIN OR FILAMENTARY MATERIAL
- B65H—HANDLING THIN OR FILAMENTARY MATERIAL, e.g. SHEETS, WEBS, CABLES
- B65H75/00—Storing webs, tapes, or filamentary material, e.g. on reels
- B65H75/02—Cores, formers, supports, or holders for coiled, wound, or folded material, e.g. reels, spindles, bobbins, cop tubes, cans, mandrels or chucks
- B65H75/34—Cores, formers, supports, or holders for coiled, wound, or folded material, e.g. reels, spindles, bobbins, cop tubes, cans, mandrels or chucks specially adapted or mounted for storing and repeatedly paying-out and re-storing lengths of material provided for particular purposes, e.g. anchored hoses, power cables
- B65H75/36—Cores, formers, supports, or holders for coiled, wound, or folded material, e.g. reels, spindles, bobbins, cop tubes, cans, mandrels or chucks specially adapted or mounted for storing and repeatedly paying-out and re-storing lengths of material provided for particular purposes, e.g. anchored hoses, power cables without essentially involving the use of a core or former internal to a stored package of material, e.g. with stored material housed within casing or container, or intermittently engaging a plurality of supports as in sinuous or serpentine fashion
-
- D—TEXTILES; PAPER
- D06—TREATMENT OF TEXTILES OR THE LIKE; LAUNDERING; FLEXIBLE MATERIALS NOT OTHERWISE PROVIDED FOR
- D06F—LAUNDERING, DRYING, IRONING, PRESSING OR FOLDING TEXTILE ARTICLES
- D06F39/00—Details of washing machines not specific to a single type of machines covered by groups D06F9/00 - D06F27/00
- D06F39/08—Liquid supply or discharge arrangements
- D06F39/083—Liquid discharge or recirculation arrangements
- D06F39/085—Arrangements or adaptations of pumps
-
- F—MECHANICAL ENGINEERING; LIGHTING; HEATING; WEAPONS; BLASTING
- F04—POSITIVE - DISPLACEMENT MACHINES FOR LIQUIDS; PUMPS FOR LIQUIDS OR ELASTIC FLUIDS
- F04D—NON-POSITIVE-DISPLACEMENT PUMPS
- F04D29/00—Details, component parts, or accessories
- F04D29/40—Casings; Connections of working fluid
- F04D29/42—Casings; Connections of working fluid for radial or helico-centrifugal pumps
- F04D29/426—Casings; Connections of working fluid for radial or helico-centrifugal pumps especially adapted for liquid pumps
- F04D29/4273—Casings; Connections of working fluid for radial or helico-centrifugal pumps especially adapted for liquid pumps suction eyes
Definitions
- the invention relates to a device for emptying the liquid tub from washing machines, cleaning machines or dishwashers, in which the liquid can be discharged from the tub by means of a pump via a line leading up to the maximum liquid level, with a discharge line in the deepest area Drain hose is provided.
- a drain hose connected to a branch is provided in the deepest region of the discharge line and is closed with a stopper.
- Such a design has the disadvantage that the plug can become leaky if not properly inserted into the hose, as a result of which the wash liquor can escape from the tub.
- the invention is based on the object of making it possible to empty the liquid tub without leaks in the discharge line.
- this object is achieved in that the drain hose is stored in a preferably sealable container. This makes it possible to take out the drain hose after opening the container and to hang the free end of the same into a prepared collecting vessel, with which the emptying of the liquid tub can then proceed automatically, the container absorbing any leak water.
- the tightly lockable container can advantageously be connected upstream of the pump, the rear wall of the container forming the front wall of the suction chamber of the pump.
- the container can be formed by an insert part which can be sealingly inserted into the pump housing, preferably into the foreign body separator.
- This design enables the pump impeller and the foreign matter separator to always be accessible by pulling out the insert.
- the insert part can extend as far as the pump impeller for particularly easy access to the pump impeller, the rear wall of the insert part separating the suction chamber from the pressure chamber of the pump.
- the drain hose can be inserted into the container by folding, which saves a special closing element of the drain hose, since the kinking of the drain hose prevents the water from flowing away.
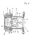
- a pump 7 is attached to the housing, etc. such that the pump impeller 7 'protrudes into the pump housing 3.
- the pump housing is open from the impeller 7 'to the front, an insert body 4 being inserted in this open area, the rear wall 15 of which separates the suction chamber 12 from the pressure chamber 13 of the pump 7.
- the suction chamber 12 is connected to the pressure chamber 13 of the pump via an opening 16.
- the insert body 4 On its side facing away from the pump 7, the insert body 4 has a container 8, the rear wall 17 of which forms the front wall of the suction chamber 12.
- a drain hose 1 is fastened in this rear wall 17 by means of a clamping piece 6.
- the container 8 can be sealed by means of a lid 5.
- the entire insert body 4 is held in the pump housing by means of a locking handle 2, the insert body 4 in the pump housing 3 being sealed by a lip seal 18.
- the drain hose 1 is in the folded position shown in FIG. 3 and inserted into the container, the container 8 being tightly closed by the cover 5. Due to the many folds of the hose 1, an outflow of the liquid in the tub is prevented. The liquid is removed from the tub via the suction chamber 12, the opening 16 and the pump impeller 7 'through the pressure chamber of the pump 7. Is now e.g. due to a failure of the pump to empty the liquid tub, then the lid 5 is removed and the hose 1 is pulled out of the container 8, whereby the folds of the folds open and thus an unimpeded passage of the liquid in the tub takes place, as shown in Fig 1 is reproduced.
Landscapes
- Engineering & Computer Science (AREA)
- Textile Engineering (AREA)
- Mechanical Engineering (AREA)
- General Engineering & Computer Science (AREA)
- Food-Manufacturing Devices (AREA)
- Structures Of Non-Positive Displacement Pumps (AREA)
Abstract
Die Erfindung betrifft eine Einrichtung zum Entleeren des Flüssigkeitsbottiches von Wasch-, Reinigungs- oder Spülmaschinen, bei welchen die Flüssigkeit aus dem Bottich mittels einer Pumpe (7) über eine bis über den Maximalflüssigkeitsstand nach oben führende Leitung austragbar ist, wobei im tiefsten Bereich der Austrageleitung, z.B. im Bereich der Pumpe, ein Ablaßschlauch (1) vorgesehen ist, der in einem, vorzugsweise dicht abschließbaren Behälter (8) aufbewahrt ist.
Description
- Die Erfindung bezieht sich auf eine Einrichtung zum Entleeren des Flüssigkeitsbottiches von Wasch-, Reinigungs- oder Spülmaschinen, bei welchen die Flüssigkeit aus dem Bottich mittels einer Pumpe über eine bis über den Maximalflüssigkeitsstand nach oben führende Leitung austragbar ist, wobei im tiefsten Bereich der Austrageleitung ein Ablaßschlauch vorgesehen ist.
- Üblicherweise ist die Austrageleitung in ein Waschbecken od.dgl. einhängbar. Es ist jedoch auch vielfach bereits ein fester Anschluß dieser Austrageleitung gegeben, so daß dann, wenn z.B. die Pumpe ausfällt oder eine Reparatur am Gerät vorgenommen werden muß, ein Entleeren des Gerätebottichs nur äußerst schwierig vorzunehmen ist. Es muß nämlich dazu dann das Gerät ausgebaut, die Austrageleitung gelöst und die Behälterflüssigkeit in ein entsprechendes Auffanggefäß abgefüllt werden.
- Bei einer bekannten Ausbildung der eingangs genannten Art ist im tiefsten Bereich der Austrageleitung ein an eine Abzweigung angeschlossener Ablaßschlauch vorgesehen, der mit einem Stopfen verschlossen ist. Eine solche Ausbildung hat den Nachteil, daß der Stopfen bei nicht ordnungsgemäßem Einsetzen in den Schlauch undicht werden kann, wodurch die Waschlauge aus dem Laugenbehälter austreten kann.
- Der Erfindung liegt nun die Aufgabe zugrunde, die Entleerung des Flüssigkeitsbottiches zu ermöglichen, ohne daß Undichtheiten der Austrageleitung auftreten.
- Erfindungsgemäß wird diese Aufgabe dadurch gelöst, daß der Ablaßschlauch in einem vorzugsweise dicht abschließbaren Behälter, aufbewahrt ist. Dadurch ist es ermöglicht, nach Öffnen des Behälters den Ablaßschlauch herauszunehmen und das freie Ende desselben in ein vorbereitetes Auffanggefäß einzuhängen, womit dann die Entleerung des Flüssigkeitsbottiches selbsttätig vor sich gehen kann, wobei der Behälter etwaiges Leckwasser aufnimmt.
- Vorteilhafterweise kann der dicht abschließbare Behälter der Pumpe vorgeschaltet sein, wobei die Rückwand des Behälters die Vorderwand des Saugraumes der Pumpe bildet. Dadurch wird eine besonders kompakte Ausbildung erzielt, wobei erreicht wird, daß sowohl der Flüssigkeitsbottich als auch die Austrageleitung entleert werden kann, da die in der Austrageleitung befindliche Flüssigkeit durch die Pumpe hindurch zu deren Ablaßschlauch fließen kann. Dabei kann der Behälter durch einen in das Pumpengehäuse, vorzugsweise in den Femdkörperabscheider, dichtend einfügbaren Einsatzteil gebildet sein. Diese Ausbildung ermöglicht, daß das Pumpenlaufrad und der Fremdkörperabscheider durch Herausziehen des Einsatzteiles immer zugänglich bleibt. Für ein besonders leichtes Zugänglichmachen des Pumpenlaufrades kann der Einsatzteil bis zum Pumpenlaufrad reichen, wobei die Rückwand des Einsatzteiles den Saugraum vom Druckraum der Pumpe trennt. Schließlich kann der Ablaßschlauch in den Behälter durch Zusammenfalten einfügbar sein, was ein spezielles Abschlußorgan des Ablaßschlauches einspart, da aufgrund der Knickstellen des Ablaßschlauches ein Abfließen des Wassers verhindert ist.
- In der Zeichnung ist ein Ausführungsbeispiel des Erfindungsgegenstandes dargestellt.
- Fig. 1 zeigt schematisch die Anordnung der erfindungsgemäßen Einrichtung während des Entleerens des Flüssigkeitsbottiches.
- Fig. 2 gibt einen Axialschnitt durch die erfindungsgemäße Einrichtung wieder, u.zw. mit herausgezogenem Ablaßschlauch.
- Fig. 3 veranschaulicht einen der Fig. 2 analogen Schnitt, jedoch bei zusammengefaltet eingefügtem Ablaßschlauch.
- Mit 9 ist ein Flüssigkeitsbottich, vorliegend einer Waschmaschine 10, bezeichnet, welcher über einen Abfluß 11 mit dem Pumpengehäuse 3 verbunden ist. An dem Pumpen gehäuse ist eine Pumpe 7 angesetzt, u.zw. derart, daß das Pumpenlaufrad 7′ in das Pumpengehäuse 3 hineinragt. Das Pumpengehäuse ist vom Laufrad 7′ nach vorne offen, wobei in diesen offenen Bereich ein Einsatzkörper 4 eingesetzt ist, dessen Rückwand 15 den Saugraum 12 vom Druckraum 13 der Pumpe 7 trennt. Der Saugraum 12 ist über eine Öffnung 16 mit dem Druckraum 13 der Pumpe verbunden. An seiner der Pumpe 7 abgewandten Seite weist der Einsatzkörper 4 einen Behälter 8 auf, dessen Rückwand 17 die Vorderwand des Saugraumes 12 bildet. In dieser Rückwand 17 ist ein Ablaßschlauch 1 mittels eines Klemmstückes 6 befestigt. Der Behälter 8 ist mittels eines Deckels 5 dicht abschließbar. Der gesamte Einsatzkörper 4 ist dabei im Pumpengehäuse mittels eines Verschlußgriffes 2 festgehalten, wobei der Einsatzkörper 4 im Pumpengehäuse 3 über eine Lippendichtung 18 abgedichtet ist.
- Bei normalem Betrieb der Waschmaschine 10 befindet sich der Ablaßschlauch 1 in der in Fig. 3 wiedergegebenen, gefalteten, in den Behälter eingefügten Lage, wobei der Behälter 8 durch den Deckel 5 dicht verschlossen ist. Aufgrund der vielen Faltungen des Schlauches 1 ist ein Abfluß der im Bottich befindlichen Flüssigkeit verhindert. Der Abtransport der Flüssigkeit aus dem Bottich erfolgt über den Saugraum 12, die Öffnung 16 und das Pumpenlaufrad 7′ durch den Druckraum der Pumpe 7. Ist nun z.B. aufgrund eines Ausfalles der Pumpe erforderlich, den Flüssigkeitsbottich zu entleeren, dann wird der Deckel 5 abgenommen und der Schlauch 1 aus dem Behälter 8 herausgezogen, wodurch die Knicke der Faltungen aufgehen und damit ein ungehinderter Durchtritt der im Bottich befindlichen Flüssigkeit erfolgt, wie dies in Fig. 1 wiedergegeben ist.
Claims (5)
1. Einrichtung zum Entleeren des Flüssigkeitsbottiches von Wasch-, Reinigungs- oder Spülmaschinen, bei welchen die Flüssigkeit aus dem Bottich mittels einer Pumpe über eine bis über den Maximalflüssigkeitsstand nach oben führende Leitung austragbar ist, wobei im tiefsten Bereich der Austrageleitung ein Ablaßschlauch vorgesehen ist, dadurch gekennzeichnet, daß der Ablaßschlauch (1) in einem, vorzugsweise dicht abschließbaren Behälter (8) aufbewahrt ist.
2. Einrichtung nach Anspruch 1, dadurch gekennzeichnet, daß der dicht abschließbare Behälter (8) der Pumpe (7) vorgeschaltet ist, wobei die Rückwand (17) des Behälters (8) die Vorderwand des Saugraumes (1) der Pumpe (7) bildet.
3. Einrichtung nach Anspruch 1 oder 2, dadurch gekennzeichnet, daß der Behälter (8) durch einen in das Pumpengehäuse (3), vorzugsweise in den Fremdkörperabscheider, dichtend einfügbaren Einsatzteil (4) gebildet ist.
4. Einrichtung nach Anspruch 3, dadurch gekennzeichnet, daß der Einsatzteil (4) bis zum Pumpenlaufrad (7′) reicht, wobei die Rückwand (15) des Einsatzteiles (4) den Saugraum (12) vom Druckraum (13) der Pumpe (7) trennt.
5. Einrichtung nach einem der Ansprüche 1 bis 4, dadurch gekennzeichnet, daß der Ablaßschlauch (1) in den Behälter (8) durch Zusammenfalten einfügbar ist.
Applications Claiming Priority (2)
| Application Number | Priority Date | Filing Date | Title |
|---|---|---|---|
| AT0080588A AT388945B (de) | 1988-03-25 | 1988-03-25 | Einrichtung zum entleeren des fluessigkeitsbottiches von wasch-, reinigungsoder spuelmaschinen |
| AT805/88 | 1988-03-25 |
Publications (2)
| Publication Number | Publication Date |
|---|---|
| EP0334836A2 true EP0334836A2 (de) | 1989-09-27 |
| EP0334836A3 EP0334836A3 (de) | 1990-08-01 |
Family
ID=3500113
Family Applications (1)
| Application Number | Title | Priority Date | Filing Date |
|---|---|---|---|
| EP89890081A Withdrawn EP0334836A3 (de) | 1988-03-25 | 1989-03-20 | Einrichtung zum Entleeren des Flüssigkeitsbottiches von Wasch-, Reinigungs- oder Spülmaschinen |
Country Status (2)
| Country | Link |
|---|---|
| EP (1) | EP0334836A3 (de) |
| AT (1) | AT388945B (de) |
Cited By (6)
| Publication number | Priority date | Publication date | Assignee | Title |
|---|---|---|---|---|
| WO2000068490A1 (en) * | 1999-05-07 | 2000-11-16 | Dyson Limited | Washing machine with a drain pump |
| EP1167613A3 (de) * | 2000-06-12 | 2002-11-13 | CANDY S.p.A. | Filter für eine Wäschewaschmaschine |
| EP2302126A3 (de) * | 2009-09-29 | 2012-12-26 | BSH Bosch und Siemens Hausgeräte GmbH | Laugenpumpe für eine Haushaltwaschmaschine |
| EP2703739A1 (de) * | 2012-08-31 | 2014-03-05 | Electrolux Home Products Corporation N.V. | Kochherd mit Ofeninnenraum und Dampfkochanordnung |
| EP2886704A1 (de) * | 2013-12-23 | 2015-06-24 | Electrolux Appliances Aktiebolag | Waschmaschine mit Filtereinheit |
| WO2016027227A1 (en) * | 2014-08-21 | 2016-02-25 | BSH Hausgeräte GmbH | Drainage system for a washing machine and washing machine comprising the system |
Family Cites Families (1)
| Publication number | Priority date | Publication date | Assignee | Title |
|---|---|---|---|---|
| DE2900789C3 (de) * | 1979-01-10 | 1981-08-13 | Bosch-Siemens Hausgeräte GmbH, 7000 Stuttgart | Waschmaschine mit einem Laugenablaufsystem |
-
1988
- 1988-03-25 AT AT0080588A patent/AT388945B/de not_active IP Right Cessation
-
1989
- 1989-03-20 EP EP89890081A patent/EP0334836A3/de not_active Withdrawn
Cited By (14)
| Publication number | Priority date | Publication date | Assignee | Title |
|---|---|---|---|---|
| US6931891B2 (en) | 1999-05-07 | 2005-08-23 | Dyson Limited | Washing machine with a drain pump |
| AU751196C (en) * | 1999-05-07 | 2003-04-10 | Dyson Technology Limited | Washing machine with a drain pump |
| US6584812B1 (en) | 1999-05-07 | 2003-07-01 | Dyson Limited | Washing machine with a drain pump |
| EP1335061A3 (de) * | 1999-05-07 | 2004-05-12 | Dyson Limited | Waschmaschine mit einer Entleerungspumpe |
| AU751196B2 (en) * | 1999-05-07 | 2002-08-08 | Dyson Technology Limited | Washing machine with a drain pump |
| WO2000068490A1 (en) * | 1999-05-07 | 2000-11-16 | Dyson Limited | Washing machine with a drain pump |
| EP1167613A3 (de) * | 2000-06-12 | 2002-11-13 | CANDY S.p.A. | Filter für eine Wäschewaschmaschine |
| EP2302126A3 (de) * | 2009-09-29 | 2012-12-26 | BSH Bosch und Siemens Hausgeräte GmbH | Laugenpumpe für eine Haushaltwaschmaschine |
| EP2703739A1 (de) * | 2012-08-31 | 2014-03-05 | Electrolux Home Products Corporation N.V. | Kochherd mit Ofeninnenraum und Dampfkochanordnung |
| AU2013307485B2 (en) * | 2012-08-31 | 2017-04-20 | Electrolux Home Products Corporation N. V. | A cooking oven with an oven cavity and a steam cooking arrangement |
| WO2014032975A1 (en) * | 2012-08-31 | 2014-03-06 | Electrolux Home Products Corporation N. V. | A cooking oven with an oven cavity and a steam cooking arrangement |
| EP2886704A1 (de) * | 2013-12-23 | 2015-06-24 | Electrolux Appliances Aktiebolag | Waschmaschine mit Filtereinheit |
| WO2015096983A1 (en) * | 2013-12-23 | 2015-07-02 | Electrolux Appliances Aktiebolag | Laundry washing machine comprising a filter assembly |
| WO2016027227A1 (en) * | 2014-08-21 | 2016-02-25 | BSH Hausgeräte GmbH | Drainage system for a washing machine and washing machine comprising the system |
Also Published As
| Publication number | Publication date |
|---|---|
| EP0334836A3 (de) | 1990-08-01 |
| AT388945B (de) | 1989-09-25 |
| ATA80588A (de) | 1989-02-15 |
Similar Documents
| Publication | Publication Date | Title |
|---|---|---|
| EP1209275A2 (de) | Laugenabpumpstrang in einer Waschmaschine | |
| EP0334836A2 (de) | Einrichtung zum Entleeren des Flüssigkeitsbottiches von Wasch-, Reinigungs- oder Spülmaschinen | |
| DE9320151U1 (de) | Dialysevorrichtung | |
| DE2827254C3 (de) | Waschmaschine mit einer elektrisch antreibbaren Laugenpumpe | |
| DE4305880C2 (de) | Haushaltsgerät, wie Geschirrspül- oder Waschmaschine | |
| DE3717646A1 (de) | Vorrichtung zum schutz gegen wasserschaeden bei geschirrspuelmaschinen | |
| DE202009007469U1 (de) | Abflussvorrichtung angepasst für eine Waschmaschine | |
| DE3734117A1 (de) | Trommelwaschmaschine | |
| DE102014217355A1 (de) | Fluidanschlussvorrichtung für ein Haushaltsgerät, sowie Haushaltsgerät mit einer solchen | |
| DE3731371C2 (de) | Waschmaschine oder Waschtrockner mit Laugenpumpe und Flusenfilter | |
| DE102019121992A1 (de) | Waschmaschine oder Waschtrockner mit einem Ablaufsystem | |
| DE3544788A1 (de) | Trommelwaschmaschine | |
| DE3425663A1 (de) | Sicherheitseinrichtung fuer ein haushaltsgeraet | |
| DE2125273A1 (de) | Waschmaschine, Geschirrspülmaschine od.dgl | |
| DE7213157U (de) | Rückflußverhinderer mit waagerechtem Durchgang für in Rohrleitungen eingebaute Wasserzähler | |
| DE1585628C3 (de) | Waschmaschine | |
| DE102016201972B3 (de) | Wäschepflegegerät mit einer Laugenpumpe | |
| WO2007131854A1 (de) | Waschmaschine mit notentleerungsschlauch, sowie verfahren zum entleeren einer solchen waschmaschine | |
| EP2024549B1 (de) | Waschmaschine mit notentleerungsschlauch | |
| DE102024200272A1 (de) | Filtersystem eines Wäschebehandlungsgeräts sowie Wäschebehandlungsgerät | |
| DE964831C (de) | Vorrichtung zum Zumischen eines Schaum- oder Netzmittels in die Druckwasserleitung von Feuerloeschanlagen oder -vorrichtungen | |
| DE1628524A1 (de) | Geschirrspuelmaschine | |
| DE428675C (de) | Sicherheitsvorrichtung | |
| DE3211031C1 (en) | Container for preparing regenerating brine for water softeners of dishwashing and washing machines | |
| DE2645967C2 (de) | Vorrichtung zum Messen großer Milchmengen aus Tankfahrzeugen |
Legal Events
| Date | Code | Title | Description |
|---|---|---|---|
| PUAI | Public reference made under article 153(3) epc to a published international application that has entered the european phase |
Free format text: ORIGINAL CODE: 0009012 |
|
| AK | Designated contracting states |
Kind code of ref document: A2 Designated state(s): BE CH DE ES FR GB GR IT LI LU NL SE |
|
| PUAL | Search report despatched |
Free format text: ORIGINAL CODE: 0009013 |
|
| AK | Designated contracting states |
Kind code of ref document: A3 Designated state(s): BE CH DE ES FR GB GR IT LI LU NL SE |
|
| STAA | Information on the status of an ep patent application or granted ep patent |
Free format text: STATUS: THE APPLICATION IS DEEMED TO BE WITHDRAWN |
|
| 18D | Application deemed to be withdrawn |
Effective date: 19910202 |