EP0325800B1 - Steuereinrichtung für eine Türverschlussanordnung an einem Kraftfahrzeug - Google Patents
Steuereinrichtung für eine Türverschlussanordnung an einem Kraftfahrzeug Download PDFInfo
- Publication number
- EP0325800B1 EP0325800B1 EP88121875A EP88121875A EP0325800B1 EP 0325800 B1 EP0325800 B1 EP 0325800B1 EP 88121875 A EP88121875 A EP 88121875A EP 88121875 A EP88121875 A EP 88121875A EP 0325800 B1 EP0325800 B1 EP 0325800B1
- Authority
- EP
- European Patent Office
- Prior art keywords
- control device
- servomotor
- safety switching
- switching device
- switch
- Prior art date
- Legal status (The legal status is an assumption and is not a legal conclusion. Google has not performed a legal analysis and makes no representation as to the accuracy of the status listed.)
- Expired - Lifetime
Links
- 230000006870 function Effects 0.000 claims description 7
- 238000010276 construction Methods 0.000 claims 2
- 238000010586 diagram Methods 0.000 description 3
- 230000015654 memory Effects 0.000 description 2
- 230000004913 activation Effects 0.000 description 1
- 230000006378 damage Effects 0.000 description 1
- 230000001360 synchronised effect Effects 0.000 description 1
Images
Classifications
-
- E—FIXED CONSTRUCTIONS
- E05—LOCKS; KEYS; WINDOW OR DOOR FITTINGS; SAFES
- E05B—LOCKS; ACCESSORIES THEREFOR; HANDCUFFS
- E05B77/00—Vehicle locks characterised by special functions or purposes
- E05B77/54—Automatic securing or unlocking of bolts triggered by certain vehicle parameters, e.g. exceeding a speed threshold
-
- E—FIXED CONSTRUCTIONS
- E05—LOCKS; KEYS; WINDOW OR DOOR FITTINGS; SAFES
- E05B—LOCKS; ACCESSORIES THEREFOR; HANDCUFFS
- E05B47/00—Operating or controlling locks or other fastening devices by electric or magnetic means
Definitions
- the invention relates generically to a control device for a door lock arrangement on a motor vehicle, of which at least one door lock has an electromotive mechanism with a servo motor, which controls itself automatically with the aid of an operating control device after activation in the sense of a locking movement or opening movement.
- a motor vehicle door lock which is set up accordingly, is for. B. described in DE-A-31 50 620.
- the servomotor has the task of facilitating or closing or closing the motor vehicle door equipped with such a door lock.
- the operational control device is generally not constructed electronically.
- the known generic control device from which the invention is based does not always meet all requirements in terms of safety. It is particularly disturbing that an unintentional opening of this motor vehicle door is possible almost without power and happens when a switch of the operating control device is actuated by mistake. It also bothers that. B. by children playing, an actuation of the servo motor until destruction by overload is possible. It cannot be ruled out that if a car door is closed carelessly, a person gets stuck because for example, it gets between the door and door rebate with your fingers, but the servomotor continues its locking movement. Garments can also be pinched in this way.
- Another control device (GB-A-21 29 044) lacks an electromotive mechanism and an associated servomotor.
- a door lock arrangement is known (EP-A-01 47 549), which has a servo motor and a discriminator assigned to the servo motor, which is intended to arrange time intervals during the passage of the actuator between different switching points, so that the working speed of the servo motor can then be set up so that that the parts thereby moved reach their end position without running in hard.
- the invention has for its object to further develop a generic control device so that an unintentional opening of the motor vehicle door while the motor vehicle is moving is no longer possible and actuation of the servo motor is ruled out until it is destroyed.
- an electronic safety switching device superordinate to the operation control device which has at least one travel sensor and an associated switch, and that the travel sensor switches off the operation control device via the assigned switch when the motor vehicle exceeds a predetermined speed
- the servo motor has an electronic counting device which counts up an actuation time of the servo motor and which counts the pause time down to zero, and wherein the counting device takes the operating control device out of operation when a predetermined value of the upward counting is reached.
- the travel sensor is designed as a wheel sensor. It can be combined with the wheel sensor of an anti-lock braking system or at the same time be designed as such. However, there is also the option of designing the travel sensor as a speedometer sensor.
- the safety switching device also includes a Has emergency switch with which the servomotor can be switched to the opening movement during the locking movement. It is understood that such an emergency switch is expediently located in a door in the area of the motor vehicle door lock. Within the scope of the invention it can also be achieved without difficulty that the servomotor is not damaged by overloading. To this end, the invention teaches that the safety switching device further comprises a servo motor protection switch which detects the temperature of the servo motor, and that the servo motor protection switch takes the operation control device out of operation when the determined temperature exceeds a predetermined maximum temperature. There are various ways of determining the maximum temperature.
- a preferred embodiment which is of particular importance because of its functional reliability, works with the counting device which, when a predetermined value of the up-counting is reached, actuates the servomotor circuit breaker which deactivates the operation control device. But you can also work with a thermal sensor, which is arranged during operation of the servo motor.
- the electronic safety switching device can be constructed in a known manner so that it controls itself: after the electronic circuits of the safety switching device are supplied with voltage, the functional sequence is released. All memories are deleted or brought to a defined content. A self-test then runs in test mode, which checks all parameters and functional parts to be tested. The status determined in this way is compared with a normal state stored in a permanent memory.
- the safety switching device has a stand-by circuit which switches on with the last actuation command from the operating control device or when the maximum temperature is reached, and that the stand-by circuit queries all functions .
- a control device can be installed in a motor vehicle in which only one of the doors is equipped with a door lock which has an electromotive mechanism and a servo motor. In general, however, several door locks are set up accordingly. In the embodiment with a plurality of door locks, each with an electromotive mechanism plus a servo motor, the invention teaches that a central safety switching device is provided for this plurality of door locks and that this is wired to all door locks via control lines and load lines.
- the electronic safety switching device as a central switching block for this plurality of door locks has in which the travel sensor with the assigned switch and possibly the stand-by circuit and possibly the device for switching the closing movement into an opening movement when an emergency switch is housed, but that the other functional parts of the safety switching device in separate switching blocks in the area the door locks are arranged.
- the operating control device can also be constructed electronically or largely electronically and can be integrated into the electronic safety switching device according to the invention. It goes without saying that the electronic safety switching device is equipped with corresponding display devices which allow the driver of the motor vehicle to check the door lock arrangement and its various functional positions.
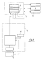
- FIG. 1 shows a door lock 1 which belongs to a door lock arrangement on a motor vehicle.
- This door lock 1 has an electronically operated mechanism 2 with a servo motor 3, which controls itself automatically with the aid of an operating control device 4 in the sense of a locking movement or an opening movement.
- an electronic safety switching device 5 which is higher than the operation control device 4 is additionally provided. 2 and 3, the special design of the safety switching device 5 can be seen. It has at least one travel sensor 6 and is characterized in that the travel sensor 6 switches off the operating control device 4 via the assigned switch when the motor vehicle reaches a predetermined travel speed exceeds.
- the circuit is further made such that the servo motor 3 has an electronic counting device 7 which counts up the actuation time of the servo motor 3 and which counts the pause time down to zero.
- the counting device 7 takes the operation control device 4 out of operation when a predetermined value of the up-count is reached.
- the travel sensor 6 can be designed as a wheel sensor or speedometer sensor.
- the safety switching device 5 also has an emergency switch 8 with which the servo motor 3 can be switched to the opening movement during the locking movement.
- the safety switching device 5 also has a servo motor circuit breaker 9 which determines the temperature of the servo motor 3, wherein the servo motor protection switch 9 takes the operation control device 4 out of operation when the determined temperature exceeds a predetermined maximum temperature.
- the servomotor circuit breaker 9 can be provided with a temperature sensor 10.
- FIGS. 2 and 3 also show the stand-by circuit 11 of the function already described, which therefore switches on with the last actuation command from the operating control device 4 or when the predetermined maximum temperature has been reached and polls all functions.
- Fig. 2 shows that the safety switching device 5 can be designed as a central unit that operates the various door locks. As central electronics, it can be integrated in an on-board computer or can be associated with it. But it is also possible to implement decentralized electronics, as it were. This was shown in FIG. 3.
- the safety switching device 5 is here divided into two blocks, as it were. With the registered and already explained reference numerals, the embodiment of FIG. 3 is otherwise easily understandable. It is understood that in the control device according to the invention a special component for switching on or connecting to the power supply is provided, which was not shown and belongs to the safety switching device 5. Otherwise, the safety switching device 5 is provided with a status or error display 12. Locking and unlocking can be operated as usual via a corresponding component 13.
Landscapes
- Lock And Its Accessories (AREA)
- Power-Operated Mechanisms For Wings (AREA)
Applications Claiming Priority (2)
| Application Number | Priority Date | Filing Date | Title |
|---|---|---|---|
| DE3801650 | 1988-01-21 | ||
| DE3801650A DE3801650C1 (enExample) | 1988-01-21 | 1988-01-21 |
Publications (3)
| Publication Number | Publication Date |
|---|---|
| EP0325800A2 EP0325800A2 (de) | 1989-08-02 |
| EP0325800A3 EP0325800A3 (en) | 1990-01-31 |
| EP0325800B1 true EP0325800B1 (de) | 1992-08-12 |
Family
ID=6345691
Family Applications (1)
| Application Number | Title | Priority Date | Filing Date |
|---|---|---|---|
| EP88121875A Expired - Lifetime EP0325800B1 (de) | 1988-01-21 | 1988-12-30 | Steuereinrichtung für eine Türverschlussanordnung an einem Kraftfahrzeug |
Country Status (4)
| Country | Link |
|---|---|
| US (1) | US4949804A (enExample) |
| EP (1) | EP0325800B1 (enExample) |
| JP (1) | JPH0689619B2 (enExample) |
| DE (2) | DE3801650C1 (enExample) |
Families Citing this family (11)
| Publication number | Priority date | Publication date | Assignee | Title |
|---|---|---|---|---|
| DE3929987A1 (de) * | 1989-09-08 | 1991-03-21 | Bayerische Motoren Werke Ag | Tuer- bzw. klappensteuerung von kraftfahrzeugen |
| JPH04136385A (ja) * | 1990-09-26 | 1992-05-11 | Mazda Motor Corp | 自動車のドアロック構造 |
| DE4104801C1 (en) * | 1991-02-16 | 1992-09-10 | Mercedes-Benz Aktiengesellschaft, 7000 Stuttgart, De | Locking installation for motor vehicle doors - responds to control signals only when sent at correct time intervals |
| DE4322141A1 (de) * | 1993-07-02 | 1995-01-19 | Siemens Ag | Anordnung und Verfahren zur Betätigung einer Zentralverriegelung in einem KFZ |
| DE19500999C1 (de) * | 1995-01-14 | 1996-01-04 | Daimler Benz Ag | Kraftfahrzeugsicherungsanlage |
| EP0922826A3 (de) * | 1997-12-10 | 2002-01-16 | Delphi Automotive Systems Deutschland GmbH | Verfahren und Vorrichtung zur Steuerung des Schliesszustandes einer Kraftfahrzeugtüre |
| GB9925009D0 (en) * | 1999-10-23 | 1999-12-22 | Meritor Light Vehicle Sys Ltd | Latch arrangement |
| DE10029616A1 (de) * | 2000-06-15 | 2001-12-20 | Volkswagen Ag | Kraftfahrzeug mit einer elektromechanischen Türverriegelung |
| DE10334711A1 (de) * | 2003-07-30 | 2005-02-24 | Daimlerchrysler Ag | Sicherheitssystem zum Betrieb wenigstens einer elektrisch betätigbaren Verschlusseinrichtung eines Fahrzeugs |
| AT501893B1 (de) * | 2005-08-01 | 2006-12-15 | Knorr Bremse Gmbh | Verfahren und vorrichtung zum ausser-betrieb-nehmen defekter türen |
| US12331560B2 (en) * | 2019-06-17 | 2025-06-17 | Trimark Corporation | Motor control for powered closure with anti-pinch |
Family Cites Families (9)
| Publication number | Priority date | Publication date | Assignee | Title |
|---|---|---|---|---|
| US3575604A (en) * | 1969-09-17 | 1971-04-20 | Gen Signal Corp | Motion control on doors of rapid transit cars |
| JPS502129B1 (enExample) * | 1970-09-02 | 1975-01-23 | ||
| US3871474A (en) * | 1973-06-06 | 1975-03-18 | Chrysler Corp | Electric automatic door locking system |
| DE3150620C2 (de) * | 1981-12-21 | 1986-12-18 | Kiekert GmbH & Co KG, 5628 Heiligenhaus | Türverschluß für eine Kraftfahrzeugtür |
| GB2129044B (en) * | 1982-10-12 | 1986-03-12 | Motor Vehicle Security Systems | Safety latch |
| DE3347024A1 (de) * | 1983-12-24 | 1985-07-04 | Vdo Adolf Schindling Ag, 6000 Frankfurt | Elektrische zentralverriegelungsvorrichtung fuer kraftfahrzeuge und verfahren zur elektrischen zentralverriegelung |
| DE3438342A1 (de) * | 1984-10-19 | 1986-04-24 | Audi AG, 8070 Ingolstadt | Schliesssystem fuer kraftfahrzeugtueren |
| US4679508A (en) * | 1986-02-21 | 1987-07-14 | Westinghouse Electric Corp. | Transit vehicle door control apparatus |
| US4821836A (en) * | 1987-05-08 | 1989-04-18 | Chrysler Motors Corporation | Vehicle integral speedometer and automatic door lock system |
-
1988
- 1988-01-21 DE DE3801650A patent/DE3801650C1/de not_active Expired
- 1988-12-30 DE DE8888121875T patent/DE3873734D1/de not_active Expired - Fee Related
- 1988-12-30 EP EP88121875A patent/EP0325800B1/de not_active Expired - Lifetime
-
1989
- 1989-01-18 US US07/298,595 patent/US4949804A/en not_active Expired - Lifetime
- 1989-01-18 JP JP787389A patent/JPH0689619B2/ja not_active Expired - Lifetime
Also Published As
| Publication number | Publication date |
|---|---|
| JPH028477A (ja) | 1990-01-11 |
| JPH0689619B2 (ja) | 1994-11-09 |
| EP0325800A3 (en) | 1990-01-31 |
| DE3873734D1 (de) | 1992-09-17 |
| DE3801650C1 (enExample) | 1989-03-23 |
| EP0325800A2 (de) | 1989-08-02 |
| US4949804A (en) | 1990-08-21 |
Similar Documents
| Publication | Publication Date | Title |
|---|---|---|
| DE69509316T2 (de) | Anordnung bestehend aus einem elektrischen Türschloss mit einer elektrischen Notfunktion und aus seinen Steuerungs- und Versorgungsmitteln | |
| DE3029960C2 (enExample) | ||
| EP1544388B1 (de) | Kraftfahrzeug | |
| EP2333208B2 (de) | Kraftfahrzeugschloss | |
| DE69509317T2 (de) | Anordnung bestehend aus einem elektrischen Kraftfahrzeug-Türschloss und aus seinen zugehörigen Steuerungs- und Versorgungsmitteln | |
| EP0584499A1 (de) | Türschloss für Kraftfahrzeuge | |
| EP0325800B1 (de) | Steuereinrichtung für eine Türverschlussanordnung an einem Kraftfahrzeug | |
| EP1060922A1 (de) | Schaltkreis zur Steuerung fremdkraftsbetriebener Fensterheber, Schiebedächer oder Türschlösser in Kraftfahrzeugen | |
| DE3008964C2 (de) | Schaltungsanordnung für eine zentralgesteuerte Verschlußeinrichtung mit Diebstahlsicherung für Kraftfahrzeugtüren | |
| DE3425108C1 (de) | Verriegelungsvorrichtung fuer Schloesser der Hintertueren eines Kraftfahrzeuges | |
| DE9404382U1 (de) | Möbelantrieb | |
| DE19547728C2 (de) | Schaltungsanordnung mit einer elektrischen Stelleinrichtung | |
| DE19916733A1 (de) | Schließanlage für Fahrzeuge | |
| DE2923505C2 (enExample) | ||
| DE3120778C2 (de) | Einrichtung zum Ent- und Verriegeln von Türen | |
| DE19844778C2 (de) | Kraftfahrzeug-Türschloß mit elektronischer Motoransteuerung | |
| EP0027866B1 (de) | Einrichtung zum Ent- und Verriegeln von Türen | |
| DE3929987A1 (de) | Tuer- bzw. klappensteuerung von kraftfahrzeugen | |
| DE4416642B4 (de) | Türverschlußsystem an einem Kraftfahrzeug mit einer Mehrzahl von Kraftfahrzeugtüren, von denen zumindest eine als Schiebetür ausgebildet ist | |
| EP0257538B1 (de) | Schaltanordnung in Kraftfahrzeugen | |
| DE3628496C2 (de) | Schaltanordnung für Ausrüstungsbauteile von Kraftfahrzeugen | |
| DE2854670A1 (de) | Schaltanordnung fuer einen aus einer spannungsquelle gespeisten drehrichtungsumkehrbaren elektromotor zum antrieb einer fensterhebeanlage in kraftfahrzeugen | |
| DE4003580C2 (de) | Zentralverriegelungseinrichtung für Kraftfahrzeuge | |
| DE3809591C2 (de) | Sicherheitsschaltung für elektrisch ansteuerbare Türantriebe in Fahrzeugen für Personenbeförderung | |
| DE19512184A1 (de) | Autovordertürschloß und Autovorder- und Hintertürschloßsystem sowie deren elektronisches Zentralverriegelungssystem |
Legal Events
| Date | Code | Title | Description |
|---|---|---|---|
| PUAI | Public reference made under article 153(3) epc to a published international application that has entered the european phase |
Free format text: ORIGINAL CODE: 0009012 |
|
| AK | Designated contracting states |
Kind code of ref document: A2 Designated state(s): DE FR GB IT SE |
|
| PUAL | Search report despatched |
Free format text: ORIGINAL CODE: 0009013 |
|
| RHK1 | Main classification (correction) |
Ipc: E05B 65/42 |
|
| AK | Designated contracting states |
Kind code of ref document: A3 Designated state(s): DE FR GB IT SE |
|
| 17P | Request for examination filed |
Effective date: 19891230 |
|
| 17Q | First examination report despatched |
Effective date: 19910708 |
|
| GRAA | (expected) grant |
Free format text: ORIGINAL CODE: 0009210 |
|
| AK | Designated contracting states |
Kind code of ref document: B1 Designated state(s): DE FR GB IT SE |
|
| GBT | Gb: translation of ep patent filed (gb section 77(6)(a)/1977) | ||
| ITF | It: translation for a ep patent filed | ||
| REF | Corresponds to: |
Ref document number: 3873734 Country of ref document: DE Date of ref document: 19920917 |
|
| ET | Fr: translation filed | ||
| PLBE | No opposition filed within time limit |
Free format text: ORIGINAL CODE: 0009261 |
|
| STAA | Information on the status of an ep patent application or granted ep patent |
Free format text: STATUS: NO OPPOSITION FILED WITHIN TIME LIMIT |
|
| 26N | No opposition filed | ||
| EAL | Se: european patent in force in sweden |
Ref document number: 88121875.4 |
|
| REG | Reference to a national code |
Ref country code: GB Ref legal event code: 732E |
|
| REG | Reference to a national code |
Ref country code: FR Ref legal event code: TP Ref country code: FR Ref legal event code: CJ |
|
| PGFP | Annual fee paid to national office [announced via postgrant information from national office to epo] |
Ref country code: GB Payment date: 20011203 Year of fee payment: 14 |
|
| PGFP | Annual fee paid to national office [announced via postgrant information from national office to epo] |
Ref country code: FR Payment date: 20011212 Year of fee payment: 14 |
|
| PGFP | Annual fee paid to national office [announced via postgrant information from national office to epo] |
Ref country code: DE Payment date: 20011213 Year of fee payment: 14 |
|
| PGFP | Annual fee paid to national office [announced via postgrant information from national office to epo] |
Ref country code: SE Payment date: 20011217 Year of fee payment: 14 |
|
| REG | Reference to a national code |
Ref country code: GB Ref legal event code: IF02 |
|
| PG25 | Lapsed in a contracting state [announced via postgrant information from national office to epo] |
Ref country code: GB Free format text: LAPSE BECAUSE OF NON-PAYMENT OF DUE FEES Effective date: 20021230 |
|
| PG25 | Lapsed in a contracting state [announced via postgrant information from national office to epo] |
Ref country code: SE Free format text: LAPSE BECAUSE OF NON-PAYMENT OF DUE FEES Effective date: 20021231 |
|
| PG25 | Lapsed in a contracting state [announced via postgrant information from national office to epo] |
Ref country code: DE Free format text: LAPSE BECAUSE OF NON-PAYMENT OF DUE FEES Effective date: 20030701 |
|
| EUG | Se: european patent has lapsed | ||
| GBPC | Gb: european patent ceased through non-payment of renewal fee |
Effective date: 20021230 |
|
| PG25 | Lapsed in a contracting state [announced via postgrant information from national office to epo] |
Ref country code: FR Free format text: LAPSE BECAUSE OF NON-PAYMENT OF DUE FEES Effective date: 20030901 |
|
| REG | Reference to a national code |
Ref country code: FR Ref legal event code: ST |
|
| PG25 | Lapsed in a contracting state [announced via postgrant information from national office to epo] |
Ref country code: IT Free format text: LAPSE BECAUSE OF NON-PAYMENT OF DUE FEES;WARNING: LAPSES OF ITALIAN PATENTS WITH EFFECTIVE DATE BEFORE 2007 MAY HAVE OCCURRED AT ANY TIME BEFORE 2007. THE CORRECT EFFECTIVE DATE MAY BE DIFFERENT FROM THE ONE RECORDED. Effective date: 20051230 |