EP0322540A2 - Flugkörper mit verstellbaren Steuerorganen - Google Patents

Flugkörper mit verstellbaren Steuerorganen Download PDF

Info

Publication number
EP0322540A2
EP0322540A2 EP88118071A EP88118071A EP0322540A2 EP 0322540 A2 EP0322540 A2 EP 0322540A2 EP 88118071 A EP88118071 A EP 88118071A EP 88118071 A EP88118071 A EP 88118071A EP 0322540 A2 EP0322540 A2 EP 0322540A2
Authority
EP
European Patent Office
Prior art keywords
missile
electrical generator
control
rotor
control electronics
Prior art date
Legal status (The legal status is an assumption and is not a legal conclusion. Google has not performed a legal analysis and makes no representation as to the accuracy of the status listed.)
Withdrawn
Application number
EP88118071A
Other languages
English (en)
French (fr)
Other versions
EP0322540A3 (de
Inventor
Walter Kranz
Werner Schnäbele
Current Assignee (The listed assignees may be inaccurate. Google has not performed a legal analysis and makes no representation or warranty as to the accuracy of the list.)
Airbus Defence and Space GmbH
Original Assignee
Messerschmitt Bolkow Blohm AG
Priority date (The priority date is an assumption and is not a legal conclusion. Google has not performed a legal analysis and makes no representation as to the accuracy of the date listed.)
Filing date
Publication date
Application filed by Messerschmitt Bolkow Blohm AG filed Critical Messerschmitt Bolkow Blohm AG
Publication of EP0322540A2 publication Critical patent/EP0322540A2/de
Publication of EP0322540A3 publication Critical patent/EP0322540A3/de
Withdrawn legal-status Critical Current

Links

Images

Classifications

    • FMECHANICAL ENGINEERING; LIGHTING; HEATING; WEAPONS; BLASTING
    • F42AMMUNITION; BLASTING
    • F42BEXPLOSIVE CHARGES, e.g. FOR BLASTING, FIREWORKS, AMMUNITION
    • F42B10/00Means for influencing, e.g. improving, the aerodynamic properties of projectiles or missiles; Arrangements on projectiles or missiles for stabilising, steering, range-reducing, range-increasing or fall-retarding
    • F42B10/60Steering arrangements

Definitions

  • the invention relates to a missile according to the preamble of claim 1.
  • controllable missiles in particular small-caliber missiles, such as grenades or the like
  • small-caliber missiles such as grenades or the like
  • the US-PS 45 12 537 shows a rotating missile with a tip, which is rotatably mounted about the longitudinal axis of the missile and on which two fixed and two adjustable in their angular position duck wings are arranged.
  • the tip After the missile has been fired, its tip initially rotates with the missile, but is gradually braked by the duck wings, so that a relative rotation between the missile housing and the missile tip occurs.
  • Two stator windings are provided in the missile housing and two rotor windings of an electrical generator are provided in the tip.
  • Two corresponding windings are assigned to an alternating current generator that supplies energy for the control electronics of the missile.
  • the rotation of the missile tip is braked until it stops in a fixed coordinate system. The missile tip is then held in this position.
  • the second windings form a motor for the adjustment of the adjustable duck wings.
  • the control signal for the adjustment is determined by control electronics using an optical sensor.
  • the missile is based on these control signals by adjusting the duck wings Help the motor to the destination according to the law of proportional navigation.
  • a rotating projectile tip is again provided, which is held in rotation by means of an attached fin during the flight of the missile.
  • a permanent magnet of an electrical generator is connected to the missile tip. This electrical generator is used to supply power to the control electronics.
  • An optical seeker head with an optical slit window in the rotating missile tip is used for the target location, from whose pulse signals electrical control signals are determined in the control electronics.
  • a control nozzle rotating with the missile housing is used to influence the trajectory and is supplied with ram air via a slot between the missile housing and the missile tip. The amount of air flowing through the control nozzle can be varied by using a small separate DC motor to vary the distance between the missile tip and the missile housing and thus the size of the air slot.
  • the invention has for its object to simplify the formation of actuating device and electrical generator in a missile of the type in question, so that a small-sized, yet effective construction is created.
  • the electrical generator in addition to supplying power to the control electronics, the electrical generator also performs the tasks of the actuating device.
  • the moving part of the electrical generator depending on the generator type, for. B. a rotor or a vibrating part, mechanically connected to the control member or the control members of the missile.
  • this connection can be direct or via an actuating gear or the like.
  • the speed of the stator and the moving part relative to one another can be influenced by an electrical load connected in parallel to the stator and variable by the control electronics. This leads via the mechanical coupling between the generator and the control member to a corresponding adjustment of the control member or the control members and thus to the desired influencing of the flight path of the missile.
  • the entire construction can e.g. B. can also be used with small-caliber grenades.
  • Control systems for missiles according to DE-PS 33 17 583, DE-PS 35 03 041 and DE-OS 36 06 423 may be mentioned as application examples for the invention.
  • the brake used in the embodiments described there for adjusting the control element of the missile can be replaced according to the invention by an appropriately designed electrical generator, which then additionally supplies all of the energy required for the control electronics.
  • Energy that is external to the missile or energy that is present within the missile can be used to drive the electrical generator.
  • the drive for an electric generator with a stator and a rotor or the ram air for an intermittent, e.g. B. called oscillating generator can be used to drive the electrical generator.
  • Examples of the second type are the drive, for example, by engine gases of the missile or by gases from an existing gas generator, which is used to supply a control nozzle.
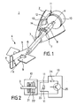
  • a missile 1 shows a missile 1 whose housing is designed as an ogive in the region of the missile tip 2.
  • a shaft 3 protruding from the missile tip 2 is mounted in the direction of the missile longitudinal axis X and can rotate about the missile longitudinal axis X through bearings (not shown).
  • An acoustic DF sensor is connected to this shaft 3.
  • This has a slit-shaped hollow tube 5, the central axis A of which is inclined at an angle alpha to the longitudinal axis X of the missile.
  • a sound receiver 6 is arranged at the intersection of the two axes A and X. The output signals of the sound receiver 6 are routed via lines within the shaft 3 to contact rings 7 which are in contact with external grinders 8.
  • an interlocking fixed pair of wings 9 is also provided.
  • the end of the shaft 3 which extends into the missile tip is provided with a rotor, not shown here, of an electrical generator 10 connected.
  • the electrical generator 10 has two power connections 11, of which connecting lines 12 lead to control electronics 13. Lines 14, which are connected to the pair of wipers 8, also lead to the control electronics.
  • the missile 1 moves through the air, it may be advantageous for stabilization reasons that the missile itself rotates about its longitudinal axis X, so that the seeker head 4 will rotate driven by the pivoted pair of wings 9.
  • the wings are preferably pivoted here so that the rotation of the seeker head system about the longitudinal axis X of the missile is opposite to the direction of rotation of the missile 1. Due to the pivoted pair of wings, a transverse force is constantly exerted on the missile 1, but this is the same in all directions and is averaged to ZERO due to the relatively fast rotational speed of the seeker head 4.
  • the rotation of the missile and the seeker head relative to one another generates energy in the electrical generator 10, which is supplied to the control electronics 13 via the line pair 12. An additional energy source is not necessary for the control electronics 13.
  • the sound receiver 6 receives sound signals from objects and emits corresponding output signals which are fed to the control electronics via the contact rings 7, the grinders 8 and the lines 14.
  • the control electronics 13 selects from the signals received within one revolution of the seeker head 4 a relevant signal that corresponds to a target. If this target appears in the field of view of the seeker head 4, the control electronics reduce the resistance in the circuit leading to the connections 11 of the generator 10, as a result of which the rotor of the generator is braked with respect to the stator. This also reduces the speed of rotation of the seeker head 4. As soon as the signal receiver no longer receives any signals from the relevant target, the control electronics 13 release the rotation of the seeker head at the original rotational speed again.
  • FIG. 2 shows a schematic block circuit diagram for reducing the external load of the electrical generator 10.
  • the shaft 3 mounted in the generator 10, which with a z. B. connected from segment-shaped permanent magnets equipped rotor 21, and the stator winding 22 with which the terminals 11 are connected.
  • the control electronics 13 are indicated, the resistance of which is indicated schematically as a resistor 23 with an additional ohmic load.
  • a series circuit comprising a further resistor 24 and the collector / emitter path of a transistor 25 is connected, which can be controlled by the control electronics 13 via its base.
  • the transistor 25 is usually blocked.
  • the transistor is switched through so that part of the generator current now flows through the resistor 24, as a result of which the external resistance of the electrical generator 10 is reduced overall.
  • the resistance value of the resistor 24 is dimensioned so that the desired deceleration of the shaft 3 results.
  • the braking can be carried out so far that the seeker head 4 is almost spatially fixed, precautionary measures being taken to ensure that the remaining rotation of the missile housing is then sufficient to continue to supply the control electronics 13 with energy.
  • FIG. 3 shows the front part of a missile 101 with a missile tip 102 rotatably mounted in the missile.
  • the missile tip is set into rotation by employed fins 109 by the air flow.
  • a shaft 103 is mounted in the missile housing and is fixedly connected to a rotor 121 of an electrical generator.
  • the stator windings 122 in the missile housing are indicated.
  • the control electronics and an optionally present sensor are not shown in this exemplary embodiment.
  • the electrical generator 110 is connected in a manner similar to that in FIG. 2.
  • the shaft 103 extends into the missile tip 102 and has at its front end a coaxial flow distributor 131 which is open to the front and has two openings 132 located on opposite sides of the missile longitudinal axis.
  • the openings 132 are assigned essentially radially extending blow-out openings 133.
  • the positioning of the openings 132 and 133 is such that, in the extreme positions, one of the openings 132 communicates with the associated blow-out opening 133 over its entire diameter, while the other opening 132 is blocked off. In a central position, the degree of coverage between the two openings 132 and associated blow-out openings 133 is 50%.
  • a ram air duct 134 is provided concentrically with the missile longitudinal axis X and opens into the flow distributor 131 at the front open end thereof.
  • a helical spring 136 surrounding the shaft 103 is clamped between the rear end of the flow distributor 131 and a flange 135 of the missile tip 102 lying between the latter and the electrical generator 110.
  • a rotation angle sensor 137 is provided between the shaft 103 and the missile housing.
  • Another rotation angle transmitter 138 can be arranged between the missile tip 102 and the missile housing. The output signals of these rotary encoder 137 and 138 are fed to the control electronics.
  • the missile tip 102 is kept in constant rotation by the flow against the fins 109.
  • the electrical load for the electrical generator 110 is regulated by the control electronics in such a way that the degree of coverage between the openings 132 and 133 is essentially always 50%.
  • the air flowing into the ram air duct 134 thus exits radially in approximately equal proportions on both sides of the missile. Thus, no transverse force acts on the missile 101.
  • the constant degree of coverage of 50% is, for. B. maintained by pulsed switching of the electrical load of the generator 110.
  • the coil spring 136 is in a half-tensioned state with this zero command.
  • a directional transverse force is to be exerted on the missile 101, there are two options: Either the braking effect on the shaft is increased by reducing the electrical load of the generator 110 or the braking effect is reduced by increasing the electrical load.
  • the coil spring 136 is tensioned and wraps tightly around the shaft 103 until it comes to rest. In this position z. B.
  • the degree of coverage between the upper opening 132 in FIG. 3 and the associated upper fitting opening 133 is 100%, whereas the lower opening 132 is covered.
  • This full command "upwards" can be canceled by reducing the braking effect, the coil spring simultaneously relaxing and pushing the flow distributor 131 towards the position in accordance with a zero command.
  • the braking effect is reduced accordingly, as a result of which the helical spring 136 relaxes and transfers the flow distributor into a position in which the lower opening 132 in FIG. 3 communicates 100% with the lower blow-out opening 133. This corresponds to a full command "down". By increasing the braking effect again, this command can be converted back to a zero command.
  • the front part of a missile 201 is shown, the missile tip 202 of which is designed as an ogive-shaped shell, which is pivotably supported on all sides in a pivot bearing 241.
  • This pivot bearing is arranged on the front part of a cone 242, which is supported by struts 243 on the missile housing, so that a space 244 remains between the cone 242 and the housing of the missile 201.
  • the center of gravity of the pivotable projectile tip 202 lies approximately in the center of the pivot bearing 241.
  • the casing of the projectile tip 202 covers the intermediate space 244 on all sides, but a circumferential gap 245 remains between the rear edge of the casing and the missile housing.
  • an electrical generator 210 with a rotor (not shown here) and a stator, the rotor of which is driven by a shaft 246 of a rotary nozzle 247 mounted therein is driven.
  • the rotary nozzle 247 has a gas channel 248 which is open in the direction of the housing of the missile 201 and is coaxial with the longitudinal axis X of the missile, and a thrust nozzle 249 which branches off radially therefrom, but whose direction of thrust does not intersect the longitudinal axis X of the missile.
  • An opening communicates with the open end of the gas channel 248 250 of a gas generator 251 located in the housing of the missile 201.
  • control electronics and any sensors are not shown; only the connections 211 of the electrical generator 210 are indicated.
  • gas generator 251 If the gas generator 251 is fired during or after the launch of the missile, gas flows into the rotary nozzle 247, causing it to rotate very quickly because of the asymmetrically arranged thrust nozzle 249. Since the shaft 246 of the rotary nozzle is connected to the rotor of the electrical generator, the latter generates electrical energy for supplying the control electronics and possibly other functions.
  • the gas jet emerging from the thrust nozzle 249 strikes the rear end of the pivotable missile tip 202 and then emerges from the gap 245 with a radial component to the missile axis. Since the gap 245 is the same size over the entire circumference in the normal flight position of the missile 201, the same amount of gas escapes everywhere, so that on average no transverse force arises on the missile 201 due to the rapid rotation.
  • the missiles described are merely exemplary constructions. So it would be z. B. in the embodiment of FIGS. 4 and 5 possible to control the missile not by adjusting the pivotable missile tip, but with the help of the directly blown out thrust jet of the thruster, the rotation of which is then modulated accordingly. It would also be possible in the exemplary embodiment according to FIG. 3 to select only one blow-out opening in the missile tip and one opening in the flow distributor, the degree of coverage of these two openings then being varied in order to set a desired transverse force. In the exemplary embodiment according to FIG.
  • the drive for the electric generator can be arranged away from the control elements.
  • To drive the generator can then z. B. a wind turbine can be used, whereas the control elements are actuated via an actuator.

Landscapes

  • Physics & Mathematics (AREA)
  • Fluid Mechanics (AREA)
  • Engineering & Computer Science (AREA)
  • General Engineering & Computer Science (AREA)
  • Connection Of Motors, Electrical Generators, Mechanical Devices, And The Like (AREA)
  • Aiming, Guidance, Guns With A Light Source, Armor, Camouflage, And Targets (AREA)

Abstract

Die Erfindung bezieht sich auf einen Flugkörper (1, 101, 201) mit ver­stellbaren Steuerorganen (3, 9; 103, 131; 247) zur Beeinflussung der Flugbahn des Flugkörpers. Der Flugkörper weist eine Steuerelektronik (13) zur Ermittlung von Steuersignalen für die Verstellung der Steuer­organe auf, sowie einen elektrischen Generator (10, 110, 210) zur Ener­gieversorgung der Steuerelektronik. Um die Konstruktion des Flugkörpers im Hinblick auf die Verstellung der Steuerorgane und die Energieversor­gung der Steuerelektronik zu vereinfachen, wird gemäß der Erfindung vorgeschlagen, daß der elektrische Generator (10, 110, 210) zusätzlich als Stelleinrichtung für die Steuerorgane verwendet wird. Hierzu ist eine mechanische Verbindung (3, 103, 246) zwischen dem bewegten Teil, im allgemeinen dem Rotor (21, 121) des elektrischen Generators und den Steuerorganen (9, 131, 247) zu deren Verstellung vorgesehen. Ferner ist der elektrische Generator (10, 110, 210) mit einer durch die Steuer­elektronik (13) in ihrer Größe variierbaren elektrischen Last (23, 24, 25) verbunden. Mit der Erfindung ergibt sich eine kleinbauende und effektive Konstruktion zur Verstellung der Steuerorgane, die auch bei kleinkalibrigen Flugkörpern, z. B. Granaten, angewendet werden kann.

Description

  • Die Erfindung bezieht sich auf einen Flugkörper gemäß dem Oberbegriff des Patentanspruches 1.
  • Bei steuerbaren Flugkörpern, insbesondere kleinkalibrigen Flugkörpern, wie Granaten oder dergleichen, ist es bekannt, die Energieversorgung für die Steuerelektronik und gegebenenfalls für die Stelleinrichtung zur Verstellung der Steuerorgane durch einen elektrischen Generator sicher­zustellen, dessen Rotor und Stator auf zwei relativ zueinander rotieren­den Teilen des Flugkörpers angeordnet sind.
  • So zeigt die US-PS 45 12 537 einen rotierenden Flugkörper mit einer Spitze, die um die Längsachse des Flugkörpers drehbar gelagert ist und an der zwei feste und zwei in ihrer Winkellage einstellbare Entenflügel angeordnet sind. Nach dem Abschuß des Flugkörpers dreht dessen Spitze zunächst mit dem Flugkörper mit, wird jedoch allmählich durch die ange­stellten Entenflügel abgebremst, so daß sich eine relative Drehung zwischen dem Flugkörpergehäuse und der Flugkörperspitze einstellt. Im Flugkörpergehäuse sind zwei Statorwicklungen und in der Spitze zwei Rotorwicklungen eines elektrischen Generators vorgesehen. Zwei korres­pondierende Wicklungen sind einem Wechselstromgenerator zugeordnet, der Energie für die Steuerelektronik des Flugkörpers liefert. Nach der Startphase wird die Rotation der Flugkörperspitze gebremst, bis diese in einem raumfesten Koordinatensystem zum Stehen kommt. Die Flugkörper­spitze wird dann in dieser Stellung gehalten. Die jeweils zweiten Wick­lungen bilden einen Motor für die Verstellung der einstellbaren Enten­flügel. Das Steuersignal für die Verstellung wird mit Hilfe eines optischen Sensors von einer Steuerelektronik ermittelt. Der Flugkörper wird aufgrund dieser Steuersignale durch Verstellung der Entenflügel mit Hilfe des Motors nach dem Gesetz der Proportionalnavigation in das Ziel gelenkt.
  • Bei einem Flugkörper gemäß der US-PS 4 193 567 ist wiederum eine rotie­rende Geschoßspitze vorgesehen, die mit Hilfe einer angestellten Flosse beim Flug des Flugkörpers in Drehung gehalten wird. Mit der Flugkörper­spitze ist ein Permanentmagnet eines elektrischen Generators verbunden. Dieser elektrische Generator dient zur Energieversorgung der Steuer­elektronik. Zur Zielortung wird ein optischer Suchkopf mit einem opti­schen Schlitzfenster in der rotierenden Flugkörperspitze benutzt, aus dessen Impulssignalen elektrische Steuersignale in der Steuerlektronik bestimmt werden. Zur Beeinflussung der Flugbahn dient eine mit dem Flug­körpergehäuse rotierende Steuerdüse, die über einen Schlitz zwischen Flugkörpergehäuse und Flugkörperspitze mit Staufluft versorgt wrird. Die Menge der durch die Steuerdüse fließenden Luft kann variiert werden, indem mit Hilfe eines kleinen separaten Gleichstrommotors der Abstand zwischen Flugkörperspitze und Flugkörpergehäuse und damit die Größe des Luftschlitzes variiert wird.
  • Der Erfindung liegt die Aufgabe zugrunde, bei einem Flugkörper der in Rede stehenden Art die Ausbildung von Stelleinrichtung und elektrischem Generator zu vereinfachen, so daß eine kleinbauende, trotzdem effektive Konstruktion geschaffen wird.
  • Diese Aufgabe ist gemäß der Erfindung durch die im kennzeichnenden Teil des Patentanspruches 1 angegebenen Merkmale gelöst.
  • Demgemäß werden durch den elektrischen Generator neben der Energiever­sorgung der Steuerelektronik zusätzlich die Aufgaben der Stelleinrich­tung übernommen. Hierzu ist der bewegte Teil des elektrischen Genera­tors, je nach Generatortyp z. B. ein Rotor oder ein Schwingteil, mecha­nisch mit dem Steuerorgan oder den Steuerorganen des Flugkörpers verbun­den. Diese Verbindung kann je nach Art des zu verstellenden Steueror­ganes direkt sein oder über ein Stellgetriebe oder dergleichen erfolgen.
  • Durch eine zu dem Stator parallel geschaltete und durch die Steuerelek­tronik variierbare elektrische Last kann die Geschwindigkeit von Stator und bewegtem Teil zueinander beeinflußt werden. Dies führt über die mechanische Kopplung zwischen Generator und Steuerorgan zu einer ent­sprechenden Verstellung des Steuerorgans bzw. der Steuerorgane und damit zu der gewünschten Beeinflussung der Flugbahn des Flugkörpers.
  • Ein separater Stellmotor für die Steuerorgane, wie bei Flugkörpern gemäß dem Stand der Technik, ist somit nicht notwendig. Dadurch verringert sich die Anzahl der für die Steuerung des Flugkörpers benötigten Teile, so daß sehr kleinbauende Konstruktionen erreicht werden. Die gesamte Konstruktion kann z. B. dann auch bei kleinkalibrigen Granaten verwendet werden.
  • Als Anwendungsbeispiele für die Erfindung seien Steuersysteme für Flug­körper gemäß der DE-PS 33 17 583, der DE-PS 35 03 041 und der DE-OS 36 06 423 genannt. Die bei den dort beschriebenen Ausführungen zur Ein­stellung des Steuerorganes des Flugkörpers verwendete Bremse kann gemäß der Erfindung durch einen entsprechend ausgestalteten elektrischen Gene­rator ersetzt werden, der dann noch zusätzlich die gesamte für die Steuerelektronik benötigte Energie liefert.
  • Zum Antrieb des elektrischen Generators kann flugkörperexterne Energie oder flugkörperintern vorhandene Energie dienen. Als Beispiel für die erste Art seien der Antrieb durch schräg gegen die Flugrichtung ange­stellte Flossen für einen elektrischen Generator mit einem Stator und einem Rotor oder die Stauluft für einen intermittierend, z. B. in Pendelbewegungen arbeitenden Generator genannt. Beispiele für die zweite Art sind der Antrieb etwa durch Triebwerksgase des Flugkörpers oder durch Gase eines vorhandenen Gasgenerators, der zur Versorgung einer Steuerdüse dient.
  • Weitere Ausgestaltungen der Erfindung gehen aus den Unteransprüchen hervor.
  • Die Erfindung ist in Ausführungsbeispielen anhand der Zeichnung näher erläutert. In der Zeichnung stellen dar:
    • Fig. 1 eine teilweise geschnittene Ansicht des Vorderteiles eines Flugkörpers mit einem Suchkopf, Steuerorganen und einer als elektrischer Generator ausgebildeten Stelleinrichtung für die Steuerorgane;
    • Fig. 2 eine schematische Darstellung einer äußeren Beschaltung des elektrischen Generators;
    • Fig. 3 eine geschnittene Vorderansicht eines Flugkörpers in einem weiteren Ausführungsbeispiel;
    • Fig. 4 eine teilweise geschnittene Vorderansicht eines Flugkörpers gemäß einem dritten Ausführungsbeispiel der Erfindung;
    • Fig. 5 einen Schnitt längs V-V in Fig. 4
  • In Fig. 1 ist ein Flugkörper 1 gezeigt, dessen Gehäuse im Bereich der Flugkörperspitze 2 als Ogive ausgebildet ist. In Richtung der Flug­körperlängsachse X ist eine aus der Flugkörperspitze 2 herausragende Welle 3 gelagert, die durch nicht gezeigte Lager sich um die Flugkörper­längsachse X drehen kann. Mit dieser Welle 3 ist ein akustischer Peil­sensor verbunden. Dieser weist ein schlitzförmiges Hohlrohr 5 auf, des­sen Mittelachse A mit einem Winkel alpha gegen die Flugkörperlängsachse X geneigt ist. Im Schnittpunkt der beiden Achsen A und X ist ein Schall­empfänger 6 angeordnet. Die Ausgangssignale des Schallempfängers 6 werden über Leitungen innerhalb der Welle 3 zu Kontaktringen 7 geführt, die mit externen Schleifern 8 in Kontakt stehen. Im Bereich des Hohl­rohres 5 ist noch ein verschränktes feststehendes Flügelpaar 9 vorge­sehen. Das in die Flugkörperspitze hineinreichende Ende der Welle 3 ist mit einem hier nicht gezeigten Rotor eines elektrischen Generators 10 verbunden. Der elektrische Generator 10 weist zwei Stromanschlüsse 11 auf, von denen Anschlußleitungen 12 zu einer Steuerelektronik 13 führen. Zu der Steuerelektronik führen ferner Leitungen 14, die mit dem Schleiferpaar 8 verbunden sind.
  • Bewegt sich der Flugkörper 1 durch die Luft, wobei es aus Stabilisie­rungsgründen günstig sein kann, daß der Flugkörper selbst um seine Längsachse X rotiert, so wird auch der Suchkopf 4 durch das verschwenkte Flügelpaar 9 angetrieben rotieren. Die Flügel sind hier bevorzugt so verschwenkt, daß die Drehung des Suchkopfssystems um die Flugkörper­längsachse X entgegengesetzt zur Drehrichtung des Flugkörpers 1 ist. Durch das verschwenkte Flügelpaar wird zwar auf den Flugkörper 1 ständig eine Querkraft ausgeübt, die jedoch in alle Richtungen gleich ist und sich wegen der relativ schnellen Drehgeschwindigkeit des Suchkopfes 4 zu NULL mittelt. Durch die Drehung des Flugkörpers und des Suchkopfes relativ zueinander wird in dem elektrischen Generator 10 Energie er­zeugt, die über das Leitungspaar 12 der Steuerelektronik 13 zugeführt wird. Eine zusätzliche Energiequelle ist für die Steuerlektronik 13 nicht notwendig.
  • Bei der Drehung des Suchkopfes 4 empfängt der Schallempfänger 6 Schall­signale von Objekten und gibt entsprechende Ausgangssignale ab, die über die Kontaktringe 7, die Schleifer 8 und die Leitungen 14 der Steuerelek­tronik zugeführt werden. Die Steuerelektronik 13 wählt aus den innerhalb einer Umdrehung des Suchkopfes 4 empfangenen Signalen ein relevantes Signal aus, das einem Ziel entspricht. Erscheint dieses Ziel im Blick­feld des Suchkopfes 4, so wird durch die Steuerelektronik der Widerstand in dem zu den Anschlüssen 11 des Generators 10 führenden Stromkreis reduziert, wodurch der Rotor des Generators gegenüber dem Stator abge­bremst wird. Damit wird auch die Drehgeschwindigkeit des Suchkopfes 4 verringert. Sobald der Signalempfänger keine Signale mehr von dem rele­vanten Ziel empfängt, wird über die Steuerelektronik 13 die Drehung des Suchkopfes mit der ursprünglichen Drehgeschwindigkeit wieder freige­geben. In der Zeitspanne, in der die Drehgeschwindigkeit des Suchkopfes 4 verlangsamt wurde, wird eine Querkraft auf den Flugkörper ausgeübt, die diesen in Richtung des Zieles schwenkt. Dieser Vorgang wiederholt sich über mehrere Umdrehungen, bis das Ziel aus dem Blickfeld des Such­kopfes 1 in Richtung der Flugkörperlängsachse verschwindet. Wird das Ziel bei weiterer Annäherung erneut erfaßt, so wiederholt sich dieser Vorgang, bis der Flugkörper direkt in Richtung auf das Ziel fliegt und dieses trifft.
  • In Fig. 2 ist ein schematisches Blockschaltdiagramm für die Reduzierung der äußeren Last des elektrischen Generators 10 dargestellt. Angedeutet sind hier die in dem Generator 10 gelagerte Welle 3, die mit einem z. B. aus segmentförmigen Permanentmagneten ausgerüsteten Rotor 21 verbunden ist, sowie die Statorwicklung 22, mit der die Anschlüsse 11 verbunden sind. Angedeutet ist die Steuerelektronik 13, deren Widerstand gege­benenfalls mit einer zusätzlichen ohmschen Last schematisch als Wider­stand 23 angedeutet ist. Parallel zu diesem Widerstand 23 ist eine Serienschaltung aus einem weiteren Widerstand 24 und der Kollektor/Emit­ter-Strecke eines Transistors 25 geschaltet, der über seine Basis von der Steuerelektronik 13 ansteuerbar ist. Üblicherweise ist der Transi­stor 25 gesperrt. Soll die Drehgeschwindigkeit der Welle 3 verringert werden, so wird der Transistor durchgeschaltet, so daß jetzt ein Teil des Generatorstromes über den Widerstand 24 fließt, wodurch insgesamt der Außenwiderstand des elektrischen Generators 10 verringert wird. Der Widerstandswert des Widerstandes 24 wird so bemessen, daß sich die gewünschte Abbremsung der Welle 3 ergibt. Die Abbremsung kann soweit getrieben werden, daß der Suchkopf 4 nahezu raumfest steht, wobei Vor­sorge dafür getragen werden muß, daß dann noch die verbleibende Rotation des Flugkörpergehäuses ausreichend ist, um die Steuerelektronik 13 weiterhin mit Energie zu versorgen.
  • Bei der Drehung des Rotors 21 relativ zu dem Stator 22 entstehen wegen der Polaufteilung des Rotors in der Ausgangsspannung des Generators ent­sprechende Spannungschwankungen. Diese Spannungsschwankungen können in der Steuerelektronik 13 ausgewertet werden, z. B. gezählt werden, und dann für die Vorbereitung der Aktivierung eines Zünders herangezogen werden. Außerdem ist es möglich, den elektrischen Generator 10 als Meß­wertgeber für die Drehstellung zwischen dem Flugkörpergehäuse und dem Suchkopf 4 zu benutzen. Auch dieses kann durch Zählen der auftretenden Spannungsschwankungen geschehen, wobei dann ein Pol am Rotor 21 und Stator 22 entsprechend gestaltet ist, um beim Durchlaufen des Rotors 21 dort einen charakteristischen Spannungsimpuls zu erzeugen. Dieser Span­nungsimpuls kann dann als Referenzimpuls für eine bestimmte Drehlage dienen.
  • In Fig. 3 ist der Vorderteil eines Flugkörpers 101 ist mit einer in den Flugkörper drehbar gelagerten Flugkörperspitze 102 dargestellt. Die Flugkörperspitze wird durch angestellte Flossen 109 durch die Luftströ­mung in Rotation versetzt. In dem Flugkörpergehause ist eine Welle 103 gelagert, die mit einem Rotor 121 eines elektrischen Generators fest verbunden ist. Die Statorwicklungen 122 im Flugkörpergehäuse sind ange­deutet. Nicht dargestellt sind bei diesem Ausführungsbeispiel die Steuerelektronik und ein gegebenenfalls vorhandener Sensor. Die Beschaltung des elektrischen Generators 110 erfolgt hierbei ähnlich wie in Fig. 2.
  • Die Welle 103 reicht in die Flugkörperspitze 102 hinein und weist an ihrem vorderen Ende einen koaxialen, nach vorne offenen Strömungsvertei­ler 131 mit zwei auf gegenüberliegenden Seiten der Flugkörperlängsachse liegenden Öffnungen 132 auf. In der Flugkörperspitze 102 sind den Öff­nungen 132 zugeordnet im wesentlichen radial verlaufende Ausblasöffnun­gen 133 vorgesehen. Die Positionierung der Öffnungen 132 und 133 ist so, daß in den Extremlagen jeweils eine der Öffnungen 132 über ihren gesam­ten Durchmesser mit der zugeordneten Ausblasöffnung 133 kommuniziert, während die andere Öffnung 132 abgesperrt ist. In einer Mittelstellung beträgt der Überdeckungsgrad zwischen beiden Öffnungen 132 und zugeord­neten Ausblasöffnungen 133 50 %.
  • Konzentrisch zur Flugkörperlängsachse X ist ein Stauluftkanal 134 vorge­sehen, der am vorderen offenen Ende des Strömungsverteilers 131 in diesen mündet.
  • Zwischen dem hinteren Ende des Strömungsverteilers 131 und einem zwischen diesem und dem elektrischen Generator 110 liegenden Flansch 135 der Flugkörperspitze 102 ist eine die Welle 103 umgebende Schraubenfeder 136 eingespannt.
  • Zwischen der Welle 103 und dem Flugkörpergehäuse ist ein Drehwinkelgeber 137 vorgesehen. Ein weiterer Drehwinkelgeber 138 kann zwischen Flugkör­perspitze 102 und Flugkörpergehäuse angeordnet sein. Die Ausgangssignale dieser Drehwinkelgeber 137 und 138 sind zu der Steuerelektronik geführt.
  • Während des Fluges des Flugkörpers 101 wird die Flugkörperspitze 102 durch die Anströmung der Flossen 109 in ständiger Rotation gehalten. Mit Hilfe der Ausgangssignale der Drehwinkelgeber 137 und 138 wird die elek­trische Last für den elektrischen Generator 110 durch die Steuerelek­tronik so geregelt, daß der Überdeckungsgrad zwischen den Öffnungen 132 und 133 im wesentlichen ständig 50 % beträgt. Die in den Stauluftkanal 134 einströmende Luft tritt somit zu beiden Seiten des Flugkörpers etwa in gleichen Anteilen radial aus. Somit wirkt keine Querkraft auf den Flugkörper 101. Der konstante Überdeckungsgrad von 50 % wird z. B. durch ein gepulstes Schalten der elektrischen Last des Generators 110 auf­rechterhalten. Die Schraubenfeder 136 befindet sich bei diesem Nullkom­mando in einem halbgespannten Zustand.
  • Soll eine gerichtete Querkraft auf den Flugkörper 101 ausgeübt werden, so gibt es hierfür zwei Möglichkeiten:
    Entweder wird die Bremswirkung auf die Welle durch Reduzierung der elek­trischen Last des Generators 110 erhöht oder die Bremswirkung wird durch Erhohung der elektrischen Last reduziert.
  • Im ersten Falle wird die Schraubenfeder 136 gespannt und umschlingt die Welle 103 eng bis zur Anlage. In dieser Position ist dann z. B. der Überdeckungsgrad zwischen der in der Fig. 3 oberen Öffnung 132 und der zugeordneten oberen Auspaßöffnung 133 100 %, wohingegen die untere Öff­nung 132 abgedeckt ist. Dieses Vollkommando "nach oben" kann durch Reduzierung der Bremswirkung aufgehoben werden, wobei sich gleichzeitig die Schraubenfeder entspannt und den Strömungsverteiler 131 in Richtung auf die Stellung entsprechend eines Nullkommandos drückt.
  • Im zweiten Falle wird die Bremswirkung entsprechend reduziert, wodurch sich die Schraubenfeder 136 entspannt und den Stömungsmittelverteiler in eine Stellung überführt, in der die in der Fig. 3 untere Öffnung 132 zu 100 % mit der unteren Ausblasöffnung 133 kommuniziert. Dieses entspricht einem Vollkommando "nach unten". Durch erneute Erhöhung der Bremswirkung kann dieses Kommando wieder in ein Nullkommando überführt werden.
  • Zwischenstellungen zwischen den extremen Kommandos "nach oben" und "nach unten" sind durch eine entsprechend pulsbreitenmodulierte Steuerung des Laststromes des elektrischen Generators 110 möglich.
  • In den Fig. 4 und 5 ist der vordere Teil eines Flugkörpers 201 gezeigt, dessen Flugkörperspitze 202 als ogivenförmige Hülle ausgebildet ist, die in einem Schwenklager 241 allseitig schwenkbar gelagert ist. Dieses Schwenklager ist am vorderern Teil eines Kegels 242 angeordnet, der sich über Streben 243 auf dem Flugkörpergehäuse abstützt, so daß zwischen dem Kegel 242 und dem Gehäuse des Flugkörpers 201 ein Zwischenraum 244 ver­bleibt. Der Massenschwerpunkt der schwenkbaren Geschoßspitze 202 liegt etwa im Zentrum des Schwenklagers 241. Die Hülle der Geschoßspitze 202 überdeckt allseitig den Zwischenraum 244, wobei jedoch zwischen dem hinteren Rand der Hülle und dem Flugkörpergehäuse ein umlaufender Spalt 245 verbleibt.
  • In dem Kegel 242 ist ein elektrischer Generator 210 mit einem hier nicht gezeigten Rotor und einem Stator gelegen, dessen Rotor durch eine Welle 246 einer darin gelagerten Drehdüse 247 angetrieben wird. Die Drehdüse 247 weist einen in Richtung auf das Gehäuse des Flugkörpers 201 offenen, zur Flugkörperlängsachse X koaxialen Gaskanal 248 und eine von diesem etwa radial abzweigende Schubdüse 249 auf, deren Schubrichtung jedoch nicht die Flugkörperlängsachse X schneidet Mit dem offenen Ende des Gas­kanales 248 kommuniziert eine Öffnung 250 eines im Gehäuse des Flugkör­pers 201 gelegenen Gasgenerators 251.
  • Auch bei diesem Ausführungsbeispiel sind die Steuerelektronik und etwaige Sensoren nicht dargestellt; angedeutet sind lediglich die Anschlüsse 211 des elektrischen Generators 210.
  • Wird während oder nach dem Start des Flugkörpers der Gasgenerator 251 gezündet, so strömt Gas in die Drehdüse 247, wodurch diese wegen der asymmetrisch angeordneten Schubdüse 249 in eine sehr schnelle Rotation versetzt wird. Da die Welle 246 der Drehdüse mit dem Rotor des elektri­schen Generators verbunden ist, erzeugt dieser elektrische Energie zur Versorgung der Steuerelektronik und gegebenenfalls weiterer Funktionen. Der aus der Schubdüse 249 austretende Gasstrahl trifft auf das hintere Ende der schwenkbaren Flugkörperspitze 202 und tritt dann aus dem Spalt 245 mit einer radialen Komponente zur Flugkörperachse aus. Da in der normalen Fluglage des Flugkörpers 201 der Spalt 245 über den gesamten Umfang gleich groß ist, tritt überall die gleiche Gasmenge aus, so daß sich durch die schnelle Drehung im Mittel keine Querkraft auf den Flug­körper 201 einstellt. Soll jedoch eine solche Querkraft ausgeübt werden, so wird aufgrund von hier nicht näher interessierenden Sensorsignalen die externe Last des elektrischen Generators, wie oben beschrieben, reduziert, so daß die Drehung der Drehdüse abgebremst wird. Erfolgt diese Abbremsung lediglich über einen bestimmten Drehwinkelbereich, so wird innerhalb dieses Drehwinkelbereiches eine prozentual höhere Kraft auf die Flugkörperspitze 202 ausgeübt als in den anderen Drehwinkel­bereichen. Die allseitig schwenkbare Flugkörperspitze wird dann in die Richtung dieser höheren Kraft geschwenkt. Damit wird jedoch auch die Anströmung der Flugkörperspitze 202 geändert, wodurch bewirkt wird, daß der übrige Flugkörper in diese neue Richtung sozusagen nachgezogen wird. Untersützt wird dieser Effekt noch dadurch, daß in dem gewählten Dreh­winkelbereich der Spalte 245 größer wird, so daß die dort auch vermehrt austretende Gasmenge zusätzlich eine radiale Querkraft in der gewünsch­ten Richtung auf den Flugkörper 201 ausübt.
  • Die beschriebenen Flugkörper sind lediglich beispielhafte Konstruk­tionen. So wäre es z. B. bei der Ausführungsform nach den Fig. 4 und 5 möglich, die Steuerung des Flugkörpers nicht über eine Verstellung der schwenkbaren Flugkörperspitze vorzunehmen, sondern mit Hilfe des direkt ausgeblasenen Schubstrahles der Schubdüse, wobei dann deren Drehung entsprechend moduliert wird. Ebenso wäre es bei dem Ausführungsbeispiel gemäß Fig. 3 möglich, lediglich eine Ausblasöffnung in der Flugkörper­spitze und eine Öffnung in dem Strömungsverteiler zu wählen, wobei dann zur Einstellung einer gewünschten Querkraft der Überdeckungsgrad dieser beiden Öffnungen variiert wird. Bei dem Ausführungsbeispiel gemäß der Fig. 1 wäre es möglich, das verschränkte Flügelpaar im Bereich der mit dem elektrischen Generator verbundenen Welle anzuordnen, wobei dann zur Einstellung einer Querkraft zumindest eines der Ruder verstellt wird, wie dieses in der erwähnten DE-OS 36 06 423 beschrieben ist.
  • Außerdem kann der Antrieb für den elektrischen Generator von den Steuer­organen entfernt angeordnet werden. Zum Antrieb des Generators kann dann z. B. ein Windrad verwendet werden, wohingegen die Steuerorgane über ein Stellgetriebe betätigt werden.

Claims (6)

1. Flugkörper mit verstellbaren Steuerorganen zur Beeinflussung der Flugbahn, wie Strahl- oder Luftruder , Steuerdüsen, Strahl- oder Luftspoiler mit einer Stelleinrichtung für die Steuerorgane , einer Steuerelektronik zur Ermittlung von Steuersignalen für die Stelleinrichtung und einem elek­trischen Generator zur Energieversorgung der Steuerelektronik mit einem Stator und einem bewegten Teil (Rotor), die an zwei relativ zueinander bewegten Teilen des Flugkörpers angeordnet sind, dadurch gekennzeichnet, daß der elektrische Generator (10, 110, 210) zusätzlich die Stellein­richtung ist, daß hierzu eine mechanische Verbindung zwischen dem Rotor (21, 121) und den Steuerorganen (9, 131, 247) zu deren Verstellung vor­gesehen ist, und daß für den elektrischen Generator (10, 110, 210) eine von der Steuerelektronik (13) in ihrer Größe variierbare elektrische Last (23, 24, 25) vorgesehen ist.
2. Flugkörper nach Anspruch 1, dadurch gekennzeichnet, daß der Rotor (21, 121) des elektrischen Generators (10, 110) mit einem durch die Umströmung des Flugkörpers (1, 101) in Drehung versetzten Teil (4, 102) des Flugkörpers (1, 101) verbunden ist.
3. Flugkörper nach Anspruch 2, dadurch gekennzeichnet, daß der ange­triebene Teil (4, 102) des Flugkörpers (1, 101) im Bereich der Flug­körperspitze liegt.
4. Flugkörper nach Anspruch 3, dadurch gekennzeichnet, daß der ange­triebene Teil die Flugkörperspitze (102) selbst ist.
5. Flugkörper nach Anspruch 1, dadurch gekennzeichnet, daß der Rotor des elektrischen Generators (210) mit einem durch flugkörperinterne Energie angetriebenen Teil (247) verbunden ist.
6. Flugkörper nach Anspruch 5, dadurch gekennzeichnet, daß der Rotor des elektrischen Generators (210) mit einer Drehdüse (247) verbunden ist, die durch intern im Flugkörper (201) erzeugtes Gas in Drehung ver­setzt wird.
EP19880118071 1987-12-17 1988-10-29 Flugkörper mit verstellbaren Steuerorganen Withdrawn EP0322540A3 (de)

Applications Claiming Priority (2)

Application Number Priority Date Filing Date Title
DE3742836A DE3742836C1 (de) 1987-12-17 1987-12-17 Flugkoerper mit verstellbaren Steuerorganen
DE3742836 1987-12-17

Publications (2)

Publication Number Publication Date
EP0322540A2 true EP0322540A2 (de) 1989-07-05
EP0322540A3 EP0322540A3 (de) 1990-10-17

Family

ID=6342854

Family Applications (1)

Application Number Title Priority Date Filing Date
EP19880118071 Withdrawn EP0322540A3 (de) 1987-12-17 1988-10-29 Flugkörper mit verstellbaren Steuerorganen

Country Status (3)

Country Link
US (1) US4898342A (de)
EP (1) EP0322540A3 (de)
DE (1) DE3742836C1 (de)

Cited By (2)

* Cited by examiner, † Cited by third party
Publication number Priority date Publication date Assignee Title
WO2008108869A3 (en) * 2006-08-10 2009-12-23 Hr Textron, Inc. Guided projectile with power and control mechanism
DE102005043474B4 (de) * 2005-09-13 2011-04-07 Deutsch-Französisches Forschungsinstitut Saint-Louis, Saint-Louis Vorrichtung zum Steuern eines Geschosses

Families Citing this family (24)

* Cited by examiner, † Cited by third party
Publication number Priority date Publication date Assignee Title
DE3645077C2 (de) * 1986-02-27 1996-06-27 Daimler Benz Aerospace Ag Vorrichtung zum Steuern von Flugkörpern
US5452864A (en) * 1994-03-31 1995-09-26 Alliant Techsystems Inc. Electro-mechanical roll control apparatus and method
US6494140B1 (en) 1999-04-22 2002-12-17 Lockheed Martin Corporation Modular rocket boosted penetrating warhead
US6276277B1 (en) 1999-04-22 2001-08-21 Lockheed Martin Corporation Rocket-boosted guided hard target penetrator
US6845714B1 (en) * 2003-06-16 2005-01-25 The United States Of America As Represented By The Secretary Of The Army On-board power generation system for a guided projectile
US7278609B2 (en) * 2005-08-05 2007-10-09 Northrop Grumman Corporation Movable nose cap and control strut assembly for supersonic aircraft
US10408587B1 (en) * 2006-04-20 2019-09-10 United States Of America As Represented By The Secretary Of The Army On-board power generation for rolling motor missiles
DE102006057229B9 (de) * 2006-12-05 2009-03-19 Diehl Bgt Defence Gmbh & Co. Kg Drallstabilisierte bahnkorrigierbare Artilleriemunition
US7755012B2 (en) * 2007-01-10 2010-07-13 Hr Textron, Inc. Eccentric drive control actuation system
US7696459B2 (en) * 2007-06-12 2010-04-13 Hr Textron, Inc. Techniques for articulating a nose member of a guidable projectile
US7791007B2 (en) * 2007-06-21 2010-09-07 Woodward Hrt, Inc. Techniques for providing surface control to a guidable projectile
US8443726B2 (en) * 2010-02-10 2013-05-21 Omnitek Partners, Llc Miniature safe and arm (S and A) mechanisms for fuzing of gravity dropped small weapons
US8646386B2 (en) * 2010-02-10 2014-02-11 Omnitek Partners Llc Miniature safe and arm mechanisms for fuzing of gravity dropped small weapons
IL210370A (en) * 2010-12-30 2015-08-31 Israel Aerospace Ind Ltd missile
US10717550B1 (en) 2011-03-09 2020-07-21 United Launch Alliance, L.L.C. Integrated vehicle fluids
US8884202B2 (en) * 2011-03-09 2014-11-11 United Launch Alliance, Llc Integrated vehicle fluids
US8513580B1 (en) 2012-06-26 2013-08-20 The United States Of America As Represented By The Secretary Of The Navy Targeting augmentation for short-range munitions
US9086258B1 (en) 2013-02-18 2015-07-21 Orbital Research Inc. G-hardened flow control systems for extended-range, enhanced-precision gun-fired rounds
US11555679B1 (en) 2017-07-07 2023-01-17 Northrop Grumman Systems Corporation Active spin control
US12031802B2 (en) 2017-07-26 2024-07-09 Northrop Grumman Systems Corporation Despun wing control system for guided projectile maneuvers
US10718294B1 (en) 2017-10-27 2020-07-21 United Launch Alliance, L.L.C. Integrated vehicle fluids
US11578956B1 (en) 2017-11-01 2023-02-14 Northrop Grumman Systems Corporation Detecting body spin on a projectile
US11573069B1 (en) 2020-07-02 2023-02-07 Northrop Grumman Systems Corporation Axial flux machine for use with projectiles
US12313389B1 (en) 2022-03-11 2025-05-27 Northrop Grumman Systems Corporation Tunable safe and arming devices and methods of manufacture

Family Cites Families (6)

* Cited by examiner, † Cited by third party
Publication number Priority date Publication date Assignee Title
US3111088A (en) * 1962-02-27 1963-11-19 Martin Marietta Corp Target seeking missile
US4193567A (en) * 1962-07-17 1980-03-18 Novatronics, Inc. Guidance devices
US4512537A (en) * 1973-08-10 1985-04-23 Sanders Associates, Inc. Canard control assembly for a projectile
DE3317583C2 (de) * 1983-05-13 1986-01-23 Messerschmitt-Bölkow-Blohm GmbH, 8012 Ottobrunn Vorrichtung mit einer von einer Treibmittelquelle versorgten Düsenanordnung
DE3429798C1 (de) * 1984-08-13 1985-12-12 Messerschmitt-Bölkow-Blohm GmbH, 8012 Ottobrunn Vorrichtung zur Korrektur der Flugbahn eines Geschosses
DE3645077C2 (de) * 1986-02-27 1996-06-27 Daimler Benz Aerospace Ag Vorrichtung zum Steuern von Flugkörpern

Cited By (3)

* Cited by examiner, † Cited by third party
Publication number Priority date Publication date Assignee Title
DE102005043474B4 (de) * 2005-09-13 2011-04-07 Deutsch-Französisches Forschungsinstitut Saint-Louis, Saint-Louis Vorrichtung zum Steuern eines Geschosses
WO2008108869A3 (en) * 2006-08-10 2009-12-23 Hr Textron, Inc. Guided projectile with power and control mechanism
JP2010513826A (ja) * 2006-08-10 2010-04-30 エイチアール テキストロン インコーポレイテッド 電力及び制御機構を備えた誘導型発射体

Also Published As

Publication number Publication date
EP0322540A3 (de) 1990-10-17
DE3742836C1 (de) 1989-07-13
US4898342A (en) 1990-02-06

Similar Documents

Publication Publication Date Title
DE3742836C1 (de) Flugkoerper mit verstellbaren Steuerorganen
DE2457783C2 (de) Magnetische Lagerung
EP0238717B1 (de) Steuerbarer Flugkörper
EP0549910B1 (de) Geschwindigkeitsstellmittel einer Dentalturbine
DE2225442A1 (de) Kollektorloser gleichstrom-motor
EP0345796A2 (de) Durch einen Elektromotor angetriebener Lüfter
EP1397594B1 (de) Windenergieanlage mit einer asynchronmaschine zur feststellung der azimutposition
DE1488510A1 (de) Buerstenloser Gleichstrommotor
DE2038037C3 (de) Zündverteiler fur Brennkraftmaschinen mit Steuergenerator
DE2358929A1 (de) Verschlusseinrichtung fuer photographische kamera
DE3519892A1 (de) Brems- und freigabeeinrichtung fuer einen drehduesenkoerper
DE1505495C3 (de) Geschwindigkeits-Regeleinrichtung für Kraftfahrzeuge
CH692624A5 (de) Elektrischer Schwenkmotor insbesondere für eine Textilmaschine.
DE2904904A1 (de) Gleichstrommotor
EP0998781A1 (de) Klauenpolmotor
DE3910498A1 (de) Tachogenerator mit rotorlagegeber fuer einen drehstrom-servo-motor mit drehzahlregelung und elektronischer kommutierung
DE102021203315A1 (de) Kühlanordnung für ein Brennstoffzellensystem
DE102013009677A1 (de) Antriebseinheit, insbesondere für ein Luftfahrzeug
DE3645093C2 (en) Flying body steering system with connected motor
DE3608840A1 (de) Einschusskanone mit elektromagnetischem beschleunigungssystem
DE6927354U (de) Vorrichtung zum umwandeln elektrischer signale in fluddrucksignale.
DE1297968B (de) Fotoelektrische Nachfuehrsteuerung zur Regelung der Lage des Werkzeuges bei Nachformmaschinen, insbesondere Brenn- und Plasmaschneidmaschinen
DE2954199B3 (de) Fernlenkbarer Flugkörper
DE69322854T2 (de) Verfahren und Vorrichtung zur selektiven elektrischen Energieversorgung zur Anwendung in einem Flugkörper
AT212716B (de) Antriebseinrichtung für Luft-, Wasser- und Landfahrzeuge

Legal Events

Date Code Title Description
PUAI Public reference made under article 153(3) epc to a published international application that has entered the european phase

Free format text: ORIGINAL CODE: 0009012

AK Designated contracting states

Kind code of ref document: A2

Designated state(s): CH FR GB IT LI

PUAL Search report despatched

Free format text: ORIGINAL CODE: 0009013

AK Designated contracting states

Kind code of ref document: A3

Designated state(s): CH FR GB IT LI

STAA Information on the status of an ep patent application or granted ep patent

Free format text: STATUS: THE APPLICATION HAS BEEN WITHDRAWN

18W Application withdrawn

Withdrawal date: 19901220