EP0314718B1 - Vorrichtung zum schwebendführen von materialbahnen - Google Patents
Vorrichtung zum schwebendführen von materialbahnen Download PDFInfo
- Publication number
- EP0314718B1 EP0314718B1 EP88903773A EP88903773A EP0314718B1 EP 0314718 B1 EP0314718 B1 EP 0314718B1 EP 88903773 A EP88903773 A EP 88903773A EP 88903773 A EP88903773 A EP 88903773A EP 0314718 B1 EP0314718 B1 EP 0314718B1
- Authority
- EP
- European Patent Office
- Prior art keywords
- nozzle
- outlets
- web
- air
- wall portions
- Prior art date
- Legal status (The legal status is an assumption and is not a legal conclusion. Google has not performed a legal analysis and makes no representation as to the accuracy of the status listed.)
- Expired - Lifetime
Links
Images
Classifications
-
- B—PERFORMING OPERATIONS; TRANSPORTING
- B65—CONVEYING; PACKING; STORING; HANDLING THIN OR FILAMENTARY MATERIAL
- B65H—HANDLING THIN OR FILAMENTARY MATERIAL, e.g. SHEETS, WEBS, CABLES
- B65H23/00—Registering, tensioning, smoothing or guiding webs
- B65H23/04—Registering, tensioning, smoothing or guiding webs longitudinally
- B65H23/24—Registering, tensioning, smoothing or guiding webs longitudinally by fluid action, e.g. to retard the running web
-
- D—TEXTILES; PAPER
- D21—PAPER-MAKING; PRODUCTION OF CELLULOSE
- D21F—PAPER-MAKING MACHINES; METHODS OF PRODUCING PAPER THEREON
- D21F5/00—Dryer section of machines for making continuous webs of paper
- D21F5/18—Drying webs by hot air
- D21F5/185—Supporting webs in hot air dryers
- D21F5/187—Supporting webs in hot air dryers by air jets
- D21F5/188—Blowing devices
-
- F—MECHANICAL ENGINEERING; LIGHTING; HEATING; WEAPONS; BLASTING
- F26—DRYING
- F26B—DRYING SOLID MATERIALS OR OBJECTS BY REMOVING LIQUID THEREFROM
- F26B13/00—Machines and apparatus for drying fabrics, fibres, yarns, or other materials in long lengths, with progressive movement
- F26B13/10—Arrangements for feeding, heating or supporting materials; Controlling movement, tension or position of materials
- F26B13/101—Supporting materials without tension, e.g. on or between foraminous belts
- F26B13/104—Supporting materials without tension, e.g. on or between foraminous belts supported by fluid jets only; Fluid blowing arrangements for flotation dryers, e.g. coanda nozzles
Definitions
- the invention relates to a device for loading and suspending material webs, in particular paper webs, according to the preamble of claim 1.
- nozzle boxes In known devices, in which air is blown against a moving web to dry the same, so-called nozzle boxes are provided, from which the air exits in the direction of the web, usually through slits (e.g. DE-PS 31 30 450).
- the nozzle boxes are arranged at a distance from one another in the direction of travel of the web, the spaces serving as discharge paths for the air. Passing material webs through such devices is a process that poses various problems. Above all, the web must be kept in motion so that it remains without contact with the nozzle boxes or other parts of the device. Otherwise damage to the web or impairment of its surface can occur.
- a nozzle dryer is known in which the air is drawn back into a fan in the drainage channels between the nozzle boxes.
- baffle plates are provided, which extend in the longitudinal direction of the web over the entire distance of the successive blow boxes, but only partially or intermittently cover the drainage channel between the blow box in the width direction of the web. There are even considerable gaps between the ends of the baffle plates.
- damping plates are provided between pairs of opposing nozzles. These are intended to dampen any vibrations that may occur.
- the damping plates are either arranged in the middle of the free space between the nozzles, so that openings for the outflow of air remain on both sides, the air emerging from the nozzles immediately flowing out again after deflection, namely through directly next to the nozzles and in front of the Passages located on the edge of the respective damping plate, or the damping plates are provided on both sides of the nozzles, so that an opening for the outflow of air remains in the middle of the area between the nozzles. This results in parallel air flows which escape at the point of their meeting without being able to form a dynamic pressure.
- the object of the invention is to take into account existing difficulties and to provide a device of the type mentioned at the outset, which enables particularly good guidance of the web as it passes through and thereby also achieves the effects otherwise desired, namely drying the web or its surface , allowed in a favorable manner.
- the invention also strives for an advantageous design of the device in detail. Further related problems with which the invention is concerned arise from the respective explanation of the solution shown.
- the angle at which a lateral surface area of the nozzle box protruding over an adjacent part of the guide element or a part connected to it is on the outside to the longitudinal plane is advantageously not less than 90 °.
- the continuous path is guided particularly effectively, so that not only is it not subject to any impairments, but favorable effects are achieved. It is in particular possible to guide the web in a wave shape, as is very advantageous in many cases.
- the lateral surface areas on the nozzle boxes which protrude above the guide elements in the direction of the web running plane, can at most form a right angle with respect to the latter.
- the lateral surface areas are designed to recess in the sense of an undercut.
- the lateral flat areas are advantageously essentially flat.
- domed training is also not excluded.
- a pronounced edge is advantageously present at the transition from the lateral surface areas of the nozzle boxes to the end face thereof. This is particularly favorable for the flow conditions.
- the closed central area of the respective guide element is expediently flat.
- the guide element can have inclined parts, particularly in a transition region between the middle part and edge regions. At least some of the passage openings are then advantageously provided in the inclined parts.
- nozzle boxes themselves.
- individual outlets for air are provided on both sides of a wall part delimiting in the longitudinal direction of the air duct and perpendicular to the plane of movement of the web in the air duct, each opposite a guide surface for the air flow.
- the outlets can be designed as mouthpieces, individual nozzles or the like.
- holes are provided in the wall parts of the air duct as outlets for the air.
- Such nozzle boxes can also be easily manufactured in connection with the guide elements provided between them and enable flawless work even under different operating conditions. Even if wall parts experience minor displacements under unfavorable conditions, the air volume remains constant. The flow conditions are also fully maintained in the desired manner.
- a particularly favorable embodiment is characterized in that two wall parts provided with outlets are arranged directly opposite one another and each of these wall parts at least partially forms a guide surface for air streams emerging from the outlets of the other wall part.
- the system shown in FIG. 1 is used, for example, to dry a paper web B which performs a linear movement in the direction of the arrow P and is guided between an upper unit 1 and a lower unit 2 becomes.
- the devices for driving the web are not shown and can be designed in a known manner.
- each air supply channels in the form of so-called nozzle box 9 are arranged at a distance in the longitudinal direction of the web, so that between the nozzle boxes 9 gaps 3 remain as air discharge paths, which with the in remaining interior of unit 1, which is closed off by walls 4, are connected.
- the nozzle boxes 9 of the upper unit 1 are offset from the nozzle boxes 9 of the lower unit 2 in this embodiment by half a division, such that a nozzle area D on an upper nozzle box 9 is opposite a space between two lower nozzle boxes 9 and vice versa.
- the arrangement can also be made differently.
- a guide element 16 extending up to these is provided, which has passage openings 17 opening into the air discharge paths 3.
- passage openings 17 opening into the air discharge paths 3.
- Air of the desired temperature and pressure passes through an inlet 5 in the direction of the arrow F1 into a distributor housing 6 located inside the unit 1 and from this into branch housing 7, each of which is connected to the nozzle boxes 9 through openings, not shown.
- the air flowing out of the nozzle areas D passes through the openings in the guide elements 16 into the air discharge paths 3 and from there into the interior of the already mentioned Unit 1, from which it exits through an outlet 8.
- Corresponding devices for supplying and discharging the air to and from the unit 1 can be implemented in a known manner.
- the arrow F2 indicates the exhaust air flow.
- the same precautions are taken for the air flow as in unit 1. However, it is also possible to provide the arrangement described on only one side.
- FIGS. 2 and 3 show an embodiment of the device on a larger scale.
- guide elements 16 are provided, which have essentially the same length as the nozzle boxes 9 and, like these, extend transversely to the web running direction. Their edges abut the side walls 9a of the nozzle boxes 9 and are connected to them. This can be done in a suitable manner depending on the material used.
- the guide elements 16 expediently consist of sheet metal, just like the nozzle boxes 9.
- the joints or transition points are identified by the number 18.
- Each guide element 16 has a closed central region 16a.
- 3 opening openings 17 opening into the air discharge paths are provided to the side of the latter. These are expediently arranged in rows offset from one another.
- the central closed region 16a of the guide element 16 is advantageously flat. It may also be slightly curved.
- This central region 16a is followed by inclined portions 16b, in which the through openings 17 are also located in this embodiment.
- the inclined parts merge into edge regions 16c, which can run parallel to the central region 16a and extend to the junctions 18 with the side walls 9a of the nozzle boxes 9.
- the side walls of the nozzle boxes 9 protrude with lateral surface areas 19 via the guide elements 16 or via the connection point with the edge parts 16c of the guide elements 16 in the direction of a longitudinal plane E laid through the path of the web.
- the angle ⁇ at which the outer sides of the lateral projecting surface areas 19 are in relation to the longitudinal plane E, is approximately 90 degrees.
- a pronounced edge 20 is present at the transition from the lateral surface areas 19 to an end face 13 of the nozzle boxes 9.
- the formation of the nozzle areas D on the nozzle boxes 9 is possible in various ways.
- the advantageous embodiment shown in FIGS. 2 and 6 is explained in more detail below.
- the air flows emerging from the nozzle areas run as indicated by arrows in FIG. 2. They follow the frontal surface areas of the nozzle box 9 according to the principle of the Coanda effect and take the course also indicated by arrows on the guide elements 16 until the air is discharged through the openings 17 into the areas 3.
- the web B advantageously experiences an uninterrupted guidance, whereby it is given a wavy movement, as can be seen from FIG. 2.
- FIGS. 5 to 7 A further, very advantageous embodiment is shown in FIGS. 5 to 7.
- the front lateral surface areas 29 of the nozzle boxes 9 are each recessed in the sense of an undercut.
- the angle ⁇ between such a surface area 20 and the longitudinal plane E is greater than 90 degrees, i.e. an obtuse angle.
- the guide elements 16 can be connected at the points 18 to the side walls 9a of the nozzle boxes 9.
- they can also continue in folded areas 28 which are at the same angle as the surface areas 29 and rest on the latter or be firmly connected to them in a suitable manner.
- the outer sides of the regions 28 then virtually take the place of the outer sides of the regions 29.
- a pronounced edge is designated by the number 20.
- FIGS. 8 to 10 An advantageous embodiment of the nozzle area D is illustrated in FIGS. 8 to 10, with some modifications.
- a wall 10 belonging to the delimitation of an air supply duct 9 is shaped in such a way that it merges into wall sections standing at an acute angle to each other into a curved section 12, to which flat sections 13 adjoin. These parts 12 and 13 can be addressed as a guide surface L for an air flow.
- the wall areas 10 are provided with air outlets in the form of punched holes 14, the outlets on the one side being offset from one another on the other side in the longitudinal direction of the nozzle area D, that is to say transversely to the web direction, as is particularly the case in FIG. 10 reveals.
- Those facing each other Areas of the walls 10 form baffles 11.
- the air flows emerging from the holes 14 on one side strike the opposite baffle 11 and vice versa.
- the flow is then guided along the curved area 12 and the adjoining area 13. This is indicated schematically in FIG. 2 by the line S for one side.
- the baffles 11 are each inclined by the same angle a in the embodiment shown with respect to a transverse plane V perpendicular to the longitudinal plane E through the path of the path B, as can be seen from FIG. 9. However, it is also possible to choose the inclination of the two baffles differently depending on the requirements.
- FIG. 9 illustrates this on a dash-dotted impact surface 11 'which has a greater inclination than the other impact surface 11 with the angle b.
- the inclination expediently lies in the range from approximately 10 degrees to 40 degrees. Angles of around 15 degrees are particularly favorable.
- all parts are formed by a coherent wall 10, which is bent accordingly in the lower apex area.
- the baffle surfaces 11 can also be formed by separate wall parts 10 ', which are brought together at the ends and are tightly connected to one another by spot welding or in another suitable manner.
- a nozzle area of the type described is expediently located approximately in the middle of a nozzle box 9, as can be seen in FIG. 1.
- Another possibility is to provide only one baffle 11 on the nozzle area, which is then arranged with corresponding outlets.
- the embodiment is then, for example, such that in the wall section 10 forming the right baffle 11 in FIG. 8 there are no outlets 14, but rather only in the wall section 10 on the left in FIG. 8.
- On this side there may also be no need for a guide surface L, but it can be attached to the wall section 10 e.g. connect an angled wall extension 15 as the normal boundary of a feed channel, as is indicated in FIG. 8 by dash-dotted lines.
- the outlet diameter d of the outlets can be specified as advantageous values for the outlet diameter d of the outlets.
- the distances e of the outlets can in particular be in the range from approximately 10 to 30 mm.
- the radius R of the curved portion 12 adjoining an impact surface 11 can advantageously be selected in the range from approximately 5 to 25 mm. Depending on the circumstances, other values are also possible.
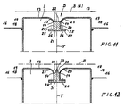
- FIG. 11 An embodiment is shown in which a closure body 21 is located at the base of the nozzle region D. This extends over the entire width of the air duct 9 and has guide surfaces 22 on its side facing the plane of movement of the web B, which run roof-shaped in this embodiment. In the immediate vicinity of these guide surfaces 22 forming the boundary of the end body 21, air outlets in the form of bores 14 are provided in curved wall parts 23. The air flows emerging from these each go along the associated guide surface 22 and then meet the curved wall surface 23, where, similarly to the embodiment according to FIG. 8, the Coanda effect takes effect, so that the air around this wall surface and along the adjoining flat wall surface 13 flows and thereby acts on the web B and guides it in suspension.
- the closure body 21 is advantageously designed as a ready-to-install and replaceable unit.
- it can have the shape of a drawn metal profile, for example.
- a closure body of this type or a similar design can simply be inserted between two wall parts 24 of the air duct 9, these wall parts fitting tightly against the closure body.
- the closure body can be fastened, for example, by screws 26, which are only indicated with their center lines in FIG. 11 and which penetrate holes in flange parts 25 of the air duct 9 and in flange parts 27 of the closure body 21.
- FIG. 12 shows a closure body 31 which, like the closure body 21 in the embodiment according to FIG. 11, is attached to the base of the nozzle region D. and which on opposite sides of a part 33 projecting in the area of the transverse plane V in the direction of the movement plane E of the web has guide surfaces 32.
- Outlets 14 for the air in the immediate vicinity of the beginning of the guide surfaces 32 are also provided in wall parts 23 here.
- the air streams emerging from them are guided through the guide surfaces 32 so that they each run essentially perpendicular to the plane of motion E in the sense of an impact jet.
- the projecting part 33 of the closure body 31 can also lie outside the transverse plane V, and it can in particular also be at an angle to the transverse plane.
- the two guide surfaces 32 can also each have different positions or inclinations. The same applies to the guide surfaces 22 in the embodiment according to FIG. 11.
- the air outlets 17 in the nozzle areas or in the associated wall parts can not only have the shape of holes, but can also themselves be designed like a nozzle.
- Such nozzle-like outlets are preferably produced from the material of a wall by a pressing or printing process. This allows the air jet to be given a desired direction.
- an embodiment of the aforementioned type is also present in those end regions of the nozzle boxes D which are normally outside the area occupied by the web. This not only results in a favorable lateral closing effect, but also has advantages in terms of the stability of the web movement.
- the passage openings 17 opening into the air discharge paths 3 are provided in inclined parts 16b of the guide elements 16.
- such passage openings 17 are located in the edge parts 16c, that is to say in the vicinity of the nozzle boxes 9.
- the guide elements 16 have a closed central region 16a.
- the transition to edge parts can not only have the shape of an inclined surface, but there can also be an approximately arc-shaped or circular-arc-shaped cross section at this point.
- the guide elements 16 can also be completely flat.
- the closed central region 16a is of essential importance because pressure builds up here and the web is thus held and guided perfectly at this point.
- the central region 16a of each guide element 16 is opposite a nozzle region D of a nozzle box 9. This means that there is a vacuum zone at this point opposite the pressure zone on the other side of the web.
- the alternation of negative pressure zones and pressure zones in the longitudinal direction of the web achieves high stability of the web guide. This also applies in Transverse direction of the web, so that the web travel path is properly maintained and lateral migration of the web is prevented.
- nozzle areas of various designs within a system or treatment line e.g. 11 on one part of the treatment section and on another part nozzle designs according to FIG. 12.
Landscapes
- Engineering & Computer Science (AREA)
- Textile Engineering (AREA)
- Mechanical Engineering (AREA)
- General Engineering & Computer Science (AREA)
- Paper (AREA)
- Coating Apparatus (AREA)
- Containers And Plastic Fillers For Packaging (AREA)
- Drying Of Solid Materials (AREA)
- Advancing Webs (AREA)
- Nozzles (AREA)
- Machines For Laying And Maintaining Railways (AREA)
- Chutes (AREA)
- Buildings Adapted To Withstand Abnormal External Influences (AREA)
Description
- Die Erfindung bezieht sich auf eine Vorrichtung zum Beaufschlagen und Schwebendführen von Materialbahnen, insbesondere Papierbahnen, nach dem Oberbegriff des Anspruchs 1.
- Bei bekannten Vorrichtungen, bei denen Luft gegen eine sich bewegende Bahn zum Trocknen derselben geblasen wird, sind sog. Düsenkästen vorhanden, aus denen die Luft in Richtung auf die Bahn austritt, normalerweise durch in Form von Schlitzen ausgebildete Düsen (z.B. DE-PS 31 30 450). Die Düsenkästen sind in Durchlaufrichtung der Bahn mit Abstand voneinander angeordnet, wobei die Zwischenräume als Abführwege für die Luft dienen. Es handelt sich beim Führen von Materialbahnen durch solche Vorrichtungen um einen Vorgang, der mancherlei Probleme aufwirft. Vor allem muß die Bahn so beim Durchlauf gehalten werden, daß sie ohne Berührung mit den Düsenkästen oder anderen Teilen der Vorrichtung bleibt. Anderenfalls können Beschädigungen der Bahn oder Beeinträchtigungen ihrer Oberfläche eintreten.
- Aus der DE-B-1 156 749 ist ein Düsentrockner bekannt, bei dem die Luft in Abflußkanälen zwischen den Düsenkästen zu einem Lüfter zurückgesaugt wird. In den Abflußkanälen sind Stau-Bleche vorgesehen, die sich in Längsrichtung der Warenbahn zwar über den ganzen Abstand der aufeinanderfolgenden Blaskästen erstrecken, aber den Abflußkanal zwischen den Blasdüsenkästen in Breitenrichtung der Warenbahn nur teil- oder absatzweise abdecken. Dabei sind teils sogar erhebliche Zwischenräume zwischen den Enden der Stau-Bleche vorhanden. Es sind dort immer Partien der Bahn vorhanden, an denen diese in Breitenrichtung nicht unterstützt ist. Vielmehr wechseln in Breitenrichtung Staubereiche mit völlig freien Abströmbereichen, an denen kein Staueffekt vorhanden ist, sondern gerade eine entgegengesetzte Wirkung auftritt, miteinander ab. Die Bahn wird also an verschiedenen Stellen ihrer Breite unterschiedlich beeinflußt und ausgelenkt.
- Bei einer anderen bekannten Vorrichtung (DE-B-1 134 350) sind jeweils zwischen Paaren von einander gegenüberliegenden Düsen als Dämpfbleche bezeichnete Teile vorgesehen. Diese sollen etwa auftretende Schwingungen dämpfen. Die Dämpfbleche sind entweder in der Mitte des freien Raumes zwischen den Düsen angeordnet, so daß an beiden Seiten Öffnungen für das Abströmen der Luft verbleiben, wobei die aus den Düsen austretende Luft nach Umlenkung sogleich wieder abströmt, nämlich durch unmittelbar neben den Düsen und vor dem Rand des jeweiligen Dämpfblechs befindlichen Duchlässe, oder die Dämpfbleche sind zu beiden Seiten der Düsen vorgesehen, so daß in der Mitte des Bereichs zwischen den Düsen eine Öffnung zum Abströmen der Luft verbleibt. Es ergeben sich dabei parallele Luftströme, die an der Stelle ihres Zusammentreffens ohne einen Staudruck bilden zu können entweichen.
- Aufgabe der Erfindung ist es, bestehenden Schwierigkeiten Rechnung zu tragen und eine Vorrichtung der eingangs genannten Art zu schaffen, die eine besonders gute Führung der Bahn bei ihrem Durchlauf ermöglicht und dabei auch die Erzielung der sonst gewünschten Wirkungen, namentlich einer Trocknung der Bahn oder ihrer Oberfläche, in günstiger Weise gestattet. Die Erfindung strebt dabei auch eine vorteilhafte Ausbildung der Vorrichtung im einzelnen an. Weitere damit zusammenhängende Probleme, mit denen sich die Erfindung befaßt, ergeben sich aus der jeweiligen Erläuterung der aufgezeigten Lösung.
- Eine Vorrichtung gemäß der Gattung kennzeichnet sich gemäß der Erfindung durch folgende Merkmale:
- die Platten zwischen den Düsenkästen weisen als Leitelemente für die Luftströmungen jeweils einen über die Breite des Bahnlaufweges durchgehenden, geschlossenen mittleren Bereich und seitlich davon in die Luftabführwege mündende Durchtrittsöffnungen auf,
- im Düsenbereich des Düsenkastens sind in den Düsenkasten begrenzenden Wandteilen einzelne Auslässe für Luft jeweils gegenüber einer Leitfläche für aus den Auslässen der Wandteile austretende Luftströme derart vorgesehen, daß Strömungen in entgegengesetzten Richtungen hervorgerufen werden, die an dem Bahnlaufweg zugewandten stirnseitigen Flächenpartien der Düsenkästen entlanggehen, ehe sie in den Bereich der Leitelemente gelangen,
- die Auslässe in dem einen Wandteil sind zu den Auslässen in dem anderen Wandteil versetzt angeordnet.
- Der Winkel, in dem ein über eine benachbarte Partie des Leitelements vorstehender seitlicher Flächenbereich des Düsenkastens oder ein damit verbundener Teil außenseitig zur Längsebene steht, ist vorteilhaft nicht kleiner als 90°.
- Bei einer solchen Vorrichtung ist die durchlaufende Bahn besonders wirksam geführt, so daß sie nicht nur keinen Beeinträchtigungen unterliegt, sondern günstige Effekte erzielt werden. Es ist insbesondere möglich, die Bahn wellenförmig zu führen, wie dies in vielen Fällen sehr vorteilhaft ist.
- Die seitlichen Flächenbereiche an den Düsenkästen, die über die Leitelemente in Richtung auf die Bahnlaufebene vorstehen, können mit Bezug auf die letztere maximal einen rechten Winkel einnehmen. Bei einer sehr zweckmäßigen Ausführung sind die seitlichen Flächenbereiche im Sinne einer Hinterschneidung zurückspringend ausgebildet. Die seitlichen Flachenbereiche sind vorteilhaft im wesentlichen eben. Es ist aber auch eine gewölbte Ausbildung nicht ausgeschlossen.
- Vorteilhaft ist am Übergang von den seitlichen Flächenbereichen der Düsenkästen zur Stirnseite derselben eine ausgeprägte Kante vorhanden. Dies ist für die Strömungsverhältnisse besonders günstig.
- Für die Gestaltung der Leitelemente zwischen den Düsenkästen bestehen im einzelnen verschiedene Möglichkeiten. Der geschlossene mittlere Bereich des jeweiligen Leitelements ist zweckmäßig eben ausgebildet.
- Das Leitelement kann geneigte Partien aufweisen, besonders in einem Übergangsbereich zwischen dem mittleren Teil und Randbereichen. In den geneigten Partien ist dann vorteilhaft wenigstens ein Teil der Durchtrittsöffnungen vorgesehen.
- Bei einer Vorrichtung der vorstehend erläuterten Art bestehen für die Ausbildung der Düsenkästen selbst zahlreiche Möglichkeiten. Besonders vorteilhaft sind im Düsenbereich des jeweiligen Düsenkastens beiderseits einer in Längsrichtung des Luftkanals und lotrecht zur Bewegungsebene der Bahn stehenden Querebene in den Luftkanal begrenzenden Wandteilen einzelne Auslässe für Luft jeweils gegenüber einer Leitfläche für die Luftströmung vorgesehen.
- Die Auslässe können als Mundstücke, Einzeldüsen od. dgl. ausgebildet sein. Bei einer sehr vorteilhaften Ausführung sind als Auslässe für die Luft Löcher in den Wandteilen des Luftkanals vorgesehen.
- Solche Düsenkästen lassen sich auch in Verbindung mit zwischen ihnen vorgesehenen Leitelementen gut fertigen und ermöglichen auch bei unterschiedlichen Betriebsbedingungen ein einwandfreies Arbeiten. Selbst, wenn Wandteile unter ungünstigen Verhältnissen geringfügige Verlagerungen erfahren, bleibt die Luftmenge trotzdem konstant. Auch die Strömungsverhältnisse werden in der gewünschten Weise voll aufrechterhalten.
- Eine besonders günstige Ausführung kennzeichnet sich dadurch, daß zwei mit Auslässen versehene Wandteile unmittelbar einander gegenüber angeordnet sind und jeder dieser Wandteile zumindest teilweise eine Leitfläche für aus den Auslässen des anderen Wandteiles austretende Luftströme bildet. Durch eine solche Gestaltung lassen sich für zahlreiche Fälle sehr günstige Bedingungen erzielen. Insbesondere dient sie dazu, Luftströme nach dem sog. Coanda-Effekt zu erzeugen.
- Zur weiteren Offenbarung der Erfindung mit ihren Einzelheiten, Merkmalen und Vorteilen wird ausdrücklich auf die nachstehend in Verbindung mit der Zeichnung gegebene Erläuterung Bezug genommen, ebenso auf die Ansprüche.
- Es zeigen:
- Fig. 1
- eine mit Vorrichtungen nach der Erfindung ausgestattete Einheit zur Durchlaufbehandlung einer Materialbahn,
- Fig. 2
- eine Ausführung der Vorrichtung in größerem Maßstab im Schnitt,
- Fig. 3
- eine Draufsicht auf einen Teil der Vorrichtung nach Fig. 2 von der Längsebene des Bahnlaufweges aus gesehen,
- Fig. 4 und 5
- Einzelheiten in größerem Maßstab,
- Fig. 6
- eine weitere Ausführung der Vorrichtung in einem der Fig. 2 entsprechendem Schnitt,
- Fig. 7
- eine der Fig. 3 entSprechende Draufsicht auf einen Teil der Vorrichtung nach Fig. 6,
- Fig. 8
- die Stelle II in Fig. 1 in größerem Maßstab in Perspektivischer Darstellung,
- Fig. 9
- einen Düsenbereich in schematischer Darstellung,
- Fig. 10
- eine Draufsicht auf einen Teil eines Düsenbereiches,
- Fig. 11
- eine andere Ausbildung eines Düsenbereiches in einem Querschnitt durch einen Düsenkasten und
- Fig. 12
- eine weitere Ausbildung eines Düsenbereiches in einem der Fig. 11 entsprechendem Schnitt.
- Die in Fig. 1 gezeigte Anlage dient z.B. zum Trocknen einer Papierbahn B, die eine geradlinige Bewegung in Richtung des Pfeiles P ausführt und dabei zwischen einer oberen Einheit 1 und einer unteren Einheit 2 hindurchgeführt wird. Die Einrichtungen für den Antrieb der Bahn sind nicht dargestellt und können in bekannter Weise ausgebildet sein. Im unteren Teil der Einheit 1 und im oberen Teil der Einheit 2 sind jeweils Luft-Zuführkanäle in Form sog. Düsenkasten 9 mit Abstand in Bahn-Längsrichtung angeordnet, so daß zwischen den Düsenkästen 9 Zwischenräume 3 als Luft-Abführwege verbleiben, die mit dem im übrigen durch Wände 4 abgeschlossenen Innenraum der Einheit 1 in Verbindung stehen. Gleiches gilt für die Düsenkasten 9 der unteren Einheit 2.
- Die Düsenkästen 9 der oberen Einheit 1 sind zu den Düsenkästen 9 der unteren Einheit 2 bei dieser Ausführung jeweils um eine halbe Teilung versetzt, derart, daß ein Düsenbereich D an einem oberen Düsenkasten 9 einem Zwischenraum zwischen zwei unteren Düsenkästen 9 gegenüberliegt und umgekehrt. Je nach den Anforderungen und Umständen des Einzelfalles kann die Anordnung aber auch anders getroffen werden.
- Jeweils zwischen zwei Düsenkästen 9 ist ein bis zu diesen reichendes Leitelement 16 vorgesehen, das in die Luftabführwege 3 mündende Durchtrittsöffnungen 17 aufweist. Verschiedene Ausführungen solcher Leitelemente werden weiter unten noch im einzelnen noch erläutert.
- Luft von gewünschter Temperatur und gewünschtem Druck gelangt durch einen Einlaß 5 im Sinne des Pfeiles F1 in ein im Inneren der Einheit 1 befindliches Verteilergehäuse 6 und von diesem in Zweiggehäuse 7, von denen jedes mit den Düsenkästen 9 durch nicht gezeigte Öffnungen in Verbindung steht. Entsprechendes gilt für die untere Einheit 2. Die aus den Düsenbereichen D ausgeströmte Luft gelangt nach Überstreichen der Bahn B durch die Öffnungen in den Leitelementen 16 in die Luft-Abführwege 3 und von dort in den schon genannten Innenraum der Einheit 1, aus dem sie durch einen Auslaß 8 austritt. Entsprechende Einrichtungen zum Zuführen und Abführen der Luft zu der Einheit 1 und von dieser weg können in bekannter Weise ausgeführt sein. Der Pfeil F2 bezeichnet den Abluftstrom. In der unteren Einheit 2 sind sinngemäß die gleichen Vorkehrungen für die Luftführung vorhanden wie in der Einheit 1. Es ist aber auch möglich, die beschriebene Anordnung nur auf einer Seite vorzusehen.
- In den Figuren 2 und 3 ist eine Ausführung der Vorrichtung in größerem Maßstab gezeigt. Zwischen den oberen und unteren Düsenkästen 9 sind jeweils Leitelemente 16 vorgesehen, die im wesentlichen die gleiche Länge wie die Düsenkästen 9 haben und sich wie diese quer zur Bahn-Laufrichtung erstrecken. Sie stoßen mit ihren Rändern an die Seitenwandungen 9a der Düsenkästen 9 und sind damit verbunden. Dies kann je nachdem verwendeten Material auf geeignete Weise geschehen. Die Leitelemente 16 bestehen zweckmäßig ebenso wie die Düsenkästen 9 aus Blech. Die Stoß- oder Übergangsstellen sind mit der Zahl 18 bezeichnet.
- Jedes Leitelement 16 hat einen geschlossenen mittleren Bereich 16a. Seitlich von diesem sind in die Luft-Abführwege 3 mündende Durchtrittsöffnungen 17 vorgesehen. Diese sind zweckmäßig in zueinander versetzten Reihen angeordnet. Der mittlere geschlossene Bereich 16a des Leitelements 16 ist vorteilhaft eben. Er kann ggfs.auch leicht gewölbt sein.
- An diesen mittleren Bereich 16a schließen sich jeweils geneigte Partien 16b an, in denen sich bei dieser Ausführung auch die Durchtrittsöffnungen 17 befinden. Die geneigten Partien gehen in Randbereiche 16c über, die parallel zum mittleren Bereich 16a verlaufen können und bis zu den Verbindungsstellen 18 mit den Seitenwänden 9a der Düsenkästen 9 reichen.
- Die seitenwände der Düsenkästen 9 stehen mit seitlichen Flächenbereichen 19 über die Leitelemente 16 bzw. über die Verbindungsstelle mit den Randpartien 16c der Leitelemente 16 in Richtung auf eine durch den Bahnlaufweg gelegte Längsebene E vor. Dies ist in Fig. 4 besonders deutlich erkennbar. Bei dieser Ausführung beträgt der Winkel β, in dem die Außenseiten der seitlichen vorstehenden Flächenbereiche 19 zur Längsebene E stehen, etwa 90 Grad.
- Für die Strömungsverhältnisse kann es besonders vorteilhaft sein, wenn am Übergang von den seitlichen Flächenbereichen 19 zu einer Stirnfläche 13 der Düsenkästen 9 eine ausgeprägte Kante 20 vorhanden ist.
- Die Ausbildung der Düsenbereiche D an den Düsenkästen 9 ist in verschiedener Weise möglich. Die in den Figuren 2 und 6 wiedergegebene vorteilhafte Ausführung wird weiter unten noch im einzelnen erläutert.
- Die aus den Düsenbereichen austretenden Luftströme verlaufen so, wie es in Fig. 2 durch Pfeile angedeutet ist. Sie folgen stirnseitigen Flächenpartien der Düsenkasten 9 nach dem Prinzip des Coanda-Effekts und nehmen an den Leitelementen 16 den ebenfalls durch Pfeile verdeutlichten Verlauf, bis eine Abführung der Luft durch die Öffnungen 17 in die Bereiche 3 hinein erfolgt. Die Bahn B erfährt hierbei in vorteilhafter Weise eine ununterbrochene Führung, wobei ihr eine wellenförmige Bewegung erteilt wird, wie dies aus Fig. 2 ersichtlich ist.
- In den Figuren 5 bis 7 ist eine weitere, sehr vorteilhafte Ausführung gezeigt. Gleiche oder einander entsprechende Teile sind dabei mit den gleichen Bezugszeichen versehen wie in den Figuren 2 bis 4. Bei dieser Ausführung sind die vorderen seitlichen Flächenbereiche 29 der Düsenkästen 9 jeweils im Sinne einer Hinterschneidung zurückspringend ausgebildet Der Winkel β zwischen einem solchen Flächenbereich 20 und der Längsebene E ist dabei größer als 90 Grad, also ein stumpfer Winkel. Die Leitelemente 16 können an den Stellen 18 mit den Seitenwänden 9a der Düsenkästen 9 verbunden sein. Sie können sich aber auch, wie in Fig. 6 dargestellt, in abgekanteten Bereichen 28, die im gleichen Winkel wie die Flächenbereiche 29 stehen, fortsetzen und an den letzteren anliegen bzw. mit diesen auf geeignete Weise fest verbunden sein. Die Außenseiten der Bereiche 28 treten dann quasi an die Stelle der Außenseiten der Bereiche 29. Eine ausgeprägte Kante ist auch hier mit der Zahl 20 bezeichnet.
- Eine vorteilhafte Ausbildung des Düsenbereiches D veranschaulichen die Figuren 8 bis 10, und zwar auch mit einigen Abwandlungen.
- Eine zur Begrenzung eines Luft-Zuführkanals 9 gehörende Wand 10 ist so geformt, daß sie im spitzen Winkel zueinander stehende Wandbereiche jeweils in eine gekrümmte Partie 12 übergehen, an die sich ebene Partien 13 anschließen. Diese Partien 12 und 13 können als Leitfläche L für eine Luftströmung angesprochen werden.
- Die Wandbereiche 10 sind mit Luft-Auslässen in Form von gestanzten Löchern 14 versehen, wobei die Auslässe auf der einen Seite gegenüber denjenigen auf der anderen Seite in Längsrichtung des Düsenbereiches D, d.h. quer zur Bahnrichtung, jeweils zueinander versetzt sind, wie besonders Fig. 10 erkennen läßt. Die einander zugekehrten Bereiche des Wände 10 bilden Prallflächen 11. Die aus den Löchern 14 auf der einen Seite austretenden Luftströme treffen auf die gegenüberliegende Prallfläche 11 auf und umgekehrt. In ihrem weiteren Verlauf wird dann die Strömung an dem gekrümmten Bereich 12 und dem sich anschließenden Bereich 13 entlanggeführt. Dies ist in Fig. 2 schematisch durch die Linie S für eine Seite angedeutet.
- Die Prallflachen 11 sind bei der gezeigten Ausführung mit Bezug auf eine zur Längsebene E durch den Laufweg der Bahn B lotrechte Querebene V jeweils um den gleichen Winkel a geneigt, wie aus Fig. 9 ersichtlich ist. Es ist aber auch möglich, je nach den Erfordernissen die Neigung der beiden Prallflächen unterschiedlich zu wählen. Fig.9 veranschaulicht dies an einer strichpunktiert eingezeichneten Prallfläche 11', die mit dem Winkel b eine größere Neigung als die andere Prallfläche 11 hat.
- Die Neigung liegt zweckmäßig im Bereich von etwa 10 Grad bis 40 Grad. Besonders günstig sind Winkel um etwa 15 Grad.
- Bei der in Fig. 8 gezeigten Ausführung sind alle Partien durch eine zusammenhängende Wand 10 gebildet, die dabei im unteren Scheitelbereich entsprechend gebogen ist. Wie strichpunktiert angedeutet ist, können die Prallflächen 11 aber auch von separaten Wandpartien 10' gebildet sein, die an den Enden zusammengeführt und durch Punktschweißung oder auf andere geeignete Weise dicht miteinander verbunden sind.
- Ein Düsenbereich der erläuterten Art befindet sich zweckmäßig etwa in der Mitte eines Düsenkastens 9, wie es Fig. 1 erkennen läßt. Weitere Ausführungen bestehen darin, daß an einem Düsenkasten 9 zwei solcher Düsenbereiche mit Abstand voneinander vorhanden sind.
- Eine weitere Möglichkeit besteht darin, am Düsenbereich nur eine Prallfläche 11 vorzusehen, der gegenüber dann entsprechende Auslässe angeordnet sind. Die Ausführung ist dann beispielsweise so, daß in der in Fig. 8 die rechte Prallflache 11 bildende Wandpartie 10 keine Auslässe 14 aufweist, sondern daß solche nur in der in Fig. 8 linken Wandpartie 10 vorhanden sind. Auf dieser Seite braucht dann ggfs. auch keine Leitfläche L vorhanden sein, sondern es kann sich an die Wandpartie 10 z.B. eine abgewinkelte Wandfortsetzung 15 als im übrigen normale Begrenzung eines Zuführkanals anschließen, wie in Fig. 8 strichpunktiert angedeutet ist.
- Ungeachtet von der Ausführung im einzelnen lassen sich als vorteilhafte Werte für den Austrittsdurchmesser d der Auslässe etwa 3 bis 7 mm angeben. Die Abstände e der Auslässe (Fig. 10) können insbesondere im Bereich von etwa 10 bis 30 mm liegen.
- Es liegt weiterhin auch im Rahmen der Erfindung, jeweils mehr als eine Reihe von Auslässen 14 vorzusehen und/oder die Auslässe 14 auch in Höhenrichtung zueinander versetzt anzuordnen.
- Die Höhe eines jeweils eine Prallfläche 11 bildenden Wandteiles (Fig. 9) liegt vorteilhaft im Bereich von H = 15 mm bis H = 30 mm, ohne daß dies einschränkend zu verstehen ist.
- Der Radius R der sich an eine Prallfläche 11 anschließenden gekrümmten Partie 12 läßt sich vorteilhaft im Bereich von etwa 5 bis 25 mm wählen. Je nach den Umständen sind aber auch andere Werte möglich.
- In Fig. 11 ist eine Ausführung gezeigt` bei der sich am Grund des Düsenbereichs D ein Abschlußkörper 21 befindet. Dieser erstreckt sich über die ganze Breite des Luftkanals 9 und weist auf seiner der Bewegungsebene der Bahn B zugewandten Seite Leitflächen 22 auf, die bei dieser Ausführung dachförmig verlaufen. In unmittelbarer Nähe dieser die Begrenzung des Abschlußkörpers 21 bildenden Leitflächen 22 sind in gekrümmten Wandteilen 23 Luftauslässe in Form von Bohrungen 14 vorgesehen. Die aus diesen austretenden Luftströme gehen jeweils an der zugeordneten Leitfläche 22 entlang und treffen dann auf die gekrümmte Wandfläche 23, wo ähnlich wie bei der Ausführung nach Fig. 8 der Coanda-Effekt wirksam wird, so daß die Luft um diese Wandfläche herum und entlang der sich daran anschließenden ebenen Wandfläche 13 strömt und dabei die Bahn B beaufschlagt und schwebend führt.
- Der Abschlußkörper 21 ist vorteilhaft als einbaufertige und auswechselbare Einheit ausgebildet. Er kann insbesondere die Form eines beispielsweise gezogenen Metallprofils haben.
- Ein solcher oder ähnlich ausgebildeter Abschlußkörper kann einfach zwischen zwei Wandteile 24 des Luftkanals 9 eingeschoben werden, wobei sich diese Wandteile dicht an den Abschlußkörper anlegen. Die Befestigung des Abschlußkörpers kann beispielsweise durch in Fig. 11 nur mit ihren Mittellinien angedeutete Schrauben 26 geschehen, die Löcher in Flanschteilen 25 des Luftkanals 9 und in Flanschteilen 27 des Abschlußkörpers 21 durchgreifen.
- In Fig. 12 ist ein Abschlußkörper 31 dargestellt, der ähnlich wie der Abschlußkörper 21 bei der Ausführung nach Fig. 11 am Grund des Düsenbereichs D angebracht ist und der auf einander abgewandten Seiten eines im Bereich der Querebene V in Richtung auf die Bewegungsebene E der Bahn vorstehenden Teiles 33 Leitflächen 32 aufweist.
- Auch hier sind Auslässe 14 für die Luft in unmittelbarer Nähe des Beginns der Leitflächen 32 in Wandteilen 23 vorgesehen. Die aus ihnen austretenden Luftströme werden durch die Leitflächen 32 so geführt, daß sie jeweils im wesentlichen lotrecht im Sinne eines Prallstrahles zur Bewegungsebene E verlaufen.
- Abweichend von der Darstellung in Fig. 12 kann der vorstehende Teil 33 des Abschlußkörpers 31 auch außerhalb der Querebene V liegen, und er kann insbesondere auch in einem Winkel zur Querebene stehen. Auch können die beiden Leitflächen 32 jeweils für sich unterschiedliche Positionen oder Neigungen haben. Entsprechendes gilt auch für die Leitflächen 22 bei der Ausführung nach Fig. 11.
- Nachstehend werden noch einige wichtige Merkmale der Erfindung sowohl allgemein als auch hinsichtlich besonderer Einzelheiten erläutert.
- Die Luftauslässe 17 in den Düsenbereichen bzw. in den zugeordneten Wandteilen können nicht nur die Form von Löchern haben, sondern auch selbst düsenartig ausgebildet sein. Vorzugsweise sind solche düsenartigen Auslässe aus dem Material einer Wandung durch einen Preß- oder Druckvorgang erzeugt. Damit kann dem Luftstrahl eine gewünschte Richtung gegeben werden.
- Grundsätzlich ist es günstig, die Luftauslässe 17 so in den Wandteilen 10 bzw. 23 anzuordnen, daß aus diesen austretende Luftströme um die gegenüberliegende gekrümmte Fläche des Düsenkastens 9 herumgehen und, wenn keine Bahn vorhanden ist, ihren Weg dann in Richtung auf die Durchtrittsöffnungen 17 in den Leitelementen 16 nehmen.
- Insbesondere ist vorgesehen, daß eine Ausbildung der vorgenannten Art auch in denjenigen Endbereichen der Düsenkästen D vorhanden ist, die normalerweise außerhalb der von der Bahn eingenommenen Fläche liegt. Dies ergibt nicht nur eine günstige seitliche Abschlußwirkung, sondern hat auch Vorteile im Hinblick auf die Stabilität der Bahnbewegung.
- Bei den Ausführungen nach den Figuren 2 und 3 bzw. 6 und 7 sind die in die Luft-Abführwege 3 mündenden Durchtrittsöffnungen 17 in geneigten Partien 16b der Leitelemente 16 vorgesehen. Bei einer anderen sehr günstigen Ausführung befinden sich solche Durchtrittsöffnungen 17 in den Randpartien 16c, also in der Nähe der Düsenkästen 9. In jedem Fall haben die Leitelemente 16 einen geschlossenen mittleren Bereich 16a. Der Übergang zu Randpartien kann nicht nur die Form einer geneigten Fläche haben, sondern es kann auch ein annähernd bogen- oder kreisbogenförmiger Querschnitt an dieser Stelle vorhanden sein. Schließlich können die Leitelemente 16 auch ganz eben sein.
- Der geschlossene mittlere Bereich 16a ist von wesentlicher Bedeutung, weil hier ein Druckaufbau stattfindet und die Bahn somit auch an dieser Stelle einwandfrei gehalten und geführt ist. Bei der z.B. in Fig. 2 oder Fig. 6 gezeigten vorteilhaften Ausführung liegt jeweils dem mittleren Bereich 16a jedes Leitelements 16 ein Düsenbereich D eines Düsenkastens 9 gegenüber. Dies bedeutet, daß an dieser Stelle gegenüber der Druckzone auf der anderen Seite der Bahn hier eine Unterdruckzone vorhanden ist. Grundsätzlich wird durch den Wechsel von Unterdruckzonen und Druckzonen in Längsrichtung der Bahn eine hohe Stabilität der Bahnführung erreicht. Dies gilt auch in Querrichtung der Bahn, so daß der Bahnlaufweg einwandfrei eingehalten und ein seitliches Auswandern der Bahn verhindert wird.
- Es fällt auch in den Rahmen der Erfindung, innerhalb einer Anlage oder Behandlungsstrecke Düsenbereiche verschiedener Ausbildung vorzusehen, z.B. auf einem Teil der Behandlungsstrecke Düsenausführungen gemäß Fig. 11 und auf einem anderen Teil Düsenausführungen gemäß Fig. 12.
Claims (23)
- Vorrichtung zum Beaufschlagen und Schwebendführen von Materialbahnen, insbesondere Papierbahnen, mit Luft oder einem anderen Strömungsmedium, namentlich zum Trocknen der Bahn, mit mehreren, wenigstens auf einer Seite des Bahnlaufweges mit Abstand voneinander angeordneten Düsenkästen (9), von denen jeder wenigstens einen über die Breite des Bahnlaufweges reichenden Düsenbereich (D) aufweist, der in Bahnlaufrichtung Abstand vom Rand des Düsenkastens (9) hat, und zwischen denen sich, wenigstens auf einem Teil des Bahnlaufweges, Luftabführwege (3) sowie von einem Düsenkasten (9) zum anderen erstreckende Platten befinden, deren Stoß- oder Verbindungsstellen (18) mit den Düsenkästen (9) relativ zu deren dem Bahnlaufweg zugewandter Seite zurückgesetzt sind, gekennzeichnet durch folgende Merkmale:- die Platten zwischen den Düsenkästen (9) weisen als Leitelemente (16) für die Luftströmungen jeweils einen über die Breite des Bahnlaufweges durchgehenden, geschlossenen mittleren Bereich (16a) und seitlich davon in die Luftabführwege (3) mündende Durchtrittsöffnungen (17) auf,- im Düsenbereich (D) des Düsenkastens (9) sind in den Düsenkasten (9) begrenzenden Wandteilen (10, 23) einzelne Auslässe (14) für Luft jeweils gegenüber einer Leitfläche (10, 11, 23, 32) für aus den Auslässen (14) der Wandteile (10, 23) austretende Luftströme derart vorgesehen, daß Strömungen in entgegengesetzten Richtungen hervorgerufen werden, die an dem Bahnlaufweg zugewandten stirnseitigen Flächenpartien der Düsenkästen (9) entlanggehen, ehe sie in den Bereich der Leitelemente (16) gelangen,- die Auslässe (14) in dem einen Wandteil (10, 23) sind zu den Auslässen (14) in dem anderen Wandteil (10, 23) versetzt angeordnet.
- Vorrichtung nach Anspruch 1, dadurch gekennzeichnet, daß der Winkel (β), in dem ein über eine benachbarte Partie (16c) des Leitelements (16) vorstehender seitlicher Flächenbereich (19, 29) des Düsenkastens (9) oder ein damit verbundener Teil außenseitig zur Längsebene (E) steht, nicht kleiner als 90 Grad ist.
- Vorrichtung nach Anspruch 2, durch gekennzeichnet, daß die seitlichen Flächenbereiche (29) im Sinne einer Hinterschneidung zurückspringend ausgebildet sind.
- Vorrichtung nach Anspruche 2 oder 3, dadurch gekennzeichnet, daß die seitlichen Flächenbereiche (19, 29) im wesentlichen eben sind.
- Vorrichtung nach einem der Ansprüche 2 bis 4, dadurch gekennzeichnet, daß am Übergang von den seitlichen Flächenbereichen (19, 29) zu einer Stirnfläche (13) der Düsenkästen (9) eine ausgeprägte Kante (20) vorgesehen ist.
- Vorrichtung nach einem der Ansprüche 1 bis 5, dadurch gekennzeichnet, daß der geschlossene mittlere Bereich (16a) des Leitelements (16) eben ist.
- Vorrichtung nach einem der Ansprüche 1 bis 6, dadurch gekennzeichnet, daß das Leitelement (16) geneigte Partien (16b) aufweist, in denen wenigstens ein Teil der Durchtrittsöffnungen (17) vorgesehen ist.
- Vorrichtung nach einem der Ansprüche 1 bis 7, dadurch gekennzeichnet, daß mehrere Reihen von Durchtrittsöffnungen (17) vorgesehen sind.
- Vorrichtung nach einem der Ansprüche 1 bis 8, dadurch gekennzeichnet, daß im Düsenbereich (D) beiderseits einer in Längsrichtung des Düsenkastens (9) stehenden Querebene (V) zwei mit den Auslässen (14) versehene Wandteile (10, 23) unmittelbar einander gegenüber angeordnet sind und jede derselben zumindest teilweise jeweils eine Leitfläche (11, 12, 23, 32) für die aus den Auslässen des anderen Wandteils (10, 23) austretenden Luftströme bildet.
- Vorrichtung nach Anspruch 9, dadurch gekennzeichnet, daß als Auslässe Löcher (14) in den Wandteilen (10, 23) des Düsenkastens (9) vorgesehen sind.
- Vorrichtung nach einem der Ansprüche 1 bis 10, dadurch gekennzeichnet, daß Auslässe (14) ingekrümmten Wandteilen (23) vorgesehen sind.
- Vorrichtung nach einem der Ansprüche 1 bis 11, gekennzeichnet durch zwei jeweils im spitzen Winkel (a) zu einer Querebene (V) stehende ebene Wandpartien (10), die in gekrümmte Wandflächen (12) übergehen.
- Vorrichtung nach Anspruch 12, dadurch gekennzeichnet, daß Auslässe (14) in den ebenen Wandpartien (10) vorgesehen sind.
- Vorrichtung nach einem der Ansprüche 12 und 13, dadurch gekennzeichnet, daß die ebenen Wandpartien (10) im gleichen Winkel (a) zur Querebene (V) angeordnet sind.
- Vorrichtung nach einem der Ansprüche 12 und 13, dadurch gekennzeichnet, daß die ebenen Wandpartien (10) unter verschiedenen Winkeln (a, b) zur Querebene (V) angeordnet sind.
- Vorrichtung nach einem der Ansprüche 12 bis 15, dadurch gekennzeichnet, daß die Neigung der ebenen Wandpartien (10) mit Bezug auf die Querebene (V) im Bereich von etwa 10 Grad bis 40 Grad liegt.
- Vorrichtung nach Anspruch 16, dadurch gekennzeichnet, daß die Neigung der ebenen Wandpartien (10) im Bereich von etwa 14 Grad bis 16 Grad liegt.
- Vorrichtung nach einem der Ansprüche 1 bis 17, dadurch gekennzeichnet, daß zwischen den in den Wandteilen (23) befindlichen Auslässen (14) diesen zugewandte und die jeweils aus ihnen austretenden Luftströme in Richtung auf eine Längsebene (E) hin bzw. gegen die Bahn (B) führende Leitflächen (32) vorgesehen sind.
- Vorrichtung nach einem der Ansprüche 1 bis 18, dadurch gekennzeichnet, daß im Grund des Düsenbereichs (D) wenigstens ein sich in Längsrichtung des Düsenkastens (9) erstreckender Abschlußkörper (21, 31) vorgesehen ist.
- Vorrichtung nach Anspruch 19, dadurch gekennzeichnet, daß auf der der Längsebene (E) zugewandten Seite des Abschlußkörpers (21, 31) Leitflächen (22, 32) ausgebildet sind.
- Vorrichtung nach den Ansprüchen 19 und 20, dadurch gekennzeichnet, daß Leitflächen (32) auf einander abgewandten Seiten eines vorstehenden Teiles (33) des Abschlußkörpers (31) vorgesehen sind.
- Vorrichtung nach den Ansprüchen 19 und 20, dadurch gekennzeichnet, daß der Abschlußkörper (31) dachförmig ausgebildete Leitflächen (22) aufweist.
- Vorrichtung nach einem der Ansprüche 19 bis 22, dadurch gekennzeichnet, daß Auslässe (14) in unmittelbarer Nähe einer Begrenzungsfläche (22, 32) des Abschlußkörpers (21, 31) angeordnet sind.
Applications Claiming Priority (3)
| Application Number | Priority Date | Filing Date | Title |
|---|---|---|---|
| DE3715533 | 1987-05-09 | ||
| DE3715533A DE3715533C2 (de) | 1987-05-09 | 1987-05-09 | Vorrichtung zum Schwebendführen von Materialbahnen |
| PCT/DE1988/000275 WO1988008950A1 (fr) | 1987-05-09 | 1988-05-06 | Dispositif pour le guidage flottant de bandes de materiau |
Publications (2)
| Publication Number | Publication Date |
|---|---|
| EP0314718A1 EP0314718A1 (de) | 1989-05-10 |
| EP0314718B1 true EP0314718B1 (de) | 1994-07-20 |
Family
ID=6327189
Family Applications (1)
| Application Number | Title | Priority Date | Filing Date |
|---|---|---|---|
| EP88903773A Expired - Lifetime EP0314718B1 (de) | 1987-05-09 | 1988-05-06 | Vorrichtung zum schwebendführen von materialbahnen |
Country Status (6)
| Country | Link |
|---|---|
| US (1) | US5016363A (de) |
| EP (1) | EP0314718B1 (de) |
| AT (1) | ATE108892T1 (de) |
| DE (2) | DE3715533C2 (de) |
| FI (1) | FI94082C (de) |
| WO (1) | WO1988008950A1 (de) |
Families Citing this family (34)
| Publication number | Priority date | Publication date | Assignee | Title |
|---|---|---|---|---|
| EP0298299B1 (de) * | 1987-07-07 | 1991-10-09 | Hilmar Vits | Vorrichtung zum berührungslosen Führen von Materialbahnen |
| DE3841909A1 (de) * | 1988-04-02 | 1989-10-19 | Hilmar Vits | Verfahren und vorrichtung zum schwebenden fuehren von bogen- oder bahnfoermigem material ueber eine foerderstrecke, insbesondere eine gekruemmte foerderstrecke |
| US4833794A (en) * | 1988-08-10 | 1989-05-30 | Advance Systems, Inc. | Dryer apparatus for floating a running web and having baffle means for spent return air |
| WO1994016979A1 (en) * | 1991-07-19 | 1994-08-04 | Monmouth Designs Limited | Air bearing for moving webs |
| US5370289A (en) * | 1992-02-21 | 1994-12-06 | Advance Systems, Inc. | Airfoil floater apparatus for a running web |
| FI92421B (fi) * | 1992-03-19 | 1994-07-29 | Valmet Paper Machinery Inc | Menetelmä ainesratojen ilmakuivatuksessa, ilmakuivattimen suutin-puhalluslaatikko ja sellukuivatin |
| DE4306584C1 (de) * | 1993-03-03 | 1994-07-07 | Langbein & Engelbrecht | Vorrichtung zur schwebenden Führung einer Warenbahn |
| US5471766A (en) * | 1993-03-18 | 1995-12-05 | Valmet Paper Machinery, Inc. | Method in contact-free air-drying of a material web as well as a nozzle-blow-box and a pulp dryer that make use of the method |
| US5396716A (en) * | 1993-07-20 | 1995-03-14 | Smart Machine Technologies, Inc. | Jet tube dryer with independently controllable modules |
| DE19717187A1 (de) * | 1997-04-24 | 1998-10-29 | Pagendarm Technologie Gmbh | Vorrichtung zur Behandlung, insbesondere Trocknung von Materialbahnen |
| FI108870B (fi) | 1997-05-30 | 2002-04-15 | Metso Paper Inc | Leijukuivainyksikkö |
| FR2771161B1 (fr) * | 1997-11-14 | 2000-01-14 | Solaronics | Systeme convecto-radiatif pour traitement thermique d'une bande continue |
| EP0965546A1 (de) * | 1998-06-17 | 1999-12-22 | E.I. Du Pont De Nemours And Company | System zum Transport von Bahnen |
| FR2790072B1 (fr) * | 1999-02-18 | 2001-05-25 | Solaronics Process | Dispositif combine de soufflage et d'aspiration a echange energetique integre pour un dispositif de sechage |
| AU2002239548A1 (en) | 2000-12-01 | 2002-06-11 | Technotrans Amercia West, Inc. | Integral expander support brackets for air knife drier cassettes |
| US6742285B2 (en) * | 2002-03-18 | 2004-06-01 | Glass Equipment Development, Inc. | Air knife and conveyor system |
| DE10335581A1 (de) * | 2003-07-31 | 2005-02-24 | Voith Paper Patent Gmbh | Vorrichtung zur Führung und Trocknung einer laufenden Faserstoffbahn |
| US7077019B2 (en) * | 2003-08-08 | 2006-07-18 | Photon Dynamics, Inc. | High precision gas bearing split-axis stage for transport and constraint of large flat flexible media during processing |
| DE10359121A1 (de) * | 2003-12-17 | 2005-07-14 | Voith Paper Patent Gmbh | Bahnführungsvorrichtung |
| US8061055B2 (en) * | 2007-05-07 | 2011-11-22 | Megtec Systems, Inc. | Step air foil web stabilizer |
| US10434804B2 (en) | 2008-06-13 | 2019-10-08 | Kateeva, Inc. | Low particle gas enclosure systems and methods |
| US12064979B2 (en) | 2008-06-13 | 2024-08-20 | Kateeva, Inc. | Low-particle gas enclosure systems and methods |
| US12018857B2 (en) | 2008-06-13 | 2024-06-25 | Kateeva, Inc. | Gas enclosure assembly and system |
| US11975546B2 (en) | 2008-06-13 | 2024-05-07 | Kateeva, Inc. | Gas enclosure assembly and system |
| US8083896B2 (en) * | 2008-09-26 | 2011-12-27 | Honeywell Asca Inc. | Pressure equalizing baffle and coanda air clamp |
| FI20115931L (fi) * | 2011-09-22 | 2013-03-23 | Metso Paper Inc | Kuivatusjärjestelmä ja menetelmä liikkuvan rainan kuivattamiseksi |
| EP3087623B1 (de) | 2013-12-26 | 2021-09-22 | Kateeva, Inc. | Wärmebehandlung von elektronischen vorrichtungen |
| US9343678B2 (en) | 2014-01-21 | 2016-05-17 | Kateeva, Inc. | Apparatus and techniques for electronic device encapsulation |
| CN107256840B (zh) | 2014-01-21 | 2019-05-31 | 科迪华公司 | 用于电子装置封装的设备和技术 |
| EP3882961B1 (de) | 2014-04-30 | 2023-07-26 | Kateeva, Inc. | Gaspolstervorrichtung und techniken zur substratbeschichtung |
| FI126242B (fi) * | 2015-01-14 | 2016-08-31 | Takso-Ohjelmistot Oy | Sovitelma ja menetelmä kuiturainan päänvientiä varten sekä päänvientilaitteisto |
| US10272696B2 (en) | 2015-10-30 | 2019-04-30 | Hewlett-Packard Development Company, L.P. | Printed media dryer |
| JP7106627B2 (ja) | 2017-07-11 | 2022-07-26 | コーニング インコーポレイテッド | ガラスを処理する装置及び方法 |
| FI130896B1 (en) | 2022-03-14 | 2024-05-14 | Valmet Technologies Oy | Mass dryer |
Family Cites Families (14)
| Publication number | Priority date | Publication date | Assignee | Title |
|---|---|---|---|---|
| GB718418A (en) * | 1950-01-21 | 1954-11-17 | Julien Dungler | Improvement in method and apparatus for treating fibrous sheet material by superheated steam or vapours |
| DE1134350B (de) * | 1951-10-31 | 1962-08-09 | Artos Maschb Dr Ing Meier Wind | Vorrichtung zur beruehrungsfreien Fuehrung von zu trocknenden Bahnen |
| DE1156749B (de) * | 1960-12-17 | 1963-11-07 | Krantz Soehne H | Luftfuehrung in Duesentrocknern zur schwebenden Fuehrung von Warenbahnen |
| BE645430A (de) * | 1963-03-19 | |||
| US3320684A (en) * | 1964-02-03 | 1967-05-23 | Leckner Borje Valentin | Driers for treatment of a web by a gaseous medium |
| US3324570A (en) * | 1965-02-25 | 1967-06-13 | Proctor And Schwartz Inc | Float dryer |
| DE1729298A1 (de) * | 1968-01-27 | 1971-06-16 | Erler & Co | Trockner fuer flach- und kontinuierlich durchlaufendes Gut |
| FR2247688A1 (de) * | 1973-10-10 | 1975-05-09 | Beloit Corp | |
| DE2417096A1 (de) * | 1974-04-08 | 1975-10-16 | Erich Ing Grad Hilgeroth | Vorrichtung zum behandeln, vorzugsweise trocknen von kontinuierlich durchlaufenden warenbahnen |
| DE2836103C2 (de) * | 1978-08-17 | 1985-03-21 | Jagenberg-Werke AG, 4000 Düsseldorf | Luftdüse für einen Düsentrockner |
| DE3130450C2 (de) * | 1981-07-23 | 1985-06-13 | Langbein & Engelbracht GmbH & Co, KG Bau lufttechnischer Anlagen, 4630 Bochum | Vorrichtung zum Trocknen von bahn- oder bogenförmigem Gut |
| US4605146A (en) * | 1985-02-15 | 1986-08-12 | E. I. Du Pont De Nemours And Company | Hydrostatic film support |
| DE3505256C2 (de) * | 1985-02-15 | 1987-01-29 | Otto Junker Gmbh, 5107 Simmerath | Vorrichtung zum berührungsfreien Führen von Warenbahnen, insbesondere Metallbändern, mittels eines Gasmediums |
| DE3626016A1 (de) * | 1986-07-31 | 1988-02-04 | Kurt Krieger | Vorrichtung zum beaufschlagen von materialbahnen mit stroemungsmedium |
-
1987
- 1987-05-09 DE DE3715533A patent/DE3715533C2/de not_active Expired - Fee Related
-
1988
- 1988-05-06 EP EP88903773A patent/EP0314718B1/de not_active Expired - Lifetime
- 1988-05-06 AT AT88903773T patent/ATE108892T1/de not_active IP Right Cessation
- 1988-05-06 US US07/315,893 patent/US5016363A/en not_active Expired - Fee Related
- 1988-05-06 DE DE3850739T patent/DE3850739D1/de not_active Expired - Fee Related
- 1988-05-06 WO PCT/DE1988/000275 patent/WO1988008950A1/de not_active Ceased
-
1989
- 1989-01-06 FI FI890076A patent/FI94082C/fi not_active IP Right Cessation
Also Published As
| Publication number | Publication date |
|---|---|
| ATE108892T1 (de) | 1994-08-15 |
| DE3850739D1 (de) | 1994-08-25 |
| EP0314718A1 (de) | 1989-05-10 |
| WO1988008950A1 (fr) | 1988-11-17 |
| FI94082B (fi) | 1995-03-31 |
| FI890076L (fi) | 1989-01-06 |
| US5016363A (en) | 1991-05-21 |
| DE3715533A1 (de) | 1988-12-01 |
| FI890076A0 (fi) | 1989-01-06 |
| FI94082C (fi) | 1995-07-10 |
| DE3715533C2 (de) | 1997-07-17 |
Similar Documents
| Publication | Publication Date | Title |
|---|---|---|
| EP0314718B1 (de) | Vorrichtung zum schwebendführen von materialbahnen | |
| DE3111744C2 (de) | ||
| DE2447119C2 (de) | Gehäuseeinheit zum Schwebendführen und gegebenenfalls Trocknen von Bandmaterial auf einem Luftpolster | |
| DE1292990B (de) | Vorrichtung zum gleichzeitigen Tragen, Transportieren und Fuehren einer Materialbahn mittels eines zugefuehrten gasfoermigen Stroemungsmittels | |
| DE3007752C2 (de) | Anordnung zur Beaufschlagung von Warenbahnen | |
| DE3815211C2 (de) | ||
| EP0277159B1 (de) | Vorrichtung zum beaufschlagen von materialbahnen mit strömungsmedium | |
| DE4401220C1 (de) | Dampfblaskasten | |
| DE2056889A1 (de) | Behandlungsvorrichtung, insbesondere für die Wärmebehandlung von bahnförmigen Materialien | |
| EP0723522B1 (de) | Vorrichtung zum schwebendführen einer laufenden bahn | |
| DE3716468C2 (de) | ||
| DE1292082C2 (de) | Vorrichtung zum behandeln, insbesondere trocknen und freischwebenden fuehren von bahnfoermigem gut | |
| DE3904774C1 (de) | ||
| DE19536352C2 (de) | Vorrichtung zum Führen und Behandeln einer durchlaufenden Materialbahn | |
| DE3704910C1 (en) | Blowing device for blowing a treatment medium onto a material web moving in the longitudinal direction | |
| DE3130450C2 (de) | Vorrichtung zum Trocknen von bahn- oder bogenförmigem Gut | |
| DE1099838B (de) | Verfahren und Vorrichtung zum schwebenden Foerdern von Material-, insbesondere feuchten Cellulosefaserbahnen | |
| DE2733347C3 (de) | Anordnung zur Beaufschlagung von Warenbahnen | |
| DE102006032377B4 (de) | Düsenfeld zur schwebenden Führung und Stabilisierung von Metallbändern | |
| DE2417096A1 (de) | Vorrichtung zum behandeln, vorzugsweise trocknen von kontinuierlich durchlaufenden warenbahnen | |
| DE9302905U1 (de) | Vorrichtung zum Aufbringen einer Behandlungsflüssigkeit auf in einer Bahn vorlaufendes Gut | |
| DE69017645T2 (de) | Düse zum spritzen eines selbstschwingenden fluidstroms. | |
| DE3315933C2 (de) | Düsentrockner zum Trocknen einer bewegten Materialbahn | |
| DE2521017B2 (de) | Vorrichtung zum Behandeln von Warenbahnen, insbesondere Metallbändern | |
| DE4034301C1 (en) | Appts. for deflecting gas-stream - comprises U=sections placed in entrance of second channel in plane transverse to first channel |
Legal Events
| Date | Code | Title | Description |
|---|---|---|---|
| PUAI | Public reference made under article 153(3) epc to a published international application that has entered the european phase |
Free format text: ORIGINAL CODE: 0009012 |
|
| 17P | Request for examination filed |
Effective date: 19890105 |
|
| AK | Designated contracting states |
Kind code of ref document: A1 Designated state(s): AT BE CH DE FR GB IT LI LU NL SE |
|
| 17Q | First examination report despatched |
Effective date: 19900321 |
|
| GRAA | (expected) grant |
Free format text: ORIGINAL CODE: 0009210 |
|
| AK | Designated contracting states |
Kind code of ref document: B1 Designated state(s): AT BE CH DE FR GB IT LI LU NL SE |
|
| RAP1 | Party data changed (applicant data changed or rights of an application transferred) |
Owner name: KRIEGER, KURT |
|
| REF | Corresponds to: |
Ref document number: 108892 Country of ref document: AT Date of ref document: 19940815 Kind code of ref document: T |
|
| REF | Corresponds to: |
Ref document number: 3850739 Country of ref document: DE Date of ref document: 19940825 |
|
| ITF | It: translation for a ep patent filed | ||
| GBT | Gb: translation of ep patent filed (gb section 77(6)(a)/1977) |
Effective date: 19941006 |
|
| ET | Fr: translation filed | ||
| EAL | Se: european patent in force in sweden |
Ref document number: 88903773.5 |
|
| PLBE | No opposition filed within time limit |
Free format text: ORIGINAL CODE: 0009261 |
|
| 26N | No opposition filed | ||
| REG | Reference to a national code |
Ref country code: CH Ref legal event code: PUE Owner name: KURT KRIEGER TRANSFER- KRIEGER GMBH & CO. KG |
|
| REG | Reference to a national code |
Ref country code: GB Ref legal event code: 732E |
|
| NLS | Nl: assignments of ep-patents |
Owner name: KRIEGER GMBH & CO KG |
|
| REG | Reference to a national code |
Ref country code: FR Ref legal event code: TP |
|
| PGFP | Annual fee paid to national office [announced via postgrant information from national office to epo] |
Ref country code: GB Payment date: 19970410 Year of fee payment: 10 |
|
| PGFP | Annual fee paid to national office [announced via postgrant information from national office to epo] |
Ref country code: FR Payment date: 19970411 Year of fee payment: 10 |
|
| PGFP | Annual fee paid to national office [announced via postgrant information from national office to epo] |
Ref country code: BE Payment date: 19970417 Year of fee payment: 10 |
|
| PGFP | Annual fee paid to national office [announced via postgrant information from national office to epo] |
Ref country code: AT Payment date: 19970422 Year of fee payment: 10 |
|
| PGFP | Annual fee paid to national office [announced via postgrant information from national office to epo] |
Ref country code: SE Payment date: 19970423 Year of fee payment: 10 |
|
| PGFP | Annual fee paid to national office [announced via postgrant information from national office to epo] |
Ref country code: NL Payment date: 19970428 Year of fee payment: 10 Ref country code: LU Payment date: 19970428 Year of fee payment: 10 |
|
| PGFP | Annual fee paid to national office [announced via postgrant information from national office to epo] |
Ref country code: CH Payment date: 19970430 Year of fee payment: 10 |
|
| PGFP | Annual fee paid to national office [announced via postgrant information from national office to epo] |
Ref country code: DE Payment date: 19980420 Year of fee payment: 11 |
|
| PG25 | Lapsed in a contracting state [announced via postgrant information from national office to epo] |
Ref country code: LU Free format text: LAPSE BECAUSE OF NON-PAYMENT OF DUE FEES Effective date: 19980506 Ref country code: GB Free format text: LAPSE BECAUSE OF NON-PAYMENT OF DUE FEES Effective date: 19980506 Ref country code: AT Free format text: LAPSE BECAUSE OF NON-PAYMENT OF DUE FEES Effective date: 19980506 |
|
| PG25 | Lapsed in a contracting state [announced via postgrant information from national office to epo] |
Ref country code: SE Free format text: LAPSE BECAUSE OF NON-PAYMENT OF DUE FEES Effective date: 19980507 |
|
| PG25 | Lapsed in a contracting state [announced via postgrant information from national office to epo] |
Ref country code: LI Free format text: LAPSE BECAUSE OF NON-PAYMENT OF DUE FEES Effective date: 19980531 Ref country code: FR Free format text: LAPSE BECAUSE OF NON-PAYMENT OF DUE FEES Effective date: 19980531 Ref country code: CH Free format text: LAPSE BECAUSE OF NON-PAYMENT OF DUE FEES Effective date: 19980531 Ref country code: BE Free format text: LAPSE BECAUSE OF NON-PAYMENT OF DUE FEES Effective date: 19980531 |
|
| BERE | Be: lapsed |
Owner name: KRIEGER G.M.B.H. & CO. K.G. Effective date: 19980531 |
|
| PG25 | Lapsed in a contracting state [announced via postgrant information from national office to epo] |
Ref country code: NL Free format text: LAPSE BECAUSE OF NON-PAYMENT OF DUE FEES Effective date: 19981201 |
|
| GBPC | Gb: european patent ceased through non-payment of renewal fee |
Effective date: 19980506 |
|
| REG | Reference to a national code |
Ref country code: CH Ref legal event code: PL |
|
| EUG | Se: european patent has lapsed |
Ref document number: 88903773.5 |
|
| NLV4 | Nl: lapsed or anulled due to non-payment of the annual fee |
Effective date: 19981201 |
|
| REG | Reference to a national code |
Ref country code: FR Ref legal event code: ST |
|
| PG25 | Lapsed in a contracting state [announced via postgrant information from national office to epo] |
Ref country code: DE Free format text: LAPSE BECAUSE OF NON-PAYMENT OF DUE FEES Effective date: 20000301 |
|
| PG25 | Lapsed in a contracting state [announced via postgrant information from national office to epo] |
Ref country code: IT Free format text: LAPSE BECAUSE OF NON-PAYMENT OF DUE FEES Effective date: 20050506 |