EP0276650B1 - Schaltertüre - Google Patents
Schaltertüre Download PDFInfo
- Publication number
- EP0276650B1 EP0276650B1 EP88100039A EP88100039A EP0276650B1 EP 0276650 B1 EP0276650 B1 EP 0276650B1 EP 88100039 A EP88100039 A EP 88100039A EP 88100039 A EP88100039 A EP 88100039A EP 0276650 B1 EP0276650 B1 EP 0276650B1
- Authority
- EP
- European Patent Office
- Prior art keywords
- plate
- teller
- frame
- opening
- door
- Prior art date
- Legal status (The legal status is an assumption and is not a legal conclusion. Google has not performed a legal analysis and makes no representation as to the accuracy of the status listed.)
- Expired - Lifetime
Links
- 238000005096 rolling process Methods 0.000 claims 1
- XEEYBQQBJWHFJM-UHFFFAOYSA-N Iron Chemical compound [Fe] XEEYBQQBJWHFJM-UHFFFAOYSA-N 0.000 description 8
- 239000011521 glass Substances 0.000 description 5
- 229910052742 iron Inorganic materials 0.000 description 4
- 229910000746 Structural steel Inorganic materials 0.000 description 3
- 230000002093 peripheral effect Effects 0.000 description 1
Images
Classifications
-
- E—FIXED CONSTRUCTIONS
- E05—LOCKS; KEYS; WINDOW OR DOOR FITTINGS; SAFES
- E05G—SAFES OR STRONG-ROOMS FOR VALUABLES; BANK PROTECTION DEVICES; SAFETY TRANSACTION PARTITIONS
- E05G7/00—Safety transaction partitions, e.g. movable pay-plates; Bank drive-up windows
- E05G7/002—Security barriers for bank teller windows
- E05G7/004—Security barriers for bank teller windows movable
Definitions
- the present invention relates to a switch door according to the preamble of patent claim 1.
- FR-A 392 203 shows a switch door of the type mentioned.
- the switch opening is bounded laterally by stationary, vertical posts with guides and at the top by a plate fastened to the posts.
- In the area of the upper guide ends there is a freely rotatable deflection roller in each of the posts.
- a rope loop is placed over each of the deflection pulleys in such a way that one of its legs is in the corresponding guide.
- a glass plate forming the switch door is suspended from these leg ends and is mounted so that it can be moved vertically on both sides in the guides.
- a counterweight is attached to the two other ends of the rope loop, which is balanced in such a way that the switch door is balanced in every vertical sliding position. This gives people in front of and behind the switch the option of simply pushing the door upwards until the entire switch opening is free.
- the present invention has as its object to improve a counter door of the type mentioned, in particular for post office counters, in such a way that the relatively small, free counter opening for receiving parcels, for example, for receiving parcels and the like. can be enlarged and still largely protects the counter official against robberies.
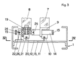
- the switch door has a U-profile frame 1 with a glass plate 4 which delimit a switch opening 2, the crossbar of the profile frame 1 forming a gear box 3.
- the switch opening 2 is delimited at the top by the lower edge 5 of the plate 4.
- the profile frame 1 is oriented at right angles to the counter table surface 6.
- the lower part of the switch opening 2 is through a first glass plate 7 and upper part closed by a second glass plate 8, the two plates 7 and 8 slightly overlapping each other. An essentially identical overlap exists between the plate 8 and the plate 4.
- the two plates 7 and 8 are mounted in the profile frame 1 so as to be vertically displaceable.
- the first plate 7 is laterally firmly connected to an angle profile iron 9, which is provided at its ends with guide bodies 10 each with a guide slot 11 (FIG. 3).
- the plates 7, 8 are mounted and driven in the same way (mirror symmetry), which is why only one of the two sides is described with reference to FIG. 3.
- each guide body 10 there is preferably a roller, not shown, which rolls with its peripheral surface on the crest of the leg and prevents jamming of the plate 7 between the mutually opposite U-profiles 12.
- a clamp body 14 is also attached, which forms a firm connection with an endless toothed belt 15. This is guided around two deflection rollers 16 and 17 which are rotatably mounted in the profile frame 1.
- the two upper deflection rollers 16 are seated on a shaft 18 which is rotatably mounted in the gearbox 3 and which can be driven by an electric motor via a self-locking gear. If the motor drives the shaft 18, the first plate 7 is raised or lowered, with limit switches limiting the path.
- the second plate 8 is connected laterally in the same way as the first with angle profile iron 19, to each of which two guide bodies 20 are fastened with guide slots 21.
- the second of the two legs of the U-profile 12 engages in the guide slots 21.
- a roller 22 and 23 are each freely rotatably supported, around which an endless strand 24 is guided.
- the rope loop 24 ' is fixed on the one hand by an angle iron 26 to the frame 1 and on the other hand by means of a connecting part 25 on the angle profile iron 9.
- the angle iron 26 in turn is firmly attached to the profile frame 1. If the first plate 7 is moved upward, the upper plate 8 also moves with it.
- the lower edge of the plate 8 is flush with the lower edges of the other two plates, when the plate 7 is raised to the lower edge 5 of the plate 4.
- the endless strand 24 in connection with the deflection roller 22 prevents the upper plate 8 from being raised or lowered by forces acting on it.
- the plates 7 and 8 and optionally also the plate 4 are preferably from a bulletproof glass. In normal postal traffic, it is sufficient if the lower plate 7 only leaves a gap in relation to the counter table surface 6.
- the plates 7 and 8 can be raised and then lowered again to the normal operating position. Due to the self-locking positive drive, the closing of the switch door can be forced, whereby the plates 7 and 8 cannot be raised.
Landscapes
- Power-Operated Mechanisms For Wings (AREA)
- Push-Button Switches (AREA)
- Liquid Crystal (AREA)
Priority Applications (1)
| Application Number | Priority Date | Filing Date | Title |
|---|---|---|---|
| AT88100039T ATE68553T1 (de) | 1987-01-20 | 1988-01-05 | Schaltertuere. |
Applications Claiming Priority (2)
| Application Number | Priority Date | Filing Date | Title |
|---|---|---|---|
| CH191/87A CH671604A5 (enExample) | 1987-01-20 | 1987-01-20 | |
| CH191/87 | 1987-01-20 |
Publications (2)
| Publication Number | Publication Date |
|---|---|
| EP0276650A1 EP0276650A1 (de) | 1988-08-03 |
| EP0276650B1 true EP0276650B1 (de) | 1991-10-16 |
Family
ID=4181322
Family Applications (1)
| Application Number | Title | Priority Date | Filing Date |
|---|---|---|---|
| EP88100039A Expired - Lifetime EP0276650B1 (de) | 1987-01-20 | 1988-01-05 | Schaltertüre |
Country Status (4)
| Country | Link |
|---|---|
| EP (1) | EP0276650B1 (enExample) |
| AT (1) | ATE68553T1 (enExample) |
| CH (1) | CH671604A5 (enExample) |
| DE (1) | DE3865441D1 (enExample) |
Families Citing this family (11)
| Publication number | Priority date | Publication date | Assignee | Title |
|---|---|---|---|---|
| GB2268957B (en) * | 1992-07-24 | 1995-11-22 | Paul Ernest Laidman Temple | Window assembly |
| NL9402109A (nl) * | 1994-12-12 | 1996-07-01 | Polynorm Nv | Deur. |
| US5636579A (en) * | 1995-01-27 | 1997-06-10 | Protec Company | Security window adapted to prevent forced entry |
| US5860371A (en) * | 1995-01-27 | 1999-01-19 | Protec Company | Security window adapted to prevent forced entry |
| DE19525946A1 (de) * | 1995-07-18 | 1997-05-15 | Wiederoder Herbert | Hubwand |
| GB2336385A (en) * | 1998-04-14 | 1999-10-20 | Karel Charvat | Sash windows with simultaneous motion of panels in opposite directions |
| GB9818864D0 (en) * | 1998-09-01 | 1998-10-21 | Stephens David H | Heating and ventilation of dwellings |
| GB2338978B (en) * | 1999-09-23 | 2000-06-07 | Karel Charvat | Sash windows with sashes which counterbalance each other |
| GB2338979B (en) * | 1999-10-02 | 2000-05-31 | Karel Charvat | Operating and tensioning device for a double-hung sash assembly to eliminate the use of counterweights |
| GB2343213B (en) * | 2000-02-09 | 2001-03-21 | Paul Spencer Gamble | Vertical sliding sash windows with movement ratio conversion unit |
| DE102015012570B4 (de) * | 2015-09-25 | 2021-12-09 | Lothar Zimmer | Glas-Schleuse |
Family Cites Families (4)
| Publication number | Priority date | Publication date | Assignee | Title |
|---|---|---|---|---|
| FR392203A (fr) * | 1908-07-10 | 1908-11-20 | Leon Feist | Guichet |
| FR567994A (fr) * | 1922-09-18 | 1924-03-12 | L P A Colin | Guichet à ouverture automatique |
| US2425016A (en) * | 1944-12-19 | 1947-08-05 | Edgar R Weaver | Hangar door operating mechanism |
| FR2440460A2 (fr) * | 1978-11-06 | 1980-05-30 | Engelart | Perfectionnements au rideau a fermeture instantanee |
-
1987
- 1987-01-20 CH CH191/87A patent/CH671604A5/de not_active IP Right Cessation
-
1988
- 1988-01-05 AT AT88100039T patent/ATE68553T1/de not_active IP Right Cessation
- 1988-01-05 EP EP88100039A patent/EP0276650B1/de not_active Expired - Lifetime
- 1988-01-05 DE DE8888100039T patent/DE3865441D1/de not_active Expired - Fee Related
Also Published As
| Publication number | Publication date |
|---|---|
| ATE68553T1 (de) | 1991-11-15 |
| CH671604A5 (enExample) | 1989-09-15 |
| DE3865441D1 (de) | 1991-11-21 |
| EP0276650A1 (de) | 1988-08-03 |
Similar Documents
| Publication | Publication Date | Title |
|---|---|---|
| DE69802919T2 (de) | Führungsvorrichtung für flexibles hubtor | |
| EP1003952B1 (de) | Tür- oder torverschluss | |
| EP0276650B1 (de) | Schaltertüre | |
| DE3310317C2 (de) | Laufkonsole mit einer Tür | |
| DE2546915A1 (de) | Vorrichtung zum aufhaengen und antreiben von haengetueren | |
| DE3615578C1 (en) | Device for raising and lowering a window pane | |
| DE1683259B2 (de) | Freitragendes Schiebetor | |
| EP0128391A2 (de) | Bogenförmig verschiebbares Schiebetor | |
| EP0468223A2 (de) | Falttor | |
| DE3544944A1 (de) | Faltrolladen | |
| DE3706054C1 (de) | Lamellen-Laden oder - Tor | |
| DE2140672C3 (de) | Garagentor | |
| DE202007014472U1 (de) | Türkonstruktion für einen Aufzug | |
| AT403471B (de) | Kettenbecherförderwerk | |
| EP1639220B1 (de) | Antrieb für eine schiebetür | |
| DE4311820C1 (de) | Rolltor | |
| DE4030197A1 (de) | Rolltor | |
| EP3838733B1 (de) | Sektionaltor für einen durchbruch in einem flächenelement auf einem seeschiff | |
| DE1153721B (de) | Registratur mit paternosterartig umlaufenden Schriftgutbehaeltern | |
| DE4037867C2 (de) | Hochschwenkbares Tor | |
| DE672926C (de) | Kipptor fuer Garagen, Lagerraeume u. dgl. | |
| DE7706577U1 (de) | Ueber kopf bewegbares tor | |
| DE2330461A1 (de) | Gehaenge fuer ein senkrecht-schiebetor | |
| DE2135723C3 (de) | Vorrichtung zum pendelfreien Umsetzen von paternosterartig umlaufenden Behältern | |
| DE1235801B (de) | Rollsteig |
Legal Events
| Date | Code | Title | Description |
|---|---|---|---|
| PUAI | Public reference made under article 153(3) epc to a published international application that has entered the european phase |
Free format text: ORIGINAL CODE: 0009012 |
|
| AK | Designated contracting states |
Kind code of ref document: A1 Designated state(s): AT BE DE ES FR GB GR IT LU NL SE |
|
| 17P | Request for examination filed |
Effective date: 19881209 |
|
| 17Q | First examination report despatched |
Effective date: 19900706 |
|
| GRAA | (expected) grant |
Free format text: ORIGINAL CODE: 0009210 |
|
| AK | Designated contracting states |
Kind code of ref document: B1 Designated state(s): AT BE DE ES FR GB GR IT LU NL SE |
|
| PG25 | Lapsed in a contracting state [announced via postgrant information from national office to epo] |
Ref country code: SE Effective date: 19911016 Ref country code: NL Effective date: 19911016 Ref country code: GR Free format text: LAPSE BECAUSE OF FAILURE TO SUBMIT A TRANSLATION OF THE DESCRIPTION OR TO PAY THE FEE WITHIN THE PRESCRIBED TIME-LIMIT Effective date: 19911016 Ref country code: GB Effective date: 19911016 Ref country code: ES Free format text: THE PATENT HAS BEEN ANNULLED BY A DECISION OF A NATIONAL AUTHORITY Effective date: 19911016 |
|
| REF | Corresponds to: |
Ref document number: 68553 Country of ref document: AT Date of ref document: 19911115 Kind code of ref document: T |
|
| REF | Corresponds to: |
Ref document number: 3865441 Country of ref document: DE Date of ref document: 19911121 |
|
| ITF | It: translation for a ep patent filed | ||
| ET | Fr: translation filed | ||
| NLV1 | Nl: lapsed or annulled due to failure to fulfill the requirements of art. 29p and 29m of the patents act | ||
| GBV | Gb: ep patent (uk) treated as always having been void in accordance with gb section 77(7)/1977 [no translation filed] | ||
| PLBE | No opposition filed within time limit |
Free format text: ORIGINAL CODE: 0009261 |
|
| STAA | Information on the status of an ep patent application or granted ep patent |
Free format text: STATUS: NO OPPOSITION FILED WITHIN TIME LIMIT |
|
| 26N | No opposition filed | ||
| EPTA | Lu: last paid annual fee | ||
| PGFP | Annual fee paid to national office [announced via postgrant information from national office to epo] |
Ref country code: FR Payment date: 19981211 Year of fee payment: 12 |
|
| PGFP | Annual fee paid to national office [announced via postgrant information from national office to epo] |
Ref country code: LU Payment date: 19990104 Year of fee payment: 12 |
|
| PGFP | Annual fee paid to national office [announced via postgrant information from national office to epo] |
Ref country code: BE Payment date: 19990106 Year of fee payment: 12 |
|
| PG25 | Lapsed in a contracting state [announced via postgrant information from national office to epo] |
Ref country code: LU Free format text: LAPSE BECAUSE OF NON-PAYMENT OF DUE FEES Effective date: 20000105 |
|
| PG25 | Lapsed in a contracting state [announced via postgrant information from national office to epo] |
Ref country code: BE Free format text: LAPSE BECAUSE OF NON-PAYMENT OF DUE FEES Effective date: 20000131 |
|
| BERE | Be: lapsed |
Owner name: SIPORT A.G. Effective date: 20000131 |
|
| PG25 | Lapsed in a contracting state [announced via postgrant information from national office to epo] |
Ref country code: FR Free format text: LAPSE BECAUSE OF NON-PAYMENT OF DUE FEES Effective date: 20000929 |
|
| REG | Reference to a national code |
Ref country code: FR Ref legal event code: ST |
|
| PGFP | Annual fee paid to national office [announced via postgrant information from national office to epo] |
Ref country code: AT Payment date: 20001211 Year of fee payment: 14 |
|
| PGFP | Annual fee paid to national office [announced via postgrant information from national office to epo] |
Ref country code: DE Payment date: 20001219 Year of fee payment: 14 |
|
| PG25 | Lapsed in a contracting state [announced via postgrant information from national office to epo] |
Ref country code: AT Free format text: LAPSE BECAUSE OF NON-PAYMENT OF DUE FEES Effective date: 20020105 |
|
| PG25 | Lapsed in a contracting state [announced via postgrant information from national office to epo] |
Ref country code: DE Free format text: LAPSE BECAUSE OF NON-PAYMENT OF DUE FEES Effective date: 20020801 |
|
| PG25 | Lapsed in a contracting state [announced via postgrant information from national office to epo] |
Ref country code: IT Free format text: LAPSE BECAUSE OF NON-PAYMENT OF DUE FEES;WARNING: LAPSES OF ITALIAN PATENTS WITH EFFECTIVE DATE BEFORE 2007 MAY HAVE OCCURRED AT ANY TIME BEFORE 2007. THE CORRECT EFFECTIVE DATE MAY BE DIFFERENT FROM THE ONE RECORDED. Effective date: 20050105 |