EP0240738A2 - Vorrichtung zum Auftragen von fliessfähigen Massen - Google Patents
Vorrichtung zum Auftragen von fliessfähigen Massen Download PDFInfo
- Publication number
- EP0240738A2 EP0240738A2 EP19870103223 EP87103223A EP0240738A2 EP 0240738 A2 EP0240738 A2 EP 0240738A2 EP 19870103223 EP19870103223 EP 19870103223 EP 87103223 A EP87103223 A EP 87103223A EP 0240738 A2 EP0240738 A2 EP 0240738A2
- Authority
- EP
- European Patent Office
- Prior art keywords
- piston
- storage container
- piston rod
- lever arms
- front part
- Prior art date
- Legal status (The legal status is an assumption and is not a legal conclusion. Google has not performed a legal analysis and makes no representation as to the accuracy of the status listed.)
- Withdrawn
Links
- 238000007789 sealing Methods 0.000 claims description 37
- 241000446313 Lamella Species 0.000 claims description 20
- 239000012528 membrane Substances 0.000 claims description 11
- 230000009969 flowable effect Effects 0.000 claims description 5
- 230000006835 compression Effects 0.000 claims description 4
- 238000007906 compression Methods 0.000 claims description 4
- 239000013013 elastic material Substances 0.000 claims description 2
- 230000000284 resting effect Effects 0.000 claims description 2
- 238000001035 drying Methods 0.000 description 3
- 239000000463 material Substances 0.000 description 3
- 239000000853 adhesive Substances 0.000 description 2
- 230000001070 adhesive effect Effects 0.000 description 2
- 239000000203 mixture Substances 0.000 description 2
- 230000005540 biological transmission Effects 0.000 description 1
- 230000000903 blocking effect Effects 0.000 description 1
- 238000004040 coloring Methods 0.000 description 1
- 238000010276 construction Methods 0.000 description 1
- 230000007423 decrease Effects 0.000 description 1
- 230000000694 effects Effects 0.000 description 1
- 238000001704 evaporation Methods 0.000 description 1
- 230000008020 evaporation Effects 0.000 description 1
- 238000002347 injection Methods 0.000 description 1
- 239000007924 injection Substances 0.000 description 1
- 238000003780 insertion Methods 0.000 description 1
- 230000037431 insertion Effects 0.000 description 1
- 239000002184 metal Substances 0.000 description 1
- 238000010422 painting Methods 0.000 description 1
- 230000035515 penetration Effects 0.000 description 1
- 239000002904 solvent Substances 0.000 description 1
- 229940034610 toothpaste Drugs 0.000 description 1
- 239000000606 toothpaste Substances 0.000 description 1
Images
Classifications
-
- B—PERFORMING OPERATIONS; TRANSPORTING
- B05—SPRAYING OR ATOMISING IN GENERAL; APPLYING FLUENT MATERIALS TO SURFACES, IN GENERAL
- B05C—APPARATUS FOR APPLYING FLUENT MATERIALS TO SURFACES, IN GENERAL
- B05C17/00—Hand tools or apparatus using hand held tools, for applying liquids or other fluent materials to, for spreading applied liquids or other fluent materials on, or for partially removing applied liquids or other fluent materials from, surfaces
- B05C17/002—Hand tools or apparatus using hand held tools, for applying liquids or other fluent materials to, for spreading applied liquids or other fluent materials on, or for partially removing applied liquids or other fluent materials from, surfaces with feed system for supplying material from an external source; Supply controls therefor
-
- A—HUMAN NECESSITIES
- A45—HAND OR TRAVELLING ARTICLES
- A45D—HAIRDRESSING OR SHAVING EQUIPMENT; EQUIPMENT FOR COSMETICS OR COSMETIC TREATMENTS, e.g. FOR MANICURING OR PEDICURING
- A45D40/00—Casings or accessories specially adapted for storing or handling solid or pasty toiletry or cosmetic substances, e.g. shaving soaps or lipsticks
- A45D40/26—Appliances specially adapted for applying pasty paint, e.g. using roller, using a ball
Definitions
- the invention relates to a device for applying flowable masses with a storage container, the cross-section of which is the same over the length and in which a piston is mounted on a piston rod which is displaceable in the longitudinal direction against spring force and which in turn is also displaceable in the longitudinal direction with respect to the piston rod and on the side facing away from the dispensing side has a directional lock, the piston rod being displaceable in the direction of its longitudinal axis by means of an actuating element which is accessible from the outside, and the dispensing opening can be closed by an attachable closure cap.
- a device (EP-A 0 094 277) has already been proposed which is intended for dispensing a metered amount of toothpaste from a storage container.
- the container is sealed on one side by a longitudinally movable piston, which runs along the inner wall of the container and on a piston rod is longitudinally movable.
- the piston must therefore seal in two places, namely on the inner wall and on the piston rod.
- the smooth inner wall is more suitable for this than the piston rod, which is considerably smaller in diameter and has sawtooth-like incisions into which a pawl of a locking disk engages.
- the distance between the individual saw teeth cannot be reduced arbitrarily because a minimum height is required to support the pawl on a surface perpendicular to the longitudinal axis of the piston rod. It follows that the minimum quantity of mass to be dispensed is relatively large in accordance with the minimum stroke of the piston.
- the piston rod has an axial channel which extends from the interior of the storage container to the front of a front part.
- the piston rod is firmly connected to the front part and can be displaced in the direction of its longitudinal axis in a bearing neck of the storage container.
- This structure is the prerequisite for the fact that a lever mechanism in the form of a switching ring with lever arms can be used between the front part and the storage container.
- This combination of features enables the device to be actuated in the grip area, the predetermined amount of mass to be dispensed being kept very small. It is possible for the user to select the specified amount even smaller if the actuating device is only partially pushed through.
- the actuating device in the grip area of the device is then independent of the radial position between the fingers, that is, the device can be rotated as desired, if several lever arms are formed on the switching ring, which extend obliquely to the central axis and the cross section of the lever arms is larger than that Cross section of the switching ring.
- the creation of the actuating device is simplified in that two identical switching rings are placed next to one another on the bearing neck of the storage container such that the ends of the lever arms touch. With this design, the lever arms can be easily removed from the mold without requiring a complicated structure of the injection mold. In addition, stable lever arms are reached that pivot around a pivot point that the switching ring itself forms.
- a positional orientation of the lever arms relative to one another and any necessary adhesive connection can be dispensed with, if slots are formed on the switching ring between the lever arms, the width of which is smaller than that of the lever arms.
- a pleasant grip of the actuating device can be achieved if a sleeve made of elastic material is inserted over the switching ring and the lever arms and is firmly connected at opposite ends to the storage container and the front part.
- Different masses can be applied with the device according to the invention.
- the force required to push the piston into the container changes in accordance with the nature, in particular the viscosity, of the filled mass.
- the sealing piston has a directional locking mechanism on the side facing the inside of the storage container, which acts on the piston rod and on the side pointing outwards, a further directional locking mechanism which rests against the inner wall of the storage container, large movements can also occur during the movement of the piston rod Forces are transmitted without the piston being undesirably withdrawn on the return stroke. The gradual advancement of the piston into the container will therefore take place so precisely that the maximum quantity of the mass to be dispensed remains constant.
- the directional lock itself can also be easily manufactured as a stamped part in large quantities. They can be connected to the piston by simply snapping them into place. Apart from two simple washers, no additional parts are required for the two directional locks. This is achieved by a construction in which a feed lamella is inserted between the sealing piston and the piston rod, which several Has slots that open into a bore that is smaller in diameter than the piston rod in the flat position of the feed lamella. In addition, a further locking lamella is inserted between the sealing piston and the inner wall of the storage container, which has slots open towards the outside diameter, the outside diameter in the flat position of the locking lamella being larger than the inside diameter of the storage container.
- a sealing piston and a locking piston are arranged on the piston rod, which abut one another and a feed lamella and a locking lamella are only attached to the locking piston, an optimal material selection can be made for the different pistons.
- the material of the sealing piston can only be selected according to those properties that. effect a good seal.
- the locking piston can be made of a stiffer material that has enough strength to absorb the forces that act on the directional lock.
- An advantageous embodiment of the device is achieved when the reservoir is closed on opposite ends by means of a valve cone and a sealing piston, the valve cone being formed on a valve stem which forms an extension of the piston rod and has an axial channel which connects the front part to the valve seat , which closes the storage container.
- the additional valve on the front of the storage container offers the advantage that the storage container is hermetically sealed in the rest position of the actuating device. The storage container is only open briefly when a mass is to be dispensed. The penetration of air is ever already prevented by the mass present in the axial channel.
- the smooth operation of the actuating device is achieved by a complete sealing of the bearing between the valve stem and the bearing neck.
- the access of quick-drying masses to the bearing point is prevented in that the valve stem is mounted for longitudinal movement in a bearing neck of the mouthpiece connected to the reservoir and that a sealing membrane is arranged on the side facing the reservoir, which is on the outside diameter of the valve stem and on the inside diameter a decorative ring molded onto the mouthpiece is attached.
- the bearing membrane is completely closed off by the sealing membrane, while the axial movement between the valve stem and the bearing neck is also possible due to the short distances if the membrane is made of metal or relatively rigid, impermeable plastic.
- a pressure spring with one end is applied to the side of the sealing membrane facing away from the storage container, the other end of which is supported on the mouthpiece, the pressure spring can be prevented from sticking due to escaping and drying mass.
- Another advantage results from the fact that the front part is attached to the outside diameter of the valve stem and an application element is attached to the inside diameter. In this way, an annular gap is created between the front part and the application element, which ensures a flow of the mass to be dispensed.
- the application element can be supplied from the inside directly through the axial channel.
- the device shown in Figures 1 to 3 consists of a storage container 1 on one side in a Bearing neck 2 runs out, with which it is connected via an end wall 3.
- a support plate 4 and an end plug 5 is inserted in the open end of the storage container 1.
- a piston rod 7 is guided, which carries a support collar 8 at its rear end and has at least one axial channel 9 on the opposite side, which extends to a tip 10 which is used to apply the contained in the container 1 Mass serves.
- a plurality of axial channels 9 can also be formed in the piston rod 7.
- a sealing piston 12 is mounted on the piston rod 7, with which the storage container 1 is closed to the rear.
- the sealing piston 12 has a feed lamella 13 on the side facing the inside of the storage container 1 and a locking lamella 14 on the outer side.
- a front part 15 is mounted in a stationary manner at the front end of the piston rod 7. In the front part 15, a step 16 is formed, which corresponds to the diameter of the step 17, which is arranged on the storage container 1.
- the two stages 16; 17 serve to fasten a sleeve 18, which covers a switching ring 19 with lever arms 20. As strength of F.
- slots 21 are provided between the lever arms 20, the width of which is selected so that the lever arms 20 can be supported against one another regardless of the radial position of one of the two switching rings 19.
- the switching rings 19 are axially movable on the bearing neck 2, so that when the lever arms 20 are pressed, the switching ring 19 resting on the front part 15 can move axially.
- a closure cap 22 is known to be provided, which can be placed sealingly on the front part 15.
- the user In order to transport the flowable mass 23 from the storage container 1 to the tip 10 with the device, the user must press on the cuff 18 and thereby bring the lever arms 20 into an extended position in which they rest on the bearing neck 2. In this extended position of the lever arms 20, the front part 15 is pulled away from the bearing neck 2 together with the piston rod 7. During this movement, the sealing piston 12 follows the feed lamella 13 of the piston rod 7 and exerts pressure on the mass 23. The sealing piston 12 immediately follows the piston rod 7, since the feed lamella 13 expands, and prevents the sealing piston 12 from slipping on the piston rod 7. During the movement of the sealing piston 12, the mass 23 is pressed through one of the axial channels 9 to the tip 10 and can be applied from there.
- a mouthpiece 101 is inserted as a separate part, which merges into a bearing neck 102.
- a step 103 and a centering ring 104 formed on the mouthpiece serve to accommodate further parts.
- the container 100 is sealed on the back with a smooth surface by an end cap 105 which contains a vent hole 106.
- a piston rod 107 extends approximately over the entire length of the storage container 100 and is connected at its front end to a valve stem 108, over the entire length of which an axial channel 109 extends to the piston rod 107.
- the axial channel 109 is closed off by the piston rod 107, which is pressed into a receiving bore 110, but is guided outward into the region of a valve cone 112 by means of an overflow channel 111.
- an insertion bore 113 is provided, in which an application element 114 is fastened, which carries a distributor cap 114.1 on the front.
- a front part 115 is also fixedly attached to the valve stem 108, through which the application element 114, which has a dispensing opening 116, extends. It is also possible to dispense with the application element 114 and to mold the dispensing opening 116 directly into the front part 115.
- the front part 115 also has a step 117, which lies opposite the step 103 on the mouthpiece 101, and a sealing surface 118 for fitting a closure cap 132.
- Two switching rings 119 with lever arms 120 are attached to the bearing neck 102 and correspond to the switching rings 19 of FIG. 3. Not shown slots 121 between the lever arms 120 are - as in Fig. 3 - kept so narrow that - regardless of the radial position of the switching rings 119 - the lever arms 120 bear against one another at least partially
- a sealing piston 122 is provided, which rests on a locking piston 123.
- a feed lamella 124 and a lock lamella 125 sit on opposite end faces on the locking piston 123.
- the feed lamella 124 has inwardly open slots 124.1 which end in a bore 124.2. This bore 124.2 is kept smaller in diameter than the piston rod 107, so that it can only be placed there after arching of the feed lamella 124.
- the locking plate 125 on the other hand, has slots 125.1 which are open to the outside and end in the outer diameter 125.2. This outer diameter 125.2 is larger than the inner diameter of the storage container 100.
- a sealing membrane 127 is fixed to its inner diameter by means of a stop bushing 126, which is placed on the valve stem 108, against which a compression spring 128 also bears.
- the sealing membrane 127 is fastened to a connecting bushing 129 on the outside diameter.
- a valve seat 130 and a support ring 131 which presses the outer diameter of the sealing membrane 127 against the mouthpiece 101, are provided in this connecting bushing 129.
- a closure cap 132 is provided and an elastic sleeve 133 is placed over the switching ring 119, which is attached to the steps 103; 117 rests.
- This sleeve 133 is both axially and radially elastic and can thus follow the movement of the lever arms 120 and the front part 115.
- the function of the embodiment according to FIG. 4 is similar to the pure according to the embodiment of the F. 1.
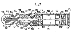
- the sleeve 133 In order to convey flowable mass 134 from the storage container 100 to the application element 114, the sleeve 133 must be compressed in the grip area, as a result of which the lever arms 120 rest against the bearing neck 102 in a known manner. This position can be seen from FIG. 7, which also shows that the front part 115 lifts off the bearing neck 102. With the front part 115, the valve stem 108 and the piston rod 107 are moved axially. With the piston rod 107, the locking piston 123 is simultaneously advanced, which is coupled to the piston rod 107 as a result of the feed lamella 124.
- valve cone 112 lifts off from the valve seat 130 and mass 134 is pressed out of the reservoir 100 by means of the sealing piston 122, which follows the movement of the locking piston. Since the space immediately behind the valve seat 130 is closed off by the sealing membrane 127, the mass 134 penetrates into the overflow channel 111 and is fed from there through the axial channel 109 and the discharge opening 116 to the application element 114. If the pressure on the cuff 133 and the lever arms 120 underneath decreases, the piston rod 107 is moved back into the starting position by means of the compression spring 128. A simultaneous return of the sealing piston 122 with the piston rod 107 is prevented by the locking piston 123, the outer locking plate of which is supported against the inner wall of the storage container 100.
- the respective metered quantity of the mass 134 is determined by the axial travel of the front part 115, which in turn is predetermined by the extended position of the lever arms 120.
- the lever arms 120 act in the manner of a toggle joint. For moving the lever arms 120 from the position shown in FIG. 4 into the position according to FIG. 7 due to the lever ratio, a much smaller force is required than the force acting on the sealing piston 122.
- the lever arms 120 thus serve as a transmission mechanism and have the advantage that, with the device being easy to operate, an exact metering of the smallest quantities of the mass 134 to be dispensed is possible.
Landscapes
- Engineering & Computer Science (AREA)
- Mechanical Engineering (AREA)
- Containers And Packaging Bodies Having A Special Means To Remove Contents (AREA)
- Coating Apparatus (AREA)
Abstract
Zum Auftragen von fließfähigen Massen aus einem länglichen Behälter, ist in diesem ein Kolben angeordnet, der mittels einer Betätigungsvorrichtung die im Griffbereich liegt, verschoben werden kann. Die Kolbenstange ist gegenüber dem Behälter und dem Kolben verschiebbar und weist einen Axialkanal auf, der sich von dem Behälterinneren zur Stirnseite des Vorderteiles erstreckt. Das Vorderteil ist fest mit der Kolbenstange verbunden und mittels eines Hebelmechanismus gegenüber dem Vorratsbehälter in Richtung seiner Längsachse verschiebbar.
Description
- Die Erfindung betrifft eine Vorrichtung zum Auftragen von fließfähigen Massen mit einem-Vorratsbehälter, dessen Querschnitt über die Länge gleich ist und in dem auf einer in Längsrichtung gegen Federkraft verschiebbaren Kolbenstange ein Kolben gelagert ist, der seinerseits gegenüber der Kolbenstange ebenfalls in Längsrichtung verschiebbar ist und auf der von der Abgabeseite abgewandten Seite ein Richtgesperre aufweist, wobei die Kolbenstange in Richtung ihrer Längsachse mittels eines von außen zugänglichen Betätigungselementes verschiebbar ist und die Abgabeöffnung durch eine aufsteckbare Verschlußkappe verschließbar ist.
- Beim Auftragen von fließfähigen Massen ist es von großer Bedeutung, daß die abgegebene Menge bei jeder Betätigung der Vorrichtung genau eingehalten wird. Dadurch ist eine zweckentsprechende Weiterverarbeitung der Masse entweder durch punktförmigen Auftrag oder durch flächige Verteilung möglich. Der Benutzer kann demnach seine Arbeitsweise auf die abgegebene Menge abstimmen und z. B. beim Auftragen von Klebstoff eine ausreichende Haltekraft erreichen. Bei färbenden Massen muß die abzugebende Menge so dosiert sein, daß die zu überdeckende Fläche ausreichend beschichtet werden kann.
- Es wurde bereits eine Vorrichtung (EP-A 0 094 277) vorgeschlagen, die zur Abgabe einer dosierten Menge von Zahnpaste aus einem Vorratsbehälter bestimmt ist. Der Behälter ist auf einer Seite durch einen längsbeweglichen Kolben abgedichtet, der entlang der Innenwand des Behälters und auf einer Kolbenstange längsbeweglich ist. Der Kolben muß daher an zwei Stellen, nämlich an der Innenwand und an der Kolbenstange abdichten. Die glatte Innenwand ist dazu besser geeignet als die im Durchmesser wesentlich kleinere Kolbenstange, die mit sägezahnartigen Einschnitten versehen ist, in welche eine Klinke einer Sperrscheibe eingreift.
- Der Abstand der einzelnen Sägezähne kann nicht beliebig reduziert werden, weil eine Mindesthöhe benötigt wird um die Klinke an einer zur Längsachse der Kolbenstange senkrechten Fläche abzustützen. Daraus folgt, daß die auszugebende Mindestmenge der Masse entsprechend dem Minimalhub des Kolbens relativ groß ist.
- Es ist daher Aufgabe der Erfindung die Vorrichtung so zu gestalten, daß das Volumen der dosierbaren Menge auf einen geringen Betrag reduziert werden kann, der unabhängig von der geometrischen Form von Sperrelementen ist. Da die äußere Form der Vorrichtung der eines Schreib- oder Malstiftes ähnlich ist, wird sie vom Benutzer auch in der Regel mit zwei oder mehreren Fingern umfaßt. Innerhalb dieses vorgegebenen Griffbereiches muß deshalb die Betätigung der Vorrichtung erfolgen können.
- Die Lösung dieser Aufgabe wird erfindungsgemäß durch die Kombination der nachstehenden Merkmale erreicht. Die Kolbenstange weist einen Axialkanal auf, der sich von dem Inneren des Vorratsbehälters bis zur Stirnseite eines Vorderteiles erstreckt. Die Kolbenstange ist fest mit dem Vorderteil verbunden und in einem Lagerhals des Vorratsbehälters in Richtung ihrer Längsachse verschiebbar. Dieser Aufbau ist die Voraussetzung dafür, daß zwischen dem Vorderteil und dem Vorratsbehälter ein Hebelmechanismus in Form eines Schaltringes mit Hebelarmen einsetzbar ist. Durch diese Merkmalskombination wird die Betätigung der Vorrichtung im Griffbereich erreicht, wobei die vorbestimmte Menge der abzugebenden Masse sehr klein gehalten werden kann. Dem Benutzer ist es möglich die vorgegebene Menge noch kleiner zu wählen, wenn die Betätigungsvorrichtung nur teilweise durchgedrückt wird. Auch bei diesem extrem kurzen Hub der Kolbenstange ist eine sichere Funktion gewährleistet, da der Dichtkolben nahezu spielfrei der Kolbenstange folgt und bei deren Rückhubbewegung stehen bleibt. Die Reibung des Dichtkolbens an der Innenwand des Vorratsbehälters ist größer als gegenüber der Kolbenstange. Ein unerwünschter Rückhub des Dichtkolbens kann somit ausgeschaltet werden.
- Die Betätigungsvorrichtung im Griffbereich der Vorrichtung ist dann unabhängig von der radialen Lage zwischen den Fingern, das heißt die Vorrichtung kann beliebig gedreht werden, wenn an dem Schaltring mehrere Hebelarme angeformt sind, die sich schräg zur Mittelachse erstrecken und der Querschnitt der Hebelarme größer ist als der Querschnitt des Schaltringes. Die Erstellung der Betätigungsvorrichtung wird dadurch vereinfacht, daß auf dem Lagerhals des Vorratsbehälters nebeneinander zwei gleiche Schaltringe so aufgesteckt sind, daß sich die Enden der Hebelarme berühren. Bei dieser Ausbildung lassen sich die Hebelarme leicht entformen, ohne daß ein komplizierter Aufbau der Spritzgießform erforderlich wäre. Außerdem werden stabile Hebelarme erreicht die um einen Drehpunkt schwenken, den der Schaltring selbst bildet.
- Auf eine Lageorientierung der Hebelarme zueinander und auf gegebenenfalls notwendige Klebeverbindung kann verzichtet werden, wenn an dem Schaltring zwischen den Hebelarmen Schlitze eingeformt sind, deren Breite kleiner als die der Hebelarme ist. Eine angenehme Griffigkeit der Betätigungsvorrichtung läßt sich erreichen, wenn über den Schaltring und die Hebelarme eine aus elastischem Material bestehende Manschette gesteckt ist, die an gegenüberliegenden Enden fest mit dem Vorratsbehälter und dem Vorderteil verbunden ist.
- Mit der erfindungsgemäßen Vorrichtung lassen sich verschiedene Massen auftragen. Entsprechend der Beschaffenheit, insbesondere der Viskosität der eingefüllten Masse ändert sich die Kraft, die benötigt wird, um den Kolben in den Behälter hineinzudrücken. Durch eine Ausführung, bei der der Dichtkolben an der zum Inneren des Vorratsbehälters weisenden Seite ein Richtgesperre aufweist, das an der Kolbenstange angreift und an der nach außen weisenden Seite ein an der Innenwand des Vorratsbehälters anliegendes weiteres Richtgesperre, können bei der Bewegung der Kolbenstange auch große Kräfte übertragen werdenohne daß beim Rückhub der Kolben in unerwünschter Weise zurückgezogen wird. Der schrittweise Vorschub des Kolbens in den Behälter hinein wird demnach so exakt erfolgen, daß die auszugebende maximale Menge der auszugebenden Masse konstant bleibt.
- Die Richtgesperre selbst lassen sich auch in großen Mengen einfach als Stanzteil herstellen. Sie-könnendurch einfaches Einschnappen mit dem Kolben verbunden werden. Außer zwei einfachen Scheiben sind für die beiden Richtgesperre keine zusätzlichen Teile erforderlich. Dies wird durch eine Konstruktion erreicht, bei der zwischen dem Dichtkolben und der Kolbenstange eine Vorschublamelle eingesetzt ist, die mehrere Schlitze aufweist, die in eine Bohrung münden, welche in ebener Lage der Vorschublamelle im Durchmesser kleiner als die Kolbenstange ist. Außerdem ist zwischen dem Dichtkolben und der Innenwand des Vorratsbehälters eine weitere Sperrlamelle eingesetzt, die zum Außendurchmesser hin offene Schlitze aufweist, wobei der Außendurchmesser in ebener Lage der Sperrlamelle größer ist als der Innendurchmesser des Vorratsbehälters. Wird bei dieser Ausführung auf der Kolbenstange ein Dichtkolben sowie ein Sperrkolben angeordnet, die aneinander anliegen und eine Vorschublamelle und eine Sperrlamelle ausschließlich am Sperrkolben befestigt, so kann für die unterschiedlichen Kolben eine optimale Materialauswahl vorgenommen werden. Das Material des Dichtkolbens kann ausschließlich nach solchen Eigenschaften ausgewählt werden, die . eine gute Dichtung bewirken. Der Sperrkolben läßt sich dagegen aus einem steiferen Material herstellen, das genügend Festigkeit aufweist, um die Kräfte aufzunehmen, die auf die Richtgesperre einwirken.
- Eine vorteilhafte Ausgestaltung der Vorrichtung wird erreicht, wenn der Vorratsbehälter an gegenüberliegenden Stirnseiten mittels eines Ventilkegels und eines Dichtkolbens abgeschlossen ist, wobei der Ventilkegel an einem Ventilschaft angeformt ist, der eine Verlängerung der Kolbenstange bildet und einen Axialkanal aufweist, der das Vorderteil mit dem Ventilsitz verbindet, welcher den Vorratsbehälter abschließt. Auf diese Weise lassen sich auch Massen verwenden, die Lösungsmittel mit einer hohen Verdampfungszahl enthalten. Das zusätzliche Ventil an der Vorderseite des Vorratsbehälters bietet den Vorteil, daß der Vorratsbehälter jeweils in der Ruhelage der Betätigungsvorrichtung hermetisch abgeschlossen ist. Der Vorratsbehälter ist nur dann kurzzeitig offen, wenn eine Masse abgegeben werden soll. Das Eindringen von Luft wird jedoch bereits durch die in dem Axialkanal vorhandene Masse verhindert.
- Die Leichtgängigkeit der Betätigungsvorrichtung wird durch eine völlige Abdichtung der Lagerstelle zwischen Ventilschaft und Lagerhals erreicht. Der Zutritt von schnell trocknenden Massen an die Lagerstelle wird dadurch verhindert, daß der Ventilschaft in einem Lagerhals des mit dem Vorratsbehälter verbundenen Mundstückes längsbeweglich gelagert ist und daß an der zum Vorratsbehälter weisenden Seite eine Dichtmembran angeordnet ist, die am Außendurchmesser des Ventilschaftes und an dem Innendurchmesser eines am Mundstück angeformten Zierringes befestigt ist. Durch die Dichtmembran wird die Lagerstelle vollständig abgeschlossen, während die Axialbewegung zwischen dem Ventilschaft und dem Lagerhals infolge der kurzen Wege auch dann möglich ist, wenn die Membran aus Metall oder relativ steifem, undurchlässigen Kunststoff besteht.
- Wird an der vom Vorratsbehälter abgewandten Seite der Dichtmembran eine Druckfeder mit einem Ende angelegt, deren anderes Ende sich an dem Mundstück abstützt, kann ein Verkleben der Druckfeder durch austretende und antrocknende Masse verhindert werden.
- Ein weiterer Vorteil ergibt sich dadurch, daß an dem Außendurchmesser des Ventilschaftes das Vorderteil und an dem Innendurchmesser ein Auftragelement befestigt ist. Auf diese Weise entsteht zwischen dem Vorderteil und dem Auftragelement ein Ringspalt, der einen Durchfluß der abzugebenden Masse sicherstellt. Außerdem kann das Auftragelement direkt durch den Axialkanal von innen versorgt werden.
- Ausführungsbeispiele der Erfindung sind in den Zeichnungen dargestellt und werden im folgenden näher beschrieben.
- Es zeigen: Fig. 1 einen Längsschnitt der Vorrichtung mit aufgesteckter Verschlußkappe,
- Fig. 2 einen Schnitt durch das Vorderteil entlang der Linie II-II aus Fig. 1,
- Fig. 3 eine perspektivische Ansicht des Schaltringes mit den Hebelarmen,
- Fig. 4 ein weiteres Ausführungsbeispiel der Vorrichtung im Längsschnitt,
- Fig. 5 eine Ansicht auf das Richtgesperre entlang der Linie V-V aus Fig. 4,
- Fig. 6 einen Schnitt durch die Vorrichtung entlang der Linie VI-VI mit Draufsicht auf das zweite Richtgesperre und
- Fig. 7 einen Längsschnitt nach Betätigung der Vorrichtung gemäß Fig. 4.
- Die in den Figuren 1 bis 3 dargestellte Vorrichtung besteht aus einem Vorratsbehälter 1 der an einer Seite in einen Lagerhals 2 ausläuft, mit dem er über eine Stirnwand 3 verbunden ist. In das offene Ende des Vorratsbehälters 1 ist eine Stützscheibe 4 und ein Abschlußstopfen 5 eingesetzt. In einer Führungsbohrung 6 des Lagerhalses 2 ist eine Kolbenstange 7 geführt, die an ihrem rückwärtigen Ende einen Stützbund 8 trägt und an der gegenüberliegenden Seite wenigstens einen Axialkanal 9 aufweist, der bis zu einer Spitze 10 verläuft, die zum Auftragen der in dem Behälter 1 enthaltenen Masse dient. Wie aus der Fig. 2 zu ersehen ist, können auch mehrere Axialkanäle 9 in die Kolbenstange 7 eingeformt sein.
- Die Längsbewegung der Kolbenstange 7 erfolgt gegenüber einer. Druckfeder 11, die zwischen der Stützscheibe 4 und dem Stützbund 8 eingesetzt ist. Auf der Kolbenstange 7 ist ein Dichtkolben 12 gelagert, mit dem der Vorratsbehälter 1 nach hinten abgeschlossen ist. Der Dichtkolben 12 hat an der zur Innenseite des Vorratsbehälters 1 weisenden Seite eine Vorschublamelle 13 auf und an der äußeren Seite eine Sperrlamelle 14. Am vorderen Ende der Kolbenstange 7 ist ein Vorderteil 15 ortsfest gelagert. Im Vorderteil 15 ist eine Stufe 16 angeformt, die dem Durchmesser der Stufe 17 entspricht, die an dem Vorratsbehälter 1 angeordnet ist. Die beiden Stufen 16; 17 dienen zur Befestigung einer Manschette 18, welche einen Schaltring 19 mit Hebelarmen 20 überdeckt. Wie aus Fig. 3 zu ersehen ist, sind zwischen den Hebelarmen 20 Schlitze 21 vorgesehen, deren Breite so gewählt ist, daß unabhängig von der radialen Lage eines der beiden Schaltringe 19 sich die Hebelarme 20 gegeneinander abstützen können. Die Schaltringe 19 sind auf dem Lagerhals 2 axial beweglich, so, daß beim Drücken der Hebelarme 20 eine Axialbewegung des an dem Vorderteil 15 anliegenden Schaltringes 19 erfolgen kann.
- Um bei Nichtgebrauch der Vorrichtung ein Austrocknen der Masse 23 im Vorratsbehälter 1 zu verhindern, ist bekannterweise eine Verschlußkappe 22 vorgesehen, die auf das Vorderteil 15 dichtend aufsetzbar ist.
- Um mit der Vorrichtung die fließfähige Masse 23 aus dem Vorratsbehälter 1 zur Spitze 10 zu transportieren, muß der Benutzer auf die Manschette 18 drücken und dabei die Hebelarme 20 in eine gestreckte Lage bringen, bei der sie an dem Lagerhals 2 anliegen. In dieser Strecklage der Hebelarme 20 wird das Vorderteil 15 zusammen mit der Kolbenstange 7 von dem Lagerhals 2 weggezogen. Bei dieser Bewegung folgt der Dichtkolben 12 infolge der Vorschublamelle 13 der Kolbenstange 7 und übt einen Druck auf die Masse 23 aus. Der Dichtkolben 12 folgt unverzüglich der Kolbenstange 7, da sich die Vorschublamelle 13 aufspreizt,und verhindert es, daß der Dichtkolben 12 auf der Kolbenstange 7 verrutscht. Bei der Bewegung des Dichtkolbens 12 wird die Masse 23 durch einen der Axialkanäle 9 zur Spitze 10 gedrückt und kann von dort aus aufgetragen werden. Beim Freigeben des Druckes auf die Manschette 18 wird das Vorderteil 15 und die Kolbenstange 7 wieder in die Ausgangslage zurückgezogen, da die Kraft der Feder 11 stark genug bemessen ist, um die Hebelarme 20 zurückzustellen und dabei auch die elastische Manschette 18 wieder in die Ausgangslage zu bringen. Bei dieser Rückbewegung der Kolbenstange 7 verhindert die Sperrlamelle 14 einen Rückhub des Dichtkolbens 12, da in gleicher Weise wie die Vorschublamelle 13 auch die Sperrlamelle 14 dazu neigt, ihre ebene Lage einzunehmen, wobei sie sich zwischen dem Dichtkolben 12 und der Innenwand des Vorratsbehälters 1 aufstellt und die beabsichtigte Sperrwirkung verursacht.
- Die Fig. 4 bis 7 zeigen ein weiteres Ausführungsbeispiel der erfindungsgemäßen Vorrichtung. In einem Vorratsbehälter 100 ist als separates Teil ein Mundstück 101 eingesetzt, das in einen Lagerhals 102 übergeht. Zur Aufnahme weiterer Teile dienen eine an das Mundstück angeformte Abstufung 103 und ein Zentrierring 104. Der Behälter 100 ist an der Rückseite glattflächig durch eine Abschlußkappe 105, die ein Entlüftungsloch 106 enthält, abgeschlossen. Eine Kolbenstange 107 erstreckt sich etwa über die gesamte Länge des Vorratsbehälters 100 und ist an ihrem vorderen Ende mit einem Ventilschaft 108 verbunden über dessen gesamte Länge sich ein Axialkanal 109, bis zur Kolbenstange 107 erstreckt. Durch die Kolbenstange 107, die in eine Aufnahmebohrung 110 eingepreßt ist, wird der Axialkanal 109 abgeschlossen, der jedoch mittels eines Überströmkanals 111 nach außen in den Bereich eines Ventilkegels 112 geführt ist. Am gegenüberliegenden Ende des Ventilschaftes 108 ist eine Einsteckbohrung 113 vorgesehen, in der ein Auftragelement 114 befestigt ist, das an der Vorderseite eine Verteilerkappe 114.1 trägt.
- Auf den Ventilschaft 108 ist weiterhin ortsfest ein Vorderteil 115 befestigt, durch das sich das Auftragelement 114 erstreckt, das eine Abgabeöffnung 116 aufweist. Es ist auch möglich, auf das Auftragelement 114 zu verzichten und die Abgabeöffnung 116 unmittelbar in das Vorderteil 115 einzuformen. Das Vorderteil 115 weist außerdem eine Abstufung 117 auf, die der Abstufung 103 am Mundstück 101 gegenüberliegt, sowie eine Dichtfläche 118 zum Aufsetzen einer Verschlußkappe 132.
- Auf dem Lagerhals 102 sind zwei Schaltringe 119 mit Hebelarmen 120 aufgesteckt, die den Schaltringen 19 der Fig. 3 entsprechen. Nicht dargestellte Schlitze 121 zwischen den Hebelarmen 120 sind - wie in Fig. 3 - so schmal gehalten, daß - unabhängig von der radialen Lage der Schaltringe 119 - die Hebelarme 120 wenigstens teilweise aneinander anliegen
- Zur Abdichtung des Innenraumes des Vorratsbehälters 100 ist ein Dichtkolben 122 vorgesehen, der an einem Sperrkolben 123 anliegt. Auf dem Sperrkolben 123 sitzen eine Vorschublamelle 124 und eine Sperrlamelle 125 an gegenüberliegenden Stirnseiten. Die Vorschublamelle 124 weist nach innen offene Schlitze 124.1 auf, die in einer Bohrung 124.2 enden. Diese Bohrung 124.2 ist im Durchmesser kleiner gehalten als die Kolbenstange 107,.so daß sie nur nach Durchwölbung der Vorschublamelle 124 dort aufgesetzt werden kann. Die Sperrlamelle 125 weist dagegen nach außen offene Schlitze 125.1 auf, die in dem Außendurchmesser 125.2 enden. Dieser Außendurchmesser 125.2 ist größer als der Innendurchmesser des Vorratsbehälters 100. Beim Einsetzen der Sperrlamelle 125 in den Vorratsbehälter 100 wölbt sich daher die Sperrlamelle 125 durch und sitzt in dem Vorratsbehälter 100 unter einer gewissen Vorspannung. Mittels einer Anschlagbuchse 126, die auf den Ventilschaft 108 aufgesetzt ist, wird eine Dichtmembran 127 an ihrem Innendurchmesser fixiert, gegen die sich außerdem eine Druckfeder 128 anlegt. Am Außendurchmesser ist die Dichtmembran 127 an einer Verbindungsbuchse 129 befestigt. In dieser Verbindungsbuchse 129 ist ein Ventilsitz 130 vorgesehen und ein Stützring 131, der den Außendurchmesser der Dichtmembran 127 gegen das Mundstück 101 drückt.
- In gleicher Weise wie beim Ausführungsbeispiel bei der Fig. 1 ist eine Verschlußkappe 132 vorgesehen und über den Schaltring 119 ist eine elastische Manschette 133 gestülpt, die an den Abstufungen 103; 117 aufliegt. Diese Manschette 133 ist sowohl axial, als auch radial elastisch und kann somit der Bewegung der Hebelarme 120 und des Vorderteiles 115 folgen.
- Die Funktion des Ausführungsbeispieles nach der Fig. 4 ist ähnlich wie die nach dem Ausführungsbeispiel der Fig. 1. Um fließfähige Masse 134 aus dem Vorratsbehälter 100 zu dem Auftragelement 114 zu fördern ist die Manschette 133 im Griffbereich zusammenzudrücken, wodurch sich in bekannter Weise die Hebelarme 120 an den Lagerhals 102 anlegen. Diese Position ist aus der Fig. 7 zu ersehen, aus der auch hervorgeht, daß sich das Vorderteil 115 von dem Lagerhals 102 abhebt. Mit dem Vorderteil 115 wird der Ventilschaft 108 und die Kolbenstange 107 axial bewegt. Mit der Kolbenstange 107 wird gleichzeitig der Sperrkolben 123 vorgezogen, der infolge der Vorschublamelle 124 an die Kolbenstange 107 angekuppelt ist. Gleichzeitig bei dieser Bewegung hebt sich der Ventilkegel 112 von dem Ventilsitz 130 ab und es wird mittels des Dichtkolbens 122, der der Bewegung des Sperrkolbens folgt, Masse 134 aus dem Vorratsbehälter 100 gepreßt. Da der Raum unmittelbar hinter dem Ventilsitz-130 durch die Dichtmembran 127 abgeschlossen ist, dringt die Masse 134 in den Überströmkanal 111 ein und wird von dort durch den Axialkanal 109 und die Abgabeöffnung 116 dem Auftragelement 114 zugeführt. Läßt der Druck auf die Manschette 133 und die darunter liegenden Hebelarme 120 nach, so wird mittels der Druckfeder 128 die Kolbenstange 107 wieder in die Ausgangslage zurückbewegt. Ein gleichzeitiges Zurückgehen des Dichtkolbens 122 mit der Kolbenstange 107 wird durch den Sperrkolben 123 verhindert, dessen äußere Sperrlamelle sich gegen die Innenwand des Vorratsbehälters 100 abstützt. Die jeweilige Dosiermenge der Masse 134 ist durch den Axialweg des Vorderteiles 115 bestimmt, der wiederum durch die gestreckte Lage der Hebelarme 120 vorgegeben ist. Die Hebelarme 120 wirken nach Art eines Kniehebelgelenkes. Zur Bewegung der Hebelarme 120 aus der in der Fig. 4 dargestellten Lage in die Lage nach der Fig. 7 ist infolge der Hebelübersetzung eine wesentlich kleinere Kraft erforderlich, als die Kraft die am Dichtkolben 122 wirkt. Die Hebelarme 120 dienen somit als Übersetzungsgetriebe und haben den Vorteil, daß bei einer leichten Bedienbarkeit der Vorrichtung auch eine exakte Dosierung kleinster Mengen der auszugebenden Masse 134 möglich ist.
Claims (12)
1. Vorrichtung zum Auftragen von fließfähigen Massen mit folgenden Merkmalen:
a) die Vorrichtung hat einen Vorratsbehälter dessen Querschnitt über die Länge gleich ist;
b) im Vorratsbehälter ist auf einer in Längsrichtung gegen Federkraft verschiebbaren Kolbenstange ein Kolben gelagert, der seinerseits gegenüber der Kolbenstange ebenfalls in Längsrichtung verschiebbar ist;
c) der Kolben weist auf der von der Abgabeöffnung abgewandten Seite ein Richtgesperre auf;
d) die Kolbenstange ist in Richtung ihrer Längsachse mittels eines von außen zugänglichen Betätigungselementes verschiebbar;
e) die Abgabeöffnung ist mittels einer aufsteckbaren Verschlußkappe verschließbar;
gekennzeichnet durch folgende Merkmale:
gekennzeichnet durch folgende Merkmale:
f) die Kolbenstange (7) weist einen Axialkarial (9) auf, der sich von dem Inneren des Vorratsbehälters (1) bis zur Stirnseite eines Vorderteiles (15) erstreckt;
g) die Kolbenstange (7) ist fest mit dem Vorderteil (15) verbunden und in einem Lagerhals (2) des Vorratsbehälters (1) in Richtung ihrer Längsachse verschiebbar;
h) zwischen dem Vorderteil (15) und dem Vorratsbehälter (1) ist ein Hebelmechanismus in Form eines Schaltringes (19) mit Hebelarmen (20) eingesetzt.
2. Vorrichtung nach Anspruch 1,
gekennzeichnet durch folgende Merkmale:
gekennzeichnet durch folgende Merkmale:
a) an dem Schaltring (19) sind mehrere Hebelarme (20) angeformt, die sich schräg zur Mittelachse erstrecken;
b) der Querschnitt der Hebelarme (20) ist größer als der Querschnitt des Schaltringes (19).
3. Vorrichtung nach den Ansprüchen 1 bis 2,
dadurch gekennzeichnet, daß
auf dem Lagerhals (2) des Vorratsbehälters (1) nebeneinander zwei gleiche Schaltringe (19) so aufgesteckt sind, daß sich die Enden der Hebelarme (20) berühren.
dadurch gekennzeichnet, daß
auf dem Lagerhals (2) des Vorratsbehälters (1) nebeneinander zwei gleiche Schaltringe (19) so aufgesteckt sind, daß sich die Enden der Hebelarme (20) berühren.
4. Vorrichtung nach den Ansprüchen 1 bis 3,
dadurch gekennzeichnet, daß
an dem Schaltring (19) zwischen den Hebelarmen (20) Schlitze (21) eingeformt sind, deren Breite kleiner als die der Hebelarme ist.
dadurch gekennzeichnet, daß
an dem Schaltring (19) zwischen den Hebelarmen (20) Schlitze (21) eingeformt sind, deren Breite kleiner als die der Hebelarme ist.
5. Vorrichtung nach den Ansprüchen 1 bis 4,
dadurch gekennzeichnet, daß
über den Schaltring (19) und die Hebelarme (20) eine aus elastischem Material bestehende Manschette (18) gesteckt ist, die an gegenüberliegenden Enden fest mit dem Vorratsbehälter (1) und dem Vorderteil (15) verbunden ist.
dadurch gekennzeichnet, daß
über den Schaltring (19) und die Hebelarme (20) eine aus elastischem Material bestehende Manschette (18) gesteckt ist, die an gegenüberliegenden Enden fest mit dem Vorratsbehälter (1) und dem Vorderteil (15) verbunden ist.
6. Vorrichtung nach den Ansprüchen 1. bis 5,
dadurch gekennzeichnet, daß
der Dichtkolben (12) an der zum Inneren des Vorratsbehälters (1) weisenden Seite ein Richtgesperre (13) aufweist, das an der Kolbenstange (7) angreift und an der nach außen weisenden Seite ein an der Innenwand des Vorratsbehälters (1) anliegendes weiteres Richtgesperre (14).
dadurch gekennzeichnet, daß
der Dichtkolben (12) an der zum Inneren des Vorratsbehälters (1) weisenden Seite ein Richtgesperre (13) aufweist, das an der Kolbenstange (7) angreift und an der nach außen weisenden Seite ein an der Innenwand des Vorratsbehälters (1) anliegendes weiteres Richtgesperre (14).
7. Vorrichtung nach den Ansprüchen 1 bis 6,
gekennzeichnet durch folgende Merkmale:
gekennzeichnet durch folgende Merkmale:
a) zwischen dem Dichtkolben (12; 123) und der Kolbenstange (7; 107) ist eine Vorschublamelle (13; 124) eingesetzt, die mehrere Schlitze (124.1) aufweist, die in die Bohrung (124.2) münden, welche in ebener Lage der Vorschublamelle (13; 124) im Durchmesser kleiner als die Kolbenstange (107) ist;
b) zwischen dem Dichtkolben (12; 123) und der Innenwand des Vorratsbehälters (1; 100) ist eine Sperrlamelle (14; 125) eingesetzt, die zum Außendurchmesser (125.2) hin offene Schlitze (125.1) aufweist, wobei der Außendurchmesser (125.2), in ebener Lage der Sperrlamelle (14; 125) größer ist als der Innendurchmesser des Vorratsbehälters (1; 100).
B. Vorrichtung nach den Ansprüchen 1 bis 7,
dadurch gekennzeichnet, daß
auf der Kolbenstange (7; 107) ein Dichtkolben (122) sowie ein Sperrkolben (123) angeordnet sind, die aneinander anliegen und daß eine Vorschublamelle (124) und eine Sperrlamelle (125) am Sperrkolben (123) befestigt sind.
dadurch gekennzeichnet, daß
auf der Kolbenstange (7; 107) ein Dichtkolben (122) sowie ein Sperrkolben (123) angeordnet sind, die aneinander anliegen und daß eine Vorschublamelle (124) und eine Sperrlamelle (125) am Sperrkolben (123) befestigt sind.
9. Vorrichtung nach den Ansprüchen 1 bis 8,
dadurch gekennzeichnet, daß
der Vorratsbehälter (1; 100) an gegenüberliegenden Stirnseiten mittels eines Ventilkegels (112) und eines Dichtkolbens (12; 122) abgeschlossen ist, wobei der Ventilkegel (112) an einem.Ventilschaft (108) angeformt ist, der eine Verlängerung der Kolbenstange (7; 107) bildet und einen Axialkanal (109) aufweist, der das Vorderteil (115) mit dem Ventilsitz (130) verbindet, welcher den Vorratsbehälter (1; 100) abschließt.
dadurch gekennzeichnet, daß
der Vorratsbehälter (1; 100) an gegenüberliegenden Stirnseiten mittels eines Ventilkegels (112) und eines Dichtkolbens (12; 122) abgeschlossen ist, wobei der Ventilkegel (112) an einem.Ventilschaft (108) angeformt ist, der eine Verlängerung der Kolbenstange (7; 107) bildet und einen Axialkanal (109) aufweist, der das Vorderteil (115) mit dem Ventilsitz (130) verbindet, welcher den Vorratsbehälter (1; 100) abschließt.
10. Vorrichtung nach den Ansprüchen 1 bis 9,
dadurch gekennzeichnet, daß
der Ventilschaft (108) in einem Lagerhals (102) des mit dem Vorratsbehälter (100) verbundenen Mundstückes (101) längsbeweglich gelagert ist und daß an der zum Vorratsbehälter (100) weisenden Seite eine Dichtmembran (127) angeordnet ist, die am Außendurchmesser des Ventilschaftes (108) und am Innendurchmesser eines am Mundstück (101) angeformten Zentrierringes (104) befestigt ist.
dadurch gekennzeichnet, daß
der Ventilschaft (108) in einem Lagerhals (102) des mit dem Vorratsbehälter (100) verbundenen Mundstückes (101) längsbeweglich gelagert ist und daß an der zum Vorratsbehälter (100) weisenden Seite eine Dichtmembran (127) angeordnet ist, die am Außendurchmesser des Ventilschaftes (108) und am Innendurchmesser eines am Mundstück (101) angeformten Zentrierringes (104) befestigt ist.
11. Vorrichtung nach den Ansprüchen 1 bis 10,
dadurch gekennzeichnet, daß
an der vom Vorratsbehälter (100) abgewandten Seite der Dichtmembran (127) eine Druckfeder (128) mit einem Ende anliegt, deren anderes Ende sich an dem Mundstück (101) abstützt.
dadurch gekennzeichnet, daß
an der vom Vorratsbehälter (100) abgewandten Seite der Dichtmembran (127) eine Druckfeder (128) mit einem Ende anliegt, deren anderes Ende sich an dem Mundstück (101) abstützt.
12. Vorrichtung nach den Ansprüchen 1 bis 11,
dadurch gekennzeichnet, daß
an dem Außendurchmesser des Ventilschaftes (108) das Vorderteil (115) und an dem Innendurchmesser ein Auftragelement (114) befestigt ist.
dadurch gekennzeichnet, daß
an dem Außendurchmesser des Ventilschaftes (108) das Vorderteil (115) und an dem Innendurchmesser ein Auftragelement (114) befestigt ist.
Applications Claiming Priority (2)
| Application Number | Priority Date | Filing Date | Title |
|---|---|---|---|
| DE19863609020 DE3609020A1 (de) | 1986-03-18 | 1986-03-18 | Vorrichtung zum auftragen von fliessfaehigen massen |
| DE3609020 | 1986-03-18 |
Publications (1)
| Publication Number | Publication Date |
|---|---|
| EP0240738A2 true EP0240738A2 (de) | 1987-10-14 |
Family
ID=6296660
Family Applications (1)
| Application Number | Title | Priority Date | Filing Date |
|---|---|---|---|
| EP19870103223 Withdrawn EP0240738A2 (de) | 1986-03-18 | 1987-03-06 | Vorrichtung zum Auftragen von fliessfähigen Massen |
Country Status (5)
| Country | Link |
|---|---|
| EP (1) | EP0240738A2 (de) |
| JP (1) | JPS62227466A (de) |
| BR (1) | BR8701189A (de) |
| DE (1) | DE3609020A1 (de) |
| PT (1) | PT84028A (de) |
Cited By (2)
| Publication number | Priority date | Publication date | Assignee | Title |
|---|---|---|---|---|
| EP0420047A3 (en) * | 1989-09-23 | 1991-11-06 | Otto Katz | Device for the metered delivery or the application of liquid or pasty products |
| EP3575102A1 (de) * | 2018-05-28 | 2019-12-04 | Georg Linz Fabrik moderner Schreibgeräte GmbH & Co. KG | Auftraggerät |
Families Citing this family (2)
| Publication number | Priority date | Publication date | Assignee | Title |
|---|---|---|---|---|
| DE8907135U1 (de) * | 1989-06-10 | 1990-10-11 | Rotring-Werke Riepe Kg, 2000 Hamburg | Auftragsvorrichtung für flüssiges oder pastöses Gut, insbesondere Nagellack |
| DE9210904U1 (de) * | 1992-08-14 | 1992-11-12 | Schneider, Friedhelm, 5226 Reichshof | Dosierpistolen für Schlauchbeutel mit Spreizscheiben und hydraulischer Betätigung |
Family Cites Families (3)
| Publication number | Priority date | Publication date | Assignee | Title |
|---|---|---|---|---|
| US4033700A (en) * | 1976-02-02 | 1977-07-05 | Spatz Corporation | Dispenser for fluent material |
| DE2945338A1 (de) * | 1979-11-09 | 1981-05-21 | Joachim 8405 Donaustauf Czech | Spender fuer pastoese produkte |
| DE3214706A1 (de) * | 1981-05-21 | 1982-12-09 | Hans 6200 Wiesbaden Orth | In der hand zu haltendes schreibgeraet, insbesondere kugelschreiber |
-
1986
- 1986-03-18 DE DE19863609020 patent/DE3609020A1/de not_active Withdrawn
- 1986-12-29 PT PT8402886A patent/PT84028A/pt not_active Application Discontinuation
-
1987
- 1987-03-06 EP EP19870103223 patent/EP0240738A2/de not_active Withdrawn
- 1987-03-16 BR BR8701189A patent/BR8701189A/pt unknown
- 1987-03-18 JP JP6142587A patent/JPS62227466A/ja active Pending
Cited By (2)
| Publication number | Priority date | Publication date | Assignee | Title |
|---|---|---|---|---|
| EP0420047A3 (en) * | 1989-09-23 | 1991-11-06 | Otto Katz | Device for the metered delivery or the application of liquid or pasty products |
| EP3575102A1 (de) * | 2018-05-28 | 2019-12-04 | Georg Linz Fabrik moderner Schreibgeräte GmbH & Co. KG | Auftraggerät |
Also Published As
| Publication number | Publication date |
|---|---|
| JPS62227466A (ja) | 1987-10-06 |
| BR8701189A (pt) | 1988-01-19 |
| PT84028A (pt) | 1987-08-19 |
| DE3609020A1 (de) | 1987-10-01 |
Similar Documents
| Publication | Publication Date | Title |
|---|---|---|
| DE69003405T2 (de) | Spender mit einem verschiebbaren Kolben. | |
| EP0084638B1 (de) | Spender für pastöse Produkte | |
| EP0036491B1 (de) | Spender für pastöse Massen | |
| DE19910972C1 (de) | Vorrichtung zum Auftragen eines fließfähigen Mediums, insbesondere eines Gewebeklebstoffs | |
| EP2013589A2 (de) | Applikator mit auswechselbarem behälter | |
| EP0053329B1 (de) | Spendebehälter zur portionsweisen Abgabe eines pastösen Gutes | |
| EP1170061A2 (de) | Austragvorrichtung für Medien | |
| EP0284907B1 (de) | Pastenspender | |
| DE3124586C2 (de) | ||
| DE20019091U1 (de) | Vorab gefüllte, teleskopartig zusammenschiebbare Ampulle | |
| EP0347546A2 (de) | Spender für Pasten od. dgl. Medien | |
| DE102016207722A1 (de) | Flüssigkeitsspender | |
| EP0691284B1 (de) | Spender für pastöse Massen | |
| DE3629627C1 (de) | Stiftfoermige Vorrichtung zum Abgeben von fliessfaehigen Massen aus einem Vorratsbehaelter | |
| EP0315077A1 (de) | Spender für pastöse Produkte | |
| EP0258799A2 (de) | Stiftförmige Vorrichtung zum Abgeben von fliessfähigen Massen | |
| EP0240738A2 (de) | Vorrichtung zum Auftragen von fliessfähigen Massen | |
| DE3538001C2 (de) | ||
| DE3520523C2 (de) | ||
| DE8816917U1 (de) | Spender für pastöse Massen | |
| DE19921662B4 (de) | Creme- und Deospender | |
| WO1990004340A1 (de) | Abgabevorrichtung für fliessfähige stoffe | |
| DE3701180C2 (de) | ||
| DE3421823A1 (de) | Mehrkomponenten-kartusche | |
| DE3536332A1 (de) | Stiftfoermige vorrichtung zum abgeben von fliessfaehigen massen |
Legal Events
| Date | Code | Title | Description |
|---|---|---|---|
| PUAI | Public reference made under article 153(3) epc to a published international application that has entered the european phase |
Free format text: ORIGINAL CODE: 0009012 |
|
| AK | Designated contracting states |
Kind code of ref document: A2 Designated state(s): AT BE CH DE ES FR GB GR IT LI LU NL SE |
|
| STAA | Information on the status of an ep patent application or granted ep patent |
Free format text: STATUS: THE APPLICATION HAS BEEN WITHDRAWN |
|
| 18W | Application withdrawn |
Withdrawal date: 19880210 |
|
| RIN1 | Information on inventor provided before grant (corrected) |
Inventor name: KATZ, OTTO |