EP0232245A2 - Betonbewehrungsstahl - Google Patents

Betonbewehrungsstahl Download PDF

Info

Publication number
EP0232245A2
EP0232245A2 EP87890015A EP87890015A EP0232245A2 EP 0232245 A2 EP0232245 A2 EP 0232245A2 EP 87890015 A EP87890015 A EP 87890015A EP 87890015 A EP87890015 A EP 87890015A EP 0232245 A2 EP0232245 A2 EP 0232245A2
Authority
EP
European Patent Office
Prior art keywords
elevations
reinforcement bar
transverse ribs
concrete reinforcement
ribs
Prior art date
Legal status (The legal status is an assumption and is not a legal conclusion. Google has not performed a legal analysis and makes no representation as to the accuracy of the status listed.)
Withdrawn
Application number
EP87890015A
Other languages
English (en)
French (fr)
Other versions
EP0232245A3 (en
Inventor
Franz Angenbauer
Dietmar Dipl.-Ing. Sainitzer
Reinhard Dr. Dipl.-Ing. Schossmann
Current Assignee (The listed assignees may be inaccurate. Google has not performed a legal analysis and makes no representation or warranty as to the accuracy of the list.)
Voestalpine AG
Original Assignee
Voestalpine AG
Priority date (The priority date is an assumption and is not a legal conclusion. Google has not performed a legal analysis and makes no representation as to the accuracy of the date listed.)
Filing date
Publication date
Priority claimed from AT22586A external-priority patent/ATA22586A/de
Application filed by Voestalpine AG filed Critical Voestalpine AG
Publication of EP0232245A2 publication Critical patent/EP0232245A2/de
Publication of EP0232245A3 publication Critical patent/EP0232245A3/de
Withdrawn legal-status Critical Current

Links

Images

Classifications

    • EFIXED CONSTRUCTIONS
    • E04BUILDING
    • E04CSTRUCTURAL ELEMENTS; BUILDING MATERIALS
    • E04C5/00Reinforcing elements, e.g. for concrete; Auxiliary elements therefor
    • E04C5/01Reinforcing elements of metal, e.g. with non-structural coatings
    • E04C5/02Reinforcing elements of metal, e.g. with non-structural coatings of low bending resistance, i.e. of essentially one-dimensional [1D] or two-dimensional [2D] extent
    • E04C5/03Reinforcing elements of metal, e.g. with non-structural coatings of low bending resistance, i.e. of essentially one-dimensional [1D] or two-dimensional [2D] extent with indentations, projections, ribs, or the like, for augmenting the adherence to the concrete

Definitions

  • heat-treated concrete reinforcement bars, cold-formed reinforcement bars or bars using micro-alloyed steel are used.
  • the concrete reinforcement steels currently used have cross ribs in the majority of cases, possibly also in combination with longitudinal ribs.
  • the production of concrete reinforcement bars is mainly carried out by hot rolling, while the surface is shaped at the same time. Following the manufacturing process, the transverse ribs are therefore usually arranged in two opposite rows parallel to the longitudinal axis.
  • the invention relates to a concrete reinforcement bar made of steel with projecting over the core cross section, in particular transverse ribs running obliquely to the longitudinal axis of the rod and possibly longitudinal ribs, which is in the form of rods or rings.
  • the invention now aims to provide a concrete reinforcement bar of the type mentioned, which is characterized by increased fatigue strength and a bending-neutral behavior.
  • the invention essentially consists in that protruding projections are arranged over the core cross-section between the tapered ends of adjacent transverse ribs. In this way, the fact that the transverse ribs taper towards their ends can be taken into account and it is not necessary to set the transverse ribs off at their ends, which could lead to embrittlement.
  • the surveys are preferably dimensioned so that the decreasing rib height in the outlet of the transverse ribs and the resulting decreasing mass of the transverse ribs is compensated to an extent of at least 5%, preferably more than 10%.
  • the elevations can be wart-shaped, they have no preferred extension parallel to the longitudinal axis of the reinforcing bar and are designed, for example, with an approximately circular plan.
  • the transverse ribs are expediently arranged in two or more sets lying opposite one another, the wart-shaped elevations being arranged in rows parallel to the rod axis.
  • the rows of the wart-like elevations forming additional composite elements can be formed by irregular individual elements or individual elements arranged according to a system.
  • rib-like elevations extending in the longitudinal direction are arranged in the region of the decrease in cross-section of the oblique transverse ribs, which are interrupted in the direction of the longitudinal axis of the rod and end at an axial distance from the transverse ribs. Because the elevations running in the direction of the longitudinal axis are interrupted in the axial direction of the rod and end at an axial distance from the transverse ribs, the fatigue strength is significantly increased. At the same time, such elevations running in the longitudinal direction create the possibility of significantly improving the symmetry of the bending behavior.
  • the decrease in mass due to the decrease in the cross-sections of the oblique bars in the circumferential direction can also be better partially compensated for, so that an improvement in the symmetry of the moment of inertia with a more uniform mass distribution can be achieved.
  • the preferred orientation of the additional surveys in the direction of Longitudinal axis contributes significantly to increasing fatigue strength.
  • the design can be advantageously made in the context of the invention so that the elevations extending in the longitudinal direction are arranged parallel to the longitudinal ribs or wings of the rod and on both sides thereof.
  • a particularly high fatigue strength and a partial compensation of the asymmetry of the moment of inertia occurring with the cross ribs decreasing in cross section can be achieved in that the elevations running in the longitudinal direction have a length to width ratio of at least 3: 1, preferably 4: 1.
  • the fatigue strength can be increased by the fact that the length of the elevations is 50-80% of the distance between adjacent transverse ribs.
  • An axis-neutral bending behavior can be ensured by the fact that the mass of the elevations running in the longitudinal direction corresponds approximately to the change in mass due to the decrease in cross-section of the oblique transverse ribs in the circumferential direction, whereby for an axis-neutral bending behavior it can be sufficient if the design is such that the elongated ones Elevations in the axial direction are arranged periodically recurring after at least two oblique bars.
  • the maximum height of the elevations extending in the longitudinal direction is approximately 75%, preferably 50-70%, of the height of the oblique bars, wherein the elevations extending in the axial direction are preferably arranged in four rows, the dimensions of which differ from one another by at most 10% . All of these measures improve the symmetry of the bending behavior and also promote when the bars or rings twist by the production process experience the longitudinal axis, achieving an axis-neutral bending behavior.
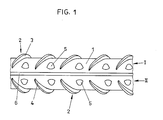
  • Fig. 1 shows a concrete reinforcement bar designed according to the invention in side view.
  • 2 to 7 show examples of the division of the composite elements.
  • 8 and 9 show modified embodiments of a concrete reinforcing bar designed according to the invention in a side view.
  • the concrete reinforcement bar 1 shown in FIG. 1 has transverse ribs 2 which run obliquely to its axis and which represent composite elements and are arranged in two diametrically opposite rows I and II. In their middle 3, the transverse ribs 2 have the greatest height. At the outgoing ends 4, the height of the transverse ribs 2 decreases, so that the ribs at their outgoing ends 4 merge into the body of the concrete reinforcing bar 1. This shape is advantageous because on the one hand the rolling process is facilitated and on the other hand stress peaks due to an angular transition of the ribs 2 into the body of the concrete reinforcement bar 1 are avoided.
  • the concrete reinforcement bar 1 is hot rolled.
  • Additional composite elements which are formed by wart-shaped elevations 5, are arranged between the tapering ends 4 of the transverse ribs 2.
  • the wart-shaped elevations 5 are dimensioned and have such a volume or mass that the height of the ribs decreasing in the outlet 4 of the transverse ribs 2 and the consequently decreasing mass of the transverse ribs 2 is compensated for to an extent of at least 5%.
  • the warts 5 are preferably dimensioned to be large enough to compensate for more than 10%. Although the compensation is not 100%, a significant improvement is achieved.
  • 6 are on both sides of the Rod arranged between the rows of transverse ribs 2 extending longitudinal ribs.
  • the warts 5 have no pronounced length extension and are equipped with an approximately circular plan.
  • the transverse ribs 2 are arranged such that they run in different directions 2 to 7, the transverse ribs 2 run in the same direction.
  • FIG. 8 shows a concrete reinforcement bar 11 which also has oblique transverse ribs 12.
  • the transverse ribs 12 are again rolled in two diametrically opposite rows. Due to the rolling process, vanes or longitudinal ribs 13 remain between the transverse ribs 12 in the axial direction.
  • the transverse ribs 12 have a cross-section that tapers towards their two ends, viewed in the axial direction in the region of the tapering or the decrease in cross-section of the transverse ribs 12 in Elongated elevations 14 extending in the axial direction are arranged.
  • the length a of these elevations 14, measured in the axial direction is approximately 50% of the distance b between adjacent transverse ribs 12.
  • the elevations 14 are arranged in four rows and, interrupted in the axial direction, each end at a distance from the outgoing regions of the Cross ribs 12.
  • the embodiment according to FIG. 2 differs from the embodiment according to FIG. 1 only in that the elevations 14 extending in the axial direction are arranged offset with the interposition of two transverse ribs 12. In this embodiment too, the elevations 14 are arranged in four axial rows.

Landscapes

  • Engineering & Computer Science (AREA)
  • Architecture (AREA)
  • Civil Engineering (AREA)
  • Structural Engineering (AREA)
  • Reinforcement Elements For Buildings (AREA)

Abstract

Bei einem mit von Querrippen (2, 12) gebildeten Verbund­elementen versehenen Betonbewehrungsstab (1, 11) sind zwischen den auslaufenden sich verjüngenden Enden (4) der Querrippen (2, 12) Erhebungen (5, 14) angeordnet, welche beispielsweise warzenförmig ausgebildet sind. Diese Erhe­bungen sind so bemessen, daß die im Auflauf (4) der Quer­rippen (2) abnehmende Rippenhöhe und die damit abnehmende Masse der Querrippen (2) in einem Ausmaß von mindestens 5 %, vorzugsweise jedoch mehr als 10 %, kompensiert wird. Durch diese Erhebungen (5, 14) wird nicht nur die Haftung in Beton verbessert, sondern es wird auch eine gleichmäßige Biegung des Betonbewehrungsstabes ermöglicht. Bei einer abgewandelten Ausführungsform der Erfindung weist der Betonbewehrungsstab (1) zusätzlich zu den Querrippen (2, 12) in Längsrichtung des Stabes verlaufende rippenartige Erhebungen (14) auf, welche in in Längsrichtung verlaufenden Reihen angeordnet sind. Die in Längsrichtung des Stabes verlaufenden rippenartigen Erhebungen (14) sind in Längsrichtung des Stabes unterbrochen und enden in Abstand von den Querrippen (2, 12).

Description

  • Die Anforderungen an Betonbewehrungsstäbe steigen mit der Entwicklung der Stahlbetontechnik, so daß neben höheren Streckgrenzen und Zugfestigkeiten auch der Verbundwiderstand mit dem Beton erhöhten Beanspruchungen gerecht werden muß. Um dieser Entwicklung gerecht zu werden, ist in den europäischen Industriestaaten (insbesondere in der BRD) die Zulassung höherer Stahlspannungen im Stahlbeton erfolgt. Der Bedarf höherer Festigkeiten bei den schlaffen Betonbewehrungsstählen hat zur Entwicklung neuer Herstellungsverfahren für Beton­stähle geführt. Nachdem die Verwendung von industriell vorgefertigten Bewehrungselementen an Bedeutung gewinnt und derartige Fertigungslinien im Zuge einer fortschreitenden Automatisierung Schweißverfahren einsetzen, muß ein moderner Betonbewehrungsstahl sicher schweißbar sein. Diese Eigen­schaft des Stahles kann gerade bei einer notwendigen Punkt­schweißung nur über eine Absenkung des Kohlenstoffgehaltes erreicht werden. Die heutigen Betonbewehrungsstähle für schlaffe Bewehrung haben daher garantierte Streckgrenzen von mind. 500 n/mm² - in Österreich mind. 550 N/mm² - und kohlen­stoffgehalte von max. 0,24 %. Zur Abdeckung dieser Forderun­gen werden aus der Walzhitze vergütete Betonbewehrungsstäbe, kaltgeformte Bewehrungsstäbe oder Stäbe unter Einsatz von mikrolegiertem Stahl verwendet. Die derzeit verwendeten Betonbewehrungsstähle weisen in den überwiegenden Fällen heute Querrippen, eventuell auch in Kombination mit Längs­rippen, auf. Die Herstellung von Betonbewehrungsstäben erfolgt hauptsächlich durch Walzen in warmem Zustand, wobei gleichzeitig die Formgebung der Oberfläche erfolgt. Dem Herstellungsprozeß folgend, sind die Querrippen demnach meist in zwei gegenüberliegenden zur Längsachse parallelen Reihen angeordnet.
  • Die Erfindung bezieht sich auf einen Betonbewehrungsstab aus Stahl mit über den Kernquerschnitt vorragenden, insbesondere schräg zur Stablängsachse verlaufenden, Querrippen und gegebenenfalls Längsrippen, welcher in Form von Stäben oder Ringen vorliegt.
  • Bei der Verarbeitung solcher Betonbewehrungsstähle in den Biegereien ist ein symmetrisches Biegeverhalten zur Gewähr­leistung maßgerechter Biegeteile erwünscht. Aus walztechni­schen Gründen und um eine hohe Dauerfestigkeit sicher­zustellen, müssen die Rippen verlaufend in den Kernquer­schnitt übergehen, d.h. die Rippen müssen sichelförmig bzw. halbmondförmig ausgebildet werden. Dies hat eine ungleiche Masseverteilung über den Querschnitt des Stabes zur Folge. Dieser Nachteil führt beim Biegen, insbesondere in Fällen, in welchen die Stäbe oder Ringe eine Verdrehung um die Längs­achse erfahren, zu einem nicht achsneutralen Biegeverhalten. Besonders nachteilig wirkt sich hiebei das unterschiedliche Trägheitsmoment infolge einer ungleichen Masseverteilung bei der Verarbeitung von Ringmaterial auf Biegeautomaten aus.
  • Die Erfindung zielt nun darauf ab, einen Betonbewehrungsstab der eingangs genannten Art zu schaffen, welcher sich durch erhöhte Dauerfestigkeit und durch ein biegeneutrales Verhalten auszeichnet. Zur Lösung dieser Aufgabe besteht die Erfindung im wesentlichen darin, daß zwischen den auslau­fenden sich verjüngenden Enden von benachbarten Querrippen über den Kernquerschnitt vorragende Erhebungen angeordnet sind. Auf diese Weise kann dem Umstand, daß sich die Quer­rippen gegen ihre Enden zu verjüngen, Rechnung getragen werden und es ist nicht erforderlich, die Querrippen an ihren Enden schroff abzusetzen, wodurch eine Versprödung entstehen könnte. Dadurch, daß die abnehmende Rippenhöhe durch die Anordnung der Erhebungen teilweise kompensiert wird, ergibt sich eine bessere Aufteilung der Verbundelemente und es ergibt sich auch eine höhere Gleichmäßigkeit beim Biegen des Stabes, weil die zwischen den auslaufenden Enden der Quer­rippen angeordneten Erhebungen im Gegensatz beispielsweise zu durchlaufenden Längsrippen, ein achsneutrales Biegeverhalten des Stabes begünstigen. Hiebei sind gemäß der Erfindung die Erhebungen vorzugsweise so bemessen, daß die im Auslauf der Querrippen abnehmende Rippenhöhe und die damit abnehmende Masse der Querrippen in einem Ausmaß von mindestens 5 %, vorzugsweise von mehr als 10 %, kompensiert wird. Bei einer solchen Ausbildung können die Erhebungen warzenförmig sein, wobei sie keine bevorzugte Ausdehnung parallel zur Längsachse des Bewehrungsstabes aufweisen und beispielsweise mit etwa kreisförmigem Grundriß ausgebildet sind. Gemäß der Erfindung sind zweckmäßig die Querrippen in zwei oder mehr einander gegenüberliegenden Scharen angeordnet, wobei die warzen­förmigen Erhebungen in zur Stabachse parallelen Reihen angeordnet sind. Die Reihen der zusätzliche Verbundelemente bildenden warzenförmigen Erhebungen können von unregelmäßigen Einzelelementen oder Einzelelementen nach einem System geordnet, gebildet sein.
  • Gemäß einer abgewandelten Ausbildungsform der Erfindung sind im Bereich der Querschnittsabnahme der schrägen Querrippen in Längsrichtung verlaufende rippenartige Erhebungen angeordnet, welche in Richtung der Längsachse des Stabes unterbrochen sind und in axialem Abstand von den Querrippen enden. Dadurch, daß die in Richtung der Längsachse verlaufenden Erhebungen in Achsrichtung des Stabes unterbrochen sind und im axialen Abstand von den Querrippen enden, wird die Dauer­festigkeit wesentlich angehoben. Gleichzeitig wird mit derartigen in Längsrichtung verlaufenden Erhebungen die Möglichkeit geschaffen, die Symmetrie des Biegeverhaltens wesentlich zu verbessern. Mit derartigen in Längsrichtung verlaufenden Erhebungen läßt sich auch die in Umfangsrichtung durch die Abnahme der Querschnitte der Schrägriegel bedingte Massenabnahme besser teilweise kompensieren, so daß eine Verbesserung der Symmetrie des Trägheitsmomentes bei gleich­mäßigerer Masseverteilung erzielt werden kann. Die bevorzugte Orientierung der zusätzlichen Erhebungen in Richtung der Längsachse trägt wesentlich zur Erhöhung der Dauerfestigkeit bei.
  • Die Ausbildung kann im Rahmen der Erfindung mit Vorteil so getroffen sein, daß die in Längsrichtung verlaufenden Erhe­bungen parallel zu Längsrippen oder Flügeln des Stabes und zu beiden Seiten derselben angeordnet sind.
  • Eine besonders hohe Dauerfestigkeit und eine teilweise Kompensation der bei im Querschnitt abnehmenden Querrippen auftretenden Asymmetrie des Trägheitsmomentes kann dadurch erzielt werden, daß die in Längsrichtung verlaufenden Erhe­bungen ein Längen- zu Breitenverhältnis von wenigstens 3:1, vorzugsweise 4:1, aufweisen. Die Dauerfestigkeit läßt sich noch dadurch steigern, daß die Länge der Erhebungen 50-80 % des Abstandes benachbarter Querrippen beträgt.
  • Ein achsneutrales Biegeverhalten kann dadurch sichergestellt werden, daß die Masse der in Längsrichtung verlaufenden Erhebungen etwa der Massenänderung durch die Querschnitts­abnahme der schrägen Querrippen in Umfangsrichtung ent­spricht, wobei für ein achsneutrales Biegeverhalten es durchaus ausreichend sein kann, wenn die Ausbildung so getroffen ist, daß die langgestreckten Erhebungen in axialer Richtung nach wenigstens zwei Schrägriegeln periodisch wiederkehrend angeordnet sind.
  • In vorteilhafter Weise beträgt die maximale Höhe der in Längsrichtung verlaufenden Erhebungen etwa 75 %, vorzugsweise 50-70 %, der Höhe der Schrägriegel, wobei vorzugsweise die in axialer Richtung verlaufenden Erhebungen in vier Reihen angeordnet sind, deren Masse um höchstens 10 % voneinander verschieden sind. Alle diese Maßnahmen verbessern die Symme­trie des Biegeverhaltens und fördern auch dann, wenn durch den Erzeugungsvorgang die Stäbe oder Ringe eine Verdrehung um die Längsachse erfahren, die Erzielung eines achsneutralen Biegeverhaltens.
  • Die Erfindung wird nachfolgend an Hand von in der Zeichnung dargestellten Ausführungsbeispielen näher erläutert. Fig. 1 zeigt einen erfindungsgemäß ausgebildeten Betonbewehrungsstab in Seitenansicht. Fig. 2 bis 7 zeigen Beispiele der Auf­teilung der Verbundelemente. Fig. 8 und 9 zeigen abgewandelte Ausführungsformen eines erfindungsgemäß ausgebildeten Betonbewehrungsstabes in Seitenansicht.
  • Der in Fig. 1 dargestellte Betonbewehrungsstab 1 weist schräg zu seiner Achse verlaufende Querrippen 2 auf, welche Verbund­elemente darstellen und in zwei einander diametral gegenüber­liegenden Reihen I und II angeordnet sind. In ihrer Mitte 3 weisen die Querrippen 2 die größte Höhe auf. An den auslau­fenden Enden 4 nimmt die Höhe der Querrippen 2 ab, so daß die Rippen an ihren auslaufenden Enden 4 in den Körper des Betonbewehrungsstabes 1 übergehen. Diese Form ist vorteil­haft, da dadurch einerseits das Walzverfahren erleichtert wird und andererseits Spannungsspitzen durch einen eckigen Übergang der Rippen 2 in den Körper des Betonbewehrungsstabes 1 vermieden werden. Der Betonbewehrungsstab 1 ist warm gewalzt.
  • Zwischen den auslaufenden Enden 4 der Querrippen 2 sind zusätzliche Verbundelemente angeordnet, welche von warzen­förmigen Erhebungen 5 gebildet sind. Die warzenförmigen Erhebungen 5 sind so bemessen und weisen ein solches Volumen bzw. eine solche Masse auf, daß die im Auslauf 4 der Quer­rippen 2 abnehmende Rippenhöhe und die damit abnehmende Masse der Querrippen 2 in einem Ausmaß von mind. 5 % kompensiert wird. Vorzugsweise sind jedoch die Warzen 5 so groß bemessen, daß eine Kompensation von mehr als 10 % erfolgt. Obwohl die Kompensation nicht 100 % ist, wird hiebei doch eine wesent­liche Verbesserung erreicht. 6 sind zu beiden Seiten des Stabes angeordnete zwischen den Reihen der Querrippen 2 verlaufende Längsrippen. Die Warzen 5 weisen keine ausge­prägte Längenerstreckung auf und sind mit angenähert kreis­förmigem Grundriß ausgestattet.
  • Die Fig. 2 bis 7 zeigen verschiedene mögliche Aufteilungen der von den Querrippen 2 und von den Warzen 5 gebildeten Verbundelemente bei einem Betonbewehrungsstab nach Fig. 1. Bei der Anordnung nach Fig. 1 sind die Querrippen 2 so angeordnet, daß sie in verschiedenen Richtungen verlaufen, in der Darstellung nach Fig. 2 bis 7 verlaufen die Querrippen 2 in gleicher Richtung.
  • In Fig. 8 ist ein Betonbewehrungsstab 11 dargestellt, welcher gleichfalls schräge Querrippen 12 aufweist. Die Querrippen 12 sind wieder in zwei diametral gegenüberliegenden Reihen gewalzt. Auf Grund des Walzprozesses verbleiben zwischen den Querrippen 12 in axialer Richtung verlaufende Flügel bzw. Längsrippen 13. Die Querrippen 12 weisen einen sich zu ihren beiden Enden hin verjüngenden Querschnitt auf, wobei in Achsrichtung gesehen im Bereich der Verjüngung bzw. der Querschnittsabnahme der Querrippen 12 in Achsrichtung ver­laufende langgestreckte Erhebungen 14 angeordnet sind. Die in Achsrichtung gemessene Länge a dieser Erhebungen 14 beträgt etwa 50 % des Abstandes b benachbarter Querrippen 12. Bei der Ausbildung nach Fig. 8 sind die Erhebungen 14 in vier Reihen angeordnet und enden, in Achsrichtung unterbrochen, jeweils in Abstand von den auslaufenden Bereichen der Querrippen 12.
  • Die Ausbildung nach Fig. 2 unterscheidet sich von der Aus­bildung nach Fig. 1 lediglich dadurch, daß die in Achs­richtung verlaufenden Erhebungen 14 unter Zwischenschaltung jeweils zweier Querrippen 12 versetzt angeordnet sind. Auch bei dieser Ausbildung sind die Erhebungen 14 in vier axialen Reihen angeordnet.

Claims (13)

1. Betonbewehrungsstab (1, 11) aus Stahl mit über den Kernquerschnitt vorragenden, insbesondere schräg zur Stab­längsachse verlaufenden Querrippen (2, 12) und gegebenenfalls Längsrippen (6, 13), dadurch gekennzeichnet, daß zwischen den auslaufenden sich verjüngenden Enden (4) von benachbarten Querrippen (2, 12) über den Kernquerschnitt vorragende Erhebungen (5, 14) angeordnet sind.
2. Betonbewehrungsstab nach Anspruch 1, dadurch gekenn­zeichnet, daß die Erhebungen so bemessen sind, daß die im Auslauf (4) der Querrippen (2) abnehmende Rippenhöhe und die damit abnehmende Masse der Querrippen in einem Ausmaß von mindestens 5 %, vorzugsweise von mehr als 10 %, kompensiert wird.
3. Betonbewehrungsstab nach Anspruch 1 oder 2, dadurch gekennzeichnet, daß die Erhebungen (5) warzenförmig sind, keine bevorzugte Ausdehnung parallel zur Längsachse des Bewehrungsstabes aufweisen und vorzugsweise mit etwa kreis­förmigem Grundriß ausgebildet sind.
4. Betonbewehrungsstab nach Anspruch 1, 2 oder 3, dadurch gekennzeichnet, daß die Querrippen (2, 12) in zwei oder mehr einander gegenüberliegenden Reihen (I, II) angeordnet sind und die Erhebungen (5, 14) in zur Stabachse parallelen Reihen angeordnet sind.
5. Betonbewehrungsstab nach einem der Ansprüche 1 bis 4, dadurch gekennzeichnet, daß die Reihen der zusätzliche Verbundelemente bildenden warzenförmigen Erhebungen (5) aus unregelmäßigen Einzelelementen oder Einzelelementen nach einem System geordnet, gebildet sind.
6. Betonbewehrungsstab (11, 11) aus Stahl mit über den Kernquerschnitt vorragenden, insbesondere schräg zur Stab­längsachse verlaufenden, Querrippen (2, 12) und gegebenen­falls Längsrippen (6, 13), dadurch gekennzeichnet, daß im Bereich (4) der Querschnittsabnahme der Querrippen (2, 12) in Längsrichtung verlaufende rippenartige Erhebungen (14) angeordnet sind, welche in Richtung der Längsachse des Stabes (11) unterbrochen sind und in axialem Abstand von den Quer­rippen (12) enden.
7. Betonbewehrungsstab nach Anspruch 6, dadurch gekenn­zeichnet, daß die in Längsrichtung verlaufenden Erhebungen (14) parallel zu Längsrippen (13) oder Flügeln des Stabes und zu beiden Seiten derselben angeordnet sind.
8. Betonbewehrungsstab nach Anspruch 6 oder 7, dadurch gekennzeichnet, daß die in Längsrichtung verlaufenden Erhe­bungen (14) ein Längen- zu Breitenverhältnis von wenigstens 3:1, vorzugsweise 4:1, aufweisen.
9. Betonbewehrungsstab nach Anspruch 6, 7 oder 8, dadurch gekennzeichnet, daß die Masse der in Längsrichtung verlau­fenden Erhebungen (14) etwa der Massenänderung durch die Querschnittsabnahme der schrägen Querrippen (12) in Umfangs­richtung entspricht.
10. Betonbewehrungsstab nach einem der Ansprüche 6 bis 9, dadurch gekennzeichnet, daß die langgestreckten Erhebungen (14) in Längsrichtung nach wenigstens zwei Querrippen (12) periodisch wiederkehrend angeordnet sind.
11. Betonbewehrungsstab nach einem der Ansprüche 6 bis 10, dadurch gekennzeichnet, daß die maximale Höhe der in Längs­richtung verlaufenden Erhebungen (14) etwa 75 %, vorzugsweise 50-70 %, der Höhe der Querrippen (12) beträgt.
12. Betonbewehrungsstab nach einem der Ansprüche 6 bis 11, dadurch gekennzeichnet, daß die Länge (a) der Erhebungen (14) 50-80 % des Abstandes (b) benachbarter Querrippen (12) beträgt.
13. Betonbewehrungsstab nach einem der Ansprüche 6 bis 12, dadurch gekennzeichnet, daß die in Längsrichtung verlaufenden Erhebungen (14) in mehreren Reihen angeordnet sind, deren Masse um höchstens 10 % voneinander verschieden ist.
EP87890015A 1986-01-30 1987-01-27 Concrete reinforcing steel Withdrawn EP0232245A3 (en)

Applications Claiming Priority (4)

Application Number Priority Date Filing Date Title
AT225/86 1986-01-30
AT22586A ATA22586A (de) 1986-01-30 1986-01-30 Betonbewehrungsstab
AT2941/86 1986-11-04
AT294186 1986-11-04

Publications (2)

Publication Number Publication Date
EP0232245A2 true EP0232245A2 (de) 1987-08-12
EP0232245A3 EP0232245A3 (en) 1990-01-31

Family

ID=25591934

Family Applications (1)

Application Number Title Priority Date Filing Date
EP87890015A Withdrawn EP0232245A3 (en) 1986-01-30 1987-01-27 Concrete reinforcing steel

Country Status (1)

Country Link
EP (1) EP0232245A3 (de)

Cited By (7)

* Cited by examiner, † Cited by third party
Publication number Priority date Publication date Assignee Title
AU595468B2 (en) * 1987-09-11 1990-03-29 Arbed S.A. Hot-rolled concrete reinforcing bar, in particular reinforcing ribbed bar
EP0756048A1 (de) * 1995-07-25 1997-01-29 Teuto-Baustahlmatten GmbH & Co. Kommanditgesellschaft Rundstahlelement zur Betonarmierung
WO2001086090A1 (en) * 2000-05-11 2001-11-15 Midtjydsk Murbinderfabrik A/S A wall tie
RU2545235C1 (ru) * 2013-09-11 2015-03-27 Владимир Васильевич Бедарев Арматурный стержень периодического профиля
RU2574087C2 (ru) * 2014-04-15 2016-02-10 Владимир Васильевич Бедарев Универсальный арматурный стержень периодического профиля
RU2599647C1 (ru) * 2015-05-26 2016-10-10 Владимир Васильевич Бедарев Арматурный стержень периодического профиля
CN113216518A (zh) * 2021-05-21 2021-08-06 三一筑工科技股份有限公司 钢筋组件及钢筋组件的生产方法

Family Cites Families (4)

* Cited by examiner, † Cited by third party
Publication number Priority date Publication date Assignee Title
BE625192A (de) *
AT292277B (de) * 1969-09-04 1971-08-25 Tor Isteg Steel Corp Kaltverfestigter Bewehrungsstab
DE2622524A1 (de) * 1976-05-20 1977-11-24 Janovic Kassian Anton Dipl Ing Gerippter betonstahl und spannstahl
CH651616A5 (en) * 1981-06-04 1985-09-30 Moos Stahl Ag Reinforcing bar for reinforced concrete

Cited By (7)

* Cited by examiner, † Cited by third party
Publication number Priority date Publication date Assignee Title
AU595468B2 (en) * 1987-09-11 1990-03-29 Arbed S.A. Hot-rolled concrete reinforcing bar, in particular reinforcing ribbed bar
EP0756048A1 (de) * 1995-07-25 1997-01-29 Teuto-Baustahlmatten GmbH & Co. Kommanditgesellschaft Rundstahlelement zur Betonarmierung
WO2001086090A1 (en) * 2000-05-11 2001-11-15 Midtjydsk Murbinderfabrik A/S A wall tie
RU2545235C1 (ru) * 2013-09-11 2015-03-27 Владимир Васильевич Бедарев Арматурный стержень периодического профиля
RU2574087C2 (ru) * 2014-04-15 2016-02-10 Владимир Васильевич Бедарев Универсальный арматурный стержень периодического профиля
RU2599647C1 (ru) * 2015-05-26 2016-10-10 Владимир Васильевич Бедарев Арматурный стержень периодического профиля
CN113216518A (zh) * 2021-05-21 2021-08-06 三一筑工科技股份有限公司 钢筋组件及钢筋组件的生产方法

Also Published As

Publication number Publication date
EP0232245A3 (en) 1990-01-31

Similar Documents

Publication Publication Date Title
DE3588038T2 (de) Mauerverstärkung.
DE2829205A1 (de) Metallseil
DE60019749T2 (de) Betonstruktur mit ankerstäben und ankerstab
DE69410125T2 (de) Armierungsfaser zur Betonbewehrung
DE3431008C2 (de) Wärmebehandlung von warmgewalzten Stäben oder Drähten
WO2019105629A1 (de) Faserverbundkörper sowie verfahren zur herstellung eines faserverbundkörpers
EP1064466B1 (de) Stanzniet
EP0232245A2 (de) Betonbewehrungsstahl
EP0451798B1 (de) Betonrippenstahl mit kaltgewalzten Schrägrippen
EP1073809B1 (de) Faser zur verstärkung giessbarer aushärtender werkstoffe sowie verfahren und vorrichtung zu deren herstellung
DE3022085A1 (de) Betonbewehrungsstab, insbesondere ankerstab, und verfahren zu seiner herstellung
EP0610479B1 (de) Ankerschiene für die bautechnik
DE9207598U1 (de) Armierungsfaser aus Stahldraht
CH651616A5 (en) Reinforcing bar for reinforced concrete
DE2033759C3 (de) Betonbewehrungsstab
EP0504219B1 (de) Stahldraht zur verstärkung des einbettungsmaterials, insbesondere beton, sowie das verfahren zur herstellung des stahldrahts
DE3228495A1 (de) Sonnenblende, insbesondere fuer fahrzeuge, sowie verfahren zu ihrer herstellung
DE4218450A1 (de) Armierungsfaser aus Stahldraht
DE4427916C1 (de) Verfahren zur Herstellung eines Steigbügels für Schächte
AT334048B (de) Warmgewalzter bewehrungsstab aus stahl fur beton
DE4207434C2 (de) Befestigungselement
CH303187A (de) Bewehrungseinlage für Eisenbeton.
AT232696B (de) Armierungsstab für Stahlbeton
DE2407343A1 (de) Bewehrungsstab fuer stahlbeton
DE1777052A1 (de) Verfahren zur Herstellung von kaltverformtem Bewehrungsstahl fuer Beton

Legal Events

Date Code Title Description
PUAI Public reference made under article 153(3) epc to a published international application that has entered the european phase

Free format text: ORIGINAL CODE: 0009012

AK Designated contracting states

Kind code of ref document: A2

Designated state(s): CH DE IT LI

PUAL Search report despatched

Free format text: ORIGINAL CODE: 0009013

STAA Information on the status of an ep patent application or granted ep patent

Free format text: STATUS: THE APPLICATION IS DEEMED TO BE WITHDRAWN

PUAF Information related to the publication of a search report (a3 document) modified or deleted

Free format text: ORIGINAL CODE: 0009199SEPU

AK Designated contracting states

Kind code of ref document: A3

Designated state(s): CH DE IT LI

18D Application deemed to be withdrawn

Effective date: 19890201

D17D Deferred search report published (deleted)
RIN1 Information on inventor provided before grant (corrected)

Inventor name: SAINITZER, DIETMAR, DIPL.-ING.

Inventor name: ANGENBAUER, FRANZ

Inventor name: SCHOSSMANN, REINHARD, DR., DIPL.-ING.