EP0226972B1 - Verfahren zum Aufrichten einer Verpackung - Google Patents
Verfahren zum Aufrichten einer Verpackung Download PDFInfo
- Publication number
- EP0226972B1 EP0226972B1 EP86117310A EP86117310A EP0226972B1 EP 0226972 B1 EP0226972 B1 EP 0226972B1 EP 86117310 A EP86117310 A EP 86117310A EP 86117310 A EP86117310 A EP 86117310A EP 0226972 B1 EP0226972 B1 EP 0226972B1
- Authority
- EP
- European Patent Office
- Prior art keywords
- hinged
- flaps
- free
- sections
- walls
- Prior art date
- Legal status (The legal status is an assumption and is not a legal conclusion. Google has not performed a legal analysis and makes no representation as to the accuracy of the status listed.)
- Expired - Lifetime
Links
- 238000000034 method Methods 0.000 title claims description 9
- 239000012943 hotmelt Substances 0.000 claims description 4
- 238000004026 adhesive bonding Methods 0.000 claims description 2
- 239000003795 chemical substances by application Substances 0.000 claims 1
- 239000000463 material Substances 0.000 claims 1
- 230000007704 transition Effects 0.000 abstract 1
- 238000004806 packaging method and process Methods 0.000 description 14
- 239000000853 adhesive Substances 0.000 description 5
- 230000001070 adhesive effect Effects 0.000 description 5
- 230000015572 biosynthetic process Effects 0.000 description 1
- 238000010924 continuous production Methods 0.000 description 1
- 238000010586 diagram Methods 0.000 description 1
- 239000000428 dust Substances 0.000 description 1
- 239000005021 flexible packaging material Substances 0.000 description 1
- 238000007493 shaping process Methods 0.000 description 1
Images
Classifications
-
- B—PERFORMING OPERATIONS; TRANSPORTING
- B65—CONVEYING; PACKING; STORING; HANDLING THIN OR FILAMENTARY MATERIAL
- B65D—CONTAINERS FOR STORAGE OR TRANSPORT OF ARTICLES OR MATERIALS, e.g. BAGS, BARRELS, BOTTLES, BOXES, CANS, CARTONS, CRATES, DRUMS, JARS, TANKS, HOPPERS, FORWARDING CONTAINERS; ACCESSORIES, CLOSURES, OR FITTINGS THEREFOR; PACKAGING ELEMENTS; PACKAGES
- B65D75/00—Packages comprising articles or materials partially or wholly enclosed in strips, sheets, blanks, tubes or webs of flexible sheet material, e.g. in folded wrappers
- B65D75/04—Articles or materials wholly enclosed in single sheets or wrapper blanks
-
- B—PERFORMING OPERATIONS; TRANSPORTING
- B65—CONVEYING; PACKING; STORING; HANDLING THIN OR FILAMENTARY MATERIAL
- B65D—CONTAINERS FOR STORAGE OR TRANSPORT OF ARTICLES OR MATERIALS, e.g. BAGS, BARRELS, BOTTLES, BOXES, CANS, CARTONS, CRATES, DRUMS, JARS, TANKS, HOPPERS, FORWARDING CONTAINERS; ACCESSORIES, CLOSURES, OR FITTINGS THEREFOR; PACKAGING ELEMENTS; PACKAGES
- B65D65/00—Wrappers or flexible covers; Packaging materials of special type or form
- B65D65/02—Wrappers or flexible covers
- B65D65/04—Wrappers or flexible covers non-rectangular
- B65D65/06—Wrappers or flexible covers non-rectangular formed with foldable flaps, e.g. interlocking flaps
Definitions
- the invention relates to a method for erecting a cardboard packaging or the like. for an at least approximately circular disc-shaped part, from a cut with an upper wall, a bottom wall and two side walls, which are connected to one another by means of an adhesive seam to form a tubular shell, with tabs being articulated on the two free edges of the top and bottom walls, which end closures Form packaging.
- a folding box blank is known, from which a tubular envelope can be formed, which have tabs for forming end closures.
- this folding box blank is only suitable to a limited extent for packaging circular disc-shaped parts, since it cannot be adapted to it.
- GB-A-728 324 shows a tubular wrapped packaging sleeve which is formed from a flexible packaging material, with no individual walls or tabs being provided.
- the object of the invention is to provide a method for erecting a packaging made of cardboard, the packaging consists of a blank and can be erected and closed regardless of the design of its end walls.
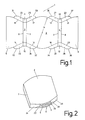
- Fig. 1 denotes a flat blank made of cardboard, which contains an upper wall 2, two side walls 3 and 4 and a bottom wall 5 formed from two sections. All these walls are arranged in a row next to one another and connected to one another by articulation lines 6, 7, 8 and 9. Tabs 10, 11 and 12, 13 are hinged to the two free edges of the side walls 3 and 4, respectively. In addition, further tabs 22 to 29 are attached to the adjacent edges of the top wall 2 and bottom wall 5 via articulation lines 14 to 21.
- the top wall 2 and the bottom wall 5 (after connecting the two sections) are essentially circular with the diameter D.
- the articulation lines 16 to 19 or 14, 15 and 20, 21 are tangential to the circumferential line of these circles and each meet the end point of the articulation lines 6, 7, 8 and 9, the length of which is somewhat smaller than the diameter D.
- the tabs 22 to 28 are bevelled on their outer edge 30 to 37, whereby all the tabs lie within an imaginary connecting line of the outer circumference of the top wall 2 and bottom wall 5.
- the blank thus only has a width which results from the diameter D, which is determined in accordance with the part to be packaged.
- FIG. 2 shows a fully erected and filled packaging.
- the two sections of the bottom wall 5 are connected to one another with the aid of an adhesive seam K. Sections are formed on the end faces of this packaging, at which the packaging is open, as a result of which the packaged part 38 is visible.
- a cardboard blank 41 shown in FIG. 3 also contains an upper wall 42, two side walls 3 and 4 and a bottom wall 45 formed from two sections. All these walls are arranged in a row next to one another and connected to one another by articulation lines 6, 7, 8 and 9 . Tabs 10, 11 and 12, 13 are articulated to the two free edges of the side walls 3 and 4, respectively.
- the top wall 42 and the bottom wall 45 are at least approximately circular in shape, the theoretical circumferential line being designated by U. Articulation lines 54 to 61 are located tangentially on this circumferential line, by means of which tabs 62 to 69 are fastened to the top and bottom walls.
- step I a cardboard blank is placed with its outside facing down on a device, not shown.
- step II the side walls with the hinged bottom wall sections are bent upwards by 90 degrees. This applies to packaging whose adhesive seam is arranged on the bottom.
- step III the two bottom wall sections are folded back into the horizontal, while the two side walls remain vertical.
- the part to be packaged is then fed in step IV and lowered into the resulting depression of the pack.
- step V involves folding the two bottom wall sections over one another, the inner of these two sections first being folded in and provided with hot melt in the overlap region, and then the outer section being folded over the first.
- step VI the two sections are pressed together in the overlap area and the adhesive seam is thus produced.
- the folding of the dust flaps provided in step VII is followed in step VIII by the folding down of the upper flaps for the formation of the end walls.
- step IX the corresponding lower tabs are provided with hotmelt and bent upwards against the already folded-in tabs, against which they are pressed in step X.
- Steps I to VI are expediently carried out in a continuous process, while steps VII to X are provided in a discontinuous, i.e. cyclical, process. However, it is then also expedient to switch from one sequence on one path to two paths between steps VI and VII.
Landscapes
- Engineering & Computer Science (AREA)
- Mechanical Engineering (AREA)
- Making Paper Articles (AREA)
- Packaging Of Annular Or Rod-Shaped Articles, Wearing Apparel, Cassettes, Or The Like (AREA)
- Cartons (AREA)
- Packages (AREA)
Description
- Die Erfindung betrifft ein Verfahren zum Aufrichten einer Verpackung aus Karton od.dgl. für ein wenigstens annähernd kreisscheibenförmiges Teil, aus einem Zuschnitt mit einer Oberwand, einer Bodenwand sowie zwei Seitenwänden, die über eine Klebenaht miteinander zu einer schlauchförmigen Hülle verbunden werden, wobei an den beiden freien Kanten von Ober- und Bodenwand Laschen angelenkt sind, welche Stirnseitenverschlüsse der Verpackung bilden.
- Aus der FR-A-905 479 ist ein Faltschachtelzuschnitt bekannt, aus dem eine schlauchförmige Hülle gebildet werden kann, welche Laschen zum Bilden von Stirnseitenverschlüssen aufweisen. Dieser Faltschachtelzuschnitt ist aber nur bedingt zum Verpacken von kreisscheibenförmigen Teilen geeignet, da er diesen nicht anpaßbar ist.
- Die GB-A-728 324 zeigt eine schlauchförmig gewickelte Verpackungshülle, die aus einem flexiblen Packstoff gebildet ist, wobei keinerlei einzelne Wände oder Laschen vorgesehen sind.
- Aufgabe der Erfindung ist es, ein Verfahren zum Aufrichten einer Verpackung aus Karton anzugeben, wobei die Verpackung aus einem Zuschnitt besteht und unabhängig von der Ausgestaltung ihrer Stirnwände aufgerichtet und verschlossen werden kann.
- Diese Aufgabe wird mit einem Verfahren der eingangs genannten Art erfindungsgemäß dadurch gelöst, daß der mit an den freien Kanten der Seitenwände angelenkten Laschen versehene und mit einer aus zwei einander teilweise überlappenden Abschnitten bestehenden Bodenwand ausgerüstete Zuschnitt mit seiner Außenseite nach unten auf eine Verformeinrichtung aufgelegt wird, sodann die beiden Seitenwände mit den daran angeformten weiteren freien Ober- bzw. Bodenwandteilen um 90° nach oben abgebogen werden und anschließend diese freien Wandteile um 90° zurückgefaltet werden, woraufhin das zu verpackende Teil in die so entstandene Mulde eingelegt wird und die freien Wandteile um 180° zueinander gefaltet werden, wobei im Bereich der Überlappung dieser freien Wandteile eine Längsnaht durch Aufbringen von Hotmelt od.dgl. hergestellt wird, worauf die an den Seitenwänden angelenkten Laschen eingefaltet und dann die Stirnwände durch Aufeinanderfalten und Verkleben der an Ober- und Bodenwand angelenkten Laschen gebildet werden.
- Damit können derartige Verpackungen unabhängig von der Ausgestaltung ihrer Stirnwände auf einfache und rationelle Weise aufgerichtet, gefüllt und verschlossen werden.
- In der Zeichnung ist die Erfindung anhand zweier Ausführungsbeispiele veranschaulicht. Dabei zeigen:
- Fig. 1 eine Ansicht eines flachliegenden Zuschnittes aus Karton mit einer Ober- und Bodenwand sowie zwei Seitenwänden,
- Fig. 2 eine aus dem Zuschnitt gemäß Fig. 1 aufgerichtete und gefüllte Verpackung,
- Fig. 3 eine Ansicht eines weiteren flachliegenden Zuschnittes und
- Fig. 4 ein schematisches Ablaufschema eines Verfahrens zum Aufrichten einer Verpackung.
- In Fig. 1 ist mit 1 ein flachliegender Zuschnitt aus Karton bezeichnet, der eine Oberwand 2, zwei Seitenwände 3 und 4 sowie eine aus zwei Abschnitten gebildete Bodenwand 5 enthält. Alle diese Wände sind in Reihe nebeneinander angeordnet und durch Anlenklinien 6,7,8 und 9 miteinander verbunden. An den beiden freien Kanten der Seitenwände 3 bzw. 4 sind Laschen 10,11 bzw. 12,13 angelenkt. Darüber hinaus sind an den dazu benachbarten Kanten von Oberwand 2 und Bodenwand 5 über Anlenklinien 14 bis 21 weitere Laschen 22 bis 29 befestigt.
- Die Oberwand 2 und die Bodenwand 5 (nach Verbinden der beiden Abschnitte) sind im wesentlichen kreisförmig mit dem Durchmesser D ausgebildet. Die Anlenklinien 16 bis 19 bzw. 14,15 und 20,21 sind tangential an die Umfangslinie dieser Kreise angelegt und treffen jeweils auf den Endpunkt der Anlenklinien 6,7,8 und 9, deren Länge etwas kleiner ist als der Durchmesser D. Die Laschen 22 bis 28 sind an ihrer außenliegenden Kante 30 bis 37 abgeschrägt, wodurch alle Laschen innerhalb einer gedachten Verbindungslinie des Außenumfanges von Oberwand 2 und Bodenwand 5 liegen.
- Damit hat der Zuschnitt lediglich eine Breite, die sich aus dem Durchmesser D ergibt, der entsprechend dem zu verpackenden Teil festgelegt ist.
- In Fig. 2 ist eine fertig aufgerichtete und gefüllte Verpackung dargestellt. Die beiden Abschnitte der Bodenwand 5 sind mit Hilfe einer Klebenaht K miteinander verbunden. An den Stirnseiten dieser Verpackung sind Abschnitte gebildet, an denen die Verpackung offen ist, wodurch das verpackte Teil 38 sichtbar wird.
- Ein in Fig. 3 dargestellter Zuschnitt 41 aus Karton enthält ebenfalls eine Oberwand 42, zwei Seitenwände 3 und 4 sowie eine aus zwei Abschnitten gebildete Bodenwand 45. Alle diese Wände sind in Reihe nebeneinander angeordnet und durch Anlenklinien 6,7,8 und 9 miteinander verbunden. An den beiden freien Kanten der Seitenwände 3 bzw. 4 sind Laschen 10,11 bzw. 12,13 gelenkig befestigt. Die Oberwand 42 und die Bodenwand 45 sind wenigstens annähernd von kreisförmiger Gestalt, wobei die theoretische Kreisumfangslinie mit U bezeichnet ist. Tangential an dieser Kreisumfangslinie liegen Anlenklinien 54 bis 61, über welche Laschen 62 bis 69 an Ober- bzw. Bodenwand befestigt sind. Der eine Endpunkt dieser Anlenklinien 54 bis 61 fällt mit dem jeweiligen Endpunkt der Anlenklinien 6 bis 9 und der andere mit dem Endpunkt der benachbarten Anlenklinien zusammen. Die außenliegende Kante 70 bis 77 der Laschen 62 bis 69 ist wieder abgeschrägt, so daß diese Laschen nur geringfügig über den theoretischen Umfang von Ober- bzw. Bodenwand vorstehen.
- Die einzelnen Schritte eines Verfahrens zum Aufrichten einer derartigen Verpackung sind in Fig. 4 schematisch dargestellt. Im Schritt I wird ein Kartonzuschnitt mit seiner Außenseite nach unten auf eine nicht dargestellte Vorrichtung aufgelegt. Im Schritt II werden die Seitenwände mit den daran angelenkten Bodenwand-Abschnitten um 90 Grad nach oben abgebogen. Dies trifft für eine Verpackung zu, deren Klebenaht am Boden angeordnet ist.
- Es ist selbstverständlich auch möglich, die Klebenaht im Bereich der Oberwand vorzusehen; in diesem Fall werden dann mit den Seitenwänden die Oberwand-Abschnitte nach oben abgebogen.
- Im Schritt III werden die beiden Bodenwand-Abschnitte wieder in die Horizontale zurückgefaltet, während die beiden Seitenwände vertikal stehen bleiben. Sodann wird im Schritt IV das zu verpackende Teil zugeführt und in die entstandene Mulde der Verpackung abgesenkt. Der Schritt V beinhaltet das Übereinanderfalten der beiden Bodenwand-Abschnitte, wobei zuerst der innere dieser beiden Abschnitte eingefaltet und im Überdeckungsbereich mit Hotmelt versehen und dann der äußere Abschnitt über den ersten gefaltet wird. Im Schritt VI werden die beiden Abschnitte im Überdeckungsbereich zusammengedrückt und damit die Klebenaht hergestellt. Auf das im Schritt VII vorgesehene Einfalten der Staublaschen folgt im Schritt VIII das Herunterfalten der oberen Laschen für die Bildung der Stirnwände. Im Schritt IX werden die entsprechenden unteren Laschen mit Hotmelt versehen und nach oben gegen die bereits eingefalteten Laschen gebogen, gegen die sie im Schritt X gepreßt werden.
- Die Schritte I bis VI werden zweckmäßigerweise in einem kontinuierlich ablaufenden Verfahren durchgeführt, während für die Schritte VII bis X ein diskontinuierlicher, d.h., taktweiser Ablauf vorgesehen ist. Damit ist es dann aber auch zweckmäßig, zwischen den Schritten VI und VII von einem Ablauf auf einer Bahn auf zwei Bahnen überzugehen.
- Mit einem solchen Verfahren können unabhängig von der Art der Anordnung oder der Ausgestaltung der Stirnwände derartige Verpackungen äußerst rationell aufgerichtet werden.
Claims (1)
- Verfahren zum Aufrichten einer Verpackung aus Karton od.dgl. für ein wenigstens annähernd kreisscheibenförmiges Teil, aus einem Zuschnitt(1,41) mit einer Oberwand(2), einer Bodenwand(5) sowie zwei Seitenwänden(3,4), die über eine Klebenaht(K) miteinander zu einer schlauchförmigen Hülle verbunden werden, wobei an den beiden freien Kanten von Ober- und Bodenwand(2,5) Laschen(22 bis 29) angelenkt sind, welche Stirnseitenverschlüsse der Verpackung bilden, dadurch gekennzeichnet, daß der mit an den freien Kanten der Seitenwände(3,4) angelenkten Laschen(10 bis 13) versehene und mit einer aus zwei einander teilweise überlappenden Abschnitten(5) bestehenden Bodenwand(5) ausgerüstete Zuschnitt mit seiner Außenseite nach unten auf eine Verformeinrichtung aufgelegt wird, sodann die beiden Seitenwände mit den daran angeformten weiteren freien Ober- bzw. Bodenwandteilen um 90° nach oben abgebogen werden und anschließend diese freien Wandteile um 90° zurückgefaltet werden, woraufhin das zu verpackende Teil in die so entstandene Mulde eingelegt wird und die freien Wandteile(5) um 180° zueinander gefaltet werden, wobei im Bereich der Überlappung dieser freien Wandteile(5) eine Längsnaht(K) durch Aufbringen von Hotmelt od.dgl. hergestellt wird, worauf die an den Seitenwänden(3,4) angelenkten Laschen(10 bis 13) eingefaltet und dann die Stirnwände durch Aufeinanderfalten und Verkleben der an Ober- und Bodenwand angelenkten Laschen gebildet werden.
Applications Claiming Priority (2)
| Application Number | Priority Date | Filing Date | Title |
|---|---|---|---|
| DE3544386 | 1985-12-14 | ||
| DE19853544386 DE3544386A1 (de) | 1985-12-14 | 1985-12-14 | Zuschnitt aus karton od. dgl. zum herstellen einer verpackung und daraus aufgerichtete verpackung sowie verfahren zum aufrichten einer solchen verpackung |
Publications (3)
| Publication Number | Publication Date |
|---|---|
| EP0226972A2 EP0226972A2 (de) | 1987-07-01 |
| EP0226972A3 EP0226972A3 (en) | 1988-10-12 |
| EP0226972B1 true EP0226972B1 (de) | 1993-02-24 |
Family
ID=6288525
Family Applications (2)
| Application Number | Title | Priority Date | Filing Date |
|---|---|---|---|
| EP86116211A Expired - Lifetime EP0226833B1 (de) | 1985-12-14 | 1986-11-22 | Verfahren zum Aufrichten einer Verpackung |
| EP86117310A Expired - Lifetime EP0226972B1 (de) | 1985-12-14 | 1986-12-12 | Verfahren zum Aufrichten einer Verpackung |
Family Applications Before (1)
| Application Number | Title | Priority Date | Filing Date |
|---|---|---|---|
| EP86116211A Expired - Lifetime EP0226833B1 (de) | 1985-12-14 | 1986-11-22 | Verfahren zum Aufrichten einer Verpackung |
Country Status (5)
| Country | Link |
|---|---|
| EP (2) | EP0226833B1 (de) |
| AT (1) | ATE85012T1 (de) |
| DE (2) | DE3544386A1 (de) |
| DK (1) | DK165680C (de) |
| ES (1) | ES2039350T3 (de) |
Families Citing this family (1)
| Publication number | Priority date | Publication date | Assignee | Title |
|---|---|---|---|---|
| DE202011108393U1 (de) | 2011-11-28 | 2012-01-05 | Martin Hörner | Verpackung zur Aufbewahrung von Kleinteilen |
Family Cites Families (5)
| Publication number | Priority date | Publication date | Assignee | Title |
|---|---|---|---|---|
| DE565401C (de) * | 1927-04-11 | 1932-11-30 | Kustner Freres Cie Sa | Verfahren zum Einwickeln von klebrigen und leicht haftenbleibenden Stoffen |
| US2011703A (en) * | 1932-05-28 | 1935-08-20 | Eugene V Myers | Wrapper or container |
| FR905479A (fr) * | 1944-02-11 | 1945-12-05 | Cartonneries De Saint Germain | Emballage |
| GB728324A (en) * | 1953-03-11 | 1955-04-20 | Rose Brothers Ltd | Improvements in packages |
| DE1981248U (de) * | 1967-12-16 | 1968-03-14 | Heinrich Nicolaus G M B H | Verpackung. |
-
1985
- 1985-12-14 DE DE19853544386 patent/DE3544386A1/de active Granted
-
1986
- 1986-11-22 DE DE8686116211T patent/DE3687640D1/de not_active Expired - Fee Related
- 1986-11-22 AT AT86116211T patent/ATE85012T1/de not_active IP Right Cessation
- 1986-11-22 EP EP86116211A patent/EP0226833B1/de not_active Expired - Lifetime
- 1986-12-12 DK DK598586A patent/DK165680C/da not_active IP Right Cessation
- 1986-12-12 ES ES198686117310T patent/ES2039350T3/es not_active Expired - Lifetime
- 1986-12-12 EP EP86117310A patent/EP0226972B1/de not_active Expired - Lifetime
Also Published As
| Publication number | Publication date |
|---|---|
| DK165680C (da) | 1993-05-24 |
| EP0226833A3 (en) | 1988-10-12 |
| ES2039350T3 (es) | 1993-10-01 |
| EP0226833A2 (de) | 1987-07-01 |
| DE3544386C2 (de) | 1990-03-08 |
| EP0226833B1 (de) | 1993-01-27 |
| DK598586D0 (da) | 1986-12-12 |
| DK598586A (da) | 1987-06-15 |
| EP0226972A2 (de) | 1987-07-01 |
| ATE85012T1 (de) | 1993-02-15 |
| EP0226972A3 (en) | 1988-10-12 |
| DE3544386A1 (de) | 1987-06-25 |
| DK165680B (da) | 1993-01-04 |
| DE3687640D1 (de) | 1993-03-11 |
Similar Documents
| Publication | Publication Date | Title |
|---|---|---|
| DD201870A5 (de) | Ausgusstuellanordnung fuer einen faltbaren kartonbehaelter | |
| DE69221085T2 (de) | Hülsenförmiger artikelträger | |
| AT394535B (de) | Zuschnitt zur bildung eines behaelters und behaelter aus einem solchen zuschnitt | |
| CH422501A (de) | Verfahren zur Herstellung von Säcken, Taschen, Schachteln oder ähnlichen Behältern mit viereckigem Boden | |
| DE2649573A1 (de) | Kartonzuschnitt und verfahren zum herstellen einer packung aus diesem zuschnitt | |
| DE2759685C2 (de) | Kartonbehälter sowie Zuschnitt hierfür | |
| DE3434427A1 (de) | Zuschnitteil fuer behaelter und verfahren zu seiner herstellung | |
| DE4207870A1 (de) | Kartonzuschnitt zum herstellen einer faltschachtel | |
| AT397071B (de) | Behälterzuschnitt aus faltbarem flachmaterial | |
| DE3221588C2 (de) | ||
| DE3047056C2 (de) | Einseitig offene Falthülle aus Karton o.dgl. | |
| DE2710163C2 (de) | ||
| DE2331335A1 (de) | Zigaretten-packung aus verbundfolie, sowie verfahren zur herstellung derselben | |
| EP0226972B1 (de) | Verfahren zum Aufrichten einer Verpackung | |
| DE2800393A1 (de) | Zuschnitt fuer klappschachteln, insbesondere zur aufnahme von zigaretten, sowie bahn o.dgl. aus verpackungsmaterial fuer die herstellung derartiger zuschnitte durch abtrennen | |
| DE69203478T2 (de) | Bag-in-Box mit automatisch auffaltbarem Boden und Verfahren zu deren Herstellung. | |
| EP0254934B1 (de) | Behälter aus Karton od.dgl. | |
| EP1799560B1 (de) | Staub- und insektendichte faltschachtel mit rundum-sicherheitsverschluss | |
| CH668952A5 (de) | Verfahren und verpackung zum verpacken eines tafelfoermigen produktes, insbesondere einer schokoladetafel. | |
| DE20203152U1 (de) | Verpackung | |
| EP0182381B1 (de) | Zuschnitt aus Karton od. dgl. zum Herstellen einer Kassette | |
| DE1066132B (de) | Achteckiger Faltbehälter | |
| DE1486967C3 (de) | Verfahren zum Verkleben der Verschlu Steile einer Faltschachtel | |
| EP0786410A1 (de) | Verpackung aus Karton oder dergleichen | |
| DE8535298U1 (de) | Zuschnitt aus Karton od. dgl. zum Herstellen einer Verpackung und daraus aufgerichtete Verpackung |
Legal Events
| Date | Code | Title | Description |
|---|---|---|---|
| PUAI | Public reference made under article 153(3) epc to a published international application that has entered the european phase |
Free format text: ORIGINAL CODE: 0009012 |
|
| AK | Designated contracting states |
Kind code of ref document: A2 Designated state(s): ES GR SE |
|
| PUAL | Search report despatched |
Free format text: ORIGINAL CODE: 0009013 |
|
| AK | Designated contracting states |
Kind code of ref document: A3 Designated state(s): ES GR SE |
|
| 17P | Request for examination filed |
Effective date: 19881029 |
|
| 17Q | First examination report despatched |
Effective date: 19890414 |
|
| RAP1 | Party data changed (applicant data changed or rights of an application transferred) |
Owner name: 4P NICOLAUS KEMPTEN GMBH |
|
| GRAA | (expected) grant |
Free format text: ORIGINAL CODE: 0009210 |
|
| AK | Designated contracting states |
Kind code of ref document: B1 Designated state(s): ES GR SE |
|
| PG25 | Lapsed in a contracting state [announced via postgrant information from national office to epo] |
Ref country code: SE Effective date: 19930224 Ref country code: GR Free format text: LAPSE BECAUSE OF FAILURE TO SUBMIT A TRANSLATION OF THE DESCRIPTION OR TO PAY THE FEE WITHIN THE PRESCRIBED TIME-LIMIT Effective date: 19930224 |
|
| REG | Reference to a national code |
Ref country code: ES Ref legal event code: FG2A Ref document number: 2039350 Country of ref document: ES Kind code of ref document: T3 |
|
| PLBE | No opposition filed within time limit |
Free format text: ORIGINAL CODE: 0009261 |
|
| STAA | Information on the status of an ep patent application or granted ep patent |
Free format text: STATUS: NO OPPOSITION FILED WITHIN TIME LIMIT |
|
| 26N | No opposition filed | ||
| PGFP | Annual fee paid to national office [announced via postgrant information from national office to epo] |
Ref country code: ES Payment date: 19951215 Year of fee payment: 10 |
|
| PG25 | Lapsed in a contracting state [announced via postgrant information from national office to epo] |
Ref country code: ES Free format text: LAPSE BECAUSE OF NON-PAYMENT OF DUE FEES Effective date: 19971213 |
|
| REG | Reference to a national code |
Ref country code: ES Ref legal event code: FD2A Effective date: 19980113 |