EP0226907A2 - Relais - Google Patents

Relais Download PDF

Info

Publication number
EP0226907A2
EP0226907A2 EP86116890A EP86116890A EP0226907A2 EP 0226907 A2 EP0226907 A2 EP 0226907A2 EP 86116890 A EP86116890 A EP 86116890A EP 86116890 A EP86116890 A EP 86116890A EP 0226907 A2 EP0226907 A2 EP 0226907A2
Authority
EP
European Patent Office
Prior art keywords
core
yoke
piece
tab
coil
Prior art date
Legal status (The legal status is an assumption and is not a legal conclusion. Google has not performed a legal analysis and makes no representation as to the accuracy of the status listed.)
Withdrawn
Application number
EP86116890A
Other languages
English (en)
French (fr)
Other versions
EP0226907A3 (de
Inventor
Gerd Schmitt
Current Assignee (The listed assignees may be inaccurate. Google has not performed a legal analysis and makes no representation or warranty as to the accuracy of the list.)
Hengstler GmbH
Original Assignee
Hengstler Bauelemente GmbH
Priority date (The priority date is an assumption and is not a legal conclusion. Google has not performed a legal analysis and makes no representation as to the accuracy of the date listed.)
Filing date
Publication date
Application filed by Hengstler Bauelemente GmbH filed Critical Hengstler Bauelemente GmbH
Publication of EP0226907A2 publication Critical patent/EP0226907A2/de
Publication of EP0226907A3 publication Critical patent/EP0226907A3/de
Withdrawn legal-status Critical Current

Links

Images

Classifications

    • HELECTRICITY
    • H01ELECTRIC ELEMENTS
    • H01HELECTRIC SWITCHES; RELAYS; SELECTORS; EMERGENCY PROTECTIVE DEVICES
    • H01H50/00Details of electromagnetic relays
    • H01H50/16Magnetic circuit arrangements
    • H01H50/36Stationary parts of magnetic circuit, e.g. yoke
    • HELECTRICITY
    • H01ELECTRIC ELEMENTS
    • H01HELECTRIC SWITCHES; RELAYS; SELECTORS; EMERGENCY PROTECTIVE DEVICES
    • H01H50/00Details of electromagnetic relays
    • H01H50/16Magnetic circuit arrangements
    • H01H50/36Stationary parts of magnetic circuit, e.g. yoke
    • H01H2050/365Stationary parts of magnetic circuit, e.g. yoke formed from a single sheet of magnetic material by punching, bending, plying

Definitions

  • the invention relates to a relay according to the preamble of claim 1.
  • a relay has become known in various forms; All embodiments have in common that the core and the yoke form two different parts, which are therefore manufactured separately from one another and which are only connected to one another before the relay is assembled.
  • the core is connected to the associated yoke via a rivet connection.
  • this has the disadvantage that the connection between the core and the yoke in the area of the rivet connection can never be completely smooth, and this results in a slight air gap which increases the magnetic resistance in the flux circuit.
  • the invention has for its object to develop a relay of the type mentioned so that the resistance in the magnetic flux circuit, consisting of core, yoke and armature, is further reduced.
  • the invention is characterized in that the yoke and core consist of a one-piece U-shaped part.
  • the yoke and core consist of a coherent, identical part, as a result of which the air gap described above, which can form in the connecting gap in the case of a two-part part, is avoided. Due to the one-piece construction of the yoke and core, the resistance in the magnetic flux circuit is substantially reduced and, consequently, the efficiency of the relay is improved.
  • the core consists of a round-profiled metal part which merges on one side into a flat-profiled connecting flange, which in turn merges into a flat-profiled yoke.
  • a round-profiled metal part which merges on one side into a flat-profiled connecting flange, which in turn merges into a flat-profiled yoke.
  • Such a part is produced from a round material, the round-profiled core being produced by die-forming this round material. After this shaping, the flat material is bent in a U-shaped manner, after which the round-profiled core is opposite a yoke formed as a flat material.
  • the yoke and core consist of a stamped part and this time the core is not flat-profiled by die forming, but only a multiple bending process takes place, after completion of which both the yoke and the core are made of a rectangularly profiled material (flat material ) are formed.
  • the core which is still made of a flat material, is round-profiled by die forming.
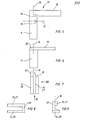
  • Fig. 1 only the magnet system of a relay is shown, which in a conventional manner consists of a coil, the coil carrier has a central recess 2 into which a round-profiled core 7 is inserted.
  • the round-profiled core 7 opens as shown in FIGS. 1, 2 and 3 in a rectangular profiled connecting flange 8, which in turn is bent through 90 degrees and opens into a yoke 6 with a rectangular profile.
  • the armature 4 is pivotally mounted on the end face of the yoke 6 according to FIG. 1 and at its free, pivotable end there is an actuating pin 5 which actuates the contacts of the relay, which are not shown.
  • the opposite side of the armature 4 lies as flush as possible on the end face 3 of the core 7.
  • 1 - 3 show that the core and yoke consist of a one-piece part which is bent in a U-shape.
  • a first bending edge 22 is located between the core 7 and the connecting flange 8, while a second bending edge 21 is located between the connecting flange 8 and the yoke 6.
  • FIG. 4 shows an embodiment of the core and yoke that is improved compared to FIG. 1, because the end face 3 of the core 7 near the anchor has an enlarged area there, so that the contact area with the armature 4 is enlarged.
  • a head part 10 is pushed onto the end face of the core 7, which is provided with an annular flange 12 and has an inner recess which is pressed onto the core 7 precisely flush.
  • the end face 11 of the head part 10 is enlarged compared to the original end face 3 of the core 7.
  • the head part 10 is integrally connected to the core 7 by inserting the core into the recess 2 of the coil 1 in the same manner as the head part 10 shows , mushroom-shaped, so that the head part 10 is integrally connected to the core 7.
  • 5-9 show the second embodiment of a one-piece connection between a core 27 and a yoke 26.
  • this embodiment is an angular stamped part 13, which consists of a flat material.
  • a lower bracket 14 is connected in one piece to another bracket 15 at an angle of 90 degrees.
  • a recess 18 is provided which extends approximately diagonally to the outer edge approximately to the center of the stamped part 13.
  • this part is first bent in the region of the bending edge 17, so that the tab 15 protrudes vertically from the plane of the drawing according to FIG. 6, as shown in FIG. 6.
  • the tab 15 is thus connected to the lower tab via a connecting flange 20, the connecting flange being formed by the corner between the tab 14 and the tab 15, which was divided by the recess 18.
  • 5 also shows that a further recess 19 can be provided in the area of the bending edge 17 in order to facilitate bending in the area of the bending edge 17 during the transition from FIG. 5 to FIG. 6.
  • a U-shaped part results from a flat material, wherein in a further process step the core 27 consisting of the flat material can still be profiled round by die forming.

Landscapes

  • Physics & Mathematics (AREA)
  • Electromagnetism (AREA)
  • Electromagnets (AREA)
  • Iron Core Of Rotating Electric Machines (AREA)

Abstract

Das Relais mit einem Magnetsystem besteht aus einer Spule, in deren Innenbohrung ein Kern eingesteckt ist, der mit einem Joch verbunden ist, welches einen schwenkbaren Anker haltert, der zur Anlage an der aus der Spule herausragenden Stirnfläche des Kerns bringbar ist. Zur Verringerung des magnetischen Widerstandes im magnetischen Flußkreis ist das Joch und der Kern aus einem werkstoffeinstückigen U-förmigen Teil gebildet.

Description

  • Die Erfindung betrifft ein Relais nach dem Oberbegriff des Patentanspruchs l. Ein derartiges Relais ist in verschiedenartigen Ausführungsformen bekannt geworden; allen Ausführungsformen ist gemeinsam, daß der Kern und das Joch zwei verschiedene Teile bilden, die also getrennt voneinander hergestellt sind und die erst vor der Montage des Relais miteinander verbunden werden. Beispielsweise wird hierbei der Kern über eine Nietverbindung mit dem zugeordneten Joch verbunden. Damit besteht jedoch der Nachteil, daß der Anschluß zwischen Kern und Joch im Bereich der Nietverbindung nie vollständig glattflächig sein kann und damit sich ein geringfügiger Luftspalt ergibt, der den magnetischen Widerstand im Flußkreis erhöht.
  • Der Erfindung liegt die Aufgabe zugrunde, ein Relais der eingangs genannten Art so weiterzubilden, daß der Widerstand im magnetischen Flußkreis, bestehend aus Kern, Joch und Anker, weiter verringert wird.
  • Zur Lösung der gestellten Aufgabe ist die Erfindung dadurch gekennzeichnet, daß Joch und Kern aus einem werkstoffeinstückigen U-förmigen Teil bestehen.
  • Erfindungsgemäß bestehen Joch und Kern aus einem zusammenhängenden, gleichen Teil, wodurch der vorher beschriebene Luftspalt, der sich bei einem zweistückigen Teil im Verbindungsspalt bilden kann, vermieden wird. Durch die werkstoffeinstückige Ausbildung von Joch und Kern ist also der Widerstand im magnetischen Flußkreis wesentlich verringert und demzufolge der Wirkungsgrad des Relais verbessert.
  • In einer ersten Ausführungsform ist es nach dem Gegenstand des Anspruchs 2 vorgesehen, daß der Kern aus einem rundprofilierten Metallteil besteht, der an seiner einen Seite in ein flach profilierten Verbindungsflansch übergeht, der seinerseits in ein flach profiliertes Joch übergeht. Ein derartiges Teil wird aus einem Rundmaterial hergestellt, wobei der rundprofilierte Kern durch Gesenkumformen dieses Rundmaterials hergestellt wird. Nach diesem Umformen wird das Flachmaterial entsprechend U-förmig gebogen, wonach dem rundprofilierten Kern ein als Flachmaterial ausgebildetes Joch gegenüberliegt.
  • In einer anderen Ausführungsform ist es vorgesehen, daß Joch und Kern aus einem Stanzteil bestehen und der Kern diesmal nicht durch Gesenkumformen flachprofiliert wird, sondern lediglich ein mehrmaliger Biegevorgang stattfindet, nach dessen Vollendung dann sowohl das Joch und der Kern aus einem rechteckig profilierten Material (Flachmaterial) gebildet sind.
  • In einem weiteren Verfahrensschritt kann es jedoch vorgesehen sein, den noch aus einem Flachmaterial bestehenden Kern durch Gesenkumformen rundprofiliert auszubilden.
  • Der Erfindungsgegenstand der vorliegenden Erfindung ergibt sich nicht nur aus dem Gegenstand der einzelnen Patentansprüche, sondern auch aus der Kombination der einzelnen Patentansprüche untereinander.
  • Alle in den Unterlagen offenbarten Angaben und Merkmale, insbesondere die in den Zeichnungen dargestellte räumliche Ausbildung werden als erfindungswesentlich beansprucht, soweit sie einzeln oder in Kombination gegenüber dem Stand der Technik neu sind.
  • Im folgenden wird die Erfindung anhand von mehrere Ausführungswege darstellenden Zeichnungen näher erläutert. Hierbei gehen aus den Zeichnungen und ihrer Beschreibung weitere erfindungswesentliche Merkmale und Vorteile der Erfindung hervor.
  • Es zeigen:
    • Figur 1: Schnitt durch ein Relais mit einem Joch und Kern in einer ersten Ausführungsform;
    • Figur 2: Stirnansicht in Richtung des Pfeiles II in Fig. 1 unter Weglassung der Spule;
    • Figur 3: Draufsicht auf das Teil nach Fig. 2 in Richtung des Pfeiles III in Fig. 2;
    • Figur 4: der Kern nach Fig. 1 mit einem im Durchmesser erweiterten Kopf teil;
    • Figur 5: Draufsicht auf ein Stanzteil zur Herstellung eines werkstoffeinstückigen Jochs mit Kern im Grundzustand;
    • Figur 6: Draufsicht auf das Stanzteil nach Fig. 5 nach dem ersten Biegevorgang;
    • Figur 7: Draufsicht auf das Stanzteil nach Fig. 6 nach dem zweiten Biegevorgang;
    • Figur 8: Seitenansicht des Stanzteils nach Fig. 7 in Richtung des Pfeiles VIII;
    • Figur 9: Stirnansicht des Stanzteils nach Fig. 7 in Richtung des Pfeiles IX.
  • In Fig. 1 ist von einem Relais lediglich das Magnetsystem dargestellt, welches in herkömmlicher Weise aus einer Spule besteht, deren Spulenträger eine zentrische Ausnehmung 2 aufweist, in die ein rundprofilierter Kern 7 eingeschoben ist. Der rundprofilierte Kern 7 mündet gemäß den Darstellungen in Fig. 1, 2 und 3 in einen rechteckig profilierten Verbindungsflansch 8, der seinerseits um 90 Grad umgebogen ist und in ein gleichfalls rechteckig profiliertes Joch 6 einmündet. In nicht näher dargestellter Weise ist der Anker 4 schwenkbar an der Stirnseite des Jochs 6 gemäß Fig. 1 gelagert und an seinem freien, schwenkbaren Ende setzt ein Betätigungsstift 5 an, der die nicht näher dargestellten Kontakte des Relais betätigt.
  • Die gegenüberliegende Seite des Ankers 4 liegt möglichst bündig an der Stirnfläche 3 des Kerns 7 an.
  • Die Fig. 1 - 3 zeigen, daß Kern und Joch aus einem werkstoffeinstückigen Teil bestehen, welches U-förmig gebogen ist. Eine erste Biegekante 22 befindet sich dabei zwischen Kern 7 und Verbindungsflansch 8, während eine zweite Biegekante 21 sich zwischen Verbindungsflansch 8 und dem Joch 6 befindet.
  • Die Fig. 4 zeigt eine gegenüber Fig. 1 verbesserte Ausführungsform von Kern und Joch, weil dort die ankernahe Stirnfläche 3 des Kerns 7 eine vergrößerte Fläche aufweist, so daß die Kontaktfläche zum Anker 4 vergrößert ist.
  • Dies wird gemäß dem Ausführungsbeispiel nach Fig. 4 dadurch erreicht, daß auf die Stirnseite des Kerns 7 ein Kopfteil 10 aufgeschoben wird, welches mit einem Ringflansch 12 versehen ist und eine innere Ausnehmung aufweist, die genau bündig auf den Kern 7 aufgepreßt ist.
  • Die Stirnfläche 11 des Kopfteils 10 ist gegenüber der ursprünglichen Stirnfläche 3 des Kerns 7 vergrößert.
  • In einer anderen, nicht zeichnerisch dargestellten Ausführungsform ist es vorgesehen, daß das Kopfteil 10 werkstoffeinstückig mit dem Kern 7 dadurch verbunden ist, daß der Kern nach dem Einstecken in die Ausnehmung 2 der Spule 1 in der gleichen Art, wie es das Kopf teil 10 zeigt, pilzförmig umgeformt ist, so daß das Kopfteil 10 werkstoffeinstückig mit dem Kern 7 verbunden ist.
  • Die Fig. 5 - 9 zeigen die zweite Ausführungsform einer werkstoffeinstückigen Verbindung zwischen einem Kern 27 und einem Joch 26.
  • Gemäß Fig. 5 liegt dieser Ausführung ein winkelförmiges Stanzteil 13 gegenüber, was aus einem Flachmaterial besteht. Eine unter Lasche 14 ist im Winkel von 90 Grad mit einer weiteren Lasche 15 einstückig verbunden.
  • Im Bereich der inneren Kante des winkelförmigen Teils ist eine Ausnehmung 18 vorgesehen, die sich etwa diagonal zur außenliegenden Kante etwa bis zur Mitte des Stanzteils 13 hin erstreckt.
  • Gemäß Fig. 6 wird dieses Teil zunächst im Bereich der Biegekante 17 gebogen, so daß die Lasche 15 senkrecht aus der Zeichenebene nach Fig. 6 heraussteht, wie in Fig. 6 dargestellt.
  • Die Lasche 15 nach Fig. 6 wird im Bereich der Biegekante 16 um 90 Grad gebogen, so daß sich die in Fig. 7 dargestellte Formgebung der Lasche 15 ergibt, die nun gemäß Fig. 8 parallel zur unteren Lasche 14 verläuft, jedoch ist die Breitseite der Lasche 15 um 90 Grad zur Breitseite der Lasche 14 verdreht, wie dies Fig. 9 zeigt.
  • Die Lasche 15 hängt damit über einen Verbindungsflänsch 20 mit der unteren Lasche zusammen, wobei der Verbindungsflansch durch die Ecke zwischen der Lasche 14 und der Lasche 15 gebildet wurde, welche durch die Ausnehmung 18 abgeteilt wurde. Die Fig. 5 zeigt ferner, daß im Bereich der Biegekante 17 eine weitere Ausnehmung 19 vorgesehen werden kann, um das Biegen im Bereich der Biegekante 17 beim Übergang von der Fig. 5 auf die Fig. 6 zu erleichtern.
  • Insgesamt ergibt sich gemäß den Fig. 8 und 9 ein U-förmiges Teil aus einem Flachmaterial, wobei in einem weiteren Verfahrensschritt der aus dem Flachmaterial bestehende Kern 27 durch Gesenkumformen noch rund profiliert werden kann.

Claims (4)

1. Relais mit einem Magnetsystem, bestehed aus einer Spule, in deren Innenbohrung ein Kern eingesteckt ist, und einem mit dem Kern verbundenen Joch, welches einen schwenkbaren zur Anlage an der aus der Spule herausragenden Stirnfläche des Kerns bringbaren Anker lagert, und Kern und Joch einstückig ausgebildet sind, dadurch gekennzeichnet , daß das den Kern (7) und das Joch (6) formende werkstoffeinstückig ausgeführte Teil ein rundprofiliertes Metallteil ist, dessen eine Teillänge rundprofiliert den Kern (7) ausbildet, und dessen andere Teillänge durch Gesenkumformen flachprofiliert jeweils abgewinkelt den Verbindungsflansch (8) und das Joch (9) ausbildet.
2. Relais nach dem Oberbegriff des Anspruchs 1, dadurch gekennzeichnet , daß das den Kern (27) und das Joch (26) formende werkstoffeinstückig ausgeführte Teil alternativ ein 90 °-Winkelstück mit zwei Laschen (14, 15) ausbildendes und im Innenwinkel eine nach innen öffnende Ausnehmung (18) aufweisendes rechteckig profiliertes Stanzteil (13) ist, dessen eine Lasche (14) um eine im Schenkelbereich über die Breite derselben führende Biegekante (17) und dessen andere Lasche (15) um eine im Winkelbereich längsachsial der Lasche (14) führende Biegekante (16) ein U-förmiges Teil bildend abgebogen ist, wobei die Breitseite des den Kern (27) bildenden Schenkels zur Breitseite des das Joch (26) bildenden Schenkels um 90 ° verdreht ist.
3. Relais nach Anspruch 1 oder 2, dadurch gekennzeichnet, daß das ankernahe Ende des Kerns (3, 27) nach dem Aufschieben der Spule (1) durch Umformen pilzförmig vergrößert ist.
4. Relais nach Anspruch 1 oder 2, dadurch gekennzeichnet, daß auf das ankernahe Ende des Kerns (3, 27) ein die Stirnfläche des Kerns (3, 27) vergrößerndes Kupfteil (10) aufgepreßt ist.
EP86116890A 1985-12-17 1986-12-04 Relais Withdrawn EP0226907A3 (de)

Applications Claiming Priority (2)

Application Number Priority Date Filing Date Title
DE3544532 1985-12-17
DE19853544532 DE3544532A1 (de) 1985-12-17 1985-12-17 Relais

Publications (2)

Publication Number Publication Date
EP0226907A2 true EP0226907A2 (de) 1987-07-01
EP0226907A3 EP0226907A3 (de) 1989-08-30

Family

ID=6288613

Family Applications (1)

Application Number Title Priority Date Filing Date
EP86116890A Withdrawn EP0226907A3 (de) 1985-12-17 1986-12-04 Relais

Country Status (2)

Country Link
EP (1) EP0226907A3 (de)
DE (1) DE3544532A1 (de)

Cited By (3)

* Cited by examiner, † Cited by third party
Publication number Priority date Publication date Assignee Title
AT402579B (de) * 1991-10-07 1997-06-25 Schrack Components Ag Relais
EP0974994A1 (de) * 1998-07-23 2000-01-26 Bticino S.P.A. Elektromagnet für einen Leitungsschutzschalter mit einem flachen Kern mit ein verdrillten Teil
CN106252161A (zh) * 2016-08-31 2016-12-21 漳州宏发电声有限公司 一种只有铁芯的磁路系统及其继电器

Families Citing this family (6)

* Cited by examiner, † Cited by third party
Publication number Priority date Publication date Assignee Title
US5185199A (en) * 1988-11-02 1993-02-09 The Dow Chemical Company Maleic anhydride-grafted polyolefin fibers
US5126199A (en) * 1988-11-02 1992-06-30 The Dow Chemical Company Maleic anhydride-grafted polyolefin fibers
US5082899A (en) * 1988-11-02 1992-01-21 The Dow Chemical Company Maleic anhydride-grafted polyolefin fibers
AT412926B (de) * 2001-03-20 2005-08-25 Moeller Gebaeudeautomation Kg Joch für ein magnetsystem einer kurzschlussauslöseeinrichtung
CN110970268A (zh) * 2018-09-30 2020-04-07 泰科电子(深圳)有限公司 电磁继电器
CN110970266A (zh) * 2018-09-30 2020-04-07 泰科电子(深圳)有限公司 电磁继电器

Family Cites Families (10)

* Cited by examiner, † Cited by third party
Publication number Priority date Publication date Assignee Title
BE507613A (de) * 1950-12-07
DE1280409B (de) * 1962-08-09 1968-10-17 Siemens Ag Elektromagnetisches Relais mit Klappanker
GB1007369A (en) * 1963-08-08 1965-10-13 Ericsson Telephones Ltd Electromagnetic relay
DE2020150A1 (de) * 1970-04-24 1971-12-02 Gruner Kg Relais Fabrik Elektromagnetisches Kleinrelais
DE2221702C3 (de) * 1972-04-29 1975-11-27 Paul & Siedler, 1000 Berlin Elektromagnetisches Klappanker-Relais in Flachbauweise
GB1440359A (en) * 1973-11-08 1976-06-23 Plessey Co Ltd Electromagnetic relay assemblies
FR2321181A1 (fr) * 1975-08-11 1977-03-11 Saparel Relais sensible a collage sans aimant
US4578660A (en) * 1980-09-01 1986-03-25 Fujitsu Limited Housing for an electromagnetic relay
ATA126182A (de) * 1982-03-30 1987-06-15 Schrack Elektronik Ag Elektromagnetisches relais
DE8329097U1 (de) * 1983-10-08 1984-01-12 Eberle Anlagen KG, 8500 Nürnberg Elektromagnetisches Relais

Cited By (4)

* Cited by examiner, † Cited by third party
Publication number Priority date Publication date Assignee Title
AT402579B (de) * 1991-10-07 1997-06-25 Schrack Components Ag Relais
EP0974994A1 (de) * 1998-07-23 2000-01-26 Bticino S.P.A. Elektromagnet für einen Leitungsschutzschalter mit einem flachen Kern mit ein verdrillten Teil
CN106252161A (zh) * 2016-08-31 2016-12-21 漳州宏发电声有限公司 一种只有铁芯的磁路系统及其继电器
CN106252161B (zh) * 2016-08-31 2019-03-05 漳州宏发电声有限公司 一种只有铁芯的磁路系统及其继电器

Also Published As

Publication number Publication date
DE3544532C2 (de) 1989-03-09
EP0226907A3 (de) 1989-08-30
DE3544532A1 (de) 1987-06-19

Similar Documents

Publication Publication Date Title
EP0160121B1 (de) Elektromagnet für elektrische Schaltgeräte, insbesondere Schütze
DE69738308T2 (de) Kontaktstift mit in entgegen gesetzter Richtung orientierte Verankerungsflügel und Steckerelement
DE3883431T2 (de) Elektrische Kontaktanordnung.
DE3590369C2 (de)
DE4111054C2 (de)
DD244231A5 (de) Verfahren zur herstellung u-foermiger kernbleche und zwischen deren schenkel passendder t-foermiger rueckschlussbleche einer drossel oder eines transformators, insb. fuer gasentladungslampen
DE69734859T2 (de) Elektromagnetisches Relais
DE69515968T2 (de) Verbinderanordnung mit zusammenwirkenden Kontaktteilen und ein Verfahren zum Verbinden derselben
EP0536523B1 (de) Anschlussklemme
EP0226907A2 (de) Relais
DE2731001A1 (de) Elektrische steckkontaktbuchse
EP0451674B1 (de) Einpresskontakt
DE1515527C3 (de) Elektrisches Kontaktglied
DE3224933C2 (de) Federkontakt für elektrische Steckverbindungen
DE69913397T2 (de) Schneidklemme
DE69319259T2 (de) Verbesserte Kontakte für den Anschluss von Spulenwicklungen
DE2545180C3 (de) Miniaturrelais
EP0308819A2 (de) Elektromagnetisches Relais
DE3025814C2 (de) Elektromagnetisches Relais
DE3209198A1 (de) Elektromagnetisches relais
DE69204587T2 (de) Elektrischer Kontaktstift für gedruckte Schaltungsplatten.
DE69103372T2 (de) Spulenkörper mit winkelrechten Anschlussstiften.
DE3784938T2 (de) Elektrisches endglied.
DE2419347A1 (de) Magnetisches rueckschlussgehaeuse
DE1465202B2 (de) Verbindungsklemme zum Andrücken an einen isolierten elektrischen Leitungsdraht

Legal Events

Date Code Title Description
PUAI Public reference made under article 153(3) epc to a published international application that has entered the european phase

Free format text: ORIGINAL CODE: 0009012

AK Designated contracting states

Kind code of ref document: A2

Designated state(s): AT CH DE FR GB IT LI

17P Request for examination filed

Effective date: 19870724

PUAL Search report despatched

Free format text: ORIGINAL CODE: 0009013

AK Designated contracting states

Kind code of ref document: A3

Designated state(s): AT CH DE FR GB IT LI

17Q First examination report despatched

Effective date: 19900326

STAA Information on the status of an ep patent application or granted ep patent

Free format text: STATUS: THE APPLICATION IS DEEMED TO BE WITHDRAWN

18D Application deemed to be withdrawn

Effective date: 19901006

RIN1 Information on inventor provided before grant (corrected)

Inventor name: SCHMITT, GERD