EP0172374A2 - Ein- oder mehrpoliger Überstromschutzschalter mit integrierter Signalkontaktstelle - Google Patents

Ein- oder mehrpoliger Überstromschutzschalter mit integrierter Signalkontaktstelle Download PDF

Info

Publication number
EP0172374A2
EP0172374A2 EP85108334A EP85108334A EP0172374A2 EP 0172374 A2 EP0172374 A2 EP 0172374A2 EP 85108334 A EP85108334 A EP 85108334A EP 85108334 A EP85108334 A EP 85108334A EP 0172374 A2 EP0172374 A2 EP 0172374A2
Authority
EP
European Patent Office
Prior art keywords
contact
arm
lever
overcurrent protection
protection switch
Prior art date
Legal status (The legal status is an assumption and is not a legal conclusion. Google has not performed a legal analysis and makes no representation as to the accuracy of the status listed.)
Granted
Application number
EP85108334A
Other languages
English (en)
French (fr)
Other versions
EP0172374A3 (en
EP0172374B1 (de
Inventor
Josef Peter
Current Assignee (The listed assignees may be inaccurate. Google has not performed a legal analysis and makes no representation or warranty as to the accuracy of the list.)
Ellenberger and Poensgen GmbH
Original Assignee
Ellenberger and Poensgen GmbH
Priority date (The priority date is an assumption and is not a legal conclusion. Google has not performed a legal analysis and makes no representation as to the accuracy of the date listed.)
Filing date
Publication date
Application filed by Ellenberger and Poensgen GmbH filed Critical Ellenberger and Poensgen GmbH
Publication of EP0172374A2 publication Critical patent/EP0172374A2/de
Publication of EP0172374A3 publication Critical patent/EP0172374A3/de
Application granted granted Critical
Publication of EP0172374B1 publication Critical patent/EP0172374B1/de
Anticipated expiration legal-status Critical
Expired - Lifetime legal-status Critical Current

Links

Images

Classifications

    • HELECTRICITY
    • H01ELECTRIC ELEMENTS
    • H01HELECTRIC SWITCHES; RELAYS; SELECTORS; EMERGENCY PROTECTIVE DEVICES
    • H01H71/00Details of the protective switches or relays covered by groups H01H73/00 - H01H83/00
    • H01H71/08Terminals; Connections
    • HELECTRICITY
    • H01ELECTRIC ELEMENTS
    • H01HELECTRIC SWITCHES; RELAYS; SELECTORS; EMERGENCY PROTECTIVE DEVICES
    • H01H71/00Details of the protective switches or relays covered by groups H01H73/00 - H01H83/00
    • H01H71/10Operating or release mechanisms
    • H01H71/12Automatic release mechanisms with or without manual release
    • H01H71/46Automatic release mechanisms with or without manual release having means for operating auxiliary contacts additional to the main contacts

Definitions

  • the invention relates to an overcurrent protection switch of the type described in the preamble of claim 1, as is known for example from German patent 21 23 765.
  • a disadvantage of this conventional single-pole or multi-pole overcurrent protection switch is the lack of a signal contact point, which provides information about the current status of the overcurrent protection switch by means of a signal circuit connected to it.
  • a control box with a large number of so-called on-board circuit breakers may be mentioned here, in which it would be difficult to find the source of the error quickly and accurately without the associated signal lamps indicating a trip.
  • the characterizing features of claim 5 describe a particularly advantageous design of the overcurrent protection switch designed according to the invention.
  • the signal contact point is securely closed by the U-leg of the contact spring, which has a high spring force, when the L-shaped lever is not influenced in the off position of the overcurrent protection switch.
  • the add-on housing Due to the special shape and direction of its components described, the add-on housing also has a high degree of compactness, and can be easily installed in existing switch boxes of conventional design.
  • both the main connections and the signal contact connections can be brought from the same side from behind to the housing, with the rearward opening, angular arrangement of the metal sockets for the electrical leads for the signal contact point can easily be passed to both sides of the main connection wires and connected to the corresponding metal sockets.
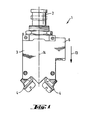
  • the overcurrent protection switch 1 has a push button as the actuating element 2 for manual activation or triggering.
  • the main terminal lugs 4 for wiring the main contacts 5 protrude from its insulating housing 3, and the add-on housing 6 with the inserted signal contact point is integrally formed on the overcurrent protection switch 1.
  • the signal contact lever 15 shown in FIGS. 2 and 3 represents the connecting link between the toggle lever 8 and the signal contact point 7. Its stop arm 16 projects into the main switching chamber 17 formed by the insulating housing 3 and is there there by means of a stop projection attached to the joint-side end of the actuating arm 12 18 acted upon in the on position of the toggle lever 8. The stop projection 18 projects beyond the actuating arm 12 in the buckling direction 19 of the toggle lever 8 and its stop side is designed as a convex sliding step 20. This, together with the stop arm 16 of the signal contact lever 15 which is inclined towards the main connection contacts 5, ensures low friction forces to be overcome during the switch-on process.
  • the contact spring 24 is U-shaped, the two U-legs 26 running parallel to the fixed contact 25 and to the direction of the housing depth 13.
  • the U-connecting web 28 of the contact spring 24 faces the horizontal leg 27 of the contact arm 22, the vertical leg 29 of the contact arm 22 acts on the fixed-contact-side U-leg 26 of the contact spring 24 designed as a movement contact and opens the signal contact point 7 in the contact opening direction 30 facing the main switching chamber 17 .

Landscapes

  • Breakers (AREA)

Abstract

Ein ein- oder mehrpoliger, von Hand oder thermisch betätigbarer Überstromschutzschalter (1) enthält in seiner Hauptschaltkammer einen als Wirkverbindung zwischen einem Betätigungselement (2) und einer Kontaktbrücke (11) fungierenden Kniehebel (8), der aus einem Betätigungsarm (12) und einem Hauptkontaktarm (9) besteht. Die dem Kniegelenk (8') abgewandten Enden vom Betätigungsarm (12) und Hauptkontaktarm (9) sind mittels Drehgelenken (10) am Betätigungselement (2) und der Kontaktbrucke (11) angelenkt. In allen Bewegungsstellungen zwischen der die Ausschaltstellung bildenden Knick- und der die arretierte Einschaltstellung bildenden Streckstellung des Kniehebels (8) liegen diese Anlenkpunkte auf der in Richtung der Gehäusetiefe (13) verlaufenden Mittellängsachse (14) des lsoliergehäuses (3). Der Betätigungsarm (12) beaufschlagt in Kniehebelstreckstellung mittels eines an sein gelenkseitiges Ende angesetzten Anschlagvorsprunges (18) einen doppelarmigen Signalkontakthebel. Dessen Anschlagarm (16) ragt in die Hauptschaltkammer (17), dessen anderer Kontaktarm (22) steht in ein an das Isoliergehäuse (3) angesetztes, eine Signalkontaktstelle (7) enthaltendes Anbaugehäuse (6) hinein. Dabei beaufschlagt der Kontaktarm (22) eine Kontaktfeder (24) und öffnet oder schließt dadurch je nach der von der Stellung des Anschlagvorsprunges (18) abhängigen Schwenkstellung die aus einer Kontaktfeder (24) und einem Festkontakt (25) bestehende Hilfs- oder Signalkontaktstelle (7).

Description

  • Die Erfindung bezieht sich auf einen Überstromschutzschalter der im Oberbegriff des Anspruches 1 beschriebenen Art, wie er beispielsweise aus der deutschen Patentschrift 21 23 765 bekannt ist.
  • Der bekannte druckknopfbetätigte Überstromschutzschalter ist mit einer Kontaktbrücke ve-rsehen, die mittels eines Kniehebels mit dem Betätigungselement in Verbindung steht. Dieser in einer von einem Isoliergehäuse gebildeten Hauptschaltkammer einliegende Kniehebel wird von einem Betätigungsarm und einem Hauptkontaktarm gebildet. Die dem Kniegelenk abgewandten Enden der beiden Arme sind mittels Drehgelenken am Betätigungselement bzw. der Kontaktbrücke angelenkt. Die Anlenkpunkte liegen in allen Bewegungsstellungen zwischen der die Ausschaltstellung bildenden Knick- und der die arretierte Einschaltstellung bildenden angenäherten Streckstellung des Kniehebels auf der in Richtung der Gehäusetiefe verlaufenden Mittellängsachse des Isoliergehäuses. Dabei schiebt eine im Bereich des Kniegelenks angreifende Feder mit ihrer Druckkraft den Betätigungsarm vom Hauptkontaktarm weg. Ist die Einschaltstellung erreicht, wird der Kniehebel von einer Sperrklinke arretiert, die durch Hand oder thermische Betätigung auslösbar ist. Durch diese, in der obengenannten Patentschrift näher beschriebene Konstruktion des Überstromschutzschalters werden mit einfachen, raumsparenden Mitteln eine Momenteinschaltung, sowie eine Hand-, eine äußerst schnelle thermische und eine Freiauslösung erreicht.
  • Eine ähnliche Kniehebelkonstruktion mit zugeordneten Hilfshebeln ist Gegenstand der deutschen Patentschrift 25 07 454. Dabei wird durch die über eine gemeinsame Achse in Verbindung stehenden Hilfshebel der den mehrpoligen Schalter bildenden einpoligen Überstromschutzschalter eine im wesentlichen gleichzeitige, allpolige Auslösung ohne höhere, die Schaltzeit beeinflußende mechanische Kräfte als bei der einpoligen Auslösung erzielt.
  • Ein Nachteil dieser herkömmlichen ein- bzw. mehrpoligen Überstromschutzschalter ist das Fehlen einer Signalkontaktstelle, die mittels eines daran angeschlossenen Signalkreises Auskunft über den momentanen Status des Überstromschutzschalters gibt. Beispielsweise sei hier ein Schaltkasten mit einer Vielzahl von sogenannten Bordnetzschutzschaltern genannt, bei dem es ohne zugeordnete, eine Auslösung anzeigenden Signallämpchen schwer möglich wäre, die Fehlerquelle schnell und zielsicher zu finden.
  • Einen solchen Überstromschutzschalter mit einer Signalkontaktstelle beschreibt CH-PS 233 959, in der die Kontaktbrücke während ihres Schließens eine in ihren Verschiebeweg hineinstehende Isolierstofftrennwand in Kontaktschließrichtung verschiebt. Das signalkontaktseitige Freiende dieser Wand steuert den beweglichen Hilfskontakt der Signalkontaktstelle. Nachteilig bei dieser Konstruktion ist die Tatsache, daß die Rückstellkraft der Hilfskontaktfeder direkt gegen die Schließrichtung der Kontaktbrücke wirkt. Dadurch wird der erzielbare Kontaktdruck und damit die Stromleitfähigkeit des Hauptkontaktes reduziert. Außerdem wird durch die Rückstellkraft die Reibung zwischen den Einzelteilen der Verklinkungsstelle des Kniehebels erhöht, was zu einer Erhöhung der notwendigen Auslösekraft führt. Dadurch erhöht sich die Auslösezeit bei herkömmlichen Überstromschutzschaltern dieser Art, was die Schutzwirkung naturgemäß herabsetzt.
  • Der Erfindung liegt die Aufgabe zugrunde, einen Überstromschutzschalter der eingangs beschriebenen Art so auszubilden, daß er eine Signalkontaktstelle bereitstellt, deren Kontaktgabe eindeutig mit der Ein- bzw. Ausschaltstellung des Überstromschutzschalters gekoppelt ist, ohne jedoch eine Verschlechterung der Kontaktdruck- und Auslösecharakteristik in Kauf nehmen zu müssen. Diese Aufgabe wird gemäß den kennzeichnenden Merkmalen des Anspruches 1 dadurch gelöst, daß der Betätigungsarm des Kniehebels mit zunehmender Kniehebelstreckung mittels eines an sein gelenkseitiges Ende angesetzten Anschlagvorsprunges einen doppelarmigen Signalkontakthebel zunehmend auslenkt. Dessen Anschlagarm ragt in die Hauptschaltkammer, dessen anderer Kontaktarm liegt in einem an das Isoliergehäuse angesetzten, einen Signalkontakt enthaltenden Anbaugehäuse. Dieser Kontaktarm beaufschlagt eine Kontaktfeder, die zusammen mit einem Festkontakt die Hilfs- oder Signalkontaktstelle bildet. Die Auslösecharakteristik des Überstromschutzschalters wird durch die im kennzeichnenden Teil beschriebene Bauform bedingt im wesentlichen nicht verändert, da beim Erfindungsgegenstand gänzlich andere Hebelverhältnisse herrschen, als bei herkömmlichen Überstromschutzschaltern nach dem Stande der Technik. Damit bleibt der übliche Kontaktdruck erhalten und die Auslösezeit wird vorteilhafterweise nicht erhöht, obwohl der Kniehebel die zusätzliche Funktion der Betätigung einer Signalkontaktstelle erfüllt. Deren offener oder geschlossener Status ist abhängig von der jeweiligen Schwenkstellung des Signalkontakthebels, die wiederum durch die Stellung des an den Betätigungsarm angesetzten Anschlagvorsprunges in der Hauptschaltkammer bestimmt wird. Wird der Überstromschutzschalter beispielsweise durch die Streckung des Kniehebels in Einschaltstellung gebracht, lenkt der Anschlagvorsprung den Signalkontakthebel aus, der durch seine Schwenkbewegung die Kontaktfeder der Signalkontaktstelle vom Festkontakt zunehmend abhebt und damit beispielsweise einen Stromkreis für ein Signallämpchen unterbricht. Damit ist eine eindeutige Zuordnung "Überstromschutzschalter ein - Signalkontakt aus" und umgekehrt gegeben. Genausogut kann mit wenigen baulichen Veränderungen des Signalkontakthebels und der Signalkontaktstelle eine eindeutige Zuordnung "Überstromschutzschalter ein - Signalkontakt ein" und umgekehrt geschaffen werden.
  • Die das kennzeichnende Merkmal des Anspruches 2 bedingende Gleichebigkeit der Bewegungsebenen von Kniehebel und Signalkontakthebel ermöglicht einen besonders einfachen, mechanischen Aufbau des Überstromschutzschalters, da keine aufwendigen mechanischen Bauelemente zum Einsatz kommen müssen, die eine mechanische Bewegung aus einer Ebene in eine andere überführen.
  • Das kennzeichnende Merkmal des Anspruches 3 beschreibt eine besonders einfache Bauform für das Anbaugehäuse des Signalkontaktes, die besonders fertigungsrationell und wirtschaftlich hergestellt werden kann und einem schnellen Zusammenbau des erfindungsgemäß ausgestalteten Überstromschutzschalters dienlich ist.
  • Durch das Kennzeichnungsmerkmal des Anspruches 4 wird eine etwa gleiche Hebelarmlänge des Signalkontakthebels erreicht, wodurch die auftretenden Hebelkräfte und -wege minimalisiert werden können.
  • Durch die kennzeichnenden Merkmale des Anspruches 5 wird eine besonders vorteilhafte Bauform des erfindungsgemäß ausgestalteten Überstromschutzschalters beschrieben. Z.B. wird die Signalkontaktstelle durch die eine hohe Federkraft aufweisenden U-Schenkel der Kontaktfeder sicher geschlossen, wenn der L-förmige Hebel in Ausschalt-Stellung des Überstromschutzschalters nicht beeinflußt wird. Durch die beschriebene spezielle Form und Richtung seiner Bauelemente weist das Anbaugehäuse auch ein hohes Maß an Kompaktheit auf, ein problemloser Einbau in vorhandene Schaltkästen herkömmlicher Bauart ist möglich. Diese Tatsache wird durch das kennzeichnende Merkmal des Anspruches 6 noch unterstützt, da dadurch sowohl die Hauptanschlüsse als auch die Signalkontaktanschlüsse von derselben Seite von hinten an das Gehäuse herangeführt werden können, wobei durch die sich nach hinten öffnende, winklige Anordnung der Metallbuchsen die elektrischen Zuleitungen für die Signalkontaktstelle problemlos zu beiden Seiten der Hauptanschlußdrähte vorbeigeführt und an den entsprechenden Metallbuchsen angeschlossen werden können.
  • Durch die kennzeichnenden Merkmale der Ansprüche 7-10 wird eine Bauform des erfindungsgemäßen Überstromschutzschalters erreicht, bei der die für die Betätigung des zusätzlichen Signalkontakthebels notwendigen mechanischen Kräfte besonders niedrig werden. Im Zusammenspiel mit dem Kennzeichnungsmerkmal des Anspruches 5 z.B. unterstützt die durch die Federkraft der U-förmigen Kontaktfeder erzeugte Rückschwenkbewegung des Signalkontakthebels sogar die Aufreißbewegung des Kniehebels. Der schräg in die Hauptkontaktschaltkammer ragende Arm des Signalkontakthebels bedingt zusammen mit dem als konvexe Gleitstufe ausgebildeten Anschlagvorsprung ein reibungsarmes Aufgleiten dieses Bauelements beim Einschaltvorgang. Die Auslösecharakteristik des Überstromschutzschalters wird durch die im Kennzeichnungsmerkmal des Anspruches 11 beschriebene Bauform bedingt weiter verbessert. Da die Kraftwirkungslinie des vom Anschlagarm auf den Anschlagvorsprung ausgeübten Reaktionsdruckes durch das betätigungsseitige Drehlager des Betätigungsarmes verläuft, wirken in Einschaltstellung auf die Kniehebelanordnung keine zusätzlichen Drehmomente.
  • Ein Ausführungsbeispiel der Erfindung ist in den Fig. 1-4 dargestellt. Es zeigen:
    • Fig. 1 eine Gesamt-Seitenansicht eines Überstromschutzschalters der erfindungsgemäßen Art,
    • Fig. 2 eine vergrößerte Seitenansicht des Überstromschutzschalters in teilweise geöffneter Form in Einschaltstellung,
    • Fig. 3 eine Seitenansicht analog Fig. 2 in Ausschalt- stellung,
    • Fig. 4 eine Seitenansicht der Bewegungsteile im Signalkontakt-Anbaugehäuse entsprechend der Linie A-A in Fig. 3
  • Wie aus Fig. 1 ersichtlich, weist der Überstromschutzschalter 1 für die Handeinschaltung bzw. Handauslösung einen Druckknopf als Betätigungselement 2 auf. Aus seinem Isoliergehäuse 3 ragen die Hauptanschlußfahnen 4 zur Beschaltung der Hauptkontakte 5, einstückig an den Überstromschutzschalter 1 angeformt ist das Anbaugehäuse 6 mit der einliegenden Signalkontaktstelle .
  • In Fig. 2 ist der Kniehebel 8 gezeichnet. In dieser Einschaltstellung verbindet die am unteren Ende des Hauptkontaktarmes 9 mittels Drehgelenk 10 angelenkte Kontaktbrücke 11 die beiden Hauptkontakte 5. Der mit dem Hauptkontaktarm 9 über eine Stift-Schlitz-Konstruktion des Kniegelenks 8' verbundene Betätigungsarm 12 ist ebenfalls mittels eines Drehgelenks 10 über ein Kuppelelement 2a mit dem Betätigungselement 2 verbunden. In allen Bewegungsstellungen des Kniehebels zwischen der Einschaltstellung (entsprechend Fig. 2) und der Ausschaltstellung (entsprechend Fig. 3) fällt die Verbindungslinie zwischen den beiden Drehachsen 10 des Kniehebels 8 mit der in Richtung der Gehäusetiefe 13 verlaufenden Mittellängsachse 14 des Isoliergehäuses 3 zusammen.
  • Der in den Fig. 2 und 3 gezeichnete Signalkontakthebel 15 stellt das Verbindungsglied zwischen dem Kniehebel 8 und der Signalkontaktstelle 7 dar. Sein Anschlagarm 16 ragt in die vom Isoliergehäuse 3 gebildete Hauptschaltkammer 17 und wird dort mittels eines an das gelenkseitige Ende des Betätigungsarmes 12 angesetzten Anschlagvorsprunges 18 in Einschaltstellung des Kniehebels 8 beaufschlagt. Der Anschlagvorsprung 18 steht in Ausknickrichtung 19 des Kniehebels 8 über den Betätigungsarm 12 hinaus und seine Anschlagseite ist als konvexe Gleitstufe 20 ausgebildet. Diese gewährleistet zusammen mit dem schräg in Richtung auf die Hauptanschlußkontakte 5 geneigten Anschlagarm 16 des Signalkontakthebels 15 geringe beim Einschaltvorgang zu überwindende Reibungskräfte. In Streckstellung des Kniehebels 8 lenkt der Anschlagvorsprung 18 den Signalkontakthebel 15 derart aus, daß die Kraftwirkungslinie 21 des vom Anschlagarm 16 auf den Anschlagvorsprung 18 ausgeübten Reaktionsdruckes durch das betätigungsseitige Drehgelenk 10 des Betätigungsarmes 12 verläuft. Dadurch wird die Auslösecharakteristik des Überstromschutzschalters nicht negativ beeinflußt, d.h. die erfindungsgemäßen Überstromschutzschalter mit integriertem Signalkontaktanbau können den Grundaufbau der herkömmlichen Überstromschutzschalter verwenden. Der L-förmige Kontaktarm 22 des schwenkbar um die seine Drehachse 23 gelagerten Signalkontakthebel 15 hintergreift im Anbaugehäuse 6 die U-förmige Kontaktfeder 24. Diese bildet zusammen mit dem Festkontakt 25 die Signalkontaktstelle 7, die je nach der Schwenkstellung des Signalkontakthebels 15 geöffnet oder geschlossen ist.
  • Wie aus den Fig. 2 und 3 zu entnehmen ist, ist die Kontaktfeder 24 U-förmig ausgebildet, wobei die beiden U-Schenkel 26 parallel zum Festkontakt 25 und zur Richtung der Gehäusetiefe 13 verlaufen. Dem Horizontalschenkel 27 des Kontaktarmes 22 ist dabei der U-Verbindungssteg 28 der Kontaktfeder 24 zugewandt, der Vertikalschenkel 29 des Kontaktarmes 22 beaufschlagt den festkontaktseitigen U-Schenkel 26 der als Bewegungskontakt ausgeführten Kontaktfeder 24 und öffnet die Signalkontaktstelle 7 in der der Hauptschaltkammer 17 zugewandten Kontaktöffnungsrichtung 30.
  • In Fig. 4 ist dargestellt, wie die Signalkontaktstelle 7 mit ihrer Kontaktfeder 24 und ihrem Festkontakt 25 über Metallbuchsen 31 elektrisch angeschlossen sind. Die elektrische Verbindung zwischen diesen Bauelementen 24,25,31 ist durch an die Kontaktfeder 24 bzw. an den Festkontakt 25 angeformte elektrisch leitende Verbindungsstücke 32 gewährleistet. Die Metallbuchsen 31 sind im Anbaugehäuse 6 beiderseits der Signalkontaktstelle 7 angeordnet und bilden mit ihren Achsen 33 einen sich in Richtung der Gehäusetiefe 13 öffnenden spitzen Winkel 34. Die von diesem aufgespannte Ebene liegt senkrecht zur Bewegungsebene des Signalkontakthebels 15, damit können die vier Anschlußkabel für die -9- Hauptkontakte 5 bzw. die Signalkontaktstelle 7 problemlos an den Überstromschutzschalter 1 herangeführt werden.
  • Bezugszeichenliste
    • 1 Überstromschutzschalter
    • 2 Betätigungselement
    • 2a Kuppelelement
    • 3 Isoliergehäuse
    • 4 Hauptanschlußfahnen
    • 5 Hauptkontakt
    • 6 Anbaugehäuse
    • 7 Signalkontaktstelle
    • 8 Kniehebel mit Kniegelenk 8'
    • 9 Hauptkontaktarm
    • 10 Drehgelenk
    • 11 Kontaktbrücke
    • 12 Betätigungsarm
    • 13 Richtung d. Gehäusetiefe
    • 14 Mittellängsachse
    • 15 Signalkontakthebel
    • 16 Anschlagarm
    • 17 Hauptschaltkammer
    • 18 Anschlagvorsprung
    • 19 Ausknickrichtung
    • 20 Gleitstufe
    • 21 Kraftwirkungslinie
    • 22 Kontaktarm
    • 23 Drehachse
    • 24 Kontaktfeder
    • 25 Festkontakt
    • 26 U-Schenkel
    • 27 Horizontalschenkel
    • 28 U-Verbindungssteg
    • 29 Vertikalschenkel
    • 30 Kontaktöffnungsrichtung
    • 31 Metallbuchse
    • 32 Verbindungsstücke
    • 33 Achse d. Metallbuchse
    • 34 Winkel

Claims (11)

1. Ein- oder mehrpoliger, von Hand oder thermisch betätigbarer Überstromschutzschalter (1) mit in einer durch ein Isoliergehäuse (3) gebildeten Hauptschaltkammer (17) einliegend einem einen Betätigungsarm (12) und einen Hauptkontaktarm (9) enthaltenden Kniehebel (8) als Wirkverbindung zwischen einem Betätigungselement (2) und einer Kontaktbrücke (11),
- wobei der Kniehebel unter einer ihn permanent in Öffnungsrichtung beaufschlagenden Rückstellkraft steht,
- wobei die dem Kniegelenk (8') abgewandten Enden von Betätigungsarm (12) und Hauptkontaktarm (9) mittels Drehgelenken (10) an dem Betätigungselement (2) und der Kontaktbrücke (11) angelenkt sind und in allen Bewegungsstellungen zwischen der die Ausschaltstellung bildenden Knick- und der die arretierte Einschaltstellung bildenden Streckstellung des Kniehebels (8) auf der in Richtung der Gehäusetiefe (13) verlaufenden Mittellängsachse (14) des Isoliergehäuses (3) liegen,
dadurch gekennzeichnet,
- daß der Betätigungsarm (12) in Kniehebelstreckstellung mittels eines an sein gelenkseitiges Ende angesetzten Anschlagvorsprunges (18) einen doppelarmigen Signalkontakthebel (15) beaufschlagt,
-- dessen Anschlagarm (16) in die Hauptschaltkammer (17) ragt und
-- dessen anderer Kontaktarm (22) in einen an das Isoliergehäuse (3) angesetztes, eine Signalkontaktstelle (7) enthaltendes Anbaugehäuse (6) hineinsteht und
- daß der Kontaktarm (22) eine Kontaktfeder (24) beaufschlagt und dadurch je nach von der Stellung des Anschlagvorsprunges (18) abhängiger Schwenkstellung die aus einer Kontaktfeder (24) und einem Festkontakt (25) bestehende Hilfs- oder Signalkontaktstelle (7) öffnet oder schließt.
2. Überstromschutzschalter nach Anspruch 1,
dadurch gekennzeichnet,
daß die Bewegungsebenen von Kniehebel (8) und Signalkontakthebel (15) gleichebig sind.
3. Überstromschutzschalter nach Anspruch 1,
dadurch gekennzeichnet,
daß das Anbaugehäuse (6) einstückig in das Isoliergehäuse (3) der Hauptschaltkammer (17) integriert ist.
4. Überstromschutzschalter nach mindestens einem der Ansprüche 1 bis 3,
dadurch gekennzeichnet,
daß die Drehachse (23) des Signalkontakthebels (15) im Übergangsbereich zwischen dem Anbaugehäuse (6) und der Hauptschaltkammer (17) angeordnet ist.
5. Überstromschutzschalter nach einem oder mehreren der vorgenannten Ansprüche,
dadurch gekennzeichnet,
- daß die Signalkontaktstelle (7) im Anbaugehäuse (6) nebeneinander und in Richtung der Gehäusetiefe (13) verlaufend auf der der Hauptschaltkammer (17) abgewandten Seite einen geraden Festkontakt (25) und auf der der Hauptschaltkammer (17) zugewandten Seite als Bewegungskontakt eine mit ihren U-Schenkeln (26) zum Festkontakt (25) parallelverlaufende U-förmige Kontaktfeder (24) aufweist,
- daß der Verbindungssteg (28) zwischen den U-Schenkeln (26) der Kontaktfeder (24) der Seite der Hauptkontakte (5) zugewandt ist und
- daß der Kontaktarm (22) des Signalkontakthebels (15) L-förmig ausgebildet ist, dabei mit seinem Horizontalschenkel (27) den U-Verbindungssteg (28) der Kontaktfeder (24) flankiert und mit seinem Vertikalschenkel (29) den der Hauptschaltkammer (17) abseitigen U-Kontaktschenkel (26) der Kontaktfeder (24) von außen in der Hauptschaltkammer (17) zugewandter Kontaktöffnungsrichtung (30) beaufschlagt.
6. Überstromschutzschalter nach einem oder mehreren der vorgenannten Ansprüche,
dadurch gekennzeichnet,
- daß die Kontaktfeder (24) und der Festkontakt (25) an jeweils einer Metallbuchse (31) elektrisch leitend befestigt sind
- daß die Achsen (33) der zwei im Signalkontakt-Anbaugehäuse (6) je einmal auf beiden Seiten der Signalkontaktstelle (7) angeordneten Metallbuchsen (31) für Steckanschlüsse in Verlängerung einen spitzen Winkel (34) bilden, der sich in Richtung der Gehäusetiefe (13) öffnet und
- daß die von den Achsen (33) aufgespannte Ebene senkrecht zur Bewegungsebene des Signalkontakthebels (15) liegt.
7. Überstromschutzschalter nach einem oder mehreren der vorgenannten Ansprüche,
dadurch gekennzeichnet,
daß der Anschlagvorsprung (18) in Ausknickrichtung (19) des Kniehebels (8) über den Betätigungsarm (12) hinaussteht.
8. Überstromschutzschalter nach Anspruch 7,
dadurch gekennzeichnet, daß die Anschlagseite des Anschlagvorsprunges (18) als konvexe Gleitstufe (20) ausgebildet ist.
9. Überstromschutzschalter nach einem oder mehreren der vorhergehenden Ansprüche,
dadurch gekennzeichnet, daß die Anschlagfläche des Anschlagarmes (16) des Signalkontakthebels (15) schräg in Richtung auf die Hauptkontakte (5) geneigt in die Hauptschaltkammer (17) ragt.
10. Überstromschutzschalter nach Anspruch 9,
dadurch gekennzeichnet, daß die Anschlagfläche des Anschlagarmes (16) mit der Mittellängsachse (14) des Isoliergehäuses (3) einen sich in Richtung auf die Hauptkontakte (5) schließenden Winkel um 450 bildet.
11. Überstromschutzschalter nach einem oder mehreren der vorhergehenden Ansprüche,
dadurch gekennzeichnet, daß in Streckstellung des Kniehebels (8) der Anschlagvorsprung (18) den Signalkontakthebel (15) gegen den Schließdruck der Kontaktfeder (24) auslenkend derart an der Anschlagfläche des Anschlagarmes (16) anliegt, daß die Kraftwirkungslinie (21) des vom Anschlagarm (16) auf den Anschlagvor- sprung (18) ausgeübten Reaktionsdruckes durch das betätigungsseitige Drehgelenk (10) des Betätigungsarmes (12) verläuft.
EP85108334A 1984-08-03 1985-07-05 Ein- oder mehrpoliger Überstromschutzschalter mit integrierter Signalkontaktstelle Expired - Lifetime EP0172374B1 (de)

Applications Claiming Priority (3)

Application Number Priority Date Filing Date Title
DE3428637 1984-08-03
DE8423098U DE8423098U1 (de) 1984-08-03 1984-08-03 Ein- oder mehrpoliger Überstromschutzschalter mit integrierter Signalkontaktstelle
DE3428637A DE3428637C1 (de) 1984-08-03 1984-08-03 Ein- oder mehrpoliger UEberstromschutzschalter mit integrierter Signalkontaktstelle

Publications (3)

Publication Number Publication Date
EP0172374A2 true EP0172374A2 (de) 1986-02-26
EP0172374A3 EP0172374A3 (en) 1987-09-16
EP0172374B1 EP0172374B1 (de) 1990-04-18

Family

ID=25823544

Family Applications (1)

Application Number Title Priority Date Filing Date
EP85108334A Expired - Lifetime EP0172374B1 (de) 1984-08-03 1985-07-05 Ein- oder mehrpoliger Überstromschutzschalter mit integrierter Signalkontaktstelle

Country Status (3)

Country Link
US (1) US4612528A (de)
EP (1) EP0172374B1 (de)
DE (2) DE3428637C1 (de)

Cited By (1)

* Cited by examiner, † Cited by third party
Publication number Priority date Publication date Assignee Title
EP0434338A3 (en) * 1989-12-19 1991-12-27 Texas Instruments Incorporated Circuit breaker with auxiliary status indicating switch

Families Citing this family (6)

* Cited by examiner, † Cited by third party
Publication number Priority date Publication date Assignee Title
US4837545A (en) * 1987-04-02 1989-06-06 Texas Instruments Incorporated Miniature circuit breaker with improved longevity
FR2679698B1 (fr) * 1991-07-25 1995-03-17 Sextant Avionique Dispositif de signalisation de declenchement d'un disjoncteur.
US6542061B2 (en) * 2001-04-16 2003-04-01 Cathy D. Santa Cruz Indicator light for use in combination with an electrical circuit protector or fuse
KR101759601B1 (ko) * 2015-12-28 2017-07-31 엘에스산전 주식회사 기중 차단기용 지연시간 발생장치
EP3455869B1 (de) 2016-05-11 2023-08-23 Safran Electrical & Power Schutzschalter mit pressfassung
CN109686625B (zh) * 2018-12-28 2024-05-07 浙江正泰电器股份有限公司 小型断路器

Family Cites Families (11)

* Cited by examiner, † Cited by third party
Publication number Priority date Publication date Assignee Title
US2270727A (en) * 1939-06-09 1942-01-20 Cutler Hammer Inc Electrical contact
DE875681C (de) * 1942-03-17 1953-05-04 Siemens Ag Selbstschalter mit Handschaltung und UEberstromausloesung
BE449931A (de) * 1942-03-17
DE1061418B (de) * 1956-09-15 1959-07-16 Siemens Ag Elektrischer, mit Kippbetaetigungsgriff versehener Schalter, insbesondere Leitungsschutzschalter
US3593235A (en) * 1969-12-02 1971-07-13 Heinemann Electric Co Linearly operated circuit breaker
DE7009018U (de) * 1970-03-12 1970-06-18 Bbc Brown Boveri & Cie Installationsselbstschalter mit hilfskontakt.
US3602852A (en) * 1970-06-05 1971-08-31 Wood Electric Corp Case assembly for circuit breakers
GB1326186A (en) * 1970-10-01 1973-08-08 Heinemann Electric Co Circuit breaker with on off and trip indication
DE2123765B1 (de) * 1971-05-13 1972-05-31 Ellenberger & Poensgen Dr]ckknopfbet[tigter ]berstromschalter
GB1437790A (de) * 1973-04-05 1976-06-03
US4330772A (en) * 1980-05-02 1982-05-18 Eaton Corporation Pushbutton circuit breaker switch

Cited By (1)

* Cited by examiner, † Cited by third party
Publication number Priority date Publication date Assignee Title
EP0434338A3 (en) * 1989-12-19 1991-12-27 Texas Instruments Incorporated Circuit breaker with auxiliary status indicating switch

Also Published As

Publication number Publication date
EP0172374A3 (en) 1987-09-16
US4612528A (en) 1986-09-16
DE3428637C1 (de) 1985-11-21
DE8423098U1 (de) 1986-08-21
EP0172374B1 (de) 1990-04-18

Similar Documents

Publication Publication Date Title
EP0680065B1 (de) Überlast-Schutzschalter
DE670790C (de) Thermisch wirkender Selbstschalter
EP0222181B1 (de) Überstromschutzschalter
EP0111662A1 (de) Elektrischer Schalter
DE3105774C2 (de)
DE7321781U (de) Mehrphasenrelais zum Steuern von Schaltschutzen
EP0172374B1 (de) Ein- oder mehrpoliger Überstromschutzschalter mit integrierter Signalkontaktstelle
DE3727356A1 (de) Elektrisches schaltgeraet
EP0391086A1 (de) Druckknopfbetätigter Ueberstromschutzschalter
DE2804647C2 (de) Elektrischer Dreiphasen-Überlastschalter
EP0299291B1 (de) Leitungsschutzschalter
DE10216439A1 (de) Hilfsschalter
DE69509919T2 (de) Interface-verbindung für eine auslöseeinheit eines leistungsschalters
CH620791A5 (de)
DE19703977C1 (de) Schaltgerät mit Schnelleinschaltung
EP0279363A2 (de) Fehlerstromschutzschalter
EP0849759B1 (de) Installationsschaltgerät
DE2314332A1 (de) Schnappschalter
DE3038511A1 (de) Ueberstromschutzschalter
EP0147629A1 (de) Schutzschalter
WO2000067275A1 (de) Schutzschalteinrichtung für mehrpolige auslösung
EP1037238B1 (de) Überstromschutzschalter
CH634689A5 (de) Leitungsschutzschalter in flachbauweise mit elektromagnetischer, thermischer und manueller ausloesung.
EP0851449B1 (de) Installationsschaltgerät
EP0114245A1 (de) Verfahren zum Absichern eines abgetrennten Niederspannungsnetzteiles und Schalteinrichtung zur Durchführung des Verfahrens

Legal Events

Date Code Title Description
PUAI Public reference made under article 153(3) epc to a published international application that has entered the european phase

Free format text: ORIGINAL CODE: 0009012

AK Designated contracting states

Designated state(s): CH DE FR GB IT LI SE

ITCL It: translation for ep claims filed

Representative=s name: RICCARDI SERGIO & CO.

EL Fr: translation of claims filed
PUAL Search report despatched

Free format text: ORIGINAL CODE: 0009013

AK Designated contracting states

Kind code of ref document: A3

Designated state(s): CH DE FR GB IT LI SE

17P Request for examination filed

Effective date: 19871029

17Q First examination report despatched

Effective date: 19891002

GRAA (expected) grant

Free format text: ORIGINAL CODE: 0009210

AK Designated contracting states

Kind code of ref document: B1

Designated state(s): CH DE FR GB IT LI SE

REF Corresponds to:

Ref document number: 3577249

Country of ref document: DE

Date of ref document: 19900523

GBT Gb: translation of ep patent filed (gb section 77(6)(a)/1977)
ITF It: translation for a ep patent filed
ET Fr: translation filed
PLBE No opposition filed within time limit

Free format text: ORIGINAL CODE: 0009261

STAA Information on the status of an ep patent application or granted ep patent

Free format text: STATUS: NO OPPOSITION FILED WITHIN TIME LIMIT

26N No opposition filed
ITTA It: last paid annual fee
EAL Se: european patent in force in sweden

Ref document number: 85108334.5

PGFP Annual fee paid to national office [announced via postgrant information from national office to epo]

Ref country code: GB

Payment date: 20010612

Year of fee payment: 17

PGFP Annual fee paid to national office [announced via postgrant information from national office to epo]

Ref country code: FR

Payment date: 20010717

Year of fee payment: 17

PGFP Annual fee paid to national office [announced via postgrant information from national office to epo]

Ref country code: SE

Payment date: 20010723

Year of fee payment: 17

Ref country code: CH

Payment date: 20010723

Year of fee payment: 17

REG Reference to a national code

Ref country code: GB

Ref legal event code: IF02

PG25 Lapsed in a contracting state [announced via postgrant information from national office to epo]

Ref country code: GB

Free format text: LAPSE BECAUSE OF NON-PAYMENT OF DUE FEES

Effective date: 20020705

PG25 Lapsed in a contracting state [announced via postgrant information from national office to epo]

Ref country code: SE

Free format text: LAPSE BECAUSE OF NON-PAYMENT OF DUE FEES

Effective date: 20020706

PG25 Lapsed in a contracting state [announced via postgrant information from national office to epo]

Ref country code: LI

Free format text: LAPSE BECAUSE OF NON-PAYMENT OF DUE FEES

Effective date: 20020731

Ref country code: CH

Free format text: LAPSE BECAUSE OF NON-PAYMENT OF DUE FEES

Effective date: 20020731

GBPC Gb: european patent ceased through non-payment of renewal fee

Effective date: 20020705

EUG Se: european patent has lapsed
REG Reference to a national code

Ref country code: CH

Ref legal event code: PL

PG25 Lapsed in a contracting state [announced via postgrant information from national office to epo]

Ref country code: FR

Free format text: LAPSE BECAUSE OF NON-PAYMENT OF DUE FEES

Effective date: 20030331

REG Reference to a national code

Ref country code: FR

Ref legal event code: ST

PGFP Annual fee paid to national office [announced via postgrant information from national office to epo]

Ref country code: DE

Payment date: 20040923

Year of fee payment: 20