EP0103693A2 - Verbindung zweier Faserverbände, Verfahren zur Erzeugung der Verbindung und Vorrichtung zur Ausführung des Verfahrens - Google Patents

Verbindung zweier Faserverbände, Verfahren zur Erzeugung der Verbindung und Vorrichtung zur Ausführung des Verfahrens Download PDF

Info

Publication number
EP0103693A2
EP0103693A2 EP83106844A EP83106844A EP0103693A2 EP 0103693 A2 EP0103693 A2 EP 0103693A2 EP 83106844 A EP83106844 A EP 83106844A EP 83106844 A EP83106844 A EP 83106844A EP 0103693 A2 EP0103693 A2 EP 0103693A2
Authority
EP
European Patent Office
Prior art keywords
fiber
fiber structure
connection
clamping device
wound
Prior art date
Legal status (The legal status is an assumption and is not a legal conclusion. Google has not performed a legal analysis and makes no representation as to the accuracy of the status listed.)
Withdrawn
Application number
EP83106844A
Other languages
English (en)
French (fr)
Inventor
Ernst Felix
Current Assignee (The listed assignees may be inaccurate. Google has not performed a legal analysis and makes no representation or warranty as to the accuracy of the list.)
Zellweger Uster AG
Original Assignee
Zellweger Uster AG
Priority date (The priority date is an assumption and is not a legal conclusion. Google has not performed a legal analysis and makes no representation as to the accuracy of the date listed.)
Filing date
Publication date
Application filed by Zellweger Uster AG filed Critical Zellweger Uster AG
Publication of EP0103693A2 publication Critical patent/EP0103693A2/de
Withdrawn legal-status Critical Current

Links

Images

Classifications

    • BPERFORMING OPERATIONS; TRANSPORTING
    • B65CONVEYING; PACKING; STORING; HANDLING THIN OR FILAMENTARY MATERIAL
    • B65HHANDLING THIN OR FILAMENTARY MATERIAL, e.g. SHEETS, WEBS, CABLES
    • B65H69/00Methods of, or devices for, interconnecting successive lengths of material; Knot-tying devices ;Control of the correct working of the interconnecting device
    • B65H69/06Methods of, or devices for, interconnecting successive lengths of material; Knot-tying devices ;Control of the correct working of the interconnecting device by splicing
    • BPERFORMING OPERATIONS; TRANSPORTING
    • B65CONVEYING; PACKING; STORING; HANDLING THIN OR FILAMENTARY MATERIAL
    • B65HHANDLING THIN OR FILAMENTARY MATERIAL, e.g. SHEETS, WEBS, CABLES
    • B65H2701/00Handled material; Storage means
    • B65H2701/30Handled filamentary material
    • B65H2701/31Textiles threads or artificial strands of filaments

Definitions

  • a disadvantage of known splice connections is that it proves difficult to achieve a reproducibility that is sufficiently the same for practical requirements in a wide range of applications.
  • the invention is based on the general idea of a solution to achieve the connection of the two fiber bundles instead of by splicing through a tight, force-locking mutual winding around the two fiber bundles and fixing the winding.
  • the task is solved by the measures set out in the claims.
  • Fig. 1 shows schematically the principle of the invention based on a first fiber structure 1 and a second Faser concernedes2in a compound 3.
  • the compound 3, is a substantially symmetrical to a virtual center Z structure, wherein over a first portion L 1 of the length L of the Connection 3 is part of the first fiber structure 1 around the second fiber structure 2 is wound and in a second part L 2 of the length L of the connection 3 a part of the second fiber structure 2 is wound around the first fiber structure 1.
  • the fiber beards 6 and 8 at least partially establish a non-positive connection with individual fibers emerging from the respective other fiber structure that is wrapped around each other.
  • connection 3 * shows an advantageous further embodiment of the invention as connection 3 * .
  • central zone 4 is practically suppressed, namely that fiber bundles 1 and 2 essentially only face each other up to center Z in their original cross-section and then the first and second outlet zones 5 and 7 join them.
  • the fiber beard 6 of the first fiber structure 1 is around the second fiber structure 2 wound and in the second outlet zone 7 of the fiber beard 8 of the second fiber structure 2 wound around the first fiber structure 1.
  • connection 3 * it is essential that at least in a part of the outlet zones 5 and 7 individual fibers from the respective fiber strands 6 and 8 are non-positively connected to individual fibers emerging from the respective wound other fiber sliver.
  • the non-positive connection is achieved to a sufficient extent by the dissolution of the fiber associations 1 and 2 into fiber beards 6 and 8 and by the winding which takes place under tension and shear motion.
  • a connection 3 * according to FIG. 2 is characterized by special suppleness, flexibility, short length L * and a good, unobtrusive appearance, with sufficient strength being achieved.
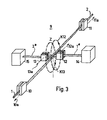
  • FIG. 3 shows a schematic, perspective representation of the principle of a device for producing the connection and a first phase in the production of the connection.
  • a connection 3 according to the invention is produced by a sequence of process steps. First, the fiber bundles 1 and 2 to be connected are guided against each other from the opposite direction over a small overlap in the area of a still virtual center Z of the intended connection 3 and then guided away from the other fiber bundle in a different direction and initially held in the course described .
  • the parts of the two fiber bundles to be connected that are led away are then limited in length by separating their free ends, such that a fiber beard is formed on each part that is led away.
  • the two parts that are led away are wound around the other fiber structure in the opposite direction of rotation or direction of rotation.
  • the rotational movement around the respective other fiber structure is any taken away part of a movement relative to the other fiber bundle issued as a thrust movement in the direction of the overlap area p ung the fed fiber associations, such that the pushing movement is away directed to the first taken away part from the center Z and the thrust motion on the second part is also directed away from the center Z, but runs opposite to the first pushing movement.
  • connection 3 in which the circulation of the parts taken away against the self-twist has been selected, will often result in an inconspicuous appearance compared to the normal fiber structure image.
  • the device 9 has a first thread clamp 10 for receiving the first fiber structure 1 and a second thread clamp 11 for the second fiber structure 2.
  • the first fiber structure 1 is guided from the first thread clamp 10 to a third thread clamp 12 adjacent to the virtual center Z and held under tension.
  • the second fiber structure 2 coming from the opposite direction is also passed through a fourth thread clamp 13 and held under tension.
  • the third thread clamp 12 is movably mounted in such a way that it can execute a rotary movement or a circular movement encircling the second fiber structure 2, as symbolically indicated by the circular path K12.
  • the fourth thread clamp 13 is also movably mounted, in such a way that it can execute a rotary movement or circular movement encircling the first fiber structure 1, as symbolically indicated by the circular path K13.
  • the circular paths K12 and K13 run in parallel planes, but are directed in opposite directions.
  • the guided away part 1 * of the first fiber structure is picked up by a first thread dissolving device 14.
  • the part 2 * of the second fiber structure 2 that is led away is received by a second thread dissolving device 15.
  • the second thread clamp 12 can also be displaced in a direction 12a along the supplied second fiber structure 2.
  • the third thread clamp 13 can also be displaced in a direction 13a along the supplied first fiber structure 1.
  • the first thread clamp 10 and the second thread clamp 11 can also be mounted displaceably, preferably in the direction of the supplied fiber associations 1 or 2, but directed away from the center Z, that is to say in the directions 10a or 11a.
  • the attachment to the fiber beard 6 or 8, preferably up to approximately the virtual center Z, are drawn.
  • connection 3 or 3 * The principle of operation for forming a connection 3 or 3 * was explained above with reference to FIG. 3. Individual method steps are now explained in more detail with the aid of further figures.
  • Thread opening devices are known. They can also be designed as vortex-forming suction nozzles.
  • the thread dissolving devices 14 and 15 can also form a fiber beard by fraying and / or untwisting and / or by the action of frictional force.
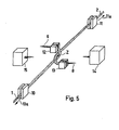
  • FIG. 5 shows how, after the formation of the whiskers 6 and 8 (see FIG. 4), the circumferential movement of the third fiber clamp 12 and the fourth thread clamp 13 in the region of the center Z, the winding of the two fiber bundles 1 and 2 after about half Circulation begins or arises.
  • the clamping devices 12 or 13 can also have their clamping planes in a different direction from that shown in FIG. 3, for example as in FIG. 8.
  • the pushing movement can also be generated automatically, in that the winding automatically comes to rest next to the winding, as is the case it happens when a wire is wound onto a cylinder and is known.
  • the thrust movement can also be generated, for example, by corrugation of the friction surfaces in the clamping jaws and / or by smaller angular deviations of the part 1 * , 2 * of the fiber structure 1 or 2 that is carried away.
  • the angle of FIGS. 6 to 8 shown in FIGS 90 ° is not mandatory, but freely selectable.

Landscapes

  • Treatment Of Fiber Materials (AREA)

Abstract

Die Erfindung betrifft eine Verbindung zweier Faserverbände, ein Verfahren zu ihrer Erzeugung und eine Vorrichtung zur Ausführung des Verfahrens. In der Verbindung umwindet der erste Faserverband den zweiten Faserverband auf einer Länge L1 und der zweite Faserverband umwindet den ersten Faserverband auf einer Länge L2. Diese gegenseitige Umwindung wird durch auf gegenläufige Umlaufbahnen bewegte und verschiebbare Klemmvorrichtungen verursacht. Am Ende jedes Faserverbandes wird ein Faserbart gebildet, welcher die Verbindung jeweils an ihrem Ende fixiert.

Description

  • In der Textilindustrie stellt sich häufig die Aufgabe, zwei Faserverbände miteinander zu verbinden. Sehr häufig wird eine Verbindung mittels eines Knotens verwirklicht. Dafür sind auch automatische Vorrichtungen bekannt. Die Verknotung zweier Faserverbände stellt für viele Fälle eine gute Lösung dar, sie weist jedoch den Nachteil auf, dass die durch den Knoten entstehende Unstetigkeit in der Weiterverarbeitung stören kann.
  • Um diesen Nachteil zu vermeiden sind viele Vorschläge bekannt geworden, die Verknotung durch eine Spleissung zu ersetzen. Auch dafür sind bereits automatische Vorrichtungen bekannt. Bei einer Spleissung durchdringen sich Einzelfasern der beiden Faserverbände wechselseitig, wenigstens annähernd ähnlich wie es beim Verbinden von Tauwerk seit langer Zeit üblich ist.
  • Ein Nachteil bekannter Spleissverbindungen besteht darin, dass es sich als schwierig erweist, in einem weiten Anwendungsbereich eine für praktische Erfordernisse ausreichend gleiche und hohe Reproduzierbarkeit zu erzielen. Wohl gibt es automatisch hergestellte Spleissverbindungen, relativ hoher Güte, insbesondere hoher Reissfestigkeit, es kommt aber für praktische Erfordernisse immer noch zu häufig vor, dass unvermittelt Spleissverbindungen entstehen, deren Reissfestigkeit zu sehr von den aus praktischen Gründen geforderten Minimalwerten abweichen.
  • Der vorliegenden Erfindung liegt daher die Aufgabe zugrunde, eine neuartige Verbindung zweier Faserverbände, ein Verfahren zu ihrer Erzeugung und eine Vorrichtung zur Ausführung des Verfahrens zu schaffen, welche die genannten Nachteile vermeiden. Folgende Zielsetzung wurde der Erfindung zugrunde gelegt:
    • 1. Hohe Reissfestigkeit der Verbindung;
    • 2. Hohe Gleichmässigkeit und Reproduzierbarkeit der erreichten Festigkeitswerte;
    • 3. Hohe Geschmeidigkeit und Biegsamkeit der Verbindung;
    • 4. Stetig auslaufende Endpartien der Verbindung;
    • 5. Hohe Gleichmässigkeit des Querschnitts im Bereich der Verbindung und möglichst geringe Abweichung vom Querschnitt des einzelnen Faserverbandes;
    • 6. Kleiner Zeitbedarf für die Erzeugung der Verbindung;
    • 7. Einfache mechanische Ausführung der Erfindung, um hohe Wirtschaftlichkeit zu erzielen.
  • Der Erfindung liegt der allgemeine Lösungsgedanke zugrunde, die Verbindung der beiden Faserverbände anstatt durch Spleissung durch eine enge, kraftschlüssige gegenseitige Umwindung der beiden Faserverbände und Fixierung der Umwindung zu erreichen. Gelöst wird die Aufgabe durch die in den Ansprüchen niedergelegten Massnahmen.
  • Im folgenden wird die Erfindung anhand der beiliegenden Zeichnung beispielsweise erläutert. Dabei zeigt:
    • Fig. 1 schematisch das Prinzip einer Verbindung nach der Erfindung;
    • Fig. 2 eine besonders vorteilhafte weitere Ausgestaltung der Erfindung;
    • Fig. 3 eine schematische perspektivische Darstellung des Prinzips einer Vorrichtung zur Erzeugung der Verbindung und eine erste Phase in der Erzeugung der Verbindung;
    • Fig. 4 eine zweite Phase in der Erzeugung der Verbindung;
    • Fig. 5 eine dritte Phase in der Erzeugung der Verbindung;
    • Fig. 6 eine vierte Phase in der Erzeugung der Verbindung;
    • Fig. 7 eine vorteilhafte weitere Ausgestaltung der Vorrichtung nach Fig. 3;
    • Fig. 8 eine vorteilhafte weitere Ausgestalung der Vorrichtung nach Fig. 7.
  • In allen Figuren sind sich entsprechende Teile mit gleichen Bezugszeichen versehen.
  • Die Figuren sind nicht massstäblich gezeichnet.
  • Die Fig. 1 zeigt schematisch das Prinzip der Erfindung anhand eines ersten Faserverbandes 1 und eines zweiten Faserverbandes2in einer Verbindung 3. Die Verbindung 3 weist einen im wesentlichen zu einem virtuellen Zentrum Z symmetrischen Aufbau dar, wobei über einen ersten Teil L1 der Länge L der Verbindung 3 ein Teil des ersten Faserverbandes 1 um den zweiten Faserverband 2 gewunden ist und in einem zweiten Teil L2 der Länge L der Verbindung 3 ein Teil des zweiten Faserverbandes 2 um den ersten Faserverband 1 gewunden ist.
  • Die Fig. 1 stellt auch verschiedene Zonen einer solchen Verbindung 3 dar. Bei einer solchen Verbindung 3 erkennt man drei Zonen.
    • 1. Eine zentrale Zone 4, in welcher die beiden Faserverbände 1 und 2 innig miteinander verwunden sind;
    • 2. eine erste Auslaufzone 5, in welcher der auslaufende Teil des ersten Faserverbandes 1, als Faserbart 6 ausgebildet, eng um den Faserverband 2 gewunden ist und
    • 3. eine zweite Auslaufzone 7, in welcher der auslaufende Teil des zweiten Faserverbandes 2, als Faserbart 8 ausgebildet, eng um den ersten Faserverband 1 gewunden ist.
  • Die Faserbärte 6 und 8, insbesondere deren äussere Partien treten dabei mindestens teilweise eine kraftschlüssige Verbindung mit aus dem jeweils umschlungenen anderen Faserverband austretenden Einzelfasern ein.
  • Im Interesse einer hohen Reissfestigkeit ist es vorteilhaft, die Wickelrichtung der Aufwindung der beiden Faserverbände aufeinander gleichsinnig mit deren eigenem Drall zu wählen. Eine gegensinnige Aufwindung kann hingegen, beispielsweise vorteilhaft sein, wenn bei bestimmten Materialien das Aussehen der Verbindung möglichst unauffällig sein soll.
  • Die Fig. 2 zeigt eine vorteilhafte weitere Ausgestaltung der Erfindung als Verbindung 3*.
  • Bei der Verbindung 3* ist die zentrale Zone 4 praktisch unterdrückt, indem sich nämlich die Faserverbände 1 und 2 im wesentlichen nur noch bis zum Zentrum Z in ihrem ursprünglichen Querschnitt gegenüberstehen und sich im Anschluss daran die erste und die zweite Auslaufzone 5 und 7 anschliessen. Dabei ist, wie in Fig. 1 bereits dargestellt, in der ersten Auslaufzone 5 der Faserbart 6 des ersten Faserverbandes 1 um den zweiten Faserverband 2 gewunden und in der zweiten Auslaufzone 7 der Faserbart 8 des zweiten Faserverbandes 2 um den ersten Faserverband 1 gewunden.
  • Auch bei dieser Verbindung 3* ist es wesentlich, dass sich mindestens in einem Teil der Auslaufzonen 5 und 7 Einzelfasern aus den jeweiligen Faserbärten 6 und 8 mit aus dem jeweils umwundenen anderen Faserband austretenden Einzelfasern kraftschlüssig verbinden. Die kraftschlüssige Verbindung kommt durch die Auflösung der Faserverbände 1 und 2 in Faserbärte 6 und 8 und durch die unter Zugspannung und Schubbewegung erfolgende Aufwindung in ausreichendem Masse zustande.
  • Eine Verbindung 3* nach Fig. 2 zeichnet sich durch besondere Geschmeidigkeit, Biegsamkeit, geringe Länge L* und gutes, unauffälliges Aussehen aus, wobei eine ausreichende Festigkeit erreicht wird.
  • Die Fig. 3 zeigt eine schematische, perspektivische Darstellung des Prinzips einer Vorrichtung zur Erzeugung der Verbindung und eine erste Phase in der Erzeugung der Verbindung.
  • Eine Verbindung 3 gemäss der Erfindung wird durch eine Folge von Verfahrensschritten erzeugt. Zunächst werden die miteinander zu verbindenden Faserverbände 1 und 2 aus entgegengesetzter Richtung über eine kleine Ueberlappung im Bereich eines noch virtuellen Zentrums Z der beabsichtigten Verbindung 3 hinaus, gegeneinander geführt und danach, unter abweichender Richtung vom jeweils anderen Faserverband weggeführt und in diesem beschriebenen Verlauf zunächst gehalten.
  • Anschliessend werden die weggeführten Teile der beiden zu verbindenden Faserverbände durch Abtrennen ihrer freien Enden in ihrer Länge begrenzt, derart, dass sich an jedem weggeführten Teil je ein Faserbart bildet.
  • Sodann werden die beiden weggeführten Teile unter entgegengesetzter Drehrichtung oder Umlaufrichtung um den jeweils anderen Faserverband gewunden. Ausser der Umlaufbewegung um den jeweils anderen Faserverband wird jedem weggeführten Teil auch eine Relativbewegung zum anderen Faserverband erteilt als Schubbewegung in Richtung der Ueberlappung der zugeführten Faserverbände, derart, dass die Schubbewegung auf den ersten weggeführten Teil vom Zentrum Z hinweggerichtet ist und die Schubbewegung auf den zweiten weggeführten Teil ebenfalls vom Zentrum Z hinweggerichtet ist, aber entgegengesetzt zur ersten Schubbewegung verläuft.
  • Durch die Kombination der genannten zueinander gegenläufigen Dreh-,beziehungsweise Umlaufbewegungen und die in entgegengesetzter Richtung voneinander erfolgenden Schubbewegungen entsteht ein etwa gewindeförmiger Verlauf der gegenseitigen Umwindung der beiden Faserverbände 1 in der sich bildenden Verbindung 3.
  • Die Drehrichtung, beziehungsweise Umlaufrichtung, der weggeführten Teile der Faserverbände um den jeweils anderen Faserverband relativ zum eigenen Drall der Faserverbände 1 und 2 selbst hat einen Einfluss sowohl auf die erreichbare Reissfestigkeit der entstehenden Verbindung 3, als auch auf deren Aussehen. Im allgemeinen gilt, dass gleichsinniger Umlauf, also im Sinn des Eigendralls, etwas höhere Reissfestigkeit ergibt als gegenläufiger Umlauf. Hingegen wird eine Verbindung 3, bei welcher der Umlauf der weggeführten Teile entgegen dem Eigendrall gewählt worden ist,oft ein unauffälligeres Aussehen gegenüber dem normalen Faserverbandbild ergeben.
  • Um die genannten Verfahrensschritte ausführen zu können, weist die Vorrichtung 9 gemäss Fig. 3 eine erste Fadenklemme 10 für die Aufnahme des ersten Faserverbandes 1 und eine zweite Fadenklemme 11 für den zweiten Faserverband 2 auf. Der erste Faserverband 1 wird von der ersten Fadenklemme 10 zu einer dritten, dem virtuellen Zentrum Z benachbarten, Fadenklemme 12 geführt und unter Zugspannung gehalten.
  • In entsprechender Weise wird auch der aus der entgegengesetzten Richtung mende komzweite Faserverband 2 durch ein vierte Fadenklemme 13 geführt und unter Zugspannunggehalten.
  • Die dritte Fadenklemme 12 ist bewegbar gelagert, derart, dass sie eine dem zweiten Faserverband 2 umkreisende Drehbewegung, beziehungsweise Umlaufbewegung, wie durch die Kreisbahn K12 symbolisch angedeutet, ausführen kann. In entsprechender Weise ist auch die vierte Fadenklemme 13 bewegbar gelagert, derart, dass sie eine den ersten Faserverband 1 umkreisende Drehbewegung, beziehungsweise Umlaufbewegung, wie durch die Kreisbahn K13 symbolisch angedeutet, ausführen kann.
  • Die Kreisbahnen K12 und K13 verlaufen in parallelen Ebenen, sind jedoch einander entgegengesetzt gerichtet.
  • Der weggeführte Teil 1* des ersten Faserverbandes wird von einer ersten Fadenauflöseeinrichtung 14 aufgenommen. In entsprechender Weise wird der weggeführte Teil 2* des zweiten Faserverbandes 2 von einer zweiten Fadenauflöseeinrichtung 15 aufgenommen.
  • Die zweite Fadenklemme 12 ist auch in einer Richtung 12a längs des zugeführten zweiten Faserverbandes 2 verschiebbar. Die dritte Fadenklemme 13 ist auch in einer Richtung 13a längs des zugeführten ersten Faserverbandes 1 verschiebbar.
  • Auch die erste Fadenklemme 10 und die zweite Fadenklemme 11 können verschiebbar gelagert sein, und zwar vorzugsweise in Richtung der zugeführten Faserverbände 1, beziehungsweise 2, jedoch vom Zentrum Z hinweggerichtet, das heisst in die Richtungen 10a, beziehungsweise lla.
  • Wird die Klemmwirkung der ersten und der zweiten Fadenklemme 10 und 11 kräftiger eingestellt als diejenige der dritten und der vierten Fadenklemme 12 und 13, so kann während oder nach dem Abtrennen der weggeführten Teile 1* und 2* des ersten, beziehungsweise des zweiten Faserverbandes 1 und 2 durch Zugwirkung der in Richtung 10a und 11a bewegten Fadenklemme 10 und 11 der Ansatz zum Faserbart 6, beziehungsweise 8, vorzugsweise bis etwa zum virtuellen Zentrum Z gezogen werden.
  • Durch den anschliessenden Umlauf der dritten Fadenklemme 12, beziehungsweise der vierten Fadenklemme 13 in den Umlaufbahnen K12 und K13 und durch die Schubbewegungen derselben in die Richtungen 12a und 13a bildet sich dann eine Verbindung vom Typ 3* gemäss Fig. 2.
  • Anhand der Fig. 3 wurde im vorstehenden die prinzipielle Arbeitsweise zur Bildung einer Verbindung 3, beziehungsweise 3*, erläutert. Anhand weiterer Figuren werden nun einzelne Verfahrensschritte näher erläutert.
  • Die Fig. 4 zeigt die Bildung der Faserbärte 6, beziehungsweise 8, bei den weggeführten Teilen 1* und 2*.
  • Dies erfolgt durch Aufdrallung mittels der Fadenauflöseeinrichtungen 14 und 15, vorzugsweise unter gleichzeitiger Zugspannung. Fadenauflöseeinrichtungen sind bekannt. Sie können auch als wirbelbildende Saugdüsen ausgeführt sein.
  • Die Fadenauflöseeinrichtungen 14 und 15 können auch durch Ausfransen und/oder Aufdrehen und/oder durch Reibkraftwirkung einen Faserbart bilden.
  • Die Fig. 5 zeigt, wie nach Bildung der Faserbärte 6 und 8, (siehe Fig. 4), durch Umlaufbewegung der dritten Fadenklemme 12 und der vierten Fadenklemme 13 im Bereich des Zentrums Z die Umwindung der beiden Faserverbände 1 und 2 nach etwa einem halben Umlauf beginnt, beziehungsweise entsteht.
  • Wird etwa in dieser Phase der Entstehung der Verbindung zusätzlich eine Schubbewegung der ersten Fadenklemme 10 in Richtung 10a und der zweiten Fadenklemme 11 in Richtung 11a eingeleitet, so gelingt es, wenn die Klemmkraft der Fadenklemme 10 und 11 stärker ist als diejenige der Fadenklemme 12 und 13, die Faserbärte 6 und 8 sukzessive durch diese Fadenklemnen 12 und 13 durchzuziehen, wodurch sich der Beginn des Faserbartes derselben bis etwa zum Zentrum Z bewegt. Das ist die Voraussetzung für die Bildung einer Verbindung 3* nach Fig. 2.
  • Durch weitere Umläufe der dritten Fadenklemme 12 und der vierten Fadenklemme 13 nach Fig. 6 baut sich sodann durch die entstehende etwa. gewindeförmige Umwindung die gewünschte Verbindung 3, beziehungsweise 3* auf, bis schliesslich die Faserbärte 6 und 8 völlig auf die betreffenden Faserverbände 2 und 1 aufgewunden sind.
  • Zur einwandfreien Bildung der Verbindung 3 oder 3* hat es sich als vorteilhaft erwiesen, mindestens während eines Teils der Entstehungszeit der Verbindung auf die zu verbindenden Faserverbände 1 und 2 mittels einer im Bereich des'Zentrums Z angeordneten weiteren Klemmeinrichtung 16 eine Klemmwirkung auszuüben, wie dies anhand der Fig. 7 erkennbar ist.
  • Die Klemmvorrichtungen 12, bzw. 13, können ihre Klemmebenen auch in anderer Richtung aufweisen als in Fig. 3 dargestellt, zum Beispiel wie in Fig. 8. Dadurch kann die Schubbewegung auch selbsttätig erzeugt werden, indem selbsttätig Wicklung neben Wicklung zu liegen kommt, wie es beim Aufwickeln eines Drahtes auf einen Zylinder geschieht und bekannt ist. Die Schubbewegung kann aber auch zum Beispiel durch Riffelung der Reibflächen in den Klemmbacken erzeugt werden und/oder durch kleinere winkelmässige Abweichungen des weggeführten Teiles 1*, 2* des Faserverbandes 1, bzw. 2. Der in den Fig. 6 bis 8 gezeichnete Winkel von ca. 90° ist nämlich.nicht zwingend, sondern frei wählbar.

Claims (22)

1. Verbindung zweier Faserverbände, dadurch gekennzeichnet, dass in einem ersten Teil (L1) der Länge (L) der Verbindung (V) ein Teil eines ersten Faserverbandes (1) um einen zweiten Faserverband (2) gewunden ist und, dass in einem zweiten Teil (L2) der Länge (L) der Verbindung (V) ein Teil des zweiten Faserverbandes (2) um den ersten Faserverband gewunden ist, wobei jeweils das Ende eines aufgewundenen Faserverbandes, mindestens teilweise, in seine Einzelfasern aufgelöst ist und dass dieser aufgelöste Teil (6, 8) ebenfalls um den jeweils anderen Faserverband kraftschlüssig gewunden ist.
2. Verbindung nach Anspruch 1, dadurch gekennzeichnet, dass die Wickelrichtung des aufgewundenen Faserverbandes mit dem Drall des Faserverbandes, auf welchen er aufgewunden ist, übereinstimmt.
3. Verbindung nach Anspruch 1, dadurch gekennzeichnet, dass die Wickelrichtung des aufgewundenen Faserverbandes dem Drall des Faserverbandes auf welchen er aufgewunden ist, entgegengesetzt ist.
4. Verbindung nach Anspruch 1, dadurch gekennzeichnet, dass im wesentlichen nur aufgelöste Teile der Faserverbände miteinander verwunden sind.
5. Verbindung nach einem der vorangehenden Ansprüche, dadurch gekennzeichnet, dass mindestens ein Teil der Fasern der aufgelösteπ Enden jedes der Faserverbände in kraftschlüssiger Verbindung mit aus dem jeweils anderen Faserverband heraustretenden Fasern steht.
6. Verfahren zur Erzeugung einer Verbindung nach einem der Ansprüche 1 bis 5, dadurch gekennzeichnet, dass die miteinander zu verbindenden Faserverbände aus entgegengesetzter Richtung über eine kleine Ueberlappung im Bereich eines virtuellen Zentrums der beabsichtigten Verbindung hinaus gegeneinander geführt und nach der Ueberlappung, unter abweichender Richtung vom anderen Faserverband weggeführt und in diesem Verlauf gehalten werden, worauf die beiden weggeführten Teile, in ihrer Länge durch Abtrennen begrenzt werden und in entgegengesetzter Drehrichtung um den anderen Faserverband gewunden werden, wobei den umwindenden Teilen der Faserverbände entgegengesetzte Schubbewegungen erteilt werden, so dass ein etwa gewindeförmiger Verlauf der gegenseitigen Umwindung der Faserverbände entsteht.
7. Verfahren nach Anspruch 6, dadurch gekennzeichnet, dass aus mindestens einem Abschnitt jedes der weggeführten Teile der beiden Faserverbände beim Abtrennen ein Faserbart gebildet wird.
8. Verfahren nach Anspruch 7, dadurch gekennzeichnet, dass jeder weggeführte Teil jedes Faserverbandes und der ihm zugehörige Faserbart, unter Zugspannung stehend, um den jeweils anderen Faserverband gewunden wird.
9. Verfahren nach einem der Ansprüche 6 bis 8, dadurch gekennzeichnet, dass an dem weggeführten Teil jedes Faserverbandes durch Drallauflösung und Auseinanderziehen ein Faserbart gebildet wird.
10. Verfahren nach einem der Ansprüche 6 bis 9, dadurch gekennzeichnet, dass die Bildung des Faserbartes durch Ausfransen und/oder Aufdrehen unter Reibkraftwirkung erfolgt.
11. Verfahren nach einem der Ansprüche 6 bis 10, dadurch gekennzeichnet, dass die Faserbartbildung durch eine, eine Entdrallung und/oder Zugkraft verursachende Saugwirkung zustande kommt.
12. Verfahren nach einem der Ansprüche 6 bis 11, dadurch gekennzeichnet, dass mindestens während eines Teils der Entstehungszeit der Verbindung die Faserverbände im Bereich des virtuellen Zentrums der Verbindung unter Klemmwirkung gehalten werden.
13. Verfahren nach einem der Ansprüche 6 bis 12, dadurch gekennzeichnet, dass der in Längsrichtung verlaufende Teil jedes Faserverbandes unter Zugspannung gehalten ist.
14. Verfahren nach einem der Ansprüche 6 bis 13, dadurch gekennzeichnet, dass der weggeführte Teil jedes Faserverbandes während seiner Aufwindung um den anderen Faserverband unter Zugspannung gehalten ist.
15. Verfahren nach Anspruch 13 oder 14, dadurch gekennzeichnet, dass die Zugspannung durch Klemmwirkung auf den Faserverband erzeugt wird.
16. Verfahren nach einem der Ansprüche 6 bis 15, dadurch gekennzeichnet, dass während der Bildung der Verbindung die Faserverbände mindestens zeitweise soweit auseinandergezogen werden, dass im wesentlichen nur aufgelöste Teile jedes der Faserverbände umeinander gewunden werden.
17. Vorrichtung zur Ausführung des Verfahrens zur Erzeugung einer Verbindung zweier Faserverbände, gekennzeichnet durch eine erste Klemmvorrichtung (10) zur Aufnahme des ersten Faserverbandes (1) und eine zweite Klemmvorrichtung (11) zur Aufnahme des zweiten Faserverbandes (2), eine dem virtuellen Zentrum (Z) der entstehenden Verbindung (3, 3*) benachbarte dritte Klemmvorrichtung (12) für die Aufnahme des weggeführten Teils (1*) des ersten Faserverbandes (1) und eine ebenfalls dem virtuellen Zentrum (Z) benachbarte vierte Klemmvorrichtung (13) für die Aufnahme des weggeführten Teils (2*) des zweiten Faserverbandes, sowie durch eine der dritten Klemmvorrichtung (12) zugeordnete erste Fadenauflösevorrichtung (14) für die Aufnahme des freien Endes des ersten Faserverbandes (1) und eine zweite Fadenauflösevorrichtung (15) für die Aufnahme des freien Endes des zweiten Faserverbandes (2), wobei die dritte Klemmvorrichtung (12) derart bewegbar ist, dass sie eine Umlaufbahn (K12) um den zweiten Faserverband (2) beschreibt, während die vierte Klemmvorrichtung (13) derart bewegbar ist, dass sie eine Umlaufbahn (K13) um den ersten Faserverband (1) beschreibt, wobei die umlaufenden Bewegungen (K12; K13) gegenläufig zueinder sind.
18. Vorrichtung nach Anspruch 17, dadurch gekennzeichnet, dass die Klemmwirkung der ersten Klemmvorrichtung (10) auf den ersten Faserverband (1) stärker ist, als diejenige der dritten Klemmvorrichtung (12) und dass ebenso die Klemmwirkung der zweiten Klemmvorrichtung (11) auf den zweiten Faserverband (2) stärker ist als diejenige der vierten Klemmvorrichtung (13) und dass der Abstand zwischen der ersten und zweiten Klemmvorrichtung (10; 11) variabel ist.
19. Vorrichtung nach Anspruch 17 oder 18, dadurch gekennzeichnet, dass die Fadenauflösevorrichtungen (14; 15) in der dem Drall der Faserverbände entgegengesetzten Richtung rotierbar und/oder beweglich gelagert sind, derart, dass sie mindestens während ihrer Drehbewegung eine Zugkraft auf den eingeführten Faserverband ausüben.
20. Vorrichtung nach einem der Ansprüche 17 bis 19, dadurch gekennzeichnet, dass Führungsmittel vorgesehen sind zur Verschiebung der dritten Klemmvorrichtung (12) und der vierten Klemmvorrichtung (13), beziehungsweise deren Umlaufbahnen (K12; K13), in entgegengesetzter Richtung (12a; 13a).
21. Vorrichtung nach einem der Ansprüche 17 bis 20, dadurch gekennzeichnet, dass die Fadenauflösevorrichtungen (14; 15) als Saugdüsen ausgebildet sind.
22. Vorrichtung nach einem der Ansprüche 17 bis 21, dadurch gekennzeichnet, dass die Faserverbände (1; 2) durch eine im Zentrum (Z) angeordnete fünfte Klemmvorrichtung (16) temporär einklemmbar sind.
EP83106844A 1982-09-20 1983-07-12 Verbindung zweier Faserverbände, Verfahren zur Erzeugung der Verbindung und Vorrichtung zur Ausführung des Verfahrens Withdrawn EP0103693A2 (de)

Applications Claiming Priority (2)

Application Number Priority Date Filing Date Title
CH5532/82 1982-09-20
CH553282 1982-09-20

Publications (1)

Publication Number Publication Date
EP0103693A2 true EP0103693A2 (de) 1984-03-28

Family

ID=4295195

Family Applications (1)

Application Number Title Priority Date Filing Date
EP83106844A Withdrawn EP0103693A2 (de) 1982-09-20 1983-07-12 Verbindung zweier Faserverbände, Verfahren zur Erzeugung der Verbindung und Vorrichtung zur Ausführung des Verfahrens

Country Status (2)

Country Link
EP (1) EP0103693A2 (de)
JP (1) JPS5959972A (de)

Cited By (1)

* Cited by examiner, † Cited by third party
Publication number Priority date Publication date Assignee Title
EP0123329A1 (de) * 1983-03-28 1984-10-31 Officine Savio S.p.A. Spleissverfahren für Fäden

Families Citing this family (1)

* Cited by examiner, † Cited by third party
Publication number Priority date Publication date Assignee Title
JP4488384B1 (ja) * 2009-10-30 2010-06-23 美也子 岡本 糸結び製造方法及びその装置

Cited By (1)

* Cited by examiner, † Cited by third party
Publication number Priority date Publication date Assignee Title
EP0123329A1 (de) * 1983-03-28 1984-10-31 Officine Savio S.p.A. Spleissverfahren für Fäden

Also Published As

Publication number Publication date
JPS5959972A (ja) 1984-04-05

Similar Documents

Publication Publication Date Title
EP1453751B1 (de) Verfahren und vorrichtung zur verbindung von mehreren fäden, insbesondere von fadenenden
DE2321354B2 (de) Verfahren und Vorrichtung zur Herstellung von Mischgarnen
DE3148940A1 (de) Verfahren zum herstellen eines umwindegarnes, das umwindegarn und eine vorrichtung zum durchfuehren des verfahrens
DE2746290A1 (de) Verfahren zur wicklung von faserverstaerkten verbundkoerpern
CH660723A5 (de) Pneumatische garnspleisseinrichtung zum spleissen von gesponnenen garnen.
DE3717921C2 (de)
DE2942385C2 (de) Verbindung von langgestreckten Faserverbänden, Verfahren zur Erzeugung einer solchen Verbindung und Vorrichtung zum Durchführen dieses Verfahrens
DE3345170A1 (de) Verfahren und vorrichtung zur herstellung von seelengarn aus einem faserbaendchen
EP0103693A2 (de) Verbindung zweier Faserverbände, Verfahren zur Erzeugung der Verbindung und Vorrichtung zur Ausführung des Verfahrens
DE3104472C2 (de) Verfahren zur Verminderung abrupten Querschnittverlaufs bei einer durch Spleißen hergestellten Verbindung von Faserverbänden
DE4038982C2 (de) Verfahren und Vorrichtung zum Verbinden von Fasersträngen
DE102013016628A1 (de) Spinndüse zum Extrudieren von selbstkräuselnden Holfasern sowie selbstkräuselnde Hohlfasern und Verfahren zum Herstellen von selbstkräuselnden Hohlfasern
DE3243410C2 (de) Verfahren zur Herstellung einer Verbindung zwischen zwei Enden eines Zwirns
DE1805352A1 (de) Verfahren und Vorrichtung zum Verbinden von textilen Fadenstraengen und -baendern
DE3227401C2 (de) Verfahren zum Spinnen eines Garnes aus zwei unterschiedlichen Stapelfaser-Komponenten
DE4240728C2 (de) Verfahren zum knotenlosen Verbinden von Textilfäden bzw. Garnen mittels Druckluft und Vorrichtung zur Durchführung des Verfahrens
DE69210587T2 (de) Verfahren und vorrichtung zum verbinden von zwei fadenenden
DE10024670B4 (de) Verfahren zur Herstellung eines Garnes
DE1444083C3 (de) Schmelz gesponnenes, synthetisches, thermoplastisches, orientiertes und im wesentlichen verzwirnungsfreies Mehr fadengarn
WO1985000393A1 (fr) Procede de fabrication de fil
DE3012929C2 (de) Vorrichtung zum Herstellen eines aus mehreren Garnkomponenten bestehenden Effektfadens
DE2660058C2 (de) Vorrichtung zum Spinnen von Fasern zu einem Faden
DE2744586A1 (de) Verfahren zur wicklung von faserverstaerkten verbundkoerpern
AT215334B (de) Verfahren zur Herstellung dünner Garne aus Kokosfasern od. dgl.
DE3603713A1 (de) Verfahren zur herstellung einer lichtwellenleiter enthaltenden bandleitung

Legal Events

Date Code Title Description
PUAI Public reference made under article 153(3) epc to a published international application that has entered the european phase

Free format text: ORIGINAL CODE: 0009012

17P Request for examination filed

Effective date: 19830712

AK Designated contracting states

Designated state(s): BE DE FR GB IT

STAA Information on the status of an ep patent application or granted ep patent

Free format text: STATUS: THE APPLICATION HAS BEEN WITHDRAWN

18W Application withdrawn

Withdrawal date: 19841107

R18W Application withdrawn (corrected)

Effective date: 19841107

RIN1 Information on inventor provided before grant (corrected)

Inventor name: FELIX, ERNST