EP0093347A2 - Vorrichtung für Dacharbeiten - Google Patents

Vorrichtung für Dacharbeiten Download PDF

Info

Publication number
EP0093347A2
EP0093347A2 EP83103947A EP83103947A EP0093347A2 EP 0093347 A2 EP0093347 A2 EP 0093347A2 EP 83103947 A EP83103947 A EP 83103947A EP 83103947 A EP83103947 A EP 83103947A EP 0093347 A2 EP0093347 A2 EP 0093347A2
Authority
EP
European Patent Office
Prior art keywords
frame
seat
rollers
arms
support surfaces
Prior art date
Legal status (The legal status is an assumption and is not a legal conclusion. Google has not performed a legal analysis and makes no representation as to the accuracy of the status listed.)
Withdrawn
Application number
EP83103947A
Other languages
English (en)
French (fr)
Other versions
EP0093347A3 (de
Inventor
Wolfgang Zeh
Current Assignee (The listed assignees may be inaccurate. Google has not performed a legal analysis and makes no representation or warranty as to the accuracy of the list.)
ZEH, WOLFGANG
Original Assignee
Individual
Priority date (The priority date is an assumption and is not a legal conclusion. Google has not performed a legal analysis and makes no representation as to the accuracy of the date listed.)
Filing date
Publication date
Application filed by Individual filed Critical Individual
Publication of EP0093347A2 publication Critical patent/EP0093347A2/de
Publication of EP0093347A3 publication Critical patent/EP0093347A3/de
Withdrawn legal-status Critical Current

Links

Images

Classifications

    • EFIXED CONSTRUCTIONS
    • E04BUILDING
    • E04DROOF COVERINGS; SKY-LIGHTS; GUTTERS; ROOF-WORKING TOOLS
    • E04D15/00Apparatus or tools for roof working
    • E04D15/02Apparatus or tools for roof working for roof coverings comprising tiles, shingles, or like roofing elements

Definitions

  • the invention relates to a device for roof work, which in particular should facilitate the work in connection with the application of the ridge pans.
  • a device for roof work which in particular should facilitate the work in connection with the application of the ridge pans.
  • the work must be carried out partly while sitting and partly kneeling, with both roof areas serving as standing or sitting areas.
  • carrying the aids or tools, such as mortar buckets etc. has proven to be difficult and cumbersome.
  • the invention proposes a device which is characterized by a frame which carries a seat, with receptacle fastening or suspension devices for tools or aids on the seat or frame, and also supporting elements for the frame or the seat angled support surfaces.
  • a frame with the seat is placed in the area of the ridge, the support surfaces being supported in each case on the roof plates of the two roof surfaces.
  • the frame forms a seat that makes work much easier. Tools and other aids can simply be attached to the frame or seat and the frame is pushed further as work progresses, preferably backwards, which is easy to carry out due to the support surfaces provided.
  • the support surfaces can be designed, for example, as sliding surfaces or as rollers.
  • the arrangement of caterpillar-like elements is also possible.
  • the support surface on the roof surfaces or the top row of roof tiles is significantly improved, if the support surfaces or rollers are mounted on supports which can be pivoted about axes parallel to one another. As a result, for example, the rollers can each be aligned with the roof surface, it being advisable to use wide rollers or to arrange rollers on both sides of the carrier.
  • arms which are directed obliquely outwards and downwards are attached to the seat or frame, at the ends of which auxiliary arms are directed essentially at right angles and whose lower ends support the support surfaces. This design creates enough space for the ridge pans to be applied.
  • the effective length of the auxiliary arm is adjustable, which can be done, for example, by a pipe guide for the auxiliary arms at the arm ends. This ensures that the distance between the seat and the ridge pan is as small as possible, but that there is always enough space to carry out the work without any disabilities.
  • the rafters of the roof structure are designated by 12, the roof battens fastened thereon by 13 and the roof tiles or roof tiles supported by the roof battens by 14.
  • the ridge tile 15 shown with dash-dotted lines is to be fastened over the uppermost roof panels on both roof sides.
  • the device that facilitates this work consists essentially of the frame 1 on which the seat 2 is arranged.
  • the frame 1 or the seat 2 carry at one end, in particular at the front end, receiving devices 3 which are designed like containers. Small parts, for example nails, can be inserted into these holding devices.
  • the various tools or auxiliary devices can be hung on the suspension devices 4, which are designed like hooks or, as at 4 'project upwards.
  • the frame 1 or the seat 2 is supported by the arms 8, which have 8 pipe guides 10 at their ends.
  • This Rohrriosun g s take the auxiliary arms on the 9th Pins can be inserted into the bores 16 in order to determine the desired position of the auxiliary arms 9 relative to the arms 8.
  • auxiliary arms 9 are arranged at the four corners of the frame 1.
  • the auxiliary arms 9 on both sides are connected by rods 17.
  • the supports 5, which accommodate the axes of the rollers 6, are connected to the rods 17 via the joints with the axes 7.
  • the rollers 5 are provided on both sides of the carrier 5.
  • rollers 6 It is advisable to provide a larger number of rollers 6 in order to be able to use the device even if the roof panels 14 have corrugations, so that a secure displacement along the ridge of the roof is possible. It is advantageous if the rollers 6 are arranged offset on both sides of the carrier 5 by half a center distance. The use of a caterpillar track, which is guided by the rollers 6, is also possible.
  • Locking devices can be provided for the axes 7, but this is not necessary.
  • the training can also be such that the carrier 5 aligns itself automatically in order to provide a good support for the rollers 6.
  • the device can be moved well over the ridge pans 15. With a steeper roof, the effective length of the auxiliary arms 9 will have to be increased accordingly.
  • the operator sits on the seat 2, the legs being on both sides of the ridge.
  • the container-like receiving device is generally located in front of the operator and the device is normally moved in the direction of arrow 18.

Landscapes

  • Engineering & Computer Science (AREA)
  • Architecture (AREA)
  • Civil Engineering (AREA)
  • Structural Engineering (AREA)
  • Tents Or Canopies (AREA)
  • Body Structure For Vehicles (AREA)
  • Agricultural Machines (AREA)

Abstract

Die Vorrichtung besteht aus einem Gestell (1), das einen Sitz trägt und an dem auch Aufnahme-, Befestigungs- oder Aufhängevorrichtungen (3,4) für Werkzeuge oder Hilfsmittel angebracht sind. Das Gestell ist mit parallelen Trägern (5) verbunden, die um zueinander parallele Achsen (7) verschwenkbar sind. An den Trägern sind Rollen (6) gelagert, mit denen sich das Gestell auf den beiden Dachflächen in der Näne des Firstes abstützt. Das Gestell ist hierdurch längs des Firstes verschiebbar.

Description

  • Die Erfindung betrifft eine Vorrichtung für Dacharbeiten, die insbesondere die Arbeit im Zusammenhang mit den Aufbringen der Firstpfannen erleichtern soll. Beim Aufbringen der Firstpfannen, die als Abschluß der Dacndeckung aufgebracht werden, ist es schwierig, Hilfsgestelle oder ähnliche Einrichtungen anzubringen, die die Arbeit erleichtern.
  • Die Arbeiten müssen teilweise im Sitzen, teilweise im Knien durchgeführt werden, wobei beide Dachflächen als Stand- oder Sitzfläche dienen. Insbesondere erweist sich das Mitführen der Hilfsmittel bzw. Werkzeuge, wie Mörtelkübel usw. als schwierig und umständlich.
  • Es ist Aufgabe der Erfindung, eine Vorrichtung für diesen Zweck zu schaffen, durch die das Arbeiten wesentlich erleichtert wird. Um dies zu erreichen schlägt die Erfindung eine Vorrichtung vor, die gekennzeichnet ist durch ein Gestell, das einen Sitz trägt, mit Aufnahme-Befestigungs- oder Aufhängevorrichtungen für Werkzeuge bzw. Hilfsmittel am Sitz oder Gestell, sowie Abstützelementen für das Gestell bzw. den Sitz mit winklig gegeneinander gerichteten Abstützflächen. Ein derartiges Gestell mit dem Sitz wird im Bereich des Firstes aufgesetzt, wobei die Abstützflächen sich jeweils auf den Dachplatten der beiden Dachflächen abstützen. Das Gestell bildet eine Sitzfläche, durch die das Arbeiten wesentlich erleichtert wird. Werkzeuge und andere Hilfsmittel können einfach am Gestell oder am Sitz befestigt werden und das Gestell wird mit Fortschreiten der Arbeiten jeweils weitergeschoben, vorzugsweise nach rückwärts, was wegen der vorgesehenen Abstützflächen leicht durchführbar ist.
  • Die Abstützflächen können beispielsweise als Gleitflächen oder auch als Rollen ausgebildet sein. Auch die Anordnung von raupen ähnlichen Elementen ist möglich.
  • Die Auflage der Abstützflächen auf den Dachflächen bzw. der obersten Reihe der Dachpfannen wird wesentlich verbessert, wenn die Abstützflächen bzw. Rollen an Trägern gelagert sind, die um zueinander parallele Achsen verschwenkbar sind. Dadurch können sich beispielsweise die Rollen jeweils nach der Dachfläche ausrichten, wobei es sich empfiehlt, breite Rollen zu benützen oder auch beidseitig des Trägers Rollen anzuordnen.
  • Bei einer bevorzugten Ausführungsform der Erfindung ist vorgesehen, daß am Sitz bzw. Gestell schräg nach außen und unten gerichtete Arme befestigt sind, an deren Enden im wesentlichen rechtwinklig nach innen und unten gerichtete Hilfsarme angesetzt sind, deren untere Enden die Abstützflächen tragen. Durch diese Bauweise wird ausreichend Raum für das Aufbringen der Firstpfannen geschaffen.
  • Günstig ist es, wenn die wirksame Länge der Hilfsarrne verstellbar ist, was beispielsweise durch eine Rohrführung für die Hilfsarme an den Armenden erfolgen kann. Dadurch läßt sich sicherstellen, daß der Abstand der Sitzfläche von der Firstpfanne möglichst gering ist, daß aber dennoch immer ausreichend Platz gegeben ist, um die Arbeiten ohne Behinderung durchzuführen.
  • In der Zeichnung ist ein Ausführungsbeispiel der Erfindung schematisch dargestellt. Es zeigen:
    • Fig. 1 einen senkrechten Schnitt durch das obere Ende eines Daches mit einer Ansicht der erfindunnsgemäßen Vorrichtung,
    • Fig. 2 eine Draufsicht auf die Vorrichtung nach der Fig. 1 und
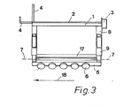
    • Fig. 3 eine Seitenansicht der Vorrichtung nach den Fig. 1 und 2.
  • In der Darstellung der Fig. 1 sind die Sparren des Dachstuhls mit 12, die darauf befestigten Dachlatten mit 13 und die von den Dachlatten getragenen Dachziegel oder Dachplatten mit 14 bezeichnet. Über den obersten Dachplatten beider Dachseiten ist die mit strichpunktierten Linien dargestellte Firstpfanne 15 zu befestigen. Die Vorrichtung, die diese Arbeit erleichtert, besteht im wesentlichen aus dem Gestell 1, auf dem der Sitz 2 angeordnet ist. Das Gestell 1 bzw. der Sitz 2 tragen an dem einen, insbesondere am vorderen Ende Aufnahmevorrichtungen 3, die behälterartig gestaltet sind. In diese Aufnahmevorrichtungen können Kleinteile, beispielsweise Nägel eingelegt werden. An den Aufhängevorrichtungen 4, die hakenartig gestaltet sind oder, wie bei 4' nach oben vorstehen, können die verschiedenen Werkzeuge bzw. Hilfsgeräte eingehängt werden.
  • Das Gestell 1 bzw. der Sitz 2 wird von den Armen 8 getragen, die an ihren Enden 8 Rohrführungen 10 aufweisen. Diese Rohrführungen nehmen die Hilfsarme 9 auf. In die Bohrungen 16 können Stifte eingefügt werden, um die jeweils gewünschte Lage der Hilfsarme 9 gegenüber den Armen 8 festzulegen.
  • Im gezeigten Auführungsbeispiel sind an den vier Ecken des Gestelles 1 jeweils vier Arme 8 angeordnet. Die Hilfsarme 9 beider Seiten sind durch Stäbe 17 verbunden.
  • Über die Gelenke mit den Achsen 7 sind an die Stäbe 17 die Träger 5 angeschlossen, die die Achsen der Rollen 6 aufnehmen. Die Rollen sind beidseitig der Träger 5 vorgesehen.
  • Es empfiehlt sich, jeweils eine größere Zahl von Rollen 6 vorzusehen, um die Vorrichtung auch dann einsetzen zu können, wenn die Dachplatten 14 Wellungen aufweisen, so daß eine sichere Verschiebung entlang des Dachfirstes möglich ist. Dabei ist es günstig, wenn die Rollen 6 zu beiden Seiten des Trägers 5 um einen halben Achsabstand versetzt angeordnet sind. Auch die Verwendung einer Raupenkette, die von den Rollen 6 geführt ist, ist möglich.
  • Für die Achsen 7 können Feststelleinrichtungen vorgesehen sein, notwendig ist dies jedoch nicht. Die Ausbildung kann auch so getroffen sein, daß sich der Träger 5 jeweils selbsttätig ausrichtet um eine gute Auflage für die Rollen 6 zu ergeben.
  • Es ist klar, daß bei der Ausbildung und Abmessung, wie diese in der Fig. 1 gezeigt ist, die Vorrichtung gut über den Firstpfannen 15 beweglich ist. Bei einem steileren Dach wird sinngemäß die wirksame Länge der Hilfsarme 9 zu vergrößern sein.
  • Bei praktischen Arbeiten mit der erfindungsgemäßen Vorrichtung sitzt die Bedienungsperson auf dem Sitz 2, wobei sich die Beine zu beiden Seiten des Firstes befinden. Die behälterartige Aufnahmeeinrichtung befindet sich im allgemeinen vor der Bedienungsperson und im Normalfall erfolgt die Verschiebung der Vorrichtung in Richtung des Pfeiles 18.

Claims (7)

1. Vorrichtung für Dacharbeiten, gekennzeichnet durch ein Gestell (1) das einen Sitz (2) trägt, mit Aufnahme-, Befestigungs- oder Aufhängevorrichtungen (3, 4) für Werkzeuge bzw. Hilfsmittel am Sitz oder Gestell, sowie Abstützelementen (5) für das Gestell bzw. den Sitz mit winklig gegeneinander gerichteten Abstützflächen (6).
2. Vorrichtung nach Anspruch 1, dadurch gekennzeichnet, daß die Abstützflächen als Gleitflächen ausgebildet sind.
3. Vorrichtung nach Anspruch 1, dadurch gekennzeichnet, daß die Abstützflächen von Rollen (6) gebildet sind.
4. Vorrichtung nach einem oder mehreren der vorhergehenden Ansprüche, dadurch gekennzeichnet, daß die Abstützflächen bzw. Rollen (6) an Trägern (5) gelagert sind, die um zueinander parallele Achsen (7) verschwenkbar sind.
5. Vorrichtung nach einem oder mehreren der vorhergehenden Ansprüche, dadurch gekennzeichnet, daß am Sitz bzw. Gestell schräg nach außen und unten gerichtete Arme (8) befestigt sind, an deren Enden (11) im wesentlichen rechtwinklig nach innen und unten gerichtete Hilfsarme (9) angeordnet sind, deren untere Enden die Abstützflächen (6) tragen.
6. Vorrichtung nach einem oder mehreren der vorhergehenden Ansprüche, dadurch gekennzeichnet, daß die wirksame Länge der Hilfsarme (9) verstellbar ist.
7. Vorrichtung nach einem oder mehreren der vorhergehenden Ansprüche, gekennzeichnet durch Rohrführungen (10) für die Hilfarme (9) an den Enden (11) der Arme (8).
EP83103947A 1982-04-29 1983-04-22 Vorrichtung für Dacharbeiten Withdrawn EP0093347A3 (de)

Applications Claiming Priority (2)

Application Number Priority Date Filing Date Title
DE19828212391 DE8212391U1 (de) 1982-04-29 1982-04-29 Vorrichtung fuer dacharbeiten
DE8212391U 1982-04-29

Publications (2)

Publication Number Publication Date
EP0093347A2 true EP0093347A2 (de) 1983-11-09
EP0093347A3 EP0093347A3 (de) 1985-03-06

Family

ID=6739589

Family Applications (1)

Application Number Title Priority Date Filing Date
EP83103947A Withdrawn EP0093347A3 (de) 1982-04-29 1983-04-22 Vorrichtung für Dacharbeiten

Country Status (2)

Country Link
EP (1) EP0093347A3 (de)
DE (1) DE8212391U1 (de)

Cited By (2)

* Cited by examiner, † Cited by third party
Publication number Priority date Publication date Assignee Title
GB2229482A (en) * 1989-03-17 1990-09-26 Reilly Patrick Joseph O Roof seat
CN112482674A (zh) * 2020-11-27 2021-03-12 童温霞 一种基于新型环保材料的建筑瓦片搭设机及其使用方法

Family Cites Families (4)

* Cited by examiner, † Cited by third party
Publication number Priority date Publication date Assignee Title
US2327317A (en) * 1941-10-09 1943-08-17 Fred D Randall Attachment for ladders
US2635926A (en) * 1949-11-19 1953-04-21 United States Steel Corp Welder's chair
US3058542A (en) * 1961-06-23 1962-10-16 Gerald J Rogalla Roof platforms and carriers
NL7315944A (en) * 1973-11-21 1975-05-23 Nederhoed Staal En Machinebouw Roof tile laying system - uses transverse slats as guide rails for truck carrying tile stock

Cited By (3)

* Cited by examiner, † Cited by third party
Publication number Priority date Publication date Assignee Title
GB2229482A (en) * 1989-03-17 1990-09-26 Reilly Patrick Joseph O Roof seat
CN112482674A (zh) * 2020-11-27 2021-03-12 童温霞 一种基于新型环保材料的建筑瓦片搭设机及其使用方法
CN112482674B (zh) * 2020-11-27 2021-12-10 徐州务欣信息科技有限公司 一种基于新型环保材料的建筑瓦片搭设机及其使用方法

Also Published As

Publication number Publication date
EP0093347A3 (de) 1985-03-06
DE8212391U1 (de) 1982-08-26

Similar Documents

Publication Publication Date Title
DE10300102B4 (de) Gestell zum Unterbringen von Platten
DE3520084C2 (de) Rohrhandhabungssystem
EP0457171B1 (de) Einrichtung an einer Schalung zur Errichtung eines Mauerwerkes
DE2552191A1 (de) Instandhaltungsvorrichtung fuer eine bohrinsel o.dgl.
DE2921636C2 (de) Gerät mit Hubvorrichtung zum Klettern an einer Wand
EP0093347A2 (de) Vorrichtung für Dacharbeiten
DE2833439C2 (de) Vorrichtung zum bleibenden Verschalen von Flächen, insbesondere von Wänden oder Innendachflächen von Gebäuden, mit Platten
DE2151515C3 (de) Vorrichtung zum Anschließen eines beweglichen Behälters an eine Umfüllstation
EP0157292B1 (de) Vorrichtung zum Fördern von Material auf Dächern mit geneigt verlaufender Dachhaut
DE3709441A1 (de) Auf dem dach eines gedeckten gebaeudes abstuetzbares kamingeruest
DE4319664C2 (de) Verstellbarer Ausleger für ein Baugerüst
DE2700284A1 (de) Vorrichtung zur befoerderung von insbesondere kleinen gegenstaenden in allen richtungen
DE1759525A1 (de) Hebevorrichtung fuer Gleitschalungen bei der Herstellung von Betonbauteilen mit mindestens einer schraegen Wandflaeche
DE3520449C1 (de) Schrägbauaufzug
DE2829863C2 (de) Vorrichtung zum Herstellen von senkrecht stehenden Wandtafeln aus Mauersteinen
DE3641985A1 (de) Verfahren zum verlegen oder austauschen von platten an fassaden
DE60013390T2 (de) Apparatus for cutting workpieces such as tiles
DE2261036C3 (de) Anordnung an Arbeitstischen zur Aufstellung von Geräten
DE3632735A1 (de) Vorrichtung zur erleichterung des zufuehrens von dachdeckungselementen, wie dachziegel oder dergleichen, vom lagerplatz zum verlegebereich auf einem dach
DE8632805U1 (de) Hebevorrichtung für Platten
DE3400667C2 (de)
DE2618657A1 (de) Moertelbandauflegevorrichtung zur herstellung von moertelbettungen an waenden
DE3441398C2 (de) Vorrichtung zum Befestigen einer Leiter oder dergleichen auf einem Dach
DE8524796U1 (de) Vorrichtung zum Greifen und Versetzen von Deckenziegeln
DE10139419C1 (de) Befestigungsklammer

Legal Events

Date Code Title Description
PUAI Public reference made under article 153(3) epc to a published international application that has entered the european phase

Free format text: ORIGINAL CODE: 0009012

AK Designated contracting states

Designated state(s): AT CH DE FR GB LI

PUAL Search report despatched

Free format text: ORIGINAL CODE: 0009013

AK Designated contracting states

Designated state(s): AT CH DE FR GB LI

RAP1 Party data changed (applicant data changed or rights of an application transferred)

Owner name: ZEH, WOLFGANG

STAA Information on the status of an ep patent application or granted ep patent

Free format text: STATUS: THE APPLICATION IS DEEMED TO BE WITHDRAWN

18D Application deemed to be withdrawn

Effective date: 19851031