EP0081422B1 - Procédé collectif de fabrication de circuits logiques comportant au moins un transistor à effet de champ du type à faible tension de seuil, et une résistance saturable, et circuit logique réalisé par un tel procédé - Google Patents

Procédé collectif de fabrication de circuits logiques comportant au moins un transistor à effet de champ du type à faible tension de seuil, et une résistance saturable, et circuit logique réalisé par un tel procédé Download PDF

Info

Publication number
EP0081422B1
EP0081422B1 EP82402181A EP82402181A EP0081422B1 EP 0081422 B1 EP0081422 B1 EP 0081422B1 EP 82402181 A EP82402181 A EP 82402181A EP 82402181 A EP82402181 A EP 82402181A EP 0081422 B1 EP0081422 B1 EP 0081422B1
Authority
EP
European Patent Office
Prior art keywords
transistor
thickness
saturable
resistor
threshold voltage
Prior art date
Legal status (The legal status is an assumption and is not a legal conclusion. Google has not performed a legal analysis and makes no representation as to the accuracy of the status listed.)
Expired
Application number
EP82402181A
Other languages
German (de)
English (en)
French (fr)
Other versions
EP0081422A3 (en
EP0081422A2 (fr
Inventor
Christian Arnodo
Gérard Nuzillat
Current Assignee (The listed assignees may be inaccurate. Google has not performed a legal analysis and makes no representation or warranty as to the accuracy of the list.)
Thales SA
Original Assignee
Thomson CSF SA
Priority date (The priority date is an assumption and is not a legal conclusion. Google has not performed a legal analysis and makes no representation as to the accuracy of the date listed.)
Filing date
Publication date
Application filed by Thomson CSF SA filed Critical Thomson CSF SA
Publication of EP0081422A2 publication Critical patent/EP0081422A2/fr
Publication of EP0081422A3 publication Critical patent/EP0081422A3/fr
Application granted granted Critical
Publication of EP0081422B1 publication Critical patent/EP0081422B1/fr
Expired legal-status Critical Current

Links

Images

Classifications

    • HELECTRICITY
    • H03ELECTRONIC CIRCUITRY
    • H03KPULSE TECHNIQUE
    • H03K19/00Logic circuits, i.e. having at least two inputs acting on one output; Inverting circuits
    • H03K19/02Logic circuits, i.e. having at least two inputs acting on one output; Inverting circuits using specified components
    • H03K19/08Logic circuits, i.e. having at least two inputs acting on one output; Inverting circuits using specified components using semiconductor devices
    • H03K19/094Logic circuits, i.e. having at least two inputs acting on one output; Inverting circuits using specified components using semiconductor devices using field-effect transistors
    • H03K19/0952Logic circuits, i.e. having at least two inputs acting on one output; Inverting circuits using specified components using semiconductor devices using field-effect transistors using Schottky type FET MESFET
    • HELECTRICITY
    • H10SEMICONDUCTOR DEVICES; ELECTRIC SOLID-STATE DEVICES NOT OTHERWISE PROVIDED FOR
    • H10DINORGANIC ELECTRIC SEMICONDUCTOR DEVICES
    • H10D84/00Integrated devices formed in or on semiconductor substrates that comprise only semiconducting layers, e.g. on Si wafers or on GaAs-on-Si wafers
    • H10D84/01Manufacture or treatment
    • H10D84/0123Integrating together multiple components covered by H10D12/00 or H10D30/00, e.g. integrating multiple IGBTs
    • HELECTRICITY
    • H10SEMICONDUCTOR DEVICES; ELECTRIC SOLID-STATE DEVICES NOT OTHERWISE PROVIDED FOR
    • H10DINORGANIC ELECTRIC SEMICONDUCTOR DEVICES
    • H10D84/00Integrated devices formed in or on semiconductor substrates that comprise only semiconducting layers, e.g. on Si wafers or on GaAs-on-Si wafers
    • H10D84/01Manufacture or treatment
    • H10D84/02Manufacture or treatment characterised by using material-based technologies
    • H10D84/05Manufacture or treatment characterised by using material-based technologies using Group III-V technology
    • HELECTRICITY
    • H10SEMICONDUCTOR DEVICES; ELECTRIC SOLID-STATE DEVICES NOT OTHERWISE PROVIDED FOR
    • H10NELECTRIC SOLID-STATE DEVICES NOT OTHERWISE PROVIDED FOR
    • H10N89/00Integrated devices, or assemblies of multiple devices, comprising at least one bulk negative resistance effect element covered by group H10N80/00

Definitions

  • the invention relates to a collective method for manufacturing logic circuits each comprising at least one field effect transistor of the almost normally blocked type or with low threshold voltage, and at least one saturable resistor integrated on the same semiconductor substrate as the transistor.
  • normally conductive field effect transistors and normally blocked transistors are known in the conventional way.
  • the former are blocked by depletion, requiring a double-polarity power supply and also having the drawback of consuming electrical current in the quiescent state.
  • the second allow the current to flow when an appropriate voltage is applied to the control grid: they do not require a double polarity supply and are more economical, but on the other hand difficult to achieve, because of the very thin thickness of the conduction channel giving rise to a large amount of manufacturing waste.
  • a third category of field effect transistors which is intermediate between the two preceding ones while approaching the second, is constituted by the transistors almost normally blocked or at low threshold voltage; they are blocked for a threshold voltage V T which can be positive or negative, which means that there is a certain dispersion in the collective manufacture of these transistors which is for example the following: or
  • T. F.S. Almost normally blocked or low threshold voltage transistors, which will be designated hereinafter by the abbreviation T. F.S., are easier to manufacture than normally blocked transistors, but less easy to manufacture than normally conducting transistors. They fall between these two categories with regard to current consumption.
  • T.F.S. transistors, and logic circuits using them by the technique described in the patent application of the Applicant FR-A-2449369, in which the field effect transistor of the T.F.S. type. comprises a trench dug by ion erosion between source and drain, the grid being deposited at the bottom of this trench.
  • the logic circuits which use them include saturable resistors constituted by two ohmic contacts deposited on the active layer of the field effect transistor and separated by a trench dug by ion erosion in the active layer to a depth such that, in the remaining thickness of the active layer, it can form, for a given electric field, of the order of a volt, a dipolar domain similar to that which circulates in a structure with Gunn effect, but which is here stationary, as a result of the very small width of the trench (of the order of a micron), this range appearing for a very small value of the voltage existing at the terminals of the saturable resistance, voltage of the order of a volt.
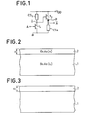
  • FIG. 1 An example of a logic circuit comprising two T.F.S. and two saturable resistors of the type described above is shown in FIG. 1.
  • a logic inverter is shown, the input A of which is connected to the gate of a transistor T 1 which is a TFS
  • This transistor has its source at ground, its drain connected to point 1 itself connected to the hot point corresponding to a pole (positive in this example) of a source V DD through a resistive load CS 1 .
  • the example chosen corresponds to the case of the n-channel transistor. For a p channel, the polarities must be reversed.
  • the point 1 is connected to the gate of a transistor T 2 which is a TFS
  • the transistor T 2 has its drain connected to the pole + V DD , its source to a diode D, passing in the direction going from + V DD to the mass.
  • the return to ground is carried out through a resistive load CS 2 of the same type as CS 1 .
  • the output A of the inverter is taken between D and CS z .
  • the invention aims to overcome such subjection.
  • the purpose of the manufacturing method according to the invention is the collective manufacturing of logic circuits each comprising at least one T.F.S. and saturable resistance.
  • Fig. 1 already described above, represents an input A and output A logic inverter, having a first stage comprising a transistor T, and a saturable resistance CS ,, and an output stage comprising, in addition to a transistor T 2 and a saturable resistor CS 2 , a rectifier diode D.
  • Fig. 9 shows the same type of reverser as in FIG. 1; but in which the saturable resistors are produced in the form of normally conducting transistors TS, and TS 2 with a grid connected to the source.
  • a semiconductor wafer made of gallium arsenide (shown in partial cross section) comprises a substrate 1 and an active layer 2.
  • the substrate 1 is made of insulating gallium arsenide with residual doping less than 10 3 atoms / cm 3 (or resistivity greater than 10 7 ⁇ -cm).
  • the active layer 2, obtained for example by epitaxy, is of a thickness greater than 250 nm (2500 ⁇ ) with a maximum thickness variation of the order of 10 nm (100 ⁇ ) over 1 cm 2 . It is doped in the conductivity type n with a doping rate of around 1017 at / cm3.
  • the result obtained at the end of step (b) has been shown during which the free surface of layer 2 has been attacked alternately to reduce the thickness of the latter.
  • the desired result is a thickness a 1 of the order of 200 nm (2000 ⁇ ) with a predetermined doping profile controlled using a device commonly called "profilometer".
  • the attack on the surface is carried out either by anodic oxidation, or by ion erosion, or by the action of a specific plasma of the material.
  • the profilometer makes it possible to determine, by a measurement of electrical capacity, the depth of the deserted area under a DC voltage of predetermined value.
  • the measuring device makes it possible to plot the curve (or profile) of the thickness of the deserted area as a function of this voltage.
  • step (c) the result obtained at the end of step (c) has been shown in the case of implantation of ions such as H + , B + and O + having the effect of creating very high density defects in the crystal lattice, thus forming insulating barriers 41, 42 and 43 provided here to isolate the two components of the first stage of a circuit such as that of FIG. 1 or 9.
  • step (d) of the process in which, for example using photosensitive resin, a preliminary masking has been carried out so as to produce deposits capable of producing with arsenide of gallium of the ohmic contacts (gold-germanium alloy for example), thus forming the contacts 51 and 52 for the saturable resistance, 53 and 54 for the transistor with TFS
  • step (e) the result obtained in step (e) is shown by successive deposits of metals such as titanium, platinum and gold.
  • a Schottky contact 62 is thus obtained located between the contacts 51 and 52.
  • the ohmic contacts of the previous step receive the same metallic deposits, hence the formation of complementary metallizations 61, 63 on the contacts 51 and 52, 64 and 65 on contacts 53 and 54.
  • the value a o is determined by taking into account the results of the measurements carried out in step (b), and possibly in the additional step, inserted after step (e).
  • step (h) for example by a process analogous to that of step (e), a Schottky contact 82 is deposited in the trench 81.
  • step (i) in the form of metallizations 83 (joining the drain 61 to the pole + V DD of the logic circuit 84) connecting the contacts 62, 63 and 64, finally 85 going from the contact 65 to ground.

Landscapes

  • Engineering & Computer Science (AREA)
  • Power Engineering (AREA)
  • Physics & Mathematics (AREA)
  • Computer Hardware Design (AREA)
  • Computing Systems (AREA)
  • General Engineering & Computer Science (AREA)
  • Mathematical Physics (AREA)
  • Semiconductor Integrated Circuits (AREA)
  • Junction Field-Effect Transistors (AREA)
  • Design And Manufacture Of Integrated Circuits (AREA)
  • Logic Circuits (AREA)
EP82402181A 1981-12-09 1982-11-30 Procédé collectif de fabrication de circuits logiques comportant au moins un transistor à effet de champ du type à faible tension de seuil, et une résistance saturable, et circuit logique réalisé par un tel procédé Expired EP0081422B1 (fr)

Applications Claiming Priority (2)

Application Number Priority Date Filing Date Title
FR8123026 1981-12-09
FR8123026A FR2517882A1 (fr) 1981-12-09 1981-12-09 Procede collectif de fabrication de circuits logiques comportant au moins un transistor a effet de champ du type a faible tension de seuil et une resistance saturable, et circuit logique realise par un tel procede

Publications (3)

Publication Number Publication Date
EP0081422A2 EP0081422A2 (fr) 1983-06-15
EP0081422A3 EP0081422A3 (en) 1983-07-20
EP0081422B1 true EP0081422B1 (fr) 1985-07-03

Family

ID=9264838

Family Applications (1)

Application Number Title Priority Date Filing Date
EP82402181A Expired EP0081422B1 (fr) 1981-12-09 1982-11-30 Procédé collectif de fabrication de circuits logiques comportant au moins un transistor à effet de champ du type à faible tension de seuil, et une résistance saturable, et circuit logique réalisé par un tel procédé

Country Status (4)

Country Link
EP (1) EP0081422B1 (enExample)
JP (1) JPS58107651A (enExample)
DE (1) DE3264586D1 (enExample)
FR (1) FR2517882A1 (enExample)

Families Citing this family (2)

* Cited by examiner, † Cited by third party
Publication number Priority date Publication date Assignee Title
JPH0628336B2 (ja) * 1984-10-29 1994-04-13 富士通株式会社 論理回路
JPS6288355A (ja) * 1985-10-15 1987-04-22 Nec Corp Ic用抵抗体

Family Cites Families (1)

* Cited by examiner, † Cited by third party
Publication number Priority date Publication date Assignee Title
FR2449369A1 (fr) * 1979-02-13 1980-09-12 Thomson Csf Circuit logique comportant une resistance saturable

Also Published As

Publication number Publication date
JPS58107651A (ja) 1983-06-27
FR2517882B1 (enExample) 1984-01-27
FR2517882A1 (fr) 1983-06-10
EP0081422A3 (en) 1983-07-20
EP0081422A2 (fr) 1983-06-15
DE3264586D1 (en) 1985-08-08

Similar Documents

Publication Publication Date Title
US3767984A (en) Schottky barrier type field effect transistor
EP0409746B1 (fr) Circuit intégré VDMOS/logique comprenant un transistor vertical déplété et une diode zener
US4172260A (en) Insulated gate field effect transistor with source field shield extending over multiple region channel
FR2490874A1 (fr) Transistors du type a grille isolee
EP0107556B1 (fr) Procédé de fabrication d'une résistance électrique dans un matériau semiconducteur polycristallin et dispositif à circuits intégrés en résultant
FR2744835A1 (fr) Circuit integre de puissance haute tension avec fonctionnement a decalage de niveau et sans traversee metallique
FR2484124A1 (fr) Cellule de memoire remanente a " gachette " flottante, modifiable electriquement
EP0022388B1 (fr) Procédé de fabrication d'un transistor à effet de champ du type DMOS à fonctionnement vertical
EP0006474A1 (fr) Procédé de correction du coefficient en tension de résistances semi-conductrices diffusées ou implantées
EP0328465B1 (fr) Circuit de commande de grille d'un transistor MOS de puissance fonctionnant en commutation
EP0021858A1 (fr) Circuit logique inverteur comportant des éléments semiconducteurs utilisant l'effet de saturation
FR2597262A1 (fr) Circuit integre a semi-conducteur avec condensateur de derivation associe a son cablage
US4447823A (en) SOS p--n Junction device with a thick oxide wiring insulation layer
US3996656A (en) Normally off Schottky barrier field effect transistor and method of fabrication
EP0081422B1 (fr) Procédé collectif de fabrication de circuits logiques comportant au moins un transistor à effet de champ du type à faible tension de seuil, et une résistance saturable, et circuit logique réalisé par un tel procédé
FR2512589A1 (fr) Resistance variable reglee par une tension pour circuit electronique
FR2512590A1 (fr) Transistor a effet de champ du type a jonction et procede de fabrication
KR930009478B1 (ko) Soi 구조상의 게이트절연형 전계효과 트랜지스터
EP0004219B1 (fr) Circuit intégré comportant un système d'interconnexion à deux nappes de conducteurs; procédé de fabrication d'un tel circuit
FR2495380A1 (fr) Dispositif de memoire a semiconducteur
GB2044994A (en) Thin film transistors
EP4170730A1 (fr) Dispositif électronique comprenant des transistors
FR2558647A1 (fr) Transistor a effet de champ de type schottky pour applications hyperfrequences et procede de realisation permettant d'obtenir un tel transistor
EP0259207B1 (fr) Source de courant de type charge active, et son procédé de réalisation
FR2472838A1 (fr) Transistor a effet de champ du type a jonction et son procede de realisation

Legal Events

Date Code Title Description
PUAI Public reference made under article 153(3) epc to a published international application that has entered the european phase

Free format text: ORIGINAL CODE: 0009012

PUAL Search report despatched

Free format text: ORIGINAL CODE: 0009013

AK Designated contracting states

Designated state(s): DE GB NL

AK Designated contracting states

Designated state(s): DE GB NL

17P Request for examination filed

Effective date: 19830729

GRAA (expected) grant

Free format text: ORIGINAL CODE: 0009210

AK Designated contracting states

Designated state(s): DE GB NL

REF Corresponds to:

Ref document number: 3264586

Country of ref document: DE

Date of ref document: 19850808

PLBE No opposition filed within time limit

Free format text: ORIGINAL CODE: 0009261

STAA Information on the status of an ep patent application or granted ep patent

Free format text: STATUS: NO OPPOSITION FILED WITHIN TIME LIMIT

26N No opposition filed
PGFP Annual fee paid to national office [announced via postgrant information from national office to epo]

Ref country code: NL

Payment date: 19861130

Year of fee payment: 5

PG25 Lapsed in a contracting state [announced via postgrant information from national office to epo]

Ref country code: NL

Effective date: 19880601

NLV4 Nl: lapsed or anulled due to non-payment of the annual fee
GBPC Gb: european patent ceased through non-payment of renewal fee
PG25 Lapsed in a contracting state [announced via postgrant information from national office to epo]

Ref country code: DE

Effective date: 19880802

PG25 Lapsed in a contracting state [announced via postgrant information from national office to epo]

Ref country code: GB

Effective date: 19881122