DE102015114673A1 - Stahl-Reiblamelle und Reibungskupplung mit solchen Reiblamellen und Verfahren zur Herstellung einer solchen Reiblamelle - Google Patents
Stahl-Reiblamelle und Reibungskupplung mit solchen Reiblamellen und Verfahren zur Herstellung einer solchen Reiblamelle Download PDFInfo
- Publication number
- DE102015114673A1 DE102015114673A1 DE102015114673.8A DE102015114673A DE102015114673A1 DE 102015114673 A1 DE102015114673 A1 DE 102015114673A1 DE 102015114673 A DE102015114673 A DE 102015114673A DE 102015114673 A1 DE102015114673 A1 DE 102015114673A1
- Authority
- DE
- Germany
- Prior art keywords
- friction
- friction plate
- slot
- range
- peripheral edge
- Prior art date
- Legal status (The legal status is an assumption and is not a legal conclusion. Google has not performed a legal analysis and makes no representation as to the accuracy of the status listed.)
- Withdrawn
Links
- 229910000831 Steel Inorganic materials 0.000 title claims abstract description 19
- 239000010959 steel Substances 0.000 title claims abstract description 19
- 238000004519 manufacturing process Methods 0.000 title claims abstract description 9
- 230000002093 peripheral effect Effects 0.000 claims abstract description 26
- 239000000463 material Substances 0.000 claims abstract description 3
- 235000012773 waffles Nutrition 0.000 claims description 3
- 238000000034 method Methods 0.000 claims description 2
- 238000000576 coating method Methods 0.000 description 6
- 239000000314 lubricant Substances 0.000 description 6
- 239000011248 coating agent Substances 0.000 description 5
- 241000446313 Lamella Species 0.000 description 3
- 238000005520 cutting process Methods 0.000 description 2
- 238000003698 laser cutting Methods 0.000 description 2
- 238000005121 nitriding Methods 0.000 description 2
- 238000012805 post-processing Methods 0.000 description 2
- 238000004080 punching Methods 0.000 description 2
- 230000003746 surface roughness Effects 0.000 description 2
- XLYOFNOQVPJJNP-UHFFFAOYSA-N water Substances O XLYOFNOQVPJJNP-UHFFFAOYSA-N 0.000 description 2
- ZOKXTWBITQBERF-UHFFFAOYSA-N Molybdenum Chemical compound [Mo] ZOKXTWBITQBERF-UHFFFAOYSA-N 0.000 description 1
- 230000005540 biological transmission Effects 0.000 description 1
- 239000002131 composite material Substances 0.000 description 1
- 238000010276 construction Methods 0.000 description 1
- 230000001627 detrimental effect Effects 0.000 description 1
- 230000000694 effects Effects 0.000 description 1
- 230000001050 lubricating effect Effects 0.000 description 1
- 238000005461 lubrication Methods 0.000 description 1
- 229910052750 molybdenum Inorganic materials 0.000 description 1
- 239000011733 molybdenum Substances 0.000 description 1
- 239000002994 raw material Substances 0.000 description 1
- 150000003839 salts Chemical class 0.000 description 1
- 230000008646 thermal stress Effects 0.000 description 1
Images
Classifications
-
- B—PERFORMING OPERATIONS; TRANSPORTING
- B21—MECHANICAL METAL-WORKING WITHOUT ESSENTIALLY REMOVING MATERIAL; PUNCHING METAL
- B21B—ROLLING OF METAL
- B21B1/00—Metal-rolling methods or mills for making semi-finished products of solid or profiled cross-section; Sequence of operations in milling trains; Layout of rolling-mill plant, e.g. grouping of stands; Succession of passes or of sectional pass alternations
- B21B1/22—Metal-rolling methods or mills for making semi-finished products of solid or profiled cross-section; Sequence of operations in milling trains; Layout of rolling-mill plant, e.g. grouping of stands; Succession of passes or of sectional pass alternations for rolling plates, strips, bands or sheets of indefinite length
- B21B1/227—Surface roughening or texturing
-
- F—MECHANICAL ENGINEERING; LIGHTING; HEATING; WEAPONS; BLASTING
- F16—ENGINEERING ELEMENTS AND UNITS; GENERAL MEASURES FOR PRODUCING AND MAINTAINING EFFECTIVE FUNCTIONING OF MACHINES OR INSTALLATIONS; THERMAL INSULATION IN GENERAL
- F16D—COUPLINGS FOR TRANSMITTING ROTATION; CLUTCHES; BRAKES
- F16D65/00—Parts or details
- F16D65/02—Braking members; Mounting thereof
- F16D65/04—Bands, shoes or pads; Pivots or supporting members therefor
-
- F—MECHANICAL ENGINEERING; LIGHTING; HEATING; WEAPONS; BLASTING
- F16—ENGINEERING ELEMENTS AND UNITS; GENERAL MEASURES FOR PRODUCING AND MAINTAINING EFFECTIVE FUNCTIONING OF MACHINES OR INSTALLATIONS; THERMAL INSULATION IN GENERAL
- F16D—COUPLINGS FOR TRANSMITTING ROTATION; CLUTCHES; BRAKES
- F16D13/00—Friction clutches
- F16D13/22—Friction clutches with axially-movable clutching members
- F16D13/38—Friction clutches with axially-movable clutching members with flat clutching surfaces, e.g. discs
- F16D13/52—Clutches with multiple lamellae ; Clutches in which three or more axially moveable members are fixed alternately to the shafts to be coupled and are pressed from one side towards an axially-located member
-
- B—PERFORMING OPERATIONS; TRANSPORTING
- B21—MECHANICAL METAL-WORKING WITHOUT ESSENTIALLY REMOVING MATERIAL; PUNCHING METAL
- B21D—WORKING OR PROCESSING OF SHEET METAL OR METAL TUBES, RODS OR PROFILES WITHOUT ESSENTIALLY REMOVING MATERIAL; PUNCHING METAL
- B21D28/00—Shaping by press-cutting; Perforating
- B21D28/02—Punching blanks or articles with or without obtaining scrap; Notching
-
- B—PERFORMING OPERATIONS; TRANSPORTING
- B21—MECHANICAL METAL-WORKING WITHOUT ESSENTIALLY REMOVING MATERIAL; PUNCHING METAL
- B21D—WORKING OR PROCESSING OF SHEET METAL OR METAL TUBES, RODS OR PROFILES WITHOUT ESSENTIALLY REMOVING MATERIAL; PUNCHING METAL
- B21D53/00—Making other particular articles
- B21D53/84—Making other particular articles other parts for engines, e.g. connecting-rods
-
- B—PERFORMING OPERATIONS; TRANSPORTING
- B21—MECHANICAL METAL-WORKING WITHOUT ESSENTIALLY REMOVING MATERIAL; PUNCHING METAL
- B21H—MAKING PARTICULAR METAL OBJECTS BY ROLLING, e.g. SCREWS, WHEELS, RINGS, BARRELS, BALLS
- B21H8/00—Rolling metal of indefinite length in repetitive shapes specially designed for the manufacture of particular objects, e.g. checkered sheets
- B21H8/005—Embossing sheets or rolls
-
- B—PERFORMING OPERATIONS; TRANSPORTING
- B21—MECHANICAL METAL-WORKING WITHOUT ESSENTIALLY REMOVING MATERIAL; PUNCHING METAL
- B21K—MAKING FORGED OR PRESSED METAL PRODUCTS, e.g. HORSE-SHOES, RIVETS, BOLTS OR WHEELS
- B21K23/00—Making other articles
-
- B—PERFORMING OPERATIONS; TRANSPORTING
- B23—MACHINE TOOLS; METAL-WORKING NOT OTHERWISE PROVIDED FOR
- B23P—METAL-WORKING NOT OTHERWISE PROVIDED FOR; COMBINED OPERATIONS; UNIVERSAL MACHINE TOOLS
- B23P15/00—Making specific metal objects by operations not covered by a single other subclass or a group in this subclass
-
- F—MECHANICAL ENGINEERING; LIGHTING; HEATING; WEAPONS; BLASTING
- F16—ENGINEERING ELEMENTS AND UNITS; GENERAL MEASURES FOR PRODUCING AND MAINTAINING EFFECTIVE FUNCTIONING OF MACHINES OR INSTALLATIONS; THERMAL INSULATION IN GENERAL
- F16D—COUPLINGS FOR TRANSMITTING ROTATION; CLUTCHES; BRAKES
- F16D13/00—Friction clutches
- F16D13/58—Details
- F16D13/74—Features relating to lubrication
-
- F—MECHANICAL ENGINEERING; LIGHTING; HEATING; WEAPONS; BLASTING
- F16—ENGINEERING ELEMENTS AND UNITS; GENERAL MEASURES FOR PRODUCING AND MAINTAINING EFFECTIVE FUNCTIONING OF MACHINES OR INSTALLATIONS; THERMAL INSULATION IN GENERAL
- F16D—COUPLINGS FOR TRANSMITTING ROTATION; CLUTCHES; BRAKES
- F16D69/00—Friction linings; Attachment thereof; Selection of coacting friction substances or surfaces
-
- F—MECHANICAL ENGINEERING; LIGHTING; HEATING; WEAPONS; BLASTING
- F16—ENGINEERING ELEMENTS AND UNITS; GENERAL MEASURES FOR PRODUCING AND MAINTAINING EFFECTIVE FUNCTIONING OF MACHINES OR INSTALLATIONS; THERMAL INSULATION IN GENERAL
- F16D—COUPLINGS FOR TRANSMITTING ROTATION; CLUTCHES; BRAKES
- F16D13/00—Friction clutches
- F16D13/58—Details
- F16D13/60—Clutching elements
- F16D13/64—Clutch-plates; Clutch-lamellae
- F16D13/648—Clutch-plates; Clutch-lamellae for clutches with multiple lamellae
-
- F—MECHANICAL ENGINEERING; LIGHTING; HEATING; WEAPONS; BLASTING
- F16—ENGINEERING ELEMENTS AND UNITS; GENERAL MEASURES FOR PRODUCING AND MAINTAINING EFFECTIVE FUNCTIONING OF MACHINES OR INSTALLATIONS; THERMAL INSULATION IN GENERAL
- F16D—COUPLINGS FOR TRANSMITTING ROTATION; CLUTCHES; BRAKES
- F16D69/00—Friction linings; Attachment thereof; Selection of coacting friction substances or surfaces
- F16D2069/004—Profiled friction surfaces, e.g. grooves, dimples
-
- F—MECHANICAL ENGINEERING; LIGHTING; HEATING; WEAPONS; BLASTING
- F16—ENGINEERING ELEMENTS AND UNITS; GENERAL MEASURES FOR PRODUCING AND MAINTAINING EFFECTIVE FUNCTIONING OF MACHINES OR INSTALLATIONS; THERMAL INSULATION IN GENERAL
- F16D—COUPLINGS FOR TRANSMITTING ROTATION; CLUTCHES; BRAKES
- F16D2200/00—Materials; Production methods therefor
- F16D2200/0004—Materials; Production methods therefor metallic
- F16D2200/0008—Ferro
- F16D2200/0021—Steel
-
- F—MECHANICAL ENGINEERING; LIGHTING; HEATING; WEAPONS; BLASTING
- F16—ENGINEERING ELEMENTS AND UNITS; GENERAL MEASURES FOR PRODUCING AND MAINTAINING EFFECTIVE FUNCTIONING OF MACHINES OR INSTALLATIONS; THERMAL INSULATION IN GENERAL
- F16D—COUPLINGS FOR TRANSMITTING ROTATION; CLUTCHES; BRAKES
- F16D2250/00—Manufacturing; Assembly
- F16D2250/0023—Shaping by pressure
-
- F—MECHANICAL ENGINEERING; LIGHTING; HEATING; WEAPONS; BLASTING
- F16—ENGINEERING ELEMENTS AND UNITS; GENERAL MEASURES FOR PRODUCING AND MAINTAINING EFFECTIVE FUNCTIONING OF MACHINES OR INSTALLATIONS; THERMAL INSULATION IN GENERAL
- F16D—COUPLINGS FOR TRANSMITTING ROTATION; CLUTCHES; BRAKES
- F16D2250/00—Manufacturing; Assembly
- F16D2250/0038—Surface treatment
-
- F—MECHANICAL ENGINEERING; LIGHTING; HEATING; WEAPONS; BLASTING
- F16—ENGINEERING ELEMENTS AND UNITS; GENERAL MEASURES FOR PRODUCING AND MAINTAINING EFFECTIVE FUNCTIONING OF MACHINES OR INSTALLATIONS; THERMAL INSULATION IN GENERAL
- F16D—COUPLINGS FOR TRANSMITTING ROTATION; CLUTCHES; BRAKES
- F16D2300/00—Special features for couplings or clutches
- F16D2300/06—Lubrication details not provided for in group F16D13/74
-
- F—MECHANICAL ENGINEERING; LIGHTING; HEATING; WEAPONS; BLASTING
- F16—ENGINEERING ELEMENTS AND UNITS; GENERAL MEASURES FOR PRODUCING AND MAINTAINING EFFECTIVE FUNCTIONING OF MACHINES OR INSTALLATIONS; THERMAL INSULATION IN GENERAL
- F16D—COUPLINGS FOR TRANSMITTING ROTATION; CLUTCHES; BRAKES
- F16D2300/00—Special features for couplings or clutches
- F16D2300/10—Surface characteristics; Details related to material surfaces
-
- F—MECHANICAL ENGINEERING; LIGHTING; HEATING; WEAPONS; BLASTING
- F16—ENGINEERING ELEMENTS AND UNITS; GENERAL MEASURES FOR PRODUCING AND MAINTAINING EFFECTIVE FUNCTIONING OF MACHINES OR INSTALLATIONS; THERMAL INSULATION IN GENERAL
- F16D—COUPLINGS FOR TRANSMITTING ROTATION; CLUTCHES; BRAKES
- F16D2300/00—Special features for couplings or clutches
- F16D2300/12—Mounting or assembling
-
- F—MECHANICAL ENGINEERING; LIGHTING; HEATING; WEAPONS; BLASTING
- F16—ENGINEERING ELEMENTS AND UNITS; GENERAL MEASURES FOR PRODUCING AND MAINTAINING EFFECTIVE FUNCTIONING OF MACHINES OR INSTALLATIONS; THERMAL INSULATION IN GENERAL
- F16D—COUPLINGS FOR TRANSMITTING ROTATION; CLUTCHES; BRAKES
- F16D35/00—Fluid clutches in which the clutching is predominantly obtained by fluid adhesion
- F16D35/005—Fluid clutches in which the clutching is predominantly obtained by fluid adhesion with multiple lamellae
Landscapes
- Engineering & Computer Science (AREA)
- Mechanical Engineering (AREA)
- General Engineering & Computer Science (AREA)
- Braking Arrangements (AREA)
- Mechanical Operated Clutches (AREA)
Abstract
Die Erfindung betrifft eine Reiblamelle für eine Reibungskupplung, mit einem ringförmigen Lamellenkörper aus Stahl, der an einem seiner Umfangsränder mit einer Mitnehmergeometrie versehen ist, wobei die Reibflächen aus dem Material des Lamellenkörpers bestehen. Die Erfindung betrifft auch eine Reibungskupplung mit mehreren solchen Reiblamellen, wobei Reiblamellen eines ersten Typs verwendet werden, die mit der Mitnehmergeometrie am Außenrand versehen sind, und Reiblamellen eines zweiten Typs, die mit der Mitnehmergeometrie am Innenrand versehen sind, wobei die Reiblamellen des ersten und des zweiten Typs abwechselnd angeordnet sind. Die Erfindung betrifft schließlich ein Verfahren zur Herstellung einer solchen Reiblamelle, wobei ein Stahlblech bereitgestellt wird, das auf mindestens einer Seite mit einer Makrostrukturierung versehen ist. Anschließend wird aus dem Stahlblech ein Reiblamellenkörper herausgetrennt.
Description
- Die Erfindung betrifft eine Reiblamelle für eine Reibungskupplung, mit einem ringförmigen Lamellenkörper aus Stahl, der an einem seiner Umfangsbänder mit einer Mitnehmergeometrie versehen ist. Die Erfindung betrifft weiterhin eine Reibungskupplung mit mehreren solchen Reiblamellen sowie ein Verfahren zur Herstellung einer solchen Reiblamelle.
- Reiblamellen und Reibungskupplungen mit solchen Reiblamellen werden verwendet, um eine reib- oder kraftschlüssige Verbindung zwischen mindestens zwei Wellen herzustellen. Beispiele sind schaltbare Kupplungen, wie sie beispielsweise in einem Getriebe eines Kraftfahrzeugs verwendet werden, oder nicht schaltbare Kupplungen, wie sie beispielsweise als Differentialsperre bei einem Kraftfahrzeug-Differentialgetriebe eingesetzt werden.
- Üblicherweise wird bei einem solchen ebenen Reibsystem ein Lamellenkörper aus Stahl verwendet, der auf seinen Hauptflächen (also der Vorder- und der Rückseite) mit einer Sinter-Beschichtung oder einer Molybdän-Beschichtung versehen ist. Diese werden meist in einem mehrschichtigen Aufbau hergestellt. Insgesamt führt dies zu einem komplexen Herstellvorgang und erhöhten Herstellungskosten.
- Die Aufgabe der Erfindung besteht darin, eine Reiblamelle bereit zu stellen, die sich durch ein gutes Preis/Leistungs-Verhältnis auszeichnet.
- Zur Lösung dieser Aufgabe ist erfindungsgemäß bei einer Reiblamelle der eingangs genannten Art vorgesehen, dass die Reibflächen aus dem Material des Lamellenkörpers bestehen. Zur Lösung dieser Aufgabe ist erfindungsgemäß auch eine Reibungskupplung mit mehreren solchen Reiblamellen vorgesehen, wobei Reiblamellen eines ersten Typs verwendet werden, die mit der Mitnehmergeometrie am Außenrand versehen sind, und Reiblamellen eines zweiten Typs, die mit der Mitnehmergeometrie am Innenrand versehen sind, wobei die Reiblamellen des ersten und des zweiten Typs abwechselnd angeordnet sind.
- Die erfindungsgemäße Reiblamelle und die erfindungsgemäße Reibungskupplung basieren auf dem Grundgedanken, eine reine Stahl/Stahl-Reibpaarung zu verwenden. Erfindungsgemäß wurde erkannt, dass auf die bisher immer für nötig erachteten Beschichtungen verzichtet werden kann.
- Gemäß einer bevorzugten Ausführungsform der Erfindung ist vorgesehen, dass die Reibflächen die Außenseite des Lamellenkörpers sind. Anders ausgedrückt: Der Lamellenkörper ist mit keinen Reibelementen aus Stahl versehen, sondern wird in der Dicke gefertigt, die später die Reiblamelle haben soll.
- Die Mitnehmergeometrie kann in gleichmäßigem Abstand angeordnete, radiale Vorsprünge bzw. Aussparungen aufweisen. Dies ermöglicht es, die Reiblamellen in einen beispielsweise gezahnten Träger einzuhängen, wenn sich die Mitnehmergeometrie entlang dem Außenumfang der Reiblamelle erstreckt, oder auf eine gezahnte Welle aufzuschieben, wenn sich die Mitnehmergeometrie entlang dem Innenumfang erstreckt.
- Gemäß einer bevorzugten Ausführungsform der Erfindung ist vorgesehen, dass mindestens eine der Reibflächen mit einer Makrostrukturierung ausgeführt ist. Der Begriff „Makrostrukturierung“ bezeichnet eine Strukturierung, deren Abmessungen (also beispielsweise Tiefe oder Breite der Strukturen) erheblich größer sind als die Abmessungen von mikroskopischen Strukturierungen (beispielsweise die Oberflächengestalt aufgrund einer bestimmten, unvermeidbaren Oberflächenrauigkeit). Eine Makrostrukturierung zeichnet sich insbesondere dadurch aus, dass sie mit bloßem Auge sichtbar ist. Der Vorteil einer Makrostrukturierung besteht darin, dass sie die Schmierung der Reibflächen verbessert.
- Die Makrostrukturierung kann beispielsweise ein Waffelmuster sein, so dass in gleichmäßigen Abständen Taschen gebildet sind, in denen sich ein Schmierstoff halten kann.
- Die Makrostrukturierung kann einer Strukturtiefe im Bereich von 0,05 bis 0,9 mm haben, insbesondere im Bereich von 0,2 bis 0,4 mm. Diese Werte haben sich als guter Kompromiss herausgestellt.
- Die Breite eines Strukturelements kann im Bereich von 0,1 bis 4 mm liegen. Auch diese Werte sind vorteilhaft.
- Vorzugsweise ist mindestens eine Durchbrechung des Lamellenkörpers vorgesehen, also eine Öffnung, die sich durchgehend von einer Reibfläche zur anderen erstreckt. Ein solcher Durchbruch verbessert die Versorgung der Reibflächen mit einem Schmiermittel.
- In Abhängigkeit von den Einsatzbedingungen kann es ausreichen, eine einzige Durchbrechung zu verwenden. Es kann auch eine vergleichsweise große Zahl von Durchbrechungen verwendet werden, beispielsweise 40. Für den Großteil der Anwendungsfälle liegt die Anzahl der Durchbrechungen im Bereich von 3 bis 11.
- Die Durchbrechung kann als Schlitz ausgeführt sein. Dies ermöglicht es, einen vergleichsweise großen Bereich der Reibfläche mit Schmiermittel zu versorgen, ohne dafür viel Reibfläche zu opfern. Ein weiterer Vorteil von Schlitzen besteht darin, dass sie verhindern, dass die Reiblamellen sich aufgrund von Wärmespannungen und/oder Wärmeausdehnungen verformen.
- Je nach Einsatzbedingung kann der Schlitz vollständig innerhalb einer Reiblamelle angeordnet sein, also im Abstand von einem Umfangsrand der Reiblamelle beginnen und enden, oder sich ausgehend von einem Umfangsrand in die Reibfläche hinein erstrecken und in Abstand von einem Umfangsrand enden, oder sich auch vollständig durch eine Reibefläche hindurch erstrecken, also von einem zum anderen Umfangsrand.
- Vorzugsweise hat der Schlitz eine Breite im Bereich von 0,1 bis 5 mm, insbesondere im Bereich von 1,3 bis 3 mm. Diese Werte stellen einen guten Kompromiss dar hinsichtlich der Versorgung der Reibflächen mit Schmiermittel einerseits und möglichst geringem Verlust an Reibfläche andererseits.
- Gemäß einer Ausführungsform der Erfindung ist vorgesehen, dass der Schlitz mit einem Radius der Reiblamelle einen Winkel von 0° bis 70° einschließt. Bei dieser Orientierung können Fliehkrafteffekte genutzt werden, um Schmiermittel gut zwischen den Reiblamellen zu verteilen.
- Grundsätzlich kann vorgesehen sein, dass der Schlitz geradlinig, gekrümmt oder wellenförmig verläuft.
- Vorzugsweise ist vorgesehen, dass die Durchbrechung sich zumindest teilweise in einem Bereich des Lamellenkörpers befindet, der einen Abstand von einem Umfangsrand hat, der mehr als 10 % der Breite des Lamellenkörpers entspricht. Dies gewährleistet, dass das Schmiermittel auch in der Mitte der Reibfläche und nicht nur am Umfangsrand der Reiblamellen verteilt wird.
- Vorzugsweise stellt der Lamellenkörper eine flache, ebene Scheibe dar. Es ist gemäß alternativen Ausgestaltungen auch möglich, dass die Reiblamellen eine leicht kegelstumpfartige Gestalt haben.
- Gemäß einer Ausgestaltung ist vorgesehen, dass der Lamellenkörper aus mehreren Segmenten zusammengesetzt ist. Diese können miteinander verschweißt, verklebt oder lediglich formschlüssig in Eingriff stehen.
- Die oben genannte Aufgabe wird auch gelöst durch ein Verfahren zur Herstellung einer solchen Reiblamelle, wobei in einem ersten Schritt ein Stahlblech bereit gestellt wird, das auf mindestens einer Seite mit einer Makrostrukturierung versehen ist. Anschließend wird aus dem Stahlblech ein Reiblamellenrohling herausgetrennt. Dies ist besonders vorteilhaft hinsichtlich der Herstellungskosten, da das Ausgangsmaterial für die Reiblamellen in der Form eines Coils aus Stahlblech bereit gestellt werden kann, das bereits mit der gewünschten Makrostrukturierung versehen ist. Es ist daher nicht notwendig, jede Reiblamelle einzeln zu bearbeiten, um eine Makrostrukturierung vorzusehen.
- Der Reiblamellenrohling kann aus dem Stahlblech als einstückiger Rohling herausgetrennt werden, beispielsweise durch Laserschneiden, Wasserstrahlschneiden, Feinschneiden oder Stanzen.
- Um den Verschleiß der Reibflächen der Reiblamellen zu verringern und auch ein lokales Fressen zu vermeiden, ist vorzugsweise vorgesehen, dass der Reiblamellenrohling gehärtet wird. Dies kann insbesondere über Nitrieren bzw. Nitrocarburieren erfolgen. Es ist auch möglich, den Reiblamellenrohling durch Plasmanitrieren, Salzbadhärten oder andere geeignete Verfahren mit der gewünschten Härte zu versehen.
- Die Erfindung wird nachfolgend anhand verschiedener Ausführungsformen beschrieben, die in den beigefügten Zeichnungen dargestellt sind. In diesen zeigen:
-
1 in einer schematischen Schnittansicht eine erfindungsgemäße Reibungskupplung mit erfindungsgemäßen Reiblamellen; -
2 eine Reiblamelle gemäß einer ersten Ausführungsform der Erfindung in einer Vorderansicht, einer Rückansicht, einer Seitenansicht und einer vergrößerten Detailansicht; -
3 eine Reiblamelle gemäß einer zweiten Ausführungsform der Erfindung in Ansichten entsprechend denjenigen von2 ; -
4 eine Reiblamelle gemäß einer dritten Ausführungsform der Erfindung in Ansichten entsprechend denjenigen von2 ; und -
5 eine Reiblamelle gemäß einer vierten Ausführungsform der Erfindung den Ansichten entsprechend denjenigen von2 . - In
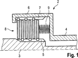
1 ist schematisch eine Reibungskupplung2 gezeigt, die dazu dient, eine erste Welle3 reibschlüssig mit einer zweiten Welle4 zu koppeln. - Die Welle
3 ist auf ihrem Außenumfang mit einer Mitnehmergeometrie versehen, die mehrere Nuten5 aufweist. Die Welle4 ist mit einer käfig- oder topfartigen Aufnahme6 versehen, die auf ihrer Innenfläche ebenfalls mit einer Mitnehmergeometrie versehen ist, die mehrere Nuten7 aufweist. Zwischen den mit den Nuten5 ,7 versehenen Abschnitten der Welle3 und der Welle4 befindet sich ein Reiblamellenpaket8 , das aus mehreren Lamellen eines ersten und eines zweiten Typs besteht. - Bei den Mitnehmergeometrien der Wellen
3 ,4 kann es sich um Verzahnungen handeln. - Jede Lamelle hat die Grundform eines Kreisrings. Die Lamellen des ersten Typs sind drehfest, jedoch axial verschiebbar mit der Welle
3 gekoppelt, haben also eine Mitnehmergeometrie am inneren Umfangsrand, und die Reiblamellen des zweiten Typs sind drehfest, jedoch axial verschiebbar mit der Welle4 gekoppelt, haben also eine Mitnehmergeometrie am äußeren Umfangsrand. - Das Reiblamellenpaket
8 wird in axialer Richtung zusammengedrückt, so dass die Reiblamellen vorgespannt aneinander liegen. Diese Vorspannung kann auf verschiedene Weise erzeugt werden. Beispielhaft ist hier eine Feder9 gezeigt. - In
2 ist eine Reiblamelle10 gemäß einer ersten Ausführungsform gezeigt. Es handelt sich dabei um eine Lamelle des zweiten Typs des Reiblamellenpakets8 von1 , da die Reiblamelle10 an ihrem Außenumfang mit einer Mitnehmergeometrie12 versehen ist. Die Mitnehmergeometrie12 ist hier gebildet durch eine Vielzahl von radial vorstehenden Zähnen (bzw. zwischen den Zähnen sich befindenden Aussparungen). Die Zähne der Mitnehmergeometrie12 greifen in die Nuten7 der Aufnahme6 ein. - Die Reiblamelle
10 weist einen Lamellenkörper14 auf, der aus Stahl besteht. - Der Lamellenkörper
14 weist eine Vorderseite16 und eine Rückseite18 auf. Diese bilden die Reibflächen der Reiblamelle10 . Der Lamellenkörper14 ist also mit keiner Beschichtung versehen und auch nicht als Verbundteil aus mehreren Lagen ausgeführt. - Bei der gezeigten Ausführungsform ist die Vorderseite
16 glatt ausgeführt (abgesehen von der mikroskopischen Oberflächenrauigkeit), während die Rückseite18 mit einer Makrostrukturierung20 versehen ist. - Die Makrostrukturierung
20 ist hier als Waffelmuster ausgebildet, das eine Tiefe im Bereich von 0,05 bis 0,9 mm und insbesondere im Bereich von 0,2 bis 0,4 mm hat. Die Breite eines Strukturelements (also der Abstand zwischen benachbarten hervorstehenden Bereichen des Waffelmusters oder der Abstand zwischen den Mittelpunkten von benachbarten Vertiefungen des Waffelmusters) liegt im Bereich von 0,1 bis 4 mm. - Wie insbesondere in
2b zu sehen ist, erstreckt sich die Makrostrukturierung über die gesamte Reibfläche an der Rückseite18 der Reiblamelle, also bis hinein in den Bereich der Mitnehmergeometrie12 . - Die Reiblamelle
10 ist mit mehreren Durchbrechungen30 versehen, die hier jeweils die Form eines Schlitzes haben. Jeder Schlitz30 erstreckt sich geradlinig und ausgehend vom inneren Umfangsrand des Lamellenkörpers14 . Die Breite b jedes Schlitzes30 liegt im Bereich von 0,1 bis 5 mm und vorzugsweise im Bereich von 1,3 bis 3 mm. Bezogen auf einen Radius r des Lamellenkörpers erstreckt sich jeder Schlitz30 schräg, wobei im gezeigten Ausführungsbeispiel der Winkel in der Größenordnung von 30° beträgt. - Jeder Schlitz
30 erstreckt sich hier ausgehend vom inneren Umfangsrand hin zum äußeren Umfangsrand und endet im Abstand vom äußeren Umfangsrand, wobei der Abstand in der Größenordnung von 25 % der Breite des Lamellenkörpers beträgt. - Das radial außen liegende Ende jedes Schlitzes
30 ist halbkreisförmig gerundet ausgeführt. - In
3 ist eine zweite Ausführungsform der Reiblamelle gezeigt. Für die von der ersten Ausführungsform bekannten Merkmale werden dieselben Bezugszeichen verwendet, und es wird in soweit auf die obigen Erläuterungen verwiesen. - Der Unterschied zwischen der ersten und der zweiten Ausführungsform besteht darin, dass bei der zweiten Ausführungsform auch die Vorderseite
16 der Reiblamelle mit der Makrostrukturierung20 versehen ist. - Beim gezeigten Ausführungsbeispiel wird auf der Vorderseite
16 und der Rückseite18 dieselbe Makrostrukturierung verwendet. - In
4 ist eine dritte Ausführungsform der Reiblamelle10 gezeigt. Für die von den vorhergehenden Ausführungsformen bekannten Merkmale werden dieselben Bezugszeichen verwendet, und es wird in soweit auf die obigen Erläuterungen verwiesen. - Der Unterschied zwischen der ersten und der dritten Ausführungsform besteht darin, dass bei der dritten Ausführungsform eine einzige Durchbrechung
30 verwendet wird, die sich hier als durchgehender Schlitz vom inneren Umfangsrand bis hin zum äußeren Umfangsrand des Lamellenkörpers14 erstreckt. Die Ausrichtung relativ zu einem Radius entspricht dabei der Ausrichtung der Schlitze30 bei der ersten Ausführungsform. - Der Schlitz
30 ist für die Festigkeit der Reiblamelle10 nicht nachteilig, da diese sich in ihrer Aufnahme6 abstützen kann. - In
5 ist eine vierte Ausführungsform gezeigt. Für die von den vorhergehenden Ausführungsformen bekannten Merkmale werden dieselben Bezugszeichen verwendet, und es wird in soweit auf die obigen Erläuterungen verwiesen. - Der Unterschied zwischen der ersten und der dritten Ausführungsform besteht darin, dass bei der dritten Ausführungsform Durchbrechungen
30 verwendet werden, die innerhalb des Lamellenkörpers14 beginnen und enden, also keine Unterbrechung des inneren oder des äußeren Umfangsrandes darstellen. Beispielhaft sind hier als Durchbrechungen gezeigt: Ein gerader, in einem Winkel von etwa 30° relativ zu einem Radius der Reiblamelle ausgerichteter Schlitz, zwei kreisförmige Öffnungen, sowie ein wellenförmiger Schlitz, der sich über einen Umfangsbereich von etwas unter 90° erstreckt. - Die verschiedenen Merkmale der in den
2 bis5 gezeigten Ausführungsformen können je nach Anwendungsfall miteinander kombiniert werden. Beispielsweise kann die Makrostrukturierung, die bei der ersten, der dritten und der vierten Ausführungsform lediglich auf einer Seite der Reiblamelle vorgesehen ist, auch auf der anderen Seite verwendet werden. - Sämtliche Merkmale der in den
2 bis5 gezeigten Reiblamellen können natürlich auch bei Reiblamellen eines ersten Typs verwendet werden, also bei Reiblamellen, die ihre Mitnehmergeometrie12 am inneren Umfangsrand haben. - Die beschriebenen Reiblamellen
10 werden vorzugsweise ausgehend von einem Stahlblech hergestellt, das bereits mit der gewünschten Makrostrukturierung20 versehen ist. Aus diesem makrostrukturierten Stahlblech, das in der Form eines Coils angeliefert werden kann, werden zunächst Reiblamellenrohlinge herausgetrennt, beispielsweise durch Laserschneiden, Wasserstrahlschneiden, Feinschneiden oder Stanzen. Abgesehen von einer Nachbearbeitung, mit der eventuelle Grate entfernt werden, besteht der wesentliche Nachbearbeitungsschritt darin, die Reiblamellenrohlinge zu härten. Da anschließend keine Beschichtung und keinerlei Belag aufgebracht werden muss, ergeben sich insgesamt sehr geringe Herstellungskosten.
Claims (22)
- Reiblamelle (
10 ) für eine Reibungskupplung (2 ), mit einem ringförmigen Lamellenkörper (14 ) aus Stahl, der an einem seiner Umfangsränder mit einer Mitnehmergeometrie (12 ) versehen ist, dadurch gekennzeichnet, dass die Reibflächen (16 ,18 ) aus dem Material des Lamellenkörpers (14 ) bestehen. - Reiblamelle (
10 ) nach Anspruch 1, dadurch gekennzeichnet, dass die Reibflächen (16 ,18 ) die Außenseiten des Lamellenkörpers (14 ) sind. - Reiblamelle (
10 ) nach Anspruch 1 oder Anspruch 2, dadurch gekennzeichnet, dass die Mitnehmergeometrie (12 ) in gleichmäßigem Abstand angeordnete radiale Vorsprünge bzw. Aussparungen aufweist. - Reiblamelle (
10 ) nach einem der vorhergehenden Ansprüche, dadurch gekennzeichnet, dass mindestens eine der Reibflächen (16 ,18 ) mit einer Makrostrukturierung (20 ) ausgeführt ist. - Reiblamelle (
10 ) nach Anspruch 4, dadurch gekennzeichnet, dass die Makrostrukturierung (20 ) ein Waffelmuster bildet. - Reiblamelle (
10 ) nach Anspruch 4 oder Anspruch 5, dadurch gekennzeichnet, dass die Makrostrukturierung (20 ) eine Strukturtiefe im Bereich von 0,05 bis 0,9 mm hat, insbesondere im Bereich von 0,2 mm bis 0,4 mm. - Reiblamelle (
10 ) nach einem der Ansprüche 4 bis 6, dadurch gekennzeichnet, dass die Breite eines Strukturelements im Bereich von 0,1 bis 4 mm liegt. - Reiblamelle (
10 ) nach einem der vorhergehenden Ansprüche, dadurch gekennzeichnet, dass mindestens eine Durchbrechung (30 ) des Lamellenkörpers (14 ) vorgesehen ist. - Reiblamelle (
10 ) nach Anspruch 8, dadurch gekennzeichnet, dass die Anzahl der Durchbrechungen (30 ) im Bereich von 1 bis 40 liegt, insbesondere im Bereich von 3 bis 11. - Reiblamelle (
10 ) nach Anspruch 8 oder Anspruch 9, dadurch gekennzeichnet, dass die Durchbrechung ein Schlitz (30 ) ist. - Reiblamelle (
10 ) nach Anspruch 10, dadurch gekennzeichnet, dass der Schlitz (30 ) im Abstand von einem Umfangsrand der Reiblamelle (10 ) beginnt und endet. - Reiblamelle (
10 ) nach Anspruch 10, dadurch gekennzeichnet, dass der Schlitz (30 ) an einem Umfangsrand beginnt und im Abstand von einem Umfangsrand endet. - Reiblamelle (
10 ) nach Anspruch 10, dadurch gekennzeichnet, dass der Schlitz (30 ) sich von einem Umfangsrand zum anderen Umfangsrand erstreckt. - Reiblamelle (
10 ) nach einem der Ansprüche 10 bis 13, dadurch gekennzeichnet, dass der Schlitz (30 ) eine Breite im Bereich von 0,1 bis 5 mm hat, insbesondere im Bereich von 1,3 bis 3 mm. - Reiblamelle (
10 ) nach einem der Ansprüche 10 bis 14, dadurch gekennzeichnet, dass der Schlitz (30 ) mit einem Radius der Reiblamelle (10 ) einen Winkel von 0 bis 70° einschließt. - Reiblamelle (
10 ) nach einem der Ansprüche 10 bis 15, dadurch gekennzeichnet, dass der Schlitz (30 ) geradlinig, gekrümmt oder wellenförmig verläuft. - Reiblamelle (
10 ) nach einem der Ansprüche 8 bis 16, dadurch gekennzeichnet, dass die Durchbrechung (30 ) sich zumindest teilweise in einem Bereich des Lamellenkörpers (14 ) befindet, der einen Abstand von einem Umfangsrand hat, der mehr als 10% der Breite des Lamellenkörpers (14 ) entspricht. - Reiblamelle (
10 ) nach einem der vorhergehenden Ansprüche, dadurch gekennzeichnet, dass der Lamellenkörper (14 ) eine flache, ebene Scheibe darstellt. - Reiblamelle (
10 ) nach einem der vorhergehenden Ansprüche, dadurch gekennzeichnet, dass der Lamellenkörper (14 ) aus mehreren Segmenten zusammengesetzt ist. - Reibungskupplung (
2 ) mit mehreren Reiblamellen (10 ) nach einem der vorhergehenden Ansprüche, wobei Reiblamellen (10 ) eines ersten Typs verwendet werden, die mit der Mitnehmergeometrie (12 ) am Außenrand versehen sind, und Reiblamellen (10 ) eines zweiten Typs, die mit der Mitnehmergeometrie (12 ) am Innenrand versehen sind, wobei die Reiblamellen (10 ) des ersten und des zweiten Typs abwechselnd angeordnet sind. - Verfahren zur Herstellung einer Reiblamelle (
10 ) nach einem der Ansprüche 1 bis 19 mittels der folgenden Schritte: – es wird ein Stahlblech bereitgestellt, das auf mindestens einer Seite mit einer Makrostrukturierung (20 ) versehen ist, – aus dem Stahlblech wird ein Reiblamellenrohling herausgetrennt. - Verfahren nach Anspruch 21, dadurch gekennzeichnet, dass der Reiblamellenrohling gehärtet wird.
Priority Applications (6)
| Application Number | Priority Date | Filing Date | Title |
|---|---|---|---|
| DE102015114673.8A DE102015114673A1 (de) | 2015-09-02 | 2015-09-02 | Stahl-Reiblamelle und Reibungskupplung mit solchen Reiblamellen und Verfahren zur Herstellung einer solchen Reiblamelle |
| JP2016171228A JP2017083007A (ja) | 2015-09-02 | 2016-09-01 | 摩擦継手のための鋼製摩擦層板を製造する方法 |
| FR1658142A FR3040453A1 (de) | 2015-09-02 | 2016-09-01 | |
| CN201610801028.4A CN107246448A (zh) | 2015-09-02 | 2016-09-02 | 用于制造用于摩擦联轴器的钢摩擦片的方法 |
| US15/255,190 US20170056943A1 (en) | 2015-09-02 | 2016-09-02 | Method for manufacturing a steel friction lamella for a friction coupling |
| ATA50779/2016A AT517814A3 (de) | 2015-09-02 | 2016-09-02 | Verfahren zur Herstellung einer Stahl- Reiblamelle für eine Reibungskupplung |
Applications Claiming Priority (1)
| Application Number | Priority Date | Filing Date | Title |
|---|---|---|---|
| DE102015114673.8A DE102015114673A1 (de) | 2015-09-02 | 2015-09-02 | Stahl-Reiblamelle und Reibungskupplung mit solchen Reiblamellen und Verfahren zur Herstellung einer solchen Reiblamelle |
Publications (1)
| Publication Number | Publication Date |
|---|---|
| DE102015114673A1 true DE102015114673A1 (de) | 2017-03-02 |
Family
ID=58011057
Family Applications (1)
| Application Number | Title | Priority Date | Filing Date |
|---|---|---|---|
| DE102015114673.8A Withdrawn DE102015114673A1 (de) | 2015-09-02 | 2015-09-02 | Stahl-Reiblamelle und Reibungskupplung mit solchen Reiblamellen und Verfahren zur Herstellung einer solchen Reiblamelle |
Country Status (6)
| Country | Link |
|---|---|
| US (1) | US20170056943A1 (de) |
| JP (1) | JP2017083007A (de) |
| CN (1) | CN107246448A (de) |
| AT (1) | AT517814A3 (de) |
| DE (1) | DE102015114673A1 (de) |
| FR (1) | FR3040453A1 (de) |
Cited By (1)
| Publication number | Priority date | Publication date | Assignee | Title |
|---|---|---|---|---|
| DE102019204988A1 (de) * | 2019-04-08 | 2020-10-08 | Zf Friedrichshafen Ag | Lamelle für eine Lamellenkupplung, Lamellenkupplung mit der Lamelle sowie Verfahren zur Herstellung der Lamelle |
Families Citing this family (2)
| Publication number | Priority date | Publication date | Assignee | Title |
|---|---|---|---|---|
| US10975919B2 (en) * | 2018-03-06 | 2021-04-13 | Schaeffler Technologies AG & Co. KG | Laser etching of patterns on a surface for friction material adhesion |
| DE102018003829A1 (de) * | 2018-05-11 | 2019-11-14 | Borgwarner Inc. | Reiblamelle und reibschlüssig arbeitende Einrichtung mit einer solchen Reiblamelle |
Citations (6)
| Publication number | Priority date | Publication date | Assignee | Title |
|---|---|---|---|---|
| US3025686A (en) * | 1961-05-24 | 1962-03-20 | Robert P Lewis | Clutch discs |
| DE1173740B (de) * | 1960-12-14 | 1964-07-09 | Held Ag Maschf | Reibungskupplung mit in OEl laufenden Lamellen |
| DE1208127B (de) * | 1961-09-27 | 1965-12-30 | Pulsgetriebe Erich Friedrich P | Lamellenkupplung fuer hohe Belastungen |
| AT408478B (de) * | 1991-07-02 | 2001-12-27 | Hoerbiger & Co | Reibring |
| US20080314713A1 (en) * | 2005-11-01 | 2008-12-25 | Richard Vogele | Segmented and Laminated Core Steel Plate for Single and/or Double Sided Wet Clutch Friction Plates or Separator Plates |
| DE102011013936A1 (de) * | 2011-03-14 | 2012-09-20 | Friedrich Henkel Feinmechanik KG | Werkstücksegmentierung mittels Feinschneiden |
Family Cites Families (19)
| Publication number | Priority date | Publication date | Assignee | Title |
|---|---|---|---|---|
| GB341243A (en) * | 1929-12-23 | 1931-01-15 | Hermann Schoening | Improvements in and relating to multiple plate clutches |
| GB743192A (en) * | 1952-11-10 | 1956-01-11 | Geoffrey Robert Greenbergh Gat | Improvements in or relating to clutch plates |
| US3073424A (en) * | 1959-06-15 | 1963-01-15 | Eaton Mfg Co | Friction device |
| GB1276197A (en) * | 1969-10-08 | 1972-06-01 | Girling Ltd | Improvements in multiple disc brakes and stator discs for such brakes |
| JPS548144A (en) * | 1977-06-21 | 1979-01-22 | Mitsubishi Electric Corp | Manufacture of friction plate |
| US4260047A (en) * | 1979-12-03 | 1981-04-07 | General Motors Corporation | Friction disc and method of making same |
| AU550746B2 (en) * | 1980-11-26 | 1986-04-10 | Massey-Ferguson Services N.V. | Disc brake |
| JPS61130634A (ja) * | 1984-11-29 | 1986-06-18 | Sunstar Giken Kk | ディスクブレーキ用ディスク |
| DE3605558C5 (de) * | 1985-04-12 | 2004-10-14 | Volkswagen Ag | Kupplungsscheiben für eine Flüssigkeitsreibungskupplung und Verfahren zu deren Herstellung |
| JPH0772574B2 (ja) * | 1986-08-07 | 1995-08-02 | 愛知製鋼株式会社 | 差動制限装置の溝付きクラツチ板 |
| JPH0818092B2 (ja) * | 1986-08-08 | 1996-02-28 | 愛知製鋼株式会社 | 溝付きクラツチ板の製造方法 |
| JPS6349303A (ja) * | 1986-08-13 | 1988-03-02 | Aichi Steel Works Ltd | 溝付きクラツチ板の製造方法 |
| JPS62297549A (ja) * | 1987-06-12 | 1987-12-24 | Honda Motor Co Ltd | ブレ−キデイスク |
| DE3862837D1 (de) * | 1987-07-28 | 1991-06-20 | Lucas Ind Plc | Rotationsteil fuer eine fahrzeugsbremse mit fluessigkeitskuehlung. |
| EP0438031B1 (de) * | 1990-01-17 | 1994-03-23 | H J L PROJECTS & DEVELOPMENTS LTD. | Verfahren zur Bearbeitung von Oberflächen auf Gebilden und nach diesem Verfahren hergestellte Gebilde |
| JP2003130084A (ja) * | 2001-10-23 | 2003-05-08 | Tochigi Fuji Ind Co Ltd | 湿式摩擦クラッチ板 |
| EP1858295B1 (de) * | 2006-05-19 | 2013-06-26 | Nuance Communications, Inc. | Entzerrung zur Anwendung von akustischen Signalen |
| DE102011120811A1 (de) * | 2011-12-10 | 2013-06-13 | Volkswagen Aktiengesellschaft | Reiblamellen, Lamellenkupplung und Verfahren zur Herstellung von Reiblamellen |
| JP6044754B2 (ja) * | 2012-01-19 | 2016-12-14 | 株式会社ジェイテクト | クラッチプレートおよびその製造方法 |
-
2015
- 2015-09-02 DE DE102015114673.8A patent/DE102015114673A1/de not_active Withdrawn
-
2016
- 2016-09-01 FR FR1658142A patent/FR3040453A1/fr not_active Ceased
- 2016-09-01 JP JP2016171228A patent/JP2017083007A/ja active Pending
- 2016-09-02 CN CN201610801028.4A patent/CN107246448A/zh active Pending
- 2016-09-02 US US15/255,190 patent/US20170056943A1/en not_active Abandoned
- 2016-09-02 AT ATA50779/2016A patent/AT517814A3/de not_active Application Discontinuation
Patent Citations (6)
| Publication number | Priority date | Publication date | Assignee | Title |
|---|---|---|---|---|
| DE1173740B (de) * | 1960-12-14 | 1964-07-09 | Held Ag Maschf | Reibungskupplung mit in OEl laufenden Lamellen |
| US3025686A (en) * | 1961-05-24 | 1962-03-20 | Robert P Lewis | Clutch discs |
| DE1208127B (de) * | 1961-09-27 | 1965-12-30 | Pulsgetriebe Erich Friedrich P | Lamellenkupplung fuer hohe Belastungen |
| AT408478B (de) * | 1991-07-02 | 2001-12-27 | Hoerbiger & Co | Reibring |
| US20080314713A1 (en) * | 2005-11-01 | 2008-12-25 | Richard Vogele | Segmented and Laminated Core Steel Plate for Single and/or Double Sided Wet Clutch Friction Plates or Separator Plates |
| DE102011013936A1 (de) * | 2011-03-14 | 2012-09-20 | Friedrich Henkel Feinmechanik KG | Werkstücksegmentierung mittels Feinschneiden |
Cited By (2)
| Publication number | Priority date | Publication date | Assignee | Title |
|---|---|---|---|---|
| DE102019204988A1 (de) * | 2019-04-08 | 2020-10-08 | Zf Friedrichshafen Ag | Lamelle für eine Lamellenkupplung, Lamellenkupplung mit der Lamelle sowie Verfahren zur Herstellung der Lamelle |
| WO2020207878A1 (de) | 2019-04-08 | 2020-10-15 | Zf Friedrichshafen Ag | Lamelle für eine lamellenkupplung, lamellenkupplung mit der lamelle sowie verfahren zur herstellung der lamelle |
Also Published As
| Publication number | Publication date |
|---|---|
| AT517814A3 (de) | 2020-01-15 |
| JP2017083007A (ja) | 2017-05-18 |
| US20170056943A1 (en) | 2017-03-02 |
| AT517814A2 (de) | 2017-04-15 |
| CN107246448A (zh) | 2017-10-13 |
| FR3040453A1 (de) | 2017-03-03 |
Similar Documents
| Publication | Publication Date | Title |
|---|---|---|
| EP1988310B1 (de) | Zahnriemenrad | |
| EP2210005B1 (de) | Axiallager, insbesondere für einen turbolader | |
| EP2894363B1 (de) | Reibring, Synchronring, Synchronisierungseinheit, sowie ein Zahnräderwechselgetriebe für ein Fahrzeug | |
| DE102006045456A1 (de) | Reibteil für eine reibschlüssig arbeitende Einrichtung und reibschlüssig arbeitende Einrichtung mit einem solchen Reibteil | |
| DE102012218357A1 (de) | Verfahren zum Herstellen eines Kombinationszahnrads für einen gestapelten Planetenradsatz | |
| DE102008063662A1 (de) | Lamelle für eine reibschlüssig arbeitende Einrichtung und reibschlüssig arbeitende Einrichtung mit einer solchen Lamelle | |
| EP3374652A1 (de) | Lamelle für ein kraftschlüssiges schaltelement | |
| DE102007010764A1 (de) | Kupplungskörper und Synchronring für eine Synchronisierungseinrichtung | |
| DE102014226644A1 (de) | Verfahren zum Herstellen einer Differentialvorrichtung | |
| DE112009002345T5 (de) | Verarbeitung von Videodaten in Geräten mit eingeschränkten Ressourcen | |
| WO2016007980A1 (de) | Reiblamelle | |
| WO2018171835A1 (de) | Reibteil | |
| DE102013200039A1 (de) | Wellenanordnung mit umgekehrten Fasen an Keilnuten | |
| WO2015124154A2 (de) | Kupplung mit flanschverbindung | |
| EP2495468A2 (de) | Planetengetriebe mit Wellen-Naben-Verbindung | |
| DE102015100869A1 (de) | Verfahren zur Herstellung eines Synchronrings sowie Synchronring für synchronisierte Schaltgetriebe | |
| DE102017222891A1 (de) | Blech-Lamellenträger sowie Verfahren zu dessen Drehzahlfestigkeitserhöhung | |
| DE102015114673A1 (de) | Stahl-Reiblamelle und Reibungskupplung mit solchen Reiblamellen und Verfahren zur Herstellung einer solchen Reiblamelle | |
| DE102015212662A1 (de) | Reibschaltelement für ein Getriebe eines Fahrzeuges | |
| DE102014007270A1 (de) | Lamelle mit einem segmentierten Grundkörper und Verfahren zur Herstellung einer Lamelle oder eines segmentierten Grundkörpers für eine Lamelle | |
| DE102011120343B4 (de) | Verfahren zur Herstellung eines Kupplungskörpers sowie Kupplungskörper für eine Synchronisiereinrichtung | |
| DE102006034736A1 (de) | Lagerschale und Lager für Pleuel | |
| DE102015013215A1 (de) | Mehrteiliges Hochleistungskettenrad | |
| AT513583A1 (de) | Kupplungslamelle | |
| DE102017107209B4 (de) | Reiblamelle aus mehreren miteinander verbundenen Segmenten |
Legal Events
| Date | Code | Title | Description |
|---|---|---|---|
| R012 | Request for examination validly filed | ||
| R016 | Response to examination communication | ||
| R016 | Response to examination communication | ||
| R016 | Response to examination communication | ||
| R120 | Application withdrawn or ip right abandoned |