DE102015114196A1 - Loslager und Handhabungsvorrichtung zum Umsetzen von Stückgütern mit wenigstens einem Loslager - Google Patents

Loslager und Handhabungsvorrichtung zum Umsetzen von Stückgütern mit wenigstens einem Loslager Download PDF

Info

Publication number
DE102015114196A1
DE102015114196A1 DE102015114196.5A DE102015114196A DE102015114196A1 DE 102015114196 A1 DE102015114196 A1 DE 102015114196A1 DE 102015114196 A DE102015114196 A DE 102015114196A DE 102015114196 A1 DE102015114196 A1 DE 102015114196A1
Authority
DE
Germany
Prior art keywords
bearing
line system
hydraulic line
storage
fixing means
Prior art date
Legal status (The legal status is an assumption and is not a legal conclusion. Google has not performed a legal analysis and makes no representation as to the accuracy of the status listed.)
Withdrawn
Application number
DE102015114196.5A
Other languages
English (en)
Inventor
Klaus Ettenhuber
Johann Haas
Bernd Koehl
Kurt Perl
Peter Zeiner
Johann Linner
Current Assignee (The listed assignees may be inaccurate. Google has not performed a legal analysis and makes no representation or warranty as to the accuracy of the list.)
Krones AG
Original Assignee
Krones AG
Priority date (The priority date is an assumption and is not a legal conclusion. Google has not performed a legal analysis and makes no representation as to the accuracy of the date listed.)
Filing date
Publication date
Application filed by Krones AG filed Critical Krones AG
Priority to DE102015114196.5A priority Critical patent/DE102015114196A1/de
Publication of DE102015114196A1 publication Critical patent/DE102015114196A1/de
Withdrawn legal-status Critical Current

Links

Images

Classifications

    • BPERFORMING OPERATIONS; TRANSPORTING
    • B65CONVEYING; PACKING; STORING; HANDLING THIN OR FILAMENTARY MATERIAL
    • B65GTRANSPORT OR STORAGE DEVICES, e.g. CONVEYORS FOR LOADING OR TIPPING, SHOP CONVEYOR SYSTEMS OR PNEUMATIC TUBE CONVEYORS
    • B65G61/00Use of pick-up or transfer devices or of manipulators for stacking or de-stacking articles not otherwise provided for

Landscapes

  • Magnetic Bearings And Hydrostatic Bearings (AREA)

Abstract

Es ist ein Loslager (17) zur mechanischen Koppelung einer zur Aufnahme und Freigabe von Stückgütern ausgebildeten Arbeitseinrichtung an eine Führungsschiene offenbart. Das Loslager (17) umfasst ein Gehäuse (80) sowie wenigstens zwei sich gegenüberliegende und am Gehäuse (80) gehaltene Fixierungsmittel (60, 62), die gemeinsam einen Haltemechanismus zur gleitenden Aufnahme einer jeweiligen Führungsschiene ausbilden. Weiter umfasst das Loslager (17) mindestens ein hydraulisches Leitungssystem. Das mindestens eine hydraulische Leitungssystem steht mit wenigstens einem und vorzugweise mit mindestens einem Paar an sich gegenüberliegenden Fixierungsmitteln (60, 62) derart in Wirkverbindung, dass unter Zuhilfenahme des hydraulischen Leitungssystems (54) eine schwimmende Lagerung für das mindestens eine und vorzugsweise für das Paar der zwei sich gegenüberliegenden Fixierungsmittel (60, 62) bereitgestellt wird.

Description

  • Die vorliegende Erfindung betrifft ein Loslager und eine Handhabungseinrichtung zum Umsetzen von Stückgütern mit wenigstens einem Loslager.
  • Handhabungseinrichtungen zum Umsetzen von Stückgütern können beispielsweise für eine Palettierung von Gebinden Verwendung finden. Derartige Handhabungseinrichtungen besitzen bei aus dem Stand der Technik bekannten Ausführungsformen häufig eine erste Linearführung, über bzw. entlang welcher die Handhabungseinrichtung in vertikaler Richtung bewegt werden kann sowie eine zweite Linearführung, über bzw. entlang welcher die Handhabungseinrichtung in horizontaler Richtung bewegt werden kann. Durch derartige Handhabungseinrichtungen können Stückgüter entgegengenommen, in Richtung einer jeweiligen Palette bewegt werden und sodann auf die jeweilige Palette aufgesetzt werden.
  • Eine gattungsgemäße Handhabungseinrichtung, welche sowohl vertikal als auch horizontal verfahrbar ist, offenbart beispielsweise die DE 295 05 864 U1 . Die Palettiermaschine gemäß dem DE-Gebrauchsmuster ist ausgebildet zum Abstapeln von Paletten, die mit mehreren Schichten von Leerflaschenkästen beladen sind. Hierzu umfasst die Palettiermaschine eine gestellfeste und vertikale Tragsäule, an der heb- und senkbar ein Hubwagen geführt ist. Am Hubwagen ist zudem eine horizontale Führungsschiene angeordnet, mit welcher über ein Lager ein Verschiebewagen in Verbindung steht. Der Verschiebewagen kann entlang der horizontalen Führungsschiene durch einen motorischen Antrieb verfahren werden. Der Verschiebewagen trägt einen mit pneumatisch betätigbaren Klemmbacken ausgerüsteten Klemmgreifkopf, der eine Kastenlage am Umfang allseitig umfassen und gesteuert entspannen kann. Der Verschiebewagen ist formschlüssig an der vertikalen Tragsäule und an der horizontalen Führungsschiene gelagert, so dass der Verschiebewagen gegenüber der Tragsäule und der horizontalen Führungsschiene zwar linear bewegt werden kann, die formschlüssige Lagerung jedoch eine Rotation bzw. Drehung des Verschiebewagens gegenüber der Tragsäule bzw. der horizontalen Führungsschiene unterbindet.
  • Die Praxis hat gezeigt, dass die Tragsäule bzw. horizontale Führungsschiene Fertigungsschwanken unterliegen kann. Bei häufigem Verfahren des Verschiebewagens können hiermit Verformungen bzw. Beschädigungen der Tragsäule und der horizontalen Führungsschiene einhergehen. Zudem sind Ausführungsformen bekannt, bei welchen Handhabungseinrichtungen unter Zuhilfenahme mehrerer horizontaler bzw. vertikaler Führungsschienen verfahren werden können. Hierbei kann es sein, dass die mehreren horizontalen bzw. vertikalen Führungsschienen nicht vollständig bzw. nur näherungsweise parallel zueinander ausgerichtet sind, womit weiterhin Verformungen bzw. Beschädigungen der horizontalen bzw. vertikalen Führungsschienen und/oder ggf. mit den horizontalen bzw. vertikalen Führungsschienen gekoppelter Lager einhergehen können.
  • Eine Aufgabe der Erfindung ist daher, eine Handhabungsvorrichtung zum Umsetzen von Stückgütern zur Verfügung zu stellen, bei welcher das Risiko einer derartigen Beschädigung zumindest reduziert werden kann. Weiter ist eine Aufgabe der Erfindung ein Mittel zur Verfügung zu stellen, über welches sich derartige Beschädigungen reduzieren lassen. Die Handhabungsvorrichtung und das Mittel sollen einfach und unkompliziert ausgebildet sein und kostengünstig hergestellt werden können.
  • Die obigen Aufgaben werden durch eine Handhabungsvorrichtung und ein Loslager gelöst, welche die Merkmale in den Ansprüchen 1 und 11 umfassen. Weitere vorteilhafte Ausführungsformen werden durch die jeweiligen abhängigen Ansprüche beschrieben.
  • Die Erfindung betrifft eine Handhabungsvorrichtung zum Umsetzen von Stückgütern, wie Getränkebehältnissen oder dergleichen. In besonders bevorzugten Ausführungsformen kann die Handhabungsvorrichtung beispielsweise als Palettiermaschine ausgebildet sein bzw. zur Palettierung Verwendung finden. In weiteren denkbaren Ausführungsformen kann die Handhabungsvorrichtung beispielsweise als Packmaschine ausgebildet sein.
  • Die Handhabungsvorrichtung umfasst eine Arbeitseinrichtung zur Aufnahme und Freigabe von Stückgütern. Zudem eine erste Führungseinheit vorgesehen, mit welcher die Arbeitseinrichtung in Verbindung steht und über welche die Arbeitseinrichtung in vertikaler Richtung bewegbar ist. Weiter eine zweite Führungseinheit, mit welcher die Arbeitseinrichtung in Verbindung steht und über welche die Arbeitseinrichtung in horizontaler Richtung bewegbar ist.
  • Für die Handhabungsvorrichtung ist vorgesehen, dass die erste Führungseinheit eine als Gleitlagerung ausgebildete erste Lagerung umfasst, welche wenigstens ein Loslager und mindestens ein vorzugsweise als Festlager ausgebildetes weiteres Lager besitzt, wobei das wenigstens eine Loslager und das mindestens eine weitere Lager an unterschiedliche mindestens zweier horizontaler Führungsschienen der ersten Führungseinheit mechanisch gekoppelt sind und/oder dass die zweite Führungseinheit eine als Gleitlagerung ausgebildete zweite Lagerung umfasst, welches wenigstens ein Loslager und mindestens ein vorzugsweise als Festlager ausgebildetes weiteres Lager besitzt, wobei das wenigstens eine Loslager und das mindestens eine weitere Lager an unterschiedliche mindestens zweier vertikaler Führungsschienen der zweiten Führungseinheit mechanisch gekoppelt sind.
  • In bevorzugten Ausführungsformen können genau zwei horizontale Führungsschienen und genau zwei vertikale Führungsschienen vorgesehen sein. Die mindestens zwei horizontalen Führungsschienen und/oder die mindestens zwei vertikalen Führungsschienen können aus einer Bronzelegierung bestehen.
  • Beispielsweise kann es in bevorzugten Ausführungsformen sein, dass die mindestens zwei horizontalen Führungsschienen an einem Schlitten befestigt sind. Der Schlitten kann über die zweite Lagerung mit den mindestens zwei vertikalen Führungsschienen mechanisch gekoppelt sein, so dass der Schlitten zusammen mit den mindestens zwei horizontalen Führungsschienen und der ersten Lagerung entlang der mindestens zwei vertikalen Führungsschienen auf und ab bewegt werden kann.
  • In weiteren Ausführungsformen ist auch vorstellbar, dass die erste Lagerung und/oder die zweite Lagerung ortsfest installiert sind und die mindestens zwei vertikalen Führungsschienen und/oder die mindestens zwei horizontalen Führungsschienen ortsfest mit der Arbeitseinrichtung in Verbindung stehen. Bei derartigen Ausführungsformen können die horizontalen Führungsschienen und/oder die vertikalen Führungsschienen bei einem Heben bzw. Senken der Arbeitseinrichtung relativ zur ortsfesten ersten Lagerung und/oder relativ zur ortsfesten zweiten Lagerung bewegt werden.
  • Ist die Handhabungsvorrichtung als Palettiermaschine ausgebildet, so kann die Handhabungsvorrichtung über die Arbeitseinrichtung Stückgüter bzw. eine palettierfähige Lage an Stückgütern ggf. von einer Horizontalfördereinrichtung entgegennehmen, wonach die Arbeitseinrichtung anschließend horizontal und/oder vertikal in Richtung einer Palette verfahren wird und hierauf folgend die Stückgüter bzw. die palettierfähige Lage an Stückgütern auf der Palette abgesetzt wird.
  • Die Bewegung der Arbeitseinrichtung kann über mindestens einen Aktor bewirkt werden, der hierzu mit einer Steuerungseinrichtung in Verbindung stehen. Die Arbeitseinrichtung kann wenigstens einen Jalousiegreifkopfumfassen, um eine palettierfähige Lage an Stückgütern entgegenzunehmen und auf einer jeweiligen Palette abzusetzen. Der wenigstens eine Jalousiegreifkopf kann an den vorherig beschriebenen Schlitten mechanisch gekoppelt sein.
  • Durch die vorherig beschriebene Lagerung kann bei einer geringen Abweichung von einer parallelen Orientierung der horizontalen bzw. vertikalen Führungsschienen die Arbeitseinrichtung ohne Beschädigung der horizontalen bzw. vertikalen Führungsschienen und/oder der ersten und/oder zweiten Lagerung bewegt werden.
  • Zudem haben sich Ausführungsformen bewährt, bei welchen das mindestens eine weitere Lager der ersten Lagerung als mindestens ein Festlager ausgebildet ist. Das mindestens eine Festlager der ersten Lagerung kann mit einer oberen der mindestens zwei horizontalen Führungsschienen mechanisch gekoppelt sein. Weiter kann das wenigstens eine Loslager der ersten Lagerung mit einer unteren der mindestens zwei horizontalen Führungsschienen mechanisch gekoppelt sein. Die Arbeitseinrichtung kann hierbei hängend mit der ersten Lagerung in Verbindung stehen. Eine Anordnung, bei welcher das wenigstens eine Loslager an eine untere der horizontalen Führungsschienen mechanisch gekoppelt ist, haben sich insbesondere für eine hängende Anordnung der Arbeitseinrichtung gut bewährt.
  • Es kann zudem vorgesehen sein, dass die erste Lagerung mindestens zwei Festlager umfasst, wobei die mindestens zwei Festlager mit einer gemeinsamen oberen der mindestens zwei horizontalen Führungsschienen mechanisch gekoppelt sind. Weiter kann vorgesehen sein, dass die erste Lagerung wenigstens zwei Loslager umfasst, wobei die wenigstens zwei Loslager mit einer gemeinsamen unteren der mindestens zwei horizontalen Führungsschienen mechanisch gekoppelt sind. Hierdurch kann die Arbeitseinrichtung auch bei großen aufgenommenen Lasten besonders stabil geführt bzw. bewegt werden.
  • In denkbaren Ausführungsformen können die erste Lagerung und/oder die zweite Lagerung ergänzend oder alternativ zur Gleitlagerung wenigstens eine und vorzugsweise mehrere Rollen umfassen, die mit wenigstens einer der mindestens zwei horizontalen Führungsschienen und/oder mit wenigstens einer der mindestens zwei vertikalen Führungsschienen formschlüssig in Eingriff stehen, so dass die wenigstens eine und die vorzugsweise mehreren Rollen bei einer Bewegung der Arbeitseinrichtung unter formschlüssigem Eingriff entlang der jeweiligen horizontalen und/oder vertikalen Führungsschiene fahren können.
  • Zudem kann es sein, dass das wenigstens eine Loslager der ersten Lagerung und/oder das wenigstens eine Loslager der zweiten Lagerung mindestens zwei sich gegenüberliegende Fixierungsmittel umfasst, die zur mechanischen Koppelung die jeweilige vertikale und/oder die jeweilige horizontale Führungsschiene formschlüssig halten. In besonders bevorzugten Ausführungsformen kann das wenigstens eine Loslager der ersten Lagerung und/oder das wenigstens eine Loslager der zweiten Lagerung mindestens vier Fixierungsmittel umfassen, die sich paarweise gegenüberliegen.
  • Weiter kann für das wenigstens eine Loslager der ersten Lagerung und/oder für das wenigstens eine Loslager der zweiten Lagerung mindestens ein hydraulisches Leitungssystem vorgesehen sein, wobei das mindestens eine hydraulische Leitungssystem mit wenigstens einem und vorzugsweise mit mindestens einem Paar an sich gegenüberliegenden Fixierungsmitteln derart in Wirkverbindung steht, dass unter Zuhilfenahme des mindestens einen hydraulischen Leitungssystem eine schwimmende Lagerung für das mindestens eine und vorzugsweise für das mindestens eine Paar an zwei sich gegenüberliegenden Fixierungsmitteln bereitgestellt wird. Im mindestens einen hydraulischen Leitungssystem kann ein Fluid aufgenommen sein, um die schwimmende Lagerung für das mindestens eine und vorzugsweise für mindestens ein Paar an zwei sich gegenüberliegenden Fixierungsmitteln bereitzustellen. Denkbar ist hierbei, dass Fluid im hydraulischen Leitungssystem ausweichen kann, um das mindestens eine Fixierungsmittel und vorzugsweise das mindestens eine Paar an zwei sich gegenüberliegenden Fixierungsmitteln schwimmend zu lagern.
  • Zudem haben sich Ausführungsformen bewährt, bei welchen die mindestens zwei sich gegenüberliegenden Fixierungsmittel bzw. das mindestens eine Paar an sich gegenüberliegenden Fixierungsmitteln über das mindestens eine hydraulische Leitungssystem miteinander zwangsgekoppelt sind, so dass bei einer Positionsveränderung eines ersten Fixierungsmittels mindestens ein zweites gegenüberliegendes Fixierungsmittel eine Ausgleichsbewegung ausführt.
  • Weiter kann es sein, dass das mindestens eine hydraulische Leitungssystem mit den mindestens zwei sich gegenüberliegenden Fixierungsmitteln derart in Verbindung steht, dass mittels einer Veränderung eines im mindestens einen hydraulischen Leitungssystem herrschenden Druckniveaus der relative Abstand der mindestens zwei sich gegenüberliegenden Fixierungsmittel zueinander verstellbar ist. Das wenigstens eine Loslager der ersten Lagerung und/oder das wenigstens eine Loslager der zweiten Lagerung kann mindestens ein Stellelement umfassen, über welche das Druckniveau im mindestens einen hydraulischen Leitungssystem festgesetzt werden kann. Das mindestens eine Stellelement kann beispielsweise als Stellschraube ausgebildet sein, die in das mindestens eine hydraulische Leitungssystem eintaucht.
  • In vorstellbaren Ausführungsformen kann die Handhabungsvorrichtung mindestens einen Sensor umfassen, mittels dessen ein im mindestens einen hydraulischen Leitungssystem des wenigstens einen Loslagers der ersten Lagerung und/oder des wenigstens einen Loslagers der zweiten Lagerung herrschendes Ist-Druckniveau erfasst werden kann. Der mindestens eine Sensor kann hierzu im mindestens einen hydraulischen Leitungssystem positioniert sein oder außerhalb des mindestens einen hydraulischen Leitungssystems angeordnet sein.
  • Zudem kann hierbei eine Druckerzeugungseinrichtung vorgesehen sein, welche mit dem mindestens einen hydraulischen Leitungssystem in fluidischer Verbindung steht, so dass das mindestens eine hydraulische Leitungssystem über die Druckerzeugungseinrichtung mit einem bestimmten Druck-Niveau beaufschlagbar ist.
  • Darüber hinaus kann die Handhabungsvorrichtung eine Steuerungseinrichtung umfassen, die mit dem mindestens einen Sensor und der Druckerzeugungseinrichtung derart in Verbindung steht, dass die Druckerzeugungseinrichtung durch die Steuerungseinrichtung unter Berücksichtigung des durch den mindestens einen Sensor erfassten Ist-Druckniveaus zur Beaufschlagung des mindestens einen hydraulischen Leitungssystem mit einem Soll-Druckniveau ansteuerbar ist. Wie vorhergehend bereits erwähnt, kann es sein, dass über das Druckniveau im mindestens einen hydraulischen Leitungssystem der relative Abstand zweier sich gegenüberliegender Fixierungsmittel vorgegeben werden kann. Durch die beschriebene Regelung mittels der Steuerungseinrichtung kann ein Druckniveau im hydraulischen Leitungssystem im Wesentlichen konstant gehalten werden. Zeigen zwei sich gegenüberliegende Fixierungsmittel Verschleißerscheinungen, so kann mittels einer derartigen Regelung, bei welcher ein Druckniveau konstant gehalten wird, eine jeweilige vertikale bzw. horizontale Führungsschiene über das jeweilige Loslager dennoch formschlüssig gehalten werden. Die zwei sich gegenüberliegenden Fixierungsmittel können unter Zuhilfenahme der Steuerungseinrichtung automatisch nachgestellt werden.
  • Auch ist vorstellbar, dass das wenigstens eine Loslager der ersten Lagerung und/oder das wenigstens eine Loslager der zweiten Lagerung mindestens ein Mittel zum selbständigen Aufbringen eines Schmier- und/oder Gleitmittelauftrages auf die jeweilige vertikale und/oder horizontale Führungsschiene besitzt. Das mindestens eine Mittel zum selbständigen Aufbringen eines Schmier- und/oder Gleitmittelauftrages kann beispielsweise wenigstens einen Filzgleiter umfassen, der ggf. mit der jeweiligen horizontalen und/oder vertikalen Führungsschiene in Oberflächenkontakt steht.
  • Weiterhin kann wenigstens ein Stutzen vorgesehen sein, welcher von einem Gehäuse des wenigstens einen Loslagers der ersten Lagerung und/oder vom Gehäuse des wenigstens einen Loslagers der zweiten Lagerung absteht. Über den wenigstens einen Stutzen kann ggf. ein Schmier- und/oder Gleitmittel an wenigstens einen Filzgleiter weitergegeben werden.
  • Zudem kann es sein, dass auch das wenigstens eine Festlager der ersten Lagerung und/oder das wenigstens eine Festlager der zweiten Lagerung mindestens zwei sich gegenüberliegende Fixierungsmittel umfasst, die zur mechanischen Koppelung die jeweilige vertikale und/oder horizontale Führungsschiene formschlüssig halten. Weiter kann das wenigstens eine Festlager der ersten Lagerung und/oder das wenigstens eine Festlager der zweiten Lagerung mindestens ein hydraulisches Leitungssystem umfassen, welches mit wenigstens einem zweier sich gegenüberliegender Fixierungsmittel in Wirkverbindung steht, so dass eine bestimmte relative Beabstandung des mindestens einen Fixierungsmittels zu einem weiteren gegenüberliegenden Fixierungsmittel durch ein definiertes Druckniveau im mindestens einen hydraulischen Leitungssystem vorgebbar ist. Insbesondere kann es sein, dass das mindestens eine Fixierungsmittel zu einem weiteren gegenüberliegenden Fixierungsmittel über das mindestens eine hydraulische Leitungssystem verstellbar ist, während das weitere gegenüberliegende Fixierungsmittel ortsfest an einem Gehäuse des jeweiligen Festlagers gehalten wird.
  • Auch kann das wenigstens eine Festlager der ersten Lagerung und/oder das wenigstens eine Festlager der zweiten Lagerung mindestens ein Mittel zum selbständigen Aufbringen eines Schmier- und/oder Gleitmittelauftrags auf die jeweilige vertikale und/oder horizontale Führungsschiene besitzen. Das mindestens eine Mittel zum selbständigen Aufbringen eines Schmier- und/oder Gleitmittelauftrages kann mit der jeweiligen vertikalen bzw. horizontalen Führungsschiene in Oberflächenkontakt stehen. Insbesondere können das mindestens eine Mittel zum selbständigen Aufbringen eines Schmier- und/oder Gleitmittelauftrages mindestens einen Filzgleiter umfassen.
  • Die Erfindung betrifft zudem ein Loslager zur mechanischen Koppelung einer zur Aufnahme und Freigabe von Stückgütern ausgebildeten Arbeitseinrichtung an eine Führungsschiene. Merkmale, welche vorhergehend bereits zur Handhabungsvorrichtung beschrieben wurden, können auch für das nachfolgend beschriebene Loslager Verwendung finden. Zudem können Merkmale, welche nachfolgend zu denkbaren Ausführungsformen des Loslagers beschrieben werden, für die erfindungsgemäße Handhabungsvorrichtung vorgesehen sein.
  • Das Loslager umfasst ein Gehäuse sowie wenigstens zwei sich gegenüberliegende und am Gehäuse gehaltene Fixierungsmittel, die gemeinsam einen Haltemechanismus zur gleitenden Aufnahme einer jeweiligen Führungsschiene ausbilden. Wie vorhergehend bereits erwähnt, können sich hierbei jeweils zwei Fixierungsmittel paarweise gegenüberliegen.
  • Zudem umfasst das Loslager mindestens ein hydraulisches Leitungssystem. Das mindestens eine hydraulische Leitungssystem steht mit wenigstens einem Fixierungsmittel und vorzugsweise mit mindestens einem Paar an sich gegenüberliegenden Fixierungsmitteln derart in Wirkverbindung, dass unter Zuhilfenahme des mindestens einen hydraulischen Leitungssystems eine schwimmende Lagerung für das mindestens eine Fixierungsmittel und vorzugsweise für das Paar der zwei sich gegenüberliegenden Fixierungsmittel bereitgestellt wird.
  • Es kann sein, dass das mindestens eine hydraulische Leitungssystem zumindest abschnittsweise durch mindestens eine in das Gehäuse eingebrachte Bohrung ausgebildet wird.
  • Weiter kann das Loslager mindestens ein Mittel zum selbständigen Aufbringen eines Schmier- und/oder Gleitmittelauftrages auf eine Führungsschiene besitzen. Das mindestens eine Mittel kann beispielsweise mindestens einen Filzgleiter umfassen.
  • In besonders bevorzugten Ausführungsformen können die mindestens zwei sich gegenüberliegenden Fixierungsmittel über das mindestens eine hydraulische Leitungssystem miteinander zwangsgekoppelt sein, so dass bei einer Positionsveränderung eines ersten Fixierungsmittels mindestens ein zweites gegenüberliegendes Fixierungsmittel eine Ausgleichsbewegung ausführt.
  • Weiter ist denkbar, dass das mindestens eine hydraulische Leitungssystem zumindest abschnittsweise durch wenigstens zwei auf gegenüberliegenden Seiten in das Gehäuse eingebrachte Bohrungen ausgebildet wird, die für die Zwangskoppelung der mindestens zwei sich gegenüberliegenden Fixierungsmittel über einen Bypass fluidisch miteinander in Verbindung stehen. Die zwei auf gegenüberliegenden Seiten in das Gehäuse eingebrachten Bohrungen können hierbei parallel zueinander orientiert sein.
  • Im Folgenden sollen Ausführungsbeispiele die Erfindung und ihre Vorteile anhand der beigefügten Figuren näher erläutern. Die Größenverhältnisse der einzelnen Elemente zueinander in den Figuren entsprechen nicht immer den realen Größenverhältnissen, da einige Formen vereinfacht und andere Formen zur besseren Veranschaulichung vergrößert im Verhältnis zu anderen Elementen dargestellt sind.
  • 1 zeigt eine schematische Perspektivansicht einer ersten Ausführungsform einer erfindungsgemäßen Handhabungsvorrichtung;
  • 2 zeigt eine Detailansicht einzelner Komponenten der Ausführungsform einer Handhabungsvorrichtung aus 1;
  • 3 zeigt eine weitere Detailansicht einzelner Komponenten der Ausführungsform einer Handhabungsvorrichtung aus 1;
  • 4 zeigt eine schematische Seitenansicht auf ein Festlager, wie es für diverse Ausführungsformen einer erfindungsgemäßen Handhabungsvorrichtung vorgesehen sein kann;
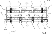
  • 5 zeigt einen Längsschnitt durch das Festlager aus 4 entlang der Linie A-A;
  • 6 zeigt einen Querschnitt durch das Festlager aus 4 entlang der Linie B-B;
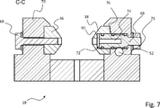
  • 7 zeigt einen weiteren Querschnitt durch das Festlager aus 4 entlang der Linie C-C;
  • 8 zeigen schematische Perspektivansichten einer denkbaren Ausführungsform für ein erfindungsgemäßes Loslager;
  • 9 zeigt eine schematische Seitenansicht des Loslagers aus 8;
  • 10 zeigt einen Längsschnitt entlang der in 9 dargestellten Linie A-A durch das Ausführungsbeispiel eines Loslagers gemäß 8 und 9;
  • 11 zeigt einen Querschnitt entlang der in 9 dargestellten Linie C-C durch das Ausführungsbeispiel eines Loslagers aus den 8 bis 10;
  • 12 zeigt einen Querschnitt entlang der in 9 dargestellten Linie B-B durch das Ausführungsbeispiel eines Loslagers aus den 8 bis 11.
  • Für gleiche oder gleich wirkende Elemente der Erfindung werden identische Bezugszeichen verwendet. Ferner werden der Übersicht halber nur Bezugszeichen in den einzelnen Figuren dargestellt, die für die Beschreibung der jeweiligen Figur erforderlich sind. Die dargestellten Ausführungsformen stellen lediglich Beispiele dar, wie die Erfindung ausgestaltet sein kann und stellen keine abschließende Begrenzung dar.
  • 1 zeigt eine schematische Perspektivansicht einer ersten Ausführungsform einer erfindungsgemäßen Handhabungsvorrichtung 1. Die Handhabungsvorrichtung 1 ist vorgesehen zum Umsetzen von Stückgütern, wie beispielsweise Getränkebehältnissen, die in den Figuren vorliegender Patentanmeldung nicht mit dargestellt sind. Die Handhabungsvorrichtung 1 kann somit als Palettiermaschine ausgebildet sein, welche eine palettierfähige Lage an Stückgütern bzw. Getränkebehältnissen von einer Horizontalfördereinrichtung entgegennimmt und auf einer Palette absetzt.
  • Hierzu umfasst die Handhabungsvorrichtung 1 eine erste Führungseinheit 10 mit einem Schlitten 11, an welchem zwei horizontale Führungsschienen 13 und 15 ortsfest fixiert sind. Weiter ist eine erste Lagerung 14 zu erkennen, welche vorliegend zwei Festlager 18 umfasst, von welchen in 1 ein Festlager 18 zu erkennen ist. Beide Festlager 18 sind mechanisch an eine obere horizontale Führungsschiene 13 gekoppelt bzw. stehen gleitend mit einer oberen horizontalen Führungsschiene 13 in Verbindung.
  • Zudem umfasst die erste Lagerung 14 zwei Loslager 17, von welchen in 1 ein Loslager 17 zu erkennen ist. Beide Loslager 17 sind mechanisch an eine untere horizontale Führungsschiene 15 gekoppelt bzw. stehen gleitend mit einer unteren horizontalen Führungsschiene 15 in Verbindung.
  • Von den beiden Loslagern 17 und den beiden Festlagern 18 wird gemeinsam eine Tragsäule 8 gehalten, an welcher eine Arbeitseinrichtung zur Aufnahme und Freigabe von Stückgütern befestigt werden kann. Mit den Festlagern 18 steht die Tragsäule 8 über ein Gestänge 7 in Verbindung. Ist die Handhabungsvorrichtung 1 als Palettiermaschine ausgebildet, so kann die Arbeitseinrichtung beispielsweise einen Jalousiegreifkopf umfassen. In weiteren denkbaren Ausführungsformen kann die Arbeitseinrichtung mehrere Greiftulpen besitzen, mittels welcher Getränkebehältnisse entgegengenommen werden können. Wird die Tragsäule 8 zusammen mit der an ihr befestigten Arbeitseinrichtung horizontal und/oder vertikal bewegt, so bleibt die Tragsäule 8 hierbei horizontal orientiert.
  • Da die Tragsäule 8 zusammen mit der Arbeitseinrichtung eine große Masse besitzen kann, haben sich zur stabilen Führung der Arbeitseinrichtung bzw. der Tragsäule 8 zusammen mit der Arbeitseinrichtung Ausführungsformen gemäß 1 bewährt, bei welchen mindestens ein Festlager 18 an die obere horizontale Führungsschiene 13 mechanisch gekoppelt ist und mindestens Loslager 17 an die untere horizontale Führungsschiene 15 mechanisch gekoppelt sind.
  • Die Handhabungsvorrichtung 1 umfasst zudem eine zweite Führungseinheit 20 mit zwei vertikalen Führungsschienen 23 und 25, die an einer Standsäule 22 befestigt sind. Die horizontalen Führungsschienen 13 und 15 sind auf einer der Standsäule 22 abgewandten Seite des Schlittens 11 befestigt.
  • Die zweite Führungseinheit 20 besitzt eine zweite Lagerung 24, die vorliegend über vier Gleitrollen 29 verfügt, von welchen in 1 zwei Gleitrollen 29 zu erkennen sind. Die Gleitrollen 29 tragen den Schlitten 11 und stehen mit den vertikalen Führungsschienen 23 und 25 in Eingriff, so dass der Schlitten 11 via die Gleitrollen 29 entlang der vertikalen Führungsschienen 23 und 25 auf und ab verfahren werden kann. In weiteren denkbaren Ausführungsformen können anstelle der in 1 gezeigten Gleitrollen 29 ebenso wenigstens ein Festlager 18 bzw. Loslager 17 vorgesehen sein, die mechanisch an die vertikalen Führungsschienen 23 und 25 gekoppelt sind. Für die vertikale Bewegung des Schlittens 11 bzw. zum Heben und Senken der Tragsäule 8 zusammen mit der an der Tragsäule 8 fixierten Arbeitseinrichtung ist ein Aktor 50 vorgesehen, der auf der Standsäule 22 aufsitzt.
  • Die Praxis hat gezeigt, dass aufgrund von Fertigungstoleranzen oder einer ungenauen Befestigung der horizontalen Führungsschienen 13 und 15 diese ggf. nicht exakt parallel zueinander ausgerichtet sein können. Bei einer starren Koppelung der Arbeitseinrichtung bzw. der Tragsäule 8 zusammen mit der Arbeitseinrichtung an die lediglich näherungsweise horizontal zueinander ausgerichteten Führungsschienen 13 und 15, können Lager bei einer Relativbewegung mit lediglich näherungsweise horizontal zueinander ausgerichteten Führungsschienen 13 und 15 verkeilen oder beschädigt werden. Die für die Handhabungsvorrichtung 1 vorgesehenen Loslager 17 erlauben hierbei eine nicht vollständig bzw. nur näherungsweise parallel zueinander orientierte Ausrichtung der Führungsschienen 13 und 15 zueinander, ohne dass bei einer Bewegung der Tragsäule 8 bzw. Arbeitseinrichtung die Führungsschienen 13 bzw. 15 und/oder die Loslager 17 und/oder Festlager 18 hierbei beschädigt werden.
  • 2 zeigt eine Detailansicht einzelner Komponenten der Ausführungsform einer Handhabungsvorrichtung 1 aus 1. Insbesondere sind in 2 nochmals ein Loslager 17 und ein Festlager 18 zu erkennen, welche die obere und untere horizontale Führungsschiene 13 und 15 formschlüssig greifen. Die Gleitrollen 29 der zweiten Lagerung 24 (vgl. 1) sind, wie ebenso in 2 zu erkennen, gegenüber ihrer jeweiligen vertikalen Führungsschiene 23 bzw. 25 winklig angestellt und befinden sich hierbei in formschlüssigem Eingriff mit ihrer jeweiligen vertikalen Führungsschiene 23 bzw. 25. Die Tragsäule 8 ist horizontal orientiert und behält ihre horizontale Orientierung während einer Bewegung der Arbeitseinrichtung bei.
  • 3 zeigt eine weitere Detailansicht einzelner Komponenten der Ausführungsform einer Handhabungsvorrichtung 1 aus 1. Insbesondere ist in 3 nochmals eine Detailansicht eines Loslagers 17 zu erkennen sowie seine formschlüssige Koppelung an eine horizontale Führungsschiene 15. Die horizontale Führungsschiene 15 ist, wie vorhergehend bereits erwähnt, ortsfest an den Schlitten 11 gekoppelt. In Richtung der Bildebene kann eine gleitende Bewegung des Loslagers 17 relativ zur horizontalen Führungsschiene 15 erfolgen.
  • 4 zeigt eine schematische Seitenansicht auf ein Festlager 18, wie es für diverse Ausführungsformen einer erfindungsgemäßen Handhabungsvorrichtung 1 vorgesehen sein kann. Wie insbesondere in den nachfolgenden 5 bis 7 noch gezeigt, besitzt das Festlager 18 ein hydraulisches Leitungssystem 52, mittels dessen ein relativer Abstand mehrerer Fixierungsmittel 36, 38 bzw. mindestens zweier gegenüberliegender Fixierungsmittel 36 und 38 vorgegeben werden kann. In 4 ist ein Stutzen 34 zu erkennen. Über den Stutzen 34 kann Schmier- und/oder Gleitmittel an mindestens einen nachfolgend noch beschriebenen Filzgleiter 66 (vgl. 5) weitergegeben werden.
  • Weiter ist ein Stellmittel 32 bzw. eine Stellschraube 33 zu erkennen, die in das hydraulische Leitungssystem 52 des Festlagers 18 eintaucht und über welche ein im hydraulischen Leitungssystem 52 ausgebildetes Druckniveau beeinflusst werden kann, um den relativen Abstand der sich gegenüberliegenden Fixierungsmittel 36 und 38 vorzugeben.
  • Da das hydraulische Leitungssystem 52 durch eine Bohrung in ein Gehäuse 70 (vgl. 5 bis 7) des Loslagers 18 eingebracht ist, wird das hydraulische Leitungssystem 52 bzw. die Bohrung auf einer Stirnseite des Gehäuses 70 mittels eines Verschlussstopfens 30 geschlossen.
  • 5 zeigt einen Längsschnitt durch das Festlager 18 aus 4 entlang der Linie A-A. Das Festlager 18 umfasst ein Gehäuse 70, an welchem Gehäuse 70 über Schraubverbindungen 68 mehrere Fixierungsmittel 36 ortsfest gehalten sind.
  • Zudem sind Fixierungsmittel 38 zu erkennen, welche den via Schraubverbindungen 68 ortsfest am Gehäuse 70 gehaltenen Fixierungsmitteln 36 gegenüberliegen. Die Fixierungsmittel 38 stehen mit einem hydraulischen Leitungssystem 52 in Wirkverbindung. Das hydraulische Leitungssystem 52 wurde zumindest abschnittsweise über Bohrungen in das Gehäuse 70 eingebracht.
  • Weiter sind Bolzen 69 zu erkennen, die im Gehäuse 70 sitzen und jeweils einen Kanal 74 ausbilden, welcher jeweilige Kanal 74 mit dem hydraulischen Leitungssystem 52 in fluidischer Verbindung steht. Eine Zusammenschau der 5 und 7 zeigt zudem, dass zwischen den Bolzen 69 und den Fixierungsmitteln 38 ein Abstand 72 über eine Druckkammer 90 ausgebildet wird. Bei einer Erhöhung des Druckniveaus im hydraulischen Leitungssystem 52 wird das Volumen der Druckkammer 90 und hiermit der Abstand 72 betragsmäßig vergrößert. Hierdurch bewegen sich die Fixierungsmittel 38 in Richtung weg der jeweiligen Bolzen 69, so dass mittels einer Erhöhung des im hydraulischen Leitungssystem 52 ausgebildeten Druckniveaus der relative Abstand zwischen den Fixierungsmitteln 38 und den ortsfesten gegenüberliegenden Fixierungsmitteln 36 verkleinert werden kann.
  • Beispielsweise kann es sein, dass die Fixierungsmittel 36 bzw. 38 nach längerer Zeit Verschleißerscheinungen besitzen. Durch eine Erhöhung des Druckniveaus im hydraulischen Leitungssystem 52 kann sodann auf einfache Art und Weise eine Korrektur bzw. Anpassung des relativen Abstandes gegenüberliegender Fixierungsmittel 36 bzw. 38 zueinander erfolgen.
  • Um das Druckniveau im hydraulischen Leitungssystem 52 zu beeinflussen, besitzt das Festlager 18 ein Stellmittel 32, vorliegend ausgebildet als Stellschraube 33 (5). Das Stellmittel 32 bzw. die Stellschraube 33 tritt in das hydraulische Leitungssystem 52 ein, so dass ein stirnseitiger Endabschnitt des Stellmittels 32 bzw. der Stellschraube mit dem im hydraulischen Leitungssystem 52 befindlichem Fluid in Kontakt steht. Das Gehäuse 70 des Festlagers 18 bildet zudem ein Innengewinde aus, welches mit einem Außengewinde des als Stellschraube 33 ausgebildeten Stellmittels 32 korrespondierend in Eingriff steht. Wird das Stellmittel 32 bzw. die Stellschraube 33 somit gegenüber dem Gehäuse 70 des Loslagers 18 gedreht, kann das im hydraulischen Leitungssystem 52 ausgebildete Druckniveau entsprechend angehoben oder gesenkt werden.
  • Aus Gründen der Vollständigkeit sei zudem erwähnt, dass für denkbare weitere Ausführungsformen eine automatische Regelung des im hydraulischen Leitungssystem 52 des Festlagers 18 ausgebildeten Druckniveaus vorgesehen sein kann. Hierzu kann eine Handhabungsvorrichtung 1 (vgl. 1) einen Sensor oder mehrere Sensoren besitzen, welche ein im hydraulischen Leitungssystem 52 ausgebildetes Ist-Druckniveau erfassen. Sofern ein Fixierungsmittel 36 bzw. 38 Verschleißerscheinungen besitzt, nimmt das im hydraulischen Leitungssystem 52 ausgebildete Ist-Druckniveau ab. Der eine oder die mehreren Sensoren können Informationen zum jeweiligen Ist-Druckniveau an eine Steuerungseinrichtung übertragen, welche die Informationen zum Ist-Druckniveau mit auf der Steuerungseinrichtung hinterlegten Informationen zu einem Soll-Druckniveau vergleicht. Sofern die Steuerungseinrichtung eine Abweichung des im hydraulischen Leitungssystem 52 ausgebildeten Ist-Druckniveaus von einem Soll-Druckniveau feststellt, kann die Steuerungseinrichtung eine in den Figuren vorliegender Patentanmeldung nicht mit dargestellte Druckerzeugungseinrichtung ansteuern, welche hierauf folgend das im hydraulischen Leitungssystem 52 ausgebildete Ist-Druckniveau erhöht und an das Soll-Druckniveau anpasst. Denkbar ist hierbei, dass anstatt des Stellmittels 32 bzw. anstatt der Stellschraube 33 eine Leitungsverbindung vorgesehen ist, die an die Druckerzeugungseinrichtung gekoppelt ist. Auch kann es sein, dass die Druckerzeugungseinrichtung als Aktor ausgebildet ist und beispielsweise das Stellmittel 32 bzw. die Stellschraube 33 zur Anpassung des Ist-Druckniveaus an ein Soll-Druckniveau drehend bewegt. Denkbar ist auch, dass das Stellmittel 32 als Bolzen ausgebildet ist, welcher zur Anpassung des Ist-Druckniveaus an ein Soll-Druckniveau aktorisch in Richtung des hydraulischen Leitungssystems 52 bewegt oder in Richtung weg des hydraulischen Leitungssystems 52 gezogen werden kann. Die Steuerungseinrichtung kann zudem mit einem Touchscreen bzw. einem Display in Verbindung stehen. Auf dem Touchscreen bzw. Display können via die Steuerungseinrichtung Informationen zum jeweiligen Ist-Druckniveau und ggf. über einen hiermit in Zusammenhang stehenden Verschleiß eines Fixierungsmittels 36 bzw. 38 dargestellt werden. Die Handhabungsvorrichtung 1 (vgl. 1) kann demnach ein selbstheilendes System umfassen.
  • Zwischen benachbarten Fixierungsmitteln 36 bzw. 38 besitzt das Loslager 18 zudem jeweils ein Mittel 64 zum selbständigen Aufbringen eines Schmier- und/oder Gleitmittelauftrages auf eine jeweilige horizontale Führungsschiene 13 bzw. 15 oder vertikale Führungsschiene 23 bzw. 25. Sofern eine jeweilige horizontale Führungsschiene 13 bzw. 15 oder vertikale Führungsschiene 13 bzw. 15 von einem Loslager 18 gehalten wird, stehen die Mittel 64 mit der jeweiligen horizontalen Führungsschiene 13 bzw. 15 oder vertikalen Führungsschiene 23 bzw. 25 in Anlage. Vorliegend sind die Mittel 64 jeweils als Filzgleiter 66 ausgebildet. Über einen Stutzen 34 (vgl. 4 sowie 6) werden die Filzgleiter 66 mit Schmier- und/oder Gleitmittel versorgt.
  • 6 zeigt einen Querschnitt durch das Festlager 18 aus 4 entlang der Linie B-B. So sind in 6 nochmals die beiden Mittel 64 bzw. Filzgleiter 66 zu erkennen, über welche ein Schmier- und/oder Gleitmittelauftrag auf eine horizontale Führungsschiene 13 bzw. 15 oder eine vertikale Führungsschiene 23 bzw. 25 aufgetragen werden kann. 6 lässt nun erkennen, dass die beiden Mittel 64 bzw. 66 mit einem jeweiligen bereits in 4 gezeigten Stutzen 34 in Verbindung stehen. Über den jeweiligen Stutzen 34 können die Mittel 64 bzw. Filzgleiter 66 mit Schmier- und/oder Gleitmittel versorgt werden, um bei einer gleitenden Relativbewegung des Loslagers 18 gegenüber der jeweiligen horizontalen Führungsschiene 13 bzw. 15 oder vertikalen Führungsschiene 23 bzw. 25 Schmier- und/oder Gleitmittel abzugeben.
  • Zudem ist das hydraulische Leitungssystem 52 zu erkennen, welches in das Gehäuse 70 des Festlagers 18 eingebracht wurde und sich vollständig durch das Gehäuse 70 des Festlagers 18 erstreckt.
  • 7 zeigt einen weiteren Querschnitt durch das Festlager 18 aus 4 entlang der Linie C-C. Insbesondere ist in 7 der Abstand 72 zu erkennen, dessen Dimension bzw. betragsmäßige Ausbildung von einem im hydraulischen Leitungssystem 52 ausgebildeten Druckniveau abhängig ist.
  • Dem Bolzen 69 sind zudem mehrere O-Ringe 76 zugeordnet, um den Bolzen 69 gegenüber dem Gehäuse 70 fluidisch abzudichten. Weiter bildet der Bolzen 69 auf einem aus dem Gehäuse 70 austretenden Endbereich eine Außengewinde aus. Mit dem Außengewinde steht eine Mutter 75 in Verbindung, welche den Bolzen 69 am Gehäuse 70 festsetzt.
  • Linksseitig des Loslagers 18 ist nochmals das ortsfeste Fixierungsmittel 36 dargestellt, welches über die Befestigungsschraube 68 ortsfest am Gehäuse 70 gehalten ist und aktiv nicht verstellt werden kann.
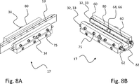
  • 8 zeigen schematische Perspektivansichten einer denkbaren Ausführungsform für ein erfindungsgemäßes Loslager 17. Das Loslager 17 besitzt ein Gehäuse 80 sowie zwei auf gegenüberliegenden Seiten des Gehäuses 80 positionierte Stutzen 34, die zur Versorgung eines in denkbaren Ausführungsformen auch für das Loslager 17 ggf. vorgesehenen Filzgleiters 66 mit Schmier- und/oder Gleitmittel Verwendung finden können.
  • 8A zeigt zudem die formschlüssige Koppelung bzw. mechanische Verbindung zwischen dem Loslager 17 und der in 1 dargestellten horizontalen Führungsschiene 13. Wie aus einer Zusammenschau der 8A und 8B deutlich wird, greifen sich gegenüberliegenden Fixierungsmittel 60 und 62 in die horizontale Führungsschiene 13 ein und setzen die horizontale Führungsschiene 13 formschlüssig am Loslager 18 fest.
  • Weiter ist ein Bypass 82 zu erkennen, dessen Funktion nachfolgend noch näher beschrieben wird und welcher zwei in das Gehäuse 80 eingebrachte Bohrungen, die als Bestandteil eines hydraulischen Leitungssystems 54 ausgebildet sind, fluidisch aneinander koppelt.
  • 9 zeigt eine schematische Seitenansicht des Loslagers 17 aus 8. Hierin sind nochmals der Stutzen 34 sowie der Bypass 82 zu erkennen. Weiter sind Muttern 75 dargestellt, über welche nachfolgend noch beschriebene Bolzen 77 und 78 des Loslagers 18 am Gehäuse 80 festgesetzt sind. Ein Stellmittel 32, ausgebildet als Stellschraube 33 steht stirnseitig aus dem Gehäuse 80 hervor und dient zur Vorgabe bzw. zum Einstellen eines im hydraulischen Leitungssystem 54 (vgl. 10) ausgebildeten Druckniveaus mit hieraus resultierender Verstellung eines relativen Abstandes gegenüberliegender Fixierungsmittel 60 und 62 zueinander.
  • 10 zeigt einen Längsschnitt entlang der in 9 dargestellten Linie A-A durch das Ausführungsbeispiel eines Loslagers 17 gemäß 8 und 9. Zu erkennen ist nun ein hydraulisches Leitungssystem 54, welches abschnittsweise durch zwei stirnseitig und parallel in das Gehäuse 80 des Loslagers 17 eingebrachte Bohrungen ausgebildet wird. Die beiden Bohrungen bzw. die durch die zwei stirnseitig in das Gehäuse 80 als Bohrung eingebrachten Abschnitte des hydraulischen Leitungssystems 54 sind über den Bypass 82 fluidisch miteinander verbunden.
  • Gezeigt sind zudem Bolzen 77 und 78, die jeweils einen fluidisch mit dem hydraulischen Leitungssystem 54 in Verbindung stehenden Kanal 74 besitzen. Über den Kanal 74 kann das jeweilige im hydraulischen Leitungssystem 54 aufgenommene Medium in Richtung des jeweiligen Fixierungsmittels 60 bzw. 62 geführt werden.
  • Eine Zusammenschau der 10 und 11 verdeutlicht zudem, dass zwischen den Bolzen 77 bzw. 78 und dem jeweiligen Fixierungsmittel 60 bzw. 62 eine Druckkammer 90 ausgebildet ist, welche einen Abstand 73 zwischen dem jeweiligen Fixierungsmittel 60 bzw. 62 und dem jeweiligen Bolzen 77 bzw. 78 herstellt.
  • Wird der Druck im fluidischen Leitungssystem 54 erhöht, vergrößert sich hierdurch das Volumen der Druckkammer 90 und der Abstand 73 des jeweiligen Fixierungsmittels 60 bzw. 62 zum jeweiligen Bolzen 77 bzw. 78 nimmt zu. Hierdurch wird der relative Abstand zweier gegenüberliegender Fixierungsmittel 60 bzw. 62 zueinander verkleinert.
  • Wird der Druck im fluidischen Leitungssystem 54 vermindert, verkleinert sich hierdurch das Volumen der Druckkammer 90 und der Abstand 73 des jeweiligen Fixierungsmittels 60 bzw. 62 zum jeweiligen Bolzen 77 bzw. 78 nimmt ab. Hierdurch wird der relative Abstand zweier gegenüberliegender Fixierungsmittel 60 und 62 zueinander vergrößert. Durch eine Beeinflussung des im hydraulischen Leitungssystem 54 ausgebildeten Druckniveaus kann daher der relative Abstand zweier gegenüberliegender Fixierungsmittel 60 bzw. 62 zueinander vorgegeben werden.
  • Da sämtliche Bolzen 77 und 78 bzw. sämtliche Kanäle 74 der Bolzen 77 und 78 unter Zuhilfenahme des Bypasses 82 fluidisch miteinander in Verbindung stehen, wird für die Fixierungsmittel 60 bzw. 62 eine schwimmende Lagerung über das hydraulische Leitungssystem 54 bereitgestellt. Sofern ein Fixierungsmittel 60 bzw. 62 einer ersten Seite in Richtung weg des jeweiligen gegenüberliegenden Fixierungsmittels 60 bzw. 62 bewegt wird, führt das jeweilige gegenüberliegende Fixierungsmittel 60 bzw. 62 eine Ausgleichsbewegung durch, so dass der relative Abstand zweier gegenüberliegender Fixierungsmittel 60 bzw. 62 zueinander nach der Ausgleichsbewegung wieder hergestellt ist.
  • Um den relativen Abstand zweier gegenüberliegender Fixierungsmittel 60 bzw. 62 vorgeben zu können, umfasst das Loslager 17 zwei Stellmittel 32, welches jeweils als Stellschrauben 33 ausgebildet sind. Denkbar sind jedoch auch Ausführungsformen, bei welchen beispielsweise lediglich ein Stellmittel 32 bzw. eine Stellschraube 33 vorgesehen ist.
  • Die Stellmittel 32 bzw. Stellschrauben 33 besitzen jeweils ein Außengewinde, welches mit einem jeweiligen durch das Gehäuse 80 ausgebildeten Innengewinde in korrespondierendem Eingriff steht. Durch eine Rotationsbewegung eines Stellmittels 32 bzw. einer Stellschraube 33 gegenüber dem Gehäuse 80 kann das Stellmittel 32 bzw. die Stellschraube in Richtung des Gehäuses 80 bewegt werden. Das Volumen der in 11 gezeigten Druckkammer 90 wird hierdurch vergrößert, so dass sich die Fixierungsmittel 60 und 62 einander nähern und der relative Abstand zwischen den Fixierungsmitteln 60 und 62 verkleinert wird.
  • Wie vorhergehend zur Ausführungsform eines Festlagers 18 bereits beschrieben, kann bei Verschleiß eine automatische Verstellung für die Fixierungsmittel 60 bzw. 62 vorgesehen sein, so dass der Betrag eines relativen Abstandes gegenüberliegender Fixierungsmittel 60 bzw. 62 zueinander im Wesentlichen aufrecht erhalten oder unmittelbar wiederhergestellt wird. Hierzu kann eine Handhabungsvorrichtung 1 (vgl. 1) einen Sensor oder mehrere Sensoren besitzen, welche ein im hydraulischen Leitungssystem 54 des Loslagers 17 ausgebildetes Ist-Druckniveau erfassen. Sofern ein Fixierungsmittel 60 bzw. 62 Verschleißerscheinungen besitzt, nimmt das im hydraulischen Leitungssystem 54 ausgebildete Ist-Druckniveau ab, da der Betrag einer kraftbeaufschlagten Anlage des oder der jeweiligen Fixierungsmittel 60 bzw. 62 an einer jeweiligen horizontalen Führungsschiene 13, 15 bzw. vertikalen Führungsschiene 23, 25 hierdurch vermindert wird.
  • Der eine oder die mehreren Sensoren können Informationen zum jeweiligen Ist-Druckniveau an eine Steuerungseinrichtung übertragen, welche die Informationen zum Ist-Druckniveau mit auf der Steuerungseinrichtung hinterlegten Informationen zu einem Soll-Druckniveau vergleicht. Sofern von der Steuerungseinrichtung eine Abweichung des im hydraulischen Leitungssystem 54 ausgebildeten Ist-Druckniveaus von einem Soll-Druckniveau festgestellt wird, kann die Steuerungseinrichtung eine in den Figuren vorliegender Patentanmeldung nicht mit dargestellte Druckerzeugungseinrichtung ansteuern, welche hierauf folgend das im hydraulischen Leitungssystem 54 ausgebildete Ist-Druckniveau erhöht und an das Soll-Druckniveau anpasst. Denkbar ist hierbei, dass anstatt der Stellmittel 32 bzw. anstatt der Stellschrauben Leitungsverbindungen vorgesehen sind, die an die Druckerzeugungseinrichtung gekoppelt sind.
  • Nochmals dargestellt sind in 10 die sich gegenüberliegenden Mittel 64, über welche eine Gleit- und/oder Schmiermittel auf die jeweilige horizontale Führungsschiene 13, 15 (vgl. 2) bzw. vertikale Führungsschiene 23, 25 (vgl. 2) aufgebracht werden kann. Beide Mittel 64 sind als Filzgleiter 66 ausgebildet. Die beiden Mittel 64 sind jeweils zwischen benachbarten Fixierungsmitteln 60 bzw. 62 positioniert.
  • 11 zeigt einen Querschnitt entlang der in 9 dargestellten Linie C-C durch das Ausführungsbeispiel eines Loslagers 17 aus den 8 bis 10. So sind in 11 nochmals die bereits im Schnitt aus 10 mit dargestellten Bolzen 77 und 78 zu erkennen, die jeweils über eine Mutter 75 am Gehäuse 80 gehalten sind. Die beiden sich gegenüberliegenden Fixierungsmittel 60 und 62 stehen formschlüssig mit der horizontalen Führungsschiene 13 in Eingriff.
  • Weiter zeigt 11 zudem nochmals das hydraulische Leitungssystem 54, welches einen kreisrunden Querschnitt besitzt. Um die Bolzen 77 bzw. 78 gegenüber dem Gehäuse 80 fluidisch abzudichten, sind den Bolzen 77 bzw. 78 und dem Gehäuse 80 jeweils O-Ringe 76 zwischengeordnet.
  • 12 zeigt einen Querschnitt entlang der in 9 dargestellten Linie B-B durch das Ausführungsbeispiel eines Loslagers 17 aus den 8 bis 11. Insbesondere sind in 12 nochmals die Mittel 64 zu erkennen, über welche ein Schmier- und/oder Gleitmittelauftrag auf eine horizontale Führungsschiene 13, 15 (vgl. 2) bzw. eine vertikale Führungsschiene 23, 25 (vgl. 2) aufgebracht werden kann. 12 verdeutlicht, dass die Mittel 64, welches jeweils als Filzgleiter 66 ausgebildet sind, jeweils mit einem Stutzen 34 in fluidischer Verbindung stehen. Über den Stutzen 34 kann Gleit- und/oder Schmiermittel an die Filzgleiter 66 weitergegeben werden, so dass diese bei einer relativen Bewegung des Loslagers 17 gegenüber einer jeweiligen formschlüssig durch das Loslager 17 aufgenommenen horizontalen Führungsschiene 13, 15 bzw. vertikalen Führungsschiene 23, 25 Gleit- und/oder Schmiermittel aufbringen können.
  • Die Erfindung wurde unter Bezugnahme auf eine bevorzugte Ausführungsform beschrieben. Es ist jedoch für einen Fachmann vorstellbar, dass Abwandlungen oder Änderungen der Erfindung gemacht werden können, ohne dabei den Schutzbereich der nachstehenden Ansprüche zu verlassen.
  • Bezugszeichenliste
  • 1
    Handhabungsvorrichtung
    7
    Gestänge
    8
    Tragsäule
    10
    Erste Führungseinheit
    11
    Schlitten
    13
    Führungsschiene (horizontal)
    14
    Erste Lagerung
    15
    Führungsschiene (horizontal)
    17
    Loslager
    18
    Festlager
    20
    Zweite Führungseinheit
    22
    Standsäule
    23
    Führungsschiene (vertikal)
    24
    Zweite Lagerung
    25
    Führungsschiene (vertikal)
    29
    Gleitrolle
    30
    Verschlussstopfen
    32
    Stellmittel /Stellelement
    33
    Stellschraube
    34
    Stutzen
    36
    Fixierungsmittel (Festlager)
    38
    Fixierungsmittel (Festlager)
    50
    Aktor
    52
    Hydraulisches Leitungssystem (Festlager)
    54
    Hydraulisches Leitungssystem (Loslager)
    60
    Fixierungsmittel (Loslager)
    62
    Fixierungsmittel (Loslager)
    64
    Mittel für Schmier- und/oder Gleitmittelauftrag
    66
    Filzgleiter
    68
    Befestigungsschraube / Schraubverbindung
    69
    Bolzen (Festlager)
    70
    Gehäuse (Festlager)
    72
    Abstand (Festlager)
    73
    Abstand (Loslager)
    74
    Kanal
    75
    Mutter
    76
    O-Ring
    77
    Bolzen (Loslager)
    78
    Bolzen (Loslager)
    80
    Gehäuse (Loslager)
    82
    Bypass
    90
    Druckkammer
  • ZITATE ENTHALTEN IN DER BESCHREIBUNG
  • Diese Liste der vom Anmelder aufgeführten Dokumente wurde automatisiert erzeugt und ist ausschließlich zur besseren Information des Lesers aufgenommen. Die Liste ist nicht Bestandteil der deutschen Patent- bzw. Gebrauchsmusteranmeldung. Das DPMA übernimmt keinerlei Haftung für etwaige Fehler oder Auslassungen.
  • Zitierte Patentliteratur
    • DE 29505864 U1 [0003]

Claims (15)

  1. Handhabungsvorrichtung (1) zum Umsetzen von Stückgütern, wie Getränkebehältnissen oder dergleichen, umfassend – eine Arbeitseinrichtung zur Aufnahme und Freigabe von Stückgütern, – eine erste Führungseinheit (10), mit welcher die Arbeitseinrichtung in Verbindung steht und über welche die Arbeitseinrichtung in vertikaler Richtung bewegbar ist, – eine zweite Führungseinheit (20), mit welcher die Arbeitseinrichtung in Verbindung steht und über welche die Arbeitseinrichtung in horizontaler Richtung bewegbar ist, – dadurch gekennzeichnet, dass die erste Führungseinheit (10) eine als Gleitlagerung ausgebildete erste Lagerung (14) umfasst, welche wenigstens ein Loslager (17) und mindestens ein vorzugsweise als Festlager (18) ausgebildetes weiteres Lager besitzt, wobei das wenigstens eine Loslager (17) und das mindestens eine weitere Lager an unterschiedliche mindestens zweier horizontaler Führungsschienen (13, 15) der ersten Führungseinheit (10) mechanisch gekoppelt sind und/oder wobei die zweite Führungseinheit (20) eine als Gleitlagerung ausgebildete zweite Lagerung (24) umfasst, welche wenigstens ein Loslager (17) und mindestens ein vorzugsweise als Festlager (18) ausgebildetes weiteres Lager besitzt, wobei das wenigstens eine Loslager (17) und das mindestens eine weitere Lager an unterschiedliche mindestens zweier vertikaler Führungsschienen (23, 25) der zweiten Führungseinheit (20) mechanisch gekoppelt sind.
  2. Handhabungsvorrichtung nach Anspruch 1, wobei das wenigstens eine Loslager (17) der ersten Lagerung (14) mit einer oberen der mindestens zwei horizontalen Führungsschienen (13, 15) mechanisch gekoppelt ist und bei welcher das mindestens eine weitere Lager der ersten Lagerung (14) als mindestens ein Festlager (18) ausgebildet ist und mit einer unteren der mindestens zwei horizontalen Führungsschienen (13, 15) mechanisch gekoppelt ist.
  3. Handhabungsvorrichtung nach Anspruch 1 oder Anspruch 2, bei welcher das wenigstens eine Loslager (17) der ersten Lagerung (14) und/oder das wenigstens eine Loslager (17) der zweiten Lagerung (24) mindestens zwei sich gegenüberliegende Fixierungsmittel (60, 62) umfasst, die zur mechanischen Koppelung die jeweilige vertikale und/oder die jeweilige horizontale Führungsschiene (13, 15, 23, 25) formschlüssig halten sowie – mindestens ein hydraulisches Leitungssystem (54), wobei das mindestens eine hydraulisches Leitungssystem (54) mit wenigstens einem und vorzugsweise mit mindestens einem Paar an sich gegenüberliegenden Fixierungsmitteln (60, 62) derart in Wirkverbindung steht, dass unter Zuhilfenahme des mindestens einen hydraulischen Leitungssystems (54) eine schwimmende Lagerung für das mindestens eine und vorzugsweise für das mindestens eine Paar der zwei sich gegenüberliegenden Fixierungsmittel (60, 62) bereitgestellt wird.
  4. Handhabungsvorrichtung nach Anspruch 3, bei welcher die mindestens zwei sich gegenüberliegenden Fixierungsmittel (60, 62) über das mindestens eine hydraulische Leitungssystem (54) miteinander zwangsgekoppelt sind, so dass bei einer Positionsveränderung eines ersten der mindestens zwei sich gegenüberliegenden Fixierungsmittel (60, 62) mindestens ein zweites der mindestens zwei sich gegenüberliegenden Fixierungsmittel (60, 62) eine Ausgleichsbewegung ausführt.
  5. Handhabungsvorrichtung nach Anspruch 3 oder Anspruch 4, bei welcher das mindestens eine hydraulische Leitungssystem (54) mit den mindestens zwei sich gegenüberliegenden Fixierungsmitteln (60, 62) derart in Verbindung steht, dass mittels einer Veränderung eines im mindestens einen hydraulischen Leitungssystem (54) herrschenden Druckniveaus der relative Abstand der mindestens zwei sich gegenüberliegenden Fixierungsmittel (60, 62) verstellbar ist, wobei das wenigstens eine Loslager (17) der ersten Lagerung (14) und/oder das wenigstens eine Loslager (17) der zweiten Lagerung (24) mindestens ein Stellelement (32) umfasst, über welches das Druckniveau festgesetzt werden kann.
  6. Handhabungsvorrichtung nach Anspruch 5, bei welcher das mindestens eine Stellelement (32) als Stellschraube (33) ausgebildet ist, die in das mindestens eine hydraulische Leitungssystem (54) eintaucht.
  7. Handhabungsvorrichtung gemäß einem oder mehreren der Ansprüche 3 bis 6, umfassend – mindestens einen Sensor, mittels dessen ein im mindestens einen hydraulischen Leitungssystem (54) herrschendes Ist-Druckniveau erfasst werden kann, – eine Druckerzeugungseinrichtung, welche mit dem mindestens einen hydraulischen Leitungssystem (54) in fluidischer Verbindung steht, so dass das mindestens eine hydraulische Leitungssystem (54) über die Druckerzeugungseinrichtung mit einem bestimmten Druck-Niveau beaufschlagbar ist, – eine Steuerungseinrichtung, die mit dem mindestens einen Sensor und der Druckerzeugungseinrichtung derart in Verbindung steht, dass die Druckerzeugungseinrichtung durch die Steuerungseinrichtung unter Berücksichtigung des durch den mindestens einen Sensor erfassten Ist-Druckniveaus zur Beaufschlagung des mindestens einen hydraulischen Leitungssystems (54) mit einem Soll-Druckniveau ansteuerbar ist.
  8. Handhabungsvorrichtung nach einem oder mehreren der Ansprüche 1 bis 7, bei welcher das wenigstens eine Loslager (17) der ersten Lagerung (14) und/oder das wenigstens eine Loslager (17) der zweiten Lagerung (24) mindestens ein Mittel (64) zum selbständigen Aufbringen eines Schmier- und/oder Gleitmittelauftrags auf die jeweilige vertikale und/oder die jeweilige horizontale Führungsschiene (13, 15, 23, 25) besitzen.
  9. Handhabungsvorrichtung nach einem oder mehreren der Ansprüche 1 bis 8, bei welcher das mindestens eine weitere Lager der ersten Lagerung(14) und/oder das mindestens eine weitere Lager der zweiten Lagerung (24) als mindestens ein Festlager (18) ausgebildet ist, wobei das mindestens eine Festlager (18) der ersten Lagerung (14) und/oder das mindestens eine Festlager (18) der zweiten Lagerung (24) mindestens zwei sich gegenüberliegende Fixierungsmittel (36, 38) umfasst, die zur mechanischen Koppelung die jeweilige vertikale und/oder die jeweilige horizontale Führungsschiene (13, 15, 23, 25) formschlüssig halten sowie mindestens ein hydraulisches Leitungssystem (52), welches mit wenigstens einem zweier sich gegenüberliegender Fixierungsmittel (36, 38) in Wirkverbindung steht, so dass eine bestimmte relative Beabstandung des wenigstens einen Fixierungsmittels (38) zu einem weiteren gegenüberliegenden Fixierungsmittel (36) durch ein definiertes Druckniveau im mindestens einen hydraulischen Leitungssystem (52) vorgebbar ist.
  10. Handhabungsvorrichtung nach einem oder mehreren der Ansprüche 1 bis 9, bei welcher das mindestens eine weitere Lager der ersten Lagerung (14) und/oder der zweiten Lagerung (24) als mindestens ein Festlager (18) ausgebildet ist, wobei das mindestens eine Festlager (18) der ersten Lagerung (14) und/oder das mindestens eine Festlager (18) der zweiten Lagerung (24) mindestens ein Mittel (64) zum selbständigen Aufbringen eines Schmier- und/oder Gleitmittelauftrags auf die jeweilige vertikale und/oder die jeweilige horizontale Führungsschiene (13, 15, 23, 25) besitzt.
  11. Loslager (17) zur mechanischen Koppelung einer zur Aufnahme und Freigabe von Stückgütern ausgebildeten Arbeitseinrichtung an eine Führungsschiene, umfassend – ein Gehäuse (80) sowie – wenigstens zwei sich gegenüberliegende und am Gehäuse (80) gehaltene Fixierungsmittel (60, 62), die gemeinsam einen Haltemechanismus zur gleitenden Aufnahme einer jeweiligen Führungsschiene ausbilden und – mindestens ein hydraulisches Leitungssystem (54), – wobei das mindestens eine hydraulisches Leitungssystem (54) mit wenigstens einem und vorzugsweise mit mindestens einem Paar an sich gegenüberliegenden Fixierungsmitteln (60, 62) derart in Wirkverbindung steht, dass unter Zuhilfenahme des mindestens einen hydraulischen Leitungssystems (54) eine schwimmende Lagerung für das mindestens eine und vorzugsweise für das Paar der zwei sich gegenüberliegenden Fixierungsmittel (60, 62) bereitgestellt wird.
  12. Loslager nach Anspruch 11, bei welchem das mindestens eine hydraulische Leitungssystem (54) zumindest abschnittsweise durch mindestens eine in das Gehäuse (80) eingebrachte Bohrung ausgebildet wird.
  13. Loslager nach Anspruch 11 oder Anspruch 12, bei welcher das Loslager (17) mindestens ein Mittel (64) zum selbständigen Aufbringen eines Schmier- und/oder Gleitmittelauftrags besitzt.
  14. Loslager nach einem oder mehreren der Ansprüche 11 bis 13, bei welchem die mindestens zwei sich gegenüberliegenden Fixierungsmittel (60, 62) über das mindestens eine hydraulische Leitungssystem (54) miteinander zwangsgekoppelt sind, so dass bei einer Positionsveränderung eines ersten Fixierungsmittels mindestens ein zweites gegenüberliegendes Fixierungsmittel eine Ausgleichsbewegung ausführt.
  15. Loslager nach Anspruch 14 und Anspruch 12, wobei das mindestens eine hydraulische Leitungssystem (54) zumindest abschnittsweise durch wenigstens zwei auf gegenüberliegenden Seiten in das Gehäuse eingebrachte Bohrungen ausgebildet wird, die für die Zwangskoppelung der mindestens zwei sich gegenüberliegenden Fixierungsmittel (60, 62) über einen Bypass (82) fluidisch miteinander in Verbindung stehen.
DE102015114196.5A 2015-08-26 2015-08-26 Loslager und Handhabungsvorrichtung zum Umsetzen von Stückgütern mit wenigstens einem Loslager Withdrawn DE102015114196A1 (de)

Priority Applications (1)

Application Number Priority Date Filing Date Title
DE102015114196.5A DE102015114196A1 (de) 2015-08-26 2015-08-26 Loslager und Handhabungsvorrichtung zum Umsetzen von Stückgütern mit wenigstens einem Loslager

Applications Claiming Priority (1)

Application Number Priority Date Filing Date Title
DE102015114196.5A DE102015114196A1 (de) 2015-08-26 2015-08-26 Loslager und Handhabungsvorrichtung zum Umsetzen von Stückgütern mit wenigstens einem Loslager

Publications (1)

Publication Number Publication Date
DE102015114196A1 true DE102015114196A1 (de) 2017-03-02

Family

ID=58010939

Family Applications (1)

Application Number Title Priority Date Filing Date
DE102015114196.5A Withdrawn DE102015114196A1 (de) 2015-08-26 2015-08-26 Loslager und Handhabungsvorrichtung zum Umsetzen von Stückgütern mit wenigstens einem Loslager

Country Status (1)

Country Link
DE (1) DE102015114196A1 (de)

Citations (2)

* Cited by examiner, † Cited by third party
Publication number Priority date Publication date Assignee Title
DE29505864U1 (de) 1995-04-05 1995-07-27 KRONES AG, 93073 Neutraubling Palettiermaschine
DE4412830A1 (de) * 1994-04-14 1995-10-19 Indruch Manfred Dipl Wirtsch I Vorrichtung zum Palettieren von rechteckigen Säcken, Kisten, Kartons und dergleichen Stückgut

Patent Citations (2)

* Cited by examiner, † Cited by third party
Publication number Priority date Publication date Assignee Title
DE4412830A1 (de) * 1994-04-14 1995-10-19 Indruch Manfred Dipl Wirtsch I Vorrichtung zum Palettieren von rechteckigen Säcken, Kisten, Kartons und dergleichen Stückgut
DE29505864U1 (de) 1995-04-05 1995-07-27 KRONES AG, 93073 Neutraubling Palettiermaschine

Non-Patent Citations (1)

* Cited by examiner, † Cited by third party
Title
BÖGE, Alfred: Technische Mechanik. 28. Aufl. Wiesbaden : Vieweg + Teubner, 2009 (Lehr- und Lernsystem Technische Mechanik). Titelseite + Inhaltsverzeichnis + S. 1-75. - ISBN 978-3-8348-0747-2 *

Similar Documents

Publication Publication Date Title
EP3119636B1 (de) Stromabnehmersystem mit teleskoparm für krane, containerkrane, ertgs und fördereinrichtungen
WO2015021564A1 (de) Transfervorrichtung für ein werkstück
DE102015101489A1 (de) Verpackungsvorrichtung und Verfahren zum Betrieb derselben
DE102015201415A1 (de) Lastsicherungsvorrichtung
WO2012089198A1 (de) Pulverpresse oder pulverpressenadapter sowie verfahren zum betrieb einer pulverpresse
WO2007090652A1 (de) Hubvorrichtung für eine verpackungsmaschine
DE621526C (de) Aus zwei ineinanderverschiebbaren Teilen bestehender nachgiebiger Grubenstempel
WO2019025509A1 (de) Vorrichtung zur aufnahme und zum transport von lasten
DE10220617B4 (de) Gewichtsausgleichsvorrichtung
DE10340270A1 (de) Fördervorrichtung und Verfahren zum Anpassen
DE10064154B4 (de) Mehrstufenpresse"
EP0700854A2 (de) Papierrollen-Transport- und Ausricht-Einrichtung für eine Papierverarbeitungs-Abrolleinrichtung
DE102015114196A1 (de) Loslager und Handhabungsvorrichtung zum Umsetzen von Stückgütern mit wenigstens einem Loslager
DE29920153U1 (de) Schwellengreifer
DE102008032522A1 (de) Walzvorrichtung mit Verstellvorrichtung
DE2005554B2 (de) Vorrichtung zur kompensation des supportgewichtes an portal- oder auslegerwerkzeugmaschinen
EP3319118A1 (de) Anlage zur prozessierung von halbleiterbauelementen sowie hebeeinrichtung
EP1280622A1 (de) Transfereinrichtung und verfahren zur steuerung einer transfereinrichtung
DE102010014376A1 (de) Profilbearbeitungseinrichtung
DE102016101939B4 (de) Ringwalzmaschine sowie Verfahren zum Heben und Senken der Dornwalze einer Ringwalzmaschine
EP3429901A1 (de) Kupplungssystem mit pneumatischer auslenkung
DE946607C (de) Ladegabel zum Transport von Stapeln aus Formstuecken mit Gabeltraegern, die mit querzur Einfahrrichtung hydraulisch herausbewegbaren Klemmgliedern versehen sind
DE4107493A1 (de) Greifereinrichtung fuer systembehaelter
DE102012107846B4 (de) Förderbandanlage mit einem Vorschubkopf
DE102008031381B4 (de) Vorrichtung zum Anbringen von Dichtungsprofilen an Klebeflächen

Legal Events

Date Code Title Description
R163 Identified publications notified
R005 Application deemed withdrawn due to failure to request examination