CN211519248U - 一种燃油箱固定装置及燃油箱总成 - Google Patents

一种燃油箱固定装置及燃油箱总成 Download PDF

Info

Publication number
CN211519248U
CN211519248U CN202020063075.5U CN202020063075U CN211519248U CN 211519248 U CN211519248 U CN 211519248U CN 202020063075 U CN202020063075 U CN 202020063075U CN 211519248 U CN211519248 U CN 211519248U
Authority
CN
China
Prior art keywords
fuel tank
bracket
fixing device
band
frame
Prior art date
Legal status (The legal status is an assumption and is not a legal conclusion. Google has not performed a legal analysis and makes no representation as to the accuracy of the status listed.)
Withdrawn - After Issue
Application number
CN202020063075.5U
Other languages
English (en)
Inventor
于松乔
曾泽泉
牛燃
贾昭远
Current Assignee (The listed assignees may be inaccurate. Google has not performed a legal analysis and makes no representation or warranty as to the accuracy of the list.)
FAW Jiefang Automotive Co Ltd
Original Assignee
FAW Jiefang Automotive Co Ltd
Priority date (The priority date is an assumption and is not a legal conclusion. Google has not performed a legal analysis and makes no representation as to the accuracy of the date listed.)
Filing date
Publication date
Application filed by FAW Jiefang Automotive Co Ltd filed Critical FAW Jiefang Automotive Co Ltd
Priority to CN202020063075.5U priority Critical patent/CN211519248U/zh
Application granted granted Critical
Publication of CN211519248U publication Critical patent/CN211519248U/zh
Withdrawn - After Issue legal-status Critical Current
Anticipated expiration legal-status Critical

Links

Images

Landscapes

  • Cooling, Air Intake And Gas Exhaust, And Fuel Tank Arrangements In Propulsion Units (AREA)

Abstract

本实用新型涉及汽车零部件技术领域,公开一种燃油箱固定装置及燃油箱总成。该燃油箱固定装置包括箍带组件和托架,箍带组件包括呈夹角设置的第一箍带和第二箍带,第一箍带通过第一连接件连接于第二箍带,托架的截面为L形结构,托架能够通过第二连接件连接汽车的车架,托架的两端分别连接于第一箍带的自由端和第二箍带的自由端,托架和箍带组件能够围设形成用于容纳燃油箱的框形结构,燃油箱的外表面能够贴合于框形结构的内表面。本实用新型提供的燃油箱固定装置,由于第一箍带通过第一连接件连接于第二箍带,使得第一箍带和第二箍带的两端均受力,从而使第一箍带和第二箍带能够很好地贴合于燃油箱的外表面,提高固定效果。

Description

一种燃油箱固定装置及燃油箱总成
技术领域
本实用新型涉及汽车零部件技术领域,尤其涉及一种燃油箱固定装置及燃油箱总成。
背景技术
随着国内长距离运输的发展,整车对于燃油箱的容积需求正在不断增大,然而燃油箱容积越大,在整车急刹车和急起步时受到燃油的冲击力越大。
现有技术中的燃油箱固定装置通常包括托架和箍带,托架通过过渡支架连接于汽车的车架上,托架焊接于过渡支架,过渡支架通过固定螺栓连接汽车的车架,在受到燃油的冲击力的影响下,托架和过渡支架之间的焊缝容易出现开裂的现象,导致托架和箍带发生松动,托架和箍带的松动会导致燃油箱窜动,进而造成过渡支架与车架连接的固定螺栓失效,增加用户的维修和保养成本。此外,现有的托架和箍带通常为一体式结构,两者均为L形结构,托架的两端分别连接箍带的两端,在连接时,由于箍带的两个自由端受力,导致箍带的边角处不能很好的贴合于燃油箱的表面,影响固定效果。
实用新型内容
基于以上所述,本实用新型的目的在于提供一种燃油箱固定装置及燃油箱总成,托架不会出现焊接裂纹,箍带能够较好地贴合于燃油箱的表面,提高对燃油箱的固定效果。
为达上述目的,本实用新型采用以下技术方案:
一种燃油箱固定装置,包括:
箍带组件,其包括呈夹角设置的第一箍带和第二箍带,所述第一箍带通过第一连接件连接于所述第二箍带;
托架,其截面为L形结构,所述托架能够通过第二连接件连接汽车的车架,所述托架的两端分别连接于所述第一箍带的自由端和所述第二箍带的自由端,所述托架和所述箍带组件能够围设形成用于容纳燃油箱的框形结构,所述燃油箱的外表面能够贴合于所述框形结构的内表面。
作为一种燃油箱固定装置的优选方案,还包括防滑衬垫,所述防滑衬垫设置于所述框形结构和所述燃油箱之间。
作为一种燃油箱固定装置的优选方案,所述防滑衬垫靠近所述燃油箱的一侧设置有多个防滑凸起。
作为一种燃油箱固定装置的优选方案,所述防滑衬垫包括:
第一衬垫,其为L形结构,所述第一衬垫远离所述燃油箱的一侧设置有第一安装槽,所述托架设置于所述第一安装槽内;
两个第二衬垫,所述第二衬垫远离所述燃油箱的一侧设置有第二安装槽,所述第一箍带和所述第二箍带分别对应两个所述第二衬垫,并分别位于对应的所述安装槽内。
作为一种燃油箱固定装置的优选方案,所述托架远离所述燃油箱的一侧设置有过渡垫块,所述过渡垫块用于调节所述托架与所述车架之间的距离。
作为一种燃油箱固定装置的优选方案,所述过渡垫块采用铝合金制成,且所述过渡垫块上设置有减重孔。
作为一种燃油箱固定装置的优选方案,所述托架靠近所述燃油箱的一侧还设置有加强板。
作为一种燃油箱固定装置的优选方案,所述第一箍带上设置有连接孔,所述第二箍带上设置有通孔,所述第一连接件能够依次穿设于所述通孔和所述连接孔内。
为达上述目的,本实用新型还提供一种燃油箱总成,包括燃油箱,还包括如以上任一方案所述的燃油箱固定装置,所述燃油箱通过所述燃油箱固定装置固定于汽车的车架上。
作为一种燃油箱总成的优选方案,所述燃油箱固定装置的数量有多个,多个所述燃油箱固定装置沿所述燃油箱的长度方向间隔设置。
本实用新型的有益效果为:
本实用新型提供一种燃油箱固定装置,该燃油箱固定装置包括托架和箍带组件,箍带组件包括呈夹角设置的第一箍带和第二箍带,当托架的两端分别与第一箍带的自由端和第二箍带的自由端相连接时,由于第一箍带通过第一连接件连接于第二箍带,使得第一箍带和第二箍带的两端均受力,从而使第一箍带和第二箍带能够很好地贴合于燃油箱的外表面,提高固定效果;托架通过第二连接件连接于汽车的车架上,与现有技术中托架与过渡支架焊接的方式相比,连接强度高,不会出现焊接裂纹,可靠性高。
本实用新型提供一种燃油箱总成,包括上述的燃油箱固定装置,固定效果较好,可靠性较高。
附图说明
为了更清楚地说明本实用新型实施例中的技术方案,下面将对本实用新型实施例描述中所需要使用的附图作简单的介绍,显而易见地,下面描述中的附图仅仅是本实用新型的一些实施例,对于本领域普通技术人员来讲,在不付出创造性劳动的前提下,还可以根据本实用新型实施例的内容和这些附图获得其他的附图。
图1是本实用新型提供的燃油箱总成的爆炸示意图;
图2是本实用新型提供的燃油箱固定装置的箍带组件的结构示意图;
图3是图2在A处的局部放大图;
图4是本实用新型提供的燃油箱固定装置的托架的结构示意图;
图5是图4在B处的局部放大图;
图6是本实用新型提供的位于车架前部的燃油箱固定装置的过渡垫块的结构示意图;
图7是本实用新型提供的位于车架中部的燃油箱固定装置的过渡垫块的结构示意图;
图8是本实用新型提供的位于车架后部的燃油箱固定装置的过渡垫块的结构示意图;
图9是本实用新型提供的燃油箱固定装置的第一衬垫的结构示意图;
图10是本实用新型提供的燃油箱固定装置的第二衬垫的结构示意图
图中:
100-燃油箱;
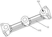
1-托架;11-过渡垫块;111-装配孔;112-凸台;12-第四安装孔;
2-箍带组件;21-第一箍带;211-第一圆柱销;22-第二箍带;221-第二圆柱销;23-第一连接件;24-第一连接板;241-第一安装孔;242-衬套;25-第二连接板;
3-防滑衬垫;31-第一衬垫;311-第一安装槽;32-第二衬垫;321-第二安装槽。
具体实施方式
下面结合附图和实施例对本实用新型作进一步的详细说明。可以理解的是,此处所描述的具体实施例仅仅用于解释本实用新型,而非对本实用新型的限定。另外还需要说明的是,为了便于描述,附图中仅示出了与本实用新型相关的部分而非全部结构。
在本实用新型的描述中,除非另有明确的规定和限定,术语“相连”、“连接”、“固定”应做广义理解,例如,可以是固定连接,也可以是可拆卸连接,或成一体;可以是机械连接,也可以是电连接;可以是直接相连,也可以通过中间媒介间接相连,可以是两个元件内部的连通或两个元件的相互作用关系。对于本领域的普通技术人员而言,可以具体情况理解上述术语在本实用新型中的具体含义。
在本实用新型中,除非另有明确的规定和限定,第一特征在第二特征之“上”或之“下”可以包括第一和第二特征直接接触,也可以包括第一和第二特征不是直接接触而是通过它们之间的另外的特征接触。而且,第一特征在第二特征“之上”、“上方”和“上面”包括第一特征在第二特征正上方和斜上方,或仅仅表示第一特征水平高度高于第二特征。第一特征在第二特征“之下”、“下方”和“下面”包括第一特征在第二特征正下方和斜下方,或仅仅表示第一特征水平高度小于第二特征。
在本实施例的描述中,术语“上”、“下”、“左”、“右”、等方位或位置关系为基于附图所示的方位或位置关系,仅是为了便于描述和简化操作,而不是指示或暗示所指的装置或元件必须具有特定的方位、以特定的方位构造和操作,因此不能理解为对本实用新型的限制。此外,术语“第一”、“第二”仅仅用于在描述上加以区分,并没有特殊的含义。
如图1所示,本实施例提供一种燃油箱总成,该燃油箱总成包括燃油箱100和燃油箱固定装置,燃油箱100通过燃油箱固定装置固定于汽车的车架上。
在本实施例中,燃油箱固定装置的数量为多个,多个燃油箱固定装置沿燃油箱100的长度方向间隔设置,多个燃油箱固定装置同时对燃油箱100进行固定,能够提高对燃油箱100的固定效果,增加燃油箱100的稳定性。在本实施例中,如图1所示,本实施例提供的燃油箱总成中燃油箱固定装置的数量为三个,三个燃油箱固定装置沿燃油箱100的长度方向均匀且间隔设置,在保证对燃油箱100具有较好的固定效果的同时,节省制造成本。
具体地,在本实施例中,燃油箱固定装置包括托架1和箍带组件2,其中,箍带组件2包括呈夹角设置的第一箍带21和第二箍带22,第一箍带21通过第一连接件23连接于第二箍带22,托架1的截面为L形结构,托架1能够通过第二连接件连接汽车的车架,托架1的两端分别连接于第一箍带21的自由端和第二箍带22的自由端,托架1和箍带组件2能够围设形成用于容纳燃油箱100的框形结构,燃油箱100的外表面能够贴合于框形结构的内表面。
当托架1的两端分别与第一箍带21的自由端和第二箍带22的自由端相连接时,由于第一箍带21通过第一连接件23连接于第二箍带22,使得第一箍带21和第二箍带22的两端均受力,从而使第一箍带21和第二箍带22能够很好地贴合于燃油箱100的外表面,提高固定效果;托架1通过第二连接件连接于汽车的车架上,与现有技术中托架1与过渡支架焊接的方式相比,连接强度高,不会出现焊接裂纹,可靠性高。
优选地,在本实施例中,托架1采用一体式冲压形成的弯折结构,且弯折弧度与燃油箱100外周的弯折弧度相同,增加了托架1与燃油箱100的外周面的接触面积,固定效果较好。
进一步地,该燃油箱固定装置还包括防滑衬垫3,防滑衬垫3设置于框形结构和燃油箱100之间,防滑衬垫3靠近燃油箱100的一侧还设置有多个防滑凸起,用于增加托架1与燃油箱100之间、以及箍带组件2与燃油箱100之间的摩擦力,防止燃油箱100发生窜动。
优选地,防滑衬垫3采用橡胶材质制成,防滑效果较好,且制造成本较低。
进一步地,如图2所示,第一箍带21上设置有连接孔,第二箍带22上设置有第一通孔,第一连接件23能够依次穿设于第一通孔和连接孔内,实现第一箍带21和第二箍带22之间的连接。
具体地,如图2所示,在第一箍带21上设置有第一圆柱销211,在第二箍带22上设置有第二圆柱销221,第一圆柱销211的中部设置有连接孔,第二圆柱销221的中部设置有通孔,第一连接件23具体为第一螺栓,连接孔具体为螺纹孔,第一螺栓穿过第二圆柱销221上的通孔后螺纹连接于第一圆柱销211。螺栓连接具有加工简单、操作方便的优势,且通过调节第一螺栓伸入第一圆柱销211上的连接孔的长度,可以调节第一箍带21和第二箍带22之间的距离,从而保证第一箍带21和第二箍带22均能够与燃油箱100的外表面贴合良好。
进一步地,为了实现托架1和箍带组件2的稳定连接,如图2-图5所示,在第一箍带21远离第二箍带22的一端还设置有第一连接板24,第一连接板24上设置有第一安装孔241,在托架1上对应第一安装孔241的位置设置有第三安装孔,第三连接件依次穿设于第一安装孔241和第三安装孔内,实现托架1和第一箍带21之间的固定连接。同样地,在第二箍带22远离第一箍带21的一端还设置有第二连接板25,第二连接板25上设置有第二安装孔,在托架1上对应第二安装孔的位置设置有第四安装孔12,第四连接件依次穿设于第二安装孔和第四安装孔12内,实现托架1和第二箍带22之间的固定连接。
优选地,第一安装孔241和第二安装孔内还设置有衬套242,能够提高第一安装孔241和第二安装孔的耐磨性,延长第一连接板24和第二连接板25的使用寿命。
优选地,第一连接板24焊接于第一箍带21上,第二连接板25焊接于第二箍带22上,连接稳定性较好。
进一步地,如图4所示,托架1远离燃油箱100的一侧设置有过渡垫块11,过渡垫块11用于调节托架1与车架之间的距离。具体地,燃油箱100上设置的多个燃油箱固定装置上的过渡垫块11的厚度可以根据实际情况进行调整,以使燃油箱固定装置能够很好地固定于车架上。优选地,过渡垫块11采用铸造工艺加工形成。
优选地,过渡垫块11采用铝合金制成,且过渡垫块11上设置有减重孔。采用这种方式,能够实现该燃油箱固定装置降重10%的指标,当汽车的整车重量降低10%,燃油效率可以提高6%-8%。
进一步地,托架1的横截面为“几”字形结构,托架1靠近燃油箱100的一侧还设置有加强板,以提高托架1的强度。在本实施例中,加强板上还焊接有多个螺母,第二连接件依次穿过车架和过渡垫块11并螺纹连接于螺母内,第二连接件具体为第二螺栓,连接强度较高。优选地,螺母的数量为三个。
具体而言,为了适应车架的具体结构,在本实施例中,如图1和图6-图8所示,三个燃油箱固定装置的过渡垫块11的整体厚度由车架前部到车架后部依次增加,位于车架前部的燃油箱固定装置的过渡垫块11为平板结构,其上开设有三个与螺母对应设置的装配孔111。位于车架中部的燃油箱固定装置的过渡垫块11在对应于螺母的位置处设置有三个凸台112,在三个凸台112上开设对应的装配孔111,采用这种方式,可以在保证燃油箱固定装置与燃油箱100之间具有合适的距离的前提下,减少过渡垫块11的加工材料,降低过渡垫块11的整体质量,实现轻量化设计。可以理解的是,位于车架后部的燃油箱固定装置的过渡垫块11与位于车架中部的燃油箱固定装置的过渡垫块11的结构相同,区别仅在于凸台112的高度尺寸的不同,在此不做赘述。
当然,在其他实施例中,过渡垫块11还可以设置为其他形式,只要能够实现调节燃油箱固定装置与燃油箱100之间的距离的功能即可,在此不做限定。
进一步地,如图9-图10所示,防滑衬垫3包括第一衬垫31和两个第二衬垫32,第一衬垫31为L形结构,第一衬垫31远离燃油箱100的一侧设置有第一安装槽311,托架1设置于第一安装槽311内,第二衬垫32远离燃油箱100的一侧设置有第二安装槽321,第一箍带21和第二箍带22分别对应两个第二衬垫32,并分别位于对应的安装槽321内。通过设置第一安装槽311和第二安装槽321,能够实现托架1、第一箍带21和第二箍带22的准确定位,且能够防止托架1、第一箍带21和第二箍带22发生窜动。
本实施例提供的燃油箱总成,可靠性强、维修保养便捷,且能够实现燃油箱总成的轻量化,提高汽车的动力性,减少燃料消耗,降低排气污染。
注意,上述仅为本实用新型的较佳实施例及所运用技术原理。本领域技术人员会理解,本实用新型不限于这里所述的特定实施例,对本领域技术人员来说能够进行各种明显的变化、重新调整和替代而不会脱离本实用新型的保护范围。因此,虽然通过以上实施例对本实用新型进行了较为详细的说明,但是本实用新型不仅仅限于以上实施例,在不脱离本实用新型构思的情况下,还可以包括更多其他等效实施例,而本实用新型的范围由所附的权利要求范围决定。

Claims (10)

1.一种燃油箱固定装置,其特征在于,包括:
箍带组件(2),其包括呈夹角设置的第一箍带(21)和第二箍带(22),所述第一箍带(21)通过第一连接件(23)连接于所述第二箍带(22);
托架(1),其截面为L形结构,所述托架(1)能够通过第二连接件连接汽车的车架,所述托架(1)的两端分别连接于所述第一箍带(21)的自由端和所述第二箍带(22)的自由端,所述托架(1)和所述箍带组件(2)能够围设形成用于容纳燃油箱(100)的框形结构,所述燃油箱(100)的外表面能够贴合于所述框形结构的内表面。
2.根据权利要求1所述的燃油箱固定装置,其特征在于,还包括防滑衬垫(3),所述防滑衬垫(3)设置于所述框形结构和所述燃油箱(100)之间。
3.根据权利要求2所述的燃油箱固定装置,其特征在于,所述防滑衬垫(3)靠近所述燃油箱(100)的一侧设置有多个防滑凸起。
4.根据权利要求2所述的燃油箱固定装置,其特征在于,所述防滑衬垫(3)包括:
第一衬垫(31),其为L形结构,所述第一衬垫(31)远离所述燃油箱(100)的一侧设置有第一安装槽(311),所述托架(1)设置于所述第一安装槽(311)内;
两个第二衬垫(32),所述第二衬垫(32)远离所述燃油箱(100)的一侧设置有第二安装槽(321),所述第一箍带(21)和所述第二箍带(22)分别对应两个所述第二衬垫(32),并分别位于对应的所述安装槽(321)内。
5.根据权利要求1所述的燃油箱固定装置,其特征在于,所述托架(1)远离所述燃油箱(100)的一侧设置有过渡垫块(11),所述过渡垫块(11)用于调节所述托架(1)与所述车架之间的距离。
6.根据权利要求5所述的燃油箱固定装置,其特征在于,所述过渡垫块(11)采用铝合金制成,且所述过渡垫块(11)上设置有减重孔。
7.根据权利要求1所述的燃油箱固定装置,其特征在于,所述托架(1)靠近所述燃油箱(100)的一侧还设置有加强板。
8.根据权利要求1所述的燃油箱固定装置,其特征在于,所述第一箍带(21)上设置有连接孔,所述第二箍带(22)上设置有通孔,所述第一连接件(23)能够依次穿设于所述通孔和所述连接孔内。
9.一种燃油箱总成,包括燃油箱(100),其特征在于,还包括如权利要求1-8任一项所述的燃油箱固定装置,所述燃油箱(100)通过所述燃油箱固定装置固定于汽车的车架上。
10.根据权利要求9所述的燃油箱总成,其特征在于,所述燃油箱固定装置的数量有多个,多个所述燃油箱固定装置沿所述燃油箱(100)的长度方向间隔设置。
CN202020063075.5U 2020-01-13 2020-01-13 一种燃油箱固定装置及燃油箱总成 Withdrawn - After Issue CN211519248U (zh)

Priority Applications (1)

Application Number Priority Date Filing Date Title
CN202020063075.5U CN211519248U (zh) 2020-01-13 2020-01-13 一种燃油箱固定装置及燃油箱总成

Applications Claiming Priority (1)

Application Number Priority Date Filing Date Title
CN202020063075.5U CN211519248U (zh) 2020-01-13 2020-01-13 一种燃油箱固定装置及燃油箱总成

Publications (1)

Publication Number Publication Date
CN211519248U true CN211519248U (zh) 2020-09-18

Family

ID=72468915

Family Applications (1)

Application Number Title Priority Date Filing Date
CN202020063075.5U Withdrawn - After Issue CN211519248U (zh) 2020-01-13 2020-01-13 一种燃油箱固定装置及燃油箱总成

Country Status (1)

Country Link
CN (1) CN211519248U (zh)

Cited By (4)

* Cited by examiner, † Cited by third party
Publication number Priority date Publication date Assignee Title
CN113415431A (zh) * 2021-07-30 2021-09-21 天津爱思达新材料科技有限公司 飞机副油箱环缠带结构
CN115352274A (zh) * 2022-08-19 2022-11-18 一汽解放汽车有限公司 压紧力调节方法、装置、计算机设备存储介质和产品
CN116766915A (zh) * 2023-07-19 2023-09-19 一汽解放汽车有限公司 托架及燃油箱总成
CN116788032A (zh) * 2023-07-26 2023-09-22 东风商用车有限公司 一种油箱固定支架、油箱总成及车辆

Cited By (5)

* Cited by examiner, † Cited by third party
Publication number Priority date Publication date Assignee Title
CN113415431A (zh) * 2021-07-30 2021-09-21 天津爱思达新材料科技有限公司 飞机副油箱环缠带结构
CN113415431B (zh) * 2021-07-30 2023-12-29 天津爱思达新材料科技有限公司 飞机副油箱环缠带结构
CN115352274A (zh) * 2022-08-19 2022-11-18 一汽解放汽车有限公司 压紧力调节方法、装置、计算机设备存储介质和产品
CN116766915A (zh) * 2023-07-19 2023-09-19 一汽解放汽车有限公司 托架及燃油箱总成
CN116788032A (zh) * 2023-07-26 2023-09-22 东风商用车有限公司 一种油箱固定支架、油箱总成及车辆

Similar Documents

Publication Publication Date Title
CN211519248U (zh) 一种燃油箱固定装置及燃油箱总成
CN211893422U (zh) 充电口安装装置及电动汽车
CN210073956U (zh) 下壳体边梁、下壳体及电池包
CN114516500A (zh) 液罐车的防浪板结构
CN115312955B (zh) 立式蓄电池框总成及车辆
CN113120085B (zh) 具有固定式后梁的车身支架、车身支架组件及电动汽车
CN210082936U (zh) 一种用于重型卡车的铝合金燃油箱总成
CN206124744U (zh) 一种国v重卡用scr消声器支架总成
CN211107699U (zh) 一种物流车用全承载式车架
CN209461513U (zh) 电池包的双层模组安装支架以及电池包
CN202827907U (zh) 摩托车仪表支架安装组件
CN219472326U (zh) 一种卡车用液压泵支架总成
CN218182395U (zh) 用于电池箱的支撑组件
CN217656008U (zh) 电池包的边梁和具有其的电池包
CN206801716U (zh) 气缸体加强板
CN211918827U (zh) 具有固定式后梁的车身支架、车身支架组件及电动汽车
CN212796846U (zh) 一种重型汽车储气筒支架固定装置
CN215256489U (zh) 一种汽车发动机用衬套
CN221392908U (zh) 一种后悬架板簧座及后悬架系统
CN209776417U (zh) 一种销式连接的制动器防尘罩结构
CN207984536U (zh) 支撑梁总成及汽车
CN214245226U (zh) 一种装配式凸块压轮
CN221747383U (zh) 一种铅酸改锂动力电池系统
CN202944492U (zh) 摩托车燃油泵支架
CN219277246U (zh) 一种轻型汽车用轻量化变速箱支架

Legal Events

Date Code Title Description
GR01 Patent grant
GR01 Patent grant
AV01 Patent right actively abandoned
AV01 Patent right actively abandoned
AV01 Patent right actively abandoned

Granted publication date: 20200918

Effective date of abandoning: 20240913

AV01 Patent right actively abandoned

Granted publication date: 20200918

Effective date of abandoning: 20240913