CN203020505U - 一种自行车的传动机构及自行车 - Google Patents

一种自行车的传动机构及自行车 Download PDF

Info

Publication number
CN203020505U
CN203020505U CN 201220545429 CN201220545429U CN203020505U CN 203020505 U CN203020505 U CN 203020505U CN 201220545429 CN201220545429 CN 201220545429 CN 201220545429 U CN201220545429 U CN 201220545429U CN 203020505 U CN203020505 U CN 203020505U
Authority
CN
China
Prior art keywords
bicycle
wheel
flywheels
transmission device
trailing wheel
Prior art date
Legal status (The legal status is an assumption and is not a legal conclusion. Google has not performed a legal analysis and makes no representation as to the accuracy of the status listed.)
Expired - Fee Related
Application number
CN 201220545429
Other languages
English (en)
Inventor
黄建辉
Current Assignee (The listed assignees may be inaccurate. Google has not performed a legal analysis and makes no representation or warranty as to the accuracy of the list.)
ZHANGJIAGANG JIUDING MACHINERY CO Ltd
Original Assignee
ZHANGJIAGANG JIUDING MACHINERY CO Ltd
Priority date (The priority date is an assumption and is not a legal conclusion. Google has not performed a legal analysis and makes no representation as to the accuracy of the date listed.)
Filing date
Publication date
Application filed by ZHANGJIAGANG JIUDING MACHINERY CO Ltd filed Critical ZHANGJIAGANG JIUDING MACHINERY CO Ltd
Priority to CN 201220545429 priority Critical patent/CN203020505U/zh
Application granted granted Critical
Publication of CN203020505U publication Critical patent/CN203020505U/zh
Anticipated expiration legal-status Critical
Expired - Fee Related legal-status Critical Current

Links

Images

Landscapes

  • Motorcycle And Bicycle Frame (AREA)

Abstract

本实用新型公开了一种自行车的传动机构,所述自行车包括车架、连接于所述车架上的后轮以及前轮,所述传动机构包括:两个飞轮,分别传动连接于所述后轮上;两根传动带,分别传动连接至所述两个飞轮上;两个脚踏板,分别连接于所述两根传动带上;上过渡轮系统,传动连接所述两个飞轮上侧的两根传动带的自由端;以及下过渡轮系统,传动连接所述两个飞轮下侧的两根传动带的自由端,通过本技术方案,可以实现一个后轮自行车的动力输出的循环往复,且人体输出动力均匀平稳,效率较高,适用于一个后轮的双轮自行车或一个后轮的三轮车。

Description

一种自行车的传动机构及自行车
技术领域
本实用新型涉及一种传动机构,特别涉及一种自行车的传动机构及自行车。 
背景技术
申请号为201010613216.7的实用新型专利公开了一种自行车,包括车架、两个后轮、传动连接两个后轮的轴和至少一个前轮,所述轴上左右分别安装有一个飞轮,即左飞轮和右飞轮,所述左飞轮和右飞轮上分别传动连接有与之匹配的左传动带和右转动带,所述左右传动带的的上端通过一条上缆绳连接,并分别安装有左脚踏板和右脚踏板,所述左右传动带的的下端通过一条下缆绳连接,所述上缆绳和下缆绳分别绕过可自由转动的设置于所述车架上的上滑轮和下滑轮,采用上述技术方案时双飞轮直线蹬踏动力系统,人体可以采用较舒适的坐姿,并且更加省力,不易疲劳,但是,本技术方案中,本技术方案中,必须采用两个后轮,只适用于两个后轮的三轮车,或四轮车。 
实用新型内容
为解决上述问题,本实用新型的目的在于提供一种适用于单个后轮的两轮自行车或同样是单个后轮的三轮自行车的自行车的传动机构。 
为达到上述目的,本实用新型的技术方案是:一种自行车的传动机构,所述自行车包括车架、连接于所述车架上的后轮以及前轮,所述传动机构包括: 
两个飞轮,分别传动连接于所述后轮上;
两根传动带,分别传动连接至所述两个飞轮上;
两个脚踏板,分别连接于所述两根传动带上;
上过渡轮系统,传动连接所述两个飞轮上侧的两根传动带的自由端;
以及下过渡轮系统,传动连接所述两个飞轮下侧的两根传动带的自由端。
优选的,所述上(下)过渡轮系统包括上(下)滑轮和上(下)缆绳,所述上(下)过渡轮通过上(下)缆绳连接所述两个飞轮上(下)侧的两根传动带的自由端。 
优选的,所述两个脚踏板连接于所述两个飞轮上侧的两根传动带上或者连接于所述上过渡轮两侧的上缆绳上。 
优选的,所述两个飞轮与所述后轮之间设有超越离合器。 
优选的,所述车架上设置有滑轨装置,所述两个脚踏板分别滑动连接于所述滑轨装置上。 
优选的,所述两个飞轮为两个链轮,所述两根传动带为两根传动链条。 
优选的,所述两个飞轮为两个时规轮,所述两根传动带为两根时规带。 
优选的,所述后轮为一个,所述两个飞轮连接于所述后轮的花鼓上。 
本实用新型还提供另一个技术方案:一种自行车,包括如上所述的传动机构。 
采用本技术方案的有益效果是:本实用新型提供一种自行车的传动机构,通过本技术方案,可以实现一个后轮自行车的动力输出的循环往复,且人体输出动力均匀平稳,效率较高,适用于一个后轮的双轮自行车或一个后轮的三轮车。 
附图说明
图1是本实用新型一种自行车的传动机构工作示意图; 
图2为本实用新型一种自行车的传动机构传动示意图。
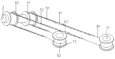
图中数字和字母所表示的相应部件名称: 
    1.车架  2.后轮  21.后轮花鼓 3.前轮  41.左链轮  42.右链轮  51.左传动链条  52.右传动链条   61.左脚踏板  62.右脚踏板  71.上滑轮  72.下滑轮  81.上缆绳  82.下缆绳  9.滑轨装置。
具体实施方式
下面结合附图和具体实施方式对本实用新型作进一步详细的说明。 
实施例1 
    参见图1和图2,如其中的图例所示,一种自行车的传动机构,自行车包括一车架1、连接于车架1上的一后轮2以及两个前轮3,传动机构包括:
两个链轮,即左链轮41和右链轮42,分别传动连接于后轮2上;
两根传动链条,即左传动链条51和右传动链条52,分别传动连接至所述左右飞轮51,52上;
两个脚踏板,即左脚踏板61和右脚踏板62,分别连接于所述左右传动链条51,52上;
一上滑轮71,通过一上缆绳81连接所述左右链轮41,42上侧的左右传动链条51,52的自由端;
以及下滑轮72,通过一下缆绳82连接所述左右链轮41,42下侧的左右传动链条51,52的自由端。
左右脚踏板61,62连接于左右链轮41,42上侧的左右传动链条51,52上。 
左右链轮41,42与后轮2之间设有超越离合器。 
下面介绍本实用新型的工作原理。 
当乘坐自行车的人蹬踏左脚踏板61时,绕制于左飞轮41上的左传动链条51带动左链轮41正转,即带动后轮花鼓21和后轮2转动,左传动链条51通过下缆绳82带动右链轮42反转,右传动链条52通过上缆绳81带动左飞轮51正转。 
同理,当乘坐自行车的人蹬踏右脚踏板62时,绕制于右链轮42上的右传动链条52带动右链轮42正转,即带动后轮花鼓21和后轮2转动,右传动链条52通过下缆绳82带动左链轮42反转,左传动链条51通过上缆绳81带动右链轮42正转。 
如此循环往复,通过左右脚踏板81,82带动左右链轮41,42,即带动后轮花鼓21和后轮2转动,从而实现动力的输出的循环往复,既能够保证人体的动力输出均匀平稳,且节省了人力。 
实施例2 
参见图1,如其中的图例所示,其余与所述实施例1相同,不同之处在于,车架1上设置有滑轨装置9,左右脚踏板61,62分别连接于滑轨装置9上,使施力方向更加准确,传动效率更高。
实施例3 
其余与所述实施例2相同,不同之处在于,所述两个脚踏板连接于所述上过渡轮两侧的上缆绳上。
实施例4 
其余与所述实施例2相同,不同之处在于,所述两个链轮为两个时规轮,所述两根传动链条为两根时规带。
实施例5 
其余与所述实施例2相同,不同之处在于,所述前轮为一个。
采用本技术方案的有益效果是:本实用新型提供一种自行车的传动机构,通过本技术方案,可以实现一个后轮自行车的动力输出的循环往复,且人体输出动力均匀平稳,效率较高,适用于一个后轮的双轮自行车或一个后轮的三轮车。 
以上所述的仅是本实用新型的优选实施方式,应当指出,对于本领域的普通技术人员来说,在不脱离本实用新型创造构思的前提下,还可以做出若干变形和改进,这些都属于本实用新型的保护范围。 

Claims (9)

1.一种自行车的传动机构,所述自行车包括车架、连接于所述车架上的后轮以及前轮,其特征在于,所述传动机构包括:
两个飞轮,分别传动连接于所述后轮上;
两根传动带,分别传动连接至所述两个飞轮上;
两个脚踏板,分别连接于所述两根传动带上;
上过渡轮系统,传动连接所述两个飞轮上侧的两根传动带的自由端;
以及下过渡轮系统,传动连接所述两个飞轮下侧的两根传动带的自由端。
2.根据权利要求1所述的传动机构,其特征在于,所述上(下)过渡轮系统包括上(下)滑轮和上(下)缆绳,所述上(下)过渡轮通过上(下)缆绳连接所述两个飞轮上(下)侧的两根传动带的自由端。
3.根据权利要求2所述的传动机构,其特征在于,所述两个脚踏板连接于所述两个飞轮上侧的两根传动带上或者连接于所述上过渡轮两侧的上缆绳上。
4.根据权利要求3所述的传动机构,其特征在于,所述两个飞轮与所述后轮之间设有超越离合器。
5.根据权利要求4所述的传动机构,其特征在于,所述车架上设置有滑轨装置,所述两个脚踏板分别滑动连接于所述滑轨装置上。
6.根据权利要求5所述的传动机构,其特征在于,所述两个飞轮为两个链轮,所述两根传动带为两根传动链条。
7.根据权利要求5所述的传动机构,其特征在于,所述两个飞轮为两个时规轮,所述两根传动带为两根时规带。
8.根据权利要求6或7所述的传动机构,其特征在于,所述后轮为一个,所述两个飞轮连接于所述后轮的花鼓上。
9.一种自行车,其特征在于,包括如权利要求8所述的传动机构。
CN 201220545429 2012-10-24 2012-10-24 一种自行车的传动机构及自行车 Expired - Fee Related CN203020505U (zh)

Priority Applications (1)

Application Number Priority Date Filing Date Title
CN 201220545429 CN203020505U (zh) 2012-10-24 2012-10-24 一种自行车的传动机构及自行车

Applications Claiming Priority (1)

Application Number Priority Date Filing Date Title
CN 201220545429 CN203020505U (zh) 2012-10-24 2012-10-24 一种自行车的传动机构及自行车

Publications (1)

Publication Number Publication Date
CN203020505U true CN203020505U (zh) 2013-06-26

Family

ID=48644505

Family Applications (1)

Application Number Title Priority Date Filing Date
CN 201220545429 Expired - Fee Related CN203020505U (zh) 2012-10-24 2012-10-24 一种自行车的传动机构及自行车

Country Status (1)

Country Link
CN (1) CN203020505U (zh)

Cited By (1)

* Cited by examiner, † Cited by third party
Publication number Priority date Publication date Assignee Title
CN103770884A (zh) * 2012-10-24 2014-05-07 张家港市九鼎机械有限公司 一种自行车的传动机构

Cited By (1)

* Cited by examiner, † Cited by third party
Publication number Priority date Publication date Assignee Title
CN103770884A (zh) * 2012-10-24 2014-05-07 张家港市九鼎机械有限公司 一种自行车的传动机构

Similar Documents

Publication Publication Date Title
CN103770884A (zh) 一种自行车的传动机构
CN203020505U (zh) 一种自行车的传动机构及自行车
CN203020501U (zh) 一种自行车传动装置
CN202911898U (zh) 一种自行车的往复运动式传动装置
CN202136497U (zh) 小型电动代步车
CN201703502U (zh) 可折叠成推车的自行车
CN2646021Y (zh) 前后轮双驱动电动自行车
CN201580514U (zh) 一种自行车健身器
CN201923270U (zh) 三轮人力助力车
CN202703835U (zh) 一种双人骑自行车
CN103770896B (zh) 一种自行车的往复运动式传动装置
CN201169358Y (zh) 人力车手动助力器
CN201376645Y (zh) 一种无需链条驱动的双驱动自行车
CN203450308U (zh) 一种人力车的往复式传动系统
CN201405996Y (zh) 一种手摇儿童三轮车
CN104691698A (zh) 双轮驱动单车
CN204150198U (zh) 一种健身踏板车
CN201999160U (zh) 一种自行车
CN202089163U (zh) 双人脚踏自行车
CN203864869U (zh) 双人协力躺车
CN201961493U (zh) 低碳合金公路自行车
CN202641975U (zh) 后轮转向三轮车
CN203876926U (zh) 倒蹬自行车
CN208069906U (zh) 一种省力自行车
CN201587481U (zh) 一种带有后视镜的自行车

Legal Events

Date Code Title Description
C14 Grant of patent or utility model
GR01 Patent grant
C17 Cessation of patent right
CF01 Termination of patent right due to non-payment of annual fee

Granted publication date: 20130626

Termination date: 20131024