CN202848530U - 精密连接输送机 - Google Patents
精密连接输送机 Download PDFInfo
- Publication number
- CN202848530U CN202848530U CN 201220375286 CN201220375286U CN202848530U CN 202848530 U CN202848530 U CN 202848530U CN 201220375286 CN201220375286 CN 201220375286 CN 201220375286 U CN201220375286 U CN 201220375286U CN 202848530 U CN202848530 U CN 202848530U
- Authority
- CN
- China
- Prior art keywords
- chain
- precision
- wheel
- fixture block
- frame
- Prior art date
- Legal status (The legal status is an assumption and is not a legal conclusion. Google has not performed a legal analysis and makes no representation as to the accuracy of the status listed.)
- Expired - Fee Related
Links
- 239000002184 metal Substances 0.000 claims description 5
- 238000005096 rolling process Methods 0.000 claims description 3
- 230000005540 biological transmission Effects 0.000 description 6
- 238000012423 maintenance Methods 0.000 description 3
- 238000013461 design Methods 0.000 description 2
- 238000006073 displacement reaction Methods 0.000 description 2
- 230000009286 beneficial effect Effects 0.000 description 1
- 230000008859 change Effects 0.000 description 1
- 230000002950 deficient Effects 0.000 description 1
- 238000010586 diagram Methods 0.000 description 1
- 238000005516 engineering process Methods 0.000 description 1
- 238000010438 heat treatment Methods 0.000 description 1
- 230000006872 improvement Effects 0.000 description 1
- 238000007689 inspection Methods 0.000 description 1
- 238000009434 installation Methods 0.000 description 1
- 239000000463 material Substances 0.000 description 1
- 230000007246 mechanism Effects 0.000 description 1
- 238000000034 method Methods 0.000 description 1
- 238000012986 modification Methods 0.000 description 1
- 230000004048 modification Effects 0.000 description 1
- 239000003921 oil Substances 0.000 description 1
- 230000036316 preload Effects 0.000 description 1
- 238000012545 processing Methods 0.000 description 1
- 238000012546 transfer Methods 0.000 description 1
Images
Landscapes
- Chain Conveyers (AREA)
Abstract
本实用新型公开了一种精密连接输送机,属于工业输送机领域,它包括链架,还包括支撑导轮和由凸轮分度器驱动的分度轮以及连接支撑导轮和分度轮的链条,支撑导轮通过横向调节机构安装在链架的一端,分度轮可旋转地安装在链架的另一端,链条由若干通过链轴铰接在一起的链节组成,链节包括通过链轴铰接在一起的第一连接板(7)和第二连接板,链轴上套装有卡块,所述的分度轮上设置有若干卡配卡块的卡槽。本实用新型定位精度好,工作效率高,使用寿命长。
Description
技术领域
本实用新型涉及一种精密连接输送机,属于工业输送机领域。
背景技术
目前,现有的输送机大多采用输送带或者常规链条式的传送装置。两者都采用减速电机驱动、电动滚筒驱动配合机械传动结构,如凸轮、蜗杆、齿轮、链轮等机械式,会造成电机、电缆的额外发热、共模电压的产生有可能会降低电机轴的寿命。输送带式传动,易磨损,容易出现卡滞、打滑等现象流转不顺畅,传送精度和定位精度差不适合高精度的传送需求。而且其因材质问题,需要定期进行更换,维护费用高。链条传送线在工厂实际用相对较少,其结构复杂,噪音大。链条的铰链磨损后,使得节距变大易造成脱落现象,安装和维修要求较高。所以一种高速高精度的传送带发明是非常有市场和实用价值的,既适合产品传送、又方便产品定位加工。具备高可靠性和长久的使用寿命,较少的维护要求(每年只需进行一次链条的预载负荷的检查和调整)、强度高耐磨性好、每个链节的扩展性强可任意搭载工装治具,通用性强、应用领域广等优点。
发明内容
本实用新型的目的是克服现有技术的缺陷,提供一种定位精度好,工作效率高,使用寿命长的精密连接输送机。
实现本实用新型目的的技术方案是:一种精密连接输送机,包括链架,还包括支撑导轮和由凸轮分度器驱动的分度轮以及连接支撑导轮和分度轮的链条,支撑导轮通过横向调节机构安装在链架的一端,分度轮可旋转地安装在链架的另一端,链条由若干通过链轴铰接在一起的链节组成,链节包括通过链轴铰接在一起的第一连接板7和第二连接板,链轴上套装有卡块,所述的分度轮上设置有若干卡配卡块的卡槽。
进一步,所述的卡块为轴承,所述的链架上安装有带轴承滚动槽的挡板,并且挡板位于链条的两侧。
进一步,所述的链架上安装有用来支承链条的导轨,所述的链条上安装有可在导轨侧面滚动的滚动轴承。
更进一步,所述的链轴上在与第一连接板接触的部位上套装有无油轴承。
采用了上述技术方案后,变频器来控制减速马达旋转,马达带动凸轮分度器,分度器带动分度轮转动,分度轮带动链条旋转,支撑导轮对链条起导向的作用,从而达到传送的目的,凸轮分度器是间歇运动,正好符合了装配生产线需要装配时间的需要,支撑导轮还能够通过横向调节机构调节支撑导轮远离或靠近链架来调节其张力,使链条绷紧,以免链条松动,每个链节上可以装载工装或治具进行产品的定位或传送,从而达到输送的目的。挡板或导轨的设计防止了链条出现水平移位的现象,使传动比较连续,减少中途停滞的现象;本实用新型的链条的位置使得链条加油润滑有一定的困难,无油轴承的使用就减少了链条上油的现象,也能够更好地润滑,工作环境也得到了进一步的美化。
附图说明
图1为本实用新型的精密连接输送机的立体图;
图2为本实用新型的链节的立体拆分图。
具体实施方式
为了使本实用新型的内容更容易被清楚地理解,下面根据具体实施例并结合附图,对本实用新型作进一步详细的说明,
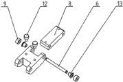
如图1、2所示,一种精密连接输送机,包括链架1,还包括支撑导轮2和由凸轮分度器驱动的分度轮3以及连接支撑导轮2和分度轮3的链条4,支撑导轮2通过横向调节机构5安装在链架1的一端,分度轮3可旋转地安装在链架1的另一端,链条4由若干通过链轴6铰接在一起的链节组成,链节包括通过链轴6铰接在一起的第一连接板7和第二连接板8,链轴6上套装有卡块9,所述的分度轮3上设置有若干卡配卡块9的卡槽3-1。链架1的两侧安装有支撑脚组件14。
如图1所示,卡块9为轴承,链架1上安装有带轴承滚动槽10-1的挡板10,并且挡板10位于链条4的两侧。
如图1、2所示,链架1上安装有用来支承链条4的导轨11,链条4上安装有可在导轨11侧面滚动的滚动轴承12。
如图2所示,链轴6上在与第一连接板7接触的部位上套装有无油轴承13。
本实用新型的工作原理如下:
变频器来控制减速马达旋转,马达带动凸轮分度器,凸轮分度器带动分度轮3转动,分度轮3带动链条4旋转,支撑导轮2对链条4起导向的作用,从而达到传送的目的,凸轮分度器是间歇运动,正好符合了装配生产线需要装配时间的需要,支撑导轮2还能够通过横向调节机构5调节支撑导轮2远离或靠近链架1来调节其张力,使链条4绷紧,以免链条4松动,每个链节上可以装载工装或治具进行产品的定位或传送,从而达到输送的目的。挡板10或导轨11的设计防止了链条4出现水平移位的现象,使传动比较连续,减少中途停滞的现象;本实用新型的链条4的位置使得链条4加油润滑有一定的困难,无油轴承13的使用就减少了链条4上油的现象,也能够更好地润滑,工作环境也得到了进一步的美化。
以上所述的具体实施例,对本实用新型的目的、技术方案和有益效果进行了进一步详细说明,所应理解的是,以上所述仅为本实用新型的具体实施例而已,并不用于限制本实用新型,凡在本实用新型的精神和原则之内,所做的任何修改、等同替换、改进等,均应包含在本实用新型的保护范围之内。
Claims (4)
1.一种精密连接输送机,包括链架(1),其特征在于:还包括支撑导轮(2)和由凸轮分度器驱动的分度轮(3)以及连接支撑导轮(2)和分度轮(3)的链条(4),支撑导轮(2)通过横向调节机构(5)安装在链架(1)的一端,分度轮(3)可旋转地安装在链架(1)的另一端,链条(4)由若干通过链轴(6)铰接在一起的链节组成,链节包括通过链轴(6)铰接在一起的第一连接板(7)和第二连接板(8),链轴(6)上套装有卡块(9),所述的分度轮(3)上设置有若干卡配卡块(9)的卡槽(3-1)。
2.根据权利要求1所述的精密连接输送机,其特征在于:所述的卡块(9)为轴承,所述的链架(1)上安装有带轴承滚动槽(10-1)的挡板(10),并且挡板(10)位于链条(4)的两侧。
3.根据权利要求1或2所述的精密连接输送机,其特征在于:所述的链架(1)上安装有用来支承链条(4)的导轨(11),所述的链条(4)上安装有可在导轨(11)侧面滚动的滚动轴承(12)。
4.根据权利要求1或2所述的精密连接输送机,其特征在于:所述的链轴(6)上在与第一连接板(7)接触的部位上套装有无油轴承(13)。
Priority Applications (1)
| Application Number | Priority Date | Filing Date | Title |
|---|---|---|---|
| CN 201220375286 CN202848530U (zh) | 2012-07-31 | 2012-07-31 | 精密连接输送机 |
Applications Claiming Priority (1)
| Application Number | Priority Date | Filing Date | Title |
|---|---|---|---|
| CN 201220375286 CN202848530U (zh) | 2012-07-31 | 2012-07-31 | 精密连接输送机 |
Publications (1)
| Publication Number | Publication Date |
|---|---|
| CN202848530U true CN202848530U (zh) | 2013-04-03 |
Family
ID=47979751
Family Applications (1)
| Application Number | Title | Priority Date | Filing Date |
|---|---|---|---|
| CN 201220375286 Expired - Fee Related CN202848530U (zh) | 2012-07-31 | 2012-07-31 | 精密连接输送机 |
Country Status (1)
| Country | Link |
|---|---|
| CN (1) | CN202848530U (zh) |
Cited By (3)
| Publication number | Priority date | Publication date | Assignee | Title |
|---|---|---|---|---|
| CN106809599A (zh) * | 2017-03-07 | 2017-06-09 | 苏州盖特龙自动化设备有限公司 | 一种链条型精密高速输送系统 |
| CN111620048A (zh) * | 2020-06-03 | 2020-09-04 | 嘉善伟悦紧固件有限公司 | 一种紧固件生产用上料装置 |
| CN111661563A (zh) * | 2020-06-10 | 2020-09-15 | 昆山通莱五金机械有限公司 | 一种电视机背板清洗专用输送链 |
-
2012
- 2012-07-31 CN CN 201220375286 patent/CN202848530U/zh not_active Expired - Fee Related
Cited By (5)
| Publication number | Priority date | Publication date | Assignee | Title |
|---|---|---|---|---|
| CN106809599A (zh) * | 2017-03-07 | 2017-06-09 | 苏州盖特龙自动化设备有限公司 | 一种链条型精密高速输送系统 |
| CN106809599B (zh) * | 2017-03-07 | 2023-08-15 | 苏州盖特龙自动化设备有限公司 | 一种链条型精密高速输送系统 |
| CN111620048A (zh) * | 2020-06-03 | 2020-09-04 | 嘉善伟悦紧固件有限公司 | 一种紧固件生产用上料装置 |
| CN111620048B (zh) * | 2020-06-03 | 2022-06-21 | 嘉善伟悦紧固件有限公司 | 一种紧固件生产用上料装置 |
| CN111661563A (zh) * | 2020-06-10 | 2020-09-15 | 昆山通莱五金机械有限公司 | 一种电视机背板清洗专用输送链 |
Similar Documents
| Publication | Publication Date | Title |
|---|---|---|
| US8047821B2 (en) | Ring rack oil pumping machine | |
| CN207861344U (zh) | 一种新型顶升移载机 | |
| CN205998511U (zh) | 一种轮毂输送线 | |
| CN202848530U (zh) | 精密连接输送机 | |
| CN202924356U (zh) | 一种移行升降滚床 | |
| CN104816921A (zh) | 一种双侧驱动输送系统 | |
| CN203889533U (zh) | 一种直线驱动滚轮输送系统 | |
| CN202924355U (zh) | 一种旋转升降滚床 | |
| CN201145008Y (zh) | 双面同步齿形带驱动装置 | |
| CN203753779U (zh) | Pbt特重型地面板链式输送机 | |
| CN114435853B (zh) | 车架三排链输送结构 | |
| CN202717286U (zh) | 一种物料带式输送设备的传动装置 | |
| CN205734799U (zh) | 一种同步交叉双工位装置 | |
| CN214732144U (zh) | 一种新型直线式分拣机 | |
| CN210527556U (zh) | 一种用于烟草输送的旋转式皮带滚床 | |
| CN204400116U (zh) | 腰鼓形玻璃瓶过渡输送机 | |
| CN214191327U (zh) | 一种可变宽度的双链输送机 | |
| CN212530203U (zh) | 滚动式单悬臂输送线 | |
| CN211544842U (zh) | 用于皮带传送机的皮带导向平衡装置 | |
| CN203638569U (zh) | 一种单链式输送机 | |
| CN112573129A (zh) | 一种新型直线式分拣机 | |
| CN207629158U (zh) | 铸造生产线用快速输送机 | |
| CN219822617U (zh) | 一种用于输送滚筒类工件的单倍速链线体 | |
| CN221369395U (zh) | 一种桥架侧式输送机 | |
| CN222117897U (zh) | 一种货物输送用顶升移载机 |
Legal Events
| Date | Code | Title | Description |
|---|---|---|---|
| C14 | Grant of patent or utility model | ||
| GR01 | Patent grant | ||
| CF01 | Termination of patent right due to non-payment of annual fee |
Granted publication date: 20130403 Termination date: 20150731 |
|
| EXPY | Termination of patent right or utility model |