CN202209422U - 轴承油封 - Google Patents
轴承油封 Download PDFInfo
- Publication number
- CN202209422U CN202209422U CN2011202437166U CN201120243716U CN202209422U CN 202209422 U CN202209422 U CN 202209422U CN 2011202437166 U CN2011202437166 U CN 2011202437166U CN 201120243716 U CN201120243716 U CN 201120243716U CN 202209422 U CN202209422 U CN 202209422U
- Authority
- CN
- China
- Prior art keywords
- lip
- skeleton
- inner frame
- framework
- road
- Prior art date
- Legal status (The legal status is an assumption and is not a legal conclusion. Google has not performed a legal analysis and makes no representation as to the accuracy of the status listed.)
- Expired - Fee Related
Links
- 238000005452 bending Methods 0.000 claims description 3
- 230000015572 biosynthetic process Effects 0.000 claims description 2
- 238000007789 sealing Methods 0.000 abstract description 19
- 230000000694 effects Effects 0.000 abstract description 4
- 230000001681 protective effect Effects 0.000 abstract 2
- 238000010276 construction Methods 0.000 description 3
- 238000012423 maintenance Methods 0.000 description 3
- XLYOFNOQVPJJNP-UHFFFAOYSA-N water Substances O XLYOFNOQVPJJNP-UHFFFAOYSA-N 0.000 description 3
- 230000007613 environmental effect Effects 0.000 description 2
- 238000003754 machining Methods 0.000 description 2
- 230000003319 supportive effect Effects 0.000 description 2
- 230000008878 coupling Effects 0.000 description 1
- 238000010168 coupling process Methods 0.000 description 1
- 238000005859 coupling reaction Methods 0.000 description 1
- 230000007812 deficiency Effects 0.000 description 1
- 230000002950 deficient Effects 0.000 description 1
- 239000000428 dust Substances 0.000 description 1
- 238000009434 installation Methods 0.000 description 1
- 238000000034 method Methods 0.000 description 1
- 238000006748 scratching Methods 0.000 description 1
- 230000002393 scratching effect Effects 0.000 description 1
Images
Landscapes
- Sealing Of Bearings (AREA)
Abstract
本实用新型涉及一种密封件,属于密封件结构技术领域。轴承油封,包括骨架以及附着在骨架上的橡胶密封体,其特征在于所述骨架采用双骨架结构,包括相互叠接在一起的与轴过盈配合的内骨架(5)以及与腔体过盈配合的外骨架(6),内外骨架之间由橡胶密封体外表面凸设的第一道防护唇(1)、第二道防护唇(2)以及主唇(3)和副唇(4)构成迷宫式结构。本实用新型轴承油封,主要为工程机械轴承用,产口采用双骨架结构,外骨架(带主唇口)与腔体过盈配合,内骨架与轴过盈配合,主唇口与内骨架直接接触,形成密封,第一、二道防护唇能有效防止油泥及铸件残渣进入,防尘效果显著。
Description
技术领域
本实用新型涉及一种密封件,特别是一种工程机械用的轴承油封,属于密封件结构技术领域。
背景技术
目前,传统结构的油封如图1所示,其存在缺陷如下:
1、对腔体的要求
传统结构油封外径是铁壳,直接与腔体接触,易磨损,对腔体的粗造度要求很高,安装时易划伤腔体,对腔体和油封的使用寿命都会受到很大的影响;
2、对轴的要求
传统的油封结构主唇是直接与轴接触,易磨损主唇,导致主唇密封效果失效,降低产品使用寿命;
3、对工作环境的要求
主唇是唯一的防护唇,因轮毂运转环境特性,决定主唇密封处经常受外界泥水影响,从而降低密封性能,所以防泥水侵袭也是提升功能与寿命的重点,传统油封的结构没有针对性设计,它通常要与一颗双唇型油封联合使用;
4、维修更换
传统结构的油封在维修或者更换的时候,轴面需要再机加工,而且只能使用一次,拆下就报废。
发明内容
本实用新型的目的在于解决上述已有技术存在的不足之处,提供一种结构设计合理、耐磨性好、密封性能优、同时能提高使用寿命的轴承油封。
本实用新型的技术方案如下:
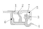
轴承油封,包括骨架以及附着在骨架上的橡胶密封体,其特殊之处在于所述骨架采用双骨架结构,包括相互叠接在一起的与轴过盈配合的内骨架5以及与腔体过盈配合的外骨架6,内外骨架之间由橡胶密封体外表面凸设的第一道防护唇1、第二道防护唇2以及主唇3和副唇4构成迷宫式结构;
所述内骨架5的轴向断面呈“﹁”状,外骨架6的轴向断面呈“Z”状,内骨架5的“﹁”状水平顶面叠盖在外骨架6的“Z”状水平底面上部;
所述橡胶密封体包绕于外骨架6上,且外骨架6与腔体接触的侧面部分包绕有橡胶层;
所述第一道防护唇1和第二道防护唇2为径向密封唇,主唇3和副唇4为轴向密封唇;
所述第一道防护唇1一端紧密贴合于内骨架5的“﹁”状水平顶面上部,另一端同时与外骨架6的“Z”状水平顶面结合,从而将内外骨架叠盖后形成的上部叠口进行密封;
所述第二道防护唇2起设于外骨架6的“Z”状水平底面上,同时抵靠于上部内骨架5的“﹁”状水平顶面下部,起支撑作用;
所述主唇3通过自紧弹簧7箍设于内骨架5的内侧,副唇4起设于外骨架6的“Z”状水平底面自由端,并沿内外骨架下部叠口处向上折弯。
本实用新型轴承油封,主要为工程机械轴承用,产品采用双骨架的迷宫结构,外骨架(带主唇口)与腔体过盈配合,内骨架与轴过盈配合,主唇口与内骨架直接接触,形成密封,第一、二道防护唇能有效防止油泥及铸件残渣进入,防尘效果显著。
附图说明
图1为已有技术轴承油封结构示意图;
图2本实用新型轴承油封轴向截面视图。
具体实施方式
以下参照附图,给出本实用新型的具体实施方式,用来对本实用新型的构成进行进一步说明。
实施例1
本实施例的轴承油封参考图2,包括骨架以及附着在骨架上的橡胶密封体,所述骨架采用双骨架结构,包括相互叠接在一起的与轴过盈配合的内骨架5以及与腔体过盈配合的外骨架6,内外骨架之间由橡胶密封体外表面凸设的第一道防护唇1、第二道防护唇2以及主唇3和副唇4构成迷宫式结构;内骨架5的轴向断面呈“﹁”状,外骨架6的轴向断面呈“Z”状,内骨架5的“﹁”状水平顶面叠盖在外骨架6的“Z”状水平底面上部;橡胶密封体包绕于外骨架6上,且外骨架6与腔体接触的侧面部分包绕有橡胶层;第一道防护唇1和第二道防护唇2为径向密封唇,主唇3和副唇4为轴向密封唇;第一道防护唇1一端紧密贴合于内骨架5的“﹁”状水平顶面上部,另一端同时与外骨架6的“Z”状水平顶面结合,从而将内外骨架叠盖后形成的上部叠口进行密封;第二道防护唇2起设于外骨架6的“Z”状水平底面上,同时抵靠于上部内骨架5的“﹁”状水平顶面下部,起支撑作用;主唇3通过自紧弹簧7箍设于内骨架5的内侧,副唇4起设于外骨架6的“Z”状水平底面自由端,并沿内外骨架下部叠口处向上折弯。
本实施例的轴承油封,与传统的结构油封相比,存在以下优势:
1、对腔体要求
本实施例油封的外径是外包橡胶,与腔体接触,对孔的粗造度和精度要求不高,产品安装时不易划伤腔体;
2、对轴的要求
本实施例油封是双骨架设计,对轴的粗糙度要求大于3.2都可以,轴表面无须研磨;
3、对工作环境的要求
本实施例的油封带有防护唇(2道),防止一般的灰尘、泥水和中等的污染以及外界脏物侵入,具有很好的密封效果;
本实施例的油封对孔和轴的要求都能满足,对于轮毂油封的环境特征,使用寿命、防上一般和中等污染及维修服务等方面性能,普通油封采用旧的办法不能解决时,一般都可以使用本实施例的油封去解决,且无须改换腔体;
4、维修更换
本实施例的油封在维修和更换的时候能够延长工作的维修周期,轴面无须再机加工,可拆卸重复使用。
Claims (8)
1.轴承油封,包括骨架以及附着在骨架上的橡胶密封体,其特征在于所述骨架采用双骨架结构,包括相互叠接在一起的与轴过盈配合的内骨架(5)以及与腔体过盈配合的外骨架(6),内外骨架之间由橡胶密封体外表面凸设的第一道防护唇(1)、第二道防护唇(2)以及主唇(3)和副唇(4)构成迷宫式结构。
2.按照权利要求1所述轴承油封,其特征在于所述内骨架(5)的轴向断面呈“﹁”状,外骨架(6)的轴向断面呈“Z”状,内骨架(5)的“﹁”状水平顶面叠盖在外骨架(6)的“Z”状水平底面上部。
3.按照权利要求1所述轴承油封,其特征在于所述橡胶密封体包绕于外骨架(6)上,且外骨架(6)与腔体接触的侧面部分包绕有橡胶层。
4.按照权利要求1所述轴承油封,其特征在于所述第一道防护唇(1)和第二道防护唇(2)为径向密封唇,主唇(3)和副唇(4)为轴向密封唇。
5.按照权利要求1所述轴承油封,其特征在于所述第一道防护唇(1)一端紧密贴合于内骨架(5)的“﹁”状水平顶面上部,另一端同时与外骨架(6)的“Z”状水平顶面结合,从而将内外骨架叠盖后形成的上部叠口进行密封。
6.按照权利要求1所述轴承油封,其特征在于所述第二道防护唇(2)起设于外骨架(6)的“Z”状水平底面上,同时抵靠于上部内骨架(5)的“﹁”状水平顶面下部。
7.按照权利要求1所述轴承油封,其特征在于所述主唇(3)通过自紧弹簧(7)箍设于内骨架(5)的内侧。
8.按照权利要求1所述轴承油封,其特征在于副唇(4)起设于外骨架(6)的“Z”状水平底面自由端,并沿内外骨架下部叠口处向上折弯。
Priority Applications (1)
| Application Number | Priority Date | Filing Date | Title |
|---|---|---|---|
| CN2011202437166U CN202209422U (zh) | 2011-07-12 | 2011-07-12 | 轴承油封 |
Applications Claiming Priority (1)
| Application Number | Priority Date | Filing Date | Title |
|---|---|---|---|
| CN2011202437166U CN202209422U (zh) | 2011-07-12 | 2011-07-12 | 轴承油封 |
Publications (1)
| Publication Number | Publication Date |
|---|---|
| CN202209422U true CN202209422U (zh) | 2012-05-02 |
Family
ID=45988969
Family Applications (1)
| Application Number | Title | Priority Date | Filing Date |
|---|---|---|---|
| CN2011202437166U Expired - Fee Related CN202209422U (zh) | 2011-07-12 | 2011-07-12 | 轴承油封 |
Country Status (1)
| Country | Link |
|---|---|
| CN (1) | CN202209422U (zh) |
Cited By (6)
| Publication number | Priority date | Publication date | Assignee | Title |
|---|---|---|---|---|
| CN104455455A (zh) * | 2014-12-06 | 2015-03-25 | 无锡高卓流体设备有限公司 | 一种轴承密封件 |
| CN105240534A (zh) * | 2015-10-21 | 2016-01-13 | 宝塔实业股份有限公司 | 一种新型油封 |
| CN108692028A (zh) * | 2018-05-30 | 2018-10-23 | 西安航空制动科技有限公司 | 用于飞机机轮速度传感器的轴用防尘密封圈 |
| CN108691685A (zh) * | 2018-08-01 | 2018-10-23 | 台州环洋机电有限公司 | 一种通用汽油机上的t型活塞 |
| CN110230699A (zh) * | 2019-05-31 | 2019-09-13 | 陕西法士特齿轮有限责任公司 | 一种内外防尘油封结构 |
| CN110645357A (zh) * | 2019-08-26 | 2020-01-03 | 江门市鑫辉特种密封科技有限公司 | 径向多唇支撑油封装置 |
-
2011
- 2011-07-12 CN CN2011202437166U patent/CN202209422U/zh not_active Expired - Fee Related
Cited By (7)
| Publication number | Priority date | Publication date | Assignee | Title |
|---|---|---|---|---|
| CN104455455A (zh) * | 2014-12-06 | 2015-03-25 | 无锡高卓流体设备有限公司 | 一种轴承密封件 |
| CN105240534A (zh) * | 2015-10-21 | 2016-01-13 | 宝塔实业股份有限公司 | 一种新型油封 |
| CN108692028A (zh) * | 2018-05-30 | 2018-10-23 | 西安航空制动科技有限公司 | 用于飞机机轮速度传感器的轴用防尘密封圈 |
| CN108691685A (zh) * | 2018-08-01 | 2018-10-23 | 台州环洋机电有限公司 | 一种通用汽油机上的t型活塞 |
| CN110230699A (zh) * | 2019-05-31 | 2019-09-13 | 陕西法士特齿轮有限责任公司 | 一种内外防尘油封结构 |
| CN110230699B (zh) * | 2019-05-31 | 2024-05-10 | 陕西法士特齿轮有限责任公司 | 一种内外防尘油封结构 |
| CN110645357A (zh) * | 2019-08-26 | 2020-01-03 | 江门市鑫辉特种密封科技有限公司 | 径向多唇支撑油封装置 |
Similar Documents
| Publication | Publication Date | Title |
|---|---|---|
| CN202209422U (zh) | 轴承油封 | |
| CN202203407U (zh) | 车桥油封 | |
| CN202203404U (zh) | 装载机桥轮毂油封 | |
| CN201858272U (zh) | 三层密封防护结构的万向节十字轴总成 | |
| CN202203403U (zh) | 工程机械轮边油封 | |
| CN202203406U (zh) | 工程机械轮边油封 | |
| CN202203405U (zh) | 驱动桥轮毂油封 | |
| CN201627926U (zh) | 重卡车桥轮毂油封 | |
| CN201593603U (zh) | 减速机轴端密封结构 | |
| CN201277329Y (zh) | 三唇轴承密封圈 | |
| CN202209423U (zh) | 轮边油封 | |
| CN203548918U (zh) | 一种后轮组合式旋转油封 | |
| CN202203408U (zh) | 驱动桥轮毂油封 | |
| CN201410960Y (zh) | 一种管片车轴箱 | |
| CN203578353U (zh) | 一种短应力线式万能轨机 | |
| CN202381700U (zh) | 具有高强度防尘功能的盒式油封 | |
| CN202358213U (zh) | 一种新型支重轮的密封结构 | |
| CN204978925U (zh) | 新型耐磨损推土机支重轮 | |
| CN201547217U (zh) | 减震密封型齿轮箱 | |
| CN204213190U (zh) | 轴承组合密封结构 | |
| CN201305345Y (zh) | 迷宫式尼龙托辊 | |
| CN205533767U (zh) | “z”型端面接触式密封滚轮轴承 | |
| CN214356334U (zh) | 一种用于工程或农机履带式机械上的尼龙轮 | |
| CN204403373U (zh) | 自封尘盒式油封 | |
| CN203395151U (zh) | 一种自带防尘罩及带唇口的内阻油板式油封 |
Legal Events
| Date | Code | Title | Description |
|---|---|---|---|
| C14 | Grant of patent or utility model | ||
| GR01 | Patent grant | ||
| C17 | Cessation of patent right | ||
| CF01 | Termination of patent right due to non-payment of annual fee |
Granted publication date: 20120502 Termination date: 20130712 |