CN202203405U - 驱动桥轮毂油封 - Google Patents
驱动桥轮毂油封 Download PDFInfo
- Publication number
- CN202203405U CN202203405U CN2011202437217U CN201120243721U CN202203405U CN 202203405 U CN202203405 U CN 202203405U CN 2011202437217 U CN2011202437217 U CN 2011202437217U CN 201120243721 U CN201120243721 U CN 201120243721U CN 202203405 U CN202203405 U CN 202203405U
- Authority
- CN
- China
- Prior art keywords
- skeleton
- inner frame
- oil seal
- lip
- ransaxle
- Prior art date
- Legal status (The legal status is an assumption and is not a legal conclusion. Google has not performed a legal analysis and makes no representation as to the accuracy of the status listed.)
- Expired - Fee Related
Links
- 238000007789 sealing Methods 0.000 claims abstract description 23
- XLYOFNOQVPJJNP-UHFFFAOYSA-N water Substances O XLYOFNOQVPJJNP-UHFFFAOYSA-N 0.000 abstract description 7
- 239000000428 dust Substances 0.000 abstract description 3
- 230000009545 invasion Effects 0.000 abstract description 2
- 230000001681 protective effect Effects 0.000 abstract 2
- 238000010276 construction Methods 0.000 description 3
- 238000012423 maintenance Methods 0.000 description 3
- 230000000694 effects Effects 0.000 description 2
- 230000007613 environmental effect Effects 0.000 description 2
- 238000003754 machining Methods 0.000 description 2
- 230000015572 biosynthetic process Effects 0.000 description 1
- 230000008878 coupling Effects 0.000 description 1
- 238000010168 coupling process Methods 0.000 description 1
- 238000005859 coupling reaction Methods 0.000 description 1
- 230000007812 deficiency Effects 0.000 description 1
- 230000002950 deficient Effects 0.000 description 1
- 238000009434 installation Methods 0.000 description 1
- 238000000034 method Methods 0.000 description 1
- 238000006748 scratching Methods 0.000 description 1
- 230000002393 scratching effect Effects 0.000 description 1
Images
Landscapes
- Sealing With Elastic Sealing Lips (AREA)
- Sealing Using Fluids, Sealing Without Contact, And Removal Of Oil (AREA)
Abstract
本实用新型涉及一种密封件,属于密封件结构技术领域。驱动桥轮毂油封,包括骨架以及附着在骨架上的橡胶密封体,其特征在于所述骨架采用多骨架结构,包括相互叠接在一起的与轴过盈配合的内骨架(5)、与腔体过盈配合的外骨架(7)以及中间骨架(6),橡胶密封体包绕于内外骨架及中间骨架之间且由其外表面凸设的第一道防护唇(1)、第二道防护唇(2)以及主唇(3)构成迷宫式结构。本实用新型采用多骨架的迷宫结构,外骨架(带主唇)与腔体过盈配合,内骨架与轴过盈配合,主唇与内骨架直接接触,形成密封,合理的空间结构能使主唇与水及灰尘保持一段距离,有效防止因泥水入侵而导致的密封失效问题。
Description
技术领域
本实用新型涉及一种密封件,特别是一种驱动桥轮毂油封,属于密封件结构技术领域。
背景技术
目前,传统结构的油封如图1所示,其存在缺陷如下:
1、对腔体的要求
传统结构油封外径是铁壳,直接与腔体接触,易磨损,对腔体的粗造度要求很高,安装时易划伤腔体,对腔体和油封的使用寿命都会受到很大的影响。
2、对轴的要求
传统的油封结构主唇是直接与轴接触,易磨损主唇,导致主唇密封效果失效,降低产品使用寿命。
3、对工作环境的要求
主唇是唯一的防护唇,因轮毂运转环境特性,决定主唇密封处经常受外界泥水影响,从而降低密封性能,所以防泥水侵袭也是提升功能与寿命的重点,传统油封的结构没有针对性设计,它通常要与一颗双唇型油封联合使用。
4、维修更换
传统结构的油封在维修或者更换的时候,轴面需要再机加工,而且只能使用一次,拆下就报废。
发明内容
本实用新型的目的在于解决上述已有技术存在的不足之处,提供一种结构设计合理、耐磨性好、密封性能优、同时能提高使用寿命的驱动桥轮毂油封。
本实用新型的技术方案如下:
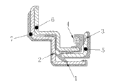
驱动桥轮毂油封,包括骨架以及附着在骨架上的橡胶密封体,其特殊之处在于所述骨架采用多骨架结构,包括相互叠接在一起的与轴过盈配合的内骨架5、与腔体过盈配合的外骨架7以及中间骨架6,橡胶密封体包绕于内外骨架及中间骨架之间且由其外表面凸设的第一道防护唇1、第二道防护唇2以及主唇3构成迷宫式结构;
所述内骨架5的轴向截面呈“」”状,外骨架7和中间骨架6的形状一致,其轴向截面呈两个首尾连接的“L”状,且中间骨架6叠靠于外骨架7的内侧,内骨架5的“」”状水平底边夹设于中间骨架6和外骨架7的两个首尾连接的“L”状的最下部的水平底边之间;
所述外骨架7与中间骨架6的一端固定连接;
所述第一道防护唇1和第二道防护唇2起设于内骨架5的水平底边自由端,并分别在外骨架7的拐角处进行径向和轴向两个不同方向的密封;
所述主唇3通过自紧弹簧4箍设于内骨架5内侧;
所述外骨架7与腔体配合的外周包绕橡胶层,内骨架5与轴配合的侧面设有橡胶层,该橡胶层外周设有波纹凸起。
本实用新型驱动桥轮毂油封,产品采用多骨架的迷宫结构,外骨架(带主唇)与腔体过盈配合,内骨架与轴过盈配合,主唇与内骨架直接接触,形成密封,油封带有两道防护唇,合理的空间结构能使主唇与水及灰尘保持一段距离,有效防止因泥水入侵而导致的密封失效问题。
附图说明
图1:为已有技术驱动桥轮毂油封结构示意图;
图2:本实用新型驱动桥轮毂油封轴向截面视图;
具体实施方式
以下参照附图,给出本实用新型的具体实施方式,用来对本实用新型的构成进行进一步说明。
实施例1
本实施例的驱动桥轮毂油封参考图2,包括骨架以及附着在骨架上的橡胶密封体,所述骨架采用多骨架结构,包括相互叠接在一起的与轴过盈配合的内骨架5、与腔体过盈配合的外骨架7以及中间骨架6,橡胶密封体包绕于内外骨架及中间骨架之间且由其外表面凸设的第一道防护唇1、第二道防护唇2以及主唇3构成迷宫式结构;内骨架5的轴向截面呈“」”状,外骨架7和中间骨架6的形状一致,其轴向截面呈两个首尾连接的“L”状,且中间骨架6叠靠于外骨架7的内侧,所述外骨架7与中间骨架6的一端固定连接;内骨架5的“」”状水平底边夹设于中间骨架6和外骨架7的两个首尾连接的“L”状的最下部的水平底边之间;第一道防护唇1和第二道防护唇2起设于内骨架5的水平底边自由端,并分别在外骨架7的拐角处进行径向和轴向两个不同方向的密封;主唇3通过自紧弹簧4箍设于内骨架5内侧;外骨架7与腔体配合的外周包绕橡胶层,内骨架5与轴配合的侧面设有橡胶层,该橡胶层外周设有波纹凸起。
本实施例的驱动桥轮毂油封,与传统的结构油封相比,存在以下优势:
1、对腔体要求
本实施例油封的外径是外包橡胶,与腔体接触,对孔的粗造度和精度要求不高,产品安装时不易划伤腔体。
2、对轴的要求
本实施例油封是多骨架设计,对轴的粗糙度要求大于3.2都可以,轴表面无须研磨。
3、对工作环境的要求
本实施例的油封带有防护唇(2道),防止一般的灰尘、泥水和中等的污染以及外界脏物侵入,具有很好的密封效果;
本实施例的油封对孔和轴的要求都能满足,对于轮毂油封的环境特征,使用寿命、防上一般和中等污染及维修服务等方面性能,普通油封采用旧的办法不能解决时,一般都可以使用本实施例的油封去解决,且无须改换腔体。
4、维修更换
本实施例的油封在维修和更换的时候能够延长工作的维修周期,轴面无须再机加工,可拆卸重复使用。
Claims (6)
1.驱动桥轮毂油封,包括骨架以及附着在骨架上的橡胶密封体,其特征在于所述骨架采用多骨架结构,包括相互叠接在一起的与轴过盈配合的内骨架(5)、与腔体过盈配合的外骨架(7)以及中间骨架(6),橡胶密封体包绕于内外骨架及中间骨架之间且由其外表面凸设的第一道防护唇(1)、第二道防护唇(2)以及主唇(3)构成迷宫式结构。
2.按照权利要求1所述驱动桥轮毂油封,其特征在于所述内骨架(5)的轴向截面呈“」”状,外骨架(7)和中间骨架(6)的形状一致,其轴向截面呈两个首尾连接的“L”状,且中间骨架(6)叠靠于外骨架(7)的内侧,内骨架(5)的“」”状水平底边夹设于中间骨架(6)和外骨架(7)的两个首尾连接的“L”状的最下部的水平底边之间。
3.按照权利要求1所述驱动桥轮毂油封,其特征在于所述外骨架(7)与中间骨架(6)的一端固定连接。
4.按照权利要求1所述驱动桥轮毂油封,其特征在于所述第一道防护唇(1)和第二道防护唇(2)起设于内骨架(5)的水平底边自由端,并分别在外骨架(7)的拐角处进行径向和轴向两个不同方向的密封。
5.按照权利要求1所述驱动桥轮毂油封,其特征在于所述主唇(3)通过自紧弹簧(4)箍设于内骨架(5)内侧。
6.按照权利要求1所述驱动桥轮毂油封,其特征在于所述外骨架(7)与腔体配合的外周包绕橡胶层,内骨架(5)与轴配合的侧面设有橡胶层,该橡胶层外周设有波纹凸起。
Priority Applications (1)
| Application Number | Priority Date | Filing Date | Title |
|---|---|---|---|
| CN2011202437217U CN202203405U (zh) | 2011-07-12 | 2011-07-12 | 驱动桥轮毂油封 |
Applications Claiming Priority (1)
| Application Number | Priority Date | Filing Date | Title |
|---|---|---|---|
| CN2011202437217U CN202203405U (zh) | 2011-07-12 | 2011-07-12 | 驱动桥轮毂油封 |
Publications (1)
| Publication Number | Publication Date |
|---|---|
| CN202203405U true CN202203405U (zh) | 2012-04-25 |
Family
ID=45967526
Family Applications (1)
| Application Number | Title | Priority Date | Filing Date |
|---|---|---|---|
| CN2011202437217U Expired - Fee Related CN202203405U (zh) | 2011-07-12 | 2011-07-12 | 驱动桥轮毂油封 |
Country Status (1)
| Country | Link |
|---|---|
| CN (1) | CN202203405U (zh) |
Cited By (2)
| Publication number | Priority date | Publication date | Assignee | Title |
|---|---|---|---|---|
| CN111094813A (zh) * | 2017-06-13 | 2020-05-01 | 斯太姆科产品公司 | 轮端组件密封件 |
| CN116357739A (zh) * | 2022-12-26 | 2023-06-30 | 青岛青特众力车桥有限公司 | 一种驱动桥轮毂组合式防水油封结构 |
-
2011
- 2011-07-12 CN CN2011202437217U patent/CN202203405U/zh not_active Expired - Fee Related
Cited By (3)
| Publication number | Priority date | Publication date | Assignee | Title |
|---|---|---|---|---|
| CN111094813A (zh) * | 2017-06-13 | 2020-05-01 | 斯太姆科产品公司 | 轮端组件密封件 |
| CN111094813B (zh) * | 2017-06-13 | 2022-02-25 | 斯太姆科产品公司 | 轮端组件密封件 |
| CN116357739A (zh) * | 2022-12-26 | 2023-06-30 | 青岛青特众力车桥有限公司 | 一种驱动桥轮毂组合式防水油封结构 |
Similar Documents
| Publication | Publication Date | Title |
|---|---|---|
| CN202203407U (zh) | 车桥油封 | |
| CN202209422U (zh) | 轴承油封 | |
| CN202203404U (zh) | 装载机桥轮毂油封 | |
| CN202203405U (zh) | 驱动桥轮毂油封 | |
| CN201057271Y (zh) | 组合式油封 | |
| CN202203403U (zh) | 工程机械轮边油封 | |
| CN202209423U (zh) | 轮边油封 | |
| CN202203406U (zh) | 工程机械轮边油封 | |
| CN202203408U (zh) | 驱动桥轮毂油封 | |
| CN201277329Y (zh) | 三唇轴承密封圈 | |
| CN201391543Y (zh) | 螺纹式外球面轴承 | |
| CN201627926U (zh) | 重卡车桥轮毂油封 | |
| CN203051772U (zh) | 大型拖拉机车桥前桥油封 | |
| CN202431971U (zh) | 组合式ptfe齿圈油封 | |
| CN202708073U (zh) | 一种旋转体密封装置及水平定向钻机旋转头 | |
| CN204403373U (zh) | 自封尘盒式油封 | |
| CN201547217U (zh) | 减震密封型齿轮箱 | |
| CN203516440U (zh) | 一种下摆臂球销总成 | |
| CN204871179U (zh) | 一种耐磨的汽车转向节 | |
| CN202215644U (zh) | 用于汽车液压制动的鼓式制动器轮缸 | |
| CN204573083U (zh) | 包裹反扣式泥水橡胶骨架油封 | |
| CN201305345Y (zh) | 迷宫式尼龙托辊 | |
| CN202851966U (zh) | 一种液压缸支架用导向套防尘橡胶密封圈 | |
| CN203189733U (zh) | U型磁感应油封 | |
| CN201636229U (zh) | 新型轴碗翼型万向节 |
Legal Events
| Date | Code | Title | Description |
|---|---|---|---|
| C14 | Grant of patent or utility model | ||
| GR01 | Patent grant | ||
| C17 | Cessation of patent right | ||
| CF01 | Termination of patent right due to non-payment of annual fee |
Granted publication date: 20120425 Termination date: 20130712 |