CN111167655A - 一种金属管材除锈喷漆装置 - Google Patents

一种金属管材除锈喷漆装置 Download PDF

Info

Publication number
CN111167655A
CN111167655A CN202010202945.7A CN202010202945A CN111167655A CN 111167655 A CN111167655 A CN 111167655A CN 202010202945 A CN202010202945 A CN 202010202945A CN 111167655 A CN111167655 A CN 111167655A
Authority
CN
China
Prior art keywords
rod
paint
paint spraying
motor
rust removing
Prior art date
Legal status (The legal status is an assumption and is not a legal conclusion. Google has not performed a legal analysis and makes no representation as to the accuracy of the status listed.)
Withdrawn
Application number
CN202010202945.7A
Other languages
English (en)
Inventor
不公告发明人
Current Assignee (The listed assignees may be inaccurate. Google has not performed a legal analysis and makes no representation or warranty as to the accuracy of the list.)
Pan'an Aiken Machinery Equipment Co ltd
Original Assignee
Pan'an Aiken Machinery Equipment Co ltd
Priority date (The priority date is an assumption and is not a legal conclusion. Google has not performed a legal analysis and makes no representation as to the accuracy of the date listed.)
Filing date
Publication date
Application filed by Pan'an Aiken Machinery Equipment Co ltd filed Critical Pan'an Aiken Machinery Equipment Co ltd
Priority to CN202010202945.7A priority Critical patent/CN111167655A/zh
Publication of CN111167655A publication Critical patent/CN111167655A/zh
Withdrawn legal-status Critical Current

Links

Images

Classifications

    • BPERFORMING OPERATIONS; TRANSPORTING
    • B05SPRAYING OR ATOMISING IN GENERAL; APPLYING FLUENT MATERIALS TO SURFACES, IN GENERAL
    • B05BSPRAYING APPARATUS; ATOMISING APPARATUS; NOZZLES
    • B05B16/00Spray booths
    • B05B16/20Arrangements for spraying in combination with other operations, e.g. drying; Arrangements enabling a combination of spraying operations
    • BPERFORMING OPERATIONS; TRANSPORTING
    • B05SPRAYING OR ATOMISING IN GENERAL; APPLYING FLUENT MATERIALS TO SURFACES, IN GENERAL
    • B05BSPRAYING APPARATUS; ATOMISING APPARATUS; NOZZLES
    • B05B13/00Machines or plants for applying liquids or other fluent materials to surfaces of objects or other work by spraying, not covered by groups B05B1/00 - B05B11/00
    • B05B13/02Means for supporting work; Arrangement or mounting of spray heads; Adaptation or arrangement of means for feeding work
    • B05B13/0207Means for supporting work; Arrangement or mounting of spray heads; Adaptation or arrangement of means for feeding work the work being an elongated body, e.g. wire or pipe
    • B05B13/0214Means for supporting work; Arrangement or mounting of spray heads; Adaptation or arrangement of means for feeding work the work being an elongated body, e.g. wire or pipe the liquid or other fluent material being applied to the whole periphery of the cross section of the elongated body
    • BPERFORMING OPERATIONS; TRANSPORTING
    • B05SPRAYING OR ATOMISING IN GENERAL; APPLYING FLUENT MATERIALS TO SURFACES, IN GENERAL
    • B05BSPRAYING APPARATUS; ATOMISING APPARATUS; NOZZLES
    • B05B13/00Machines or plants for applying liquids or other fluent materials to surfaces of objects or other work by spraying, not covered by groups B05B1/00 - B05B11/00
    • B05B13/02Means for supporting work; Arrangement or mounting of spray heads; Adaptation or arrangement of means for feeding work
    • B05B13/04Means for supporting work; Arrangement or mounting of spray heads; Adaptation or arrangement of means for feeding work the spray heads being moved during spraying operation
    • B05B13/0405Means for supporting work; Arrangement or mounting of spray heads; Adaptation or arrangement of means for feeding work the spray heads being moved during spraying operation with reciprocating or oscillating spray heads
    • B05B13/041Means for supporting work; Arrangement or mounting of spray heads; Adaptation or arrangement of means for feeding work the spray heads being moved during spraying operation with reciprocating or oscillating spray heads with spray heads reciprocating along a straight line
    • BPERFORMING OPERATIONS; TRANSPORTING
    • B24GRINDING; POLISHING
    • B24BMACHINES, DEVICES, OR PROCESSES FOR GRINDING OR POLISHING; DRESSING OR CONDITIONING OF ABRADING SURFACES; FEEDING OF GRINDING, POLISHING, OR LAPPING AGENTS
    • B24B27/00Other grinding machines or devices
    • B24B27/0076Other grinding machines or devices grinding machines comprising two or more grinding tools
    • BPERFORMING OPERATIONS; TRANSPORTING
    • B24GRINDING; POLISHING
    • B24BMACHINES, DEVICES, OR PROCESSES FOR GRINDING OR POLISHING; DRESSING OR CONDITIONING OF ABRADING SURFACES; FEEDING OF GRINDING, POLISHING, OR LAPPING AGENTS
    • B24B27/00Other grinding machines or devices
    • B24B27/033Other grinding machines or devices for grinding a surface for cleaning purposes, e.g. for descaling or for grinding off flaws in the surface
    • BPERFORMING OPERATIONS; TRANSPORTING
    • B24GRINDING; POLISHING
    • B24BMACHINES, DEVICES, OR PROCESSES FOR GRINDING OR POLISHING; DRESSING OR CONDITIONING OF ABRADING SURFACES; FEEDING OF GRINDING, POLISHING, OR LAPPING AGENTS
    • B24B41/00Component parts such as frames, beds, carriages, headstocks
    • B24B41/06Work supports, e.g. adjustable steadies
    • B24B41/067Work supports, e.g. adjustable steadies radially supporting workpieces
    • BPERFORMING OPERATIONS; TRANSPORTING
    • B24GRINDING; POLISHING
    • B24BMACHINES, DEVICES, OR PROCESSES FOR GRINDING OR POLISHING; DRESSING OR CONDITIONING OF ABRADING SURFACES; FEEDING OF GRINDING, POLISHING, OR LAPPING AGENTS
    • B24B47/00Drives or gearings; Equipment therefor
    • B24B47/10Drives or gearings; Equipment therefor for rotating or reciprocating working-spindles carrying grinding wheels or workpieces
    • B24B47/12Drives or gearings; Equipment therefor for rotating or reciprocating working-spindles carrying grinding wheels or workpieces by mechanical gearing or electric power
    • BPERFORMING OPERATIONS; TRANSPORTING
    • B24GRINDING; POLISHING
    • B24BMACHINES, DEVICES, OR PROCESSES FOR GRINDING OR POLISHING; DRESSING OR CONDITIONING OF ABRADING SURFACES; FEEDING OF GRINDING, POLISHING, OR LAPPING AGENTS
    • B24B47/00Drives or gearings; Equipment therefor
    • B24B47/22Equipment for exact control of the position of the grinding tool or work at the start of the grinding operation

Landscapes

  • Engineering & Computer Science (AREA)
  • Mechanical Engineering (AREA)
  • Spray Control Apparatus (AREA)

Abstract

本发明公开了一种金属管材除锈喷漆装置,包括放置在地面的除锈喷漆机体,所述除锈喷漆机体设有能够安装除锈喷漆装置的固定杆和第一螺纹杆,所述除锈喷漆机体内设有夹紧装置和升降台,所述夹紧装置包括设于左右两侧壁外对称安装的第二电机,所述升降台包括除锈喷漆机体内部下方的第三电机,通过第三电机控制升降台,使滚轮上不同直径的金属管材与夹紧装置位于轴线共线,对金属管材夹持效果好,设有的除锈装置能够使除锈片充分与金属管材接触,从而提高对金属管材的除锈效果,完成除锈后的金属管材能够进行喷漆处理,加快金属管材的生产效率。

Description

一种金属管材除锈喷漆装置
技术领域
本发明涉及喷漆设备技术领域,具体为一种金属管材除锈喷漆装置。
背景技术
金属管材是建筑工程中的重要材料,由于使用金属管材时工作环境比较复杂,为了提高金属管材的使用寿命和使用效果,通常需要对金属管材进行表面除锈和喷漆处理,使金属管材适合在不同的环境下进行长时间工作,从而降低使用维修成本,然而现有的金属管材对于除锈和喷漆基本上是分两个工序进行操作,除锈完成后将金属管材取出移动到喷漆设备处进行处理,这种处理方法存在工作效率低,给金属管材的快速生产造成了诸多不便,同时所使用除锈、喷漆设备比较复杂,对金属管材的除锈、喷漆效果不够理想。
发明内容
本发明的目的在于提供一种金属管材除锈喷漆装置,用于克服现有技术中的上述缺陷。
根据本发明的一种金属管材除锈喷漆装置,包括除锈喷漆机体,所述除锈喷漆机体内部上方设有固定杆,所述固定杆固定安装于所述除锈喷漆机体两侧壁,所述固定杆下方设有第一螺纹杆,所述第一螺纹杆转动安装于所述除锈喷漆机体左右两侧壁,所述第一螺纹杆左端连接有第一电机,所述第一电机固定安装于所述除锈喷漆机体左侧壁外,所述固定杆和所述第一螺纹杆上设有除锈喷漆装置,所述除锈喷漆装置包括滑动安装于所述固定杆上的螺纹滑块,所述螺纹滑块与所述第一螺纹杆螺纹连接,所述螺纹滑块下方固设有支撑杆,所述支撑杆内连接有喷嘴,所述螺纹滑块下方设有前后两侧位置对称安装的液压杆,所述液压杆下方连接有支撑板,所述支撑板与所述支撑杆滑动连接,所述支撑板下方铰连接有连杆,所述连杆铰链接有摆杆,所述摆杆上端铰连接于所述支撑杆,所述摆杆下端设有除锈片, 所述喷嘴连接有进漆装置。
在上述技术方案基础上,所述进漆装置包括安装在所述喷嘴上的油漆管,所述油漆管连接有油漆泵,所述油漆泵连接有油漆箱,所述油漆泵和所述油漆箱固定安装于所述除锈喷漆机体右侧上方,当金属管材除锈完毕时,打开油漆泵,将油漆从油漆箱吸出并由喷嘴喷出,所述第一电机带动所述第一螺纹杆反向转动,带动所述螺纹滑块向左移动进行喷漆。
在上述技术方案基础上,所述夹紧装置包括设于所述除锈喷漆机体左右两侧壁外对称安装的第二电机,所述第二电机连接有第一转动轴,所述第一转动轴内设有移动腔,所述移动腔有转动安装左右延伸于所述移动腔左右两侧壁的蜗杆,所述蜗杆连接有第三电机,所述第三电机固设于所述移动腔靠近所述第二电机的一侧壁,所述第一转动轴滑动连接有滑动杆,所述滑动杆与所述蜗杆螺纹连接,所述滑动杆远离所述第二电机的一端设有外螺纹,所述滑动杆外螺纹上螺纹连接有调节齿轮,所述调节齿轮啮合有凹齿轮,所述凹齿轮固设于伸缩杆,所述伸缩杆滑动连接于第二转动轴,所述第二转动轴远离所述凹齿轮的一端连接有第四电机,所述第四电机固设于固定块,所述固定块固设于所述所述第一转动轴,所述滑动杆上滑动连接有滑动块,所述滑动块铰接有上下两侧位置对称的压杆,所述压杆远离所述滑动块的一端设有夹块,所述压杆铰接有撑杆,所述撑杆铰接于所述滑动杆相对的一端,所述滑动杆与所述滑动块之间设有第二弹簧。
在上述技术方案基础上,所述升降装置包括固定安装于所述除锈喷漆机体内部下方的第五电机,所述第五电机上侧连接有第三转动轴,所述第三转动轴上设有主动轮,所述主动轮左右两侧的除锈喷漆机体内转动安装有上下延伸设置的第二螺纹杆,左侧的所述第二螺纹杆上固设有左从动轮,所述主动轮与左从动轮之间用第一皮带连接,右侧的所述第二螺纹杆上固设有右从动轮,所述主动轮与右从动轮之间用第二皮带连接,所述第二螺纹杆螺纹连接有升降螺母,左右两侧的所述升降螺母连接有同一升降台,所述升降台上方左右两侧固定安装有固定座,所述固定座上前后两侧对称设有滚轮,将需要加工的金属管材放置于升降台的滚轮上。
本发明的有益效果是:本发明设有升降台,使放在滚轮上的不同直径金属管材与夹紧装置位于轴线共线,对金属管材夹持效果好,不容易使金属管材发生松动,设有的除锈装置能够通过第一电机的启动在固定杆和所述第一螺纹杆上移动,使除锈片充分与金属管材接触,从而提高对金属管材的除锈效果,完成除锈后的金属管材能够进行喷漆处理,整个过程能够降低劳动力,结构简单,能够实现对金属管材的快速除锈和喷漆,加快金属管材的生产效率。
附图说明
为了更清楚地说明本发明实施例或现有技术中的技术方案,下面将对实施例中所需要使用的附图作简单地介绍,显而易见地,下面描述中的附图仅仅是本发明的一些实施例,对于本领域普通技术人员来讲,在不付出创造性劳动的前提下,还可以根据这些附图获得其他的附图。
图1是本发明的一种金属管材除锈喷漆装置的整体结构示意图;
图2是本发明夹紧装置的放大结构示意图;
图3是本发明固定座的左剖视图;
图4是本发明除锈喷漆装置的左剖视图。
具体实施方式
下面结合图1-4对本发明进行详细说明,为叙述方便,现对下文所说的方位规定如下:下文所说的上下左右前后方向与图1本身投影关系的上下左右前后方向一致。
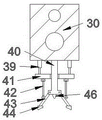
参照图1-4,根据本发明的实施例的一种金属管材除锈喷漆装置,包括除锈喷漆机体10,所述除锈喷漆机体10内部上方设有固定杆29,所述固定杆29固定安装于所述除锈喷漆机体10两侧壁,所述固定杆29下方设有第一螺纹杆28,所述第一螺纹杆28转动安装于所述除锈喷漆机体10左右两侧壁,所述第一螺纹杆28左端连接有第一电机24,所述第一电机24固定安装于所述除锈喷漆机体10左侧壁外,所述固定杆29和所述第一螺纹杆28上设有除锈喷漆装置102,所述除锈喷漆装置102包括滑动安装于所述固定杆29上的螺纹滑块30,所述螺纹滑块30与所述第一螺纹杆28螺纹连接,所述螺纹滑块30下方固设有支撑杆40,所述支撑杆40内连接有喷嘴46,所述螺纹滑块30下方设有前后两侧位置对称安装的液压杆39,所述液压杆39下方连接有支撑板41,所述支撑板41与所述支撑杆40滑动连接,所述支撑板41下方铰连接有连杆42,所述连杆42铰链接有摆杆43,所述摆杆43上端铰连接于所述支撑杆40,所述摆杆43下端设有除锈片44, 所述喷嘴46连接有进漆装置104,通过启动第一电机24,带动第一螺杆28转动移动螺纹滑块30向右移动,到需要对金属管材加工的位置时,液压杆39伸长带动支撑板41向下移动,所述支撑板41推动连杆42,使除锈片44夹紧需要除锈的金属管材进行除锈。
另外,在一个实施例中,所述进漆装置104包括安装在所述喷嘴46上的油漆管26,所述油漆管26连接有油漆泵25,所述油漆泵25连接有油漆箱27,所述油漆泵25和所述油漆箱27固定安装于所述除锈喷漆机体10右侧上方,当金属管材除锈完毕时,打开油漆泵25,将油漆从油漆箱27吸出并由喷嘴26喷出,所述第一电机24带动所述第一螺纹杆28反向转动,带动所述螺纹滑块30向左移动进行喷漆。
另外,在一个实施例中,所述夹紧装置101包括设于所述除锈喷漆机体10左右两侧壁外对称安装的第二电机11,所述第二电机11连接有第一转动轴12,所述第一转动轴12内设有移动腔47,所述移动腔47有转动安装左右延伸于所述移动腔左右两侧壁的蜗杆54,所述蜗杆54连接有第三电机48,所述第三电机48固设于所述移动腔47靠近所述第二电机11的一侧壁,所述第一转动轴12滑动连接有滑动杆13,所述滑动杆13与所述蜗杆54螺纹连接,所述滑动杆13远离所述第二电机11的一端设有外螺纹45,所述滑动杆13外螺纹上螺纹连接有调节齿轮31,所述调节齿轮31啮合有凹齿轮53,所述凹齿轮53固设于伸缩杆52,所述伸缩杆52滑动连接于第二转动轴51,所述第二转动轴51远离所述凹齿轮53的一端连接有第四电机50,所述第四电机50固设于固定块49,所述固定块49固设于所述所述第一转动轴12,所述滑动杆13上滑动连接有滑动块32,所述滑动块32铰接有上下两侧位置对称的压杆33,所述压杆33远离所述滑动块32的一端设有夹块34,所述压杆33铰接有撑杆35,所述撑杆35铰接于所述滑动杆13相对的一端,所述滑动杆13与所述滑动块32之间设有第二弹簧36,启动第三电机48带动蜗杆54转动,带动滑动杆13伸出移动到金属管材的位置,启动第四电机50带动第二转动轴51转动,所述第二转动轴带动伸缩杆52转动,所述伸缩杆52带动凹齿轮53转动,所述凹齿轮带动调节齿轮31,使滑动块32向滑动杆13相对的一端移动,所述滑动块32带动压杆33和撑杆35使夹块34夹紧需要加工的金属管材,启动第二电机11带动第二转动轴12转动,所述第二转动轴12带动所述滑动杆13转动,从而带动金属管材转动。
另外,在一个实施例中,所述升降装置103包括固定安装于所述除锈喷漆机体10内部下方的第五电机14,所述第五电机14上侧连接有第三转动轴15,所述第三转动轴15上设有主动轮18,所述主动轮左右两侧的除锈喷漆机体10内转动安装有上下延伸设置的第二螺纹杆,左侧的所述第二螺纹杆19上固设有左从动轮20,所述主动轮18与左从动轮20之间用第一皮带16连接,右侧的所述第二螺纹杆19上固设有右从动轮45,所述主动轮18与右从动轮45之间用第二皮带17连接,所述第二螺纹杆19螺纹连接有升降螺母22,左右两侧的所述升降螺母22连接有同一升降台23,所述升降台23上方左右两侧固定安装有固定座37,所述固定座37上前后两侧对称设有滚轮38,将需要加工的金属管材放置于升降台23的滚轮38上,通过启动第五电机14带动第三转动轴15转动,所述第三转动轴15带动主动轮18转动,所述主动轮18通过第一皮带16带动左从动轮20转动,所述主动轮18通过第二皮带17带动右从动轮45转动,从而带动左右两侧的第二螺纹杆19转动,调节升降台23的位置,使金属管材达到与夹紧装置101水平的位置。
初始状态时,将需要加工的金属管材放置于升降台23的滚轮38上,启动第五电机14带动第三转动轴15转动,所述第三转动轴15带动主动轮18转动,所述主动轮18通过第一皮带16带动左从动轮20转动,所述主动轮18通过第二皮带17带动右从动轮45转动,从而带动左右两侧的第二螺纹杆19转动,调节升降台23的位置,使金属管材达到与夹紧装置101水平的位置;
启动第三电机48带动蜗杆54转动,带动滑动杆13伸出移动到金属管材的位置,启动第四电机50带动第二转动轴51转动,所述第二转动轴带动伸缩杆52转动,所述伸缩杆52带动凹齿轮53转动,所述凹齿轮带动调节齿轮31,使滑动块32向滑动杆13相对的一端移动,所述滑动块32带动压杆33和撑杆35使夹块34夹紧需要加工的金属管材,启动第二电机11带动第二转动轴12转动,所述第二转动轴12带动所述滑动杆13转动,从而带动金属管材转动;
启动第一电机24,带动第一螺杆28转动移动螺纹滑块30向右移动,到需要对金属管材加工的位置时,液压杆39伸长带动支撑板41向下移动,所述支撑板41推动连杆42,使除锈片44夹紧需要除锈的金属管材进行除锈,当金属管材除锈完毕时,打开油漆泵25,将油漆从油漆箱27吸出并由喷嘴26喷出,所述第一电机24带动所述第一螺纹杆28反向转动,带动所述螺纹滑块30向左移动进行喷漆。
本发明的有益效果是:本发明设有升降台,使放在滚轮上的不同直径金属管材与夹紧装置位于轴线共线,对金属管材夹持效果好,不容易使金属管材发生松动,设有的除锈装置能够通过第一电机的启动在固定杆和所述第一螺纹杆上移动,使除锈片充分与金属管材接触,从而提高对金属管材的除锈效果,完成除锈后的金属管材能够进行喷漆处理,整个过程能够降低劳动力,结构简单,能够实现对金属管材的快速除锈和喷漆,加快金属管材的生产效率。
以上所述仅为本发明的较佳实施例而已,并不用以限制本发明,凡在本发明的精神和原则之内,所作的任何修改、等同替换、改进等,均应包含在本发明的保护范围之内。

Claims (4)

1.一种金属管材除锈喷漆装置,包括除锈喷漆机体,其特征在于:所述除锈喷漆机体内部上方设有固定杆,所述固定杆固定安装于所述除锈喷漆机体两侧壁,所述固定杆下方设有第一螺纹杆,所述第一螺纹杆转动安装于所述除锈喷漆机体左右两侧壁,所述第一螺纹杆左端连接有第一电机,所述第一电机固定安装于所述除锈喷漆机体左侧壁外,所述固定杆和所述第一螺纹杆上设有除锈喷漆装置,所述除锈喷漆装置包括滑动安装于所述固定杆上的螺纹滑块,所述螺纹滑块与所述第一螺纹杆螺纹连接,所述螺纹滑块下方固设有支撑杆,所述支撑杆内连接有喷嘴,所述螺纹滑块下方设有前后两侧位置对称安装的液压杆,所述液压杆下方连接有支撑板,所述支撑板与所述支撑杆滑动连接,所述支撑板下方铰连接有连杆,所述连杆铰链接有摆杆,所述摆杆上端铰连接于所述支撑杆,所述摆杆下端设有除锈片, 所述喷嘴连接有进漆装置。
2.根据权利要求1所述的一种金属管材除锈喷漆装置,其特征在于:所述进漆装置包括安装在所述喷嘴上的油漆管,所述油漆管连接有油漆泵,所述油漆泵连接有油漆箱,所述油漆泵和所述油漆箱固定安装于所述除锈喷漆机体右侧上方,当金属管材除锈完毕时,打开油漆泵,将油漆从油漆箱吸出并由喷嘴喷出,所述第一电机带动所述第一螺纹杆反向转动,带动所述螺纹滑块向左移动进行喷漆。
3.根据权利要求1所述的一种金属管材除锈喷漆装置,其特征在于:所述夹紧装置包括设于所述除锈喷漆机体左右两侧壁外对称安装的第二电机,所述第二电机连接有第一转动轴,所述第一转动轴内设有移动腔,所述移动腔有转动安装左右延伸于所述移动腔左右两侧壁的蜗杆,所述蜗杆连接有第三电机,所述第三电机固设于所述移动腔靠近所述第二电机的一侧壁,所述第一转动轴滑动连接有滑动杆,所述滑动杆与所述蜗杆螺纹连接,所述滑动杆远离所述第二电机的一端设有外螺纹,所述滑动杆外螺纹上螺纹连接有调节齿轮,所述调节齿轮啮合有凹齿轮,所述凹齿轮固设于伸缩杆,所述伸缩杆滑动连接于第二转动轴,所述第二转动轴远离所述凹齿轮的一端连接有第四电机,所述第四电机固设于固定块,所述固定块固设于所述所述第一转动轴,所述滑动杆上滑动连接有滑动块,所述滑动块铰接有上下两侧位置对称的压杆,所述压杆远离所述滑动块的一端设有夹块,所述压杆铰接有撑杆,所述撑杆铰接于所述滑动杆相对的一端,所述滑动杆与所述滑动块之间设有第二弹簧。
4.根据权利要求1所述的一种金属管材除锈喷漆装置,其特征在于:所所述升降装置包括固定安装于所述除锈喷漆机体内部下方的第五电机,所述第五电机上侧连接有第三转动轴,所述第三转动轴上设有主动轮,所述主动轮左右两侧的除锈喷漆机体内转动安装有上下延伸设置的第二螺纹杆,左侧的所述第二螺纹杆上固设有左从动轮,所述主动轮与左从动轮之间用第一皮带连接,右侧的所述第二螺纹杆上固设有右从动轮,所述主动轮与右从动轮之间用第二皮带连接,所述第二螺纹杆螺纹连接有升降螺母,左右两侧的所述升降螺母连接有同一升降台,所述升降台上方左右两侧固定安装有固定座,所述固定座上前后两侧对称设有滚轮,将需要加工的金属管材放置于升降台的滚轮上。
CN202010202945.7A 2020-03-20 2020-03-20 一种金属管材除锈喷漆装置 Withdrawn CN111167655A (zh)

Priority Applications (1)

Application Number Priority Date Filing Date Title
CN202010202945.7A CN111167655A (zh) 2020-03-20 2020-03-20 一种金属管材除锈喷漆装置

Applications Claiming Priority (1)

Application Number Priority Date Filing Date Title
CN202010202945.7A CN111167655A (zh) 2020-03-20 2020-03-20 一种金属管材除锈喷漆装置

Publications (1)

Publication Number Publication Date
CN111167655A true CN111167655A (zh) 2020-05-19

Family

ID=70651622

Family Applications (1)

Application Number Title Priority Date Filing Date
CN202010202945.7A Withdrawn CN111167655A (zh) 2020-03-20 2020-03-20 一种金属管材除锈喷漆装置

Country Status (1)

Country Link
CN (1) CN111167655A (zh)

Cited By (19)

* Cited by examiner, † Cited by third party
Publication number Priority date Publication date Assignee Title
CN111701754A (zh) * 2020-06-19 2020-09-25 李娜 一种基于智能制造的楼梯柱喷漆装置
CN111701764A (zh) * 2020-07-09 2020-09-25 李赵和 一种电机壳内壁喷漆装置
CN111701752A (zh) * 2020-06-17 2020-09-25 绍兴银球压力容器制造有限公司 一种用于冷却器筒体加工的表面喷涂设备
CN111774231A (zh) * 2020-07-20 2020-10-16 山东金博利达精密机械有限公司 一种管材智能喷涂烘干组合生产线及方法
CN111992396A (zh) * 2020-08-03 2020-11-27 嘉善耀升电子科技有限公司 一种循环式环形喷涂加工生产线
CN112059888A (zh) * 2020-09-17 2020-12-11 盐城市大丰区金凯机械有限公司 一种自固式阀门内腔抛光机
CN112156911A (zh) * 2020-09-25 2021-01-01 广州炫速贸易有限公司 一种从内部固定的管材喷漆装置
CN112337685A (zh) * 2020-10-29 2021-02-09 株洲华信精密工业股份有限公司 一种箱体钣金件的喷漆装置
CN112643498A (zh) * 2020-12-22 2021-04-13 安徽智恒装配式消防科技有限公司 一种管材加工用打磨装置
CN112643552A (zh) * 2020-12-13 2021-04-13 申存栓 一种防止反锈的黑色金属除锈装置
CN112676936A (zh) * 2020-12-31 2021-04-20 刘华 一种石油管道安装用管道头端打磨设备及使用方法
CN112871502A (zh) * 2021-01-11 2021-06-01 商丘市天明网络科技有限公司 一种汽车差速器表面喷涂装置及使用方法
CN113290481A (zh) * 2021-06-21 2021-08-24 枣庄青柠檬文化创意有限公司 一种管道内壁自动除锈打磨装置
CN113927444A (zh) * 2021-09-16 2022-01-14 郑州宝冶钢结构有限公司 一种钢结构打磨刷油漆装置及其使用方法
CN115193628A (zh) * 2022-09-16 2022-10-18 苏州可昱机械设备有限公司 一种管材喷涂设备及其工作方法
CN115672615A (zh) * 2022-11-09 2023-02-03 宿迁楚霸体育器械有限公司 一种体育器械均匀喷漆装置
CN115816126A (zh) * 2022-12-09 2023-03-21 成都工业职业技术学院 一种机械制造用钻孔装置
CN116689195A (zh) * 2023-05-15 2023-09-05 扬州市职业大学(扬州开放大学) 一种汽车生产用零件表面喷涂装置
CN117046645A (zh) * 2023-10-10 2023-11-14 江苏盛源燃气动力机械有限公司 一种用于燃气发电机组壳体加工的喷漆装置

Cited By (24)

* Cited by examiner, † Cited by third party
Publication number Priority date Publication date Assignee Title
CN111701752A (zh) * 2020-06-17 2020-09-25 绍兴银球压力容器制造有限公司 一种用于冷却器筒体加工的表面喷涂设备
CN111701752B (zh) * 2020-06-17 2021-12-07 绍兴银球压力容器制造有限公司 一种用于冷却器筒体加工的表面喷涂设备
CN111701754A (zh) * 2020-06-19 2020-09-25 李娜 一种基于智能制造的楼梯柱喷漆装置
CN111701764A (zh) * 2020-07-09 2020-09-25 李赵和 一种电机壳内壁喷漆装置
CN111774231A (zh) * 2020-07-20 2020-10-16 山东金博利达精密机械有限公司 一种管材智能喷涂烘干组合生产线及方法
CN111992396A (zh) * 2020-08-03 2020-11-27 嘉善耀升电子科技有限公司 一种循环式环形喷涂加工生产线
CN112059888A (zh) * 2020-09-17 2020-12-11 盐城市大丰区金凯机械有限公司 一种自固式阀门内腔抛光机
CN112156911A (zh) * 2020-09-25 2021-01-01 广州炫速贸易有限公司 一种从内部固定的管材喷漆装置
CN112337685A (zh) * 2020-10-29 2021-02-09 株洲华信精密工业股份有限公司 一种箱体钣金件的喷漆装置
CN112643552A (zh) * 2020-12-13 2021-04-13 申存栓 一种防止反锈的黑色金属除锈装置
CN112643498A (zh) * 2020-12-22 2021-04-13 安徽智恒装配式消防科技有限公司 一种管材加工用打磨装置
CN112643498B (zh) * 2020-12-22 2022-04-08 安徽智恒装配式消防科技有限公司 一种管材加工用打磨装置
CN112676936A (zh) * 2020-12-31 2021-04-20 刘华 一种石油管道安装用管道头端打磨设备及使用方法
CN112871502A (zh) * 2021-01-11 2021-06-01 商丘市天明网络科技有限公司 一种汽车差速器表面喷涂装置及使用方法
CN113290481A (zh) * 2021-06-21 2021-08-24 枣庄青柠檬文化创意有限公司 一种管道内壁自动除锈打磨装置
CN113927444A (zh) * 2021-09-16 2022-01-14 郑州宝冶钢结构有限公司 一种钢结构打磨刷油漆装置及其使用方法
CN115193628A (zh) * 2022-09-16 2022-10-18 苏州可昱机械设备有限公司 一种管材喷涂设备及其工作方法
CN115193628B (zh) * 2022-09-16 2023-02-03 苏州可昱机械设备有限公司 一种管材喷涂设备及其工作方法
CN115672615A (zh) * 2022-11-09 2023-02-03 宿迁楚霸体育器械有限公司 一种体育器械均匀喷漆装置
CN115672615B (zh) * 2022-11-09 2023-09-26 宿迁楚霸体育器械有限公司 一种体育器械均匀喷漆装置
CN115816126A (zh) * 2022-12-09 2023-03-21 成都工业职业技术学院 一种机械制造用钻孔装置
CN116689195A (zh) * 2023-05-15 2023-09-05 扬州市职业大学(扬州开放大学) 一种汽车生产用零件表面喷涂装置
CN117046645A (zh) * 2023-10-10 2023-11-14 江苏盛源燃气动力机械有限公司 一种用于燃气发电机组壳体加工的喷漆装置
CN117046645B (zh) * 2023-10-10 2023-12-12 江苏盛源燃气动力机械有限公司 一种用于燃气发电机组壳体加工的喷漆装置

Similar Documents

Publication Publication Date Title
CN111167655A (zh) 一种金属管材除锈喷漆装置
CN111632966B (zh) 管道高压水射流清洗设备及清洗方法
CN219463869U (zh) 一种金属桶涂层的辊涂装置
CN210710446U (zh) 一种方便固定零件的吊装装置
CN112170350A (zh) 一种金属表面水洗清洁装置及其清洁方法
CN216779598U (zh) 一种真空断路器用绝缘子加工的清洗装置
CN115815559A (zh) 一种压铸取件喷雾一体机
CN214599934U (zh) 一种建筑铝模板养护装置
CN209935544U (zh) 一种无缝钢管拉拔机
CN209968967U (zh) 一种便于对不锈钢材两面同时清洗的不锈钢清洗设备
CN118991691A (zh) 一种便于使用的小区物业用车辆清洗机
CN215788977U (zh) 一种钢桩柱节件连接构件表面加工处理装置
CN214419509U (zh) 一种大口径模具的模具车
CN117584013A (zh) 一种钢管生产用钢管除锈装置
CN116748060A (zh) 一种钢结构上漆装置及其上漆工艺
CN212041876U (zh) 一种冶金设备的管道清洁组件
CN110170409B (zh) 一种多功能喷漆设备
CN223465210U (zh) 一种锻造用清洗装置
CN220941370U (zh) 一种工件喷漆装置
CN220498760U (zh) 用于钢材的除锈设备
CN220738180U (zh) 一种铝单板喷涂设备
CN223393651U (zh) 一种金属爬架防锈处理喷漆房
CN112338758A (zh) 一种对钢梁除锈以及表面喷涂处理的设备
CN223465280U (zh) 一种可调式油罐内壁除锈装置
CN217797844U (zh) 一种内螺纹铝管内壁清理装置

Legal Events

Date Code Title Description
PB01 Publication
PB01 Publication
SE01 Entry into force of request for substantive examination
SE01 Entry into force of request for substantive examination
WW01 Invention patent application withdrawn after publication
WW01 Invention patent application withdrawn after publication

Application publication date: 20200519