CN110485781B - Automatic three-dimensional parking garage - Google Patents
Automatic three-dimensional parking garage Download PDFInfo
- Publication number
- CN110485781B CN110485781B CN201910798630.0A CN201910798630A CN110485781B CN 110485781 B CN110485781 B CN 110485781B CN 201910798630 A CN201910798630 A CN 201910798630A CN 110485781 B CN110485781 B CN 110485781B
- Authority
- CN
- China
- Prior art keywords
- parking
- connecting shaft
- belt wheel
- lead screw
- lever
- Prior art date
- Legal status (The legal status is an assumption and is not a legal conclusion. Google has not performed a legal analysis and makes no representation as to the accuracy of the status listed.)
- Active
Links
- 239000000725 suspension Substances 0.000 claims description 35
- 230000005540 biological transmission Effects 0.000 claims description 19
- 230000033001 locomotion Effects 0.000 claims description 16
- 230000005571 horizontal transmission Effects 0.000 claims description 11
- 229910000831 Steel Inorganic materials 0.000 claims description 6
- 239000010959 steel Substances 0.000 claims description 6
- 230000002146 bilateral effect Effects 0.000 claims description 4
- 230000001360 synchronised effect Effects 0.000 abstract description 6
- 238000000034 method Methods 0.000 abstract description 4
- 238000005381 potential energy Methods 0.000 description 4
- 230000009286 beneficial effect Effects 0.000 description 2
- 230000000007 visual effect Effects 0.000 description 1
Images
Classifications
-
- E—FIXED CONSTRUCTIONS
- E04—BUILDING
- E04H—BUILDINGS OR LIKE STRUCTURES FOR PARTICULAR PURPOSES; SWIMMING OR SPLASH BATHS OR POOLS; MASTS; FENCING; TENTS OR CANOPIES, IN GENERAL
- E04H6/00—Buildings for parking cars, rolling-stock, aircraft, vessels or like vehicles, e.g. garages
- E04H6/08—Garages for many vehicles
- E04H6/12—Garages for many vehicles with mechanical means for shifting or lifting vehicles
- E04H6/18—Garages for many vehicles with mechanical means for shifting or lifting vehicles with means for transport in vertical direction only or independently in vertical and horizontal directions
- E04H6/22—Garages for many vehicles with mechanical means for shifting or lifting vehicles with means for transport in vertical direction only or independently in vertical and horizontal directions characterised by use of movable platforms for horizontal transport, i.e. cars being permanently parked on palettes
- E04H6/225—Garages for many vehicles with mechanical means for shifting or lifting vehicles with means for transport in vertical direction only or independently in vertical and horizontal directions characterised by use of movable platforms for horizontal transport, i.e. cars being permanently parked on palettes without transverse movement of the parking palette after leaving the transfer means
-
- E—FIXED CONSTRUCTIONS
- E04—BUILDING
- E04H—BUILDINGS OR LIKE STRUCTURES FOR PARTICULAR PURPOSES; SWIMMING OR SPLASH BATHS OR POOLS; MASTS; FENCING; TENTS OR CANOPIES, IN GENERAL
- E04H6/00—Buildings for parking cars, rolling-stock, aircraft, vessels or like vehicles, e.g. garages
- E04H6/08—Garages for many vehicles
- E04H6/12—Garages for many vehicles with mechanical means for shifting or lifting vehicles
- E04H6/18—Garages for many vehicles with mechanical means for shifting or lifting vehicles with means for transport in vertical direction only or independently in vertical and horizontal directions
- E04H6/22—Garages for many vehicles with mechanical means for shifting or lifting vehicles with means for transport in vertical direction only or independently in vertical and horizontal directions characterised by use of movable platforms for horizontal transport, i.e. cars being permanently parked on palettes
-
- E—FIXED CONSTRUCTIONS
- E04—BUILDING
- E04H—BUILDINGS OR LIKE STRUCTURES FOR PARTICULAR PURPOSES; SWIMMING OR SPLASH BATHS OR POOLS; MASTS; FENCING; TENTS OR CANOPIES, IN GENERAL
- E04H6/00—Buildings for parking cars, rolling-stock, aircraft, vessels or like vehicles, e.g. garages
- E04H6/08—Garages for many vehicles
- E04H6/12—Garages for many vehicles with mechanical means for shifting or lifting vehicles
- E04H6/18—Garages for many vehicles with mechanical means for shifting or lifting vehicles with means for transport in vertical direction only or independently in vertical and horizontal directions
- E04H6/28—Garages for many vehicles with mechanical means for shifting or lifting vehicles with means for transport in vertical direction only or independently in vertical and horizontal directions characterised by use of turntables or rotary rings for horizontal transport
- E04H6/282—Garages for many vehicles with mechanical means for shifting or lifting vehicles with means for transport in vertical direction only or independently in vertical and horizontal directions characterised by use of turntables or rotary rings for horizontal transport turntables, rotary elevators or the like on which the cars are not permanently parked
-
- E—FIXED CONSTRUCTIONS
- E04—BUILDING
- E04H—BUILDINGS OR LIKE STRUCTURES FOR PARTICULAR PURPOSES; SWIMMING OR SPLASH BATHS OR POOLS; MASTS; FENCING; TENTS OR CANOPIES, IN GENERAL
- E04H6/00—Buildings for parking cars, rolling-stock, aircraft, vessels or like vehicles, e.g. garages
- E04H6/42—Devices or arrangements peculiar to garages, not covered elsewhere, e.g. securing devices, safety devices, monitoring and operating schemes; centering devices
-
- E—FIXED CONSTRUCTIONS
- E04—BUILDING
- E04H—BUILDINGS OR LIKE STRUCTURES FOR PARTICULAR PURPOSES; SWIMMING OR SPLASH BATHS OR POOLS; MASTS; FENCING; TENTS OR CANOPIES, IN GENERAL
- E04H6/00—Buildings for parking cars, rolling-stock, aircraft, vessels or like vehicles, e.g. garages
- E04H6/42—Devices or arrangements peculiar to garages, not covered elsewhere, e.g. securing devices, safety devices, monitoring and operating schemes; centering devices
- E04H6/422—Automatically operated car-parks
- E04H6/424—Positioning devices
Landscapes
- Engineering & Computer Science (AREA)
- Architecture (AREA)
- Civil Engineering (AREA)
- Structural Engineering (AREA)
- Mechanical Engineering (AREA)
- Power-Operated Mechanisms For Wings (AREA)
Abstract
The invention discloses an automatic three-dimensional parking garage, which comprises a base, wherein bilaterally symmetrical supports are fixedly arranged on the upper side of the base, an adjusting cavity is arranged in the base, two groups of four parking place slideways are distributed on the end surface array of the supports, a screw driving belt wheel is connected with a belt between screw auxiliary belt wheels, the rotation synchronism of left and right screw rods is realized, the stability of a car in the vertical moving process is ensured, the power switching of left and right parking places is realized by arranging a hydraulic press, the left and right parking places are ensured to work independently, a one-way bearing structure is adopted, the power switching is realized by synchronous rotation or not, the work independence of each layer of parking places is ensured, the one-way bearing structure is adopted, the direction of a car carrying plate is changed or the car carrying plate is moved into and out of the garage by synchronous rotation or not, the automatic garage entering and leaving of, The current situation of parking hidden danger exists.
Description
Technical Field
The invention relates to the field of automatic parking, in particular to an automatic three-dimensional parking garage.
Background
With the progress of science and technology, more and more cars enter thousands of households, and therefore, a plurality of three-dimensional parking garages operate. However, most of the existing three-dimensional parking garages have the problems of small parking space, narrow visual field and the like, so that the parking is inconvenient. Even the old drivers who have the experience of driving for many years still feel that the parking difficulty is not small. When the car is parked in the narrow parking space, various potential safety hazards exist. The present invention sets forth a device that solves the above problems.
Disclosure of Invention
The technical problem is as follows:
most stereo garage has the parking stall little, the narrow scheduling problem in field of vision at present, leads to stopping inconveniently.
In order to solve the problems, the embodiment designs an automatic three-dimensional parking garage, which comprises a base, wherein bilaterally symmetrical supports are fixedly arranged on the upper side of the base, an adjusting cavity is arranged in the base, two groups of four parking place slideways are distributed on the end surface of the supports in an array manner, a first hanging support is fixedly arranged on the lower side end surface of each parking place slideway, a first connecting shaft is rotatably connected to the front side of the first hanging support, a second connecting shaft rotatably connected with the first hanging support is arranged on the upper side of the first connecting shaft, a first belt wheel is fixedly arranged on the first connecting shaft, a vehicle access device is arranged on the front side of the first belt wheel, the vehicle access device can be rotatably connected to a roller disc of the first connecting shaft, a parking place lever rotatably connected to the second connecting shaft and slidably connected with the roller disc, and a first lever rotatably connected to the parking place lever and rotatably connected with, the parking space plate is connected with the parking space slide rail in a sliding way and is rotationally connected with the first lever, the different motion states of the first lever are changed, the left and right movement is driven to realize the delivery and storage of the vehicle, the parking space plate is provided with a limiting device, the limiting device can be connected with the four second levers of the parking space plate in a rotating way to change the different motion states of the second lever, the vehicle is fixed in an auxiliary way, the top end of the bracket is fixedly provided with a garage steel frame, a driving cavity is arranged in the garage steel frame, the left inner wall of the driving cavity is provided with a switch component, the switch component can be connected with a hydraulic column on the right side of the hydraulic cylinder in a sliding way through a hydraulic cylinder fixedly arranged on the left inner wall of the driving cavity, the power connection of the left and right garages is, the inner wall of the bottom end of the adjusting cavity is rotatably connected with lead screws which extend into the driving cavity and are bilaterally symmetrical, the upper end of the left lead screw is in power connection with a third connecting shaft which is embedded into the inner wall of the top end of the driving cavity, the lead screw is in threaded connection with a first bottom plate, a moving motor is fixedly arranged in the first bottom plate, the upper side of the moving motor is provided with a power connection, two sets of one-way bearings which are oppositely arranged are distributed on the third connecting shaft from top to bottom, a rotating disc is fixedly arranged on the upper side of the one-way bearing on the upper side, a second suspension bracket is fixedly arranged on the lower side of the rotating disc, a vehicle carrying plate sliding rail is fixedly arranged on the lower side of the second suspension bracket, a vehicle carrying plate moving device which can control the movement of the vehicle carrying plate is arranged on the upper side of the vehicle carrying plate, and pushing the parking place plate to realize the movement of the parking place plate.
Preferably, the inner wall of the lower end of the driving cavity is rotatably connected with bilaterally symmetrical transmission shafts, the transmission shafts extend downwards and are rotatably connected with the end surface of the upper side of the base, two sets of one-way bearings are oppositely arranged on the transmission shafts, bevel gear sleeves are arranged on the two sets of one-way bearings, a third suspension bracket positioned on the right side of the first suspension bracket is fixedly arranged on the lower side of the parking place slideway, a fourth connecting shaft is rotatably connected on the third suspension bracket, a first bevel gear rotatably connected on the fourth connecting shaft is arranged on the fourth connecting shaft, a third belt wheel is rotatably connected at the tail end of the front end of the fourth connecting shaft, a first belt is connected between the third belt wheel and the first belt wheel, a fourth suspension bracket close to the lead screw is fixedly arranged on the lower side of the slideway, a fifth connecting shaft rotatably connected on the fourth suspension bracket, and a second bevel gear meshed with the bevel gear sleeves is, a fifth suspension bracket fixedly connected with the parking place slideway is arranged on the left side of the fourth suspension bracket, a sixth connecting shaft is rotatably connected to the front side of the fifth suspension bracket, a third bevel gear meshed with the second bevel gear is fixedly arranged on the sixth connecting shaft, a fourth belt wheel positioned at the tail end of the front end of the sixth connecting shaft is arranged on the front side of the third bevel gear, a second belt is connected between the fourth belt wheel and the first belt wheel, the screw rod extends upwards and extends into the driving cavity, the left side of the screw rod is in power connection with a screw rod motor fixedly arranged on the inner wall of the top end of the driving cavity, the lead screw motor downside is equipped with lead screw driving pulley, and the right side the lead screw rotate connect in drive chamber top inner wall, the right side the lead screw upside is fixed and is equipped with lead screw auxiliary belt wheel, be connected with the lead screw belt between lead screw driving pulley and the lead screw auxiliary belt wheel.
Preferably, a belt is connected between the screw driving pulley and the screw secondary pulley.
Preferably, the two sets of one-way bearings on the transmission shaft are oppositely mounted.
Preferably, the parking lot board can be connected with a car carrying board in a sliding mode, the car carrying board slide way is arranged on the parking lot board in a bilateral symmetry mode, the rotating disc slide way is arranged on the rotating disc in a bilateral symmetry mode, and the car carrying board slide way and the rotating disc slide way can be connected with a car carrying board slide rail on the parking lot board in a sliding mode.
The vehicle carrying plate moving device comprises a second bottom plate fixedly arranged on the lower side of the second suspension support, a seventh connecting shaft rotatably connected to the second bottom plate, a second belt wheel fixedly arranged on the seventh connecting shaft, a third lever positioned on the upper side of the second belt wheel fixedly arranged on the seventh connecting shaft, a fourth lever rotatably connected with the slider and hinged to the third lever, and a belt connected between the second belt wheel and the one-way bearing on the upper side of the first bottom plate.
The switch assembly comprises a motor fixedly arranged on the right side of the hydraulic column, a horizontal transmission shaft in power connection is arranged on the right side of the motor, the tail end of the right side of the horizontal transmission shaft is rotatably connected to the driving sliding block, a driving slide way in sliding connection with the driving sliding block is arranged on the inner wall of the right side of the driving cavity and communicated with the outside, and vertical bevel gears which are bilaterally symmetrical and are positioned on the right side of the motor are fixedly arranged on the horizontal transmission shaft.
The one-way bearing is connected with the bearing box of the transmission shaft in a rotating mode, the bearing box is connected with the first bevel gear in a meshed mode, a rotating cavity is arranged in the bearing box, twelve rotating teeth are arranged on the inner wall of the rotating cavity, a rotating wheel located in the rotating cavity is arranged on the transmission shaft, six thrust rods are arranged on the rotating wheel in an annular array mode, the thrust rods are connected with the rotating wheel in a rotating mode, bearing springs are arranged between the thrust rods and the rotating wheel, and the thrust rods can be abutted to the rotating teeth.
The limiting device comprises a fifth lever which is rotatably connected with the second lever, and a vehicle carrying plate spring is arranged between the second lever and the parking space plate.
Preferably, the fifth lever is a protruding structure.
The invention has the beneficial effects that: the invention adopts the belt connection between the lead screw driving belt wheel and the lead screw auxiliary belt wheel, realizes the rotation synchronism of the left and right lead screws, ensures the stability of the automobile when moving up and down, performs power switching of left and right parking places by arranging a hydraulic machine, ensures independent work of the left and right parking places, adopts a one-way bearing structure, performs power switching by synchronous rotation or not, ensures independent work of each layer of parking places, adopts the one-way bearing structure, and changes the direction of a vehicle carrying plate or changes the process of moving the vehicle carrying plate in and out by synchronous rotation or not, realizes automatic garage entry and exit of the automobile, and improves the current situations of difficult parking and hidden parking danger.
Drawings
For ease of illustration, the invention is described in detail by the following specific examples and figures.
FIG. 1 is a schematic view of the overall structure of an automatic three-dimensional parking garage according to the present invention;
FIG. 2 is a schematic view of the structure in the direction "A-A" of FIG. 1;
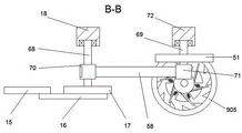
FIG. 3 is a schematic view of the structure in the direction "B-B" of FIG. 1;
FIG. 4 is a schematic view of the structure in the direction "C-C" of FIG. 1;
FIG. 5 is a schematic view of the structure in the direction "D-D" of FIG. 1;
FIG. 6 is a schematic view of the structure in the direction "E-E" of FIG. 1
FIG. 7 is a schematic structural view of a parking space bottom plate and a lifting bottom plate;
FIG. 8 is a schematic structural view of a vehicle carrying board;
fig. 9 is a schematic structural view of the one-way bearing.
Detailed Description
The invention will now be described in detail with reference to fig. 1-9, for ease of description, the orientations described below will now be defined as follows: the up, down, left, right, and front-back directions described below correspond to the up, down, left, right, and front-back directions in the projection relationship of fig. 1 itself.
The invention relates to an automatic three-dimensional parking garage, which is mainly applied to the automatic parking process, and the invention is further explained by combining the attached drawings of the invention:
the invention relates to an automatic three-dimensional parking garage, which comprises a base 19, wherein bilaterally symmetrical supports 53 are fixedly arranged on the upper side of the base 19, an adjusting cavity 20 is arranged in the base 19, two groups of four parking place slideways 13 are distributed on the end surface array of the supports 53, a first suspension support 18 is fixedly arranged on the lower end surface of each parking place slideway 13, a first connecting shaft 68 is rotatably connected to the front side of each suspension support 18, a second connecting shaft 30 which is rotatably connected with the first suspension support 18 is arranged on the upper side of each connecting shaft 68, a first belt wheel 70 is fixedly arranged on each connecting shaft 68, a vehicle access device 903 is arranged on the front side of each belt wheel 70, the vehicle access device 903 can rotate a roller disc 17 which is connected with the first connecting shaft 68, and a parking place lever 16 which is rotatably connected with the second connecting shaft 30 and is slidably connected with the roller disc 17, the first lever 15 is rotatably connected to the parking space lever 16 and rotatably connected to the parking space slide 13, is slidably connected to the parking space slide 13 and rotatably connected to the parking space plate 14 of the first lever 15, changes different motion states of the first lever 15, drives the first lever 14 to move left and right to realize the delivery and storage of vehicles, a limiting device 905 is arranged on the parking space plate 14, the limiting device 905 can be rotatably connected to four second levers 77 of the parking space plate 14 to change different motion states of the second lever 77 and assist in fixing the vehicles, a garage steel frame 79 is fixedly arranged at the top end of the support 53, a driving cavity 32 is arranged in the garage steel frame 79, a switch assembly 901 is arranged on the inner wall on the left side of the driving cavity 32, the switch assembly 901 can be fixedly arranged on the hydraulic cylinder 11 on the inner wall on the left side of the driving cavity 32 and is slidably connected to the hydraulic column 21 on the right, the power connection of the left and right garages is switched by the left and right movement of the hydraulic column 21, the inner wall of the top end of the driving cavity 32 is fixedly provided with a screw motor 25, the inner wall of the bottom end of the adjusting cavity 20 is rotatably connected with screw rods 29 which extend into the driving cavity 32 and are bilaterally symmetrical, the upper end of the screw rod 29 at the left side is dynamically connected with the screw motor 25 which is embedded into the inner wall of the top end of the driving cavity 32, the screw rod 29 is connected with a first bottom plate 44 in a threaded manner, a moving motor 45 is fixedly arranged in the first bottom plate 44, the upper side of the moving motor 45 is provided with a third connecting shaft 60 which is connected in a power manner, two sets of unidirectional bearings 904 which are oppositely arranged are distributed on the third connecting shaft 60 from top to bottom, the upper side of the unidirectional bearing 904 at the upper side is fixedly provided with a rotating disc 40, the lower, the upper side of the vehicle carrying plate slide rail 55 is provided with a vehicle carrying plate moving device 902 capable of controlling the movement of the parking space plate 14, and the vehicle carrying plate moving device 902 can be connected to the slide block 65 of the slide way 64 in a sliding manner to change the position of the barb plate 59 fixedly arranged on the slide block 65, so that the parking space plate 14 is pushed, and the movement of the parking space plate 14 is realized.
Beneficially, the inner wall of the lower end of the driving cavity 32 is rotatably connected with a bilaterally symmetrical transmission shaft 12, the transmission shaft 12 extends downwards and is rotatably connected to the upper end face of the base 19, two sets of one-way bearings 904 are oppositely mounted on the transmission shaft 12, bevel gear sleeves 80 are arranged on the two sets of one-way bearings 904, a third suspension bracket 72 positioned on the right side of the first suspension bracket 18 is fixedly arranged on the lower side of the parking space slideway 13, a fourth connecting shaft 69 is rotatably connected to the third suspension bracket 72, a first bevel gear 51 rotatably connected to the fourth connecting shaft 69 is arranged on the fourth connecting shaft 69, a third belt wheel 71 is rotatably connected to the front end of the fourth connecting shaft 69, a first belt 58 is connected between the third belt wheel 71 and the first belt wheel 70, a fourth suspension bracket 56 close to the lead screw 29 is fixedly arranged on the lower side of the slideway 13, and a fifth connecting shaft 75 rotatably connected, a second bevel gear 57 meshed with the bevel gear sleeve 80 is arranged at the tail end of the front end of the fifth connecting shaft 75, a fifth suspension bracket 35 fixedly connected with the parking space slideway 13 is arranged on the left side of the fourth suspension bracket 56, a sixth connecting shaft 74 is rotatably connected with the front side of the fifth suspension bracket 35, a third bevel gear 36 meshed with the second bevel gear 57 is fixedly arranged on the sixth connecting shaft 74, a fourth belt wheel 73 positioned at the tail end of the front end of the sixth connecting shaft 74 is arranged on the front side of the third bevel gear 36, a second belt 38 is connected between the fourth belt wheel 73 and the first belt wheel 70, the screw 29 extends upwards and extends into the driving cavity 32, the screw 29 on the left side is dynamically connected with a screw motor 25 fixedly arranged on the inner wall of the top end of the driving cavity 32, and a screw driving belt wheel 26 is arranged on the lower side of the screw motor 25, the right side lead screw 29 is rotationally connected with the inner wall of the top end of the driving cavity 32, a lead screw auxiliary belt wheel 28 is fixedly arranged on the upper side of the lead screw 9, and a lead screw belt 27 is connected between the lead screw driving belt wheel 26 and the lead screw auxiliary belt wheel 28.
Advantageously, the lead screw belt 27 is connected between the lead screw driving pulley 26 and the lead screw secondary pulley 28, so that the synchronism of the rotation of the lead screw 29 is realized, and the stability of the first bottom plate 44 during up-and-down movement is guaranteed.
Advantageously, the two sets of one-way bearings 904 on the drive shaft 12 are mounted in opposition such that the two sets of one-way bearings 904 operate independently when the drive shaft 12 rotates in different directions.
Beneficially, the vehicle loading plate 54 can be slidably connected to the vehicle location plate 14, the vehicle location plate 14 is provided with vehicle loading plate slideways 76 which are bilaterally symmetrical, the rotating disk 40 is provided with rotating disk slideways 49 which are bilaterally symmetrical, and the vehicle loading plate slideways 76 and the rotating disk slideways 49 can be slidably connected to the vehicle loading plate slideways 55 on the vehicle location plate 14.
According to the following detailed description of the embodiment, the vehicle carrying board moving device 902 includes a second bottom plate 43 fixedly disposed on the lower side of the second suspension bracket 41, a seventh connecting shaft 67 rotatably connected to the second bottom plate 43, a second belt wheel 63 fixedly disposed on the seventh connecting shaft 67, a third lever 47 fixedly disposed on the upper side of the second belt wheel 63 is fixedly disposed on the seventh connecting shaft 67, a fourth lever 46 rotatably connected to the slider 65 is hinged to the third lever 47, and a belt 62 is connected between the second belt wheel 63 and the one-way bearing 904 on the upper side of the first bottom plate 44.
According to the following detailed description of the switch assembly 901 in the embodiment, the switch assembly 901 includes a motor 22 fixedly disposed on the right side of the hydraulic column 21, a horizontal transmission shaft 31 connected to power is disposed on the right side of the motor 22, the right end of the horizontal transmission shaft 31 is rotatably connected to a driving slider 34, a driving slide 33 connected to the driving slider 34 in a sliding manner is disposed on the inner wall of the right side of the driving cavity 32 and communicated with the outside, vertical bevel gears 23 symmetrically disposed on the right side of the motor 22 are fixedly disposed on the horizontal transmission shaft 31, and whether the vertical bevel gears 23 are engaged with the horizontal bevel gears 24 or not is changed, so that the switching of the power of the garage on the left side and the right.
According to the embodiment, the one-way bearing 904 is described in detail below, the one-way bearing 904 includes a bearing box 48 rotatably connected to the transmission shaft 12, the bearing box 48 is engaged with the first bevel gear 51, a rotation cavity 37 is provided in the bearing box 48, twelve rotation teeth 39 are provided on an inner wall of the rotation cavity 37, a rotation wheel 66 located in the rotation cavity 37 is provided on the transmission shaft 12, six thrust rods 52 are annularly arranged on the rotation wheel 66, the thrust rods 52 are rotatably connected to the rotation wheel 66, a bearing spring 61 is provided between the thrust rods 52 and the rotation wheel 66, and the thrust rods 52 can abut against the rotation teeth 39.
According to the following detailed description of the limiting device 905 of the embodiment, the limiting device 905 comprises a fifth lever 50 rotatably connected with a second lever 77, and a vehicle carrying plate spring 78 is arranged between the second lever 77 and the parking space plate 14, so that the second lever 77 returns to the initial motion state after the vehicle carrying plate enters.
Advantageously, a protruding design is provided on the fifth lever 50, which can be used for pushing the fifth lever 50 by the vehicle carrying board moving device 902, so that the second lever 77 generates different motion states.
The following describes in detail the steps of using an automated stereo parking garage according to the present invention with reference to fig. 1 to 9:
when a second-floor vehicle on the left goes in and out of the garage, the hydraulic cylinder 11 is started, the hydraulic cylinder 21 moves leftwards until the vertical bevel gear 23 is meshed with the horizontal bevel gear 24, the motor 22 is started to rotate the horizontal transmission shaft 31 anticlockwise, the second-floor bevel gear 57, the third bevel gear 36, the sixth connection shaft 74, the fourth belt wheel 73, the first belt wheel 70, the first connection shaft 68, the second belt 38, the roller disc 17, the parking space lever 16 and the first lever 15 sequentially drive the parking space to move rightwards, the lead screw motor 25 is started to rotate the lead screw 29 clockwise, the vehicle carrying plate moving device 902 is driven by the lead screw driving belt wheel 26, the lead screw belt 27, the lead screw auxiliary belt wheel 28 and the first bottom plate 44 to move upwards to enable the rotating disc 40 to be flush with the parking space plate 14, and the motor 22 is closed at the moment, The screw motor 25 simultaneously starts the moving motor 45 to enable the third connecting shaft 60 to rotate anticlockwise, then sequentially passes through the third belt 62, the second belt wheel 63, the third lever 47, the fourth lever 46, the sliding block 65 and the rotating wheel 66, drives the vehicle carrying plate 54 to move forwards to the rotating disc 40, and enables the return spring 42 to accumulate elastic potential energy, at the moment, the screw motor 25 is started to enable the screw 29 to rotate anticlockwise, the moving motor 45 is closed, then the vehicle carrying plate moving device 902 is driven to the ground through the screw driving belt wheel 26, the screw belt 27, the screw secondary belt wheel 28 and the first bottom plate 44, the return spring 42 is elastically restored to move backwards, the sliding block 65, the fourth lever 46 and the third lever 47 are restored to the initial state, at the moment, the vehicle drives into the vehicle carrying plate 54, the moving motor 45 is started to enable the third connecting shaft 60 to rotate clockwise, and then sequentially passes through the two opposite one, the rotating disc 40 is driven to rotate 180 degrees clockwise, at the moment, the moving motor 45 is turned off, the lead screw motor 25 is started to enable the lead screw 29 to rotate clockwise, the vehicle carrying board moving device 902 is driven to move upwards through the lead screw driving belt wheel 26, the lead screw belt 27, the lead screw auxiliary belt wheel 28 and the first bottom board 44 to enable the rotating disc 40 to be flush with the parking space board 14, at the moment, the lead screw motor 25 is turned off, the moving motor 45 is started to enable the third connecting shaft 60 to rotate anticlockwise, further, the third connecting shaft 60 sequentially passes through the third belt 62, the second belt wheel 63, the third lever 47, the fourth lever 46, the sliding block 65 and the rotating wheel 66 to drive the vehicle carrying board 54 to move backwards to the parking space board 14 and enable the fifth lever 50 to move backwards, the second lever 77 limits the vehicle carrying board 54 and enables the return spring 42 to accumulate elastic potential energy, at the moment, and then the parking space is driven to move leftwards through the vertical bevel gear 23, the horizontal bevel gear 24, the transmission shaft 12, the one-way bearing 904, the second bevel gear 57, the third bevel gear 36, the second belt 38, the roller disc 17, the parking space lever 16 and the first lever 15 in sequence, the return spring 42 is elastically restored to move forwards at the moment, the sliding block 65, the fourth lever 46 and the third lever 47 are restored to the initial state, the motor 22 is closed, the lead screw motor 25 is started, and the vehicle carrying plate moving device 902 is driven to move downwards to the ground through the lead screw driving belt wheel 26, the lead screw belt 27, the lead screw auxiliary belt wheel 28 and the first bottom plate 44. The screw motor 25 is turned off, the moving motor 45 is started to enable the third connecting shaft 60 to rotate clockwise, and then the third connecting shaft passes through the two opposite one-way bearings 904 in sequence to drive the rotating disc 40 to rotate 180 degrees clockwise, so that the next vehicle can enter and exit the garage conveniently.
When a third-layer vehicle on the left enters or exits the garage, the hydraulic cylinder 11 is started, the hydraulic cylinder 21 moves leftwards until the vertical bevel gear 23 is meshed with the horizontal bevel gear 24, the motor 22 is started to rotate the horizontal transmission shaft 31 anticlockwise, the first bevel gear 51, the fourth connecting shaft 69, the third belt wheel 71, the first belt 58, the first belt wheel 70, the first connecting shaft 68, the second belt 38, the roller disc 17, the parking space lever 16 and the first lever 15 sequentially drive the parking space to move rightwards, the lead screw motor 25 is started to rotate the lead screw 29 clockwise, the lead screw driving belt wheel 26, the lead screw belt 27, the lead screw secondary belt 28 and the first bottom plate 44 drive the vehicle carrying plate moving device 902 to move upwards to enable the rotating disc 40 to be flush with the parking space plate 14, and the motor 22 is closed at the moment, The screw motor 25 simultaneously starts the moving motor 45 to enable the third connecting shaft 60 to rotate anticlockwise, then sequentially passes through the third belt 62, the second belt wheel 63, the third lever 47, the fourth lever 46, the sliding block 65 and the rotating wheel 66, drives the vehicle carrying plate 54 to move forwards to the rotating disc 40, and enables the return spring 42 to accumulate elastic potential energy, at the moment, the screw motor 25 is started to enable the screw 29 to rotate anticlockwise, the moving motor 45 is closed, then the vehicle carrying plate moving device 902 is driven to the ground through the screw driving belt wheel 26, the screw belt 27, the screw secondary belt wheel 28 and the first bottom plate 44, the return spring 42 is elastically restored to move backwards, the sliding block 65, the fourth lever 46 and the third lever 47 are restored to the initial state, at the moment, the vehicle drives into the vehicle carrying plate 54, the moving motor 45 is started to enable the third connecting shaft 60 to rotate clockwise, and then sequentially passes through the two opposite one, the rotating disc 40 is driven to rotate 180 degrees clockwise, at the moment, the moving motor 45 is turned off, the lead screw motor 25 is started to enable the lead screw 29 to rotate clockwise, the vehicle carrying board moving device 902 is driven to move upwards through the lead screw driving belt wheel 26, the lead screw belt 27, the lead screw auxiliary belt wheel 28 and the first bottom board 44 to enable the rotating disc 40 to be flush with the parking space board 14, at the moment, the lead screw motor 25 is turned off, the moving motor 45 is started to enable the third connecting shaft 60 to rotate anticlockwise, further, the third connecting shaft 60 sequentially passes through the third belt 62, the second belt wheel 63, the third lever 47, the fourth lever 46, the sliding block 65 and the rotating wheel 66 to drive the vehicle carrying board 54 to move backwards to the parking space board 14 and enable the fifth lever 50 to move backwards, the second lever 77 limits the vehicle carrying board 54 and enables the return spring 42 to accumulate elastic potential energy, at the moment, and then the vehicle carrying plate moving device 902 is driven to move downwards to the ground by the vertical bevel gear 23, the horizontal bevel gear 24, the transmission shaft 12, the one-way bearing 904, the first bevel gear 51, the fourth connecting shaft 69, the third belt wheel 71, the first belt 58, the first belt wheel 70, the first connecting shaft 68, the second belt 38, the roller disc 17, the vehicle position lever 16 and the first lever 15 in sequence, the return spring 42 is elastically restored to move forwards at the moment, the sliding block 65, the fourth lever 46 and the third lever 47 are restored to the initial state, the motor 22 is closed, and the lead screw motor 25 is started to drive the vehicle carrying plate moving device 902 to move downwards through the lead screw driving belt wheel 26, the lead screw belt 27, the lead screw auxiliary belt wheel 28 and the first. The screw motor 25 is turned off, the moving motor 45 is started to enable the third connecting shaft 60 to rotate clockwise, and then the third connecting shaft passes through the two opposite one-way bearings 904 in sequence to drive the rotating disc 40 to rotate 180 degrees clockwise, so that the next vehicle can enter and exit the garage conveniently.
The invention has the beneficial effects that: the invention adopts the belt connection between the lead screw driving belt wheel and the lead screw auxiliary belt wheel, realizes the rotation synchronism of the left and right lead screws, ensures the stability of the automobile when moving up and down, performs power switching of left and right parking places by arranging a hydraulic machine, ensures independent work of the left and right parking places, adopts a one-way bearing structure, performs power switching by synchronous rotation or not, ensures independent work of each layer of parking places, adopts the one-way bearing structure, and changes the direction of a vehicle carrying plate or changes the process of moving the vehicle carrying plate in and out by synchronous rotation or not, realizes automatic garage entry and exit of the automobile, and improves the current situations of difficult parking and hidden parking danger.
In the above manner, a person skilled in the art can make various changes depending on the operation mode within the scope of the present invention.
Claims (10)
1. An automatic three-dimensional parking garage comprises a base, wherein bilaterally symmetrical supports are fixedly arranged on the upper side of the base, an adjusting cavity is arranged in the base, two groups of four parking place slideways are distributed on the end face of the support in an array manner, a first suspension support is fixedly arranged on the lower side end face of each parking place slideway, the front side of each suspension support is rotatably connected with a first connecting shaft, a second connecting shaft rotatably connected with the first suspension support is arranged on the upper side of the first connecting shaft, and a first belt wheel is fixedly arranged on the first connecting shaft;
a vehicle access device is arranged on the front side of the first belt wheel, the vehicle access device can be connected to a roller disc of the first connecting shaft in a rotating mode, a parking space lever which is connected to the second connecting shaft in a rotating mode and is in sliding connection with the roller disc, a first lever which is connected to the parking space lever in a rotating mode and is in rotating connection with the parking space slideway, and a parking space plate which is connected to the parking space slideway in a sliding mode and is in rotating connection with the first lever, so that different motion states of the first lever are changed, the first lever is driven to move left and right, and vehicles can be discharged and stored;
the parking space plate is provided with a limiting device, the limiting device can be connected to four second levers of the parking space plate through rotation, different motion states of the second levers are changed, vehicles are assisted to be fixed, a garage steel frame is fixedly arranged at the top end of the support, and a driving cavity is formed in the garage steel frame;
the inner wall of the left side of the driving cavity is provided with a switch assembly, the switch assembly can be connected to a hydraulic column on the right side of the hydraulic cylinder in a sliding manner through a hydraulic cylinder fixedly arranged on the inner wall of the left side of the driving cavity, power connection to a left garage and a right garage is switched through the left-and-right movement, the inner wall of the top end of the driving cavity is fixedly provided with a lead screw motor, the inner wall of the bottom end of the adjusting cavity is rotatably connected with lead screws which extend into the driving cavity and are bilaterally symmetrical, the upper end of the left lead screw is rotatably connected with a connecting shaft which is embedded in the inner wall of the top end of the driving cavity, the lead screw is in threaded connection with a first bottom plate, the first bottom plate is fixedly provided with a moving motor, the upper side of the moving motor is provided with a, a second suspension bracket is fixedly arranged on the lower side of the rotating disc, and a vehicle carrying plate slide rail is fixedly arranged on the lower side of the second suspension bracket;
the upper side of the car carrying plate slide rail is provided with a car carrying plate moving device capable of controlling the parking space plate to move, the car carrying plate moving device can be connected to the slide block of the slide rail in a sliding mode, the position of the barb plate on the slide block is changed and fixed to be located, the parking space plate is pushed, and the parking space plate is moved.
2. An automated stereo parking garage according to claim 1, wherein: the inner wall of the lower end of the driving cavity is rotatably connected with bilaterally symmetrical transmission shafts, the transmission shafts extend downwards and are rotatably connected to the end face of the upper side of the base, two groups of one-way bearings are oppositely arranged on the transmission shafts, bevel gear sleeves are arranged on the two groups of one-way bearings, a third suspension bracket positioned on the right side of the first suspension bracket is fixedly arranged on the lower side of the parking place slideway, a fourth connecting shaft is rotatably connected to the third suspension bracket, a first bevel gear is rotatably connected to the fourth connecting shaft, a third belt wheel is rotatably connected to the tail end of the front end of the fourth connecting shaft, a first belt is connected between the third belt wheel and the first belt wheel, a fourth suspension bracket close to the lead screw is fixedly arranged on the lower side of the slideway, a fifth connecting shaft rotatably connected to the fourth suspension bracket, and a second bevel gear meshed with the bevel gear sleeves is arranged at the, a fifth suspension bracket fixedly connected with the parking place slideway is arranged on the left side of the fourth suspension bracket, a sixth connecting shaft is rotatably connected to the front side of the fifth suspension bracket, a third bevel gear meshed with the second bevel gear is fixedly arranged on the sixth connecting shaft, a fourth belt wheel positioned at the tail end of the front end of the sixth connecting shaft is arranged on the front side of the third bevel gear, a second belt is connected between the fourth belt wheel and the first belt wheel, the screw rod extends upwards and extends into the driving cavity, the left side of the screw rod is in power connection with a screw rod motor fixedly arranged on the inner wall of the top end of the driving cavity, the lead screw motor downside is equipped with lead screw driving pulley, and the right side the lead screw rotate connect in drive chamber top inner wall, the right side the lead screw upside is fixed and is equipped with lead screw auxiliary belt wheel, be connected with the lead screw belt between lead screw driving pulley and the lead screw auxiliary belt wheel.
3. An automated stereo parking garage according to claim 2, wherein: and a belt is connected between the screw driving belt wheel and the screw auxiliary belt wheel.
4. An automated stereo parking garage according to claim 2, wherein: two sets of one-way bearings on the transmission shaft are oppositely arranged.
5. An automated stereo parking garage according to claim 1, wherein: the parking lot comprises a parking space plate, a parking plate slide rail, a rotating disc slide rail, a parking plate slide rail and a parking plate slide rail, wherein the parking space plate can be connected with the parking plate in a sliding mode, the parking plate slide rail is provided with a bilateral symmetry vehicle-carrying plate slide rail, the rotating disc is provided with a bilateral symmetry rotating disc slide rail, and the vehicle-carrying plate slide rail and the rotating disc slide rail can be connected with.
6. An automated stereo parking garage according to claim 1, wherein: carry sweep mobile device including fixed locating No. two bottom plates of No. two underslung, it is connected with No. seven connecting axles to rotate on No. two bottom plates, the fixed band pulley that is equipped with No. two on No. seven connecting axles, the fixed No. three levers that are located No. two band pulleys upside that are equipped with on No. seven connecting axles, articulated on No. three levers have with the slider rotates No. four levers of being connected, No. two band pulleys with a bottom plate upside be connected with the belt between the one-way bearing.
7. An automated stereo parking garage according to claim 1, wherein: the switch assembly comprises a motor fixedly arranged on the right side of the hydraulic column, a horizontal transmission shaft in power connection is arranged on the right side of the motor, the tail end of the right side of the horizontal transmission shaft is rotatably connected to the driving sliding block, a driving slide way in sliding connection with the driving sliding block is arranged on the inner wall of the right side of the driving cavity and communicated with the outside, and vertical bevel gears which are bilaterally symmetrical and are positioned on the right side of the motor are fixedly arranged on the horizontal transmission shaft.
8. An automated stereo parking garage according to claim 2, wherein: one-way bearing including rotate connect in the bearing box of transmission shaft, just the bearing box with bevel gear meshing connects, the bearing incasement is equipped with the rotation chamber, it rotates the tooth to be equipped with twelve on the rotation intracavity wall, be equipped with the runner that is located the rotation intracavity on the transmission shaft, annular array has six thrust bars on the runner, just the thrust bar with the runner rotates to be connected, the thrust bar with be equipped with the bearing spring between the runner, but the thrust bar butt in rotating the tooth.
9. An automated stereo parking garage according to claim 1, wherein: the limiting device comprises a fifth lever which is rotationally connected with the second lever, and a vehicle carrying plate spring is arranged between the second lever and the parking space plate.
10. An automated stereo parking garage according to claim 9, wherein: the fifth lever is of a protruding structure.
Priority Applications (2)
| Application Number | Priority Date | Filing Date | Title |
|---|---|---|---|
| CN201910798630.0A CN110485781B (en) | 2019-08-27 | 2019-08-27 | Automatic three-dimensional parking garage |
| US16/724,369 US20200123798A1 (en) | 2019-08-27 | 2019-12-22 | Automatic three-dimensional parking garage |
Applications Claiming Priority (1)
| Application Number | Priority Date | Filing Date | Title |
|---|---|---|---|
| CN201910798630.0A CN110485781B (en) | 2019-08-27 | 2019-08-27 | Automatic three-dimensional parking garage |
Publications (2)
| Publication Number | Publication Date |
|---|---|
| CN110485781A CN110485781A (en) | 2019-11-22 |
| CN110485781B true CN110485781B (en) | 2020-03-27 |
Family
ID=68554679
Family Applications (1)
| Application Number | Title | Priority Date | Filing Date |
|---|---|---|---|
| CN201910798630.0A Active CN110485781B (en) | 2019-08-27 | 2019-08-27 | Automatic three-dimensional parking garage |
Country Status (2)
| Country | Link |
|---|---|
| US (1) | US20200123798A1 (en) |
| CN (1) | CN110485781B (en) |
Families Citing this family (7)
| Publication number | Priority date | Publication date | Assignee | Title |
|---|---|---|---|---|
| CN113175252B (en) * | 2021-01-25 | 2023-06-30 | 安徽鸿杰威尔停车设备有限公司 | Vertical circulation three-dimensional parking garage with safe movable charging piles |
| CN112634474B (en) * | 2021-01-25 | 2022-08-23 | 厦门君衡科技服务有限公司 | Parking charging device for vehicle |
| CN112575708A (en) * | 2021-01-29 | 2021-03-30 | 辽宁工程技术大学 | Sharing intelligent parking spot lock power transmission device with buffering function |
| CN113482421A (en) * | 2021-06-15 | 2021-10-08 | 合肥市春华起重机械有限公司 | Parking plate wheel positioning mechanism for plane mobile intelligent garage |
| CN114310999B (en) * | 2022-01-04 | 2024-03-29 | 深圳爱络凯寻科技有限公司 | Intelligent conjoined robot clamping mechanism telescopic adjusting mechanism |
| CN115142718B (en) * | 2022-07-05 | 2024-05-03 | 江西山电电机有限公司 | Lifting garage anti-falling device with high safety performance |
| CN115315121B (en) * | 2022-08-17 | 2025-01-07 | 镇江市丹高电器有限公司 | Voltage transformer for 10KV power transmission line |
Citations (8)
| Publication number | Priority date | Publication date | Assignee | Title |
|---|---|---|---|---|
| JP2000120294A (en) * | 1998-10-15 | 2000-04-25 | Hitachi Zosen Corp | Fork-type multi-story parking facilities |
| CN102493695A (en) * | 2011-12-15 | 2012-06-13 | 张晓东 | Rail tracked vehicle carrier for automatic three-dimensional garage |
| CN204186113U (en) * | 2014-10-29 | 2015-03-04 | 广西大学 | Vehicle-containing Traverse Displacement Unit |
| CN204983823U (en) * | 2015-09-02 | 2016-01-20 | 徐金忠 | Multistoried parking facility |
| CN105715086A (en) * | 2016-04-08 | 2016-06-29 | 深圳市中科利亨车库设备有限公司 | Car carrying board translation device |
| CN106907038A (en) * | 2017-04-19 | 2017-06-30 | 陆建雄 | A kind of lugs and garage parking |
| CN208792846U (en) * | 2018-06-04 | 2019-04-26 | 湖南天桥利亨停车装备有限公司 | A kind of traversing striking gear of mechanical type three-dimensional parking garage vehicle-carrying plate, parking systems |
| CN109779355A (en) * | 2019-01-29 | 2019-05-21 | 深圳市乐业科技有限公司 | A kind of three-dimensional parking device easy to use |
-
2019
- 2019-08-27 CN CN201910798630.0A patent/CN110485781B/en active Active
- 2019-12-22 US US16/724,369 patent/US20200123798A1/en not_active Abandoned
Patent Citations (8)
| Publication number | Priority date | Publication date | Assignee | Title |
|---|---|---|---|---|
| JP2000120294A (en) * | 1998-10-15 | 2000-04-25 | Hitachi Zosen Corp | Fork-type multi-story parking facilities |
| CN102493695A (en) * | 2011-12-15 | 2012-06-13 | 张晓东 | Rail tracked vehicle carrier for automatic three-dimensional garage |
| CN204186113U (en) * | 2014-10-29 | 2015-03-04 | 广西大学 | Vehicle-containing Traverse Displacement Unit |
| CN204983823U (en) * | 2015-09-02 | 2016-01-20 | 徐金忠 | Multistoried parking facility |
| CN105715086A (en) * | 2016-04-08 | 2016-06-29 | 深圳市中科利亨车库设备有限公司 | Car carrying board translation device |
| CN106907038A (en) * | 2017-04-19 | 2017-06-30 | 陆建雄 | A kind of lugs and garage parking |
| CN208792846U (en) * | 2018-06-04 | 2019-04-26 | 湖南天桥利亨停车装备有限公司 | A kind of traversing striking gear of mechanical type three-dimensional parking garage vehicle-carrying plate, parking systems |
| CN109779355A (en) * | 2019-01-29 | 2019-05-21 | 深圳市乐业科技有限公司 | A kind of three-dimensional parking device easy to use |
Also Published As
| Publication number | Publication date |
|---|---|
| US20200123798A1 (en) | 2020-04-23 |
| CN110485781A (en) | 2019-11-22 |
Similar Documents
| Publication | Publication Date | Title |
|---|---|---|
| CN110485781B (en) | Automatic three-dimensional parking garage | |
| US20200149306A1 (en) | Slab Nozzle Inspection Equipment with Artificial Measurement Error Avoidance | |
| US20200149305A1 (en) | Quick automatic dismounting tube tire apparatus for road vehicle | |
| CN103603529B (en) | Clamping tire type automobile carrier of three-dimensional garage | |
| CN106223679A (en) | The multi-storied garage of Vertical slippage formula band rotary apparatus | |
| CN101845906A (en) | Moving and rotating avoiding-type three-dimensional garage | |
| CN104763188A (en) | Three-dimensional parking garage | |
| CN108691436A (en) | A kind of ladder of swimming pool device | |
| CN207647256U (en) | A kind of vertical shift garage | |
| CN218061683U (en) | Multilayer lifting parking equipment | |
| CN109680998B (en) | Mobilizable bicycle garage | |
| CN204552197U (en) | Without dodging the flight parking device that can independently arrange | |
| CN108974222B (en) | Electric bicycle and scale | |
| CN202810475U (en) | Lateral drive up-and-down lifting electric window of transportation vehicles | |
| CN106593037A (en) | Swing type avoidance-free stereo garage | |
| CN109854021B (en) | An aerial emergency parking space | |
| CN114394015B (en) | Automatic alignment formula fills electric pile for new energy automobile | |
| CN205805072U (en) | A kind of rotation and lifting is without dodging many parking stalls landing | |
| CN214946181U (en) | Automatic power machinery spiral lift parking stall | |
| CN113175252B (en) | Vertical circulation three-dimensional parking garage with safe movable charging piles | |
| CN211286856U (en) | A self-balancing double-decker parking device | |
| CN111005605B (en) | Lifting structure of planar mobile garage and operation method thereof | |
| CN103132757A (en) | Energy-saving environment-friendly lifting and rotating vehicle-carrying table | |
| CN209443865U (en) | A kind of lifting structure on novel double-layer parking stall | |
| CN107939105A (en) | Vertical shift garage |
Legal Events
| Date | Code | Title | Description |
|---|---|---|---|
| PB01 | Publication | ||
| PB01 | Publication | ||
| SE01 | Entry into force of request for substantive examination | ||
| SE01 | Entry into force of request for substantive examination | ||
| GR01 | Patent grant | ||
| GR01 | Patent grant | ||
| TR01 | Transfer of patent right | ||
| TR01 | Transfer of patent right |
Effective date of registration: 20210119 Address after: 511335 Beidi village, miaobian community, Shatou village, Xiancun Town, Zengcheng District, Guangzhou City, Guangdong Province Patentee after: GUANGZHOU EOUNICE MACHINERY Co.,Ltd. Address before: 325000 Room 203, 155 Xizhou Road, muzhoulong village, Chashan street, Ouhai District, Wenzhou City, Zhejiang Province Patentee before: Wenzhou Minglong Automotive Products Co.,Ltd. |