CN109604148B - Prickly ash sieve separator with adjustable prickly ash production line is with multistage - Google Patents
Prickly ash sieve separator with adjustable prickly ash production line is with multistage Download PDFInfo
- Publication number
- CN109604148B CN109604148B CN201811534653.2A CN201811534653A CN109604148B CN 109604148 B CN109604148 B CN 109604148B CN 201811534653 A CN201811534653 A CN 201811534653A CN 109604148 B CN109604148 B CN 109604148B
- Authority
- CN
- China
- Prior art keywords
- screening
- level
- several
- conveyor belt
- hole
- Prior art date
- Legal status (The legal status is an assumption and is not a legal conclusion. Google has not performed a legal analysis and makes no representation as to the accuracy of the status listed.)
- Active
Links
Images
Classifications
-
- B—PERFORMING OPERATIONS; TRANSPORTING
- B07—SEPARATING SOLIDS FROM SOLIDS; SORTING
- B07B—SEPARATING SOLIDS FROM SOLIDS BY SIEVING, SCREENING, SIFTING OR BY USING GAS CURRENTS; SEPARATING BY OTHER DRY METHODS APPLICABLE TO BULK MATERIAL, e.g. LOOSE ARTICLES FIT TO BE HANDLED LIKE BULK MATERIAL
- B07B1/00—Sieving, screening, sifting, or sorting solid materials using networks, gratings, grids, or the like
- B07B1/28—Moving screens not otherwise provided for, e.g. swinging, reciprocating, rocking, tilting or wobbling screens
-
- B—PERFORMING OPERATIONS; TRANSPORTING
- B07—SEPARATING SOLIDS FROM SOLIDS; SORTING
- B07B—SEPARATING SOLIDS FROM SOLIDS BY SIEVING, SCREENING, SIFTING OR BY USING GAS CURRENTS; SEPARATING BY OTHER DRY METHODS APPLICABLE TO BULK MATERIAL, e.g. LOOSE ARTICLES FIT TO BE HANDLED LIKE BULK MATERIAL
- B07B1/00—Sieving, screening, sifting, or sorting solid materials using networks, gratings, grids, or the like
- B07B1/42—Drive mechanisms, regulating or controlling devices, or balancing devices, specially adapted for screens
-
- B—PERFORMING OPERATIONS; TRANSPORTING
- B07—SEPARATING SOLIDS FROM SOLIDS; SORTING
- B07B—SEPARATING SOLIDS FROM SOLIDS BY SIEVING, SCREENING, SIFTING OR BY USING GAS CURRENTS; SEPARATING BY OTHER DRY METHODS APPLICABLE TO BULK MATERIAL, e.g. LOOSE ARTICLES FIT TO BE HANDLED LIKE BULK MATERIAL
- B07B1/00—Sieving, screening, sifting, or sorting solid materials using networks, gratings, grids, or the like
- B07B1/46—Constructional details of screens in general; Cleaning or heating of screens
-
- B—PERFORMING OPERATIONS; TRANSPORTING
- B07—SEPARATING SOLIDS FROM SOLIDS; SORTING
- B07B—SEPARATING SOLIDS FROM SOLIDS BY SIEVING, SCREENING, SIFTING OR BY USING GAS CURRENTS; SEPARATING BY OTHER DRY METHODS APPLICABLE TO BULK MATERIAL, e.g. LOOSE ARTICLES FIT TO BE HANDLED LIKE BULK MATERIAL
- B07B1/00—Sieving, screening, sifting, or sorting solid materials using networks, gratings, grids, or the like
- B07B1/46—Constructional details of screens in general; Cleaning or heating of screens
- B07B1/4609—Constructional details of screens in general; Cleaning or heating of screens constructional details of screening surfaces or meshes
- B07B1/4636—Regulation of screen apertures
Landscapes
- Combined Means For Separation Of Solids (AREA)
Abstract
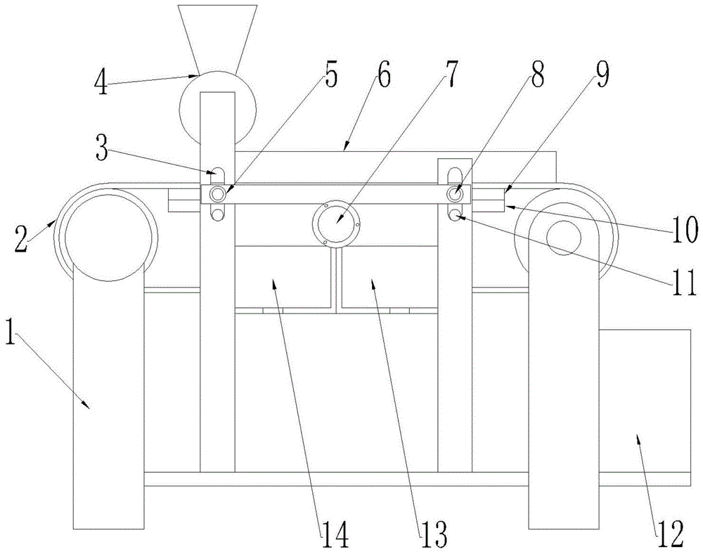
本发明涉及一种花椒生产线用多级可调式花椒筛选机,包括机架,机架上设有传送带,在传送带的宽度方向上并排的设有数列上筛选孔组,每个上筛选孔组包括数个上筛选孔;传送带的下侧设有调节板,调节板通过连接杆上下活动的固定在机架上,机架上固定有振动装置;调节板至少包括一级筛选部和二级筛选部,一级筛选部位于二级筛选部的上游侧;一级筛选部均匀分布有数个一级筛选孔组,二级筛选部均匀分布有数个二级筛选孔组,数个一级筛选孔组和数个二级筛选孔组分别与数个上筛选孔组一一对应;一级筛选孔组包括数个一级筛选孔,二级筛选孔组包括数个二级筛选孔,一级筛选孔的筛选尺寸小于二级筛选孔的筛选尺寸;筛选机结构简单,筛选效率高。
The invention relates to a multi-stage adjustable prickly ash screening machine for prickly ash production line, which comprises a frame, a conveyor belt is arranged on the frame, and several rows of upper screening hole groups are arranged side by side in the width direction of the conveyor belt, and each upper screening hole group comprises There are several upper screening holes; the lower side of the conveyor belt is provided with an adjustment plate, the adjustment plate is fixed on the frame through the connecting rod, and the vibration device is fixed on the frame; the adjustment plate at least includes a primary screening part and a secondary screening part , the primary screening part is located on the upstream side of the secondary screening part; the primary screening part is evenly distributed with several primary screening hole groups, the secondary screening part is evenly distributed with several secondary screening hole groups, several primary screening hole groups and Several secondary screening hole groups are in one-to-one correspondence with several upper screening hole groups; the primary screening hole group includes several primary screening holes, the secondary screening hole group includes several secondary screening holes, and the first screening hole group includes several secondary screening holes. The screening size is smaller than that of the secondary screening hole; the screening machine has a simple structure and high screening efficiency.
Description
Claims (7)
Priority Applications (1)
| Application Number | Priority Date | Filing Date | Title |
|---|---|---|---|
| CN201811534653.2A CN109604148B (en) | 2018-12-14 | 2018-12-14 | Prickly ash sieve separator with adjustable prickly ash production line is with multistage |
Applications Claiming Priority (1)
| Application Number | Priority Date | Filing Date | Title |
|---|---|---|---|
| CN201811534653.2A CN109604148B (en) | 2018-12-14 | 2018-12-14 | Prickly ash sieve separator with adjustable prickly ash production line is with multistage |
Publications (2)
| Publication Number | Publication Date |
|---|---|
| CN109604148A CN109604148A (en) | 2019-04-12 |
| CN109604148B true CN109604148B (en) | 2021-11-23 |
Family
ID=66009256
Family Applications (1)
| Application Number | Title | Priority Date | Filing Date |
|---|---|---|---|
| CN201811534653.2A Active CN109604148B (en) | 2018-12-14 | 2018-12-14 | Prickly ash sieve separator with adjustable prickly ash production line is with multistage |
Country Status (1)
| Country | Link |
|---|---|
| CN (1) | CN109604148B (en) |
Families Citing this family (2)
| Publication number | Priority date | Publication date | Assignee | Title |
|---|---|---|---|---|
| CN112207036A (en) * | 2020-10-27 | 2021-01-12 | 贵州天牧农业开发有限责任公司 | Sorting device for fresh pepper |
| CN112845076A (en) * | 2020-12-24 | 2021-05-28 | 东台市鑫富达机械有限公司 | Quick edulcoration device of wheat granule for agricultural processing |
Citations (6)
| Publication number | Priority date | Publication date | Assignee | Title |
|---|---|---|---|---|
| GB2193119A (en) * | 1986-07-29 | 1988-02-03 | E W Downs & Sons Limited | Grader |
| CN2663030Y (en) * | 2003-11-12 | 2004-12-15 | 孙泽习 | Multilayered chain type screening machine |
| CN204842176U (en) * | 2015-07-13 | 2015-12-09 | 镇雄滇龙生态科技有限公司 | Equipment that material screened in grades |
| CN105797976A (en) * | 2016-05-17 | 2016-07-27 | 贵州天楼生物发展有限公司 | Stauntonvine screening equipment |
| CN206229650U (en) * | 2016-11-24 | 2017-06-09 | 山东科技大学 | A kind of crop vibrative screen device of convenient regulation slot size |
| CN208916345U (en) * | 2018-10-17 | 2019-05-31 | 临沂大学 | A kind of dedicated unloading sorting device of logistics |
-
2018
- 2018-12-14 CN CN201811534653.2A patent/CN109604148B/en active Active
Patent Citations (6)
| Publication number | Priority date | Publication date | Assignee | Title |
|---|---|---|---|---|
| GB2193119A (en) * | 1986-07-29 | 1988-02-03 | E W Downs & Sons Limited | Grader |
| CN2663030Y (en) * | 2003-11-12 | 2004-12-15 | 孙泽习 | Multilayered chain type screening machine |
| CN204842176U (en) * | 2015-07-13 | 2015-12-09 | 镇雄滇龙生态科技有限公司 | Equipment that material screened in grades |
| CN105797976A (en) * | 2016-05-17 | 2016-07-27 | 贵州天楼生物发展有限公司 | Stauntonvine screening equipment |
| CN206229650U (en) * | 2016-11-24 | 2017-06-09 | 山东科技大学 | A kind of crop vibrative screen device of convenient regulation slot size |
| CN208916345U (en) * | 2018-10-17 | 2019-05-31 | 临沂大学 | A kind of dedicated unloading sorting device of logistics |
Also Published As
| Publication number | Publication date |
|---|---|
| CN109604148A (en) | 2019-04-12 |
Similar Documents
| Publication | Publication Date | Title |
|---|---|---|
| CN102960833B (en) | Camellia seed shelling machine | |
| CN105594385B (en) | A kind of oily peony seeds threshing grader and technique | |
| CN103418478B (en) | Multifunctional fruit tree flower deep processing device for extracting anthers from fruit tree flowers | |
| CN103734877B (en) | A kind of silybum marianum seed shelling and method of separating hull and kernel | |
| CN105286025A (en) | Peanut shelling and screening device | |
| CN109604148B (en) | Prickly ash sieve separator with adjustable prickly ash production line is with multistage | |
| CN212732982U (en) | Agricultural breeding soybean sieving mechanism | |
| CN208527312U (en) | Peanut vine crushes membrane removal dust removal machine | |
| CN101933436B (en) | Full-automatic grain separation system for high-accuracy single plant inspection | |
| CN104380929A (en) | Tobacco seed thresher | |
| CN107670749B (en) | A kind of paddy removing device | |
| CN103141916B (en) | Full-automatic nut opening machine for macadamia nuts | |
| CN104541657A (en) | Sectioning and grading machine for garlic seeds | |
| CN205408662U (en) | Oil tree peony seed sorting unit that threshes | |
| CN207040805U (en) | Camellia seed oil production process raw material removing device | |
| CN202655220U (en) | Screening device for demersal aquatic products | |
| CN219836813U (en) | Cabbage seed selection machine | |
| CN2614464Y (en) | Machine for hulling sunflower seeds | |
| CN205284254U (en) | Novel thresher | |
| CN205851386U (en) | A kind of rice separation screening machine | |
| CN202725503U (en) | Sorting machine for platycodon grandiflorum seeds | |
| CN203942829U (en) | A kind of rape thresher | |
| CN203748279U (en) | Cockscomb seed extraction device | |
| CN105474892B (en) | Corn threshing and residue-removing apparatus | |
| CN217963573U (en) | Walnut shell benevolence vibration divides sieve equipment |
Legal Events
| Date | Code | Title | Description |
|---|---|---|---|
| PB01 | Publication | ||
| PB01 | Publication | ||
| SE01 | Entry into force of request for substantive examination | ||
| SE01 | Entry into force of request for substantive examination | ||
| GR01 | Patent grant | ||
| GR01 | Patent grant | ||
| PE01 | Entry into force of the registration of the contract for pledge of patent right | ||
| PE01 | Entry into force of the registration of the contract for pledge of patent right |
Denomination of invention: A multi-stage adjustable Sichuan pepper screening machine for Sichuan pepper production line Granted publication date: 20211123 Pledgee: Shandong Leling Rural Commercial Bank Co.,Ltd. Pledgor: SHANDONG LONGSHENG FOOD JOINT STOCK (Ltd.) Co. Registration number: Y2024980004079 |
|
| PC01 | Cancellation of the registration of the contract for pledge of patent right | ||
| PC01 | Cancellation of the registration of the contract for pledge of patent right |
Granted publication date: 20211123 Pledgee: Shandong Leling Rural Commercial Bank Co.,Ltd. Pledgor: SHANDONG LONGSHENG FOOD JOINT STOCK (Ltd.) Co. Registration number: Y2024980004079 |
|
| OL01 | Intention to license declared | ||
| OL01 | Intention to license declared |
