AT520752A4 - Böschungsbefestigung - Google Patents
Böschungsbefestigung Download PDFInfo
- Publication number
- AT520752A4 AT520752A4 ATA50334/2018A AT503342018A AT520752A4 AT 520752 A4 AT520752 A4 AT 520752A4 AT 503342018 A AT503342018 A AT 503342018A AT 520752 A4 AT520752 A4 AT 520752A4
- Authority
- AT
- Austria
- Prior art keywords
- sectors
- sector strips
- strips
- sector
- film hinges
- Prior art date
Links
Classifications
-
- B—PERFORMING OPERATIONS; TRANSPORTING
- B09—DISPOSAL OF SOLID WASTE; RECLAMATION OF CONTAMINATED SOIL
- B09B—DISPOSAL OF SOLID WASTE NOT OTHERWISE PROVIDED FOR
- B09B3/00—Destroying solid waste or transforming solid waste into something useful or harmless
-
- E—FIXED CONSTRUCTIONS
- E02—HYDRAULIC ENGINEERING; FOUNDATIONS; SOIL SHIFTING
- E02D—FOUNDATIONS; EXCAVATIONS; EMBANKMENTS; UNDERGROUND OR UNDERWATER STRUCTURES
- E02D17/00—Excavations; Bordering of excavations; Making embankments
- E02D17/20—Securing of slopes or inclines
-
- E—FIXED CONSTRUCTIONS
- E02—HYDRAULIC ENGINEERING; FOUNDATIONS; SOIL SHIFTING
- E02B—HYDRAULIC ENGINEERING
- E02B2201/00—Devices, constructional details or methods of hydraulic engineering not otherwise provided for
- E02B2201/04—Devices, constructional details or methods of hydraulic engineering not otherwise provided for using old tires for hydraulic engineering
-
- E—FIXED CONSTRUCTIONS
- E02—HYDRAULIC ENGINEERING; FOUNDATIONS; SOIL SHIFTING
- E02B—HYDRAULIC ENGINEERING
- E02B3/00—Engineering works in connection with control or use of streams, rivers, coasts, or other marine sites; Sealings or joints for engineering works in general
- E02B3/04—Structures or apparatus for, or methods of, protecting banks, coasts, or harbours
- E02B3/12—Revetment of banks, dams, watercourses, or the like, e.g. the sea-floor
-
- E—FIXED CONSTRUCTIONS
- E02—HYDRAULIC ENGINEERING; FOUNDATIONS; SOIL SHIFTING
- E02D—FOUNDATIONS; EXCAVATIONS; EMBANKMENTS; UNDERGROUND OR UNDERWATER STRUCTURES
- E02D17/00—Excavations; Bordering of excavations; Making embankments
- E02D17/18—Making embankments, e.g. dikes, dams
-
- E—FIXED CONSTRUCTIONS
- E02—HYDRAULIC ENGINEERING; FOUNDATIONS; SOIL SHIFTING
- E02D—FOUNDATIONS; EXCAVATIONS; EMBANKMENTS; UNDERGROUND OR UNDERWATER STRUCTURES
- E02D3/00—Improving or preserving soil or rock, e.g. preserving permafrost soil
- E02D3/02—Improving by compacting
- E02D3/08—Improving by compacting by inserting stones or lost bodies, e.g. compaction piles
-
- Y—GENERAL TAGGING OF NEW TECHNOLOGICAL DEVELOPMENTS; GENERAL TAGGING OF CROSS-SECTIONAL TECHNOLOGIES SPANNING OVER SEVERAL SECTIONS OF THE IPC; TECHNICAL SUBJECTS COVERED BY FORMER USPC CROSS-REFERENCE ART COLLECTIONS [XRACs] AND DIGESTS
- Y02—TECHNOLOGIES OR APPLICATIONS FOR MITIGATION OR ADAPTATION AGAINST CLIMATE CHANGE
- Y02W—CLIMATE CHANGE MITIGATION TECHNOLOGIES RELATED TO WASTEWATER TREATMENT OR WASTE MANAGEMENT
- Y02W30/00—Technologies for solid waste management
- Y02W30/50—Reuse, recycling or recovery technologies
- Y02W30/62—Plastics recycling; Rubber recycling
Landscapes
- Engineering & Computer Science (AREA)
- Mining & Mineral Resources (AREA)
- Environmental & Geological Engineering (AREA)
- Life Sciences & Earth Sciences (AREA)
- General Life Sciences & Earth Sciences (AREA)
- Paleontology (AREA)
- Civil Engineering (AREA)
- General Engineering & Computer Science (AREA)
- Structural Engineering (AREA)
- Pit Excavations, Shoring, Fill Or Stabilisation Of Slopes (AREA)
- Tires In General (AREA)
Abstract
Es wird eine Böschungsbefestigung mit einer Bewehrung aus entlang einer achsnormalen Mittelebene geteilten, mit den Seitenwänden (4) auf einem Untergrund (1) aufliegenden und mit Erdreich abgedeckten Autoreifen beschrieben. Um vorteilhafte Konstruktionsbedingungen zu schaffen, wird vorgeschlagen, dass die axial durchtrennten, durch radiale Einschnitte in den Seitenwänden (4) in gleiche, durch Filmscharniere (7) miteinander verbundene Sektoren (5) unterteilten Autoreifen auseinandergezogene Sektorstreifen (3) auf einem Gitter (2) bilden, das im Bereich der Filmscharniere (7) und im Mittenbereich der Sektoren (5) aus der Gitterfläche nach oben ausgebogene Teile (13) von quer zur Längsrichtung der Sektorstreifen (3) verlaufenden Gitterstäben (12) aufweist, dass die Sektorstreifen (3) im Mittenbereich der Sektoren (5) mit Durchstecköffnungen (10) im Laufstreifen (9) versehen sind, dass die ausgebogenen Teile (13) der Gitterstäbe (12) einerseits die Filmscharniere (7) abstützen und anderseits die Laufstreifen (9) in den Durchstecköffnungen (10) durchsetzen und dass die Sektorstreifen (3) in der Mitte der Sektoren (5) im Bereich des Randwulstes (15) der Seitenwände (4) mit einem in Längsrichtung der Sektorstreifen (3) verlaufenden Gitterstab (11) verbunden sind.
Description
Zusammenfassung
Es wird eine Böschungsbefestigung mit einer Bewehrung aus entlang einer achsnormalen Mittelebene geteilten, mit den Seitenwänden (4) auf einem Untergrund (1) aufliegenden und mit Erdreich abgedeckten Autoreifen beschrieben. Um vorteilhafte Konstruktionsbedingungen zu schaffen, wird vorgeschlagen, dass die axial durchtrennten, durch radiale Einschnitte in den Seitenwänden (4) in gleiche, durch Filmscharniere (7) miteinander verbundene Sektoren (5) unterteilten Autoreifen auseinandergezogene Sektorstreifen (3) auf einem Gitter (2) bilden, das im Bereich der Filmscharniere (7) und im Mittenbereich der Sektoren (5) aus der Gitterfläche nach oben ausgebogene Teile (13) von quer zur Längsrichtung der Sektorstreifen (3) verlaufenden Gitterstäben (12) aufweist, dass die Sektorstreifen (3) im Mittenbereich der Sektoren (5) mit Durchstecköffnungen (10) im Laufstreifen (9) versehen sind, dass die ausgebogenen Teile (13) der Gitterstäbe (12) einerseits die Filmscharniere (7) abstützen und anderseits die Laufstreifen (9) in den Durchstecköffnungen (10) durchsetzen und dass die Sektorstreifen (3) in der Mitte der Sektoren (5) im Bereich des Randwulstes (15) der Seitenwände (4) mit einem in Längsrichtung der Sektorstreifen (3) verlaufenden Gitterstab (11) verbunden sind.
(Fig. 1)
1/13 (41910) II
Die Erfindung bezieht sich auf eine Böschungsbefestigung mit einer Bewehrung aus entlang einer achsnormalen Mittelebene geteilten, mit den Seitenwänden auf einem Untergrund aufliegenden und mit Erdreich abgedeckten Autoreifen.
Es wurde bereits mehrfach vorgeschlagen, gebrauchte Autoreifen zur Böschungsbefestigung einzusetzen. Zu diesem Zweck wurden die Autoreifen an vier einander paarweise gegenüberliegenden Seiten zu einer Matte verbunden, die auf einem Untergrund aufgelegt, gegebenenfalls mit Ankern im Untergrund befestigt und mit bepflanzbarem Erdreich abgedeckt wurde. Ein vollständiges Befüllen der Autoreifen mit Erdreich ist allerdings schwierig. Außerdem besteht die Gefahr, dass die oberen Seitenwände der zu einer Matte verbundenen Autoreifen eine Gleitfläche für das aufruhende Erdreich bilden.
Diese Gefahr wird bei einer anderen bekannten Böschungsbefestigung (DE 38 29 615 A1) mithilfe gebrauchter Autoreifen dadurch vermieden, dass die Autoreifen entlang einer achsnormalen Mittelebene in zwei Ringschalen unterteilt werden, die mit ihren Seitenwänden auf dem Untergrund aufliegen und mit diesem verankert werden. Die nach oben offenen, miteinander verbundenen Ringschalen können in einfacher Art mit Erdreich gefüllt werden und bilden keine Gleitfläche für aufruhendes Erdreich. Allerdings ist die Stützwirkung im Wesentlichen auf die in Richtung der Falllinie untere Ringhälfte beschränkt.
Der Erfindung liegt somit die Aufgabe zugrunde, eine Böschungsbefestigung aus gebrauchten Autoreifen so auszugestalten, dass eine in einfacher Art an unterschiedliche Befestigungsanforderungen anpassbare Bewehrung der Böschung aus den gebrauchten Autoreifen sichergestellt werden kann.
2/13
Ausgehend von einer Böschungsbefestigung der eingangs geschilderten Art löst die Erfindung die gestellte Aufgabe dadurch, dass die an einer Stelle axial durchtrennten, durch radiale Einschnitte in den Seitenwänden in gleiche, durch Filmscharniere im Laufflächenbereich miteinander verbundene Sektoren unterteilten Autoreifen auseinandergezogene Sektorstreifen auf einem auf dem Untergrund aufliegenden Gitter bilden, das im Bereich der Filmscharniere und im Mittenbereich der Sektoren aus der Gitterfläche nach oben ausgebogene Teile von quer zur Längsrichtung der Sektorstreifen verlaufenden Gitterstäben aufweist, dass die Sektorstreifen im Mittenbereich der Sektoren mit Durchstecköffnungen im den Laufflächenbereich bildenden Laufstreifen versehen sind, dass die nach oben ausgebogenen Teile der Gitterstäbe einerseits die Filmscharniere auf der Laufflächenseite abstützen und anderseits die Laufstreifen in den Durchstecköffnungen durchsetzen und dass die Sektorstreifen in der Mitte der Sektoren im Bereich des Randwulstes der Seitenwände mit einem in Längsrichtung der Sektorstreifen verlaufenden Gitterstab verbunden sind.
Durch die Maßnahme, die achsnormal halbierten, an einer Stelle axial durchtrennten Autoreifen durch radiale Einschnitte in den Seitenwänden in einzelne miteinander über Laufflächenbereiche filmscharnierartig verbundene Sektoren zu unterteilen und diese Sektoren um die Filmscharniere zu Sektorstreifen auseinanderzuschwenken, können aus den Sektorstreifen insbesondere quer zur Falllinie der Böschung verlaufende Bewehrungen vorgesehen werden, die aufgrund der Schalenform der einzelnen Sektoren das die Sektorstreifen abdeckende Erdreich aufnehmen und über die gesamte Länge der einzelnen Sektorstreifen abstützen, und zwar in Verbindung mit einem Gitter, an dem die Sektoren der Sektorstreifen kippsicher abgestützt sind. Zu diesem Zweck sind die quer zur Längsrichtung der Sektorstreifen im Bereich der Filmscharniere und im Mittenbereich der Sektoren verlaufenden Gitterstäbe mit Abstand von den Filmscharnieren bzw. dem Laufflächenbereich in der Sektormitte durchtrennt und die dadurch erhaltenen Teile der Gitterstäbe aus der Gitterfläche nach oben ausgebogen, sodass die Sektorstreifen, die im Mittenbereich der Sektoren mit Durchstecköffnungen im den Laufflächenbereich bildenden Laufstreifen versehen
3/13 sind, in der Strecklage einerseits im Mittenbereich der Sektoren auf ausgebogene Gitterstabteile aufgesteckt und anderseits an aufgebogenen Gitterstabteilen im Bereich der Filmscharniere abgestützt werden können. Da die Seitenwände in der Mitte der einzelnen Sektoren zusätzlich im Bereich des Randwulstes mit einem in Streifenlängsrichtung verlaufenden Gitterstab verbunden sind, ergibt sich eine einfache, kippsichere Halterung der Sektorstreifen auf dem Gitter.
Zur Verbesserung der Halterung der Sektorstreifen auf dem Gitter können auch die im Bereich der Filmscharniere nach oben ausgebogenen Teile der Gitterstäbe die Filmscharniere in einer Durchstecköffnung durchsetzen.
Obwohl es grundsätzlich nicht auf die Anzahl der Sektoren ankommt, in die die Autoreifen unterteilt werden, ergeben sich für übliche Anwendungsfälle vorteilhafte Streifenabmessungen, wenn die Autoreifen in jeweils vier Sektoren unterteilt sind, was bei den üblichen Reifendimensionen von Personenkraftwagen für die Handhabung und Verlegung günstige Abmessungen der Sektorstreifen mit sich bringt.
Die Befestigung der Randwülste der Seitenwände an den in Streifenlängsrichtung verlaufenden Gitterstäben kann vorzugsweise mithilfe von Haken erfolgen, die einerseits den Gitterstab und anderseits den Randwulstes umgreifen. Diese Hakenverbindung erlaubt eine wenig aufwendige Befestigung, die mit einfachen Handgriffen durchgeführt werden kann und eine sichere, in Belastungsrichtung zugfeste Verbindung zwischen den Seitenwandsektoren und dem Gitter ermöglicht. Die Haken brauchen ja lediglich in die entsprechenden Gitterstäbe eingehängt und um den Randwulst der Seitenwände gelegt zu werden.
Zur Festlegung des Gitters auf einem Untergrund der zu befestigenden Böschung können übliche Anker und dgl. eingesetzt werden. Besonders einfache Konstruktionsverhältnisse ergeben sich, wenn Teile der quer zur Längsrichtung der Sektorstreifen verlaufenden Gitterstäbe in Richtung der Böschungsneigung gegen
4/13 den Untergrund aus der Gitterfläche ausgebogen sind. Bei einer Belastung der Bewehrung aus Autoreifen werden die in Richtung der Böschungsneigung gegen den Untergrund ausgebogenen Gitterstäbe in den Untergrund eingedrückt und verkrallen das Gitterwiderhakenartig mit dem Untergrund.
In der Zeichnung ist der Erfindungsgegenstand beispielsweise dargestellt. Es zeigen
Fig. 1 eine erfindungsgemäße Böschungsbefestigung ausschnittsweise in einer schematischen Draufsicht bei fehlender Erdreichabdeckung,
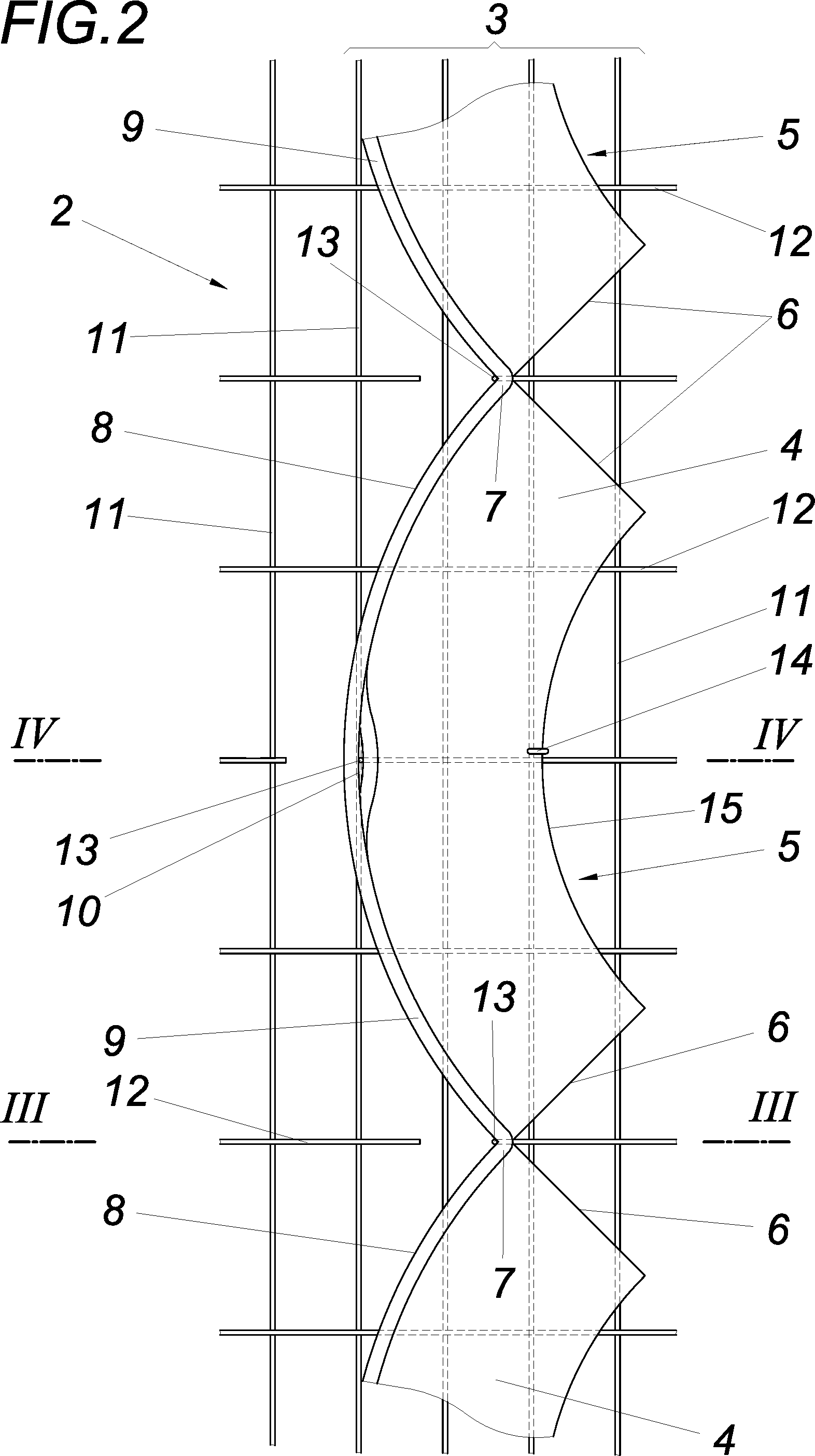
Fig. 2 eine Draufsicht auf einen Sektor eines auf einem Gitter angeordneten Sektorstreifens in einem größeren Maßstab,
Fig. 3 einen Schnitt nach der Linie Ill-Ill der Fig. 2 in einem größeren Maßstab und Fig. 4 einen Schnitt nach der Linie IV-IV der Fig. 2 in einem größeren Maßstab.
Eine erfindungsgemäße Böschungsbefestigung umfasst ein am Untergrund 1 der zu befestigenden Böschung aufruhendes Gitter 2 und aus gebrauchten Autoreifen gefertigte Sektorstreifen 3. Diese Sektorstreifen 3 ergeben sich aus den entlang einer achsnormalen Mittelebene geteilten, an einer Stelle axial durchtrennten Autoreifen, wobei die ringförmigen Reifenhälften durch radiale Einschnitte in den Seitenwänden 4 in gleiche, vorzugsweise vier, Sektoren 5 unterteilt sind. Die Schnittflächen der radialen Einschnitte in den Seitenwänden 4 sind mit 6 bezeichnet.
Die Sektoren 5 sind miteinander durch Filmscharniere 7 verbunden, die sich im Bereich der die Lauffläche 8 bildenden halben Laufstreifen 9 ergeben. Durch ein Auseinanderschwenken der einzelnen Sektoren 5 um diese Filmscharniere 7 werden Sektorstreifen 3 erhalten, die im Bereich der Mitte der Sektoren 5 mit Durchstecköffnungen 10 versehen sind.
Das Gitter 2 bildet in Längsrichtung der Sektorstreifen 3 verlaufende Gitterstäbe 11, die sich mit dazu quer verlaufenden Gitterstäben 12 kreuzen. Die Gitterstäbe 12, die im Bereich der Filmscharniere 7 bzw. im Mittenbereich der Sektoren 5 verlaufen, sind mit Abstand von den Filmscharnieren 7 bzw. den Laufstreifen 9 in der
5/13
Sektormitte durchtrennt. Die dadurch abgelängten Teile 13 der Gitterstäbe 12 sind aus der Gitterfläche nach oben ausgebogen, wie dies insbesondere aus der Fig. 3 ersichtlich ist, und dienen als Halterung für die Sektorstreifen 3, die über die Durchstecköffnungen 10 auf die ausgebogenen Teile 13 der Gitterstäbe 12 aufgesteckt sind, während die ausgebogenen Teile 13 der Gitterstäbe 12 im Bereich der Filmscharniere 7 in den Zwickelbereich zwischen den Sektoren 5 eingreifen und die Sektorstreifen 3 im Bereich der Filmscharniere 7 abstützen. Zusätzlich können auch im Bereich der Filmscharniere 7 Durchstecköffnungen 10 für die ausgebogenen Teile 13 der Gitterstäbe 12 vorgesehen sein, um eine zusätzliche Verbindung zwischen dem Gitter 2 und den Sektorstreifen 3 zu erreichen, wie dies in der Fig. 3 für den in der Falllinie unteren Sektorstreifen 3 angedeutet ist.
Die Sektorstreifen 3 werden jedoch nicht nur durch die die Durchstecköffnungen 10 durchsetzenden und die im Bereich der Filmscharniere 7 verlaufenden Teile 13 der Gitterstäbe 12 in ihrer Strecklage gehalten, sondern zusätzlich mit in Längsrichtung der Sektorstreifen 3 verlaufenden Gitterstäben 11 verbunden, und zwar mithilfe von Haken 14, die in den jeweiligen Gitterstab 11 eingehängt werden und den Randwulst 15 der Seitenwände 4 umfassen, wie dies aus der Fig. 4 ersichtlich ist. Durch diese zusätzliche in Belastungsrichtung der Sektorstreifen 3 zugfeste Verbindung zwischen dem Gitter 2 und den Seitenwänden 4 der halben Autoreifen werden die Sektorstreifen 3 kippsicher am Gitter 2 abgestützt.
Das Gitter 2 selbst kann durch gesonderte Anker im Untergrund 1 verankert werden. Besonders einfache Konstruktionsbedingungen ergeben sich jedoch, wenn einige der Gitterstäbe 12 durchtrennt sind und die in Neigungsrichtung der Böschung nach unten endenden Teile 16 quer zur Längsrichtung der Sektorstreifen 3 in Richtung der Böschungsneigung gegen den Untergrund 1 entsprechend den Fig. 3 aus der Gitterfläche ausgebogen sind. In diesem Fall werden diese nach unten ausgebogenen Teile 16 des Gitters 2 aufgrund der Belastung der Sektorstreifen 3 durch das die Sektorstreifen 3 und das Gitter 2 überdeckende Erdreich in den Untergrund 1 eingedrückt und verkrallen das Gitter 2 mit dem Untergrund 1 widerhakenartig.
6/13
Da das Gitter 2 einen einfachen Grundraster für die Anordnung der Sektorstreifen 3 vorgibt, können die Sektorstreifen 3 in einer weitgehend frei an die jeweiligen Anforderungen anpassbaren Anordnung und Verteilung auf dem Gitter 2 festgelegt werden, wobei auch die Möglichkeit besteht, mehrere Gitterlagen mit Sektorstreifen 3 übereinander vorzusehen.
7/13
Patentanwälte
Dipl.-Ing. Helmut Hübscher
Dipl.-Ing. Gerd Hübscher
Dipl.-Ing. Karl Winfried Hellmich
Spittelwiese 4, 4020 Linz (41910) II
Claims (5)
- Patentansprüche1. Böschungsbefestigung mit einer Bewehrung aus entlang einer achsnormalen Mittelebene geteilten, mit den Seitenwänden (4) auf einem Untergrund (1) aufliegenden und mit Erdreich abgedeckten Autoreifen, dadurch gekennzeichnet, dass die an einer Stelle axial durchtrennten, durch radiale Einschnitte in den Seitenwänden (4) in gleiche, durch Filmscharniere (7) im Laufflächenbereich miteinander verbundene Sektoren (5) unterteilten Autoreifen auseinandergezogene Sektorstreifen (3) auf einem auf dem Untergrund (1) aufliegenden Gitter (2) bilden, das im Bereich der Filmscharniere (7) und im Mittenbereich der Sektoren (5) aus der Gitterfläche nach oben ausgebogene Teile (13) von quer zur Längsrichtung der Sektorstreifen (3) verlaufenden Gitterstäben (12) aufweist, dass die Sektorstreifen (3) im Mittenbereich der Sektoren (5) mit Durchstecköffnungen (10) im den Laufflächenbereich bildenden Laufstreifen (9) versehen sind, dass die nach oben ausgebogenen Teile (13) der Gitterstäbe (12) einerseits die Filmscharniere (7) auf der Laufflächenseite abstützen und anderseits die Laufstreifen (9) in den Durchstecköffnungen (10) durchsetzen und dass die Sektorstreifen (3) in der Mitte der Sektoren (5) im Bereich des Randwulstes (15) der Seitenwände (4) mit einem in Längsrichtung der Sektorstreifen (3) verlaufenden Gitterstab (11) verbunden sind.
- 2. Böschungsbefestigung nach Anspruch 1, dadurch gekennzeichnet, dass die im Bereich der Filmscharniere (7) nach oben ausgebogenen Teile (13) der Gitterstäbe (12) die Filmscharniere (7) in einer Durchstecköffnung (10) durchsetzen.
- 3. Böschungsbefestigung nach Anspruch 1 oder 2, dadurch gekennzeichnet, dass die Autoreifen in jeweils vier Sektoren (5) unterteilt sind.8/13
- 4. Böschungsbefestigung nach einem der Ansprüche 1 bis 3, dadurch gekennzeichnet, dass die Sektorstreifen (3) mit dem in Längsrichtung der Sektorstreifen (3) verlaufenden Gitterstab (11) durch Haken (14) verbunden sind, die einerseits den Gitterstab (11) und anderseits den Randwulst (15) umgreifen.
Priority Applications (2)
| Application Number | Priority Date | Filing Date | Title |
|---|---|---|---|
| ATA50334/2018A AT520752B1 (de) | 2018-04-20 | 2018-04-20 | Böschungsbefestigung |
| DE102019109235.3A DE102019109235A1 (de) | 2018-04-20 | 2019-04-09 | Böschungsbefestigung |
Applications Claiming Priority (1)
| Application Number | Priority Date | Filing Date | Title |
|---|---|---|---|
| ATA50334/2018A AT520752B1 (de) | 2018-04-20 | 2018-04-20 | Böschungsbefestigung |
Publications (2)
| Publication Number | Publication Date |
|---|---|
| AT520752A4 true AT520752A4 (de) | 2019-07-15 |
| AT520752B1 AT520752B1 (de) | 2019-07-15 |
Family
ID=67209575
Family Applications (1)
| Application Number | Title | Priority Date | Filing Date |
|---|---|---|---|
| ATA50334/2018A AT520752B1 (de) | 2018-04-20 | 2018-04-20 | Böschungsbefestigung |
Country Status (2)
| Country | Link |
|---|---|
| AT (1) | AT520752B1 (de) |
| DE (1) | DE102019109235A1 (de) |
Citations (3)
| Publication number | Priority date | Publication date | Assignee | Title |
|---|---|---|---|---|
| US4057141A (en) * | 1975-05-05 | 1977-11-08 | Laurie Albert F | Baled tire product |
| FR2682700A1 (fr) * | 1991-10-16 | 1993-04-23 | Terrassements Ste Fo Entrepris | Dispositif pour la realisation d'un remblai renforce. |
| WO1998049400A1 (en) * | 1997-04-28 | 1998-11-05 | Ecoflex Australia Pty. Limited | Retaining wall system |
Family Cites Families (1)
| Publication number | Priority date | Publication date | Assignee | Title |
|---|---|---|---|---|
| DE3829615A1 (de) | 1987-10-12 | 1990-03-15 | Juergen Dipl Ing Unterlaender | Pflanzhalbschalenmatten aus altreifen |
-
2018
- 2018-04-20 AT ATA50334/2018A patent/AT520752B1/de not_active IP Right Cessation
-
2019
- 2019-04-09 DE DE102019109235.3A patent/DE102019109235A1/de not_active Withdrawn
Patent Citations (3)
| Publication number | Priority date | Publication date | Assignee | Title |
|---|---|---|---|---|
| US4057141A (en) * | 1975-05-05 | 1977-11-08 | Laurie Albert F | Baled tire product |
| FR2682700A1 (fr) * | 1991-10-16 | 1993-04-23 | Terrassements Ste Fo Entrepris | Dispositif pour la realisation d'un remblai renforce. |
| WO1998049400A1 (en) * | 1997-04-28 | 1998-11-05 | Ecoflex Australia Pty. Limited | Retaining wall system |
Also Published As
| Publication number | Publication date |
|---|---|
| AT520752B1 (de) | 2019-07-15 |
| DE102019109235A1 (de) | 2019-10-24 |
Similar Documents
| Publication | Publication Date | Title |
|---|---|---|
| EP1628790B1 (de) | Schutznetz, insbesondere für einen steinschlagschutz oder für eine böschungssicherung | |
| DE60310652T2 (de) | Paneelaufbau für abgehängte Decken | |
| DE2040341C3 (de) | Balkenkonstruktion für Passagierdurchgänge | |
| CH621973A5 (de) | ||
| DE102015210485A1 (de) | Kraftfahrzeug | |
| AT520752B1 (de) | Böschungsbefestigung | |
| DE202007006147U1 (de) | Zugmittelanordnung zur Sicherung von Ladegut | |
| DE2631147C3 (de) | Gleitschutzvorrichtung für Fahrzeugräder | |
| DE29509653U1 (de) | Schutzgitter | |
| DE60107309T2 (de) | System um Röhren, Schläuche oder andere Leitungen in einer Straßenoberfläche zu befestigen | |
| DE599825C (de) | Dach, insbesondere fuer Kraftfahrzeugwagenkasten | |
| DE2730572C2 (de) | ||
| EP3342618B1 (de) | Spannband, insbesondere zur befestigung eines gegenstands an einem fahrzeug | |
| DE1530862A1 (de) | Auf dem Dach eines Fahrzeuges anzuordnender Traeger | |
| DE2460248A1 (de) | Schiebedachaufbau fuer fahrzeuge mit einer flexiblen bespannung | |
| EP0101599B1 (de) | Verriegelungselement und Zange zum Lösen und Entfernen des Verriegelungselementes | |
| DE2116587C3 (de) | Verfahren zum Herstellen von Matratzen aus Drahtgewebe zum Abdecken von erosionsgefährdeten Oberflächen und nach dem Verfahren vorgefertigtes Halbfabrikat zur Ausführung des Verfahrens an Ort und Stelle | |
| DE202018004358U1 (de) | Segment einer Schutzeinrichtung für Amphibien | |
| DE102012216860B4 (de) | Umgestaltbares Raumsystem für den inneren Ladebereich eines Fahrzeugs | |
| DE2043650C3 (de) | Greifglied für Reifengleitschutzketten | |
| DE29521289U1 (de) | Reifenprofil auf vorvulkanisiertem Laufstreifen | |
| EP1036991A2 (de) | Fixiervorrichtung für Fussbodenheizungsrohre | |
| DE102022202881A1 (de) | Fahrzeugreifen | |
| DE3720611A1 (de) | Stahltraeger | |
| DE8515956U1 (de) | Tragelement für ein Bauwerk mit mindestens einer begeh- und/oder befahrbaren Decke |
Legal Events
| Date | Code | Title | Description |
|---|---|---|---|
| MM01 | Lapse because of not paying annual fees |
Effective date: 20240420 |

