WO2023224014A1 - ステータ及び回転電機 - Google Patents

ステータ及び回転電機 Download PDF

Info

Publication number
WO2023224014A1
WO2023224014A1 PCT/JP2023/018169 JP2023018169W WO2023224014A1 WO 2023224014 A1 WO2023224014 A1 WO 2023224014A1 JP 2023018169 W JP2023018169 W JP 2023018169W WO 2023224014 A1 WO2023224014 A1 WO 2023224014A1
Authority
WO
WIPO (PCT)
Prior art keywords
stator
core
axial end
coil
bobbin
Prior art date
Legal status (The legal status is an assumption and is not a legal conclusion. Google has not performed a legal analysis and makes no representation as to the accuracy of the status listed.)
Ceased
Application number
PCT/JP2023/018169
Other languages
English (en)
French (fr)
Japanese (ja)
Inventor
祐樹 渡辺
工 鈴木
信二 三戸
Current Assignee (The listed assignees may be inaccurate. Google has not performed a legal analysis and makes no representation or warranty as to the accuracy of the list.)
Denso Corp
Original Assignee
Denso Corp
Priority date (The priority date is an assumption and is not a legal conclusion. Google has not performed a legal analysis and makes no representation as to the accuracy of the date listed.)
Filing date
Publication date
Application filed by Denso Corp filed Critical Denso Corp
Priority to EP23807616.0A priority Critical patent/EP4528988A4/en
Priority to CN202380040004.XA priority patent/CN119183631A/zh
Publication of WO2023224014A1 publication Critical patent/WO2023224014A1/ja
Priority to US18/948,095 priority patent/US20250070610A1/en
Anticipated expiration legal-status Critical
Ceased legal-status Critical Current

Links

Images

Classifications

    • HELECTRICITY
    • H02GENERATION; CONVERSION OR DISTRIBUTION OF ELECTRIC POWER
    • H02KDYNAMO-ELECTRIC MACHINES
    • H02K3/00Details of windings
    • H02K3/46Fastening of windings on the stator or rotor structure
    • H02K3/52Fastening salient pole windings or connections thereto
    • H02K3/521Fastening salient pole windings or connections thereto applicable to stators only
    • H02K3/522Fastening salient pole windings or connections thereto applicable to stators only for generally annular cores with salient poles
    • HELECTRICITY
    • H02GENERATION; CONVERSION OR DISTRIBUTION OF ELECTRIC POWER
    • H02KDYNAMO-ELECTRIC MACHINES
    • H02K1/00Details of the magnetic circuit
    • H02K1/06Details of the magnetic circuit characterised by the shape, form or construction
    • H02K1/12Stationary parts of the magnetic circuit
    • H02K1/14Stator cores with salient poles
    • H02K1/146Stator cores with salient poles consisting of a generally annular yoke with salient poles
    • H02K1/148Sectional cores
    • HELECTRICITY
    • H02GENERATION; CONVERSION OR DISTRIBUTION OF ELECTRIC POWER
    • H02KDYNAMO-ELECTRIC MACHINES
    • H02K1/00Details of the magnetic circuit
    • H02K1/06Details of the magnetic circuit characterised by the shape, form or construction
    • H02K1/12Stationary parts of the magnetic circuit
    • H02K1/18Means for mounting or fastening magnetic stationary parts on to, or to, the stator structures
    • HELECTRICITY
    • H02GENERATION; CONVERSION OR DISTRIBUTION OF ELECTRIC POWER
    • H02KDYNAMO-ELECTRIC MACHINES
    • H02K3/00Details of windings
    • H02K3/32Windings characterised by the shape, form or construction of the insulation
    • H02K3/325Windings characterised by the shape, form or construction of the insulation for windings on salient poles, such as claw-shaped poles
    • HELECTRICITY
    • H02GENERATION; CONVERSION OR DISTRIBUTION OF ELECTRIC POWER
    • H02KDYNAMO-ELECTRIC MACHINES
    • H02K3/00Details of windings
    • H02K3/44Protection against moisture or chemical attack; Windings specially adapted for operation in liquid or gas
    • HELECTRICITY
    • H02GENERATION; CONVERSION OR DISTRIBUTION OF ELECTRIC POWER
    • H02KDYNAMO-ELECTRIC MACHINES
    • H02K2203/00Specific aspects not provided for in the other groups of this subclass relating to the windings
    • H02K2203/12Machines characterised by the bobbins for supporting the windings

Definitions

  • the present disclosure relates to a stator and a rotating electric machine.
  • the stator described in Patent Document 1 includes a stator core formed of a plurality of core sheets stacked in the axial direction.
  • the stator core has an annular yoke portion and teeth extending toward the inner circumference from the yoke portion.
  • a coil is wound around the teeth.
  • the stator core is housed in the housing such that the outer peripheral surface of the yoke portion is in contact with the inner peripheral surface of the housing.
  • An object of the present disclosure is to provide a stator and a rotating electrical machine that can suppress buckling of a core sheet.
  • the stator includes a stator core that is formed of a plurality of core sheets stacked in the axial direction, and has an annular yoke portion and teeth extending inward from the yoke portion. , a bobbin that covers the teeth, a coil wound around the bobbin, and a pressing member having a contact portion that contacts an axial end surface of the yoke portion.
  • the rotating electrical machine includes a stator and a rotor facing the stator, and the stator is formed of a plurality of core sheets laminated in the axial direction. , a stator core having an annular yoke portion, teeth extending inward from the yoke portion, a bobbin covering the teeth, a coil wound around the bobbin, and an axial direction of the yoke portion. and a pressing member having a contact portion that contacts the end surface.
  • buckling of the portion of the core sheet that constitutes the yoke portion can be suppressed by the pressing member having the contact portion that comes into contact with the axial end surface of the yoke portion.
  • FIG. 1 is a schematic diagram of a rotating electric machine in an embodiment
  • FIG. 2 is a perspective view partially showing a stator of the same form in cross section
  • FIG. 3 is a schematic cross-sectional view of a stator of the same type
  • FIG. 4 is a schematic side view of a stator of the same form
  • FIG. 5 is a schematic side view of a stator of a modified example
  • FIG. 6 is a schematic side view of a stator of a modified example.
  • the rotating electric machine 10 includes a stator 11 and a rotor 12 facing the stator 11.
  • the stator 11 has an annular shape.
  • Rotor 12 is arranged inside stator 11 .
  • the rotor 12 has a rotating shaft 13.
  • the rotor 12 faces the stator 11 in the radial direction.
  • the stator 11 is housed in a cylindrical housing 14.
  • the stator 11 is housed in the housing 14 by shrink fitting, for example.
  • stator 11 (Configuration of stator 11) As shown in FIGS. 1 and 2, the stator 11 includes a stator core 20, a bobbin 30, a coil 40, and a resin molded portion 50 as a pressing member. In addition, in FIG. 2, a part of the resin mold part 50 is shown in cross section.
  • the stator core 20 has a plurality of split cores 21 arranged in an annular manner along the circumferential direction of the stator 11. For example, twelve divided cores 21 are provided.
  • the stator core 20 has, for example, twelve divided cores 21.
  • Each divided core 21 is made of, for example, a magnetic metal material.
  • the circumferential direction of the stator 11, the radial direction of the stator 11, and the axial direction of the stator 11 may be simply referred to as the "circumferential direction,” "radial direction,” and "axial direction,” respectively.
  • Each split core 21 has a core back 22 and teeth 23 extending from the core back 22 in the radial direction.
  • the plurality of split cores 21 are arranged along the circumferential direction so that each core back 22 has an annular shape as a whole.
  • Each tooth 23 extends along the radial direction.
  • the teeth 23 protrude radially inward from the inner surface of the core back 22, for example.
  • the tips of the teeth 23 face the axis L1 of the stator 11.
  • the base ends of the teeth 23 are the radially outer ends of the teeth 23.
  • each split core 21 is formed of a plurality of core sheets 24 stacked in the axial direction.
  • Each core sheet 24 is made of, for example, an electromagnetic steel plate.
  • Each core sheet 24 is fixed to each other, for example, by adhesive.
  • each core back 22 of each split core 21 are arranged in a ring shape in the circumferential direction.
  • Each core back 22 constitutes an annular yoke portion 25.
  • Each core back 22 is in contact with adjacent core backs 22 on both sides in the circumferential direction.
  • the radially outer surface of each core back 22 forms the outer circumferential surface of the yoke portion 25.
  • the outer peripheral surface of the yoke portion 25 that is, the radially outer surface of each core back 22 is in contact with the inner peripheral surface of the housing 14 .
  • Each tooth 23 extends from the yoke portion 25 toward the inner circumference.
  • each core back 22 forms the axial end surface 25a of the yoke portion 25.
  • the axial end faces of each core back 22 are located, for example, on the same plane perpendicular to the axis L1. That is, the axial end faces 25a on both axial sides of the yoke portion 25 have a planar shape perpendicular to the axis L1.
  • Each split core 21 is provided with a bobbin 30.
  • a plurality of bobbins 30 are provided corresponding to the plurality of divided cores 21, respectively.
  • the bobbin 30 has a tooth covering portion 31 that covers the teeth 23.
  • the coil 40 is wound around each tooth covering portion 31 . That is, the teeth covering portion 31 of the bobbin 30 is interposed between the split core 21 and the coil 40. Thereby, the bobbin 30 electrically insulates between the split core 21 and the coil 40.
  • each of the split core 21, bobbin 30, and coil 40 constitutes one integral part.
  • the bobbin 30 is made of an insulator such as synthetic resin. As the material for the bobbin 30, for example, epoxy resin or the like can be used.
  • the bobbin 30 is, for example, molded onto the split core 21. That is, it is formed integrally with the split core 21. This allows the bobbin 30 to be in close contact with the split core 21.
  • the resin mold section 50 covers, for example, a plurality of coils 40 all together.
  • the coil 40 has a first end 41 as one axial end and a second end 42 as the other axial end.
  • the resin mold part 50 has a first covering part 51 that covers the first end 41 of the coil 40 and a second covering part 52 that covers the second end 42 of the coil 40.
  • the first covering portion 51 covers the axially outer side of the first end 41 of the coil 40 and both sides of the first end 41 in the radial direction.
  • the second covering portion 52 covers the axially outer side of the second end portion 42 of the coil 40 and both sides of the second end portion 42 in the radial direction.
  • the resin mold part 50 has a connecting part 53 that connects the first covering part 51 and the second covering part 52 by passing between the circumferentially adjacent teeth 23. .
  • the connecting portion 53 is filled between each of the plurality of teeth 23 .
  • the first covering part 51 and the second covering part 52 are connected to each other by a plurality of connecting parts 53.
  • stator 11 for example, an integral part including the split core 21, the bobbin 30, and the coil 40 is arranged in an annular shape. After that, each coil 40 is electrically connected by, for example, a bus bar. Thereafter, for example, a resin mold part 50 is molded to collectively cover each coil 40, each bobbin 30, the bus bar, and the like.
  • the resin mold part 50 is made of, for example, a resin having higher thermal conductivity than the bobbin 30.
  • a resin having higher thermal conductivity than the bobbin 30 for example, a material obtained by mixing an epoxy resin or an unsaturated polyester resin with alumina powder or the like can be used.
  • the thermal conductivity of the bobbin 30 is set to, for example, 1.0 (W/m ⁇ K).
  • the thermal conductivity of the resin molded part 50 is preferably set to, for example, 2.0 (W/m ⁇ K) or more.
  • the resin molded part 50 has a structure with a large spring constant.
  • the spring constant of the resin molded portion 50 is large, the volume of the resin molded portion 50 required to suppress buckling of the yoke portion 25 can be kept small. As a result, the weight of the resin molded part 50 can be kept small.
  • each of the first covering part 51 and the second covering part 52 has a contact part 54 that comes into contact with the axial end surface 25a of the yoke part 25.
  • the contact portion 54 of the first covering portion 51 is in axial contact with the axial end surface 25a on one axial side.
  • the contact portion 54 of the second covering portion 52 is in axial contact with the axial end surface 25a on the other axial side. That is, the contact portions 54 of each of the first covering portion 51 and the second covering portion 52 are provided so as to sandwich the yoke portion 25 in the axial direction.
  • the contact portion 54 has a continuous annular shape along the circumferential direction.
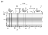
  • the contact portion 54 is in contact with each axial end surface 25a in the entire circumferential direction of the yoke portion 25. That is, as shown in FIG. 4, the contact portion 54 contacts the axial end surface 25a at the boundary portion 22x where the circumferentially adjacent core backs 22 contact each other. Further, the contact portion 54 is in contact with the axial end surface 25a of each core back 22 at the circumferential center portion 22y.
  • Yoke portion 25 of stator core 20 receives radially inward force from housing 14 .
  • the yoke portion 25 receives a radially inward force from the housing 14 more significantly.
  • a force is generated in each core back 22 constituting the yoke portion 25 in a direction in which the core backs 22 approach each other in the circumferential direction. Therefore, if no measures are taken, there is a risk that the core sheets 24 in each core back 22 forming the yoke portion 25 may buckle due to stress during shrink fitting, for example.
  • the contact portion 54 of the resin molded portion 50 is brought into contact with the axial end surface 25a of the yoke portion 25.
  • the contact portion 54 presses the axial end surface 25a of the yoke portion 25, so that the core back 22 in the core sheet 24 Buckling of the constituent parts is suppressed.
  • the force that causes the yoke portion 25 to buckle is applied in the direction of expanding both sides in the axial direction, and each contact portion 54 of the first covering portion 51 and the second covering portion 52 receives this force.
  • the force that causes the yoke part 25 to buckle is absorbed by each of the first covering part 51 and the second covering part 52. It becomes possible to suitably receive the contact portion 54.
  • the rotor 12 rotates due to the interaction with the rotating magnetic field generated in the stator 11 by energizing each coil 40.
  • the coil 40 generates heat due to the energization.
  • a part of the heat of the coil 40 is released to the outside via the resin molded part 50.
  • An example of the heat radiation path is, for example, a heat radiation path from the coil 40 to the stator core 20 via the resin molded part 50.
  • the resin mold part 50 is formed of a material having higher thermal conductivity than the bobbin 30, it is possible to further improve heat dissipation.
  • the stator 11 includes a resin molded portion 50 as a pressing member having a contact portion 54 that contacts the axial end surface 25a of the yoke portion 25. According to this configuration, buckling of the portion of the core sheet 24 that constitutes the yoke portion 25 can be suppressed by the resin molded portion 50 having the contact portion 54 that comes into contact with the axial end surface 25a of the yoke portion 25. Become.
  • the stator core 20 is composed of a plurality of split cores 21 arranged along the circumferential direction.
  • Each of the plurality of divided cores 21 has a core back 22 that constitutes a yoke portion 25 and teeth 23 extending from the core back 22.
  • the yoke portion 25 is constituted by the core back 22 of each divided core 21. Therefore, each divided core back 22 is more likely to buckle due to the force received from the housing 14. Therefore, it becomes possible to obtain a more remarkable effect of suppressing buckling by the contact portion 54.
  • the contact portion 54 is in contact with the axial end surface 25a of the yoke portion 25 in the entire circumferential direction. According to this configuration, in each core back 22, it is possible to press both the boundary portion 22x and the circumferential center portion 22y, where buckling is likely to occur, with the contact portion 54. Therefore, buckling of the yoke portion 25 can be suppressed more suitably by the contact portion 54.
  • the resin mold part 50 covers the coil 40.
  • the coil 40 has a first end 41 as one axial end and a second end 42 as the other axial end.
  • the resin mold part 50 includes a first covering part 51 that covers the first end 41 of the coil 40, a second covering part 52 that covers the second end 42 of the coil 40, and a space between the circumferentially adjacent coils 40. It has a connecting part 53 that passes through and connects the first covering part 51 and the second covering part 52.
  • the contact portion 54 is included in the first covering portion 51 and the second covering portion 52, respectively. According to this configuration, the contact portion 54 of the first covering portion 51 and the contact portion 54 of the second covering portion 52 sandwich the yoke portion 25 in the axial direction.
  • first covering part 51 and the second covering part 52 are connected to each other by a connecting part 53. Therefore, buckling of the yoke portion 25 can be suppressed more suitably by the contact portions 54 on both sides of the yoke portion 25 in the axial direction.
  • the stator core 20 has a plurality of teeth 23 arranged along the circumferential direction.
  • a plurality of coils 40 are provided corresponding to the plurality of teeth 23, respectively.
  • the resin mold part 50 covers the plurality of coils 40 all together. It becomes possible to improve the heat dissipation of the coil 40 via the resin molded part 50. As a result, it is possible to contribute to increasing the output of the rotating electric machine 10.
  • the resin mold part 50 is made of a material with higher thermal conductivity than the bobbin 30. It becomes possible to further improve the heat dissipation of the coil 40 via the resin molded part 50.
  • the contact portion 54 may be configured to partially contact the axial end surface 25a in the circumferential direction of the yoke portion 25. According to such a configuration, it is possible to reduce the volume of the resin mold part 50. As a result, it is possible to contribute to reducing the weight of the stator 11.
  • the contact portion 54 contacts the axial end surface 25a at each boundary portion 22x where circumferentially adjacent core backs 22 contact each other. According to such a configuration, it is possible to reduce the weight of the resin molded portion 50 while suppressing buckling of the boundary portion 22x, which is likely to buckle, in the core back 22. In this case, the resin molded portion 50 including the contact portions 54 may be scattered in the circumferential direction. Alternatively, as in the configuration shown in FIG. 5, the resin molded portion 50 may not cover the outer side of the coil 40 in the axial direction.
  • the contact portion 54 is in contact with the axial end surface 25a of each core back 22 at the circumferential center portion 22y. According to such a configuration, while reducing the weight of the resin molded portion 50, it is possible to suppress buckling of the circumferential center portion 22y, which is likely to buckle, in the core back 22.
  • the resin mold part 50 may be formed of a material having the same thermal conductivity as the bobbin 30 or a material having a lower thermal conductivity than the bobbin 30.
  • Each core sheet 24 may be fixed to each other by caulking, for example.
  • each core sheet 24 may be fixed to each other by caulking or adhesive, for example.
  • each core sheet 24 may be fixed to each other by welding such as laser welding, for example.
  • An adhesive may be used to fix each core sheet 24 to each other as temporary fixation until the resin mold part 50 is formed.
  • the adhesive strength of the adhesive is sufficient as long as it has enough adhesive strength to form the resin mold part 50, so there are few restrictions on the selection of the material for the adhesive.
  • the stator core 20 is not limited to the configuration formed by a plurality of split cores 21, but may be formed from an integral part. Even in such a configuration, buckling of the portion of the core sheet 24 that constitutes the yoke portion 25 can be suppressed by the contact portion 54.
  • the present invention is not limited to this, and, for example, a separately manufactured bobbin may be attached to the stator core 20.
  • the number of split cores 21 and teeth 23 is not limited to the above embodiment, and can be changed as appropriate depending on the configuration.
  • the rotating electric machine 10 of the above embodiment is an inner rotor type rotating electric machine in which the rotor 12 is arranged on the inner circumferential side of the stator 11, but in addition to this, for example, an outer rotor type rotating electric machine in which the rotor is arranged on the outer circumferential side of the stator is used. It may also be applied to rotating electric machines.
  • a stator core formed of a plurality of core sheets (24) stacked in the axial direction and having an annular yoke portion (25) and teeth (23) extending inward from the yoke portion) 20
  • a bobbin (30) that covers the teeth
  • a coil 40
  • a contact portion (54) that contacts the axial end surface (25a) of the yoke portion.
  • a stator comprising a pressing member (50).
  • the stator core is composed of a plurality of split cores (21) lined up along the circumferential direction, and each of the plurality of split cores includes a core back (22) that constitutes the yoke portion, and a core back (22) that forms the yoke portion.
  • the pressing member is a resin mold part (50) that covers the coil, and the coil has one axial end part (41) and the other axial end part (42), and the resin mold part (50) covers the coil.
  • the section includes a first covering part (51) that covers the one axial end of the coil, a second covering part (52) that covers the other axial end of the coil, and the first covering part and the first covering part.
  • a connecting part (53) connecting two covering parts, and the contact part is included in the first covering part and the second covering part, respectively, according to [1] to [6] above.
  • a stator according to any one of the above.
  • the stator core has a plurality of teeth lined up along the circumferential direction, a plurality of coils are provided corresponding to the plurality of teeth, and the resin mold section collects the plurality of coils together.
  • a rotating electrical machine comprising a stator (11) and a rotor (12) facing the stator, the stator comprising a plurality of core sheets (24) laminated in the axial direction.
  • a rotating electrical machine comprising a wound coil (40) and a pressing member (50) having a contact portion (54) that contacts the axial end surface (25a) of the yoke portion.

Landscapes

  • Engineering & Computer Science (AREA)
  • Power Engineering (AREA)
  • Iron Core Of Rotating Electric Machines (AREA)
  • Insulation, Fastening Of Motor, Generator Windings (AREA)
PCT/JP2023/018169 2022-05-16 2023-05-15 ステータ及び回転電機 Ceased WO2023224014A1 (ja)

Priority Applications (3)

Application Number Priority Date Filing Date Title
EP23807616.0A EP4528988A4 (en) 2022-05-16 2023-05-15 STATOR AND ROTATING ELECTRIC MACHINE
CN202380040004.XA CN119183631A (zh) 2022-05-16 2023-05-15 定子及旋转电机
US18/948,095 US20250070610A1 (en) 2022-05-16 2024-11-14 Stator and rotating electric machine

Applications Claiming Priority (2)

Application Number Priority Date Filing Date Title
JP2022080006A JP2023168728A (ja) 2022-05-16 2022-05-16 ステータ及び回転電機
JP2022-080006 2022-05-16

Related Child Applications (1)

Application Number Title Priority Date Filing Date
US18/948,095 Continuation US20250070610A1 (en) 2022-05-16 2024-11-14 Stator and rotating electric machine

Publications (1)

Publication Number Publication Date
WO2023224014A1 true WO2023224014A1 (ja) 2023-11-23

Family

ID=88835500

Family Applications (1)

Application Number Title Priority Date Filing Date
PCT/JP2023/018169 Ceased WO2023224014A1 (ja) 2022-05-16 2023-05-15 ステータ及び回転電機

Country Status (5)

Country Link
US (1) US20250070610A1 (enExample)
EP (1) EP4528988A4 (enExample)
JP (1) JP2023168728A (enExample)
CN (1) CN119183631A (enExample)
WO (1) WO2023224014A1 (enExample)

Cited By (1)

* Cited by examiner, † Cited by third party
Publication number Priority date Publication date Assignee Title
JP7573798B1 (ja) * 2024-04-24 2024-10-25 三菱電機株式会社 固定子および電動機

Citations (6)

* Cited by examiner, † Cited by third party
Publication number Priority date Publication date Assignee Title
JPH05336711A (ja) * 1992-05-28 1993-12-17 Yaskawa Electric Corp 電動機の固定子の製造方法
JP2000341889A (ja) * 1999-05-25 2000-12-08 Hitachi Ltd 回転機用コア、その製造方法、コア用素片および回転機
JP2002153008A (ja) * 2000-11-09 2002-05-24 Hitachi Ltd 回転電機
JP2010288424A (ja) 2009-06-15 2010-12-24 Denso Corp 回転電機の固定子及び回転電機
WO2017145332A1 (ja) * 2016-02-25 2017-08-31 株式会社安川電機 回転電機及び回転電機の製造方法
JP2019080429A (ja) * 2017-10-24 2019-05-23 日立オートモティブシステムズ株式会社 回転電機、回転電機の製造方法、固定子

Family Cites Families (2)

* Cited by examiner, † Cited by third party
Publication number Priority date Publication date Assignee Title
US10256688B1 (en) * 2017-10-10 2019-04-09 Zero E Technologies, Llc Electric machine rotor cooling systems and methods
US11955858B2 (en) * 2019-03-13 2024-04-09 Top Co., Ltd. Rotary machine and insulator

Patent Citations (6)

* Cited by examiner, † Cited by third party
Publication number Priority date Publication date Assignee Title
JPH05336711A (ja) * 1992-05-28 1993-12-17 Yaskawa Electric Corp 電動機の固定子の製造方法
JP2000341889A (ja) * 1999-05-25 2000-12-08 Hitachi Ltd 回転機用コア、その製造方法、コア用素片および回転機
JP2002153008A (ja) * 2000-11-09 2002-05-24 Hitachi Ltd 回転電機
JP2010288424A (ja) 2009-06-15 2010-12-24 Denso Corp 回転電機の固定子及び回転電機
WO2017145332A1 (ja) * 2016-02-25 2017-08-31 株式会社安川電機 回転電機及び回転電機の製造方法
JP2019080429A (ja) * 2017-10-24 2019-05-23 日立オートモティブシステムズ株式会社 回転電機、回転電機の製造方法、固定子

Non-Patent Citations (1)

* Cited by examiner, † Cited by third party
Title
See also references of EP4528988A4

Cited By (2)

* Cited by examiner, † Cited by third party
Publication number Priority date Publication date Assignee Title
JP7573798B1 (ja) * 2024-04-24 2024-10-25 三菱電機株式会社 固定子および電動機
WO2025224896A1 (ja) * 2024-04-24 2025-10-30 三菱電機株式会社 固定子および電動機

Also Published As

Publication number Publication date
EP4528988A4 (en) 2025-09-17
US20250070610A1 (en) 2025-02-27
EP4528988A1 (en) 2025-03-26
CN119183631A (zh) 2024-12-24
JP2023168728A (ja) 2023-11-29

Similar Documents

Publication Publication Date Title
US10050480B2 (en) Axial flux machine having a lightweight design
JP2009142031A (ja) 回転電機用ステータ
JP7395870B2 (ja) アキシャルギャップモーター
JP2008035616A (ja) モータ
US6365999B1 (en) Stator module for an electric motor
US10693329B2 (en) Polyphase claw pole motor and stator of the polyphase claw pole motor
JP2004248471A (ja) 固定子ピースおよびこれを用いたモータ固定子
JP2005102461A (ja) 永久磁石電動機
JP5258801B2 (ja) モータの電機子
US20250070610A1 (en) Stator and rotating electric machine
JP7211883B2 (ja) ステータおよびモータ
JP2023174314A (ja) ステータ
WO2020054469A1 (ja) ステータ及びそれを用いたモータ
JP6465330B1 (ja) 多相クローポールモータ
US11689073B2 (en) Rotor core design
JP5286121B2 (ja) トロイダル巻線モータ
JP2007195281A (ja) 回転電機用ステータコアおよびそのステータコアを用いたステータ
JP2007104879A (ja) 回転電機用分割コアおよびその分割コアを用いたステータ
WO2023228990A1 (ja) ステータ及び回転電機
JP2018026940A (ja) アウターロータ型多極発電機におけるステータ構造
JP2020036437A (ja) 多相クローポールモータ
JP7203639B2 (ja) 回転電機
JP2007325354A (ja) 電磁機械の固定子およびその製造方法
US20240396383A1 (en) Electric motor stator, electric motor, and method for manufacturing electric motor stator
WO2024247427A1 (ja) 固定子およびそれを備えた電動機

Legal Events

Date Code Title Description
121 Ep: the epo has been informed by wipo that ep was designated in this application

Ref document number: 23807616

Country of ref document: EP

Kind code of ref document: A1

WWE Wipo information: entry into national phase

Ref document number: 2023807616

Country of ref document: EP

NENP Non-entry into the national phase

Ref country code: DE

ENP Entry into the national phase

Ref document number: 2023807616

Country of ref document: EP

Effective date: 20241216