WO2022191069A1 - メタン製造システム及びメタン製造方法 - Google Patents

メタン製造システム及びメタン製造方法 Download PDF

Info

Publication number
WO2022191069A1
WO2022191069A1 PCT/JP2022/009406 JP2022009406W WO2022191069A1 WO 2022191069 A1 WO2022191069 A1 WO 2022191069A1 JP 2022009406 W JP2022009406 W JP 2022009406W WO 2022191069 A1 WO2022191069 A1 WO 2022191069A1
Authority
WO
WIPO (PCT)
Prior art keywords
reforming
electrolysis
electrolytic
electrode
cell
Prior art date
Legal status (The legal status is an assumption and is not a legal conclusion. Google has not performed a legal analysis and makes no representation as to the accuracy of the status listed.)
Ceased
Application number
PCT/JP2022/009406
Other languages
English (en)
French (fr)
Japanese (ja)
Inventor
博史 菅
淳史 鳥井
Current Assignee (The listed assignees may be inaccurate. Google has not performed a legal analysis and makes no representation or warranty as to the accuracy of the list.)
NGK Insulators Ltd
Original Assignee
NGK Insulators Ltd
Priority date (The priority date is an assumption and is not a legal conclusion. Google has not performed a legal analysis and makes no representation as to the accuracy of the date listed.)
Filing date
Publication date
Application filed by NGK Insulators Ltd filed Critical NGK Insulators Ltd
Priority to JP2023505504A priority Critical patent/JP7507306B2/ja
Priority to EP22767026.2A priority patent/EP4306502A4/en
Priority to AU2022234935A priority patent/AU2022234935B2/en
Priority to CN202280011553.XA priority patent/CN116867757A/zh
Publication of WO2022191069A1 publication Critical patent/WO2022191069A1/ja
Priority to US18/354,123 priority patent/US20230357935A1/en
Anticipated expiration legal-status Critical
Ceased legal-status Critical Current

Links

Images

Classifications

    • CCHEMISTRY; METALLURGY
    • C25ELECTROLYTIC OR ELECTROPHORETIC PROCESSES; APPARATUS THEREFOR
    • C25BELECTROLYTIC OR ELECTROPHORETIC PROCESSES FOR THE PRODUCTION OF COMPOUNDS OR NON-METALS; APPARATUS THEREFOR
    • C25B3/00Electrolytic production of organic compounds
    • C25B3/01Products
    • C25B3/03Acyclic or carbocyclic hydrocarbons
    • CCHEMISTRY; METALLURGY
    • C07ORGANIC CHEMISTRY
    • C07CACYCLIC OR CARBOCYCLIC COMPOUNDS
    • C07C1/00Preparation of hydrocarbons from one or more compounds, none of them being a hydrocarbon
    • C07C1/02Preparation of hydrocarbons from one or more compounds, none of them being a hydrocarbon from oxides of a carbon
    • C07C1/04Preparation of hydrocarbons from one or more compounds, none of them being a hydrocarbon from oxides of a carbon from carbon monoxide with hydrogen
    • CCHEMISTRY; METALLURGY
    • C07ORGANIC CHEMISTRY
    • C07CACYCLIC OR CARBOCYCLIC COMPOUNDS
    • C07C9/00Aliphatic saturated hydrocarbons
    • C07C9/02Aliphatic saturated hydrocarbons with one to four carbon atoms
    • C07C9/04Methane
    • CCHEMISTRY; METALLURGY
    • C25ELECTROLYTIC OR ELECTROPHORETIC PROCESSES; APPARATUS THEREFOR
    • C25BELECTROLYTIC OR ELECTROPHORETIC PROCESSES FOR THE PRODUCTION OF COMPOUNDS OR NON-METALS; APPARATUS THEREFOR
    • C25B1/00Electrolytic production of inorganic compounds or non-metals
    • C25B1/01Products
    • C25B1/02Hydrogen or oxygen
    • C25B1/04Hydrogen or oxygen by electrolysis of water
    • CCHEMISTRY; METALLURGY
    • C25ELECTROLYTIC OR ELECTROPHORETIC PROCESSES; APPARATUS THEREFOR
    • C25BELECTROLYTIC OR ELECTROPHORETIC PROCESSES FOR THE PRODUCTION OF COMPOUNDS OR NON-METALS; APPARATUS THEREFOR
    • C25B1/00Electrolytic production of inorganic compounds or non-metals
    • C25B1/01Products
    • C25B1/23Carbon monoxide or syngas
    • CCHEMISTRY; METALLURGY
    • C25ELECTROLYTIC OR ELECTROPHORETIC PROCESSES; APPARATUS THEREFOR
    • C25BELECTROLYTIC OR ELECTROPHORETIC PROCESSES FOR THE PRODUCTION OF COMPOUNDS OR NON-METALS; APPARATUS THEREFOR
    • C25B15/00Operating or servicing cells
    • C25B15/02Process control or regulation
    • C25B15/021Process control or regulation of heating or cooling
    • CCHEMISTRY; METALLURGY
    • C25ELECTROLYTIC OR ELECTROPHORETIC PROCESSES; APPARATUS THEREFOR
    • C25BELECTROLYTIC OR ELECTROPHORETIC PROCESSES FOR THE PRODUCTION OF COMPOUNDS OR NON-METALS; APPARATUS THEREFOR
    • C25B15/00Operating or servicing cells
    • C25B15/08Supplying or removing reactants or electrolytes; Regeneration of electrolytes
    • CCHEMISTRY; METALLURGY
    • C25ELECTROLYTIC OR ELECTROPHORETIC PROCESSES; APPARATUS THEREFOR
    • C25BELECTROLYTIC OR ELECTROPHORETIC PROCESSES FOR THE PRODUCTION OF COMPOUNDS OR NON-METALS; APPARATUS THEREFOR
    • C25B15/00Operating or servicing cells
    • C25B15/08Supplying or removing reactants or electrolytes; Regeneration of electrolytes
    • C25B15/087Recycling of electrolyte to electrochemical cell
    • CCHEMISTRY; METALLURGY
    • C25ELECTROLYTIC OR ELECTROPHORETIC PROCESSES; APPARATUS THEREFOR
    • C25BELECTROLYTIC OR ELECTROPHORETIC PROCESSES FOR THE PRODUCTION OF COMPOUNDS OR NON-METALS; APPARATUS THEREFOR
    • C25B3/00Electrolytic production of organic compounds
    • C25B3/20Processes
    • C25B3/25Reduction
    • YGENERAL TAGGING OF NEW TECHNOLOGICAL DEVELOPMENTS; GENERAL TAGGING OF CROSS-SECTIONAL TECHNOLOGIES SPANNING OVER SEVERAL SECTIONS OF THE IPC; TECHNICAL SUBJECTS COVERED BY FORMER USPC CROSS-REFERENCE ART COLLECTIONS [XRACs] AND DIGESTS
    • Y02TECHNOLOGIES OR APPLICATIONS FOR MITIGATION OR ADAPTATION AGAINST CLIMATE CHANGE
    • Y02EREDUCTION OF GREENHOUSE GAS [GHG] EMISSIONS, RELATED TO ENERGY GENERATION, TRANSMISSION OR DISTRIBUTION
    • Y02E60/00Enabling technologies; Technologies with a potential or indirect contribution to GHG emissions mitigation
    • Y02E60/30Hydrogen technology
    • Y02E60/36Hydrogen production from non-carbon containing sources, e.g. by water electrolysis

Definitions

  • the present invention relates to a methane production system and a methane production method.
  • Patent Document 1 discloses a hydrogen electrode that electrolyzes H 2 O, an electrolyte capable of conducting O 2 ⁇ , and an oxygen electrode that generates O 2 from O 2 ⁇ transferred from the hydrogen electrode via the electrolyte.
  • a solid oxide electrolysis cell hereinafter abbreviated as "SOEC" is disclosed.
  • Patent Document 2 discloses that H 2 and CO can be produced by co-electrolyzing CO 2 and H 2 O at the hydrogen electrode of an SOEC.
  • the present invention has been made in view of the circumstances described above, and an object of the present invention is to provide a methane production system and a methane production method capable of producing H 2 and CO and CH 4 on-site.
  • a methane production system includes a co-electrolytic/reforming cell and a control unit that controls the operating temperature of the co-electrolytic/reforming cell.
  • a co-electrolytic/reforming cell has a first electrode, a second electrode, and an electrolyte disposed between the first and second electrodes.
  • the co-electrolysis/reforming cell has a co-electrolysis mode producing H2 and CO from CO2 and H2O at the first electrode and CH4 at the first electrode from H2 and CO produced in the co - electrolysis mode. It operates in either a reforming mode to produce.
  • the control unit makes the operating temperature of the co-electrolytic/reforming cell in the reforming mode lower than the operating temperature of the co-electrolytic/reforming cell in the co-electrolytic mode.
  • FIG. 1 is a block diagram showing the configuration of a methane production system.
  • FIG. 2 is a perspective view of a co-electrolysis/reformer.
  • FIG. 3 is a cross-sectional view of a co-electrolysis/reformer.
  • FIG. 4 is a perspective view of a co-electrolytic/reforming cell.
  • FIG. 5 is a cross-sectional view of a co-electrolytic/reforming cell.
  • FIG. 6 is a flowchart for explaining the methane production method.
  • FIG. 1 is a block diagram showing the configuration of a methane production system 1 according to this embodiment.
  • the methane production system 1 includes a CO 2 supply device 10 , an H 2 O supply device 20 , a co-electrolysis/reformer 30 , a storage/supply section 40 , a methane storage section 50 and a control section 60 .
  • the CO 2 supply device 10 is connected to the co-electrolysis/reformer 30 via the first pipe L1.
  • the CO 2 supply device 10 supplies CO 2 (carbon dioxide) to the co-electrolysis/reformer 30 .
  • the CO2 feed rate from the CO2 feeder 10 to the co-electrolysis/reformer 30 is preferably constant. Thereby, C (solid carbon) and CO 2 are produced due to the disproportionation reaction of CO (carbon monoxide) produced in each co-electrolysis/reforming cell 32 of the co-electrolysis/reformer 30. It can be suppressed.
  • each co-electrolytic/reformer cell 32 described below operates in reforming mode, the CO 2 supply device 10 does not supply CO 2 to the co-electrolytic/reformer 30 .
  • the H 2 O supply device 20 is connected to the co-electrolysis/reformer 30 via the first pipe L1.
  • the H 2 O supply device 20 supplies H 2 O (moisture) to the co-electrolytic/reformer 30 .
  • the H 2 O supplied from the H 2 O supply device 20 to the co-electrolysis/reformer 30 is wholly or mostly gaseous (water vapor), but some may be liquid (water).
  • the H 2 O supply device 20 does not supply H 2 O to the co-electrolytic/reformer 30 .
  • the co-electrolytic/reforming device 30 has a manifold 31 and a plurality of co-electrolytic/reforming cells 32 .
  • the manifold 31 has a configuration capable of distributing gas to each co-electrolysis/reformer cell 32 and recovering gas from each co-electrolysis/reformer.
  • the manifold 31 has a gas supply chamber 31a and a gas recovery chamber 31b inside.
  • the gas supply chamber 31a and the gas recovery chamber 31b are airtightly separated from each other.
  • a first pipe L1 is connected to the gas supply chamber 31a.
  • CO 2 and H 2 O are supplied to the gas supply chamber 31a from the first pipe L1.
  • H 2 and CO are supplied to the gas supply chamber 31a from the first pipe L1.
  • the gas recovery chamber 31b recovers the gas generated in each co-electrolytic/reforming cell 32.
  • a second pipe L2 is connected to the gas recovery chamber 31b.
  • H 2 and CO are discharged from the gas recovery chamber 31b to the second pipe L2.
  • CH 4 and H 2 O are discharged from the gas recovery chamber 31b to the second pipe L2.
  • a reforming catalyst may be arranged in the gas recovery chamber 31b.
  • the reforming catalyst may be in the form of pellets.
  • the reforming catalyst may be filled in the gas recovery chamber 31b.
  • Ru/Al 2 O 3 , Ni/Al 2 O 3 or the like can be used.
  • each co-electrolytic/reforming cell 32 is supported by the manifold 31 .
  • the tip of each co-electrolytic/reforming cell 32 is a free end.
  • the number of co-electrolytic/reforming cells 32 is not particularly limited, and may be one or more.
  • Each co-electrolytic/reforming cell 32 operates in a co - electrolytic mode producing H 2 (hydrogen), CO and O 2 (oxygen) from CO 2 and H 2 O, and It operates either in reforming mode to produce CH 4 (methane).
  • co-electrolysis means producing H 2 , CO and O 2 by electrolyzing CO 2 and H 2 O together.
  • reforming means producing CH4 and H2O from H2 and CO.
  • each co-electrolytic/reforming cell 32 operates at a high temperature (eg, 600°C to 850°C).
  • the operating temperature of each co-electrolytic/reforming cell 32 in the co-electrolytic mode is preferably 700° C. or higher and 850° C. or lower. By setting the operating temperature to 700° C. or higher, the CO concentration can be increased in thermodynamic equilibrium. By setting the operating temperature to 850° C. or lower, the amount of oxide ions flowing through the interconnector can be suppressed.
  • each co-electrolytic/reforming cell 32 operates at a lower temperature (eg, 200° C.-500° C.) than the operating temperature of the co-electrolytic mode.
  • the operating temperature of each co-electrolytic/reforming cell 32 in the reforming mode is preferably 350° C. or higher and 400° C. or lower. By setting the operating temperature to 350° C. or higher, it is possible to suppress phase transformation of the constituent material of the support substrate 35 to carbonate. By setting the operating temperature to 400° C. or lower, it is possible to suppress reforming of the generated CH 4 to H 2 and CO again.
  • the operating temperature of the co-electrolytic/reforming cell 32 means the temperature at the center of the co-electrolytic/reforming cell 32 in the longitudinal direction (x-axis direction).
  • the operating temperature of each co-electrolytic/reforming cell 32 is controlled by the controller 60 .
  • each co-electrolysis/reforming cell 32 is supplied with CO 2 and H 2 O from the gas supply chamber 31a.
  • H 2 , CO and O 2 ⁇ oxygen ions
  • CO 2 and O 2 ⁇ oxygen ions
  • the generated H 2 and CO are recovered in the gas recovery chamber 31b and then discharged from the second pipe L2.
  • each co-electrolytic/reforming cell 32 is supplied with H 2 and CO from the gas supply chamber 31a.
  • CH 4 and H 2 O are produced from H 2 and CO at the first electrode 2 .
  • the generated CH 4 and H 2 O are discharged from the second pipe L2 after being recovered in the gas recovery chamber 31b.
  • the storage/supply unit 40 is connected to the co-electrolysis/reformer 30 .
  • the storage/supply unit 40 is connected to the co-electrolysis/reformer 30 via the second pipe L2 and the third pipe L3.
  • the storage/supply unit 40 is directly connected to the gas recovery chamber 31b of the co-electrolysis/reformer 30 via the second pipe L2, and the gas recovery chamber 31b of the co-electrolysis/reformer 30 is connected via the third pipe L3. It is directly connected to the supply chamber 31a.
  • the storage/supply unit 40 stores H 2 and CO discharged from the gas recovery chamber 31b through the second pipe L2. Therefore, the H 2 and CO produced in the co-electrolysis/reformer 30 are stored in the storage/supply section 40 as they are without their compositions being changed.
  • the storage/supply unit 40 supplies the stored H 2 and CO to the gas supply chamber 31a through the third pipe L3. Therefore, the H 2 and CO produced in the co-electrolyzer/reformer 30 are returned to the co-electrolyte/reformer 30 as they are without being altered in composition.
  • reservoir/supply 40 does not receive gas discharged from co-electrolysis/reformer 30 .
  • the methane reservoir 50 is connected to the co-electrolysis/reformer 30 .
  • the methane reservoir 50 is connected to the co-electrolysis/reformer 30 via the second pipe L2.
  • the methane reservoir 50 is directly connected to the gas recovery chamber 31b of the co-electrolysis/reformer 30 by the second pipe L2.
  • the methane reservoir 50 stores CH 4 and H 2 O discharged from the gas recovery chamber 31b through the second pipe L2.
  • the methane reservoir 50 does not receive gas discharged from the co-electrolytic/reformer 30 .
  • the control unit 60 controls the operating temperature of each co-electrolytic/reforming cell 32 .
  • the control unit 60 adjusts at least one of the current value, the amount of gas supplied to the first electrode 2, which will be described later, and the amount of gas supplied to the first electrode 2, so that each common electrolysis/reforming cell 32 operating temperature can be controlled.
  • the control unit 60 makes the operating temperature of the co-electrolytic/reforming cells 32 in the reforming mode lower than the operating temperature of the co-electrolytic/reforming cells 32 in the co-electrolytic mode.
  • the controller 60 drives the pump 60a arranged in the third pipe L3.
  • the H 2 and CO stored in the storage/supply unit 40 are supplied to the gas supply chamber 31a of the co-electrolysis/reformer 30 via the third pipe L3.
  • the controller 60 does not drive the pump 60a when each co-electrolytic/reforming cell 32 operates in the co-electrolytic mode.
  • FIG. 2 is a perspective view of the co-electrolysis/reformer 30.
  • FIG. 3 is a cross-sectional view of a co-electrolysis/reformer 30.
  • FIG. 4 is a perspective view of the co-electrolytic/reforming cell 32. As shown in FIG. Some of the co-electrolytic/reforming cells 32 are omitted from FIG.
  • the manifold 31 As shown in FIGS. 2 and 3, the manifold 31 has a manifold body portion 33 and a partition plate .
  • the manifold body 33 is hollow.
  • the partition plate 34 is arranged inside the manifold body portion 33 .
  • the partition plate 34 airtightly separates the gas supply chamber 31a and the gas recovery chamber 31b.
  • the manifold body portion 33 has a top plate portion 33a. As shown in FIG. 3, a plurality of through holes 33b are formed in the top plate portion 33a. The through-holes 33b are arranged at predetermined intervals in the longitudinal direction (z-axis direction) of the manifold body portion 33 . Each through-hole 33b extends in the width direction (y-axis direction) of the manifold body portion 33 . In this embodiment, each through-hole 33b is an elongated hole communicating with both the gas supply chamber 31a and the gas recovery chamber 31b. may be separated.
  • each co-electrolytic/reforming cell 32 extends away from manifold 31 .
  • a base end portion of each co-electrolytic/reforming cell 32 is fixed to a through hole 33b of a top plate portion 33a by a bonding material (not shown) or the like.
  • the base end of each co-electrolytic/reforming cell 32 may be inserted inside the through-hole 33b or may protrude outside the through-hole 33b.
  • Each co-electrolytic/reforming cell 32 is arranged so that the main surfaces face each other.
  • Each co-electrolytic/reforming cell 32 is arranged at predetermined intervals along the longitudinal direction (z-axis direction) of the manifold 31 . That is, the co-electrolytic/reforming cells 32 are arranged along the longitudinal direction of the manifold 31 .
  • Each co-electrolytic/reforming cell 32 is electrically connected in series or in a combination of series and parallel connection by a collector member (not shown).
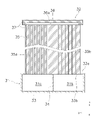
  • the common electrolysis/reforming cell 32 has a support substrate 35, a communication member 36, a coating layer 37 and a plurality of element portions 38.
  • the co-electrolysis/reforming cell 32 according to the present embodiment is a so-called horizontal-striped solid oxide electrolysis cell (SOEC).
  • the support substrate 35 is plate-shaped.
  • the vertical direction (x-axis direction) in FIG. 3 is the longitudinal direction of the support substrate 35, and the horizontal direction (y-axis direction) in FIG.
  • first gas flow paths 35a and a plurality of second gas flow paths 35b are formed inside the support substrate 35.
  • Each of the first gas flow paths 35 a and the second gas flow paths 35 b extends through the support substrate 35 from the proximal end of the co-electrolytic/reforming cell 32 toward the distal end thereof.
  • Each first gas flow path 35 a and each second gas flow path 35 b penetrate through the support substrate 35 .
  • the respective first gas flow paths 35a are arranged at intervals in the width direction of the support substrate 35 .
  • Each of the second gas flow paths 35b is spaced apart from each other in the width direction of the support substrate 35 .
  • the inner diameter of each first gas flow path 35a is larger than the inner diameter of each second gas flow path 35b, but the inner diameters of each first gas flow path 35a and each second gas flow path 35b are not particularly limited. .
  • Each first gas flow path 35a opens to the gas supply chamber 31a. Gas flows into each first gas flow path 35a from the gas supply chamber 31a.
  • Each second gas flow path 35b opens to the gas recovery chamber 31b. Gas flows out to the gas recovery chamber 31b from each of the second gas flow paths 35b.
  • the support substrate 35 is made of a porous material that does not have electronic conductivity so as to prevent short circuits between the element portions 38 and permeate the gas.
  • the support substrate 35 is made of, for example, CSZ (calcia stabilized zirconia), 8YSZ (yttria stabilized zirconia), Y 2 O 3 (yttria), MgO (magnesium oxide), MgAl 2 O 4 (magnesia alumina spinel), or a combination thereof. It can be composed of objects and the like.
  • the porosity of the support substrate 35 can be 20-60%. In addition, the porosity described in this specification is a value measured by the Archimedes method.
  • the communication member 36 is attached to the tip of the support substrate 35 .
  • the communication member 36 can be made of the same porous material as the support substrate 35, for example.
  • the communication member 36 has a communication channel 36a therein.
  • the communication channel 36a communicates with each first gas channel 35a and each second gas channel 35b.
  • the covering layer 37 covers the outer surfaces of the support substrate 35 and the communicating member 36 .
  • the covering layer 37 is denser than the supporting substrate 35 and the communicating member 36 .
  • the porosity of the coating layer 37 can be about 0 to 7%.
  • the coating layer 37 can be made of a material used for the electrolyte 3 to be described later, crystallized glass, or the like.
  • Each element section 38 is supported by the support substrate 35 .
  • the element part 38 may be arranged on both main surfaces of the support substrate 35, or may be arranged on only one of the main surfaces.
  • FIG. 5 is a cross-sectional view of the co-electrolytic/reforming cell 32 cut along the first gas flow path 35a.
  • Each element section 38 has a first electrode 2 , an electrolyte 3 , a second electrode 4 , a reaction prevention film 5 and an interconnector 6 .
  • the first electrode 2 converts CO 2 and H 2 O to H 2 , CO and O 2 according to the co-electrolytic chemical reaction shown in formula (1) below. - is generated.
  • First electrode 2 (co-electrolysis mode): CO 2 +H 2 O + 4e ⁇ ⁇ CO + H 2 +2O 2- (1)
  • the first electrode 2 When the co-electrolytic/reforming cell 32 operates in the reforming mode, the first electrode 2 produces CH 4 and H 2 O from H 2 and CO according to the co-electrolytic chemical reaction shown in Equation (2) below. .
  • the first electrode 2 has a first electrode substrate 21 and a first electrode active portion 22 .
  • the first electrode substrate 21 is arranged on the support substrate 35 .
  • the first electrode substrate 21 is embedded in a recess formed on the surface of the support substrate 35, but may be placed on the surface of the support substrate 35.
  • the thickness of the first electrode substrate 21 can be 50-500 ⁇ m.
  • the first electrode substrate 21 is made of an electronically conductive porous material.
  • the first electrode substrate 21 preferably has higher electron conductivity than the first electrode active portion 22 .
  • the first electrode substrate 21 may or may not have oxygen ion conductivity.
  • the first electrode substrate 21 can be composed of, for example, a composite of NiO and 8YSZ , a composite of NiO and Y2O3, a composite of NiO and CSZ, or the like.
  • the first electrode active portion 22 is arranged on the first electrode substrate 21 .
  • the thickness of the first electrode active portion 22 can be 5 to 100 ⁇ m.
  • the first electrode active portion 22 has oxygen ion conductivity and electron conductivity.
  • the first electrode active portion 22 preferably has oxygen ion conductivity higher than that of the first electrode substrate 21 .
  • the first electrode active portion 22 can be composed of, for example, a composite of NiO and 8YSZ, a composite of NiO and GDC(Ce,Gd) O2 , gadolinium-doped ceria), or the like.
  • An electrolyte 3 is arranged between the first electrode 2 and the second electrode 4 .
  • the electrolyte 3 transfers O 2 ⁇ produced at the first electrode 2 to the second electrode 4 .
  • An electrolyte 3 is arranged on the first electrode 2 .
  • the electrolyte 3 extends longitudinally of the support substrate 35 between the two interconnectors 6 .
  • the thickness of the electrolyte 3 can be, for example, 3-50 ⁇ m.
  • the electrolyte 3 is composed of a dense material that has oxygen ion conductivity and no electronic conductivity.
  • the electrolyte 3 is denser than the support substrate 35 .
  • the porosity of the electrolyte 3 can be, for example, 0-7%.
  • the electrolyte 3 can be composed of, for example, 8YSZ, LSGM (lanthanum gallate), or the like.
  • the second electrode 4 is converted from O 2 ⁇ transferred from the first electrode 2 through the electrolyte 3 according to the chemical reaction shown in equation (3) below. Produces O2 . ⁇ Second electrode 4 (co-electrolytic mode): 2O 2 ⁇ ⁇ O 2 +4e ⁇ (3)
  • the second electrode 4 does not function.
  • the second electrode 4 has a second electrode active portion 41 and a second electrode base 42 .
  • the second electrode active portion 41 is arranged on the reaction prevention film 5 .
  • the thickness of the second electrode active portion 41 can be, for example, 10 to 100 ⁇ m.
  • the second electrode active portion 41 is made of a porous material having oxygen ion conductivity and electron conductivity.
  • the second electrode active portion 41 preferably has oxygen ion conductivity higher than that of the second electrode substrate 42 .
  • the second electrode substrate 42 is arranged on the second electrode active portion 41 .
  • the second electrode substrate 42 is electrically connected to the first electrode substrate 21 of the adjacent element section 38 via the interconnector 6 .
  • the thickness of the second electrode substrate 42 can be, for example, 50-500 ⁇ m.
  • the second electrode substrate 42 is composed of a porous material having electronic conductivity.
  • the second electrode substrate 42 preferably has higher electron conductivity than the second electrode active portion 41 .
  • the second electrode substrate 42 may or may not have oxygen ion conductivity.
  • the second electrode substrate 42 can be made of, for example, LSCF, LSC, Ag (silver), Ag--Pd (silver-palladium alloy), or the like.
  • the anti-reaction film 5 is arranged between the electrolyte 3 and the second electrode active portion 41 .
  • the reaction-preventing film 5 prevents the substances contained in the electrolyte 3 and the second electrode active portion 41 from reacting to form a reaction layer with high electrical resistance.
  • the thickness of the reaction prevention film 5 can be, for example, 3 to 50 ⁇ m.
  • the reaction prevention film 5 is made of a dense material.
  • the anti-reaction film 5 can be composed of GDC, for example.
  • the interconnector 6 is connected to the second electrode substrate 42 and also to the first electrode substrate 21 of the adjacent element section 38 .
  • the thickness of the interconnector 6 can be, for example, 10-100 ⁇ m.
  • the interconnector 6 is made of a dense material having electronic conductivity.
  • the interconnector 6 is denser than the support substrate 35 .
  • the interconnector 6 can have a porosity of 0 to 7%.
  • the interconnector 6 can be made of, for example, LaCrO 3 (lanthanum chromite), (Sr, La)TiO 3 (strontium titanate), or the like.
  • FIG. 6 is a flow diagram for explaining a methane production method using the co-electrolytic/reforming cell 32. As shown in FIG.
  • step S1 the co-electrolysis/reforming cell 32 co-electrolyzes CO 2 and H 2 O to generate H 2 and CO at the first electrode 2 (co-electrolysis step).
  • step S2 the storage/supply unit 40 stores H 2 and CO produced in the co-electrolytic/reforming cell 32 (first storage step).
  • step S3 the storage/supply unit 40 supplies the stored H 2 and CO to the co-electrolytic/reforming cell 32 (supply step).
  • step S4 the co - electrolytic/reforming cell 32 reforms H2 and CO to produce CH4 ( reforming step).
  • step S5 the methane storage unit 50 stores the CH4 produced in the co-electrolysis/reforming cell 32 ( second storage step).
  • the methane production system 1 includes a co-electrolytic/reforming cell 32 and a controller 60 that controls the operating temperature of the co-electrolytic/reforming cell 32 .
  • the co-electrolysis/reforming cell 32 operates in a co-electrolysis mode that produces H 2 and CO from CO 2 and H 2 O at the first electrode 2 and CH 4 from the H 2 and CO produced in the co-electrolysis mode. It operates either in reforming mode, which is produced at electrode 2 .
  • the control unit 60 makes the operating temperature of the co-electrolytic/reforming cell 32 in the reforming mode lower than the operating temperature of the co-electrolytic/reforming cell 32 in the co-electrolytic mode.
  • the H 2 and CO produced in the co-electrolysis/reformation cell 32 can be used to produce CH 4 on-site in the co-electrolysis/reformation cell 32 . Therefore, there is no need to transport H2 and CO from the plant in which the co - electrolyzer is installed to the plant in which the reformer is installed.
  • the co-electrolysis/reforming cell 32 is a horizontally-striped SOEC, but it is not limited to this.
  • the co-electrolytic/reforming cell 32 may be a vertically striped (hollow flat plate), flat plate, cylindrical, etc. SOEC.
  • the configuration of the vertically-striped SOEC is described, for example, in Japanese Patent Application Laid-Open No. 2015-125897.
  • the configuration of a flat SOEC is described in, for example, Japanese Patent Application Laid-Open No. 2020-177839.
  • the configuration of a cylindrical SOEC is described, for example, in JP-A-2008-270203.
  • horizontal-striped SOECs are particularly preferred because they have a higher utilization efficiency of H 2 O than other SOFCs.
  • the element section 38 has the first electrode 2, the electrolyte 3, the second electrode 4, the reaction prevention film 5 and the interconnector 6, but at least the first electrode 2, the electrolyte 3 and the second electrode 4 is sufficient.
  • the control unit 60 drives the pump 60a arranged in the third pipe L3 to cause the storage/supply unit 40 to
  • H 2 and CO are supplied to the electrolysis/reformer 30
  • the present invention is not limited to this.
  • the control unit 60 stores/supplies H 2 and CO may be supplied to co-electrolytic/reformer 30 from supply 40 .
  • Methane Production System 10 CO 2 Supply Device 20 H 2 O Supply Device 30 Co-Electrolysis/Reformer 31 Manifold 32 Co-Electrolysis/Reformer Cell 38 Element Part 2 First Electrode 3 Electrolyte 4 Second Electrode 40 Storage/Supply Part 50 Methane reservoir 60 Controller L1 First pipe L2 Second pipe L3 Third pipe

Landscapes

  • Chemical & Material Sciences (AREA)
  • Organic Chemistry (AREA)
  • Engineering & Computer Science (AREA)
  • Chemical Kinetics & Catalysis (AREA)
  • Materials Engineering (AREA)
  • Electrochemistry (AREA)
  • Metallurgy (AREA)
  • Automation & Control Theory (AREA)
  • Inorganic Chemistry (AREA)
  • Oil, Petroleum & Natural Gas (AREA)
  • Life Sciences & Earth Sciences (AREA)
  • Sustainable Development (AREA)
  • General Chemical & Material Sciences (AREA)
  • Electrolytic Production Of Non-Metals, Compounds, Apparatuses Therefor (AREA)
  • Organic Low-Molecular-Weight Compounds And Preparation Thereof (AREA)
PCT/JP2022/009406 2021-03-11 2022-03-04 メタン製造システム及びメタン製造方法 Ceased WO2022191069A1 (ja)

Priority Applications (5)

Application Number Priority Date Filing Date Title
JP2023505504A JP7507306B2 (ja) 2021-03-11 2022-03-04 メタン製造システム及びメタン製造方法
EP22767026.2A EP4306502A4 (en) 2021-03-11 2022-03-04 METHANE PRODUCTION SYSTEM AND METHANE PRODUCTION PROCESS
AU2022234935A AU2022234935B2 (en) 2021-03-11 2022-03-04 Methane production system and methane production method
CN202280011553.XA CN116867757A (zh) 2021-03-11 2022-03-04 甲烷制造系统及甲烷制造方法
US18/354,123 US20230357935A1 (en) 2021-03-11 2023-07-18 Methane production system and methane production method

Applications Claiming Priority (2)

Application Number Priority Date Filing Date Title
JP2021039697 2021-03-11
JP2021-039697 2021-03-11

Related Child Applications (1)

Application Number Title Priority Date Filing Date
US18/354,123 Continuation US20230357935A1 (en) 2021-03-11 2023-07-18 Methane production system and methane production method

Publications (1)

Publication Number Publication Date
WO2022191069A1 true WO2022191069A1 (ja) 2022-09-15

Family

ID=83227865

Family Applications (1)

Application Number Title Priority Date Filing Date
PCT/JP2022/009406 Ceased WO2022191069A1 (ja) 2021-03-11 2022-03-04 メタン製造システム及びメタン製造方法

Country Status (6)

Country Link
US (1) US20230357935A1 (enExample)
EP (1) EP4306502A4 (enExample)
JP (1) JP7507306B2 (enExample)
CN (1) CN116867757A (enExample)
AU (1) AU2022234935B2 (enExample)
WO (1) WO2022191069A1 (enExample)

Cited By (1)

* Cited by examiner, † Cited by third party
Publication number Priority date Publication date Assignee Title
GB2632328A (en) * 2023-08-04 2025-02-05 Ceres Ip Co Ltd A methanation method and system

Citations (7)

* Cited by examiner, † Cited by third party
Publication number Priority date Publication date Assignee Title
JP2008270203A (ja) 2007-03-28 2008-11-06 Mitsubishi Heavy Ind Ltd 固体酸化物燃料電池及び水電解セル
JP2015125897A (ja) 2013-12-26 2015-07-06 京セラ株式会社 電解セル、電解セルスタック装置および電解モジュールならびに電解装置
JP2018154864A (ja) 2017-03-16 2018-10-04 東芝エネルギーシステムズ株式会社 高温水蒸気電解セル、高温水蒸気電解セル用水素極層及び固体酸化物電気化学セル
JP2019112717A (ja) * 2017-12-22 2019-07-11 コミッサリア ア レネルジー アトミーク エ オ ゼネルジ ザルタナテイヴ 複数の高温電解(soec)又は共電解反応器を含むパワーツーガスユニットの始動モード又は待機モード運転の方法
JP2019175636A (ja) 2018-03-28 2019-10-10 株式会社豊田中央研究所 沸騰冷却式バルブ、沸騰冷却式co2分離器、sofcシステム、soecシステム、及びr−socシステム
WO2020071376A1 (ja) * 2018-10-01 2020-04-09 国立研究開発法人産業技術総合研究所 電気化学触媒、集積体、電気化学反応器、炭化水素生成システムおよび炭化水素の生成方法
JP2020177839A (ja) 2019-04-19 2020-10-29 森村Sofcテクノロジー株式会社 電気化学反応セルスタック

Family Cites Families (5)

* Cited by examiner, † Cited by third party
Publication number Priority date Publication date Assignee Title
FR3014117B1 (fr) * 2013-12-03 2016-01-01 Commissariat Energie Atomique Procede de fonctionnement d'un reacteur a empilement de type soec pour produire du methane ch4, en l'absence d'electricite disponible
CN105220172B (zh) * 2015-10-27 2017-06-16 中国科学技术大学 一种将二氧化碳及水蒸气混合气直接转化为富含甲烷的气体的管式结构及其制备方法和应用
US10336944B2 (en) * 2016-09-27 2019-07-02 University Of South Carolina Direct synthesis of hydrocarbons from co-electrolysis solid oxide cell
CN107699915B (zh) * 2017-09-22 2019-08-16 清华大学 一种温度自维持二氧化碳和水蒸汽共电解装置及其应用方法
EP4130201A4 (en) * 2020-03-24 2024-10-02 Hitachi, Ltd. Fuel production device

Patent Citations (7)

* Cited by examiner, † Cited by third party
Publication number Priority date Publication date Assignee Title
JP2008270203A (ja) 2007-03-28 2008-11-06 Mitsubishi Heavy Ind Ltd 固体酸化物燃料電池及び水電解セル
JP2015125897A (ja) 2013-12-26 2015-07-06 京セラ株式会社 電解セル、電解セルスタック装置および電解モジュールならびに電解装置
JP2018154864A (ja) 2017-03-16 2018-10-04 東芝エネルギーシステムズ株式会社 高温水蒸気電解セル、高温水蒸気電解セル用水素極層及び固体酸化物電気化学セル
JP2019112717A (ja) * 2017-12-22 2019-07-11 コミッサリア ア レネルジー アトミーク エ オ ゼネルジ ザルタナテイヴ 複数の高温電解(soec)又は共電解反応器を含むパワーツーガスユニットの始動モード又は待機モード運転の方法
JP2019175636A (ja) 2018-03-28 2019-10-10 株式会社豊田中央研究所 沸騰冷却式バルブ、沸騰冷却式co2分離器、sofcシステム、soecシステム、及びr−socシステム
WO2020071376A1 (ja) * 2018-10-01 2020-04-09 国立研究開発法人産業技術総合研究所 電気化学触媒、集積体、電気化学反応器、炭化水素生成システムおよび炭化水素の生成方法
JP2020177839A (ja) 2019-04-19 2020-10-29 森村Sofcテクノロジー株式会社 電気化学反応セルスタック

Non-Patent Citations (2)

* Cited by examiner, † Cited by third party
Title
LONG CHEN, FANGLIN CHEN, CHANGRONG XIA: "Direct synthesis of methane from CO 2 –H 2 O co-electrolysis in tubular solid oxide electrolysis cells", ENERGY & ENVIRONMENTAL SCIENCE, RSC PUBL., CAMBRIDGE, vol. 7, no. 12, 1 January 2014 (2014-01-01), Cambridge , pages 4018 - 4022, XP055405403, ISSN: 1754-5692, DOI: 10.1039/C4EE02786H *
See also references of EP4306502A4

Cited By (1)

* Cited by examiner, † Cited by third party
Publication number Priority date Publication date Assignee Title
GB2632328A (en) * 2023-08-04 2025-02-05 Ceres Ip Co Ltd A methanation method and system

Also Published As

Publication number Publication date
EP4306502A4 (en) 2025-06-25
CN116867757A (zh) 2023-10-10
AU2022234935B2 (en) 2024-03-28
AU2022234935A1 (en) 2023-08-03
JPWO2022191069A1 (enExample) 2022-09-15
EP4306502A1 (en) 2024-01-17
US20230357935A1 (en) 2023-11-09
AU2022234935A9 (en) 2024-07-18
JP7507306B2 (ja) 2024-06-27

Similar Documents

Publication Publication Date Title
US12126064B2 (en) Metal support-type fuel cell and fuel cell module
KR102701091B1 (ko) 연료 전지 단일 셀 유닛, 연료 전지 모듈 및 연료 전지 장치
US20120058406A1 (en) Solid oxide fuel cell
JP2006332027A (ja) 改質器一体型燃料電池
JP7507306B2 (ja) メタン製造システム及びメタン製造方法
JP6605084B1 (ja) セルスタック装置
US11749821B2 (en) Fuel cell device and method for operating fuel cell device
JP7624058B2 (ja) メタン製造システム
TWI804207B (zh) 燃料電池之燃料氣體供給裝置
JP6734455B1 (ja) 燃料電池ユニット、及び燃料電池システム
JP2007311318A (ja) 耐炭素析出性に優れた固体酸化物形燃料電池
JP6594496B1 (ja) 燃料電池システム
JP2023072892A (ja) 電解セルシステム
JP2023072926A (ja) 電解セル、及びセルスタック装置
US20220029195A1 (en) Electrochemical cell
JP2023072891A (ja) 電解セル、及びセルスタック装置
JP2018037162A (ja) 燃料電池スタック、及び燃料電池セル
CN119072807A (zh) 电化学单电池、电化学单电池装置、模块以及模块收容装置
Rabuni et al. Micro-tubular and Micro-monolithic Solid Oxide Fuel Cells for Energy and Environment
JP2020061356A (ja) 燃料電池装置
JP2020027790A (ja) 燃料電池装置
JP2015025150A (ja) 電解セルスタック装置および電解装置

Legal Events

Date Code Title Description
121 Ep: the epo has been informed by wipo that ep was designated in this application

Ref document number: 22767026

Country of ref document: EP

Kind code of ref document: A1

ENP Entry into the national phase

Ref document number: 2023505504

Country of ref document: JP

Kind code of ref document: A

WWE Wipo information: entry into national phase

Ref document number: 202280011553.X

Country of ref document: CN

ENP Entry into the national phase

Ref document number: 2022234935

Country of ref document: AU

Date of ref document: 20220304

Kind code of ref document: A

WWE Wipo information: entry into national phase

Ref document number: 2022767026

Country of ref document: EP

NENP Non-entry into the national phase

Ref country code: DE

ENP Entry into the national phase

Ref document number: 2022767026

Country of ref document: EP

Effective date: 20231011