WO2022190487A1 - 照明装置 - Google Patents

照明装置 Download PDF

Info

Publication number
WO2022190487A1
WO2022190487A1 PCT/JP2021/044873 JP2021044873W WO2022190487A1 WO 2022190487 A1 WO2022190487 A1 WO 2022190487A1 JP 2021044873 W JP2021044873 W JP 2021044873W WO 2022190487 A1 WO2022190487 A1 WO 2022190487A1
Authority
WO
WIPO (PCT)
Prior art keywords
light
light source
front surface
light guide
incident
Prior art date
Legal status (The legal status is an assumption and is not a legal conclusion. Google has not performed a legal analysis and makes no representation as to the accuracy of the status listed.)
Ceased
Application number
PCT/JP2021/044873
Other languages
English (en)
French (fr)
Japanese (ja)
Inventor
勝義 増田
Current Assignee (The listed assignees may be inaccurate. Google has not performed a legal analysis and makes no representation or warranty as to the accuracy of the list.)
Panasonic Intellectual Property Management Co Ltd
Original Assignee
Panasonic Intellectual Property Management Co Ltd
Priority date (The priority date is an assumption and is not a legal conclusion. Google has not performed a legal analysis and makes no representation as to the accuracy of the date listed.)
Filing date
Publication date
Application filed by Panasonic Intellectual Property Management Co Ltd filed Critical Panasonic Intellectual Property Management Co Ltd
Publication of WO2022190487A1 publication Critical patent/WO2022190487A1/ja
Priority to US18/458,894 priority Critical patent/US20230408062A1/en
Anticipated expiration legal-status Critical
Ceased legal-status Critical Current

Links

Images

Classifications

    • FMECHANICAL ENGINEERING; LIGHTING; HEATING; WEAPONS; BLASTING
    • F21LIGHTING
    • F21VFUNCTIONAL FEATURES OR DETAILS OF LIGHTING DEVICES OR SYSTEMS THEREOF; STRUCTURAL COMBINATIONS OF LIGHTING DEVICES WITH OTHER ARTICLES, NOT OTHERWISE PROVIDED FOR
    • F21V5/00Refractors for light sources
    • BPERFORMING OPERATIONS; TRANSPORTING
    • B60VEHICLES IN GENERAL
    • B60KARRANGEMENT OR MOUNTING OF PROPULSION UNITS OR OF TRANSMISSIONS IN VEHICLES; ARRANGEMENT OR MOUNTING OF PLURAL DIVERSE PRIME-MOVERS IN VEHICLES; AUXILIARY DRIVES FOR VEHICLES; INSTRUMENTATION OR DASHBOARDS FOR VEHICLES; ARRANGEMENTS IN CONNECTION WITH COOLING, AIR INTAKE, GAS EXHAUST OR FUEL SUPPLY OF PROPULSION UNITS IN VEHICLES
    • B60K35/00Instruments specially adapted for vehicles; Arrangement of instruments in or on vehicles
    • B60K35/10Input arrangements, i.e. from user to vehicle, associated with vehicle functions or specially adapted therefor
    • BPERFORMING OPERATIONS; TRANSPORTING
    • B60VEHICLES IN GENERAL
    • B60KARRANGEMENT OR MOUNTING OF PROPULSION UNITS OR OF TRANSMISSIONS IN VEHICLES; ARRANGEMENT OR MOUNTING OF PLURAL DIVERSE PRIME-MOVERS IN VEHICLES; AUXILIARY DRIVES FOR VEHICLES; INSTRUMENTATION OR DASHBOARDS FOR VEHICLES; ARRANGEMENTS IN CONNECTION WITH COOLING, AIR INTAKE, GAS EXHAUST OR FUEL SUPPLY OF PROPULSION UNITS IN VEHICLES
    • B60K35/00Instruments specially adapted for vehicles; Arrangement of instruments in or on vehicles
    • B60K35/20Output arrangements, i.e. from vehicle to user, associated with vehicle functions or specially adapted therefor
    • B60K35/21Output arrangements, i.e. from vehicle to user, associated with vehicle functions or specially adapted therefor using visual output, e.g. blinking lights or matrix displays
    • B60K35/22Display screens
    • BPERFORMING OPERATIONS; TRANSPORTING
    • B60VEHICLES IN GENERAL
    • B60KARRANGEMENT OR MOUNTING OF PROPULSION UNITS OR OF TRANSMISSIONS IN VEHICLES; ARRANGEMENT OR MOUNTING OF PLURAL DIVERSE PRIME-MOVERS IN VEHICLES; AUXILIARY DRIVES FOR VEHICLES; INSTRUMENTATION OR DASHBOARDS FOR VEHICLES; ARRANGEMENTS IN CONNECTION WITH COOLING, AIR INTAKE, GAS EXHAUST OR FUEL SUPPLY OF PROPULSION UNITS IN VEHICLES
    • B60K35/00Instruments specially adapted for vehicles; Arrangement of instruments in or on vehicles
    • B60K35/60Instruments characterised by their location or relative disposition in or on vehicles
    • BPERFORMING OPERATIONS; TRANSPORTING
    • B60VEHICLES IN GENERAL
    • B60QARRANGEMENT OF SIGNALLING OR LIGHTING DEVICES, THE MOUNTING OR SUPPORTING THEREOF OR CIRCUITS THEREFOR, FOR VEHICLES IN GENERAL
    • B60Q3/00Arrangement of lighting devices for vehicle interiors; Lighting devices specially adapted for vehicle interiors
    • B60Q3/20Arrangement of lighting devices for vehicle interiors; Lighting devices specially adapted for vehicle interiors for lighting specific fittings of passenger or driving compartments; mounted on specific fittings of passenger or driving compartments
    • B60Q3/283Steering wheels; Gear levers
    • BPERFORMING OPERATIONS; TRANSPORTING
    • B60VEHICLES IN GENERAL
    • B60QARRANGEMENT OF SIGNALLING OR LIGHTING DEVICES, THE MOUNTING OR SUPPORTING THEREOF OR CIRCUITS THEREFOR, FOR VEHICLES IN GENERAL
    • B60Q3/00Arrangement of lighting devices for vehicle interiors; Lighting devices specially adapted for vehicle interiors
    • B60Q3/60Arrangement of lighting devices for vehicle interiors; Lighting devices specially adapted for vehicle interiors characterised by optical aspects
    • B60Q3/62Arrangement of lighting devices for vehicle interiors; Lighting devices specially adapted for vehicle interiors characterised by optical aspects using light guides
    • B60Q3/64Arrangement of lighting devices for vehicle interiors; Lighting devices specially adapted for vehicle interiors characterised by optical aspects using light guides for a single lighting device
    • BPERFORMING OPERATIONS; TRANSPORTING
    • B60VEHICLES IN GENERAL
    • B60RVEHICLES, VEHICLE FITTINGS, OR VEHICLE PARTS, NOT OTHERWISE PROVIDED FOR
    • B60R13/00Elements for body-finishing, identifying, or decorating; Arrangements or adaptations for advertising purposes
    • GPHYSICS
    • G09EDUCATION; CRYPTOGRAPHY; DISPLAY; ADVERTISING; SEALS
    • G09FDISPLAYING; ADVERTISING; SIGNS; LABELS OR NAME-PLATES; SEALS
    • G09F13/00Illuminated signs; Luminous advertising
    • G09F13/04Signs, boards or panels, illuminated from behind the insignia
    • BPERFORMING OPERATIONS; TRANSPORTING
    • B60VEHICLES IN GENERAL
    • B60KARRANGEMENT OR MOUNTING OF PROPULSION UNITS OR OF TRANSMISSIONS IN VEHICLES; ARRANGEMENT OR MOUNTING OF PLURAL DIVERSE PRIME-MOVERS IN VEHICLES; AUXILIARY DRIVES FOR VEHICLES; INSTRUMENTATION OR DASHBOARDS FOR VEHICLES; ARRANGEMENTS IN CONNECTION WITH COOLING, AIR INTAKE, GAS EXHAUST OR FUEL SUPPLY OF PROPULSION UNITS IN VEHICLES
    • B60K2360/00Indexing scheme associated with groups B60K35/00 or B60K37/00 relating to details of instruments or dashboards
    • B60K2360/128Axially displaceable input devices for instruments
    • BPERFORMING OPERATIONS; TRANSPORTING
    • B60VEHICLES IN GENERAL
    • B60KARRANGEMENT OR MOUNTING OF PROPULSION UNITS OR OF TRANSMISSIONS IN VEHICLES; ARRANGEMENT OR MOUNTING OF PLURAL DIVERSE PRIME-MOVERS IN VEHICLES; AUXILIARY DRIVES FOR VEHICLES; INSTRUMENTATION OR DASHBOARDS FOR VEHICLES; ARRANGEMENTS IN CONNECTION WITH COOLING, AIR INTAKE, GAS EXHAUST OR FUEL SUPPLY OF PROPULSION UNITS IN VEHICLES
    • B60K2360/00Indexing scheme associated with groups B60K35/00 or B60K37/00 relating to details of instruments or dashboards
    • B60K2360/131Pivotable input devices for instruments
    • BPERFORMING OPERATIONS; TRANSPORTING
    • B60VEHICLES IN GENERAL
    • B60KARRANGEMENT OR MOUNTING OF PROPULSION UNITS OR OF TRANSMISSIONS IN VEHICLES; ARRANGEMENT OR MOUNTING OF PLURAL DIVERSE PRIME-MOVERS IN VEHICLES; AUXILIARY DRIVES FOR VEHICLES; INSTRUMENTATION OR DASHBOARDS FOR VEHICLES; ARRANGEMENTS IN CONNECTION WITH COOLING, AIR INTAKE, GAS EXHAUST OR FUEL SUPPLY OF PROPULSION UNITS IN VEHICLES
    • B60K2360/00Indexing scheme associated with groups B60K35/00 or B60K37/00 relating to details of instruments or dashboards
    • B60K2360/133Multidirectional input devices for instruments
    • BPERFORMING OPERATIONS; TRANSPORTING
    • B60VEHICLES IN GENERAL
    • B60KARRANGEMENT OR MOUNTING OF PROPULSION UNITS OR OF TRANSMISSIONS IN VEHICLES; ARRANGEMENT OR MOUNTING OF PLURAL DIVERSE PRIME-MOVERS IN VEHICLES; AUXILIARY DRIVES FOR VEHICLES; INSTRUMENTATION OR DASHBOARDS FOR VEHICLES; ARRANGEMENTS IN CONNECTION WITH COOLING, AIR INTAKE, GAS EXHAUST OR FUEL SUPPLY OF PROPULSION UNITS IN VEHICLES
    • B60K2360/00Indexing scheme associated with groups B60K35/00 or B60K37/00 relating to details of instruments or dashboards
    • B60K2360/20Optical features of instruments
    • B60K2360/33Illumination features
    • B60K2360/336Light guides
    • BPERFORMING OPERATIONS; TRANSPORTING
    • B60VEHICLES IN GENERAL
    • B60KARRANGEMENT OR MOUNTING OF PROPULSION UNITS OR OF TRANSMISSIONS IN VEHICLES; ARRANGEMENT OR MOUNTING OF PLURAL DIVERSE PRIME-MOVERS IN VEHICLES; AUXILIARY DRIVES FOR VEHICLES; INSTRUMENTATION OR DASHBOARDS FOR VEHICLES; ARRANGEMENTS IN CONNECTION WITH COOLING, AIR INTAKE, GAS EXHAUST OR FUEL SUPPLY OF PROPULSION UNITS IN VEHICLES
    • B60K2360/00Indexing scheme associated with groups B60K35/00 or B60K37/00 relating to details of instruments or dashboards
    • B60K2360/20Optical features of instruments
    • B60K2360/33Illumination features
    • B60K2360/34Backlit symbols
    • BPERFORMING OPERATIONS; TRANSPORTING
    • B60VEHICLES IN GENERAL
    • B60KARRANGEMENT OR MOUNTING OF PROPULSION UNITS OR OF TRANSMISSIONS IN VEHICLES; ARRANGEMENT OR MOUNTING OF PLURAL DIVERSE PRIME-MOVERS IN VEHICLES; AUXILIARY DRIVES FOR VEHICLES; INSTRUMENTATION OR DASHBOARDS FOR VEHICLES; ARRANGEMENTS IN CONNECTION WITH COOLING, AIR INTAKE, GAS EXHAUST OR FUEL SUPPLY OF PROPULSION UNITS IN VEHICLES
    • B60K35/00Instruments specially adapted for vehicles; Arrangement of instruments in or on vehicles
    • B60K35/20Output arrangements, i.e. from vehicle to user, associated with vehicle functions or specially adapted therefor
    • B60K35/26Output arrangements, i.e. from vehicle to user, associated with vehicle functions or specially adapted therefor using acoustic output
    • BPERFORMING OPERATIONS; TRANSPORTING
    • B60VEHICLES IN GENERAL
    • B60QARRANGEMENT OF SIGNALLING OR LIGHTING DEVICES, THE MOUNTING OR SUPPORTING THEREOF OR CIRCUITS THEREFOR, FOR VEHICLES IN GENERAL
    • B60Q1/00Arrangement of optical signalling or lighting devices, the mounting or supporting thereof or circuits therefor
    • B60Q1/0076Switches therefor
    • B60Q1/0082Switches therefor mounted on the steering wheel

Definitions

  • the present disclosure relates to lighting devices.
  • Patent Document 1 discloses a button illumination device having an illumination surface whose thickness is uneven in the spatial path direction connecting the illumination surface and a light source provided behind the illumination surface.
  • the thickness of the illumination surface is uneven so that the thickness of the illumination surface gradually becomes thinner as the distance from the light source increases, thereby reducing unevenness in the brightness of the “characters” (that is, designs) displayed on the illumination surface.
  • a lighting device such as the button lighting device described in Patent Document 1 has a problem that it is not possible to effectively reduce the luminance unevenness of the design.
  • the present disclosure provides a lighting device that can effectively reduce the luminance unevenness of the design.
  • An illumination device includes a light source and a display member that displays the first design on the front surface by transmitting light emitted by the light source forward in the shape of the first design.
  • the display member includes a front surface portion forming the front surface, the front surface portion having a first portion that transmits light in the shape of the first design, and a front surface portion disposed behind the front surface portion, a light guide that emits light from the light source toward the front surface, wherein the light source is arranged at a position different from the first portion of the front surface when the front surface is viewed from above.
  • the light guide has a portion whose thickness decreases with distance from the light source, and the light from the light source is incident on the rear surface of the light guide at a predetermined angle.
  • a protrusion is formed having a certain incident surface.
  • FIG. 1 is a diagram showing an example of a cabin of a vehicle in which a steering input device according to an embodiment is arranged.
  • FIG. 2 is a diagram showing a usage example of the steering input device according to the embodiment.
  • FIG. 3 is a plan view of the front surface of the lighting device according to the embodiment.
  • FIG. 4 is a sectional view taken along line IV-IV of part of the lighting device according to the embodiment of FIG.
  • FIG. 5 is a cross-sectional view of a part of the lighting device according to the embodiment of FIG. 3 taken along line VV.
  • FIG. 6 is a diagram for explaining the movement of the display member when the user presses one of the first portions.
  • FIG. 7 is a diagram for explaining the movement of the display member when the user presses the other side of the first portion.
  • FIG. 8 is an enlarged view of the projecting portion in FIG. 4 .
  • FIG. 9 is a graph showing the relationship between light transmittance and incident angle in a light guide having a refractive index of 1.5.
  • FIG. 10 is a graph showing the relationship between the incident angle of light with respect to the incident surface and the transmittance in a light guide having a refractive index of 1.5.
  • FIG. 11 is a graph showing the relationship between the distance from the light source and the transmittance of the light guide at the position of the light guide for the conventional configuration without protrusions and the configuration of the present application with protrusions.
  • FIG. 9 is a graph showing the relationship between light transmittance and incident angle in a light guide having a refractive index of 1.5.
  • FIG. 10 is a graph showing the relationship between the incident angle of light with respect to the incident surface and the transmittance in a light guide having a refractive index of 1.5.
  • FIG. 11 is a graph showing the relationship between the distance from the light source and
  • FIG. 12 is a graph showing the relationship between the distance from the light source and the diffusion distance at the position of the light guide for the conventional configuration without protrusions and the configuration of the present application with protrusions.
  • FIG. 13 is a diagram showing the luminance distribution on the front surface of the light guide in the conventional configuration without protrusions and the configuration of the present application with protrusions.
  • FIG. 14 is a graph showing the relationship between the distance from the light source and the brightness in the conventional configuration without protrusions and the configuration of the present application with protrusions.
  • FIG. 15 is an enlarged view of a display member of a lighting device according to a modification, in which a portion corresponding to the projecting portion in FIG. 4 is enlarged.
  • a lamp as a light source is arranged at a position shifted from the button having the illumination surface when the illumination surface is viewed from above.
  • the light that illuminates the "outlined characters" on the surface of the illumination surface is irradiated obliquely to the back surface of the illumination surface. Therefore, the incident angle of the light from the light source with respect to the back surface of the illumination surface is larger than when the light is irradiated from the direction orthogonal to the back surface. In particular, the incident angle of light increases as the distance from the light source increases.
  • the greater the incident angle of light the greater the angle of refraction.
  • Light incident on the illumination surface is refracted so as to approach the direction orthogonal to the front surface of the illumination surface.
  • the light incident on the illumination surface is emitted from the illumination surface without being sufficiently diffused inside the illumination surface. Therefore, at a position near the light source on the illumination surface, the light is emitted so as to be emphasized, resulting in uneven brightness.
  • the present disclosure provides a lighting device that can effectively reduce the luminance unevenness of the design.
  • An illumination device includes a light source and a display member that displays the first design on the front surface by transmitting light emitted by the light source forward in the shape of the first design.
  • the display member includes a front surface portion forming the front surface, the front surface portion having a first portion that transmits light in the shape of the first design, and a front surface portion disposed behind the front surface portion, a light guide that emits light from the light source toward the front surface, wherein the light source is arranged at a position different from the first portion of the front surface when the front surface is viewed from above.
  • the light guide has a portion whose thickness decreases with distance from the light source, and the light from the light source is incident on the rear surface of the light guide at a predetermined angle.
  • a protrusion is formed having a certain incident surface.
  • the protrusion is formed on the rear surface of the light guide, the light from the surface of the protrusion to the light guide is more likely to enter the light guide than when light enters the light guide from a surface other than the protrusion on the rear side. can reduce the incident angle of light. Therefore, the incident light to the light guide can be reduced from being reflected by the rear surface of the light guide, and the ratio of the light incident to the light guide can be made uniform regardless of the distance from the light source. can be Further, even if the light incident on the light guide is refracted, it is refracted at a small angle with respect to the front surface of the light guide, so the light incident on the light guide is more easily diffused within the light guide. As a result, it is possible to reduce the emphasis on the light emitted from the light guide to the front surface at a position close to the light source. Therefore, it is possible to effectively reduce the occurrence of luminance unevenness in the design.
  • the predetermined angle may be half or less of Brewster's angle defined by the refractive index of the light guide and the refractive index of the medium surrounding the light guide.
  • the light irradiated to the light guide can be efficiently incident on the light guide.
  • the protrusion may have a shape extending in a direction intersecting with a direction connecting the first portion from the light source.
  • the light irradiated to the light guide can be efficiently incident on the light guide with a width corresponding to the length of the rib shape.
  • a plurality of projections may be formed on the rear surface of the light guide at positions at different distances from the light source.
  • the size of the lighting device can be reduced.
  • the plurality of protrusions includes a first protrusion and a second protrusion arranged at a position farther from the light source than the first protrusion, A first angle with respect to the front surface may be less than a second angle of the second incident surface of the second protrusion with respect to the front surface.
  • the light emitted from the light source can enter the light guide more efficiently.
  • the front portion further has a second portion that transmits light in a shape of a second design, and the light source is positioned so as to overlap the second portion of the front portion when the front surface is viewed from above. may be placed in
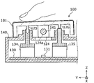
  • FIG. 1 is a diagram showing an example of a cabin of a vehicle in which a steering input device 2 according to an embodiment is arranged.
  • FIG. 2 is a diagram showing a usage example of the steering input device 2 according to the embodiment.
  • a steering input device 2 and an in-vehicle device 6 are mounted in a vehicle compartment of an automobile 4 (an example of a vehicle) shown in FIG.
  • a steering input device 2 according to the embodiment includes a steering wheel 8 and a lighting device 100 .
  • the steering wheel 8 is for steering the automobile 4.
  • the steering wheel 8 includes a ring-shaped rim 12, substantially T-shaped spokes 14 integrally formed on the inner peripheral surface of the rim 12, and a horn switch (not shown) disposed at the center of the spokes 14. ) and a horn switch cover 16 for covering.
  • the lighting device 100 is for operating the in-vehicle device 6, and is arranged on the spokes 14 of the steering wheel 8, for example. As shown in FIG. 2, the driver, who is the user, operates the in-vehicle device 6 by making an input to the lighting device 100 with the finger 18 (an example of an operation object) of the right hand gripping the rim 12. can be done.
  • the configuration of lighting device 100 will be described in detail later.
  • the in-vehicle device 6 is an audio device for playing back optical discs such as compact discs.
  • the in-vehicle device 6 is arranged in the dashboard 20, for example.
  • the in-vehicle device 6 is not limited to an audio device, and may be an air conditioner for air-conditioning the vehicle interior, or may be a car navigation system.
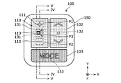
  • FIG. 3 is a plan view of the front surface of the lighting device according to the embodiment.
  • FIG. 4 is a sectional view taken along line IV-IV of part of the lighting device according to the embodiment of FIG.
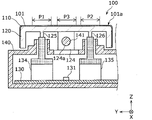
  • FIG. 5 is a cross-sectional view of a part of the lighting device according to the embodiment of FIG. 3 taken along line VV.
  • the front-rear direction is the Z-axis direction
  • the vertical direction is the Y-axis direction
  • the left-right direction is the X-axis direction.
  • the X-axis direction, Y-axis direction, and Z-axis direction are directions orthogonal to each other.
  • the front side is the positive side in the Z-axis direction
  • the rear side is the negative side in the Z-axis direction
  • the upper side is the positive side in the Y-axis direction
  • the lower side is the negative side in the Y-axis direction
  • the right side is the positive side in the X-axis direction
  • the left side is the negative side in the X-axis direction.
  • the plus side in each direction is the tip side of the arrow indicating each direction in the drawings
  • the minus side is the opposite side.
  • the front-rear direction is the front-rear direction of the lighting device 100 and is not related to the traveling direction of the automobile 4 .
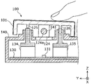
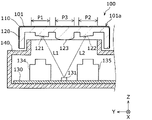
  • the illumination device 100 of FIG. 3 includes three display members 101, 102 and 103 as buttons for receiving user input, three light sources 131 and 132 arranged behind the three display members 101, 102 and 103, 133 and an outer frame 150 surrounding these display members 101, 102, 103 are shown.
  • the display member 101 is provided with first designs 111 and 112 and a second design 113 .
  • the first designs 111 , 112 and the second design 113 are arranged at mutually different positions on the front surface portion 110 forming the front surface of the display member 101 and have mutually different shapes.
  • the first designs 111 and 112 are arranged on the first portions P1 and P2 of the front portion 110 of the display member 101
  • the second design 113 is arranged on the second portion P3 of the front portion 110
  • the first parts P1 and P2 are parts of the front part 110 that transmit light in the shapes of the first designs 111 and 112, respectively.
  • the second portion P3 is a portion of the front portion 110 that has the shape of the second design 113 and transmits light.
  • the light source 131 arranged behind the display member 101 is arranged at a position overlapping the second portion P3 as shown in FIG. 3, that is, when the front surface 101a is viewed from above.
  • the light source 131 is arranged at a position different from the first portions P1 and P2 (that is, a position not overlapping the first portions P1 and P2) when the front surface 101a is viewed in plan.
  • the display members 102 and 103 are also designed, the description of the display members 102 and 103 is omitted.
  • the illumination device 100 includes a display member 101, a substrate 130, a light source 131, and a housing 140, as shown in FIGS.
  • the lighting device 100 may further comprise switches 134,135.
  • FIG. 4 is a cross-sectional view of the illumination device 100 taken along the YZ plane passing through the light source 131.
  • FIG. 5 is a cross-sectional view of the illumination device 100 cut along the YZ plane passing through the switches 134 and 135. As shown in FIG.
  • the display member 101 transmits the light emitted by the light source 131 forward in the shapes of the first designs 111 and 112 and the shape of the second design 113, thereby displaying the first design on the front surface 101a.
  • 111, 112 and the second design 113 are displayed.
  • the display member 101 has a front surface portion 110 forming a front surface 101a, and a light guide 120 having a thickness, such as a plate shape, disposed behind the front surface portion 110 .
  • the display member 101 emits forward through the front surface portion 110 the light that has entered the light guide 120 by being irradiated by the light source 131 .
  • the display member 101 emits light in the shapes of the first designs 111 and 112 and the shape of the second design 113 .
  • 113 is displayed.
  • the front part 110 has the first parts P1, P2 and the second part P3 that transmit light in the shapes of the first designs 111, 112 and the second design 113 as described above.
  • the front part 110 has a light-shielding layer having a light-shielding property, and the light-shielding layer has a transmissive part in the shape of the first design 111 in the first part P1.
  • the light-shielding layer has a transmissive portion having the shape of the first design 112 in the first portion P2, and has a transmissive portion having the shape of the second design 113 in the second portion P3.
  • each transmissive portion may be configured by, for example, a portion where the light shielding layer is not provided, that is, an opening.
  • each transmission part may be composed of one opening, or may be composed of a plurality of openings arranged so as to form the shape of each design. Further, the opening of each transmitting portion may be filled with a translucent member.
  • the light-shielding layer may be composed of, for example, a coating film, or may be composed of a film having a light-shielding property.
  • the light guide 120 emits the light emitted from the light source 131 to the rear surface of the light guide 120 toward the front surface portion 110 .
  • the light guide 120 may have two protrusions 121 and 122 that protrude rearward, as shown in FIG.
  • the two protrusions 121, 122 are arranged behind the first portions P1, P2, respectively. That is, the projecting portion 121 faces the first portion P1 in the Z-axis direction, and the projecting portion 122 faces the first portion P2 in the Z-axis direction.
  • the projecting portions 121 and 122 are arranged at positions not facing the light source 131 in the Z-axis direction.
  • the projecting portions 121 and 122 are arranged at positions different from the light source 131 (that is, positions not overlapping with the light source 131) when the front surface 101a is viewed from above. Therefore, light L1 from the light source 131 is incident on the projecting portion 121 in an oblique direction that is inclined with respect to the Z-axis direction. Similarly, oblique light L2 from the light source 131 that is inclined with respect to the Z-axis direction is incident on the projecting portion 122 .
  • the projecting portions 121 and 122 are formed such that the rear surfaces thereof are inclined with respect to the front surface 101a so that the thickness of the projecting portions 121 and 122 decreases with increasing distance from the light source 131 in the Y-axis direction.
  • the light guide 120 has a portion where the thickness becomes thinner as the distance from the light source 131 increases.
  • the light guide 120 is made of a milky white material, such as an acrylic resin or a polycarbonate resin in which a scattering agent is oriented.
  • the light guide 120 may further have a protruding portion 123 that protrudes rearward.
  • the projecting portion 123 is arranged behind the second portion P3. That is, the projecting portion 123 faces the second portion P3 in the Z-axis direction.
  • the projecting portion 123 is arranged at a position overlapping the light source 131 when the front surface 101a is viewed from above.
  • the light guide 120 includes a plate-shaped support portion 124 projecting rearward from the center in the Y-axis direction, and a rod-shaped support portion 124 projecting rearward from both sides of the support portion 124 in the Y-axis direction. and pressing portions 125 and 126 may be provided.
  • the support portion 124 has a circular through hole 124 a penetrating in the X-axis direction, and is supported by the housing 140 by passing through the through hole 124 a with a cylindrical shaft portion 141 provided in the housing 140 .
  • the pressing portions 125 and 126 are portions for pressing push-type switches 134 and 135 , respectively, and are in contact with upper ends of the switches 134 and 135 .
  • FIG. 6 the movement of the display member 101 when it receives an input from the user will be described using FIGS. 6 and 7.
  • FIG. 6 is a diagram for explaining the movement of the display member when the user presses the first portion P1 on which the first design 111 is formed.
  • the display member 101 moves the first portion P1 around the through hole 124a of the support portion 124 of the light guide 120.
  • the first portion P2 rotates backward (negative side in the Z-axis direction) in a direction to move forward (positive side in the Z-axis direction).
  • the pressing portion 125 of the light guide 120 presses the tip of the switch 134 to turn on the switch 134 .
  • the tip of the switch 134 tries to return to its original position by the force of the spring. Return to the original horizontal position. Note that the switch 134 is turned off when the tip returns to its original position.
  • the display member 101 moves toward the first portion around the through hole 124a of the support portion 124 of the light guide 120 as an axis.
  • P2 rotates to the rear side (Z-axis direction minus side) and the first portion P1 moves to the front side (Z-axis direction plus side).
  • the pressing portion 126 of the light guide 120 presses the tip of the switch 135, turning the switch 135 ON.
  • the tip of the switch 135 tries to return to its original position by the force of the spring. Return to the original horizontal position. Note that the switch 135 is turned off when the tip returns to its original position.
  • the substrate 130 is a plate-like member arranged behind the display member 101 and parallel to the XY plane. Electrical components such as light sources 131 , 132 , 133 and switches 134 , 135 are mounted on the substrate 130 .
  • the light sources 131, 132, and 133 are arranged behind the display members 101, 102, and 103, respectively, and emit light from behind the display members 101, 102, and 103, as described above.
  • Each of the light sources 131, 132, and 133 is configured by, for example, an LED (Light Emitting Diode).
  • the switches 134 and 135 are push-in switches that are arranged behind the display member 101 and are turned on by being pushed by the user's push into the display member 101 .
  • a control circuit (not shown) detects that it has been turned on, and executes a function associated in advance with the switch that has been turned on. For example, when the switch 134 is turned on, the control circuit may increase the volume of sound output from a speaker (not shown) into the vehicle interior. Further, for example, when the switch 135 is turned on, the control circuit may reduce the volume of the sound output from a speaker (not shown) into the vehicle interior.
  • the functions realized by the control circuit are not limited to raising and lowering the volume, but may include forwarding, rewinding, playing, and stopping the music player, raising and lowering the set temperature of the air conditioner, switching the air conditioner ON/OFF, and the like. may be
  • the housing 140 is a member that accommodates the board 130 and electrical components mounted on the board 130 . Further, the housing 140 is a member that supports the display member 101 from the front.
  • the housing 140 is made of, for example, resin.
  • FIG. 8 is an enlarged view of the projecting portion 121 in FIG. Note that FIG. 8 is a schematic diagram, and is not a strictly enlarged view of the projecting portion 121 in FIG. 4 .
  • a plurality of projections 127 are formed on the surface of the display member 101 on the rear side of the light guide 120 (hereinafter referred to as the rear surface 101b).
  • a plurality of projections 127 are formed on the rear surface 101b at different distances from the light source 131 .
  • the multiple protrusions 127 are arranged at a predetermined pitch.
  • the rear surface 101b has a portion where no protrusion 127 is provided between two adjacent protrusions 127 among the plurality of protrusions 127, but the present invention is not limited to this. , two adjacent protrusions may be formed so as to be in contact with each other.
  • the plurality of protrusions may be continuously provided adjacent to each other.
  • the pitch between the multiple protrusions 127 may be changed according to the position from the light source 131 .
  • the pitch between the protrusions 127 may be shortened at positions near the light source 131 and the pitch between the protrusions 127 may be lengthened at positions far from the light source 131 .
  • the plurality of protrusions 127 may be formed such that the pitch between the plurality of protrusions 127 increases as the distance from the light source 131 increases.
  • Each of the plurality of protrusions 127 has an incident surface 127a having a predetermined incident angle ⁇ i1 at which the light L1 from the light source 131 is incident.
  • the incident surface 127 a is the surface closer to the light source 131 among the surfaces included in the plurality of projections 127 .
  • the incident angle ⁇ i1 is the angle formed by the normal direction D11 of the incident surface 127a and the incident direction of the light L1. That is, the incident surface 127a is formed such that the normal direction D11 of the incident surface 127a and the incident direction of the light L1 form a predetermined angle.
  • the incident surface 127a is formed, for example, such that the angle formed by the incident surface 127a and the front surface 101a is the first angle ⁇ 1.
  • the predetermined angle that defines the incident angle ⁇ i1 is, for example, the refractive index (absolute refractive index) of the light guide 120 and the refractive index (absolute refractive index) of the medium (for example, air) surrounding the light guide 120. is less than or equal to half of the Brewster angle defined by Note that each of the plurality of protrusions 127 may have the same shape.
  • Light L1 enters incident surface 127a and is refracted at refraction angle ⁇ r1.
  • each of the plurality of projections 127 further has an inclined surface 127b which is arranged further away from the light source 131 than the incident surface 127a (the far side), so that the light L1 from the light source 131 is less likely to enter than the incident surface 127a. have.
  • the inclined surface 127b is formed substantially parallel to the light L1 in order to effectively guide the light into the light guide body 120 after the incident light L1 and to reduce reflection of the light L1.
  • each of the plurality of protrusions 127 may have a rib shape extending in a direction connecting the light source 131 to the first portion P1, that is, in a direction crossing the direction of the light L1.
  • each of the plurality of protrusions 127 may have a rib shape extending in the X-axis direction.
  • Each of the multiple projections 127 may have, for example, a length greater than or equal to the width of the shape of the first design 111 in the X-axis direction. Therefore, the light irradiated to the light guide 120 can be efficiently incident on the light guide 120 with a width having the length of the rib shape, and the light can be efficiently irradiated to the opening having the shape of the first design 111. can do.
  • illumination device 100 of the present embodiment since projection 127 is formed on rear surface 101b of light guide 120, light is guided from incident surface 127a of projection 127 more than when light is incident on rear surface 101b.
  • the incident angle ⁇ i1 of light on body 120 can be reduced. Therefore, the incident light to the light guide 120 can be reduced from being reflected by the rear surface 101 b of the light guide 120 , and the ratio of the light incident to the light guide 120 can be reduced regardless of the distance from the light source 131 . can be made uniform.
  • even if the light incident on the light guide 120 is refracted, it is refracted at a small angle with respect to the front surface of the light guide 120.
  • the predetermined angle is half the Brewster angle defined by the refractive index of light guide 120 and the refractive index of the medium surrounding light guide 120. It is below. Therefore, the light irradiated to the light guide 120 can be made to enter the light guide 120 efficiently.
  • FIG. 9 is a graph showing the relationship between light transmittance and incident angle in a light guide having a refractive index of 1.5.
  • the solid line indicates p-polarized light and the dashed line indicates s-polarized light.
  • the Brewster angle is the incident angle of light when the transmittance of p-polarized light is 1.0, in other words, the reflectance of p-polarized light is 0.
  • Brewster's angle would be approximately 61°.
  • FIG. 10 is a graph showing the relationship between the incident angle of light with respect to the incident surface and the transmittance in a light guide having a refractive index of 1.5.
  • the transmittance exceeds 0.95 when the incident angle ranges from about -30° to about 30°.
  • good transmittance can be obtained by setting the incident angle so that the angle range is 1/2 or less of Brewster's angle.
  • the fact that the transmittance exceeds 0.95 indicates that the amount of light reflected by the incident surface can be reduced to less than 0.05.
  • a plurality of projections 127 are formed on rear surface 101b of light guide 120 at positions with different distances from light source 131 . Therefore, even if the size of the protrusion 127 is reduced, the incident surface 127a formed so that the incident angle of light becomes a predetermined angle can be provided over a wide range of the rear surface 101b. Therefore, the size of the lighting device 100 can be reduced.
  • front surface portion 110 further has second portion P3 having the shape of second design 113 and transmitting light.
  • the light source 131 is arranged at a position overlapping the second portion P3 of the front surface portion 110 when the front surface 101a is viewed in plan.
  • the first design 111, 112 is irradiated with oblique light from the light source 131 .
  • the uneven brightness of the first designs 111 and 112 can be reduced, so the number of light sources 131 can be reduced. and the reduction of luminance unevenness can be achieved at the same time.
  • FIG. 11 is a graph showing the relationship between the distance from the light source and the transmittance of the light guide at the position of the light guide in the conventional configuration without protrusions and the configuration of the present application with protrusions.
  • FIG. 12 is a graph showing the relationship between the distance from the light source and the diffusion distance at the position of the light guide for the conventional configuration without protrusions and the configuration of the present application with protrusions. Note that the diffusion distance indicates the length of the path that light passes through the light guide 120 after entering the light guide 120 until it exits.
  • the transmittance of the light guide is less than 0.7 at all positions regardless of the distance from the light source. It can be seen that there is a difference of 0.4. On the other hand, it can be seen that in the configuration of the present application, the transmittance of the light guide exceeds 0.95 at all positions regardless of the distance from the light source. From this, it can be seen that the light can be efficiently incident on the light guide, and it can be seen that the problem due to reflection is improved.
  • the configuration of the present application has a greater diffusion distance than the conventional configuration at all positions regardless of the distance from the light source.
  • the diffusion distance is the shortest when the light incident on the light guide is transmitted in the direction orthogonal to the front surface of the light guide, and the longer the direction in which the light incident on the light guide travels, the greater the angle with respect to the orthogonal direction. Become. Therefore, it can be seen that the light incident on the light guide can be effectively diffused, and the problem due to refraction is improved.
  • FIG. 13 is a diagram showing the luminance distribution on the front surface of the light guide in the conventional configuration without protrusions and the configuration of the present application with protrusions.
  • FIG. 14 is a graph showing the relationship between the distance from the light source and the brightness in the conventional configuration without protrusions and the configuration of the present application with protrusions.
  • the graphs of FIGS. 13 and 14 are results obtained by simulation, and the side surface of the projecting portion 121 on the side closer to the light source 131 is set to be a black body (an ideal object that completely absorbs light).
  • FIG. 15 is an enlarged view of a display member 101A of a lighting device according to a modification, in which a portion corresponding to the projecting portion 121 in FIG. 4 is enlarged.
  • the plurality of projections 127, 227 formed on the rear surface 101b of the light guide 120A of the display member 101A have different shapes.
  • the light L1 from the light source 131 to each projection 127 is assumed to be incident on each projection 127 in parallel directions. Considering that the angle of incidence of the light from is close to the horizontal direction (that is, the Y-axis direction) in FIG.
  • the plurality of protrusions 127 , 227 includes a first protrusion 127 and a second protrusion 227 arranged at a position farther from the light source 131 than the first protrusion 127 .
  • the first protrusion 127 has an incident surface 127 a closer to the light source 131 and an inclined surface 127 b farther from the light source 131 .
  • the second protrusion 227 has an incident surface 227 a closer to the light source 131 and an inclined surface 227 b farther from the light source 131 .
  • the incident surface 127a is formed such that the incident angle ⁇ i1 between the normal direction D11 of the incident surface 127a and the incident direction of the light L1 is a predetermined angle, as in the embodiment.
  • the incident surface 127a is formed, for example, such that the angle formed by the incident surface 127a and the front surface 101a is the first angle ⁇ 1. It should be noted that the light L1 enters the incident surface 127a and is refracted at the refraction angle ⁇ r1.
  • the incident surface 227a is formed so that the incident angle ⁇ i2 formed by the normal direction D12 of the incident surface 227a and the incident direction of the light L11 is a predetermined angle.
  • the incidence surface 227a is formed, for example, so that the angle formed by the incidence surface 227a and the front surface 101a is a second angle ⁇ 2.
  • Light L11 enters incident surface 227a and is refracted at refraction angle ⁇ r2.
  • the first angle ⁇ 1 is preferably smaller than the second angle ⁇ 2. That is, by changing the angles of the incident surfaces 127a, 227a of the plurality of protrusions 127, 227 with respect to the front surface 101a according to the positions of the protrusions, the light emitted from the light source 131 can be more efficiently incident on the light guide 120A. can be done.
  • the inclined surface 127b and the inclined surface 227b are preferably formed substantially parallel to the traveling direction of the light L1 and the traveling direction of the light L11, respectively. This can reduce the reflection of the light L1 on the inclined surface 127b and the reflection of the light L11 on the inclined surface 227b.
  • the predetermined angle is, for example, the refractive index (absolute refractive index) of the light guide 120A and the refraction of the medium (for example, air) around the light guide 120A, as in the embodiment. It is less than half the Brewster angle defined by the index (absolute refractive index).
  • the design is not limited to this. It may have a single protrusion sized to cover the width of the Although the size is larger than that of the light guides 120 and 120A, even if one protrusion is formed, the same effect as the embodiment can be obtained.
  • the present disclosure is not limited to these embodiments. As long as it does not deviate from the spirit of the present disclosure, various modifications that a person skilled in the art can think of are applied to the present embodiment, and a form constructed by combining the components of different embodiments may also be one or more of the present disclosure. may be included within the scope of the embodiments.
  • the present disclosure is useful as a lighting device or the like that can effectively reduce the luminance unevenness of a design.

Landscapes

  • Engineering & Computer Science (AREA)
  • Mechanical Engineering (AREA)
  • Chemical & Material Sciences (AREA)
  • Combustion & Propulsion (AREA)
  • Transportation (AREA)
  • General Engineering & Computer Science (AREA)
  • Physics & Mathematics (AREA)
  • General Physics & Mathematics (AREA)
  • Theoretical Computer Science (AREA)
  • Planar Illumination Modules (AREA)
  • Instrument Panels (AREA)
  • Arrangements Of Lighting Devices For Vehicle Interiors, Mounting And Supporting Thereof, Circuits Therefore (AREA)
  • Illuminated Signs And Luminous Advertising (AREA)
  • Vehicle Waterproofing, Decoration, And Sanitation Devices (AREA)
PCT/JP2021/044873 2021-03-09 2021-12-07 照明装置 Ceased WO2022190487A1 (ja)

Priority Applications (1)

Application Number Priority Date Filing Date Title
US18/458,894 US20230408062A1 (en) 2021-03-09 2023-08-30 Lighting device

Applications Claiming Priority (2)

Application Number Priority Date Filing Date Title
JP2021-037617 2021-03-09
JP2021037617A JP2022137900A (ja) 2021-03-09 2021-03-09 照明装置

Related Child Applications (1)

Application Number Title Priority Date Filing Date
US18/458,894 Continuation US20230408062A1 (en) 2021-03-09 2023-08-30 Lighting device

Publications (1)

Publication Number Publication Date
WO2022190487A1 true WO2022190487A1 (ja) 2022-09-15

Family

ID=83226055

Family Applications (1)

Application Number Title Priority Date Filing Date
PCT/JP2021/044873 Ceased WO2022190487A1 (ja) 2021-03-09 2021-12-07 照明装置

Country Status (3)

Country Link
US (1) US20230408062A1 (enExample)
JP (1) JP2022137900A (enExample)
WO (1) WO2022190487A1 (enExample)

Families Citing this family (1)

* Cited by examiner, † Cited by third party
Publication number Priority date Publication date Assignee Title
US20230311804A1 (en) * 2020-04-15 2023-10-05 Shanghai Yanfeng Jinqiao Automotive Trim Systems Co. Ltd. Component for vehicle interior

Citations (5)

* Cited by examiner, † Cited by third party
Publication number Priority date Publication date Assignee Title
JPS57130880U (enExample) * 1981-02-06 1982-08-14
JP2001051616A (ja) * 1999-08-17 2001-02-23 Kenwood Corp 照明用散光板
US20080225554A1 (en) * 2007-03-12 2008-09-18 Wintek Corporation Back light module
JP2018067107A (ja) * 2016-10-18 2018-04-26 コイト電工株式会社 表示器
WO2019225636A1 (ja) * 2018-05-22 2019-11-28 三菱ケミカル株式会社 カラー表示装置、車両内外装部材、照明灯用ランプ、表示用看板及び車両

Family Cites Families (11)

* Cited by examiner, † Cited by third party
Publication number Priority date Publication date Assignee Title
JPS5134279U (enExample) * 1974-09-05 1976-03-13
US5993019A (en) * 1997-10-03 1999-11-30 Delco Electronics Corporation Molded two part button with illuminated graphic
TW525034B (en) * 2001-05-10 2003-03-21 Canon Kk Lighting apparatus and image pickup apparatus
US7768685B2 (en) * 2003-05-07 2010-08-03 Hitachi Chemical Company, Ltd. Hologram optical element and surface light source device using the hologram optical element
US7837349B2 (en) * 2007-06-15 2010-11-23 Visteon Global Technologies, Inc. Near field lens
KR101064036B1 (ko) * 2010-06-01 2011-09-08 엘지이노텍 주식회사 발광 소자 패키지 및 조명 시스템
TWM445664U (zh) * 2012-05-29 2013-01-21 晶遠光學工程股份有限公司 發光裝置及其光束控制元件
KR102140028B1 (ko) * 2013-10-22 2020-08-03 삼성디스플레이 주식회사 표시 장치의 광원용 렌즈 및 이를 포함하는 표시 장치의 광원
EP3762954B1 (en) * 2019-05-28 2025-07-02 Google LLC Button with illumination ring
CN210864100U (zh) * 2019-07-31 2020-06-26 北京京东方光电科技有限公司 一种防窥模组及显示装置
KR102829832B1 (ko) * 2020-02-26 2025-07-03 현대자동차주식회사 스위치 구조 및 이의 제작 방법

Patent Citations (5)

* Cited by examiner, † Cited by third party
Publication number Priority date Publication date Assignee Title
JPS57130880U (enExample) * 1981-02-06 1982-08-14
JP2001051616A (ja) * 1999-08-17 2001-02-23 Kenwood Corp 照明用散光板
US20080225554A1 (en) * 2007-03-12 2008-09-18 Wintek Corporation Back light module
JP2018067107A (ja) * 2016-10-18 2018-04-26 コイト電工株式会社 表示器
WO2019225636A1 (ja) * 2018-05-22 2019-11-28 三菱ケミカル株式会社 カラー表示装置、車両内外装部材、照明灯用ランプ、表示用看板及び車両

Also Published As

Publication number Publication date
US20230408062A1 (en) 2023-12-21
JP2022137900A (ja) 2022-09-22

Similar Documents

Publication Publication Date Title
US11105969B2 (en) Display device and input device
US6768067B2 (en) Switch device in steering wheel and steering wheel
US10483969B2 (en) Input device
JP2016539458A (ja) コントロール装置の入力領域用の2重グラフィックラベル
JP4714098B2 (ja) 照明装置
WO2022190487A1 (ja) 照明装置
US10397995B2 (en) Input device
US20060193147A1 (en) Light guide and illumination apparatus
JP5775607B2 (ja) 車室内照明装置システム
US10564777B2 (en) Display device and input device
JP2008021613A (ja) 照明装置
JP2019087437A (ja) 表示装置
JP4577657B2 (ja) 照明装置
JP2023160151A (ja) 入力装置
JP2021022448A (ja) 照明装置
WO2019164001A1 (ja) 照明装置
JP2015137935A (ja) 文字板照明構造
KR101704001B1 (ko) 차량용 조명버튼
JP6496995B2 (ja) インジケータ
JP7054804B2 (ja) 表示装置および入力装置
JP7266051B2 (ja) スイッチ
JP2019089509A (ja) 導光体および表示装置
KR101843946B1 (ko) 리어콤비램프의 광학장치
JP2012061877A (ja) スイッチ操作部の照明装置
JP2008094201A (ja) 照明装置

Legal Events

Date Code Title Description
121 Ep: the epo has been informed by wipo that ep was designated in this application

Ref document number: 21930332

Country of ref document: EP

Kind code of ref document: A1

NENP Non-entry into the national phase

Ref country code: DE

122 Ep: pct application non-entry in european phase

Ref document number: 21930332

Country of ref document: EP

Kind code of ref document: A1