WO2021186729A1 - 空調システム - Google Patents

空調システム Download PDF

Info

Publication number
WO2021186729A1
WO2021186729A1 PCT/JP2020/012511 JP2020012511W WO2021186729A1 WO 2021186729 A1 WO2021186729 A1 WO 2021186729A1 JP 2020012511 W JP2020012511 W JP 2020012511W WO 2021186729 A1 WO2021186729 A1 WO 2021186729A1
Authority
WO
WIPO (PCT)
Prior art keywords
air
room
temperature
blower
air conditioning
Prior art date
Legal status (The legal status is an assumption and is not a legal conclusion. Google has not performed a legal analysis and makes no representation as to the accuracy of the status listed.)
Ceased
Application number
PCT/JP2020/012511
Other languages
English (en)
French (fr)
Japanese (ja)
Inventor
和朗 廣石
松原 充則
Current Assignee (The listed assignees may be inaccurate. Google has not performed a legal analysis and makes no representation or warranty as to the accuracy of the list.)
FH Alliance Inc
Original Assignee
FH Alliance Inc
Priority date (The priority date is an assumption and is not a legal conclusion. Google has not performed a legal analysis and makes no representation as to the accuracy of the date listed.)
Filing date
Publication date
Application filed by FH Alliance Inc filed Critical FH Alliance Inc
Priority to PCT/JP2020/012511 priority Critical patent/WO2021186729A1/ja
Priority to US17/787,555 priority patent/US11674709B2/en
Priority to JP2020555531A priority patent/JP6892179B1/ja
Priority to JP2021085488A priority patent/JP7142969B2/ja
Publication of WO2021186729A1 publication Critical patent/WO2021186729A1/ja
Priority to JP2022141828A priority patent/JP7477904B2/ja
Anticipated expiration legal-status Critical
Priority to US18/141,355 priority patent/US12072119B2/en
Ceased legal-status Critical Current

Links

Images

Classifications

    • FMECHANICAL ENGINEERING; LIGHTING; HEATING; WEAPONS; BLASTING
    • F24HEATING; RANGES; VENTILATING
    • F24FAIR-CONDITIONING; AIR-HUMIDIFICATION; VENTILATION; USE OF AIR CURRENTS FOR SCREENING
    • F24F11/00Control or safety arrangements
    • F24F11/70Control systems characterised by their outputs; Constructional details thereof
    • F24F11/72Control systems characterised by their outputs; Constructional details thereof for controlling the supply of treated air, e.g. its pressure
    • F24F11/74Control systems characterised by their outputs; Constructional details thereof for controlling the supply of treated air, e.g. its pressure for controlling air flow rate or air velocity
    • F24F11/76Control systems characterised by their outputs; Constructional details thereof for controlling the supply of treated air, e.g. its pressure for controlling air flow rate or air velocity by means responsive to temperature, e.g. bimetal springs
    • FMECHANICAL ENGINEERING; LIGHTING; HEATING; WEAPONS; BLASTING
    • F24HEATING; RANGES; VENTILATING
    • F24FAIR-CONDITIONING; AIR-HUMIDIFICATION; VENTILATION; USE OF AIR CURRENTS FOR SCREENING
    • F24F11/00Control or safety arrangements
    • F24F11/50Control or safety arrangements characterised by user interfaces or communication
    • F24F11/56Remote control
    • F24F11/58Remote control using Internet communication
    • FMECHANICAL ENGINEERING; LIGHTING; HEATING; WEAPONS; BLASTING
    • F24HEATING; RANGES; VENTILATING
    • F24FAIR-CONDITIONING; AIR-HUMIDIFICATION; VENTILATION; USE OF AIR CURRENTS FOR SCREENING
    • F24F11/00Control or safety arrangements
    • F24F11/70Control systems characterised by their outputs; Constructional details thereof
    • F24F11/72Control systems characterised by their outputs; Constructional details thereof for controlling the supply of treated air, e.g. its pressure
    • F24F11/74Control systems characterised by their outputs; Constructional details thereof for controlling the supply of treated air, e.g. its pressure for controlling air flow rate or air velocity
    • F24F11/77Control systems characterised by their outputs; Constructional details thereof for controlling the supply of treated air, e.g. its pressure for controlling air flow rate or air velocity by controlling the speed of ventilators
    • FMECHANICAL ENGINEERING; LIGHTING; HEATING; WEAPONS; BLASTING
    • F24HEATING; RANGES; VENTILATING
    • F24FAIR-CONDITIONING; AIR-HUMIDIFICATION; VENTILATION; USE OF AIR CURRENTS FOR SCREENING
    • F24F3/00Air-conditioning systems in which conditioned primary air is supplied from one or more central stations to distributing units in the rooms or spaces where it may receive secondary treatment; Apparatus specially designed for such systems
    • F24F3/044Systems in which all treatment is given in the central station, i.e. all-air systems
    • FMECHANICAL ENGINEERING; LIGHTING; HEATING; WEAPONS; BLASTING
    • F24HEATING; RANGES; VENTILATING
    • F24FAIR-CONDITIONING; AIR-HUMIDIFICATION; VENTILATION; USE OF AIR CURRENTS FOR SCREENING
    • F24F3/00Air-conditioning systems in which conditioned primary air is supplied from one or more central stations to distributing units in the rooms or spaces where it may receive secondary treatment; Apparatus specially designed for such systems
    • F24F3/044Systems in which all treatment is given in the central station, i.e. all-air systems
    • F24F3/048Systems in which all treatment is given in the central station, i.e. all-air systems with temperature control at constant rate of air-flow
    • FMECHANICAL ENGINEERING; LIGHTING; HEATING; WEAPONS; BLASTING
    • F24HEATING; RANGES; VENTILATING
    • F24FAIR-CONDITIONING; AIR-HUMIDIFICATION; VENTILATION; USE OF AIR CURRENTS FOR SCREENING
    • F24F2110/00Control inputs relating to air properties
    • F24F2110/10Temperature

Definitions

  • the present invention relates to an air conditioning system that air-conditions a plurality of rooms in a building with an air-conditioning unit and a ventilation unit.
  • Houses are becoming more and more airtight and highly insulated in order to save energy and realize comfortable living.
  • a whole building air conditioning system that blows air adjusted by an air conditioner to the entire house.
  • a return section adjacent to a plurality of rooms is formed inside the building, and the room is provided with an intake part for blowing out air sent from a blower, and a return section is provided between the room and the return section.
  • An exhaust unit that forms an exhaust airflow from the room to the return compartment is provided, and a plurality of blowers and at least one air conditioner are installed in the return compartment.
  • the total air volume of the plurality of blowers is larger than the air conditioning air volume of the air conditioner.
  • an air conditioner installed in the return compartment air-conditions a plurality of rooms at a uniform temperature with energy saving (see, for example, Patent Document 1).
  • the ventilation means for ventilating the air in each room and the common space installed in the ceiling or under the floor of the house are installed in each room. It has an air conditioner indoor unit that cools and heats a plurality of rooms by using space as a chamber for supply air.
  • other air-conditioning systems in the entire building include an air mixing box that mixes the air introduced from the outside air inlet and the air introduced from the inside air inlet, an air conditioner, and the air in the air mixing box in multiple rooms. It is equipped with a plurality of transport fans provided for each of a plurality of rooms for transport, a intake air temperature sensor, a transport air temperature sensor, and a system controller for controlling the air volume of the transport fan. Then, there is known one provided with a fan air volume control unit that controls the air volume of the transport fan based on the intake air temperature, the transport air temperature, and a predetermined threshold value (for example, Patent Document 4).
  • the present invention solves such a conventional problem, is a system having a relatively simple structure, saves energy, keeps the whole house at a comfortable and uniform temperature, and according to personal preference, for each room.
  • the purpose is to provide an air-conditioning system that can respond to changes in temperature and load changes due to sunlight and personnel in the room.
  • the air conditioner system of the present invention forms a return section adjacent to a plurality of rooms in a building, and the room is provided with an intake unit that blows out air sent from a blower unit equipped with a DC motor.
  • An exhaust section for forming an exhaust airflow from the room to the return section is provided between the room and the return section, and a plurality of the blower sections and at least one air conditioner section are provided in the return section.
  • the total air volume of the plurality of air-conditioning units is larger than the air-conditioning air volume of the air-conditioning unit, and the air-blowing amount of the air-conditioning unit is adjusted by the air-conditioning load of the room.
  • a plurality of blowers having a total air volume in which the conditioned air in which the exhaust air from the exhaust section of each room is air-conditioned by the air-conditioned section and the unair-conditioned exhaust air are larger than the air volume of the air-conditioned air.
  • the conditioned air and exhaust air are surely mixed to become mixed conditioned air with a uniform temperature with a small difference from room temperature, and it is equipped with a highly efficient DC motor with a wide control range of rotation speed.
  • the air-conditioning load in each room changes due to changes in the amount of solar radiation, the number of people in the room, etc.
  • by adjusting the rotation speed of the DC motor of the blower section in a wider range energy-saving mixed air-conditioning air to each room
  • another means has a temperature setting means for the room and a suction temperature detecting means for the blower portion, and determines the air conditioning load of the room based on the set temperature of the room and the suction temperature of the blower portion, and blows the air.
  • the temperature can be set to the individual's preference for each room, and in the return compartment, the blower that blows air to each room takes in the mixed air-conditioned air that is a mixture of the exhaust air from each room and the air-conditioned air. Since it blows out from the part, the temperature of the exhaust air from each room and the room temperature of each room are estimated from the temperature of the intake air of the blower, and the air conditioning load of each room is determined by the set temperature of each room and the suction temperature of the blower part. , Adjust the air volume of the air blower.
  • another means has a temperature setting means for the room and a room temperature detecting means for the room, determines the air conditioning load of the room based on the set temperature and the room temperature of the room, and determines the amount of air blown by the blower unit. It is something to adjust. As a result, the air conditioning load of each room can be determined more accurately from the room temperature of each room, and it is possible to set the temperature of each room more accurately, faster and more reliably, and create a comfortable space according to personal preference. An air conditioning system that can be obtained is obtained.
  • another means has a communication means for connecting the temperature setting means in the room and the public line, and transmits data from the communication device connected to the public line through the communication means, and based on the data.
  • the set temperature of the temperature setting means of the room is determined. This makes it possible to set the temperature of each room from communication devices inside and outside the building, making the room a comfortable space according to personal preference when there is no temperature setting means nearby even inside the building or while going out. It is possible to obtain a highly convenient air conditioning system.
  • the other means has a temperature setting means of the return section, a room temperature detecting means of the return section, and a temperature setting means of the air conditioning unit, and air conditioning of the return section is performed according to the set temperature and room temperature of the return section.
  • the load is determined and the set temperature of the air conditioning unit is adjusted.
  • the air conditioning load in the return section can be quickly and accurately determined from the temperature and set temperature of the air in the return section sucked into the air conditioning section and the blower section, and the set temperature of the air conditioning section can be adjusted to adjust the set temperature of the air conditioning section. Since the capacity is adjusted and the suction temperature of the blower is also adjusted, even if the amount of air blown by the blower is adjusted, if the air conditioning load in the room cannot be met and the temperature cannot be adjusted to the personal preference, it will be faster and more reliable.
  • an air-conditioning system that can set each room to a set temperature and create a comfortable space according to personal preference can be obtained. Further, even if the air-conditioning load of the room can be sufficiently coped with and the room can be set to the temperature of the individual's preference, an air-conditioning system capable of saving more energy and stabilizing the temperature of the individual's preference can be obtained.
  • mixed air-conditioned air is sent to each room with a large amount of air by a plurality of air-conditioning units equipped with a DC motor capable of saving energy and controlling a wide range of rotation speeds, and the amount of air is increased according to the set temperature of each room. Since it is adjusted, it is possible to provide an air-conditioning system that can realize an individual's favorite comfortable temperature quickly and surely in response to the air-conditioning load.
  • the suction temperature of the air-conditioning unit can be adjusted according to the air-conditioning load in the return section, which saves more energy, is faster, and is more reliable, and is comfortable for personal preference.
  • An air conditioning system that can achieve temperature can be obtained.
  • since it has a communication means and a communication device capable of communicating with the inside and outside of the building it is possible to realize a comfortable temperature of personal preference more quickly and more reliably from the communication device, and a highly convenient air conditioning system can be obtained.
  • FIG. 1 is a first-floor plan view of a building showing the configuration of an air-conditioning system according to the first embodiment of the present invention
  • FIG. 2 is a second-floor plan box of the same building.
  • the entrance 2, the living room 3, the kitchen 4 are arranged on the first floor of the building 1 which is a highly airtight and highly insulated house, and the toilet 5, the bathroom 6, the washroom and the dressing room 7 and the like are provided.
  • Living room 3 is provided with stairs 8 that go up to the second floor.
  • the ceiling on the first floor of the building 1 is provided with outlet grills (intake units) 9a, 9b, 9c, and 9d that blow air into the room on the first floor.
  • One ends of the first floor ventilation ducts 10a, 10b, 10c, and 10d are connected to the outlet grills 9a, 9b, 9c, and 9d, respectively.
  • the other ends of the air ducts 10a, 10b, 10c, and 10d for the first floor are arranged on the second floor.
  • the outlet grills 9a, 9b, 9c, and 9d may be provided on the floor instead of the ceiling.
  • the blowout grills 9a, 9b, 9c, and 9d are provided on the floor, the first floor ventilation ducts 10a, 10b, 10c, and 10d are arranged under the floor.
  • a staircase 12 composed of stairs 8 from the first floor and a corridor 11 is arranged on the second floor of the building 1.
  • Room A13, room B14, and room C15 on the second floor of the building 1 are arranged adjacent to the staircase room 12.
  • a storage room A16 is provided in the room A13.
  • a storage room B17 is provided in the room B14.
  • the ceiling 62 on the second floor of the building 1 is provided with outlet grills (intake units) 18a, 18b, 18c, and 18d that blow air into the room on the second floor.
  • the outlet grills (intake units) 18a and 18b are provided on the ceiling 62 of the room A13 on the second floor.
  • the outlet grill (intake unit) 18c is provided on the ceiling 62 of the room B14 on the second floor.
  • the outlet grill (intake unit) 18d is provided on the ceiling 62 of the room C15 on the second floor.
  • One ends of the second floor ventilation ducts 19a, 19b, 19c, 19d are connected to the outlet grills (intake portions) 18a, 18b, 18c, 18d, respectively.
  • the outlet grills 18a, 18b, 18c, and 18d may be provided on the floor instead of the ceiling 62.
  • the blowout grills 18a, 18b, 18c, 18d are provided on the floor, the second floor ventilation ducts 19a, 19b, 19c, 19d are arranged under the floor on the second floor.
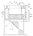
  • FIG. 3 is an enlarged plan view of a staircase portion on the second floor of the building of the air conditioning system according to the present embodiment
  • FIG. 4 is a sectional view taken along the line AA of FIG. 2
  • FIG. 5 is a sectional view taken along the line BB of FIG.
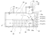
  • the staircase room 12 is a partition wall between the side wall 20 of the staircase 8 and the wall A21 where the staircase 8 is raised from the first floor, and the rooms A13, B14, and C15 on the second floor. It is surrounded by 22 and a wall B23 provided so as to face the wall A21. The distance between the wall A21 and the wall B23 is about 3.8 m, and the width of the stairs 8 and the corridor 11 is about 0.9 m.
  • a handrail 24 is attached to the stairs 8 side of the corridor 11.
  • the handrail 24 is composed of a horizontal rail 25 and a vertical rail 26.
  • a slit 27 is formed between the vertical rail 26 and the vertical rail 26.
  • a similar handrail 28 is attached to the space side of the first floor of the stairs 8.
  • the air conditioner 30a is an outdoor unit in which a heat exchanger (not shown) and an air conditioner blower (not shown) that exchange heat between the refrigerant and air are housed in an integrated housing, and a compressor (not shown) is mounted. It is a wall-mounted indoor unit of a separate type air conditioner that is connected to the machine (not shown) by a refrigerant pipe (not shown) and a signal line (not shown).
  • the air conditioner 30a has a function of setting the air volume of the indoor unit and the set temperature of the air conditioner between 16 ° C. and 30 ° C.
  • the indoor unit has a suction air temperature sensor (not shown), and the inverter drive frequency of the compressor (not shown) is determined by the suction air temperature and the set temperature so that the suction air temperature approaches the set temperature quickly.
  • the air conditioning capacity of the air conditioner 30a can be adjusted. Control.
  • the upper surface 31 of the air conditioner 30a is provided with a suction port into which the suction airflow 32a is sucked.
  • an outlet for blowing out the blown airflow 33a is provided in the lower part of the front surface of the air conditioner 30a.
  • a vertical wind direction control plate 34 is provided at the air outlet. The vertical wind direction control plate 34 is set so that the blown airflow 33a is blown out in a substantially horizontal direction.
  • the substantially horizontal direction includes a downward direction within 15 degrees from the horizontal direction.
  • a horizontal wind direction control plate (not shown) is provided at the air outlet. The horizontal wind direction control plate is set so that the blown airflow 33a is blown toward the wall A21 substantially in parallel with the side wall 20.
  • Blowers (blowers) 40a, 40b, 40c, 40d for the first floor and blowers (blowers) 41a, 41b, 41c, 41d for the second floor of the air conditioning system 29 are attached to the wall B23.
  • the first-floor blowers 40a, 40b, 40c, 40d and the second-floor blowers 41a, 41b, 41c, 41d are arranged below the air conditioner 30a.
  • Four first-floor blowers 40 are installed, and four second-floor blowers 41 are installed.
  • One first-floor blower duct 10 is connected to one first-floor blower 40, and one second-floor blower is connected.
  • One second floor air duct 19 is connected to 41.
  • a DC motor (DC motor) 65 (see Fig. 7) and a sirocco fan that are more energy efficient than an AC motor and can control the rotation speed in a wider range in a stepless manner. 42 is provided.
  • the rotation of the sirocco fan 42 sucks air from the staircase room 12, and the sucked air flows through the air duct 10 for the first floor and the air duct 19 for the second floor and blows out to each room in the building 1.
  • a suction airflow 43 is generated.
  • the sucked air flows in the first-floor airflow duct 10 and the second-floor airflow duct 19 as a blowout airflow 44.
  • the first-floor blowers 40a, 40b, 40c, 40d and the second-floor blowers 41a, 41b, 41c, 41d are provided with a control device 80 (see FIG. 8) as air volume adjusting means.
  • the control device 80 can change the rotation speed of the fan steplessly.
  • the DC motor 65 is a brushless DC motor with high efficiency and high durability.
  • an exhaust portion 52 is provided near the ceiling 62 higher than the air conditioner 30a of the partition wall 22 together with the lower gap 51 of the door 50 which is the entrance from the staircase room 12. ing.
  • a second-floor exhaust airflow 53 is formed in the lower gap 51 and the exhaust portion 52.
  • Each room on the first floor is provided with an opening that communicates with the staircase room 12. This opening corresponds to the discharge portion 55 to the staircase chamber 12, and the discharge airflow 56 on the first floor is formed in this opening. Therefore, the staircase room 12 is a return section where the air discharged from a plurality of rooms in the building 1 including the living room 3, the kitchen 4, the club room A13, the club room B14, and the club room C15 merges. That is, the staircase room 12, which is the return section, is adjacent to the living room 3, the kitchen 4, the club room A13, the club room B14, and the club room C15.
  • the amount of air blown to each of the living room 3, the kitchen 4, the club room A13, the club room B14, and the club room C15 is determined from the volumes of the living room 3, the kitchen 4, the club room A13, the club room B14, and the club room C15. Then, the total air flow amount (hereinafter referred to as total air flow amount: Vh) is calculated by adding up the air flow amounts to the living room 3, the kitchen 4, the club room A13, the club room B14, and the club room C15. From the determined air volume, the air blowing capacity and the number of air blowers for each of the living room 3, the kitchen 4, the club room A13, the club room B14, and the club room C15 are selected.
  • the blower duct constitutes a part of the blower. That is, the amount of air blown for selecting the blower is the amount of air blown from the blowing grill (intake unit) via the blowing duct.
  • the amount of air required for air conditioning is at least 8 m 3 / h or more per 2.5 m 3 of the room, ideally about 20 m 3 / h, and the amount of air blown according to the size of the room and the air conditioning load such as sunlight. adjust.
  • the air conditioning capacity of the air conditioner 30a is determined by calculating the air conditioning load for the building 1. That is, the air-conditioning load calculation includes heat transfer from walls, windows, ceilings, etc., radiant heat from sunlight passing through the window glass, heat and moisture generated from occupants, heat generated from lighting and machinery, intake outside air and gaps. Calculate the amount of heat and moisture from the wind as the air conditioning load (Yamada Haruten, "Frozen and Air Harmony", Japan, Yokendo Co., Ltd., March 20, 1975, p, 240-247). Then, with a margin in the load calculation result, the air conditioner 30a of the entire building 1 is selected from the air conditioners lined up by the capacity, and the entire building 1 is air-conditioned.
  • the optimum air conditioning air volume of the air conditioner 30a (hereinafter referred to as the optimum air conditioning air volume: Vq) is determined from the total air volume: Vh calculated in the total air volume calculation step.
  • Optimal air-conditioning air volume: Vq ensures that the air-conditioning air and exhaust air are mixed, and the mixed air-conditioning air with a uniform temperature with a small temperature difference from each room is blown by the blowers 40 and 41 with a large air volume.
  • the total air volume 50% or less of Vh, at most less than 100%, and the air volume at which the air conditioner 30a can exert its capacity in response to the air conditioning load.
  • the conditioned air volume is the air volume that passes through the heat exchanger (not shown) of the air conditioning unit 30a, and avoids pressure loss due to passing through the heat exchanger so that the mixed conditioned air can be blown out to each room with a large air volume. Therefore, in the case of an air conditioning unit that has an air passage that bypasses the heat exchanger, the air volume of the bypass air passage shall be excluded from the air conditioning air volume.
  • the floor area of the building 1 is about 97.7 m2, the ceiling height is 2.5 m, and an air conditioner 30a having a cooling capacity equivalent to 4 kW is installed. 700m 3 / h is blown by a recirculation fan. For both the first-floor blower 40 and the second-floor blower 41 that blow air to each room, the air volume per unit is set to about 15 Om 3 / h. The total amount of air blown into the building 1 in the present embodiment: Vh is about 1200 m 3 / h, which is larger than the air-conditioned air volume of the air conditioner 30a.
  • the total air volume: 58% of Vh is set as the air conditioning air volume (weak wind mode) that can be set by the air conditioner 30a.
  • the total air volume Vh is 800 m 3 / h, which is larger than the air conditioning air volume 700 m 3 / h of the air conditioner 30a.
  • FIG. 6 is a perspective view of the blower installation part
  • FIG. 7 is a perspective exploded view of the blower
  • FIG. 8 is an electric circuit diagram of the blower
  • FIG. 9 is a view showing an operation part of the temperature setting unit.
  • a first-floor blower (blower) 40b is attached to the wall B23, and a first-floor blower duct 10b is connected to the first-floor blower 40b in the wall B23.
  • the first-floor blower (blower) 40b has a box-shaped main body case 70 and a louver 71 detachably attached so as to cover the main body case 70 from the upper surface of the wall B23. Further, the louver 71 is provided with a vent 72, and air flows through the staircase 12 and the main body case 70 and the first floor ventilation duct 10b through the opening (not shown) of the wall B23. It is connected as a road.
  • the louver 71 is detachably attached by the attachment portion 73 of the main body case 70 and the attachment spring 74.
  • a DC motor 65 and a sirocco fan 42 are provided in the main body case 70, an electrical box 75 is provided on the side of the sirocco fan 42, and an optional mounting is provided between the main body case 70 and the louver 71.
  • the base 76 is provided by being connected to the electrical box 75 by a lead wire 77.
  • the sirocco fan 42 sucks air from the louver 71 by the rotation of the DC motor 65, passes through the air duct 10b, and blows it out from the blowout grill 9b to the living room 3.
  • a plurality of optional units, a temperature sensor unit 78 and a temperature setting unit 79 are detachably attached to the option mounting base 76 from the front of the main body case 70 when the louver 71 is removed.
  • the temperature sensor unit 78 is a unit that detects the temperature of the suction air of the blower 40b, and the temperature setting unit 79 sets the temperature of the living room 3 blown out from the blowout grill 9b through the blower duct 10b by the blower 40b. It is a unit.
  • the temperature setting unit 79 functions as a unit for setting the temperature at a position near the blowout grills in the room. do.
  • a control device 80 for controlling the operation of the DC motor 65 is provided in the electrical box 75.
  • the control of the blower 40b will be described with reference to the electric circuit diagram of the blower of FIG. 8 and the operation unit of the temperature setting unit of FIG.
  • the control device 80 is provided with a blower control unit 81 that controls the operation of the DC motor 65 of the blower 40b, and a power supply unit 82 that supplies power to the blower control unit 81.
  • the option mounting base 76 includes two connectors 88a and 88b for connecting the temperature sensor unit 78 and the temperature setting unit 79 (temperature setting unit).
  • These connectors 88a and 88b are connected to the power supply unit 82 and the ventilation control unit 81 of the control device 80 by the lead wire 77, and the power supply is supplied via the connectors 87a and 87b of the temperature sensor unit 78 and the temperature setting unit 79.
  • Power is supplied from the unit 82 to the temperature sensor unit 78 and the temperature setting unit 79, and information is input from the temperature sensor unit 78 and the temperature setting unit 79 to the air blow control unit 81.
  • the blast control unit 81 calculates the blast volume of the DC motor 65 using a preset algorithm (control logic) based on the information (detection information) input from the temperature sensor unit 78 and the temperature setting unit 79.
  • the calculation unit 83 for determining the above is provided. The details of the algorithm used by the calculation unit 83 will be described later.
  • the blast air volume information determined by the calculation unit 83 is input to the blast control unit 81, and the blast control unit 81 controls the rotation speed of the DC motor 65.
  • the temperature sensor unit 78 includes a temperature sensor 85, a unit control unit 84a that controls the detection operation of the temperature sensor 85, and a connector 87a.
  • the temperature sensor 85 has a function of detecting the temperature of the suction air sucked from the louver 71 of the blower 40b.
  • a temperature sensor 85 that converts a change in temperature into a voltage is used, and is a resistance change type or a capacitance change type. A type of sensor such as is used.
  • the unit control unit 84a outputs to the blow control unit 81 in order to determine the air volume to be operated by the DC motor 65 based on the detection signal from the temperature sensor 85. Further, the unit control unit 84a has a function of outputting identification information capable of identifying the output signal from the temperature sensor to the ventilation control unit 81.
  • the temperature setting unit 79 includes a temperature setting unit 86, a unit control unit 84b that controls the detection operation of the temperature setting unit 86, and a connector 87b.
  • the temperature setting unit 86 has an operation unit 89 for setting the temperature of the room (living room 3) blown by the blower 40b, and the operation unit 89 rotates to set the temperature to 16.
  • It has a SW90 that can be set from ° C to 30 ° C.
  • the SW90 is provided with a dial-type switch that can set the set temperature steplessly, but the SW90 is not limited to the dial-type switch, and various other configurations may be used as long as the switching setting is possible.
  • the unit control unit 84b outputs to the blow control unit 81 in order to determine the air volume to be operated by the DC motor 65 based on the detection signal from the temperature setting unit 86. Further, the unit control unit 84b has a function of outputting identification information that can identify the output signal from the temperature setting unit to the blower control unit 81.
  • the air conditioner unit is an air conditioner 30a in which a heat exchanger (not shown) and an air conditioner blower (not shown) are housed in an integrated housing, and the air conditioner unit is a blower 40a, 40b, 40c. , 40d, 41a, 41b, 41c, 41d, the return section is described as a staircase room 12 adjacent to a plurality of rooms, but the return section is like an air conditioning room (not shown) adjacent to a plurality of rooms.
  • a relatively small room of about 1 tsubo surrounded by heat insulating walls on all sides may be provided with an air conditioner (air conditioner) and a blower (blower).
  • the return section is a housing surrounded by sheet metal, etc.
  • the housing is provided in a place adjacent to a plurality of rooms, only a heat exchanger is provided as an air conditioning unit in the housing, and a plurality of blowers are provided as a blower unit. Is provided, and the exhaust air is passed through the heat exchanger to be conditioned air by a plurality of blowers, and the exhaust air and the conditioned air that do not pass by bypassing the heat exchanger are mixed in the housing and used as mixed conditioned air. You may blow air into the room.
  • the connectors 87a and 87b of the option units 78 and 79 and the connectors 88a and 88b of the option mounting base 76 have a common form so that they can be connected to each other. Therefore, any option unit selected from the plurality of option units can be connected to the connectors 88a and 88b of the option mounting base 76.
  • a unit including a temperature sensor, a humidity sensor, an outside air temperature sensor, a carbon dioxide sensor, a solar radiation sensor, a human sensor, a temperature setting unit, a humidity setting unit, a sensor setting unit, and the like is used. It is also possible to disconnect the option unit once connected and connect another option unit.
  • the case where the temperature sensor unit 78 and the temperature setting unit 79 selected from these option units are mounted on the unit mounting base 76 is taken as an example, but other option units are mounted. It may be the case.
  • the case where two optional units are selectively mounted on the unit mounting base 76 has been described, but the case where only one is mounted or the case where three or more are mounted may be used.
  • an optional mounting base that can be connected to the optional mounting base 76 so that the optional unit and the optional mounting base 76 can be provided in a place outside the main body case 70 of the blower 40b (for example, in the ceiling of a room, near a window, or in a duct).
  • An optional unit extension unit (not shown) consisting of an extension lead wire, a connector and a cover may be provided and connected. Further, although the case where the air volume of the blower 40b determines the air volume steplessly is taken as an example, the air volume may be determined in multiple stages.
  • the air conditioning blower (not shown) of the air conditioner 30a operates, and the temperature of the suction airflow 32a is measured by the suction air temperature sensor (not shown) of the air conditioner 30a. Detect and determine the air conditioning load from the suction air temperature and the set temperature, the inverter drive frequency of the compressor (not shown) of the outdoor unit (not shown), the electric expansion valve (not shown), and the outdoor blower (not shown).
  • the air conditioning capacity of the air conditioner 30a is controlled by controlling (not shown) and adjusting the enthalpy and circulation amount of the refrigerant flowing into the heat exchanger (not shown).
  • the conditioned air that has been heat-exchanged with the refrigerant in the heat exchanger becomes the blown airflow 33a of the air conditioner 30a, and blows out toward the wall A21 substantially horizontally and substantially parallel to the side wall 20. Further, when the blower 40 for the first floor and the blower 41 for the second floor are operated, the suction airflow 43 and the blowout airflow 44 of the blower are generated.
  • the wind speed of the suction airflow 43 of the blower is about 0.4 m / s with respect to the wind speed of 3 to 5 m / S of the airflow 33a of the air conditioner 30a, and the suction airflow 43 of the blower is the wind speed of the airflow 33a of the air conditioner 30a. Slower. Further, since the blown airflow 33a of the air conditioner 30a is blown by the reflux fan, the airflow easily reaches a long distance, and it is difficult to be sucked into the suction airflow 43 of the blower generated by sucking the surrounding air by the operation of the sirocco fan 42. ..
  • the direction of the blown airflow 33a during heating is the same as that during cooling so that the blown airflow 33a is blown in a substantially horizontal direction. It is desirable that the airflow is directed downward from the direction of the airflow 33a.
  • the exhaust portion 52 may be provided anywhere as long as it is conductive to the staircase 12, but if it is provided near the ceiling 62 of the staircase 12 and close to the air conditioner 30a, the exhaust airflow 53 will be larger in the air conditioner 30a. Since the temperature of the suction airflow 32a is close to room temperature after being sucked in, the difference between the set temperature when operating the air conditioner 30a and the actual temperature in the building 1 is small and the operation is controlled.
  • the air-conditioning circulation airflow 45 flows toward the exhaust airflow 53 and the suction airflow 43 until it reverses, and entrains and diffuses the surrounding air. Therefore, as the air-conditioning circulation airflow 45 flows, the temperature rises above the temperature of the air-conditioning airflow 33a during cooling and decreases below the temperature of the air-conditioning airflow 33a during heating.
  • the air-conditioning circulation airflow 45 is mainly formed on the staircase 8 side of the staircase chamber 12, and the air-conditioning return airflow 57 is mainly formed on the corridor 11 side on the second floor of the staircase chamber 12.
  • the airflow 33a of the air conditioner 30a, the exhaust airflow 56 on the first floor, and the exhaust airflow 53 on the second floor are generated in the staircase 12. It is mixed well and becomes mixed air-conditioned air. Then, the blowers 40 and 41 suck in the mixed air-conditioned air and blow it out to each room, so that the temperature difference between the temperature of the air-conditioned circulating airflow 45 and each room is further reduced. Air flows through the handrail 24 and the slit 27 of the handrail 28 to help this mixing. A part of the exhaust airflow 56 on the first floor joins the air-conditioned return airflow 57 from the boundary between the stairs 8 and the corridor 11. Further, in order to facilitate the merging of airflow from the first floor in the corridor 11, a ventilation slit may be provided in the corridor 11 to conduct the first floor and the second floor of the building 1 (not shown).
  • the temperature difference between the temperature of the blown airflow 44 blown into each room and the room temperature of each room is smaller than the temperature difference between the temperature of the blown airflow 33a of the air conditioner 30a and each room.
  • the person in the room is less likely to feel the stress due to the temperature difference between the airflow rate 44 and the room temperature, so that the comfort is improved.
  • the air conditioner in which the rotation speed of the compressor is controlled by the inverter of the present embodiment, the air conditioner is operated so that the difference between the blowout temperature and the room temperature becomes small when the air conditioner air volume of the indoor unit is constant and the air conditioner load is small. do.
  • the air conditioning air volume may be 100% or more of the total air volume: Vh.
  • the air conditioner 30a, the first-floor blower 40, and the second-floor blower 41 may not all be installed on the wall B23. A part of the blower may be provided on the first floor of the staircase 12, or may be provided on the partition wall 22.
  • Vh is larger than the air conditioning air volume, a part of the exhaust air returned from each room to the return section is sucked into the air conditioner 3Oa and the remaining exhaust air.
  • the air is sufficiently mixed and air-conditioned in the return section with the blown air of the air conditioner 30a, becomes mixed air-conditioned air, and returns to each room. If the air volume is adjusted by the air volume adjusting means of the blowers 40 and 41, it is possible to respond to the fluctuation of the air conditioning load in the room for each of the blowers 40 and 41.
  • the operation operation of the blower 40b will be described with reference to the blower amount adjusting flowchart 1 of the blower shown in FIG.
  • the unit control units 84a and 84b detect the suction temperature of the blower 40b and set the room temperature. Is recognized.
  • these pieces of information are input to the calculation unit 83, and the calculation unit 83 inputs the recognized set temperature as a target value and the detected suction temperature of the blower, and determines the air conditioning load of the room blown out by the blower.
  • PID control is performed using the amount of air blown (number of rotations) of each blower as the operating amount.
  • the building 1 is a highly airtight and highly insulated house, and since the wall facing the outside has good heat insulation and airtightness, the outside air load is small and the influence of heat entering from the adjacent room etc. Is the largest, and due to the large amount of air blown by the blowers 40 and 41, the temperature inside the building 1 tends to be uniform as a whole, and the exhaust air from each room is a staircase that is a direct return section from the exhaust section 52. 12 is entered and sucked into the blowers 40 and 41, and the air conditioning air volume is less than the total air flow volume.
  • the room temperature of each room and the suction temperature of the blowers 40 and 41 have a temperature gradient. At least, the temperature of the exhaust air from each room and the room temperature of each room are estimated from the temperature of the intake air of the blowers 40 and 41, and simply, the temperature difference between the suction temperature of the blower and the set temperature of the room is multiplied by a constant. I'm looking for. However, in order to calculate the air conditioning load more accurately, an optional unit extension unit (not shown) is connected, and the optional mounting base 76 is placed in a place where the outdoor temperature can be detected, for example, outdoor air supply.
  • an outside air temperature sensor (not shown) is provided as an optional unit, signal communication is performed with the blowers 40 and 41, the outside air temperature information is input to the calculation unit 83, and the temperature between the outside air temperature and the set temperature is set.
  • the outside air load due to the difference may be added to the air conditioning load.
  • a solar radiation sensor (not shown) is provided near the window of each room to perform signal communication with the blowers 40 and 41, input the solar radiation amount information from the window to the calculation unit 83, and use the solar radiation load as the air conditioning load.
  • a human sensor (not shown) is provided on the ceiling of each room to perform signal communication with the blowers 40 and 41, and the occupant information is input to the calculation unit 83 to reduce the human load on the occupants. It may be added to the air conditioning load.
  • the determined air flow amount (rotation speed) is input to the air blow control unit 81, and the DC motor 65 is rotated at the determined rotation speed.
  • the rotation speed and the air flow amount are in a proportional relationship, and the rotation speed of the DC motor 65 is controlled so that the air flow amount is between a minimum of 100 m 3 / h and a maximum of 250 m 3 / h.
  • the DC motor 65 has a wider control range from the minimum to the maximum rotation speed than the AC motor, and the rotation speed and the power consumption are in a proportional relationship, so that the amount of air blown (rotation speed) can be reduced.
  • the difference in power consumption is larger than that of the AC motor, especially at the minimum air flow amount, and the power consumption is very small, less than 5 W.
  • the suction temperature is 30 ° C
  • the estimated room temperature is 14 ° C
  • the set temperature is 20 ° C
  • the heating and air conditioning load is large, so the air volume of the blowers 40 and 41 is set to 250 m 3 / h, which is the maximum air volume. Increase the temperature and bring the room temperature closer to the set temperature of 20 ° C.
  • the heating and air conditioning load is small, so the air volume of the blowers 40 and 41 is set to 100 m 3 / h, which is the minimum air volume. Make it smaller and stabilize the room temperature at the set temperature of 16 ° C.
  • the suction temperature is 23 ° C
  • the estimated room temperature is 32 ° C
  • the set temperature is 30 ° C
  • the cooling and air conditioning load is small, so the air volume of the blowers 40 and 41 is reduced to 100 m 3 / h, which is the minimum air volume.
  • the conditioned air in which the exhaust air from the exhaust section 52 of each room is conditioned by the air conditioner 30a and the unair-conditioned exhaust air are larger than the air volume of the conditioned air.
  • the conditioned air and the exhaust air are surely mixed to become a mixed conditioned air having a uniform temperature with a small difference from the room temperature, and the control range of the number of rotations is controlled.
  • the entire house is made uniform with energy saving.
  • the rotation speed of the DC motors 65 of the blowers 40 and 41 can be adjusted in a wider range to save energy in each room.
  • the temperature setting unit 89 can set the temperature to the individual's preference for each room, and the blowers 40 and 41 that blow air to each room in the staircase room 12 (return section) allow the exhaust air and air conditioning from each room. Since the mixed air-conditioned air mixed with air is blown out from the outlet grills 9a, 9b, 9c, 9d of each room, the temperature of the exhaust air from each room and the room temperature of each room can be determined from the temperature of the intake air of the blowers 40 and 41.
  • the air conditioning load of each room is determined by the set temperature of each room and the suction temperature of the blowers 40 and 41, and the amount of air blown by the blowers 40 and 41 is adjusted. Can be brought closer to the set temperature to create a comfortable space according to personal preference.
  • the minimum number of rotations of the DC motor 65 since the minimum air volume 100 m 3 / h of air blowing rate of the blower, the minimum total air volume of the plurality of fans even 800 m 3 / h, conditioned air of the air conditioner 30b 700 meters 3 / More than h, the conditioned air and the exhaust air are surely mixed to form a mixed conditioned air with a uniform temperature with a small temperature difference from the room temperature, which is sucked into each blower and blown to each room. Is air-conditioned to a more energy-saving and uniform temperature by operating the DC motors 65 of the blowers 40 and 41 at the minimum rotation speed.
  • the entire building 1 can be used. If the mixed air-conditioned air is circulated, the effect on the temperature and comfort of each room is small if it is a short time such as one hour. Further, if there is an obstacle in the staircase room (return section) 12 and a short circuit occurs, the staircase room 12 may not be sufficiently mixed, or a temperature difference may occur depending on the position of the staircase room 12 due to sunlight from the window of the staircase room 12.
  • a separate air volume setting SW may be connected to the blower so that the air volume of the blower can be set by the air volume setting SW according to personal preference, and the air volume setting SW (not shown) is automatically set.
  • the operation may be controlled by the above flow.
  • the room temperature is estimated from the suction temperature of the blower, and the air conditioning load of the room is determined by the suction temperature and the set temperature of the room.
  • a humidity sensor (not shown)
  • humidity setting unit (not shown) is added to detect the suction humidity of the blower, estimate the humidity of the room, recognize the set humidity of the room, and the suction temperature and suction humidity of the blower and the set temperature of the room. With the set humidity, the air conditioning load of the room may be determined, especially during summer cooling.
  • FIG. 12 is a flow chart for adjusting the air volume of the blower
  • FIG. 13 is a flow chart for adjusting the air volume of the blower 3
  • FIG. 14 is a flow chart for adjusting the set temperature of the air conditioner. be.
  • the air-conditioning system 100 shown in FIG. 11 is provided in the building 101 and has the same basic configuration as the air-conditioning system 29 provided in the building 1 of the first embodiment. The same number is assigned and some components are omitted. That is, in FIG. 11, the air conditioning system 100 and the building 101 have four rooms and air-condition the rooms, but the configuration such as the number of rooms and the number of blowers is not limited to that of the building 101.
  • blowout grills (intake units) 9a and 9c for blowing air into the room on the first floor are provided.
  • One ends of the first floor ventilation ducts 10a and 10c are connected to the outlet grills 9a and 9c, respectively.
  • the rooms A13 and B14 on the second floor of the building 101 are arranged adjacent to the staircase room 12, and the ceilings of the rooms A13 and B14 have blowout grills (intake units) 18a and 18c for blowing air into the room on the second floor. It is provided. One ends of the second floor air ducts 19a and 19c are connected to the blowout grills 18a and 18c, respectively.
  • the staircase room 12, which is a return section, is provided with an air conditioner (air conditioner) 30a, a blower for the first floor (blower) 40a, 40c, and a blower for the second floor (blower) 41a, 41c of the air conditioning system 100. .. Blowers 40a and 40c for the first floor and blowers 41a and 41c for the second floor are attached to the other ends of the blower ducts 10a and 10c for the first floor and the blower ducts 19a and 19c for the second floor.
  • the living room 3, the kitchen 4, the room A13, and the room B14 are provided with remote controllers 110, 111, 112, and 113, which can operate the air conditioning system 100 in each room, respectively, and the staircase room 12, which is a return section, is provided with a remote controller.
  • a centralized remote controller 115 electrically connected to 110, 111, 112, 113, an air conditioner 30a, and blowers 40a, 40c, 41a, 41c is provided, and each room can be set and operated in the staircase 12.
  • the remote controllers 110, 111, 112, 113 and the centralized remote controller 115 have temperature sensors 120, 121, 122, 123, 125, and detect the room temperature of the living room 3, the kitchen 4, the room A13, the room B14, and the staircase room 12.
  • the remote controllers 110, 111, 112, 113 and the centralized remote controller 115 have SW130, 131, 132, 133, 135 for setting the temperatures of the living room 3, the kitchen 4, the room A13, the room B14, and the staircase room 12.
  • the temperature can be set from 16 ° C to 30 ° C by rotating.
  • the remote controllers 110, 111, 112, 113 and the centralized remote controller 115 are connected by signal lines 140, 141, 142, 143, and the room temperature detected by the temperature sensors 120, 121, 122, 123 of the remote controller and SW 130, 131, 132, The information of the set temperature set in 133 is communicated.
  • the centralized remote controller 115, the air conditioner 30a, and the blowers 40a, 40c, 41a, 41c are connected by signal lines 145, 146, 147, 148, 149, and the set temperature and air volume of the air conditioner 30a, the blowers 40a, 40c, The air volume of 41a and 41c is adjusted by communication.
  • the display unit 150 can confirm the set temperature and room temperature of the remote controllers 110, 111, 112, 113 and the centralized remote controller 115 by communication, and the SW135 communicates the set temperatures of the remote controllers 110, 111, 112, 113. It is possible to change by.
  • the air conditioner 30a sucks in the exhaust air. , Perform air-conditioning operation for cooling or heating, and blow out air-conditioned air. Then, the conditioned air is mixed with other exhaust air in the staircase 12 to become mixed conditioned air, which is sucked by the rotation of the DC motors 65 of the blowers 40a, 40c, 41a and 41c, and is sucked in by the rotation of the DC motor 65 for the first floor.
  • the air is blown from the outlet grills 9a, 9c, 18a and 18c to the living room 3, the kitchen 4, the room A13 and the room B14, and the air is conditioned and becomes exhaust air.
  • the staircase 12 which is the return section.
  • the total air volume of the plurality of blowers is larger than the air conditioning air volume of the air conditioner 30a, the air conditioning air and the exhaust air are surely mixed, and the mixed air conditioning with a uniform temperature with a small temperature difference from the room temperature. Since it becomes air, is sucked into each blower, and is blown to each room, each room is energy-saving and air-conditioned to a uniform temperature.
  • the operation operation of the blower will be described with reference to the blower amount adjusting flowchart 2 of the blower shown in FIG.
  • the operation is started, and the temperature sensors 120, 121, 122, 123 provided on the remote controllers 110, 111, 112, 113 are used to adjust the room temperature of the living room 3, the kitchen 4, the room A13, and the room B14.
  • the SW130, 131, 132, 133 of the remote controllers 110, 111, 112, 113 recognize the set temperatures of the living room 3, the kitchen 4, the room A13, and the room B14.
  • the information on the room temperature and the set temperature of each room is communicated to the centralized remote controller 115 by the signal lines 140, 141, 142, and 143, and the control unit (not shown) of the centralized remote controller 115 is based on the information in each room.
  • the air-conditioning load is determined, and PID control is performed using the amount of air blown (number of rotations) of each blower as the operating amount.
  • the building 101 is a highly airtight and highly heat-insulated house, and the wall facing the outside has good heat insulation and airtightness. Is the largest, and it is simply calculated by multiplying the temperature difference between the room temperature and the set temperature by a constant.
  • the room temperatures of the living room 3, the kitchen 4, the room A13, and the room B14 are detected by the temperature sensors 120, 121, 122, 123 provided on the remote controls 110, 111, 112, 113, and the SW130, 131.
  • 132, 133 recognize the set temperature of each room, and the centralized remote control 115 determines the air conditioning load of each room and adjusts the amount of air blown by each blower.
  • An optional unit extension unit (not shown) is connected to the optional mounting bases 76 of 40 and 41, and the optional mounting base 76 is connected to a place where the room temperature of each room can be detected, for example, near the door of each room or exhaust. It is provided near the unit 52, the temperature sensor unit 78 and the temperature setting unit 79 are connected to it, signal communication is performed with the blowers 40 and 41, the room temperature and the set temperature information is input to the calculation unit 83, and the room temperature and the setting of each room are set.
  • the air conditioning load of each room may be obtained by multiplying the temperature difference of the temperature by a constant. In that case, the remote controllers 110, 111, 112, 113 and the centralized remote controller 115 become unnecessary.
  • an outside air temperature sensor (not shown) is provided, outside air temperature information is input to the centralized remote controller 115, and the outside air load due to the temperature difference between the outside air temperature and the set temperature is air-conditioned.
  • a solar radiation sensor (not shown) is installed in each room, and the solar radiation amount information from the window is input to the centralized remote controller 115 to add the solar radiation load to the air conditioning load, or a human sensor (figure) in each room. (Not shown) may be provided, and the occupant information may be input to the centralized remote controller 115 to add the human body load of the occupant to the air conditioning load.
  • the determined air flow amount (rotation speed) is input to the air blow control unit (not shown) of each of the blowers 40 and 41 at the signal lines 146, 147, 148, and 149, and the DC motor 65 is rotated at the determined rotation speed. .. Since the air conditioning load of each room is determined by the room temperature and the set temperature of each room, the rotation speed of the DC motor 65 is controlled, and the amount of air blown by the blowers 40 and 41 is PID controlled, the difference between the room temperature and the set temperature is large. The larger the air conditioning load, the larger the amount of air blown by the blowers 40 and 41, and the room temperature of the room blown out by the blowers 40 and 41 approaches the set temperature earlier.
  • the heating and air conditioning load is large, so the air volume of the blower 40 is increased to 250 m 3 / h, which is the maximum air volume, and the room temperature is set to the set temperature 20. Bring to °C quickly.
  • the cooling air conditioning load is large, so the air volume of the blowers 40 and 41 is increased to 250 m 3 / h, which is the maximum air volume, and the room temperature is set to the set temperature 28. Bring to °C quickly.
  • the cooling air conditioning load is small, so the air volume of the blowers 40 and 41 is reduced to 100 m 3 / h, which is the minimum air volume, and the room temperature is set to the set temperature 30. Stabilize at ° C. As a result, the air conditioning load of each room can be determined more accurately from the room temperature of each room, and energy saving, faster and more reliable, each room can be set to the set temperature and a comfortable space according to personal preference. can.
  • the operation operation of the other blowers will be described with reference to the blower flow chart 3 of the blower shown in FIG.
  • the room temperature is detected and the set temperature of the room is recognized.
  • the air volume of the blowers 40 and 41 is set as the maximum air volume. If not, the PID control of the blower amount (rotation speed) of the blowers 40 and 41 is continued.
  • the air volume of the blowers 40 and 41 is set to the maximum air volume of 250 m 3 / h. If the temperature of some rooms suddenly rises above the set temperature for some reason, such as an increase in the amount of solar radiation or the operation of another heater, the amount of heat is recovered and the other Since it is used for heating a room, it is possible to heat other rooms with energy saving by maximizing the amount of air blown by the blowers 40 and 41, returning a large amount of air in the room to the return section quickly, and blowing air into each room.
  • PID control is performed based on the blower amount adjustment flowchart 2 of the blower shown in FIG.
  • the air volume of the blowers 40 and 41 is set to the maximum air volume of 250 m 3 / h. If the temperature of some rooms suddenly drops below the set temperature for some reason, such as when another air conditioner is operated, the amount of heat is recovered and used for cooling the other rooms. By maximizing the amount of air blown by the blowers 40 and 41, returning a large amount of air in the room to the return section quickly and blowing air into each room, the other rooms can be cooled with energy saving. If this is not the case, PID control is performed based on the blower amount adjustment flowchart 2 of the blower shown in FIG.
  • the operation operation of the air conditioner 30a will be described with reference to the set temperature control flowchart of the air conditioner shown in FIG.
  • the temperature sensor 125 provided in the centralized remote controller 115 detects the room temperature of the staircase room 12 which is the return section.
  • the SW135 of the centralized remote controller 115 recognizes the set temperature of the staircase room 12, which is the set return section.
  • the control unit (not shown) of the centralized remote controller 115 determines the air conditioning load of the staircase room 12, which is the return compartment, and performs PID control using the set temperature of the air conditioner 30a as the operation amount.
  • the building 101 is a highly airtight and highly heat-insulated house, and the wall facing the outside has good heat insulation and airtightness. Assuming that the influence is the largest, it is simply obtained by multiplying the temperature difference between the room temperature of the staircase chamber 12 and the set temperature by a constant. However, in order to calculate the air conditioning load more accurately, an outside air temperature sensor (not shown) is provided, signal communication is performed with the centralized remote controller 115, outside air temperature information is input, and the temperature difference between the outside air temperature and the set temperature is reached.
  • the outside air load is added to the air conditioning load, or a solar radiation sensor (not shown) is provided in the staircase 12, signal communication is performed with the centralized remote controller 115, and the solar radiation amount information from the window is input to turn the solar radiation load into the air conditioning load. May be added.
  • the determined set temperature is input to the air conditioning control unit (not shown) of the air conditioner 30a, and controls the compressor (not shown), the electric expansion valve (not shown), etc. together with the suction air temperature information to perform air conditioning. Control ability.
  • the difference between the suction air temperature and the set temperature is proportional to the air conditioning capacity. For example, in winter, when the room temperature of the staircase 12 is 14 ° C. and the set temperature is 20 ° C., the heating / air conditioning load is large, so the set temperature of the air conditioner 30a is raised to 26 ° C. and the room temperature of the staircase 12 is set. Bring the temperature close to 20 ° C quickly.
  • the cooling air conditioning load is large. Therefore, the set temperature of the air conditioner 30a is lowered to 20 ° C, and the room temperature of the staircase 12 is set to the set temperature 28. Bring to °C quickly.
  • the suction air temperature of the air conditioner 30a also approaches the set temperature, and the power consumption of the compressor or the like of the air conditioner 30a is reduced. It is energy-saving and stable near the set temperature. For example, in winter, when the room temperature of the staircase 12 is 14 ° C.
  • the heating / air conditioning load is small, so the set temperature of the air conditioner 30a is lowered to 22 ° C. and the room temperature of the staircase 12 is set. Stabilize at a temperature of 16 ° C. In summer, when the room temperature of the staircase 12 is 32 ° C and the set temperature is 30 ° C, the cooling air conditioning load is small, so the set temperature of the air conditioner 30a is raised to 22 ° C, and the room temperature of the staircase 12 is set to the set temperature 30. Stabilize at ° C.
  • the air conditioning load of the staircase 12 is determined by the room temperature and the set temperature of the staircase 12 (return compartment), and the set temperature of the air conditioner 30a is PID controlled. Is controlled, and the room temperature of the staircase 12 (return section) approaches the set temperature quickly.
  • the temperature of the staircase 12 (return compartment) is the average temperature of the mixed air-conditioned air that is the confluence of the exhaust air and the air-conditioned air after air-conditioning in each room. The temperature is higher and lower during heating, and depending on the set temperature of the air conditioner 30a, the air conditioning capacity is insufficient and the temperature does not approach the set temperature of the staircase 12 (return section).
  • the room temperature of the staircase room 12 (return section) is brought closer to the set temperature more quickly and surely, and the room temperature of each room is also brought closer to the set temperature quickly and surely.
  • the required air conditioning capacity of the air conditioner 30a also decreases, the number of revolutions of the compressor and the DC motor 65 decreases, the power consumption also decreases, the energy is saved, and the temperature becomes stable near the set temperature.
  • the air conditioning load of the stair chamber 12 (return compartment) is quickly and accurately determined from the air temperature and the set temperature of the stair chamber 12 (return compartment) sucked into the air conditioner 30a and the blowers 40 and 41.
  • each room can be set to the set temperature more quickly and more reliably to create a comfortable space according to the individual's preference. Further, even if the air conditioning load of the room can be sufficiently coped with and the temperature of the room can be adjusted to the personal preference, it is possible to save more energy and stabilize the temperature at the personal preference.
  • timing (time) of the blower volume adjustment flow of the blowers 40 and 41 and the set temperature control flow of the air conditioner 30a the blower volume adjustment flow is frequently performed, and the set temperature control flow is occasionally performed. This is because if the set temperature of the air conditioner 30a is frequently adjusted, the amount of air blown to the entire house is reached, so that the power consumption is prevented from increasing. Examples of timing (time) are 1 to 4 below, but in any case, the actual optimum timing (time) differs depending on the air conditioning load of the building, the capacity of the air conditioner, the amount of air blown by the blower, etc.
  • a structure is preferable in which the centralized remote controller 115, the remote controllers 110, 111, 112, 113 or the blowers 40 and 41 are provided with a timing SW, and the timing (time) can be changed by the timing SW.
  • the air volume adjustment flow of the blowers 40 and 41 is performed every 5 minutes, and the set temperature adjustment flow of the air conditioner 30a is performed every hour. 2. It is set to 1 within 24 hours after the start-up of the air conditioner, and thereafter, the air volume adjustment flow of the blowers 40 and 41 is performed every 10 minutes, and the set temperature adjustment flow of the air conditioner 30a is performed every 2 hours. 3. 3. 3.
  • the air volume adjustment flow of the blowers 40 and 41 is performed every 5 minutes, and when the time at which the difference between the room temperature and the set temperature of each room is equal to or higher than a certain threshold value continues for 1 hour or more, the set temperature adjustment flow of the air conditioner 30a is performed. It is started every 10 minutes until it falls below the threshold value. 4.
  • the air conditioner is set to 3 within 24 hours after the start-up of the air conditioner, and after that, the air volume adjustment flow of the blowers 40 and 41 is performed every 10 minutes, and the time at a threshold value or more where there is a difference between the room temperature and the set temperature of each room is 1 hour. If the above is continued, the set temperature control flow of the air conditioner 30a is started, and thereafter, it is performed every 20 minutes until it becomes less than the threshold value.
  • the set temperature and air volume of the air conditioner 30a and the air volume of the blowers 40a, 40c, 41a, 41c are controlled from the centralized remote controller 115, but the centralized remote controller 115 is not provided and the remote controllers 110, 111, It may be controlled directly from 112 and 113.
  • the remote controllers 110, 111, 112, and 113 are not provided, and a temperature sensor for detecting the room temperature is separately provided in each room, the signal is communicated with the centralized remote controller 115, and the centralized remote controller 115 sets each room.
  • the temperature may be set to control the air conditioner 30a and the blowers 40a, 40c, 41a, 41c.
  • the communication between the centralized remote controller 115 and the remote controllers 110, 111, 112, 113 is on the signal lines 140, 141, 142, 143, and the communication between the centralized remote controller 115 and the blowers 40a, 40c, 41a, 41c is the signal line 146.
  • the centralized remote controller 115 and the air conditioner 30a are communicated by a wired system with a signal line 145.
  • a wireless method such as Bluetooth (registered trademark) or infrared may be used.
  • FIG. 15 is a control system diagram of the air conditioning system according to the third embodiment of the present invention.
  • the air conditioning system 160 shown in FIG. 15 has the same basic configuration as the air conditioning system 29 provided in the building 1 of the first embodiment and the air conditioning system 100 provided in the building 101, and is easy to explain. For the sake of conversion, the same components are given the same number, and some components are omitted.
  • the air conditioner (air conditioner) 30a of the air conditioning system 160 In the return section (not shown) in the building 161, the air conditioner (air conditioner) 30a of the air conditioning system 160, the first floor blower (blower) 40a, 40c, and the second floor blower (blower) 41a, 41c are located.
  • the kitchen (not shown) is provided with a range hood 162, and the bathroom is provided with ventilation equipment such as an air conditioner / drying ventilation fan 163.
  • the operation can be controlled by inputting their operation information and outputting the operation information. It is connected to the HEMS (Home Energy Management System) remote control 164 by a communication line 165.
  • HEMS Home Energy Management System
  • Building 161 has four rooms: living room (not shown), kitchen (not shown), room A (not shown), and room B (not shown), and each room has blowers 40a and 40c. , 41a, 41c, through a duct (not shown) that blows out mixed air conditioning air, and a temperature sensor 175, 176, 177, 178 that detects the room temperature of each room. Further, the return compartment (not shown) has a temperature sensor 179 that detects the room temperature of the return compartment.
  • the HEMS remote controller 164 is connected to the temperature sensors 175, 176, 177, 178, 179 and the communication line 165, and inputs the room temperature information of each room and the return section.
  • the HEMS remote controller 164 includes temperature setting means (not shown) for each room and return compartment.
  • the HEMS remote control 164 is provided with a communication device (communication means) 166, and the communication device 166 is connected to a public line 168 for information communication with the outside of the building, for example, a communication device (smartphone, mobile phone, personal computer, tablet, car navigation system). Etc.) Information communication such as input / output of operation information is possible with 169 and the server 170.
  • a communication device smart phone, mobile phone, personal computer, tablet, car navigation system.
  • Information communication such as input / output of operation information is possible with 169 and the server 170.
  • it has an AI speaker (communication device) 167 that is wirelessly connected to the communication device 166 and has an AI assistant function by voice recognition in dialogue, and is connected to an external server 170 through a public line 168 to be connected to a HEMS remote controller. Information communication by voice such as input / output of operation information with 164 is possible.
  • the temperature setting means (not shown) of the HEMS remote control 164 sets the temperature of the return compartment and each room, and operates the air conditioner 30a and the blowers 40a, 40c, 41a, 41c. Similar to 2, the air conditioning load of the return compartment and each room is determined by the room temperature information of the return compartment and each room from the temperature sensors 175, 176, 177, 178, 179 and the set temperature by the temperature setting means (not shown). Then, the set temperature of the air conditioner 30a is adjusted, the amount of air blown by the blowers 40a, 40c, 41a, and 41c is adjusted, and the room temperature of each room is quickly and surely brought close to the set temperature suitable for the individual's taste. In addition, it is possible to improve convenience and comfort without operating the HEMS remote controller 164 each time, such as changing the set temperature of each room and return compartment by voice with the AI speaker (communication device) 167. Is.
  • the set temperature of each room and return section is changed to save energy when the person is absent, and when returning home, the room temperature is stabilized to suit the individual's taste. It is also possible to leave it.
  • This makes it possible to set the temperature of each room from the communication device 169 inside and outside the building, and make the room a comfortable space according to personal preference when there is no temperature setting means nearby even inside the building or while going out. It is possible and the convenience is increased.
  • the set temperature of each room and return section can be changed according to the power situation and weather in the area, and the power is stable as a area and energy saving as an individual. It can be controlled for comfortable driving.
  • a human sensor (not shown) that detects the presence of people in each room is also connected, and the HEMS remote controller 164 is used to set the temperature of each room, the room temperature, the outside air temperature, the amount of solar radiation, and the number of people in each room.
  • the air conditioning load of the blower 40a, 40c, 41a, 41c may be adjusted.
  • an outside air temperature sensor (not shown) that detects the outside air temperature
  • a solar radiation sensor not shown
  • home appliances such as an IH stove and a lighting device may be connected to the HEMS remote controller 164 to enable operation.
  • the HEMS remote control 164 is connected to a solar cell, a storage battery, a power conditioner, a power measuring device, etc., and each device can be more energy-saving and efficient according to the power consumption of each device, the amount of power generated by the solar cell, the amount of power stored in the storage battery, etc.
  • the operation may be controlled.
  • the communication method may be wired or wireless.

Landscapes

  • Engineering & Computer Science (AREA)
  • Chemical & Material Sciences (AREA)
  • Combustion & Propulsion (AREA)
  • Mechanical Engineering (AREA)
  • General Engineering & Computer Science (AREA)
  • Physics & Mathematics (AREA)
  • Fluid Mechanics (AREA)
  • Human Computer Interaction (AREA)
  • Air Conditioning Control Device (AREA)
  • Central Air Conditioning (AREA)
PCT/JP2020/012511 2020-03-19 2020-03-19 空調システム Ceased WO2021186729A1 (ja)

Priority Applications (6)

Application Number Priority Date Filing Date Title
PCT/JP2020/012511 WO2021186729A1 (ja) 2020-03-19 2020-03-19 空調システム
US17/787,555 US11674709B2 (en) 2020-03-19 2020-03-19 Air conditioning system
JP2020555531A JP6892179B1 (ja) 2020-03-19 2020-03-19 空調システム
JP2021085488A JP7142969B2 (ja) 2020-03-19 2021-05-20 空調システム
JP2022141828A JP7477904B2 (ja) 2020-03-19 2022-09-07 空調システム
US18/141,355 US12072119B2 (en) 2020-03-19 2023-04-28 Air conditioning system

Applications Claiming Priority (1)

Application Number Priority Date Filing Date Title
PCT/JP2020/012511 WO2021186729A1 (ja) 2020-03-19 2020-03-19 空調システム

Related Child Applications (2)

Application Number Title Priority Date Filing Date
US17/787,555 A-371-Of-International US11674709B2 (en) 2020-03-19 2020-03-19 Air conditioning system
US18/141,355 Division US12072119B2 (en) 2020-03-19 2023-04-28 Air conditioning system

Publications (1)

Publication Number Publication Date
WO2021186729A1 true WO2021186729A1 (ja) 2021-09-23

Family

ID=76464514

Family Applications (1)

Application Number Title Priority Date Filing Date
PCT/JP2020/012511 Ceased WO2021186729A1 (ja) 2020-03-19 2020-03-19 空調システム

Country Status (3)

Country Link
US (2) US11674709B2 (enExample)
JP (3) JP6892179B1 (enExample)
WO (1) WO2021186729A1 (enExample)

Cited By (1)

* Cited by examiner, † Cited by third party
Publication number Priority date Publication date Assignee Title
JP2023144182A (ja) * 2022-03-28 2023-10-11 パナソニックIpマネジメント株式会社 空調システム

Families Citing this family (6)

* Cited by examiner, † Cited by third party
Publication number Priority date Publication date Assignee Title
WO2018073954A1 (ja) * 2016-10-21 2018-04-26 株式会社Fhアライアンス 空調システムの施工方法及び空調システムの設計方法
JP7774195B2 (ja) * 2021-09-06 2025-11-21 パナソニックIpマネジメント株式会社 空調システム
JP7112787B1 (ja) 2021-12-02 2022-08-04 株式会社Fhアライアンス 空調換気システム
CN116734365A (zh) * 2022-03-02 2023-09-12 大金工业株式会社 一种新风系统及其控制方法
CN116608565A (zh) * 2023-04-13 2023-08-18 青岛海尔空调器有限总公司 用于空调器的控制方法及装置、空调器、存储介质
CN118361830B (zh) * 2024-06-18 2024-08-16 深圳市亚晔实业有限公司 一种基于环境感知的蓝牙WiFi温湿度控制器控制方法

Citations (5)

* Cited by examiner, † Cited by third party
Publication number Priority date Publication date Assignee Title
JPH0979648A (ja) * 1995-09-14 1997-03-28 Toshiba Corp 全館空調制御システム
JPH09280604A (ja) * 1996-04-16 1997-10-31 Toshiba Ave Corp 空気調和装置
JP2012057880A (ja) * 2010-09-09 2012-03-22 Marushichi Home Kk 空調システム
WO2018073954A1 (ja) * 2016-10-21 2018-04-26 株式会社Fhアライアンス 空調システムの施工方法及び空調システムの設計方法
WO2019107163A1 (ja) * 2017-11-28 2019-06-06 パナソニックIpマネジメント株式会社 空調システム、空調システムコントローラ

Family Cites Families (14)

* Cited by examiner, † Cited by third party
Publication number Priority date Publication date Assignee Title
US3169382A (en) * 1963-05-02 1965-02-16 Systems Engineering Corp Air conditioning system for multiple unit dwellings
US4811897A (en) * 1986-02-20 1989-03-14 Mitsubishi Denki Kabushiki Kaisha Duct type air conditioning system
US5673851A (en) * 1995-12-11 1997-10-07 Acutherm L.P. Variable-air-volume diffuser with induction air assembly and method
JP6091624B2 (ja) * 2013-08-29 2017-03-08 三菱電機株式会社 空気調和システム
JP6842809B2 (ja) 2016-12-28 2021-03-17 パナソニック株式会社 空調システム
US11300316B2 (en) * 2017-03-31 2022-04-12 Panasonic Intellectual Property Management Co., Ltd. Air blowing device and indoor air conveying system using same
JP2019039630A (ja) 2017-08-28 2019-03-14 アズビル株式会社 Vavシステムおよび空調制御方法
JP2019174103A (ja) 2018-03-26 2019-10-10 パナソニックIpマネジメント株式会社 空調システム
WO2020166503A1 (ja) * 2019-02-15 2020-08-20 パナソニックIpマネジメント株式会社 空調システム
US11976833B2 (en) * 2019-03-26 2024-05-07 Panasonic Intellectual Property Management Co., Ltd. Air conditioning system controller
AU2020258187B2 (en) * 2019-04-15 2023-02-02 Daikin Industries, Ltd. Air conditioning system
JP6761890B1 (ja) * 2019-04-15 2020-09-30 ダイキン工業株式会社 空気調和システム
CN114341559A (zh) * 2019-12-04 2022-04-12 日立环球生活方案株式会社 空气调节系统
EP4343221A4 (en) * 2021-11-19 2024-11-27 Samsung Electronics Co., Ltd. Ventilation apparatus and method for controlling same

Patent Citations (5)

* Cited by examiner, † Cited by third party
Publication number Priority date Publication date Assignee Title
JPH0979648A (ja) * 1995-09-14 1997-03-28 Toshiba Corp 全館空調制御システム
JPH09280604A (ja) * 1996-04-16 1997-10-31 Toshiba Ave Corp 空気調和装置
JP2012057880A (ja) * 2010-09-09 2012-03-22 Marushichi Home Kk 空調システム
WO2018073954A1 (ja) * 2016-10-21 2018-04-26 株式会社Fhアライアンス 空調システムの施工方法及び空調システムの設計方法
WO2019107163A1 (ja) * 2017-11-28 2019-06-06 パナソニックIpマネジメント株式会社 空調システム、空調システムコントローラ

Cited By (1)

* Cited by examiner, † Cited by third party
Publication number Priority date Publication date Assignee Title
JP2023144182A (ja) * 2022-03-28 2023-10-11 パナソニックIpマネジメント株式会社 空調システム

Also Published As

Publication number Publication date
US20230341145A1 (en) 2023-10-26
JP7477904B2 (ja) 2024-05-02
US12072119B2 (en) 2024-08-27
JP2022168057A (ja) 2022-11-04
JP7142969B2 (ja) 2022-09-28
US20220404058A1 (en) 2022-12-22
JP2021148426A (ja) 2021-09-27
JPWO2021186729A1 (enExample) 2021-09-23
US11674709B2 (en) 2023-06-13
JP6892179B1 (ja) 2021-06-23

Similar Documents

Publication Publication Date Title
JP6892179B1 (ja) 空調システム
US12352463B2 (en) Air-conditioning system
JP5517793B2 (ja) サーキュレータおよびサーキュレータシステム
JP3480877B2 (ja) 全館空調制御システム
JP2010196997A (ja) 建物
JP2019178814A (ja) ダクト式空調システムおよびその吹出し口構造
JP7503315B2 (ja) 空調システムの施工方法
JPH11141954A (ja) セントラル空調システム
JP2021148382A (ja) 空気調和システム
WO2017168511A1 (ja) 制御装置、空調システム、空調方法及びプログラム
JP7042524B2 (ja) 空調システムの設計方法
JPH11132490A (ja) 空気調和機及び部屋の空調方式
JP2001108271A (ja) 換気装置、それを用いた空調換気システム及び建物
JP4531201B2 (ja) 空調方法及び空調システム
JP2004293850A (ja) 屋内の空気流通システム
JP7490242B2 (ja) 空調システム
JP4773925B2 (ja) 建物の空調システム
JPH08136033A (ja) 空気調和装置
JP2023118915A (ja) 空調システムの施工方法
JP2005188884A (ja) 風量分配装置およびこれを用いた空気調和システム
JP2023164064A (ja) 空気調和システム
WO2023229003A1 (ja) 空調システム
JPH0742969A (ja) 住宅用空気調和システム
JPH05306830A (ja) 空気調和機

Legal Events

Date Code Title Description
ENP Entry into the national phase

Ref document number: 2020555531

Country of ref document: JP

Kind code of ref document: A

121 Ep: the epo has been informed by wipo that ep was designated in this application

Ref document number: 20925098

Country of ref document: EP

Kind code of ref document: A1

NENP Non-entry into the national phase

Ref country code: DE

122 Ep: pct application non-entry in european phase

Ref document number: 20925098

Country of ref document: EP

Kind code of ref document: A1