WO2021106987A1 - 医用画像処理装置、光干渉断層撮影装置、医用画像処理方法、及びプログラム - Google Patents

医用画像処理装置、光干渉断層撮影装置、医用画像処理方法、及びプログラム Download PDF

Info

Publication number
WO2021106987A1
WO2021106987A1 PCT/JP2020/043963 JP2020043963W WO2021106987A1 WO 2021106987 A1 WO2021106987 A1 WO 2021106987A1 JP 2020043963 W JP2020043963 W JP 2020043963W WO 2021106987 A1 WO2021106987 A1 WO 2021106987A1
Authority
WO
WIPO (PCT)
Prior art keywords
data
image
tomographic
unit
tomographic image
Prior art date
Legal status (The legal status is an assumption and is not a legal conclusion. Google has not performed a legal analysis and makes no representation as to the accuracy of the status listed.)
Ceased
Application number
PCT/JP2020/043963
Other languages
English (en)
French (fr)
Japanese (ja)
Inventor
好彦 岩瀬
Current Assignee (The listed assignees may be inaccurate. Google has not performed a legal analysis and makes no representation or warranty as to the accuracy of the list.)
Canon Inc
Original Assignee
Canon Inc
Priority date (The priority date is an assumption and is not a legal conclusion. Google has not performed a legal analysis and makes no representation as to the accuracy of the date listed.)
Filing date
Publication date
Application filed by Canon Inc filed Critical Canon Inc
Priority to CN202080081569.9A priority Critical patent/CN114760906A/zh
Publication of WO2021106987A1 publication Critical patent/WO2021106987A1/ja
Priority to US17/824,038 priority patent/US12087001B2/en
Anticipated expiration legal-status Critical
Ceased legal-status Critical Current

Links

Images

Classifications

    • AHUMAN NECESSITIES
    • A61MEDICAL OR VETERINARY SCIENCE; HYGIENE
    • A61BDIAGNOSIS; SURGERY; IDENTIFICATION
    • A61B3/00Apparatus for testing the eyes; Instruments for examining the eyes
    • A61B3/10Objective types, i.e. instruments for examining the eyes independent of the patients' perceptions or reactions
    • A61B3/12Objective types, i.e. instruments for examining the eyes independent of the patients' perceptions or reactions for looking at the eye fundus, e.g. ophthalmoscopes
    • A61B3/1225Objective types, i.e. instruments for examining the eyes independent of the patients' perceptions or reactions for looking at the eye fundus, e.g. ophthalmoscopes using coherent radiation
    • GPHYSICS
    • G06COMPUTING OR CALCULATING; COUNTING
    • G06TIMAGE DATA PROCESSING OR GENERATION, IN GENERAL
    • G06T7/00Image analysis
    • G06T7/30Determination of transform parameters for the alignment of images, i.e. image registration
    • G06T7/38Registration of image sequences
    • AHUMAN NECESSITIES
    • A61MEDICAL OR VETERINARY SCIENCE; HYGIENE
    • A61BDIAGNOSIS; SURGERY; IDENTIFICATION
    • A61B3/00Apparatus for testing the eyes; Instruments for examining the eyes
    • A61B3/10Objective types, i.e. instruments for examining the eyes independent of the patients' perceptions or reactions
    • A61B3/102Objective types, i.e. instruments for examining the eyes independent of the patients' perceptions or reactions for optical coherence tomography [OCT]
    • GPHYSICS
    • G06COMPUTING OR CALCULATING; COUNTING
    • G06TIMAGE DATA PROCESSING OR GENERATION, IN GENERAL
    • G06T19/00Manipulating 3D models or images for computer graphics
    • G06T19/20Editing of 3D images, e.g. changing shapes or colours, aligning objects or positioning parts
    • GPHYSICS
    • G06COMPUTING OR CALCULATING; COUNTING
    • G06TIMAGE DATA PROCESSING OR GENERATION, IN GENERAL
    • G06T7/00Image analysis
    • G06T7/0002Inspection of images, e.g. flaw detection
    • G06T7/0012Biomedical image inspection
    • GPHYSICS
    • G06COMPUTING OR CALCULATING; COUNTING
    • G06TIMAGE DATA PROCESSING OR GENERATION, IN GENERAL
    • G06T7/00Image analysis
    • G06T7/30Determination of transform parameters for the alignment of images, i.e. image registration
    • G06T7/33Determination of transform parameters for the alignment of images, i.e. image registration using feature-based methods
    • GPHYSICS
    • G06COMPUTING OR CALCULATING; COUNTING
    • G06TIMAGE DATA PROCESSING OR GENERATION, IN GENERAL
    • G06T7/00Image analysis
    • G06T7/50Depth or shape recovery
    • G06T7/55Depth or shape recovery from multiple images
    • G06T7/579Depth or shape recovery from multiple images from motion
    • GPHYSICS
    • G06COMPUTING OR CALCULATING; COUNTING
    • G06TIMAGE DATA PROCESSING OR GENERATION, IN GENERAL
    • G06T2207/00Indexing scheme for image analysis or image enhancement
    • G06T2207/10Image acquisition modality
    • G06T2207/10072Tomographic images
    • G06T2207/10101Optical tomography; Optical coherence tomography [OCT]
    • GPHYSICS
    • G06COMPUTING OR CALCULATING; COUNTING
    • G06TIMAGE DATA PROCESSING OR GENERATION, IN GENERAL
    • G06T2207/00Indexing scheme for image analysis or image enhancement
    • G06T2207/20Special algorithmic details
    • G06T2207/20081Training; Learning
    • GPHYSICS
    • G06COMPUTING OR CALCULATING; COUNTING
    • G06TIMAGE DATA PROCESSING OR GENERATION, IN GENERAL
    • G06T2207/00Indexing scheme for image analysis or image enhancement
    • G06T2207/20Special algorithmic details
    • G06T2207/20084Artificial neural networks [ANN]
    • GPHYSICS
    • G06COMPUTING OR CALCULATING; COUNTING
    • G06TIMAGE DATA PROCESSING OR GENERATION, IN GENERAL
    • G06T2207/00Indexing scheme for image analysis or image enhancement
    • G06T2207/30Subject of image; Context of image processing
    • G06T2207/30004Biomedical image processing
    • G06T2207/30041Eye; Retina; Ophthalmic
    • GPHYSICS
    • G06COMPUTING OR CALCULATING; COUNTING
    • G06TIMAGE DATA PROCESSING OR GENERATION, IN GENERAL
    • G06T2210/00Indexing scheme for image generation or computer graphics
    • G06T2210/41Medical
    • GPHYSICS
    • G06COMPUTING OR CALCULATING; COUNTING
    • G06TIMAGE DATA PROCESSING OR GENERATION, IN GENERAL
    • G06T2219/00Indexing scheme for manipulating 3D models or images for computer graphics
    • G06T2219/20Indexing scheme for editing of 3D models
    • G06T2219/2004Aligning objects, relative positioning of parts
    • GPHYSICS
    • G06COMPUTING OR CALCULATING; COUNTING
    • G06TIMAGE DATA PROCESSING OR GENERATION, IN GENERAL
    • G06T2219/00Indexing scheme for manipulating 3D models or images for computer graphics
    • G06T2219/20Indexing scheme for editing of 3D models
    • G06T2219/2021Shape modification

Definitions

  • the present invention relates to a medical image processing device, an optical interference tomography device, a medical image processing method, and a program.
  • an ocular tomography device such as an OCT device using optical coherence tomography (OCT)
  • OCT optical coherence tomography
  • a form of OCT for example, as a method of acquiring an image at high speed, SD-OCT (Spectral Domine OCT), which acquires an interferogram with a spectroscope using a wideband light source, is known.
  • SS-OCT Sewept Source OCT
  • OCTA OCT Angiography
  • a blood vessel image (hereinafter referred to as OCTA image or motion contrast front image) can be generated by projecting a three-dimensional motion contrast image acquired by using OCT onto a two-dimensional plane.
  • the motion contrast image is data obtained by repeatedly photographing the same cross section of the measurement target by OCT and detecting a temporal change of the measurement target between the images.
  • the motion contrast image can be obtained, for example, by calculating the temporal change of the phase, vector, and intensity of the complex OCT signal from the difference, the ratio, the correlation, and the like.
  • Patent Document 1 When acquiring data to be measured with an OCT device, movement artifacts occur in the data due to the movement of the eye to be inspected. Therefore, in order to acquire three-dimensional data while shortening the measurement time by the OCT apparatus, a method of radially scanning the eye to be inspected to acquire a tomographic image is disclosed in Patent Document 1.
  • a medical image processing device an optical interference tomography device, a medical image processing method, and a program capable of reducing the positional deviation between a plurality of data obtained by radial scanning are provided. To do.
  • the medical image processing apparatus corresponds to a plurality of tomographic images corresponding to a plurality of locations of the eye to be inspected and each tomographic image obtained by scanning the measurement light radially on the eye to be inspected.
  • An acquisition unit that acquires the imaging parameters to be performed, a correction unit that corrects the shape of the tomographic image corresponding to the imaging parameters using the imaging parameters, and an alignment unit that aligns a plurality of shape-corrected tomographic images with each other. To be equipped.
  • An example of the schematic configuration of the optical interference tomography apparatus is shown.
  • An example of the schematic configuration of the signal processing unit according to the first embodiment is shown. It is a figure for demonstrating the structure of an eye part. It is a figure for demonstrating a tomographic image. It is a figure for demonstrating the fundus image. It is a flow chart which shows an example of the process flow which concerns on Example 1.
  • FIG. It is a flow chart which shows an example of the flow of the 3D data generation processing which concerns on Example 1.
  • FIG. It is a figure for demonstrating an example of the scanning state which concerns on Example 1.
  • FIG. It is a figure for demonstrating an example of the scanning state which concerns on Example 1.
  • FIG. It is a figure for demonstrating an example of the scanning state which concerns on Example 1.
  • FIG. It is a figure for demonstrating an example of the alignment which concerns on Example 1.
  • FIG. It is a figure for demonstrating an example of the alignment which concerns on Example 1.
  • FIG. It is a figure for demonstrating an example of the alignment which concerns on Example 1.
  • FIG. It is a figure for demonstrating an example of handling of data in the scanning state which concerns on Example 1.
  • FIG. It is a figure for demonstrating an example of handling of data in the scanning state which concerns on Example 1.
  • FIG. It is a figure for demonstrating an example of handling of data in the scanning state which concerns on Example 1.
  • FIG. It is a figure for demonstrating an example of data generation in the scanning state which concerns on Example 1.
  • FIG. It is a figure for demonstrating an example of data generation in the scanning state which concerns on Example 1.
  • FIG. It is a figure for demonstrating an example of data generation in the scanning state which concerns on Example 1.
  • FIG. It is a figure for demonstrating an example of the tomographic image which cut out the arbitrary cross section from the 3D data which concerns on Example 1.
  • FIG. It is a figure for demonstrating an example of the tomographic image which cut out the arbitrary cross section from the 3D data which concerns on Example 1.
  • FIG. It is a figure for demonstrating an example of the tomographic image which cut out the arbitrary cross section from the 3D data which concerns on Example 1.
  • FIG. It is a figure for demonstrating the machine learning model which concerns on Example 1.
  • FIG. It is a figure for demonstrating the learning data which concerns on Example 1.
  • FIG. An example of the user interface according to the first embodiment is shown.
  • An example of the user interface according to the first embodiment is shown. It is a figure for demonstrating an example of the scanning state which concerns on Example 2.
  • FIG. It is a figure for demonstrating an example of the scanning state which concerns on Example 2.
  • FIG. It is a figure for demonstrating an example of the scanning state which concerns on Example 2.
  • FIG. An example of the schematic configuration of the signal processing unit according to the third to fifth embodiments will be shown. It is a flow chart which shows an example of the flow of the process which concerns on Example 3.
  • FIG. It is a flow chart which shows an example of the flow of the 3D data generation processing which concerns on Example 3.
  • FIG. 4 An example of the measurement light and the tomographic image data incident on the eye to be inspected according to the fourth embodiment is shown. It is a flow chart which shows an example of the flow of the process which concerns on Example 4. FIG. It is a figure for demonstrating the actual shape correction process which concerns on Example 4. FIG. It is a figure for demonstrating the actual shape correction process which concerns on Example 4. FIG. It is a flow chart which shows an example of the process flow which concerns on Example 5.
  • FIG. An example of the user interface according to the fifth embodiment is shown. An example of the user interface according to the fifth embodiment is shown.
  • the machine learning model refers to a learning model based on a machine learning algorithm.
  • Specific algorithms for machine learning include the nearest neighbor method, the naive Bayes method, a decision tree, and a support vector machine.
  • deep learning deep learning in which features and coupling weighting coefficients for learning are generated by oneself using a neural network can also be mentioned.
  • any of the above algorithms that can be used can be applied to the following examples and modifications.
  • the teacher data refers to learning data and is composed of a pair of input data and output data. Further, the correct answer data refers to the output data of the learning data (teacher data).
  • the trained model is a model in which training (learning) is performed in advance using appropriate teacher data (learning data) for a machine learning model that follows an arbitrary machine learning algorithm such as deep learning. ..
  • learning data teacher data
  • the trained model is obtained by using appropriate training data in advance, it is not that no further training is performed, and additional training can be performed. Additional learning can be performed even after the device has been installed at the site of use.
  • the OCT apparatus has an irradiation unit that irradiates a subject with light in the first wavelength band.
  • the first wavelength band is, for example, 400 nm to 700 nm.
  • the irradiation unit is, for example, an illumination optical system including an objective lens.
  • the OCT apparatus has a plane image acquisition unit that acquires a plane image of the subject based on the return light from the subject regarding the light irradiated by the irradiation means. Further, the OCT apparatus has, for example, an imaging unit that captures an image of the subject by forming an image of the return light from the subject irradiated with the light of the first wavelength band via the imaging optical system.
  • the plane image acquisition unit can acquire a plane image of the subject based on the output signal of the imaging unit.
  • the OCT apparatus has a light source that emits laser light while sweeping a second wavelength band longer than the first wavelength band.
  • the second wavelength band is, for example, 980 nm to 1100 nm.
  • the light source is, for example, a wavelength sweep light source of SS-OCT.
  • the OCT apparatus is based on the light obtained by combining the return light from the subject irradiated with the measurement light based on the laser light emitted from the light source by the irradiation means and the reference light corresponding to the measurement light. It has a tomographic image acquisition unit that acquires a tomographic image of a subject.
  • the tomographic image acquisition unit can acquire a tomographic image related to SS-OCT.
  • the OCT device will be described by taking the SS-OCT device as an example, but the OCT device is not limited to this.
  • an OCT apparatus having a different imaging method such as SD-OCT (Spectral Domine OCT), PS-OCT (Polarization Sensitive OCT), or AO-OCT (Adaptive Optics OCT), may be used.
  • the OCT device can be applied to a device that measures a subject such as an eye to be inspected, skin, or internal organs.
  • a subject such as an eye to be inspected, skin, or internal organs.
  • the planar image is the fundus image.
  • the OCT apparatus according to the present invention is, for example, an ophthalmic apparatus, an endoscope, or the like, and as an example thereof, the ophthalmic apparatus will be described in detail with reference to the drawings.
  • FIG. 1 shows a schematic configuration example of the OCT apparatus in this embodiment.
  • the OCT apparatus includes an OCT optical system (SS-OCT optical system) 100, an SLO (Scanning Laser Optics) optical system 140, an anterior segment imaging unit 160, an internal fixation lamp 170, and a control device 200. It is provided.
  • OCT optical system SS-OCT optical system
  • SLO Sclicas Laser Optics
  • the OCT optical system 100 is provided with a light source 101, a polarization controller 103, fiber couplers 104 and 106, and a PM (Power Meter) 131. Further, the OCT optical system 100 is provided with a collimator 117, an X scanner 107, lenses 108 and 109, a Y scanner 110, a fiber coupler 126, and a differential detector (balanced receiver) 129. Further, the OCT optical system 100 is provided with collimators 120-a and 120-b, dispersion compensating glass 121, coherence gate stage 122, and mirrors 123-a and 123-b.
  • the light source 101 is a variable wavelength light source, and emits light having a center wavelength of 1040 nm and a bandwidth of 100 nm, for example.
  • the wavelength of the light emitted from the light source 101 is controlled by the control unit 191 of the control device 200. More specifically, the wavelength of the light emitted from the light source 101 is swept based on the control by the control unit 191. Therefore, the control unit 191 functions as an example of the control means for controlling the sweeping of the wavelength of the light emitted from the light source 101.
  • the wavelength of the light emitted from the light source 101 can be swept at regular intervals, and the wave numbers (reciprocals of the wavelengths) are swept at equal intervals due to computational restrictions during the Fourier transform. Can be done.
  • the light emitted from the light source 101 is guided to the fiber coupler 104 via the fiber 102 and the polarization controller 103.
  • the fiber coupler 104 divides the incident light and emits it to the fiber 130 connected to the PM 131 for measuring the amount of light and the fiber 105 connected to the optical system for OCT measurement.
  • the light emitted from the light source 101 enters the PM 131 via the fiber 130.
  • the PM131 measures the amount of incident light (power).
  • the light incident on the fiber 105 is guided to the fiber coupler 106.
  • the fiber coupler 106 divides the incident light into measurement light (also referred to as OCT measurement light) and reference light, emits the measurement light to the fiber 118, and emits the reference light to the fiber 119.
  • the polarization controller 103 adjusts the polarization state of the light emitted from the light source 101, and adjusts the polarization state to linearly polarized light.
  • the division ratio of the fiber coupler 104 is 99: 1, and the division ratio of the fiber coupler 106 is 90 (reference light): 10 (measurement light).
  • the division ratio is not limited to these values, and other values can be used.
  • the measurement light divided by the fiber coupler 106 is emitted as parallel light from the collimator 117 via the fiber 118.
  • the measurement light emitted from the collimator 117 reaches the lens 109 via the X scanner 107 composed of a galvanometer mirror that scans the measurement light in the horizontal direction (vertical direction on the paper surface) at the fundus Ef, and the lens 108.
  • the measurement light passing through the lens 109 reaches the dichroic mirror 111 via the Y scanner 110 composed of a galvano mirror that scans the measurement light in the vertical direction (paper surface depth direction) at the fundus Ef.
  • the dichroic mirror 111 has a property of reflecting light of, for example, 950 nm to 1100 nm and transmitting other light.
  • the X scanner 107 and the Y scanner 110 are controlled by the drive control unit 180 of the control device 200, and constitute a scanning unit capable of scanning a region of a desired range on the fundus Ef with the measurement light.
  • the X-scanner 107 and the Y-scanner 110 may be configured by using any other deflection mirror.
  • the measurement light reflected by the dichroic mirror 111 reaches the focus lens 114 on the stage 116 via the lens 112.
  • the measurement light that has passed through the focus lens 114 reaches the retinal layer of the fundus Ef via the anterior segment Ea of the eye to be inspected.
  • the focus lens 114 is moved in the direction of the optical axis indicated by the arrow in the figure by the stage 116 controlled by the drive control unit 180, and the measurement light can be focused on the retinal layer of the fundus Ef.
  • the optical system arranged between the light source 101 and the eye to be inspected functions as an example of an illumination optical system that guides the light emitted from the light source 101 to the eye to be inspected.
  • the measurement light that has reached the fundus Ef is reflected and scattered by each retinal layer, and returns to the fiber coupler 106 via the above-mentioned optical path.
  • the return light of the measurement light from the fundus Ef reaches the fiber coupler 126 from the fiber coupler 106 via the fiber 125.
  • the reference light divided by the fiber coupler 106 is emitted as parallel light from the collimator 120-a via the fiber 119.
  • the reference light emitted from the collimator 120-a is reflected by the mirrors 123-a and 123-b on the coherence gate stage 122 via the dispersion compensation glass 121.
  • the reference light reflected by the mirrors 123-a and 123-b reaches the fiber coupler 126 via the collimator 120-b and the fiber 124.
  • the coherence gate stage 122 is controlled by the drive control unit 180 and can move in the direction of the optical axis indicated by the arrow in the figure.
  • the drive control unit 180 can change the optical path length of the reference light by moving the coherence gate stage 122, and can adjust the optical path length of the reference light according to the optical path length of the measurement light that differs depending on the eye to be inspected. it can.
  • the measurement light that has reached the fiber coupler 126 and the reference light are combined to form interference light, which is incident on the differential detector 129, which is a photodetector, via the fibers 127 and 128.
  • the differential detector 129 detects the interference light and outputs an interference signal which is an electric signal.
  • the optical system arranged between the eye to be inspected and the differential detector 129 is an imaging optical system that guides the return light of the measurement light based on the sweep light controlled by the control unit 191 from the eye to be inspected to the imaging means. It functions as an example.
  • the interference signal output from the differential detector 129 is analyzed by the signal processing unit 190 of the control device 200.
  • the photodetector is not limited to the differential detector, and other detectors may be used.
  • the signal processing unit 190 can generate a tomographic image of the eye to be inspected based on the interference signal output from the differential detector 129.
  • the measurement light and the reference light interfere with each other in the fiber coupler 126, but the present invention is not limited to this.
  • the mirror 123-a may be arranged so as to reflect the reference light to the fiber 119 so that the measurement light and the reference light interfere with each other in the fiber coupler 106.
  • the fiber coupler 106 is connected to the photodetector, eliminating the need for the mirror 123-b, collimator 120-b, fiber 124, and fiber coupler 126.
  • an optical circulator can also be used.
  • the SLO optical system 140 functions as an example of a fundus image acquisition unit that acquires a fundus image of the eye to be inspected.
  • the SLO optical system 140 includes a light source 141, a polarization controller 145, a collimator 143, a perforated mirror 144, a lens 155, an X scanner 146, a lens 147, 148, a Y scanner 149, a lens 150, and an APD (avalanche photodiode) 152. It is provided.
  • the light source 141 is, for example, a semiconductor laser, and in this embodiment, for example, it emits light having a center wavelength of 780 nm.
  • the SLO measurement light emitted from the light source 141 is adjusted to linearly polarized light by the polarization controller 145 via the fiber 142, and is emitted as parallel light from the collimator 143.
  • the emitted SLO measurement light passes through the perforated portion of the perforated mirror 144 and reaches the lens 155.
  • the SLO measurement light that has passed through the lens 155 reaches the dichroic mirror 154 via the Y scanner 149 composed of the X scanner 146, the lenses 147, 148, and the galvano mirror.
  • the polarization controller 145 may not be provided.
  • the dichroic mirror 154 has a property of reflecting, for example, 760 nm to 800 nm and transmitting other light.
  • the X scanner 146 is composed of a galvano mirror that scans the SLO measurement light in the fundus Ef in the horizontal direction
  • the Y scanner 149 is composed of a galvano mirror that scans the SLO measurement light in the fundus Ef in the vertical direction.
  • the X scanner 146 and the Y scanner 149 are controlled by the drive control unit 180, and can scan a desired range on the fundus Ef with the SLO measurement light.
  • the X-scanner 146 and the Y-scanner 149 may be configured by using any other deflection mirror.
  • the X-scanner 146 may be configured by a polygon mirror or the like.
  • the linearly polarized SLO measurement light reflected by the dichroic mirror 154 passes through the dichroic mirror 111 and then reaches the fundus Ef via the same optical path as the OCT measurement light in the OCT optical system 100.
  • the SLO measurement light irradiated to the fundus Ef is reflected and scattered by the fundus Ef, follows the above-mentioned optical path, reaches the perforated mirror 144, and is reflected by the perforated mirror 144.
  • the position of the perforated mirror 144 is conjugate with the position of the pupil of the eye to be inspected, and among the light reflected and scattered by the SLO measurement light irradiated to the fundus Ef, the light passing through the peripheral portion of the pupil is emitted. , Reflected by the perforated mirror 144.
  • the light reflected by the perforated mirror 144 reaches the APD 152 via the lens 150 and is received by the APD 152.
  • the APD 152 converts the returned light of the received SLO measurement light into an electric signal and outputs it to the signal processing unit 190.
  • the signal processing unit 190 can generate a fundus image, which is a frontal image of the eye to be inspected, based on the output from the APD 152.
  • the anterior segment imaging unit 160 is provided with lenses 162, 163, 164 and an anterior segment camera 165.
  • an illumination light source 115 including LEDs 115-a and 115-b that emit illumination light having a wavelength of 850 nm irradiates the anterior segment Ea with the illumination light.
  • the light reflected by the anterior segment Ea reaches the dichroic mirror 161 via the focus lens 114, the lens 112, and the dichroic mirrors 111 and 154.
  • the dichroic mirror 161 has a property of reflecting light of, for example, 820 nm to 900 nm, and transmitting other light.
  • the illumination light source 115 may be controlled by the drive control unit 180.
  • the light reflected by the dichroic mirror 161 reaches the anterior segment camera 165 via the lenses 162, 163 and 164, and is received by the anterior segment camera 165.
  • the anterior segment camera 165 converts the received light into an electric signal and outputs it to the signal processing unit 190.
  • the signal processing unit 190 can generate an anterior segment image of the eye to be inspected based on the output from the anterior segment camera 165.
  • the internal fixation lamp 170 is provided with an fixation lamp display unit 171 and a lens 172.
  • the fixation lamp display unit 171 for example, one in which a plurality of light emitting diodes (LDs) are arranged in a matrix can be used.
  • the lighting position of the light emitting diode is changed according to the part to be imaged by the control of the drive control unit 180.
  • the light from the fixed-eye lamp display unit 171 is guided to the eye to be inspected through the lens 172.
  • the light emitted from the fixation lamp display unit 171 has a wavelength of, for example, 520 nm. Further, as the fixation lamp, a desired pattern can be displayed by the control of the drive control unit 180.
  • the device With the internal fixation lamp 170 turned on and the eye to be gazed at, the device can be aligned using the image of the anterior segment of the eye to be inspected observed by the anterior segment imaging unit 160.
  • the alignment may be performed automatically by analyzing the anterior segment image by the control device 200, or may be performed manually by presenting the anterior segment image to the operator.
  • the fundus can be imaged using the OCT optical system 100 and the SLO optical system 140.
  • the control device 200 (medical image processing device) will be described.
  • the control device 200 is provided with a drive control unit 180, a signal processing unit 190, a control unit 191 and a display unit 192.
  • the drive control unit 180 controls components such as the OCT optical system 100, the SLO optical system 140, the anterior segment imaging unit 160, and the X scanner 107 in the internal fixation lamp 170.
  • the signal processing unit 190 generates an image, analyzes the generated image, generates visualization information of the analysis result, and the like based on the signals output from the differential detector 129, the APD152, and the anterior segment camera 165, respectively. .. Details of the image generation process and the like will be described later.
  • the control unit 191 controls the entire OCT device and displays an image or the like generated by the signal processing unit 190 on the display screen of the display unit 192.
  • the image data generated by the signal processing unit 190 may be transmitted to the control unit 191 by wire or wirelessly.
  • the display unit 192 can be configured by any monitor such as a display such as a liquid crystal display, and functions as an example of a display device.
  • the display unit 192 displays various information under the control of the control unit 191 as described later.
  • the image data from the control unit 191 may be transmitted to the display unit 192 by wire or wirelessly.
  • the display unit 192, the control unit 191 and the like are included in the control device 200, they may be provided separately from the control device 200.
  • the control device 200 may be configured as a dedicated computer for the OCT device, or may be configured using a general computer.
  • the drive control unit 180, the signal processing unit 190, and the control unit 191 may be configured by a software module executed by the CPU of the control device 200, or may be a circuit or an independent device that performs a specific function such as an ASIC. And so on.
  • control unit 191 and the display unit 192 may be integrally configured, and may be configured as, for example, a tablet computer which is a device that can be carried by a user.
  • the display unit 192 can be equipped with a touch panel function so that the display position of the image can be moved, enlarged / reduced, and the displayed image can be changed on the touch panel.
  • the control unit 191 and the display unit 192 are not integrally configured, the display unit 192 may be equipped with a touch panel function, and the touch panel may be used as the instruction device.
  • an instruction device (not shown) may be connected to the control device 200, and for example, a mouse, a keyboard, or the like may be connected.
  • FIG. 2 shows a schematic configuration example of the signal processing unit 190.
  • the signal processing unit 190 is provided with a reconstruction unit 1901, an alignment unit 1902, a data integration unit 1903, a data generation unit 1904, and a detection unit 1905.
  • the reconstruction unit 1901 in the signal processing unit 190 generally includes wave number conversion, fast Fourier transform (FFT), absolute value conversion (acquisition of amplitude), etc. for the interference signal output from the differential detector 129.
  • a tomographic image is generated by performing various reconstruction processes. The method of the reconstruction process is not limited to this, and any known method may be used.
  • FIG. 3A shows a schematic view of the eyeball.
  • FIG. 3A shows the cornea C, the crystalline lens CL, the vitreous body V, the macula M (the central part of the macula represents the fovea centralis), and the optic nerve head D.
  • the posterior pole of the retina including the vitreous body, the macula, and the optic nerve head is photographed mainly using the OCT optical system 100 will be described.
  • the description is omitted, it is also possible to photograph the anterior segment of the cornea and the crystalline lens by using the OCT optical system 100.
  • FIG. 3B shows an example of a tomographic image when the retina is photographed using the OCT optical system 100.
  • AS represents a unit of image acquisition in an OCT tomographic image called A scan
  • one A scan can acquire a tomographic image in the depth direction at one point on the fundus.
  • a single B scan is configured by repeating this A scan while scanning the measurement light in one transverse direction of the fundus. Therefore, by performing one B scan, it is possible to obtain one B scan image in which a plurality of A scan images obtained by the A scan are collected.
  • the B-scan image is called a two-dimensional tomographic image (or tomographic image).
  • FIG. 3B shows the vitreous body V, the macula M, and the optic disc D. Further, in FIG. 3B, the boundary L1 between the inner limiting membrane (ILM) and the nerve fiber layer (NFL), the boundary L2 between the nerve fiber layer and the ganglion cell layer (GCL), and the inner segment outer segment junction of photoreceptor cells ( ISOS) L3, Retinal Pigment Epithelial Layer (RPE) L4, Bruch's Membrane (BM) L5, and Choroid L6 are shown.
  • the horizontal axis OCT scanning direction (B scanning direction)
  • B scanning direction is the x-axis
  • the vertical axis (depth direction) is the z-axis.
  • FIG. 3C shows an example of a fundus image acquired using the SLO optical system 140.
  • the SLO optical system 140 is an optical system for capturing a fundus image of the eye portion.
  • the SLO optical system 140 may be provided as an SLO device.
  • a fundus camera or the like may be provided as a device for acquiring a fundus image.
  • FIG. 3C shows the macula M and the optic disc D, and the thick curve in FIG. 3C represents the blood vessels of the retina.
  • the horizontal axis is the x-axis and the vertical axis is the y-axis.
  • the device configuration relating to the OCT optical system 100 and the SLO optical system 140 may be an integrated type or a separate type.
  • FIG. 4A is a flowchart showing the flow of a series of operation processes according to the present embodiment
  • FIG. 4B is a flowchart showing the flow of the three-dimensional data generation process according to the present embodiment.
  • step S401 the control device 200 acquires the subject identification number from the outside as information for identifying the subject eye.
  • the subject identification number may be input by the operator via an input unit (not shown).
  • the control device 200 acquires information about the eye to be inspected held by the external storage unit (not shown) and stores it in the storage unit (not shown).
  • the storage unit may be any memory or storage medium provided in the control device 200.
  • step S402 the eye to be inspected is scanned and an image is taken.
  • the scan of the eye to be inspected may be performed in response to an instruction from the operator to start scanning.
  • the control device 200 controls the operations of the X scanner 107 and the Y scanner 110 by the drive control unit 180, and scans the eye to be inspected using the OCT optical system 100.
  • the measurement light can be scanned in each of the horizontal direction (X) and the vertical direction (Y) in the device coordinate system. Therefore, by changing the orientations of the X scanner 107 and the Y scanner 110 at the same time, it is possible to scan in the combined direction of the horizontal direction and the vertical direction, and the measurement light can be scanned in any direction on the fundus plane. Can be done.
  • the control unit 191 of the control device 200 adjusts various shooting parameters when shooting. Specifically, the control unit 191 sets at least parameters related to the position of the internal fixation lamp 170, the scan range, the scan pattern, the coherence gate position, and the focus.
  • the drive control unit 180 controls the light emitting diode of the fixation lamp display unit 171 based on the set imaging parameters, and the internal fixation lamp 170 so as to perform imaging at a desired location such as the macula or the optic nerve head. Control the position of.
  • the position of the internal fixation lamp 170 can be instructed by the operator using a user interface (not shown), and the control unit 191 can set the position of the internal fixation lamp 170 in response to the operator's instruction. it can.
  • control unit 191 sets a scan pattern for radial scanning as a scan pattern. Further, the control unit 191 can also set the number and position of scanning lines related to the radial scan and the order of scanning as imaging parameters. The control unit 191 may set these shooting parameters according to the instruction of the operator, or may automatically set the shooting parameters set for each predetermined shooting mode. After the adjustment of these imaging parameters is completed, the control device 200 starts imaging of the eye to be inspected when the operator gives an instruction such as selecting the imaging start (not shown).
  • FIGS. 5A to 5D show an example of scanning lines for a radial scan.
  • the arrow indicates the scanning direction.
  • the scanning direction may be opposite to that shown in the figure.
  • the number of scanning lines n can be set to, for example, 90 or more.
  • the number of scanning lines n is 90, it means that a circular region of 360 degrees is scanned at intervals of 2 degrees.
  • the interval is 15 degrees, so that high-density photography can be performed by increasing n.
  • the order in which the radial scans are executed does not have to be the order of adjacent scan lines as shown in FIG. 5A, and may be any order, for example, the order shown in FIGS. 5C and 5D.
  • the example shown in FIG. 5C is an example in which scans are sequentially performed at 90-degree intervals.
  • the example shown in FIG. 5D is an example in which scanning is performed so that the time difference from the adjacent scanning lines is minimized, and the order of the adjacent scanning lines as shown in FIG. 5A is the earlier scanning line and the slower scanning line. This is an example of alternately scanning sequential scanning lines.
  • FIG. 5C is an example in which scans are sequentially performed at 90-degree intervals.
  • FIG. 5D is an example in which scanning is performed so that the time difference from the adjacent scanning lines is minimized
  • the order of the adjacent scanning lines as shown in FIG. 5A is the earlier scanning line and the slower scanning line.
  • This is an example of alternately scanning sequential scanning lines.
  • the time for scanning the scan lines includes 11 scans in between, so that the scan lines are relatively large.
  • the time interval in which the adjacent scanning lines are scanned can be as long as the time required for two scannings at the maximum. By shortening the time interval for adjacent scanning lines, it is possible to reduce the positional deviation between adjacent tomographic images obtained by scanning the adjacent scanning lines. By changing the order of the scanning lines in the radial scan, it is expected that the blood flow measurement can be more appropriately performed for a person having a high blood flow velocity, for example.
  • the reconstruction unit 1901 generates a tomographic image by performing the above-described reconstruction process on the interference signal output from the differential detector 129.
  • the reconstruction unit 1901 removes fixed pattern noise from the interference signal. Fixed pattern noise removal is performed by, for example, extracting fixed pattern noise by averaging a plurality of detected A scan signals and subtracting the fixed pattern noise from the input interference signal.
  • the reconstruction unit 1901 performs a desired window function processing in order to optimize the depth resolution and the dynamic range, which are in a trade-off relationship when the Fourier transform is performed in a finite interval.
  • the reconstruction unit 1901 generates a tomographic image by performing an FFT process. As described above, the reconstruction process is not limited to this, and may be performed by any known method.
  • step S404 three-dimensional data is generated.
  • the generation of three-dimensional data will be described in detail with reference to the flowchart of FIG. 4B and FIGS. 6A to 11B.
  • the process proceeds to step S441.
  • the detection unit 1905 detects the boundary line of the retina in order to align the tomographic image.
  • the boundary L1 between ILM and NFL shown in FIG. 3B and the photoreceptor inner segment outer segment junction L3 are detected.
  • the detection unit 1905 creates an image by applying a median filter and a Sobel filter to the tomographic image to be processed (hereinafter, referred to as a median image and a Sobel image).
  • a profile is created for each A scan from the created median image and Sobel image.
  • the median image has a brightness value profile
  • the Sobel image has a gradient profile.
  • the peak in the profile created from the Sobel image is detected.
  • the boundary line of each region of the retinal layer is detected.
  • the method of detecting the boundary line is not limited to this, and any known method may be used.
  • the detection unit 1905 may detect a boundary line from a tomographic image using a trained model related to a machine learning model.
  • a tomographic image may be used as input data, and a label image in which a doctor or the like has labeled the tomographic image with a boundary line may be used as output data.
  • step S442 the alignment unit 1902 aligns the adjacent tomographic images.
  • the eyes are moving while taking a high-density radial scan.
  • the alignment is almost completed at the time of shooting.
  • real-time tracking is not performed in the depth direction, it is necessary to align the data between the tomographic images. Therefore, here, the alignment between the tomographic image data obtained by the radial scan will be described with reference to FIGS. 6A to 6C.
  • FIG. 6A shows an example of a boundary line used for alignment.
  • a case where the line of the boundary L1 between the internal limiting membrane (ILM) and the nerve fiber layer (NFL) (hereinafter, simply referred to as the boundary line L1) is used for alignment will be described.
  • the boundary line L1 is used as the boundary line used for alignment
  • the type of the boundary line is not limited to this.
  • Other boundaries may be used, or a plurality of boundaries may be combined.
  • the reference data is Indexc and the target data is Indexc-1.
  • the first reference data is the data (image) of the boundary line L1 regarding the tomographic image related to the first scan of the radial scan.
  • the target data is data (image) of the boundary line L1 relating to a tomographic image (a tomographic image corresponding to a scanning line adjacent to the scanning line of the reference data) adjacent to the reference data in the circumferential direction.
  • the first reference data is not limited to the tomographic image data of the first scan, and may be set arbitrarily.
  • FIG. 6B is a diagram for explaining the alignment process.
  • FIG. 6B shows the boundary line L1 of the reference data and the boundary line L1'of the data to be aligned at the same time.
  • the alignment unit 1902 divides the reference data and the target data into a predetermined number of areas.
  • each of the reference data and the target data regarding the boundary line L1 is divided into 12 in the vertical direction.
  • each of the divided regions is designated as regions Area0 to Area11.
  • the divided area is not drawn in the center of the image for simplification, but the entire image is actually divided into areas.
  • the number of divisions of the area is not limited to 12, and may be set arbitrarily. Further, the number of divisions of the area may be changed according to the image size in the horizontal direction, or may be changed according to the size of the width of the boundary line commonly detected. In this embodiment, for the sake of simplicity, the size of the lateral boundary line in the reference data and the target data is the same, but in reality, the retinal layer shifts upward in the tomographic image (direction 0 on the z-axis). Some areas of the retinal layer may be missing from the image. In that case, the boundary line cannot be detected in the entire image. Therefore, in the alignment between the boundary lines, the boundary line L1 of the reference data and the boundary line L1'of the alignment target may be aligned by dividing the range in which the boundary line can be detected.
  • the alignment unit 1902 obtains the difference in position in the depth direction (Z direction) between the boundary line L1 and the boundary line L1'for each of the areas Area0 to Area11.
  • the vertical arrow Difference 1 in FIG. 6B represents the difference in the depth direction between the boundary line L1 and the boundary line L1'.
  • the alignment unit 1902 obtains the difference in the position in the depth direction between the boundary line L1 and the boundary line L1'for each data corresponding to the A-scan image in each area, averages the difference in each area, and makes each area.
  • the representative values of the difference between D0 and D11 are set to D0 to D11.
  • the alignment unit 1902 sorts the representative values D0 to D11 obtained in each region in ascending order.
  • the alignment unit 1902 selects eight sorted representative values in ascending order, and calculates an average value and a variance value using the eight selected representative values.
  • the number of selections is 8, but the number of selections is not limited to this. The number of selections may be smaller than the number of divisions.
  • the alignment unit 1902 repeatedly calculates the average value and the variance value by shifting the selected combination of the sorted representative values one by one to the one with the larger representative value.
  • the alignment unit 1902 calculates the mean and variance values for the sorted representative values from the 1st smallest value to the 8th smallest value, and then the 2nd smallest value to the 9th smallest value. Calculate the average value and variance value for up to.
  • the alignment unit 1902 performs this process up to the calculation of the average value and the variance value for the fifth smallest number to the twelfth smallest number. In this embodiment, since the calculation is performed using eight representative values out of the regions divided into twelve, a total of five types of average values and variance values can be obtained.
  • the alignment unit 1902 obtains the shift value in the depth direction using the representative values of the eight differences when the minimum dispersion value is calculated among the obtained five types of dispersion values. This will be described with reference to FIG. 6C and Equation 1.
  • the horizontal axis represents the center position (coordinates) of the divided region in the scanning direction
  • the vertical axis represents the representative value of the difference.
  • the black circles are examples of representative values relating to the combination having the smallest variance value
  • the black triangles are examples of representative values not selected as the combination having the smallest variance value.
  • the alignment unit 1902 uses the representative value (black circle in FIG. 6C) for the combination having the smallest variance value, and uses the boundary line L1 of the reference data and the boundary line L1'of the target data.
  • the shift value in the depth direction of each A scan in between is calculated.
  • D is the shift value in the depth direction
  • x is the position (coordinates) in the scanning direction, that is, the A scanning position.
  • Equations 2 and 3 i is a number that specifies the selected representative value
  • xi is the center position (coordinates) of the division region corresponding to the selected representative value in the scanning direction
  • Di is the selected representative value. Is.
  • n is the number of selected representative values, and n is 8 in this embodiment.
  • the alignment unit 1902 shifts the tomographic image corresponding to the target data using the calculated shift value, and aligns the tomographic image corresponding to the reference data with the tomographic image adjacent thereto.
  • the area is divided at the time of alignment, and by using the value that minimizes the variation in the combination of the difference values of the divided areas, even if there is an error in the detection of the boundary line, the boundary line
  • the value of the area containing the detection error is not used to calculate the shift value. Therefore, the shift value in the depth direction can be calculated stably.
  • the average value is used as the representative value in the depth direction of each region, the median value may be used, and any representative value of any kind may be used.
  • the variance value is calculated as a value indicating the variation
  • the standard deviation may be calculated, and the value may be an index capable of evaluating the variation in the value.
  • the alignment unit 1902 aligns all the adjacent tomographic image data while changing the reference data and the target data.
  • the first reference data is the boundary line data detected from the first captured data (for example, the data corresponding to the scanning line 1 in FIG. 5A).
  • the target data is defined as boundary line data detected from adjacent data (data corresponding to scanning line 2 in FIG. 5A) in the circumferential direction of the reference data. Then, when the alignment of these reference data and the tomographic image corresponding to the target data is completed, next, the data used as the target data (data corresponding to the scanning line 2 in FIG. 5A) is used as the reference data, and next to it. (Data corresponding to the scanning line 3 in FIG. 5A) is used as the target data for alignment. This process is performed on all tomographic image data for one round of the radial scan.
  • the total correction can be performed by returning the amount of misalignment (shift value) generated between the data corresponding to the first and last scans in the opposite direction. For example, if the amount of misalignment that occurs between the data corresponding to the first and last scans is +5 pixels and the number of radial scans is 100, the amount of misalignment is corrected by +0.05 pixels one by one.
  • the amount of misalignment of scanning line 100 is +5 pixels
  • the amount of misalignment of scanning line 99 is +4.95 pixels
  • the amount of misalignment of scanning line 98 is +4.9 pixels, and so on.
  • the alignment unit 1902 can also shift each tomographic image based on the amount of misalignment of each tomographic image calculated in this way to perform alignment between the tomographic images.
  • an example of a method of aligning in the depth direction is shown, but the method is not limited to this method.
  • the A scan data at the center of the tomographic image (or including a plurality of A scan data near the center) may be used for alignment in the depth direction.
  • the position may be adjusted based on the position of the tomographic image taken first, or the retina is at the bottom of the plurality of tomographic images, but the retina is included in the image.
  • the alignment may be performed based on the tomographic image.
  • the boundary line data may be used to move not only in the depth direction but also in the lateral direction to detect the location where the boundary line position best matches, or the image feature of the tomographic image may be used.
  • the tomographic image plane may be aligned in the lateral direction and the depth direction.
  • an ROI region of interest
  • the alignment may be performed according to the degree of similarity between the ROIs between adjacent tomographic images.
  • the ROI is set to a region smaller than the entire image but including the retinal layer.
  • the feature points may be detected from the image and the feature points may be aligned with each other.
  • a one-dimensional image may be generated by projecting a two-dimensional tomographic image in the depth direction, and the one-dimensional image and the SLO image may be aligned according to the image features. It should be noted that these alignment methods are an example, and the alignment of the tomographic image may be performed by any known method.
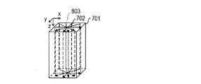
  • step S443 the data integration unit 1903 radially scans and acquires the tomographic images that have been aligned, arranges them in a three-dimensional space, and integrates data related to a plurality of tomographic images. The process will be described with reference to FIGS. 7A to 7C.
  • FIG. 7A shows an example in which a plurality of radially scanned tomographic images 702 are arranged in the three-dimensional space 701. Since the plurality of tomographic images 702 are aligned in step S442, the data integration unit 1903 arranges the corresponding tomographic images for each scanning line in the three-dimensional space. The data integration unit 1903 arranges a tomographic image before alignment corresponding to each scanning line in the three-dimensional space so as to correct the misalignment of the tomographic image based on the alignment parameter calculated in step S442. May be good.
  • the A scan becomes dense because the scan lines become dense at the center position of the scan, and the A scan becomes sparse because the scan lines become sparse in the periphery.
  • the data integration unit 1903 performs integration processing of duplicate A scan data in the vicinity of the center of the scan where the A scan becomes dense. The process will be described with reference to FIGS. 7B and 7C.
  • FIGS. 7B and 7C are examples in which the central region of the XY plane is partially enlarged in the radial scan
  • FIG. 7B shows the case of 4 scans
  • FIG. 7C shows the case of 6 scans.
  • the black square 712 indicates the scanned position
  • the white square 704 indicates the unscanned position
  • the shaded square 705 indicates the position scanned multiple times.
  • the number of scans the number of scanning lines
  • the area where A scan is performed a plurality of times becomes larger. In other words, if the number of scans is increased in order to construct three-dimensional data corresponding to the more accurate shape of the eye to be inspected, the scan density becomes high in the central portion, and the scan data will be duplicated.
  • the data integration unit 1903 performs integration processing of A scan data in the shaded square 705 region shown in FIGS. 7B and 7C to determine a representative value, and sets the representative value in the corresponding shaded square 705 region.
  • It can be A scan data.
  • the data integration unit 1903 can integrate a plurality of A scan data in the area of the square 705 of the shaded area and use it as a representative value of the area.
  • the integration method uses a method of integrating data by statistical calculation that calculates the average value, weighted average value, median value, maximum value, minimum value, etc. using all A scan data acquired in the corresponding area. You can do it.
  • Data integration may be performed by.
  • the data integration unit 1903 may select one A scan data from a plurality of A scan data and determine a representative value as the data integration process.
  • a scan data may be selected according to the acquisition timing, such as the A scan data acquired first, the A scan data acquired in the middle, or the A scan data acquired last.
  • the correlation value is calculated for each of the acquired A scan data, and the A scan data has the highest average value of the correlation values, or the A scan data has the lowest variation in the correlation values. Data may be selected.
  • the data integration unit 1903 may determine the A scan position for data integration according to the number of scan lines included in the imaging parameters, the angular interval, the imaging range, the number of A scans included in the 1B scan, and the like. .. For example, a table in which the A scan position for data integration is associated with the above-mentioned shooting parameters is prepared, and the data integration unit 1903 can determine the A scan position with reference to the table.
  • the control device 200 stores a number that identifies each scanning line in association with the tomographic image corresponding to each scanning line, and the data integration unit 1903 integrates the data based on the number and the imaging parameter.
  • the A scan position to be performed may be determined.
  • step S444 the data generation unit 1904 constructs the three-dimensional data based on the data obtained by arranging and integrating the tomographic images obtained by the data integration unit 1903 radially scanning in the three-dimensional space.
  • FIG. 8A is an example in which an estimated tomographic image 803 (estimated A scan data) is generated for the remaining unscanned space after the tomographic images obtained by actually scanning radially shown in FIG. 7A are placed. is there.
  • FIG. 8B shows the tomographic image 702 obtained by scanning and the three-dimensional data 804 generated from the estimated tomographic image 803.
  • FIG. 8C is an example in which the central region of the xy plane is partially enlarged in the radial scan of FIG. 8A, and the square 813 of the diamond pattern indicates the position of the estimated tomographic image 803 in FIG. 8A.
  • the square 814 of the diamond pattern in FIG. 8C indicates the position where the photographed A scan data exists on the surface including the square 813 of the diamond pattern.
  • the data generation unit 1904 describes the process of generating the estimated tomographic image 803 by the interpolation process.
  • the data generation unit 1904 estimates the A scan data of the estimated tomographic image 803 by interpolation processing for the position 813 where the A scan data does not exist.
  • the data generation unit 1904 interpolates the A scan data along the circumferential direction, for example.
  • the data generation unit 1904 calculates the weighted average of the tomographic images obtained by radially scanning both sides of the location using the distance and angle from the center at the location where the A scan data is estimated.
  • a scan data is estimated.
  • the data generation unit 1904 calculates the weighted average of the tomographic images on both sides according to the distance in the circumferential direction from the center of the location where the A scan data is estimated to the tomographic images on both sides. Estimated A scan data can be generated.
  • the weighting is performed so that the shorter the distance in the circumferential direction from the location where the A scan data is estimated to the tomographic image, the greater the specific gravity of the tomographic image data.
  • the data in the tomographic image used for the weighted averaging for example, in the tomographic image, the A scan data at the position closest to the location where the A scan data is specified may be used, or a plurality of positions close to the location. It may be the average value, the median value, or the like of the A scan data of.
  • the data generation unit 1904 can construct the three-dimensional data 804.
  • FIGS. 9A to 9C show an example of a tomographic image obtained by cutting out an arbitrary cross section from three-dimensional data constructed from a tomographic image scanned radially.
  • FIG. 9A shows the three-dimensional data 804 generated by the three-dimensional data generation process in step S404, and the cross-sectional position 900 of the tomographic image shown in FIGS. 9B and 9C.
  • FIG. 9B shows a tomographic image of the cross-sectional position 900 of the three-dimensional data 804.
  • the tomographic image 901 is an example of an image generated from the three-dimensional data constructed by using the data subjected to the alignment processing in step S442.
  • the tomographic image 902 is an example of an image generated from the three-dimensional data constructed without performing the alignment process in step S442.
  • the structure of the retina is distorted when the tomographic image of an arbitrary cross section is generated from the three-dimensional data.
  • the distortion of the retinal structure can be reduced.
  • FIG. 9C is a tomographic image generated from the three-dimensional data before the data generation unit 1904 performs the interpolation processing, and shows an example of the tomographic image acquired by scanning 128 times in a radial pattern.
  • the tomographic image 911 corresponds to the tomographic image 901
  • the tomographic image 912 corresponds to the tomographic image 902.
  • FIG. 9C in the radial scan, it can be seen that the A scan data is acquired more densely toward the central portion and becomes sparser toward the peripheral portion.
  • the data generation unit 1904 can also perform a process of estimating the estimated tomographic image generated by the interpolation process into a natural (practical) tomographic image by a machine learning model.
  • the data generation unit 1904 uses a trained model that has been trained in advance to generate a natural tomographic image from the estimated tomographic image generated by the interpolation process.
  • FIGS. 10A and 10B an example in which the data generation unit 1904 according to the present embodiment generates a natural tomographic image by using deep learning, which is one of machine learning. explain.
  • FIG. 10A shows a U-net type convolutional neural network (CNN: Convolutional Neural Network) as an example of the configuration of the deep learning model in the data generation unit 1904.
  • the configuration 1010 shown in FIG. 10A is composed of a plurality of layer groups responsible for processing and outputting an input value group.
  • the types of layers included in the configuration 1010 include a convolution layer, a downsampling layer, an upsampling layer, and a composite layer.
  • the convolution layer is a layer that performs convolution processing on the input value group according to parameters such as the kernel size of the set filter, the number of filters, the stride value, and the dilation value.
  • the number of dimensions of the kernel size of the filter may be changed according to the number of dimensions of the input image.
  • the downsampling layer is a layer that performs processing to reduce the number of output value groups to less than the number of input value groups by thinning out or synthesizing the input value groups. As a specific process, for example, there is a Max Polling process.
  • the upsampling layer is a layer that performs processing to increase the number of output value groups to be larger than the number of input value groups by duplicating the input value group or adding interpolated values from the input value group. As a specific process, for example, there is a linear interpolation process.
  • the composite layer is a layer in which a value group such as an output value group of a certain layer or a pixel value group constituting an image is input from a plurality of sources, and the processing is performed by concatenating or adding them.
  • the value group in which the pixel value group constituting the input image 1001 is output through the convolution processing block and the pixel value group constituting the input image 1001 are combined in the composite layer. After that, the combined pixel value group is formed into the inferred image 1002 in the final convolution layer.
  • the degree to which the tendency trained from the training data can be reproduced in the output data may differ. That is, in many cases, the appropriate parameters differ depending on the embodiment, and therefore, the values can be changed to preferable values as needed.
  • the CNN can obtain better characteristics by changing the configuration of the CNN.
  • Better characteristics include, for example, higher processing accuracy, shorter processing time, and shorter training time for machine learning models.
  • the CNN configuration 1010 used in this modification has a function of an encoder composed of a plurality of layers including a plurality of downsampling layers and a function of a decoder composed of a plurality of layers including a plurality of upsampling layers. It is a net type machine learning model.
  • position information spatial information
  • a decoder composed of a plurality of layers including a plurality of upsampling layers.
  • a batch normalization layer or an activation layer using a rectifier liner unit may be incorporated after the convolution layer. You may.
  • the learning data of the machine learning model will be described.
  • the tomographic image included in the three-dimensional data generated by the interpolation process is used as input data, and the tomographic image and output data included in the three-dimensional data obtained by actually performing dense scanning are used as training data.
  • the learning data will be described with reference to FIG. 10B.
  • the trained model may be a machine learning model that has been trained in advance, and the learning process may be performed by using an OCT device or another device according to the embodiment in advance.
  • the three-dimensional data 1011 shows the three-dimensional data captured by the raster scan.
  • the alignment of adjacent tomographic images taken by raster scan may be performed using the alignment unit 1902, or the alignment may be performed by another image processing device or the like. You may go.
  • the three-dimensional data 1012 shows an example of three-dimensional data in which the data at the A scan position corresponding to the radial scan is left and the data not at the radial scan position is removed from the aligned three-dimensional data 1011. Therefore, when a tomographic image of an arbitrary cross section of the three-dimensional data 1012 is generated, it looks like the tomographic image 911 shown in FIG. 9C.
  • the three-dimensional data 1013 is an example of three-dimensional data generated from the three-dimensional data 1012 by interpolation processing. Further, the three-dimensional data 1014 is obtained by extracting the data corresponding to the three-dimensional data 1013 from the three-dimensional data 1011. Here, since the three-dimensional data 1013 and the three-dimensional data 1014 are generated based on the three-dimensional data 1011, the alignment process between the two data of the three-dimensional data 1013 and the three-dimensional data 1014 is unnecessary. ..
  • the machine learning model according to the present embodiment learns training data using the tomographic image including the interpolation data in the three-dimensional data 1013 generated in this way as input data and the corresponding tomographic image of the three-dimensional data 1014 as output data. .. As a result, the trained model can estimate and generate an actually captured tomographic image from the tomographic image estimated by the interpolation process.
  • the tomographic image estimated by interpolation processing is not limited to the one developed in the above radial scan.
  • the tomographic image of the 1000A scan may be thinned out to the 500A scan, and then the tomographic image of the 1000A scan inferred by the interpolation process and the tomographic image of the original 1000A scan may be learned as a pair.
  • the method of generating the three-dimensional data 1012, 1013, 1014 is not limited to the above method.
  • the three-dimensional data 1014 corresponding to the imaging range by the radial scan is extracted from the three-dimensional data 1011 and the A scan position data corresponding to the predetermined radial scan is left from the three-dimensional data 1014 to create the three-dimensional data 1012. You may.
  • the data generation unit 1904 replaces the tomographic image including the interpolated data in the three-dimensional data estimated by the interpolation process with the tomographic image generated from the tomographic image using the trained model, thereby producing more natural three-dimensional data.
  • the trained model may be used with the input data of the training data as the three-dimensional data 1013 and the output data as the three-dimensional data 1014.
  • the data generation unit 1904 can construct more natural (practical) three-dimensional data from the three-dimensional data estimated by the interpolation process using the trained model.
  • step S405 the control unit 191 displays the three-dimensional data generated from the tomographic image acquired by the radial scan on the display unit 192.
  • FIGS. 11A and 11B An example of the display screen in this embodiment is shown in FIGS. 11A and 11B. The basic screen will be described with reference to FIG. 11A.
  • FIG. 11A shows a display screen 1100, which is provided with a patient tab 1101, an imaging tab 1102, a report tab 1103, and a setting tab 1104.
  • the diagonal line in the report tab 1103 indicates the active state of the report screen.
  • an example of displaying a report screen for checking an image after the shooting process is completed will be described.
  • the report screen is provided with a patient information display unit 1105, an examination sort tab 1106, an examination list 1107, and an examination list 1108.
  • the black frame in the inspection list 1108 represents the selected inspection, and the selected inspection data is displayed on the screen.
  • thumbnails of the fundus image and the tomographic image are displayed.
  • the report screen is provided with tabs 1150 and 1151 of the view mode, the tomographic image is displayed on the report screen related to the tab 1150, and the three-dimensional data is displayed on the report screen related to the tab 1151.
  • the report screen related to tab 1150 will be explained.
  • the fundus image 1110 acquired by using the SLO optical system 140 the front image (En-Face image) 1115 generated by using the three-dimensional data generated from the tomographic image acquired by the radial scan, and the first A tomographic image 1121 and a second tomographic image 1122 are displayed.
  • the En-Face image will be described later.
  • Scanning positions 1111 and 1112 of the first and second tomographic images 1121 and 1122 are shown on the fundus image 1110, and the scanning positions 1111 and 1112 are orthogonal to one cross-sectional position scanned radially. Shows the cross-sectional position.
  • the first and second tomographic images 1121, 1122 show indicators 1131, 1132, and the indicators 1131, 1132 indicate the orientation and position of the tomographic images.
  • aspect ratios 1141 and 1142 are displayed, which indicates the aspect ratios of the tomographic images.
  • the aspect ratios 1141 and 1142 indicate the reference length (for example, 200 ⁇ m) in the tomographic image shown in FIG. 11A by vertical and horizontal lines.
  • control unit 191 can switch and display the images of the first tomographic image 1121 and the second tomographic image 1122 using a user interface (not shown).
  • a user interface not shown
  • the control unit 191 when the operator rotates the mouse wheel of the input unit, the scanning position 1111 of the tomographic image displayed on the fundus image 1110 is changed clockwise or counterclockwise, and corresponds to the scanning position. It is possible to continuously switch and display the tomographic images to be displayed.
  • the first and second tomographic images 1121, 1122 may be interlocked with each other while maintaining the orthogonal positional relationship, or the respective images may be switched independently.
  • FIG. 11B shows a display screen 1100 in a state where the check box 1116 is checked in order to display an arbitrary cross section from the three-dimensional data.
  • the first tomographic image 1121 is an example of an image of one cross section scanned radially
  • the third tomographic image 1123 is an example of an image corresponding to a cross section scanned horizontally from the constructed three-dimensional data. ..
  • the scanning position 1113 indicates the scanning position corresponding to the third tomographic image 1123 on the fundus image 1110
  • the index 1133 indicates the orientation and position of the third tomographic image 1123.
  • the aspect ratio 1143 indicates the aspect ratio of the displayed tomographic image.
  • the third tomographic image 1123 can be switched and displayed using a user interface (not shown). For example, by rotating the mouse wheel, the position of the tomographic image (scanning position 1113) displayed on the fundus image 1110 can be moved up and down, and adjacent tomographic images can be continuously switched and displayed. In this case, the first and third tomographic images 1121, 1123 may be switched independently.
  • any cross section relating to the scan position corresponding to the third tomographic image 1123 is not limited to the horizontal direction, but may be vertical or diagonal. Further, it may be an arbitrary straight line designated by the operator, an arbitrary curved surface, or the like. For example, the operator designates an arbitrary point on the fundus image 1110 by operating the mouse or touch panel. Since the point on the fundus image 1110 is a point with XY coordinates, the data generation unit 1904 collects a plurality of A scan data located on a straight line or a curve connecting the specified points and generates one B scan. .. The control unit 191 causes the display unit 192 to display the B scan image generated by the data generation unit 1904 as a third tomographic image 1123. The area for displaying the third tomographic image 1123 may be the area for displaying the first tomographic image 1121.
  • the OCT apparatus can generate three-dimensional data from a plurality of tomographic images scanned radially at high density and display an image of an arbitrary cross section. As a result, the state of the entire retina can be easily grasped with one imaging data.
  • the OCT apparatus includes a signal processing unit 190, an alignment unit 1902, and a data generation unit 1904.
  • the signal processing unit 190 functions as an example of an acquisition unit that acquires a plurality of tomographic images corresponding to a plurality of locations of the eye to be inspected, which are obtained by scanning the measurement light radially on the eye to be inspected.
  • the alignment unit 1902 aligns the acquired plurality of tomographic images with each other at least in the depth direction of the tomographic image.
  • the data generation unit 1904 generates three-dimensional data using a plurality of aligned tomographic images.
  • the tomographic image is a tomographic image of brightness
  • the signal processing unit 190 may generate and acquire the tomographic image by the reconstruction unit 1901, or the external such as a server outside the control device 200.
  • a tomographic image may be acquired from the device.
  • the signal processing unit 190 may acquire an interference signal from an external device, and the reconstruction unit 1901 may generate and acquire a tomographic image from the acquired interference signal.
  • the OCT apparatus further includes a data integration unit 1903.
  • the data integration unit 1903 integrated the pixel values at the positions where at least two tomographic images of the plurality of aligned tomographic images intersect in the three-dimensional space, and the pixel values at the positions of the at least two tomographic images. Determined using the value.
  • the data integration unit 1903 uses the statistical value of the pixel values of at least two tomographic images at the position where at least two tomographic images intersect or the pixel value of one of the pixel values as the integrated value of the pixel values.
  • the data generation unit 1904 generates three-dimensional data using a plurality of tomographic images and pixel values determined by the data integration unit 1903. Further, the data generation unit 1904 generates data between a plurality of locations corresponding to a plurality of tomographic images in the three-dimensional data by interpolation processing using two of the plurality of aligned tomographic images.
  • the OCT apparatus having such a configuration, it is possible to reduce the positional deviation between a plurality of data obtained by the radial scan.
  • the positional deviation between adjacent tomographic images is reduced, so that the three-dimensional data in which the positional deviation between the data is reduced can be obtained. Can be generated.
  • the state of the entire retina can be easily grasped with one imaging data.
  • the acquired data can be used efficiently. Further, by interpolating the data between a plurality of locations by the interpolation process, it is possible to accurately grasp the thickness and state of the entire retina and the shape of the retina with one imaging data.
  • the process was performed while changing the reference data and the target data.
  • the alignment process is not limited to this.
  • the data (tomographic image) corresponding to one of the radial scans may be selected as the template, the template may be used as the reference data, and the positions of the other data may be aligned with the reference data.
  • the data (tomographic image) corresponding to a predetermined scan among the radial scans for example, four scans every 90 ° is used as a template, and the data corresponding to the scan included at 45 ° before and after the scan is used as a template. It may be aligned with respect to.
  • the alignment is performed for each A scan, but the alignment may be performed for each strip-shaped area in which the predetermined A scans are put together.
  • the calculation of the shift value and the movement of the data position may be performed for each region.
  • the shift value may be calculated for each A scan, and a statistical value such as an average value of the relevant region may be calculated, and the calculated statistical value may be used as the shift value of the relevant region, or a predetermined A included in the relevant region.
  • the shift value of the scan may be the shift value of the entire area. Further, the shift value does not have to be calculated for all A scans. For example, among the A scans included in the 1B scan, the shift value is calculated only for some discretely determined A scans. , The interpolated value of the shift value may be used for other A scans.
  • alignment may be performed for each tomographic image.
  • the alignment may be performed by comparing only the representative A scan data such as the A scan data at the center of each data (tomographic image).
  • a statistical value such as an average value of shift values calculated for each A scan or for each area in which a predetermined A scan is put together may be calculated, and the calculated statistical value may be used as the shift amount of the entire data.
  • the data to be compared when calculating the shift value is not limited to the entire A scan data.
  • the image data of a predetermined area in the depth direction included in the A scan may be compared.
  • the entire data of the A scan data may be used.
  • the data in a predetermined region in the depth direction may be compared.
  • the alignment of the radial scan may be performed collectively for a plurality of tomographic images.
  • the alignment may be performed collectively for each tomographic image for a predetermined number of scans, or the alignment may be performed collectively for each tomographic image corresponding to a scan included in a predetermined angle.
  • the unit of the tomographic image for which the alignment is performed collectively may be dynamically determined according to the number of scanning lines included in the radial scan, or may be determined according to the instruction of the operator. It may be set in advance.
  • the shift value may also be calculated for each unit of the tomographic image.
  • the shift value may be a statistical value such as an average value of shift values for each tomographic image included in the unit, or may be a shift value of a predetermined tomographic image included in the unit.
  • the positions of the reference data and the target data are aligned each time a shift value for the set of reference data and the target data is calculated, but the timing of aligning the data is not limited to this.
  • the data may be aligned in a batch.
  • the data corresponding to each scanning line may be aligned by moving the shift value obtained by comparing the reference data up to the data and the target data by the accumulated shift value.
  • the shift value generated between the data corresponding to the first and last scans is returned in the opposite direction to make an overall correction.
  • the process does not have to be performed. Further, the processing may be performed not for each A scan but for each strip-shaped region in which a plurality of A scans are put together, or for each tomographic image corresponding to each scan line. Further, it may be performed for each of a plurality of tomographic images corresponding to a plurality of scanning lines.
  • the data generation unit 1904 may generate a natural front image from the front image (En-Face image) on the xy plane by using the trained model. In this case, the data generation unit 1904 inputs the En-Face image generated from the three-dimensional data generated by the interpolation process to the trained model, and generates a more natural En-Face image.
  • the En-Face image generated from the three-dimensional data 1013 shown in FIG. 10B is used as the input data, and the En-Face image generated from the data in the corresponding depth range of the three-dimensional data 1014 is output data. And it is sufficient.
  • the En-Face image refers to an image obtained by projecting data in an arbitrary depth range of three-dimensional data onto a two-dimensional plane (xy plane).
  • the depth range for generating the En-Face image can be defined by any two layer boundaries included in the tomographic image of the eye to be inspected. Further, the depth range may be defined by being offset-instructed by the operator. Further, the depth range may be defined as a range including a predetermined pixel portion in a shallow direction or a deep direction with respect to a certain layer boundary. Further, the En-Face image may be a one-section image of the xy plane in the three-dimensional data.
  • the representative value can include a value such as an average value, a median value, or a maximum value of pixel values within the depth range.
  • the data generation unit 1904 can project at least a part of the three-dimensional data onto a two-dimensional plane to generate an En-Face image which is a front image.
  • the data generation unit 1904 uses the trained model to generate a more natural tomographic image or En-Face image, but the signal processing unit 190 may perform the processing.
  • a component for performing the process may be provided.
  • the process of generating a more natural image using the trained model does not necessarily have to be performed, and may be configured to be performed according to an instruction of the operator, for example. Since the features of the En-Face image may differ depending on the depth range, a trained model may be prepared for each predetermined depth range.
  • Example 2 In the first embodiment, an example in which the drive control unit 180 controls the X scanner 107 and the Y scanner 110 to scan radially has been described. In this embodiment, an example in which three-dimensional data is generated with higher accuracy by scanning in a circular shape in addition to the radial scanning will be described.
  • each component of the OCT device according to the present embodiment is the same as each component of the OCT device according to the first embodiment, the same reference numerals will be used and the description thereof will be omitted.
  • FIG. 12A to 12C show an example of a scanning line in which a radial scan and a circular scan are combined.
  • the arrows indicate the scanning direction.
  • the scanning direction may be opposite to that shown in the figure.
  • FIG. 12A shows 12 radial scanning lines and one circular scanning line for convenience of explanation.
  • the number of radial scanning lines n should be 90 or more, for example. Can be done. Further, when the circular scan is used not only for alignment but also for three-dimensional data construction, the number of circular scanning lines m can be set to, for example, 2 or more.
  • the circular scan may be executed after the radial scan is executed, or the radial scan may be executed after the circular scan is executed.
  • a circular scan may be performed during the radial scan, and the timing of executing different scan patterns is not uniquely limited.
  • the three-dimensional data generation process according to the present embodiment is different from the three-dimensional data generation process according to the first embodiment in the alignment process of the alignment unit 1902 and the integration process of the A scan data by the data integration unit 1903. .. Therefore, in this embodiment, these processes will be described.
  • the data integration unit 1903 arranges the A scan data acquired by the circular scan and the A scan data acquired by the radial scan on the three-dimensional space. After that, the alignment unit 1902 aligns the radial scan based on the circular scan.
  • FIG. 12C shows an enlarged example of a part of the XY plane in the circular scan and the radial scan.
  • the diagonal square 1201 indicates the position of the circular scan
  • the black square 1202 indicates the position of the radial scan
  • the white square 1203 indicates the unscanned position
  • the dotted circle 1204 indicates the location where the circular scan and the radial scan meet. ..
  • the alignment unit 1902 aligns the A scan data with reference to the point (circle 1204) where the circular scan and the radial scan meet.
  • the alignment parameter obtained at that location can be used as the alignment parameter (shift value) for the entire tomographic image. Since the circular scan captures continuous surfaces in a short period of time, there is almost no misalignment within a single image. Therefore, in this embodiment, the alignment unit 1902 aligns a plurality of radial scans based on the data of the circular scan.
  • the alignment by the alignment unit 1902 according to the present embodiment may be performed based on the boundary line data detected by the detection unit 1905, or may be performed based on the image feature amount.
  • the data at the plurality of locations may be averaged and aligned, or any one of them may be aligned. Alignment may be performed using the data. Specifically, in the example of FIG. 12C, the average of the data of the two pixel positions (A scan position) of the diagonal line 1201 in contact with the end of the black square 1202 and the data of the end of the black square 1202 are aligned. You can do it.
  • the radial scan corresponding to one scan line is in contact with the circular scan at both ends.
  • the alignment portion 1902 may use the average value of the alignment parameters of both ends, or the similarity of the A scan data of the tangent portion. The result with the higher value may be used.
  • the alignment section 1902 smoothly deforms the image acquired by the radial scan so that the parameters at both ends (positions in the depth direction) match. May be aligned.
  • each A scan data is cumulatively (gradually) in the depth direction from one end of the image by the value obtained by dividing the difference in the alignment parameters at both ends by the number of A scans included in one scan. You can move it to transform the image.
  • the alignment of the radial scan may be performed first, and then the alignment of the radial scan may be performed with respect to the circular scan.
  • the data integration unit 1903 integrates the duplicated A scan data in the vicinity of the center where the A scan becomes dense and in the peripheral portion where the circular scan and the radial scan overlap, and in the three-dimensional space, for each scan line. Place the corresponding aligned tomographic image.
  • the data integration unit 1903 arranges a tomographic image before alignment corresponding to each scanning line in the three-dimensional space so as to correct the misalignment of the tomographic image based on the alignment parameter calculated in step S442. May be good.
  • the vicinity of the center is the same as the process according to the first embodiment, the description thereof will be omitted here.
  • the data integration unit 1903 selects, for example, the A scan data acquired by the circular scan as the data integration process in the peripheral portion where the circular scan and the radial scan overlap, and sets the representative value of the location where the data integration process is performed. To do. This is because, as described above, the circular scan captures continuous surfaces in a short period of time, so that there is almost no misalignment in one image. Further, since the alignment process is completed by the alignment unit 1902, the data integration unit 1903 performs the A scan data of the circular scan and the radial scan as the data integration process in the peripheral portion where the circular scan and the radial scan overlap. The representative value may be determined by integrating with the A scan data of.
  • the data integration unit 1903 may integrate data by statistical calculation for calculating an average value, a weighted average value, a median value, a maximum value, a minimum value, or the like using duplicate A scan data. .. Further, the data integration unit 1903 calculates the correlation value for each of the overlapping A scan data, and uses only the A scan data having a high correlation value to obtain the average value, the weighted average value, the median value, the maximum value, the minimum value, and the like. Data integration may be performed by statistical calculation to be calculated.
  • the alignment and data integration using the data corresponding to the radial scan including a plurality of scanning lines and the data corresponding to one circular scan were explained.
  • the alignment method for scanning that combines radial scanning and circular scanning is not limited to this.
  • a plurality of radial scans and a plurality of circular scans may be combined.
  • the diameter size of each circular can be changed within an area that overlaps the extent of the radial scan.
  • Example 1 an example of generating an estimated tomographic image using only a radial scan has been shown, but here, an example using a radial scan and a circular scan will be described.
  • the data generation unit 1904 estimates the A scan data by interpolation with respect to the position (white square 1203) inside the circular scan (diagonal square 1201) where the A scan data does not exist will be described.
  • the data generation unit 1904 interpolates the data along the circumferential direction and the normal direction, for example. More specifically, the data generation unit 1904 uses the distance and angle from the center at the location where the A scan data is estimated, and the tomographic image of the radial scan on both sides (circumferential direction) of the location and the circumferential direction. The weighted average of the tomographic images of the circular scan in the normal direction orthogonal to is calculated, and the A scan data is estimated.
  • the data generation unit 1904 determines the distance in the circumferential direction from the location where the A scan data is estimated to the specified tomographic images on both sides, and the distance in the normal direction to the tomographic image of the specified circular scan.
  • Estimated A scan data can be generated by calculating the weighted average according to.
  • the weighting is performed so that the closer the distance from the location where the A scan data is estimated, the greater the specific gravity of the tomographic image data.
  • the data in the tomographic image used for the weighted averaging for example, in the tomographic image, the A scan data at the position closest to the location where the A scan data is specified may be used, or a plurality of positions close to the location.
  • the data generation unit 1904 can construct three-dimensional data. Since the subsequent processing is the same as that of the first embodiment, the description thereof will be omitted.
  • the signal processing unit 190 further acquires a tomographic image corresponding to at least one location of the eye to be inspected, which is obtained by scanning the measurement light in a circular shape on the eye to be inspected. Further, the alignment unit 1902 aligns a plurality of tomographic images obtained by scanning the measurement light radially with reference to the tomographic image obtained by scanning the measurement light in a circular shape.
  • tomographic images obtained by circular scanning in which continuous surfaces are photographed in a short time. Align with reference to. Therefore, it is possible to align a plurality of tomographic images obtained by the radial scan with higher accuracy. Therefore, more accurate 3D data can be generated by generating 3D data from the tomographic image after alignment. As a result, the thickness and state of the entire retina and the shape of the retina can be acquired more accurately with one imaging data.
  • Example 3 In Examples 1 and 2, an example in which the drive control unit 180 controls the X scanner 107 and the Y scanner 110 and scans them in a radial and circular shape to acquire a tomographic image has been described. In this embodiment, a tomographic image is acquired by these scans and a motion contrast image is generated.
  • the difference between the OCT apparatus according to the present embodiment and the OCT apparatus according to the first embodiment will be mainly described with reference to FIGS. 13 to 14B.
  • Each component of the OCT device according to the present embodiment is the same as each component of the OCT device according to the first embodiment, except that the signal processing unit 190 is further provided with the motion contrast image generation unit 1906. Therefore, the same reference numerals will be used and the description thereof will be omitted.
  • FIG. 13 shows a schematic configuration example of the configuration of the signal processing unit 190 according to the third to fifth embodiments.
  • the signal processing unit 190 according to this embodiment is provided with a motion contrast image generation unit 1906 in addition to the reconstruction unit 1901, the alignment unit 1902, the data integration unit 1903, the data generation unit 1904, and the detection unit 1905. There is.
  • FIG. 13 also shows an image correction unit 1907 and an analysis unit 1908, which will be described in Examples 4 and 5.
  • the motion contrast image generation unit 1906 generates motion contrast data based on the generated tomographic image, and generates a motion contrast image corresponding to the tomographic image.
  • the motion contrast image is data obtained by repeatedly photographing the same cross section of the measurement target by OCT and detecting a temporal change of the measurement target between the images.
  • the motion contrast image can be obtained, for example, by calculating the temporal change of the phase, vector, and intensity of the complex OCT signal from the difference, the ratio, the correlation, and the like. The method of generating the motion contrast data according to this embodiment will be described later.
  • FIG. 14A is a flowchart showing the flow of a series of operation processes according to the present embodiment
  • FIG. 14B is a flowchart showing the flow of the three-dimensional data generation process according to the present embodiment.
  • a radial scan is performed in the same manner as in the first embodiment
  • a circular scan may be combined as in the second embodiment.
  • the eye examination information acquisition process in step S401, the tomographic image generation process in step S403, and the end determination process in step S406 are the same as the respective processes according to the first embodiment. Is omitted.
  • the shooting process of step S1402, the motion contrast image generation process of step S1403, the three-dimensional data generation process of step S1404, and the display process of step S1405 according to this embodiment will be described.
  • step S1402 when the drive control unit 180 controls the X scanner 107 and the Y scanner 110 to perform radial scanning in order to generate a motion contrast image from the tomographic image, the same scanning line is scanned a plurality of times (at least twice). (Above) Repeated scanning.
  • the reconstruction unit 1901 generates a plurality of tomographic images for each scanning line based on the interference signal acquired by repeatedly scanning the same scanning line.
  • the reconstruction unit 1901 may generate a tomographic image obtained by adding and averaging a plurality of tomographic images generated for the same scanning line. Further, one of the plurality of tomographic images may be used as a tomographic image for generating three-dimensional data.
  • the process proceeds to step S1403.
  • the motion contrast image generation unit 1906 generates a motion contrast image (a cross-sectional image of motion contrast) based on a plurality of tomographic images generated for the same scanning line.
  • the motion contrast image generation unit 1906 first corrects the positional deviation between a plurality of tomographic images captured in the same range (same scanning line) of the eye to be inspected.
  • the misalignment correction method may be any method.
  • the motion contrast image generation unit 1906 photographs the same range M times, and aligns the tomographic images corresponding to the same location by using features such as the shape of the fundus of the eye.
  • one of the M tomographic images is selected as a template, the degree of similarity with other tomographic images is obtained while changing the position and angle of the template, and the amount of misalignment with the template is obtained.
  • the motion contrast image generation unit 1906 corrects each tomographic image based on the obtained displacement amount.
  • the motion contrast image generation unit 1906 obtains the decorrelation value M (x, z) by the formula shown in Equation 4 between two tomographic images in which the imaging times for each tomographic image are continuous with each other.
  • the two tomographic images used to obtain the decorrelation value may be tomographic images captured within a predetermined imaging time, and the imaging times may not be continuous with each other.
  • a (x, z) indicates the brightness at the position (x, z) of the tomographic image A
  • B (x, z) indicates the brightness at the same position (x, z) of the tomographic image B.
  • the position coordinate x indicates the position in the scanning direction (horizontal direction of the tomographic image), the position coordinate z indicates the position in the depth direction (vertical direction of the tomographic image), and the position coordinate x indicates the position in the x-axis direction. Not limited to.
  • the decorrelation value M (x, z) is a value of 0 to 1, and the larger the difference between the two luminances, the larger the value of M (x, z).
  • the motion contrast image generation unit 1906 can obtain a plurality of decorrelation values M (x, z) at the same position (x, z).
  • the motion contrast image generation unit 1906 can generate a final motion contrast image by performing statistical processing such as maximum value calculation and averaging calculation of a plurality of obtained decorrelation values M (x, z). it can.
  • the motion contrast image generation unit 1906 can generate a motion contrast image corresponding to the tomographic image by generating motion contrast data for each pixel position of the tomographic image and arranging the motion contrast data at the corresponding pixel positions. ..
  • the motion contrast data calculation formula shown in Equation 4 tends to be easily affected by noise. For example, if there is noise in the non-signal portion of a plurality of tomographic images and the values are different from each other, the decorrelation value becomes high and the noise is superimposed on the motion contrast image.
  • the motion contrast image generation unit 1906 may consider the tomographic image data below a predetermined threshold value as noise and replace it with zero as preprocessing. As a result, the motion contrast image generation unit 1906 can generate a motion contrast image with reduced influence of noise based on the generated motion contrast data.
  • step S1404 the signal processing unit 190 generates three-dimensional data of brightness by a tomographic image and three-dimensional data of motion contrast.
  • the three-dimensional data generation process will be described with reference to the flowchart of FIG. 14B.
  • step S1441 is the same as step S441 of the first embodiment, and thus the description thereof will be omitted.
  • the detection unit 1905 detects the boundary line of the retina in step S1441, the process proceeds to step S1442.
  • step S1442 the alignment unit 1902 aligns the adjacent tomographic images.
  • the alignment unit 1902 performs the alignment described in the first embodiment for the alignment in step S1442, and calculates the alignment parameter of the tomographic image corresponding to the adjacent scanning line in the radial scan. Further, since the motion contrast image is generated from the tomographic image, the alignment parameter obtained by using the tomographic image can be applied.
  • step S1443 the tomographic image acquired by the data integration unit 1903 scanning radially is arranged in the three-dimensional space, and data is integrated from a plurality of tomographic images.
  • the data arrangement / integration in step S1443 may be performed in the same manner as the process described in the first embodiment.
  • the data integration unit 1903 can apply the same processing as the integration processing performed on the tomographic image in each A scan to the motion contrast image.
  • step S1444 the data generation unit 1904 constructs three-dimensional data based on the data obtained by arranging and integrating the tomographic image and the motion contrast image obtained by radially scanning the data integration unit 1903 in the three-dimensional space.
  • the construction of the three-dimensional data in step S1444 may be performed by the same process as the process described in the first embodiment.
  • the data generation unit 1904 can similarly generate an estimated motion contrast image by interpolation processing for the motion contrast image. Further, the data generation unit 1904 may perform a process of generating a natural motion contrast image from the motion contrast image generated by interpolation using the trained model, as in the process described in the first embodiment.
  • the training data regarding the trained model for generating a natural motion contrast image from the motion contrast image the training data described in the first embodiment generated by using the motion contrast image can be used.
  • step S1405 the control unit 191 displays the tomographic image acquired by the radial scan and the three-dimensional data generated from the motion contrast image on the display unit 192.
  • the image displayed on the display unit 192 can be a tomographic image or a motion contrast image scanned radially, as in the example described with reference to FIG. 11A.
  • the motion contrast image can be displayed as it is, but a value equal to or larger than the threshold value can be superimposed on the tomographic image and displayed.
  • control unit 191 can display an arbitrary tomographic image or motion contrast image on the display unit 192 from the three-dimensional data constructed from the radial scan.
  • a value equal to or larger than the threshold value can be superimposed and displayed on the tomographic image.
  • a motion contrast image when taken, it is possible to generate and display an OCTA image which is a motion contrast front image obtained by projecting motion contrast data on a two-dimensional plane.
  • the data generation unit 1904 projects the motion contrast image corresponding to the range between the upper end of the specified depth range and the lower end of the depth range in the three-dimensional data of the motion contrast image on the two-dimensional plane, and OCTA. Images can be generated.
  • the motion contrast image within the range is projected by the average value based on the motion contrast image corresponding to the range between the upper end of the specified depth range and the lower end of the depth range.
  • Processing such as (AIP) or maximum value projection (MIP) is performed.
  • the data generation unit 1904 can generate an OCTA image which is a front image of the motion contrast image.
  • the projection method for generating the OCTA image is not limited to the average value or the maximum value.
  • the data generator 1904 may generate OCTA images using values such as minimum, median, variance, standard deviation, or sum.
  • the control unit 191 causes the display unit 192 to display the OCTA image generated by the data generation unit 1904.
  • the OCTA image may be displayed superimposed on the fundus image 1110, or may be displayed by switching to the En-Face image 1115.
  • the OCT apparatus further includes a motion contrast image generation unit 1906 that generates a motion contrast image using a plurality of tomographic images.
  • the signal processing unit 190 acquires a tomographic image group obtained by scanning the same place at a plurality of places within a predetermined time, and the motion contrast image generation unit 1906 uses the obtained tomographic image group to obtain a motion contrast. Generate an image.
  • the alignment unit 1902 aligns a plurality of motion contrast images corresponding to the plurality of tomographic images with each other, and the data generation unit 1904 generates three-dimensional data using the plurality of aligned motion contrast images. To do.
  • the data generation unit 1904 generates an OCTA image which is a motion contrast front image from the three-dimensional data generated by using the motion contrast data.
  • the signal processing unit 190 may acquire a motion contrast image from an external device such as a server outside the control device 200.
  • this embodiment it is possible to generate a plurality of tomographic images and motion contrast images obtained by scanning at high density and radially, and reduce the positional deviation of the motion contrast images. It is also possible to generate three-dimensional data from the aligned motion contrast image and display an arbitrary cross section. As a result, the state of the entire retina and the state of blood vessels can be easily grasped with one imaging data.
  • the motion contrast data is acquired by calculating the decorrelation value of the two values, but the motion contrast data may be obtained based on the difference between the two values, or the ratio of the two values may be obtained.
  • Motion contrast data may be obtained based on the above. Further, the motion contrast data may be obtained based on the dispersion value of the pixel value (luminance value) of the tomographic image.
  • the final motion contrast data is obtained by obtaining the average value of the acquired plurality of decorrelation values, but the final values, the difference, the maximum value, the median value, etc. of the plurality of decorrelation values are finally obtained.
  • Motion contrast data may be used.
  • each process may be performed in the same manner as in the second embodiment for the alignment and the like of the motion contrast data obtained by the radial scan and the circular scan.
  • the motion contrast data generation process and the OCTA image generation process those described in this embodiment can be applied.
  • Example 4 In Examples 1 to 3, an example in which the drive control unit 180 controls the X scanner 107 and the Y scanner 110 and scans them in a radial or circular shape to acquire a tomographic image or a motion contrast image has been described.
  • the tomographic image acquired by a general OCT device does not correctly display the spatial shape. This will be described with reference to FIG.
  • FIG. 15 is a diagram for explaining the display of a tomographic image acquired by a general OCT device.
  • a tomographic image is generated by arranging data corresponding to the angle of a scan mirror in parallel.
  • the point P represents a pivot point and the light beam always passes through the point P in the center of the pupil.
  • the pivot point is a point corresponding to the incident point at which the measurement light is incident on the eye to be inspected, and is a point conjugate with the scanning unit (scan mirror) of the measurement light.
  • the shooting data 1501 shows an example of data corresponding to the angle of the scan mirror
  • the image data 1502 is an example of displaying the shooting data 1501 side by side in parallel.
  • the substantially fan-shaped imaging data 1501 is displayed side by side in parallel like the image data 1502. Therefore, the image data 1502 has scan distortion with respect to the actual shape of the eye to be inspected.
  • the tomographic image is displayed with the same aspect ratio.
  • the image data 1502 even if there are tomographic images obtained by scanning two different ranges having a width W of 20 mm and a depth H of 5 mm and a width W of 15 mm and a depth H of 5 mm, these tomographic images are still available. It is displayed with the same aspect ratio in the screen area set on the display screen.
  • s with respect to the lateral direction of the tomographic image indicates a direction along the scanning direction.
  • the aspect ratio of the tomographic image is not 1: 1 as shown in the aspect ratio 1141, 1142, 1143, but the depth direction is stretched rather than the horizontal direction.
  • the scanning range (s) at the time of imaging can often be taken wider than the depth range (z)
  • the tomographic image is to be displayed on the screen with an aspect ratio of 1: 1, the inner layer of the retina. Is displayed faintly. Therefore, in order to pay attention to the structure of the inner layer of the retina rather than the actual shape, the tomographic image acquired and displayed by a general OCT device has an aspect ratio distortion with respect to the actual shape.
  • the tomographic image and the motion contrast image acquired by the OCT apparatus are corrected, and the three-dimensional tomographic image close to the actual shape and the three-dimensional motion contrast image close to the actual shape are included. Generate and display 3D data.
  • the difference between the OCT apparatus according to the present embodiment and the OCT apparatus according to the third embodiment will be mainly described with reference to FIGS. 13 and 16 to 17B. Since each component of the OCT device according to the present embodiment is the same as each component of the OCT device according to the third embodiment, except that the image correction unit 1907 is further provided in the signal processing unit 190. , The same reference numerals will be used and the description thereof will be omitted.
  • FIG. 13 shows a schematic configuration example of the configuration of the signal processing unit 190 according to the third to fifth embodiments.
  • the signal processing unit 190 includes an image correction unit in addition to a reconstruction unit 1901, an alignment unit 1902, a data integration unit 1903, a data generation unit 1904, a detection unit 1905, and a motion contrast image generation unit 1906. 1907 is provided.
  • FIG. 13 also shows an analysis unit 1908, which will be described in Example 5.
  • the image correction unit 1907 performs actual shape correction processing on the tomographic image and the motion contrast image.
  • the actual shape correction process refers to the process of correcting the scan distortion with respect to the actual shape of the eye to be inspected described above.
  • the image correction unit 1907 performs actual shape correction processing on the generated tomographic image and motion contrast image.
  • the image correction unit 1907 may use any known method as the actual shape correction process.
  • the image correction unit 1907 may use, for example, an actual shape correction method as described in Patent Documents 2 to 4. Hereinafter, some examples of these actual shape correction processes will be described.
  • the tomographic image is corrected by rearranging the data included in the tomographic image generated by arranging the data in two-dimensional coordinates on the polar coordinates centered on the pivot point. To do.
  • the optical information of the eye to be inspected the relationship between the refractive index of the refracting element and the scanning angle with respect to the incident angle, etc.
  • the optical path length the optical information of the eye to be inspected and the optical path length
  • the value obtained by dividing the optical distance from the pivot point to the retinal layer by the refractive index of the refracting element in the eye to be inspected, and the retinal arrival point (irradiation position) and the pivot point of the measured light in the fundus Ef. Find the angle between the connecting line and the measurement optical axis.
  • the tomographic image is corrected using the polar coordinates with the pivot point as the origin, using the obtained values and angles as parameters.
  • the brightness (pixel value) of a point on the B scan image is Image ( ⁇ i, hj) with hj, which is the difference between the angle ⁇ i of the scan mirror and the optical path length of the retina and the reference optical system, as parameters. It shall be represented by.
  • the distance from the pivot point P1 to the coherence gate position Cg is RmxL
  • the distance from the coherence gate position Cg to the retina Re is hj
  • these are divided by the refractive index Nvit of the vitreous body to be inspected.
  • the actual distances (RmxL', hj') of each of are calculated.
  • the angle ⁇ i ′ formed by the line segment connecting the retina arrival point of the measurement light at the fundus Ef and the pivot point P1 and the measurement optical axis is calculated.
  • the angle ⁇ i'can be set to ⁇ i' asin ⁇ (sin ⁇ i) / Nvit ⁇ .
  • the angle ⁇ i' is calculated using the distance ⁇ pv between the pivot point P1 and the rear principal plane.
  • the focal length of the eye is face
  • the distance from the corneal apex to the anterior principal point is ol
  • the distance from the corneal apex to the pivot imaging position is impv
  • ⁇ pv (1 / face).
  • the image formation position of the pivot corresponds to the pivot point.
  • the optical axis (eye axis) of the line segment connecting the arrival position of the measured light on the coherence gate surface and the posterior principal point Rf of the eye to be inspected and the light passing through the iris surface and the pivot point P1 intersect with the retina Re. It passes through a point and intersects on a plane perpendicular to the optical axis. Therefore, if the distance between the pivot point P1 and the rear principal point Rf is ⁇ pv, the angle ⁇ i'can be expressed as ⁇ i' atan (( ⁇ pv + pvr) ⁇ tan (ref ⁇ i) / pvr).
  • ref ⁇ i asin (sin ( ⁇ i) / Nvit).
  • the image data representing the actual shape of the orthogonal x, z coordinates can be expressed as Image (x, z).
  • x (RmxL'-hj') x sin ( ⁇ i')
  • z RmxL'- ⁇ (RmxL'-hj') x cos ( ⁇ i') ⁇ .
  • the distance from the pivot point corresponding to the axial length of the eye to be inspected to the retinal surface is determined based on the optical path length of the reference light, but the axial length may be determined by a separate device.
  • the position in the depth direction of each A scan image in the B scan image is corrected based on the working distance which is the distance between the corneal surface of the eye to be inspected and the objective lens surface.
  • the working distance changes by the distance g
  • the distance f (g) and the scanning angle ⁇ (g) from the rotation center (pivot point) of the measurement light seen from the retina to the retina change.
  • the distance g indicates the distance from the design value of the working distance.
  • the scanning angle ⁇ (g) seen from the retina has the following relationship.
  • the locus of the coherence gate position draws a fan-shaped arc. Therefore, when the j-th A scan in the B scan is performed, when the coherence gate position corresponding to the A scan is projected on the z-axis, the amount of change d (in the z-axis direction with respect to the coherence gate position on the z-axis) ( g) will occur.
  • the amount of change d (g) can be calculated by the following formula.
  • the scanner rotates by ⁇ (g) / (N-1) using the scanning angle ⁇ (g) when the working distance differs from the design value by the distance g.
  • j is an integer satisfying N-1, and N is the number of A scans in the main scanning direction.
  • the correction value in the z-axis direction at each A scan position is obtained by multiplying d j (g) obtained in this way by the refractive index n h of the refracting element in the eye to be inspected and then dividing by the pixel resolution. Can be calculated.
  • the alignment eccentricity ⁇ x is acquired.
  • the alignment eccentricity ⁇ x can be determined by any known method.
  • the alignment eccentricity ⁇ x may be obtained based on the corneal bright spot appearing in the anterior segment image, or the alignment eccentricity ⁇ x may be determined based on the iris pattern of the eye to be inspected in the anterior segment image. .. Further, the alignment eccentricity ⁇ x may be obtained based on the movement amount of the electric stage.
  • the incident angle change amount ⁇ of the measured light with respect to the retina due to the alignment eccentricity is obtained.
  • the incident angle change amount ⁇ can be obtained as ⁇ x / pvr.
  • the incident angle ⁇ i of the measurement light to the eye to be inspected is obtained from the angle information of the scan mirror, and the optical path length change amount ⁇ z of the measurement light due to the alignment eccentricity is obtained from the alignment eccentricity amount ⁇ x and the incident angle ⁇ i.
  • the actual shape of the tomographic image can be corrected based on the incident angle change amount ⁇ and the optical path length change amount ⁇ z obtained in this way. More specifically, the pixel positions corresponding to each A scan position can be moved in the depth direction based on the amount of change in the optical path length ⁇ z. Further, the pixel position corresponding to each A scan position can be rotated based on the incident angle change amount ⁇ . This makes it possible to reduce the distortion of the tomographic image based on the amount of change in the optical path length ⁇ z and the amount of change in the incident angle ⁇ caused by the alignment eccentricity. Further, the actual shape correction process described in the first example can be performed on the tomographic image obtained by correcting the alignment eccentricity.
  • the image correction unit 1907 can correct the scan distortion related to the actual shape of the tomographic image.
  • the difference in the shape of the tomographic image due to the difference in working distance between the eye under test and the objective lens can be corrected
  • the distortion of the tomographic image due to the eccentricity of the eye under test and the alignment can be corrected. It can be corrected.
  • the actual shape correction process can be performed on the motion contrast image by the same process.
  • the method of correcting the actual shape of the tomographic image obtained by scanning in the x-axis direction has been described.
  • the measurement light is deflected in the x-axis direction and the y-axis direction by the X scanner 107 and the Y scanner 110 according to the scanning direction as described above. Therefore, the actual shape correction process can be performed by performing the same process with respect to the scanning angle ⁇ by using the scanning angle in the x-axis direction and the combined angle in consideration of the scanning angle in the y-axis direction.
  • the pivot points of the measurement light by each may be different from each other.
  • the corneal side (device) of the pivot points related to the X-scanner 107 and the Y-scanner 110 processing can be performed based on the pivot point on the side).
  • the position of the pivot point may be obtained from the device configuration or may be obtained according to the actually measured value.
  • the above-mentioned actual shape correction method may be applied as it is.
  • the scanning that deflects the measurement light only in the y-axis direction can be corrected in consideration of the position of the pivot point by the Y scanner 110.
  • step S1404 three-dimensional data is generated by the data generation unit 1904 or the like as in the third embodiment. At this time, by performing the processing based on the tomographic image and the motion contrast image after the actual shape correction, it is possible to generate three-dimensional data close to the actual shape of the eye to be inspected.
  • the data generation unit 1904 performs processing using the trained model described above, the tomographic image included in the three-dimensional data composed of the tomographic image corrected in actual shape is used as the training data. As a result, it is possible to input the three-dimensional data using the tomographic image after the actual shape correction into the trained model and generate more natural three-dimensional data close to the actual shape.
  • step S1605 the control unit 191 causes the display unit 192 to display a tomographic image or the like using the generated three-dimensional data or the like.
  • the control unit 191 changes the actual shape of the eye to be inspected with respect to the tomographic image and the motion contrast image obtained by arbitrarily cutting out the three-dimensional data.
  • a close image can be displayed on the display unit 192. As a result, the operator can confirm the image in which the scan distortion is reduced.
  • control unit 191 can display these images with the aspect ratio of the tomographic image and the motion contrast image set to 1: 1. As a result, the operator can confirm the image in which the aspect ratio distortion is reduced.
  • the control unit 191 can display a tomographic image or a motion contrast image on a screen similar to the display screen 1100 shown in FIGS. 11A and 11B.
  • FIG. 17B shows an example of a tomographic image in which scan distortion and aspect ratio distortion are reduced by the above processing.
  • FIG. 17B shows a tomographic image 1711 displayed by a general OCT apparatus, and a tomographic image 1712 in which the aspect ratio of pixels is corrected to 1: 1 with respect to the tomographic image 1711. Further, FIG. 17B shows a tomographic image 1713 in which the aspect ratio distortion and the scan distortion are reduced with respect to the tomographic image 1711.
  • the operator can confirm the image of the eye to be inspected that is close to the actual shape of the eye to be inspected.
  • the OCT apparatus further includes an image correction unit 1907.
  • the signal processing unit 190 and a plurality of tomographic images corresponding to each of a plurality of locations of the eye to be inspected obtained by scanning the measurement light radially on the eye to be inspected, and imaging parameters corresponding to each tomographic image are acquired.
  • the image correction unit 1907 uses the acquired imaging parameters to correct the shape of the tomographic image corresponding to the imaging parameters.
  • the alignment unit 1902 aligns a plurality of shape-corrected tomographic images with each other.
  • the imaging parameter includes at least one of the scanning information of the measurement light, the distance between the eye to be inspected and the objective lens, and the amount of eccentricity of the eye to be inspected with respect to the optical axis of the measurement light.
  • the scanning information of the measurement light may include the position and length of the scanning line of the radial scan, the angle of the scanning portion, and the like.
  • the imaging parameters set by the control unit 191 may be acquired, may be acquired from an external device of the control device 200, or may be acquired as an actually measured value between the OCT device and the eye to be inspected. You may get it.
  • the image correction unit 1907 uses the scanning information of the measurement light, the position in the eye to be examined that is conjugate with the scanning unit that scans the measurement light, and the refractive index of the refracting element in the eye to determine the shape of the tomographic image. to correct. Further, the image correction unit 1907 may correct the shape of the tomographic image by using at least one of the distance between the eye to be inspected and the objective lens and the amount of eccentricity of the eye to be inspected with respect to the optical axis of the measurement light.
  • a plurality of tomographic images close to the actual shape are obtained by performing the actual shape correction processing on the plurality of tomographic images scanned radially at high density.
  • the misalignment can be reduced.
  • the operator can grasp the state of the entire retina as an image close to the actual shape. Therefore, it is possible to more accurately grasp the thickness and state of the entire retina and the shape of the retina with one imaging data.
  • the image correction unit 1907 may correct the shape of the motion contrast image
  • the alignment unit 1902 may perform alignment of the plurality of motion contrast images.
  • the positional deviation can be reduced for a plurality of motion contrast images close to the actual shape, and three-dimensional data can be generated using the plurality of motion contrast images with the reduced positional deviation to obtain an arbitrary cross section. Can be displayed. As a result, the operator can grasp the state of blood vessels and the like as an image close to the actual shape.
  • the image correction unit 1907 performs three-dimensional data generation processing on a tomographic image and a motion contrast image that have undergone actual shape correction processing has been described, but the present invention is not limited to this. It is also possible to configure the image correction unit 1907 to perform actual shape correction processing on the tomographic image and the motion contrast image after the three-dimensional data is generated.
  • the actual shape correction is performed on the two-dimensional tomographic image or the motion contrast image, but the same actual shape correction processing may be performed on the three-dimensional data.
  • the brightness (pixel value) of the point on the three-dimensional image is parameterized by the scanning angle ⁇ xi of the X scanner 107, the scanning angle ⁇ yi of the Y scanner 110, and hk, which is the difference between the retina and the optical path length of the reference optical system. It shall be represented by Image ( ⁇ xi, ⁇ yi, hk).
  • the actual shape correction process (step S1604) can be performed after the three-dimensional data generation process (step S1404).
  • the distance from the pivot point of the X scanner 107 to the coherence gate position is Rmxl
  • the distance from the pivot point of the Y scanner 110 to the coherence gate position is Rmyl
  • the image data representing the actual shape of the orthogonal x, y, z coordinates can be expressed as Image (x, y, z) by the same principle as the processing for the two-dimensional tomographic image or the like.
  • x (RmxL'-hk') x cos ( ⁇ yj') x sin ( ⁇ xi')
  • y (RmyL'-hk) x cos ( ⁇ xi') x sin ( ⁇ yj')
  • z RmxL'- ⁇ (RmxL'-hk') x cos ( ⁇ xi') x ( ⁇ yj') ⁇ .
  • the difference from the third embodiment has been mainly described, but the actual shape correction process according to the present embodiment can also be applied to the OCT apparatus according to the first and second embodiments. Further, in this embodiment, both the scan distortion correction by the actual shape correction and the aspect ratio distortion correction at the time of display are performed, but only one of them may be performed.
  • Example 5 In Examples 1 to 4, three-dimensional data is obtained from the tomographic image and the motion contrast image obtained by scanning in a radial or circular shape to acquire a tomographic image and a motion contrast image, and the image correction unit 1907 performs the actual shape correction processing.
  • An example of generating is described.
  • an example of executing analysis processing on these tomographic images or motion contrast images will be described.
  • each component of the OCT device according to the present embodiment is the same as each component of the OCT device according to the fourth embodiment except that the analysis unit 1908 is further provided in the signal processing unit 190.
  • the same reference numerals will be used and the description will be omitted.
  • FIG. 13 shows a schematic configuration example of the configuration of the signal processing unit 190 according to the third to fifth embodiments.
  • the signal processing unit 190 includes a reconstruction unit 1901, an alignment unit 1902, a data integration unit 1903, a data generation unit 1904, a detection unit 1905, a motion contrast image generation unit 1906, and an image correction unit 1907.
  • An analysis unit 1908 is provided.
  • the analysis unit 1908 performs image analysis processing on tomographic images, motion contrast images, and three-dimensional data. For example, the analysis unit 1908 measures the curvature of the boundary line, the thickness of the retina, etc. from a tomographic image or a three-dimensional tomographic image, and determines the blood vessel density, the blood vessel shape, etc. from the motion contrast image or the three-dimensional motion contrast image. It can be measured.
  • step S1404 the process proceeds to step S1805.
  • the analysis unit 1908 performs image analysis processing on the tomographic image, motion contrast image, and three-dimensional data according to predetermined settings and instructions of the operator.
  • the analysis unit 1908 can analyze, for example, the curvature of the boundary line, the thickness of the retina, the blood vessel density, the blood vessel shape, and the like.
  • the analysis method may be any known method.
  • the analysis unit 1908 measures the curvature of the retina using a tomographic image.
  • the horizontal axis is the x-coordinate and the vertical axis is the z-coordinate
  • the curvature of the boundary line of the layer (RPE) to be analyzed for shape is calculated.
  • the horizontal axis is set to the x-coordinate, but the coordinate is not limited to the one along the x-axis, and merely indicates the coordinate in the horizontal direction of the tomographic image.
  • the curvature ⁇ can be obtained at each point of the boundary line according to the equation of Equation 7.
  • the sign of the curvature ⁇ tells whether it is convex upwards or downwards, and the magnitude of the numerical value shows how the shape is bent. For example, when the upward convex is + and the downward convex is ⁇ , the curvature sign is a ⁇ region, a + region, and a ⁇ region in each tomographic image, resulting in a W shape.
  • the curvature calculation is not limited to this, and the three-dimensional curvature of the boundary line of the layer to be analyzed for shape analysis may be calculated from the three-dimensional data.
  • the analysis unit 1908 can create a curvature map as an analysis map based on the analysis result after the shape analysis of the analysis target.
  • the curvature map for example, the color of a portion having a large curvature per unit area can be expressed darkly, and the color of a portion having a small curvature per unit area can be expressed lightly.
  • the color set in the curvature map can be changed positively or negatively based on the curvature value 0. Therefore, whether the retina shape is smooth, convex upward or convex downward can be grasped by looking at the curvature map.
  • the analysis map not only the analysis result is expressed in color, but also the numerical value of the analysis result can be displayed.
  • step S1806 the control unit 191 causes the display unit 192 to display a tomographic image, a motion contrast image, three-dimensional data, various map images as analysis results, and the like.
  • FIGS. 19A and 19B show an example of the display screen 1900 according to this embodiment.
  • the same reference numerals will be used for the same items as those shown in FIGS. 11A and 11B, and the description thereof will be omitted.
  • the display screen 1900 shown in FIG. 19A shows analysis maps 1915, check boxes 1916, 1917, tomographic images 1921, 1922, and aspect ratios 1941, 1942.
  • the check box 1916 is an display of the selection means for selecting whether or not the actual shape correction process for reducing the scan distortion is applied by the image correction unit 1907.
  • the check box 1917 is a display of the selection means for selecting whether or not the aspect ratio distortion correction processing is applied by the control unit 191.
  • the selection means on the display does not have to be a check box, and may be any one such as right-click menu display and list selection.
  • the tomographic images 1921 and 1922 are tomographic images when the actual shape correction processing and the aspect ratio correction processing are applied, respectively. Further, motion contrast images 1951 and 1952 are superimposed and displayed on the tomographic images 1921 and 1922.
  • the image correction unit 1907 may perform actual shape correction processing on both the tomographic image and the motion contrast image as shown in the figure.
  • the aspect ratios 1941 and 1942 indicate the aspect ratios of the displayed tomographic images, and the tomographic images 1921 and 1922 correct the aspect ratio distortion, so that the aspect ratio is 1: 1. It should be noted that a selection means for selecting whether or not to apply the correction process may be provided for each tomographic image.
  • the analysis map 1915 is a map image showing the analysis result generated by the analysis unit 1908.
  • the map image may be, for example, the above-mentioned curvature map, layer thickness map, blood vessel density map, or the like.
  • the value and color of the analysis map 1915 change depending on whether or not the check box 1916 (RealShape) is checked. On the other hand, the value and color do not change depending on whether or not the check box 1917 (RealScale) is checked. This is because the aspect ratio distortion is a problem of displaying a tomographic image, and when calculating the analysis value in a general OCT device, the calculation is performed with a numerical value irrelevant to the aspect ratio.
  • the analysis result changes depending on the presence or absence of the check box 1916. Therefore, for example, when analyzing the shape of the retina, the actual shape correction process can be performed in order to obtain a more accurate analysis result.
  • the analysis process it is possible to analyze not only the curvature but also the retinal thickness, the blood vessel density, the blood vessel shape, and the like with respect to the data obtained by the actual shape correction process.
  • the display screen 1900 shown in FIG. 19B is an example of a display screen for displaying three-dimensional data.
  • the display screen 1900 shown in FIG. 19B shows three-dimensional volume data 1925 to which the actual shape correction process and the aspect ratio correction process are applied.
  • FIG. 19B for example, an example in which only the RPE layer is displayed is shown.
  • the above-mentioned curvature value may be expressed in color with respect to the displayed three-dimensional data. That is, the analysis map 1915 may simultaneously represent the shape and color of the three-dimensional volume data 1925 instead of the two-dimensional plane.
  • the OCT apparatus further includes an analysis unit 1908 that performs image analysis on the aligned tomographic image.
  • the OCT apparatus according to the present embodiment performs correction processing on a plurality of tomographic images and motion contrast images scanned radially at high density, and analyzes the corrected data. Can be executed. As a result, the operator can quantitatively grasp the state of the entire retina and the state of blood vessels as numerical values close to the actual shape.
  • the difference from the fourth embodiment has been mainly described, but the actual shape correction process according to the present embodiment can also be applied to the OCT apparatus according to the first to third embodiments.
  • the image to which the actual shape correction processing has been performed is configured to perform the analysis processing, but the target to be analyzed is not limited to this.
  • the analysis unit 1908 may perform analysis processing on a tomographic image, a motion contrast image, and three-dimensional data that have not been subjected to actual shape correction processing. Even in this case, the operator can quantitatively grasp the state of the entire retina and the state of blood vessels.
  • Modification 2 In the various examples described above, an example of generating three-dimensional data from a tomographic image obtained by scanning the measurement light radially or a tomographic image obtained by scanning the measurement light in a radial and circular shape has been described. On the other hand, it is not always necessary to generate and display three-dimensional data, and the data to be displayed may be a densely photographed radial scan image. In other words, the check box 1116 may not be provided in the above-described embodiment. However, three-dimensional data may be internally generated for analysis or the like without displaying it. The generated three-dimensional data does not necessarily have to be saved, and may be generated each time the data is executed.
  • GAN Generative Adversarial Network
  • the generator attempts to generate data similar to the training data, and the classifier identifies whether the data came from the training data or from the generative model.
  • the data generation unit 1904 may directly generate three-dimensional data from a plurality of tomographic images obtained by radial scanning using the trained model without performing interpolation processing by itself.
  • the input data of the training data is set as the data corresponding to a predetermined radial scan among the three-dimensional data obtained by actually photographing the input data, and the entire three-dimensional data obtained by actually photographing the output data is used. May be.
  • the trained model can be used to perform interpolation processing itself for three-dimensional data.
  • the training data the data outside the imaging range (outside the cylindrical range) of the radial scan can be deleted.
  • the overlay process may be performed using a tomographic image or a motion contrast image of a radial scan taken at a plurality of different times. For example, alignment is performed on tomographic images of radial scans taken at the same location at a plurality of different times.
  • three-dimensional data is generated from a radial scan by using one of the methods described above. Alignment is performed using the characteristic XY plane data in a plurality of three-dimensional data. In the alignment in the XY plane, the alignment may be performed in consideration of not only the shift of XY but also rotation and distortion. Further, the alignment is also performed in the depth direction Z. In the depth direction Z, the alignment may be performed in B scan units or A scan units. After that, by superimposing the data, it is possible to generate three-dimensional data with reduced noise. As the superposition process, for example, an addition averaging process may be used.
  • the aligned three-dimensional data may be output in a format that can be printed by a 3D printer.
  • a tomographic image or motion contrast image that has been aligned or has undergone actual shape correction processing after alignment can be output in RAW format, output in a format after surface rendering, or in STL (Standard Triangled Language) or Stereolithography format. It is possible to print with a 3D printer by outputting with.
  • Example 6 In Example 2, the tomographic image obtained by scanning radially was subjected to the alignment process with reference to the tomographic image obtained by scanning in a circular shape.
  • the alignment unit 1902 may be configured. In this case, the alignment unit 1902 may switch these alignment processes according to the instruction of the operator.
  • the alignment process is performed using the tomographic image obtained by scanning in a circular shape as a reference, the position of intersection with the circular scanning line is assumed to be the reference for the alignment. It is considered that the accuracy of data alignment at the peripheral edge (end) of the image is improved. Therefore, for example, since the data of the blood vessels around the macula are accurately aligned, it can be expected that the target such as the blood vessels can be confirmed more accurately.
  • the signal processing unit 190 acquires a plurality of first tomographic images corresponding to a plurality of locations of the eye to be inspected, which are obtained by scanning the measurement light radially on the eye to be inspected. To do. Further, the signal processing unit 190 acquires a second tomographic image corresponding to at least one position of the eye to be inspected, which is obtained by scanning the measurement light in a circular shape on the eye to be inspected. Further, the alignment unit 1902 aligns the plurality of first tomographic images and the second tomographic image with each other at least in the depth direction of the tomographic image.
  • the alignment unit 1902 switches between the alignment based on the plurality of first tomographic images and the alignment based on the second tomographic image according to the instruction of the operator.
  • the alignment unit 1902 can switch the alignment process, and it can be expected that more accurate three-dimensional data can be generated according to the object to be inspected.
  • Modification 7 data was generated by interpolation processing for positions other than the tomographic image and the motion contrast image obtained by photographing.
  • an interference signal may be acquired during the return period of the measurement light by the X scanner 107 and the Y scanner 110, and a tomographic image or the like based on the interference signal may be used by the data generation unit 1904 as data for interpolation.
  • the return line period means a period in which the angle of each scanner is changed in order to move the measurement light to the start position of the next scanning line after scanning the measurement light along a desired scanning line.
  • the tomographic images obtained during the blanking interval may be thinned out and used as interpolation data.
  • the display unit 192 is configured to display the alignment tomographic image, the motion contrast image, the three-dimensional data, the En-Face image, the OCTA image, and the analysis result.
  • the control device 200 may be configured to transmit these data and the analysis result to the external device.
  • the SS-OCT optical system is used as the OCT optical system 100.
  • other types of OCT optical systems may be used.
  • an SD-OCT that uses an SLD as a light source and uses a spectroscope to image interference light may be used.
  • the present invention can also be applied to Line-OCT (or SS-Line-OCT) using line light.
  • the present invention can also be applied to Full Field-OCT (or SS-Full Field-OCT) using area light.
  • the present invention can be applied to wave surface adaptive optics tomography (AO-OCT) using an adaptive optics system, or polarized light OCT (PS-OCT) for visualizing information on polarization phase difference and polarization elimination.
  • AO-OCT wave surface adaptive optics tomography
  • PS-OCT polarized light OCT
  • the spectroscope used for imaging disperses the interference light in space by a diffraction grating, so that crosstalk of the interference light occurs between adjacent pixels of the line sensor. easy.
  • the sensitivity is significantly reduced.
  • SS-OCT without a spectroscope is more advantageous than SD-OCT in capturing tomographic images at a deeper position. Further, in the spectroscope used in SD-OCT, there is a loss of interference light due to the diffraction grating.
  • SS-OCT it is easy to improve the sensitivity by configuring the interference light to be differentially detected, for example, without using a spectroscope. Therefore, SS-OCT can be speeded up with the same sensitivity as SD-OCT, and it is possible to acquire a tomographic image with a wide angle of view by taking advantage of this high speed.
  • an optical fiber optical system using a coupler is used as the dividing means, but a spatial optical system using a collimator and a beam splitter may be used.
  • the configuration of the OCT apparatus is not limited to the above configuration, and a part of the configuration included in the OCT apparatus may be a configuration different from these.
  • the Mach-Zehnder interference system is used as the interference system, the Michelson interference system may be used.
  • control device 200 is included in the OCT device in the various examples and modifications described above, it may be provided separately from the OCT device.
  • control device 200 may be connected by wire or wirelessly, and may be connected via an arbitrary network such as the Internet.
  • the focus lens 114 is commonly used in the OCT optical system 100 and the SLO optical system 140, but is not limited to this, and is not limited to this.
  • a focus lens may be provided separately.
  • the control by the drive control unit 180 of the focus lens 114 may drive the focus lens based on the difference between the wavelength used by the light source 101 and the wavelength used by the light source 141. For example, when a focus lens is provided in common between the OCT optical system 100 and the SLO 140 optical system, the drive control unit 180 can switch between imaging using the SLO optical system 140 and imaging using the OCT optical system 100.
  • the focus lens 114 may be moved according to the difference in wavelength.
  • the drive control unit 180 moves the other according to the difference in wavelength.
  • the focus lens of the optical system may be moved.
  • the machine learning model used in the various examples and modifications described above may be, for example, a capsule network (CapsNet: Capsule Network).
  • CapsNet Capsule Network
  • each unit is configured to output a scalar value, so that, for example, spatial information regarding the spatial positional relationship (relative position) between features in an image can be obtained. It is configured to be reduced. Thereby, for example, learning can be performed so as to reduce the influence of local distortion and translation of the image.
  • each unit is configured to output spatial information as a vector, so that, for example, spatial information is retained. Thereby, for example, learning can be performed in which the spatial positional relationship between the features in the image is taken into consideration.
  • the display mode of the GUI and the like described in the various examples and modifications described above is not limited to the above, and may be arbitrarily changed according to a desired configuration.
  • the motion contrast data may be displayed on the tomographic image. In this case, it is possible to confirm at which depth the motion contrast value is distributed. Further, colors may be used for displaying an image or the like.
  • the control device 200 uses the OCT optical system 100 to generate an interference signal, a tomographic image generated by the reconstruction unit 1901, and a frontal view of the fundus generated by the signal processing unit 190. Etc. were acquired.
  • the configuration in which the control device 200 acquires these signals and images is not limited to this.
  • the control device 200 may acquire these signals and data from a server or a photographing device connected to the control device 200 via a LAN, WAN, the Internet, or the like. Further, when acquiring these signals and data, the control device 200 may also acquire imaging parameters and the like including a scan pattern, the number of scanning lines, and the like.
  • the trained model may be composed of, for example, a CPU, a software module executed by a processor such as an MPU, GPU, or FPGA, or a circuit or the like that performs a specific function such as an ASIC. Further, these trained models may be provided in a device of another server connected to the control device 200 or the like. In this case, the control device 200 can use the trained model by connecting to a server or the like provided with the trained model via an arbitrary network such as the Internet.
  • the server provided with the trained model may be, for example, a cloud server, a fog server, an edge server, or the like.
  • the training data of the trained model is not limited to the data obtained by using the ophthalmology device itself that actually performs the imaging, but the data obtained by using the same type of ophthalmology device or the same type of ophthalmology according to a desired configuration. It may be data or the like obtained by using the device.
  • the GPU can perform efficient calculations by processing more data in parallel. Therefore, when learning is performed a plurality of times using a learning model such as deep learning, it is effective to perform processing on the GPU. Therefore, a GPU may be used in addition to the CPU for processing by the control device 200, which is an example of the learning unit (not shown). Specifically, when executing a learning program including a learning model, learning is performed by the CPU and the GPU collaborating to perform calculations. The processing of the learning unit may be performed only by the CPU or GPU. Further, the processing unit (estimation unit) that executes the processing using the various trained models described above may also use the GPU as in the learning unit. Further, the learning unit may include an error detecting unit and an updating unit (not shown).
  • the error detection unit obtains an error between the output data output from the output layer of the neural network and the correct answer data according to the input data input to the input layer.
  • the error detection unit may use the loss function to calculate the error between the output data from the neural network and the correct answer data.
  • the update unit updates the coupling weighting coefficient between the nodes of the neural network based on the error obtained by the error detection unit so that the error becomes small.
  • This updating unit updates the coupling weighting coefficient and the like by using, for example, the backpropagation method.
  • the error backpropagation method is a method of adjusting the coupling weighting coefficient between the nodes of each neural network so that the above error becomes small.
  • the present invention is also a process in which a program that realizes one or more functions of the above-described examples and modifications is supplied to a system or device via a network or storage medium, and a computer of the system or device reads and executes the program. It is feasible.
  • a computer may have one or more processors or circuits and may include multiple separate computers or a network of separate processors or circuits to read and execute computer executable instructions.
  • the processor or circuit may include a central processing unit (CPU), a microprocessing unit (MPU), a graphics processing unit (GPU), an application specific integrated circuit (ASIC), or a field programmable gateway (FPGA). Also, the processor or circuit may include a digital signal processor (DSP), a data flow processor (DFP), or a neural processing unit (NPU).
  • CPU central processing unit
  • MPU microprocessing unit
  • GPU graphics processing unit
  • ASIC application specific integrated circuit
  • FPGA field programmable gateway
  • DSP digital signal processor
  • DFP data flow processor
  • NPU neural processing unit

Landscapes

  • Engineering & Computer Science (AREA)
  • Health & Medical Sciences (AREA)
  • Physics & Mathematics (AREA)
  • Life Sciences & Earth Sciences (AREA)
  • General Physics & Mathematics (AREA)
  • Theoretical Computer Science (AREA)
  • Computer Vision & Pattern Recognition (AREA)
  • General Health & Medical Sciences (AREA)
  • Medical Informatics (AREA)
  • Nuclear Medicine, Radiotherapy & Molecular Imaging (AREA)
  • Radiology & Medical Imaging (AREA)
  • Animal Behavior & Ethology (AREA)
  • Veterinary Medicine (AREA)
  • Ophthalmology & Optometry (AREA)
  • Biomedical Technology (AREA)
  • Heart & Thoracic Surgery (AREA)
  • Molecular Biology (AREA)
  • Surgery (AREA)
  • Biophysics (AREA)
  • Public Health (AREA)
  • Quality & Reliability (AREA)
  • Architecture (AREA)
  • Computer Graphics (AREA)
  • Computer Hardware Design (AREA)
  • General Engineering & Computer Science (AREA)
  • Software Systems (AREA)
  • Eye Examination Apparatus (AREA)
PCT/JP2020/043963 2019-11-29 2020-11-26 医用画像処理装置、光干渉断層撮影装置、医用画像処理方法、及びプログラム Ceased WO2021106987A1 (ja)

Priority Applications (2)

Application Number Priority Date Filing Date Title
CN202080081569.9A CN114760906A (zh) 2019-11-29 2020-11-26 医用图像处理装置、光学相干断层摄影装置、医用图像处理方法和程序
US17/824,038 US12087001B2 (en) 2019-11-29 2022-05-25 Medical image processing apparatus, optical coherence tomography apparatus, medical image processing method, and computer-readable medium

Applications Claiming Priority (2)

Application Number Priority Date Filing Date Title
JP2019216516A JP7419042B2 (ja) 2019-11-29 2019-11-29 医用画像処理装置、光干渉断層撮影装置、医用画像処理方法、及びプログラム
JP2019-216516 2019-11-29

Related Child Applications (1)

Application Number Title Priority Date Filing Date
US17/824,038 Continuation US12087001B2 (en) 2019-11-29 2022-05-25 Medical image processing apparatus, optical coherence tomography apparatus, medical image processing method, and computer-readable medium

Publications (1)

Publication Number Publication Date
WO2021106987A1 true WO2021106987A1 (ja) 2021-06-03

Family

ID=76086358

Family Applications (1)

Application Number Title Priority Date Filing Date
PCT/JP2020/043963 Ceased WO2021106987A1 (ja) 2019-11-29 2020-11-26 医用画像処理装置、光干渉断層撮影装置、医用画像処理方法、及びプログラム

Country Status (4)

Country Link
US (1) US12087001B2 (enExample)
JP (1) JP7419042B2 (enExample)
CN (1) CN114760906A (enExample)
WO (1) WO2021106987A1 (enExample)

Cited By (1)

* Cited by examiner, † Cited by third party
Publication number Priority date Publication date Assignee Title
CN114343565A (zh) * 2021-11-30 2022-04-15 图湃(北京)医疗科技有限公司 一种光学相干层析视网膜图像校正方法及装置

Families Citing this family (6)

* Cited by examiner, † Cited by third party
Publication number Priority date Publication date Assignee Title
JPWO2022181729A1 (enExample) * 2021-02-25 2022-09-01
JP2023040903A (ja) * 2021-09-10 2023-03-23 株式会社トーメーコーポレーション 眼科装置
KR20230111522A (ko) * 2022-01-18 2023-07-25 가톨릭대학교 산학협력단 병적 근시 진단 장치 및 방법
CN116309194B (zh) * 2023-05-24 2023-08-08 广东麦特维逊医学研究发展有限公司 Oct图像畸变校正方法
CN119949771A (zh) * 2025-03-12 2025-05-09 中国科学院苏州生物医学工程技术研究所 基于光学低相干干涉场的多模态成像系统与方法
CN120585263B (zh) * 2025-08-07 2025-09-30 上海市第十人民医院 一种基于前节oct的角膜损伤检测系统

Citations (2)

* Cited by examiner, † Cited by third party
Publication number Priority date Publication date Assignee Title
JP2018175258A (ja) * 2017-04-10 2018-11-15 キヤノン株式会社 画像生成装置、画像生成方法、及びプログラム
JP2019187551A (ja) * 2018-04-19 2019-10-31 キヤノン株式会社 画像処理装置、画像処理方法及びプログラム

Family Cites Families (18)

* Cited by examiner, † Cited by third party
Publication number Priority date Publication date Assignee Title
EP1854068A4 (en) * 2005-02-17 2011-09-21 Agency Science Tech & Res METHOD AND APPARATUS FOR EDITING THREE DIMENSIONAL IMAGES
JP4921201B2 (ja) 2007-02-23 2012-04-25 株式会社トプコン 光画像計測装置及び光画像計測装置を制御するプログラム
JP5436076B2 (ja) 2009-07-14 2014-03-05 キヤノン株式会社 画像処理装置、画像処理方法およびプログラム
JP5582772B2 (ja) 2009-12-08 2014-09-03 キヤノン株式会社 画像処理装置及び画像処理方法
JP5025715B2 (ja) 2009-12-08 2012-09-12 キヤノン株式会社 断層画像撮影装置、画像処理装置、画像処理システム、画像処理装置の制御方法及びプログラム
JP5733960B2 (ja) 2010-11-26 2015-06-10 キヤノン株式会社 撮像方法および撮像装置
JP5794664B2 (ja) 2011-01-20 2015-10-14 キヤノン株式会社 断層画像生成装置及び断層画像生成方法
JP5782262B2 (ja) 2011-01-20 2015-09-24 キヤノン株式会社 断層画像補正方法および断層画像補正装置
JP5836634B2 (ja) 2011-05-10 2015-12-24 キヤノン株式会社 画像処理装置及び方法
JP5847510B2 (ja) * 2011-09-20 2016-01-20 キヤノン株式会社 画像処理装置及び画像処理方法
JP6105852B2 (ja) 2012-04-04 2017-03-29 キヤノン株式会社 画像処理装置及びその方法、プログラム
JP5888343B2 (ja) * 2014-01-07 2016-03-22 株式会社ニデック 眼科撮影装置
JP6598466B2 (ja) 2015-01-30 2019-10-30 キヤノン株式会社 断層撮像装置、断層撮像方法、およびプログラム
JP2018033506A (ja) * 2016-08-29 2018-03-08 キヤノン株式会社 断層撮像装置、画像生成装置、断層撮像方法、画像生成方法、及びプログラム
US10973406B2 (en) 2018-03-06 2021-04-13 Canon Kabushiki Kaisha Image processing apparatus, image processing method, and non-transitory computer readable medium
JP7229881B2 (ja) * 2018-08-14 2023-02-28 キヤノン株式会社 医用画像処理装置、学習済モデル、医用画像処理方法及びプログラム
JP7417981B2 (ja) 2019-10-15 2024-01-19 株式会社トーメーコーポレーション 眼科装置
US11819275B2 (en) 2020-12-16 2023-11-21 Canon Kabushiki Kaisha Optical coherence tomography apparatus, control method for optical coherence tomography apparatus, and computer-readable storage medium

Patent Citations (2)

* Cited by examiner, † Cited by third party
Publication number Priority date Publication date Assignee Title
JP2018175258A (ja) * 2017-04-10 2018-11-15 キヤノン株式会社 画像生成装置、画像生成方法、及びプログラム
JP2019187551A (ja) * 2018-04-19 2019-10-31 キヤノン株式会社 画像処理装置、画像処理方法及びプログラム

Non-Patent Citations (1)

* Cited by examiner, † Cited by third party
Title
TANAKA, YU ET AL: "A method for accurate reconstruction of fundus volume data from radially cross-sectional images",Preprints of the Meeting on Image Recognition and Understanding", July 2007 (2007-07-01), pages 487 - 492 *

Cited By (2)

* Cited by examiner, † Cited by third party
Publication number Priority date Publication date Assignee Title
CN114343565A (zh) * 2021-11-30 2022-04-15 图湃(北京)医疗科技有限公司 一种光学相干层析视网膜图像校正方法及装置
CN114343565B (zh) * 2021-11-30 2022-10-11 图湃(北京)医疗科技有限公司 一种光学相干层析视网膜图像校正方法及装置

Also Published As

Publication number Publication date
CN114760906A (zh) 2022-07-15
JP7419042B2 (ja) 2024-01-22
US12087001B2 (en) 2024-09-10
US20220335633A1 (en) 2022-10-20
JP2021083919A (ja) 2021-06-03

Similar Documents

Publication Publication Date Title
CN112822972B (zh) 图像处理装置、图像处理方法和计算机可读介质
JP7419042B2 (ja) 医用画像処理装置、光干渉断層撮影装置、医用画像処理方法、及びプログラム
US8096658B2 (en) Fundus oculi observation device and program for controlling the same
US10561311B2 (en) Ophthalmic imaging apparatus and ophthalmic information processing apparatus
JP7106728B2 (ja) 眼科装置
JP7736870B2 (ja) 眼科撮影装置
JP6898724B2 (ja) 画像処理方法、画像処理装置およびプログラム
US12387837B2 (en) Method of processing ophthalmic data, ophthalmic data processing apparatus, and ophthalmic examination apparatus
JP2013208395A (ja) 画像処理装置及びその方法
JP2021037239A (ja) 領域分類方法
JP7378557B2 (ja) 眼科撮影装置、その制御方法、プログラム、及び記録媒体
US10321819B2 (en) Ophthalmic imaging apparatus
US20240350003A1 (en) Ophthalmic imaging apparatus, controlling method of the same, and recording medium
CN115996665A (zh) 眼科装置、眼科装置的控制方法以及程序
WO2021100694A1 (ja) 画像処理装置、画像処理方法、及びプログラム
JP7410481B2 (ja) 画像処理方法、走査型イメージング方法、画像処理装置、その制御方法、走査型イメージング装置、その制御方法、プログラム、及び記録媒体
JP2025022977A (ja) 眼科装置、その制御方法、プログラム、及び記録媒体
JP2024001913A (ja) 画像処理方法、画像処理装置、プログラム、及び記録媒体
JP7355331B2 (ja) 走査型イメージング装置、その制御方法、画像処理装置、その制御方法、走査型イメージング方法、画像処理方法、プログラム、及び記録媒体
JP7286283B2 (ja) 眼科装置
JP2021058285A (ja) 画像処理装置、画像処理方法、及びプログラム
JP7325675B2 (ja) 眼科撮影装置
JP2025162924A (ja) 情報処理装置、情報処理方法、並びに、プログラム
JP2024003558A (ja) 眼科情報処理装置、眼科装置、眼科情報処理方法、及びプログラム
WO2023282339A1 (ja) 画像処理方法、画像処理プログラム、画像処理装置及び眼科装置

Legal Events

Date Code Title Description
121 Ep: the epo has been informed by wipo that ep was designated in this application

Ref document number: 20892470

Country of ref document: EP

Kind code of ref document: A1

NENP Non-entry into the national phase

Ref country code: DE

122 Ep: pct application non-entry in european phase

Ref document number: 20892470

Country of ref document: EP

Kind code of ref document: A1