WO2021079907A1 - セラミックス物品の製造方法、金属成分含有液、セラミックス物品製造用キットおよびセラミックス物品 - Google Patents

セラミックス物品の製造方法、金属成分含有液、セラミックス物品製造用キットおよびセラミックス物品 Download PDF

Info

Publication number
WO2021079907A1
WO2021079907A1 PCT/JP2020/039560 JP2020039560W WO2021079907A1 WO 2021079907 A1 WO2021079907 A1 WO 2021079907A1 JP 2020039560 W JP2020039560 W JP 2020039560W WO 2021079907 A1 WO2021079907 A1 WO 2021079907A1
Authority
WO
WIPO (PCT)
Prior art keywords
ceramic
oxide
component
metal
ceramic article
Prior art date
Legal status (The legal status is an assumption and is not a legal conclusion. Google has not performed a legal analysis and makes no representation as to the accuracy of the status listed.)
Ceased
Application number
PCT/JP2020/039560
Other languages
English (en)
French (fr)
Japanese (ja)
Inventor
香菜子 大志万
安居 伸浩
康志 清水
佳範 小谷
村上 俊介
Current Assignee (The listed assignees may be inaccurate. Google has not performed a legal analysis and makes no representation or warranty as to the accuracy of the list.)
Canon Inc
Original Assignee
Canon Inc
Priority date (The priority date is an assumption and is not a legal conclusion. Google has not performed a legal analysis and makes no representation as to the accuracy of the date listed.)
Filing date
Publication date
Application filed by Canon Inc filed Critical Canon Inc
Priority to EP20879470.1A priority Critical patent/EP4049988A4/en
Priority to CN202080073122.7A priority patent/CN114585596B/zh
Publication of WO2021079907A1 publication Critical patent/WO2021079907A1/ja
Priority to US17/715,465 priority patent/US12264107B2/en
Anticipated expiration legal-status Critical
Priority to US19/076,794 priority patent/US20250206669A1/en
Ceased legal-status Critical Current

Links

Images

Classifications

    • CCHEMISTRY; METALLURGY
    • C04CEMENTS; CONCRETE; ARTIFICIAL STONE; CERAMICS; REFRACTORIES
    • C04BLIME, MAGNESIA; SLAG; CEMENTS; COMPOSITIONS THEREOF, e.g. MORTARS, CONCRETE OR LIKE BUILDING MATERIALS; ARTIFICIAL STONE; CERAMICS; REFRACTORIES; TREATMENT OF NATURAL STONE
    • C04B35/00Shaped ceramic products characterised by their composition; Ceramics compositions; Processing powders of inorganic compounds preparatory to the manufacturing of ceramic products
    • C04B35/01Shaped ceramic products characterised by their composition; Ceramics compositions; Processing powders of inorganic compounds preparatory to the manufacturing of ceramic products based on oxide ceramics
    • C04B35/10Shaped ceramic products characterised by their composition; Ceramics compositions; Processing powders of inorganic compounds preparatory to the manufacturing of ceramic products based on oxide ceramics based on aluminium oxide
    • BPERFORMING OPERATIONS; TRANSPORTING
    • B33ADDITIVE MANUFACTURING TECHNOLOGY
    • B33YADDITIVE MANUFACTURING, i.e. MANUFACTURING OF THREE-DIMENSIONAL [3-D] OBJECTS BY ADDITIVE DEPOSITION, ADDITIVE AGGLOMERATION OR ADDITIVE LAYERING, e.g. BY 3-D PRINTING, STEREOLITHOGRAPHY OR SELECTIVE LASER SINTERING
    • B33Y10/00Processes of additive manufacturing
    • CCHEMISTRY; METALLURGY
    • C04CEMENTS; CONCRETE; ARTIFICIAL STONE; CERAMICS; REFRACTORIES
    • C04BLIME, MAGNESIA; SLAG; CEMENTS; COMPOSITIONS THEREOF, e.g. MORTARS, CONCRETE OR LIKE BUILDING MATERIALS; ARTIFICIAL STONE; CERAMICS; REFRACTORIES; TREATMENT OF NATURAL STONE
    • C04B35/00Shaped ceramic products characterised by their composition; Ceramics compositions; Processing powders of inorganic compounds preparatory to the manufacturing of ceramic products
    • C04B35/01Shaped ceramic products characterised by their composition; Ceramics compositions; Processing powders of inorganic compounds preparatory to the manufacturing of ceramic products based on oxide ceramics
    • C04B35/10Shaped ceramic products characterised by their composition; Ceramics compositions; Processing powders of inorganic compounds preparatory to the manufacturing of ceramic products based on oxide ceramics based on aluminium oxide
    • C04B35/111Fine ceramics
    • C04B35/117Composites
    • C04B35/119Composites with zirconium oxide
    • BPERFORMING OPERATIONS; TRANSPORTING
    • B28WORKING CEMENT, CLAY, OR STONE
    • B28BSHAPING CLAY OR OTHER CERAMIC COMPOSITIONS; SHAPING SLAG; SHAPING MIXTURES CONTAINING CEMENTITIOUS MATERIAL, e.g. PLASTER
    • B28B1/00Producing shaped prefabricated articles from the material
    • B28B1/001Rapid manufacturing of 3D objects by additive depositing, agglomerating or laminating of material
    • BPERFORMING OPERATIONS; TRANSPORTING
    • B33ADDITIVE MANUFACTURING TECHNOLOGY
    • B33YADDITIVE MANUFACTURING, i.e. MANUFACTURING OF THREE-DIMENSIONAL [3-D] OBJECTS BY ADDITIVE DEPOSITION, ADDITIVE AGGLOMERATION OR ADDITIVE LAYERING, e.g. BY 3-D PRINTING, STEREOLITHOGRAPHY OR SELECTIVE LASER SINTERING
    • B33Y40/00Auxiliary operations or equipment, e.g. for material handling
    • B33Y40/20Post-treatment, e.g. curing, coating or polishing
    • BPERFORMING OPERATIONS; TRANSPORTING
    • B33ADDITIVE MANUFACTURING TECHNOLOGY
    • B33YADDITIVE MANUFACTURING, i.e. MANUFACTURING OF THREE-DIMENSIONAL [3-D] OBJECTS BY ADDITIVE DEPOSITION, ADDITIVE AGGLOMERATION OR ADDITIVE LAYERING, e.g. BY 3-D PRINTING, STEREOLITHOGRAPHY OR SELECTIVE LASER SINTERING
    • B33Y70/00Materials specially adapted for additive manufacturing
    • BPERFORMING OPERATIONS; TRANSPORTING
    • B33ADDITIVE MANUFACTURING TECHNOLOGY
    • B33YADDITIVE MANUFACTURING, i.e. MANUFACTURING OF THREE-DIMENSIONAL [3-D] OBJECTS BY ADDITIVE DEPOSITION, ADDITIVE AGGLOMERATION OR ADDITIVE LAYERING, e.g. BY 3-D PRINTING, STEREOLITHOGRAPHY OR SELECTIVE LASER SINTERING
    • B33Y80/00Products made by additive manufacturing
    • CCHEMISTRY; METALLURGY
    • C04CEMENTS; CONCRETE; ARTIFICIAL STONE; CERAMICS; REFRACTORIES
    • C04BLIME, MAGNESIA; SLAG; CEMENTS; COMPOSITIONS THEREOF, e.g. MORTARS, CONCRETE OR LIKE BUILDING MATERIALS; ARTIFICIAL STONE; CERAMICS; REFRACTORIES; TREATMENT OF NATURAL STONE
    • C04B35/00Shaped ceramic products characterised by their composition; Ceramics compositions; Processing powders of inorganic compounds preparatory to the manufacturing of ceramic products
    • C04B35/01Shaped ceramic products characterised by their composition; Ceramics compositions; Processing powders of inorganic compounds preparatory to the manufacturing of ceramic products based on oxide ceramics
    • C04B35/10Shaped ceramic products characterised by their composition; Ceramics compositions; Processing powders of inorganic compounds preparatory to the manufacturing of ceramic products based on oxide ceramics based on aluminium oxide
    • C04B35/111Fine ceramics
    • C04B35/117Composites
    • CCHEMISTRY; METALLURGY
    • C04CEMENTS; CONCRETE; ARTIFICIAL STONE; CERAMICS; REFRACTORIES
    • C04BLIME, MAGNESIA; SLAG; CEMENTS; COMPOSITIONS THEREOF, e.g. MORTARS, CONCRETE OR LIKE BUILDING MATERIALS; ARTIFICIAL STONE; CERAMICS; REFRACTORIES; TREATMENT OF NATURAL STONE
    • C04B35/00Shaped ceramic products characterised by their composition; Ceramics compositions; Processing powders of inorganic compounds preparatory to the manufacturing of ceramic products
    • C04B35/01Shaped ceramic products characterised by their composition; Ceramics compositions; Processing powders of inorganic compounds preparatory to the manufacturing of ceramic products based on oxide ceramics
    • C04B35/14Shaped ceramic products characterised by their composition; Ceramics compositions; Processing powders of inorganic compounds preparatory to the manufacturing of ceramic products based on oxide ceramics based on silica
    • CCHEMISTRY; METALLURGY
    • C04CEMENTS; CONCRETE; ARTIFICIAL STONE; CERAMICS; REFRACTORIES
    • C04BLIME, MAGNESIA; SLAG; CEMENTS; COMPOSITIONS THEREOF, e.g. MORTARS, CONCRETE OR LIKE BUILDING MATERIALS; ARTIFICIAL STONE; CERAMICS; REFRACTORIES; TREATMENT OF NATURAL STONE
    • C04B35/00Shaped ceramic products characterised by their composition; Ceramics compositions; Processing powders of inorganic compounds preparatory to the manufacturing of ceramic products
    • C04B35/01Shaped ceramic products characterised by their composition; Ceramics compositions; Processing powders of inorganic compounds preparatory to the manufacturing of ceramic products based on oxide ceramics
    • C04B35/16Shaped ceramic products characterised by their composition; Ceramics compositions; Processing powders of inorganic compounds preparatory to the manufacturing of ceramic products based on oxide ceramics based on silicates other than clay
    • CCHEMISTRY; METALLURGY
    • C04CEMENTS; CONCRETE; ARTIFICIAL STONE; CERAMICS; REFRACTORIES
    • C04BLIME, MAGNESIA; SLAG; CEMENTS; COMPOSITIONS THEREOF, e.g. MORTARS, CONCRETE OR LIKE BUILDING MATERIALS; ARTIFICIAL STONE; CERAMICS; REFRACTORIES; TREATMENT OF NATURAL STONE
    • C04B35/00Shaped ceramic products characterised by their composition; Ceramics compositions; Processing powders of inorganic compounds preparatory to the manufacturing of ceramic products
    • C04B35/01Shaped ceramic products characterised by their composition; Ceramics compositions; Processing powders of inorganic compounds preparatory to the manufacturing of ceramic products based on oxide ceramics
    • C04B35/44Shaped ceramic products characterised by their composition; Ceramics compositions; Processing powders of inorganic compounds preparatory to the manufacturing of ceramic products based on oxide ceramics based on aluminates
    • CCHEMISTRY; METALLURGY
    • C04CEMENTS; CONCRETE; ARTIFICIAL STONE; CERAMICS; REFRACTORIES
    • C04BLIME, MAGNESIA; SLAG; CEMENTS; COMPOSITIONS THEREOF, e.g. MORTARS, CONCRETE OR LIKE BUILDING MATERIALS; ARTIFICIAL STONE; CERAMICS; REFRACTORIES; TREATMENT OF NATURAL STONE
    • C04B35/00Shaped ceramic products characterised by their composition; Ceramics compositions; Processing powders of inorganic compounds preparatory to the manufacturing of ceramic products
    • C04B35/622Forming processes; Processing powders of inorganic compounds preparatory to the manufacturing of ceramic products
    • CCHEMISTRY; METALLURGY
    • C04CEMENTS; CONCRETE; ARTIFICIAL STONE; CERAMICS; REFRACTORIES
    • C04BLIME, MAGNESIA; SLAG; CEMENTS; COMPOSITIONS THEREOF, e.g. MORTARS, CONCRETE OR LIKE BUILDING MATERIALS; ARTIFICIAL STONE; CERAMICS; REFRACTORIES; TREATMENT OF NATURAL STONE
    • C04B35/00Shaped ceramic products characterised by their composition; Ceramics compositions; Processing powders of inorganic compounds preparatory to the manufacturing of ceramic products
    • C04B35/622Forming processes; Processing powders of inorganic compounds preparatory to the manufacturing of ceramic products
    • C04B35/626Preparing or treating the powders individually or as batches ; preparing or treating macroscopic reinforcing agents for ceramic products, e.g. fibres; mechanical aspects section B
    • C04B35/62605Treating the starting powders individually or as mixtures
    • C04B35/6261Milling
    • CCHEMISTRY; METALLURGY
    • C04CEMENTS; CONCRETE; ARTIFICIAL STONE; CERAMICS; REFRACTORIES
    • C04BLIME, MAGNESIA; SLAG; CEMENTS; COMPOSITIONS THEREOF, e.g. MORTARS, CONCRETE OR LIKE BUILDING MATERIALS; ARTIFICIAL STONE; CERAMICS; REFRACTORIES; TREATMENT OF NATURAL STONE
    • C04B35/00Shaped ceramic products characterised by their composition; Ceramics compositions; Processing powders of inorganic compounds preparatory to the manufacturing of ceramic products
    • C04B35/622Forming processes; Processing powders of inorganic compounds preparatory to the manufacturing of ceramic products
    • C04B35/626Preparing or treating the powders individually or as batches ; preparing or treating macroscopic reinforcing agents for ceramic products, e.g. fibres; mechanical aspects section B
    • C04B35/62605Treating the starting powders individually or as mixtures
    • C04B35/62645Thermal treatment of powders or mixtures thereof other than sintering
    • CCHEMISTRY; METALLURGY
    • C04CEMENTS; CONCRETE; ARTIFICIAL STONE; CERAMICS; REFRACTORIES
    • C04BLIME, MAGNESIA; SLAG; CEMENTS; COMPOSITIONS THEREOF, e.g. MORTARS, CONCRETE OR LIKE BUILDING MATERIALS; ARTIFICIAL STONE; CERAMICS; REFRACTORIES; TREATMENT OF NATURAL STONE
    • C04B35/00Shaped ceramic products characterised by their composition; Ceramics compositions; Processing powders of inorganic compounds preparatory to the manufacturing of ceramic products
    • C04B35/622Forming processes; Processing powders of inorganic compounds preparatory to the manufacturing of ceramic products
    • C04B35/626Preparing or treating the powders individually or as batches ; preparing or treating macroscopic reinforcing agents for ceramic products, e.g. fibres; mechanical aspects section B
    • C04B35/628Coating the powders or the macroscopic reinforcing agents
    • C04B35/62886Coating the powders or the macroscopic reinforcing agents by wet chemical techniques
    • CCHEMISTRY; METALLURGY
    • C04CEMENTS; CONCRETE; ARTIFICIAL STONE; CERAMICS; REFRACTORIES
    • C04BLIME, MAGNESIA; SLAG; CEMENTS; COMPOSITIONS THEREOF, e.g. MORTARS, CONCRETE OR LIKE BUILDING MATERIALS; ARTIFICIAL STONE; CERAMICS; REFRACTORIES; TREATMENT OF NATURAL STONE
    • C04B35/00Shaped ceramic products characterised by their composition; Ceramics compositions; Processing powders of inorganic compounds preparatory to the manufacturing of ceramic products
    • C04B35/622Forming processes; Processing powders of inorganic compounds preparatory to the manufacturing of ceramic products
    • C04B35/64Burning or sintering processes
    • CCHEMISTRY; METALLURGY
    • C04CEMENTS; CONCRETE; ARTIFICIAL STONE; CERAMICS; REFRACTORIES
    • C04BLIME, MAGNESIA; SLAG; CEMENTS; COMPOSITIONS THEREOF, e.g. MORTARS, CONCRETE OR LIKE BUILDING MATERIALS; ARTIFICIAL STONE; CERAMICS; REFRACTORIES; TREATMENT OF NATURAL STONE
    • C04B35/00Shaped ceramic products characterised by their composition; Ceramics compositions; Processing powders of inorganic compounds preparatory to the manufacturing of ceramic products
    • C04B35/622Forming processes; Processing powders of inorganic compounds preparatory to the manufacturing of ceramic products
    • C04B35/653Processes involving a melting step
    • CCHEMISTRY; METALLURGY
    • C04CEMENTS; CONCRETE; ARTIFICIAL STONE; CERAMICS; REFRACTORIES
    • C04BLIME, MAGNESIA; SLAG; CEMENTS; COMPOSITIONS THEREOF, e.g. MORTARS, CONCRETE OR LIKE BUILDING MATERIALS; ARTIFICIAL STONE; CERAMICS; REFRACTORIES; TREATMENT OF NATURAL STONE
    • C04B2235/00Aspects relating to ceramic starting mixtures or sintered ceramic products
    • C04B2235/02Composition of constituents of the starting material or of secondary phases of the final product
    • C04B2235/30Constituents and secondary phases not being of a fibrous nature
    • C04B2235/32Metal oxides, mixed metal oxides, or oxide-forming salts thereof, e.g. carbonates, nitrates, (oxy)hydroxides, chlorides
    • C04B2235/3217Aluminum oxide or oxide forming salts thereof, e.g. bauxite, alpha-alumina
    • CCHEMISTRY; METALLURGY
    • C04CEMENTS; CONCRETE; ARTIFICIAL STONE; CERAMICS; REFRACTORIES
    • C04BLIME, MAGNESIA; SLAG; CEMENTS; COMPOSITIONS THEREOF, e.g. MORTARS, CONCRETE OR LIKE BUILDING MATERIALS; ARTIFICIAL STONE; CERAMICS; REFRACTORIES; TREATMENT OF NATURAL STONE
    • C04B2235/00Aspects relating to ceramic starting mixtures or sintered ceramic products
    • C04B2235/02Composition of constituents of the starting material or of secondary phases of the final product
    • C04B2235/30Constituents and secondary phases not being of a fibrous nature
    • C04B2235/32Metal oxides, mixed metal oxides, or oxide-forming salts thereof, e.g. carbonates, nitrates, (oxy)hydroxides, chlorides
    • C04B2235/3217Aluminum oxide or oxide forming salts thereof, e.g. bauxite, alpha-alumina
    • C04B2235/3222Aluminates other than alumino-silicates, e.g. spinel (MgAl2O4)
    • CCHEMISTRY; METALLURGY
    • C04CEMENTS; CONCRETE; ARTIFICIAL STONE; CERAMICS; REFRACTORIES
    • C04BLIME, MAGNESIA; SLAG; CEMENTS; COMPOSITIONS THEREOF, e.g. MORTARS, CONCRETE OR LIKE BUILDING MATERIALS; ARTIFICIAL STONE; CERAMICS; REFRACTORIES; TREATMENT OF NATURAL STONE
    • C04B2235/00Aspects relating to ceramic starting mixtures or sintered ceramic products
    • C04B2235/02Composition of constituents of the starting material or of secondary phases of the final product
    • C04B2235/30Constituents and secondary phases not being of a fibrous nature
    • C04B2235/32Metal oxides, mixed metal oxides, or oxide-forming salts thereof, e.g. carbonates, nitrates, (oxy)hydroxides, chlorides
    • C04B2235/3224Rare earth oxide or oxide forming salts thereof, e.g. scandium oxide
    • CCHEMISTRY; METALLURGY
    • C04CEMENTS; CONCRETE; ARTIFICIAL STONE; CERAMICS; REFRACTORIES
    • C04BLIME, MAGNESIA; SLAG; CEMENTS; COMPOSITIONS THEREOF, e.g. MORTARS, CONCRETE OR LIKE BUILDING MATERIALS; ARTIFICIAL STONE; CERAMICS; REFRACTORIES; TREATMENT OF NATURAL STONE
    • C04B2235/00Aspects relating to ceramic starting mixtures or sintered ceramic products
    • C04B2235/02Composition of constituents of the starting material or of secondary phases of the final product
    • C04B2235/30Constituents and secondary phases not being of a fibrous nature
    • C04B2235/32Metal oxides, mixed metal oxides, or oxide-forming salts thereof, e.g. carbonates, nitrates, (oxy)hydroxides, chlorides
    • C04B2235/3224Rare earth oxide or oxide forming salts thereof, e.g. scandium oxide
    • C04B2235/3225Yttrium oxide or oxide-forming salts thereof
    • CCHEMISTRY; METALLURGY
    • C04CEMENTS; CONCRETE; ARTIFICIAL STONE; CERAMICS; REFRACTORIES
    • C04BLIME, MAGNESIA; SLAG; CEMENTS; COMPOSITIONS THEREOF, e.g. MORTARS, CONCRETE OR LIKE BUILDING MATERIALS; ARTIFICIAL STONE; CERAMICS; REFRACTORIES; TREATMENT OF NATURAL STONE
    • C04B2235/00Aspects relating to ceramic starting mixtures or sintered ceramic products
    • C04B2235/02Composition of constituents of the starting material or of secondary phases of the final product
    • C04B2235/30Constituents and secondary phases not being of a fibrous nature
    • C04B2235/32Metal oxides, mixed metal oxides, or oxide-forming salts thereof, e.g. carbonates, nitrates, (oxy)hydroxides, chlorides
    • C04B2235/3231Refractory metal oxides, their mixed metal oxides, or oxide-forming salts thereof
    • C04B2235/3244Zirconium oxides, zirconates, hafnium oxides, hafnates, or oxide-forming salts thereof
    • CCHEMISTRY; METALLURGY
    • C04CEMENTS; CONCRETE; ARTIFICIAL STONE; CERAMICS; REFRACTORIES
    • C04BLIME, MAGNESIA; SLAG; CEMENTS; COMPOSITIONS THEREOF, e.g. MORTARS, CONCRETE OR LIKE BUILDING MATERIALS; ARTIFICIAL STONE; CERAMICS; REFRACTORIES; TREATMENT OF NATURAL STONE
    • C04B2235/00Aspects relating to ceramic starting mixtures or sintered ceramic products
    • C04B2235/02Composition of constituents of the starting material or of secondary phases of the final product
    • C04B2235/30Constituents and secondary phases not being of a fibrous nature
    • C04B2235/34Non-metal oxides, non-metal mixed oxides, or salts thereof that form the non-metal oxides upon heating, e.g. carbonates, nitrates, (oxy)hydroxides, chlorides
    • C04B2235/3418Silicon oxide, silicic acids or oxide forming salts thereof, e.g. silica sol, fused silica, silica fume, cristobalite, quartz or flint
    • CCHEMISTRY; METALLURGY
    • C04CEMENTS; CONCRETE; ARTIFICIAL STONE; CERAMICS; REFRACTORIES
    • C04BLIME, MAGNESIA; SLAG; CEMENTS; COMPOSITIONS THEREOF, e.g. MORTARS, CONCRETE OR LIKE BUILDING MATERIALS; ARTIFICIAL STONE; CERAMICS; REFRACTORIES; TREATMENT OF NATURAL STONE
    • C04B2235/00Aspects relating to ceramic starting mixtures or sintered ceramic products
    • C04B2235/02Composition of constituents of the starting material or of secondary phases of the final product
    • C04B2235/30Constituents and secondary phases not being of a fibrous nature
    • C04B2235/34Non-metal oxides, non-metal mixed oxides, or salts thereof that form the non-metal oxides upon heating, e.g. carbonates, nitrates, (oxy)hydroxides, chlorides
    • C04B2235/3427Silicates other than clay, e.g. water glass
    • CCHEMISTRY; METALLURGY
    • C04CEMENTS; CONCRETE; ARTIFICIAL STONE; CERAMICS; REFRACTORIES
    • C04BLIME, MAGNESIA; SLAG; CEMENTS; COMPOSITIONS THEREOF, e.g. MORTARS, CONCRETE OR LIKE BUILDING MATERIALS; ARTIFICIAL STONE; CERAMICS; REFRACTORIES; TREATMENT OF NATURAL STONE
    • C04B2235/00Aspects relating to ceramic starting mixtures or sintered ceramic products
    • C04B2235/02Composition of constituents of the starting material or of secondary phases of the final product
    • C04B2235/30Constituents and secondary phases not being of a fibrous nature
    • C04B2235/44Metal salt constituents or additives chosen for the nature of the anions, e.g. hydrides or acetylacetonate
    • C04B2235/444Halide containing anions, e.g. bromide, iodate, chlorite
    • C04B2235/445Fluoride containing anions, e.g. fluosilicate
    • CCHEMISTRY; METALLURGY
    • C04CEMENTS; CONCRETE; ARTIFICIAL STONE; CERAMICS; REFRACTORIES
    • C04BLIME, MAGNESIA; SLAG; CEMENTS; COMPOSITIONS THEREOF, e.g. MORTARS, CONCRETE OR LIKE BUILDING MATERIALS; ARTIFICIAL STONE; CERAMICS; REFRACTORIES; TREATMENT OF NATURAL STONE
    • C04B2235/00Aspects relating to ceramic starting mixtures or sintered ceramic products
    • C04B2235/02Composition of constituents of the starting material or of secondary phases of the final product
    • C04B2235/50Constituents or additives of the starting mixture chosen for their shape or used because of their shape or their physical appearance
    • C04B2235/54Particle size related information
    • C04B2235/5418Particle size related information expressed by the size of the particles or aggregates thereof
    • C04B2235/5436Particle size related information expressed by the size of the particles or aggregates thereof micrometer sized, i.e. from 1 to 100 micron
    • CCHEMISTRY; METALLURGY
    • C04CEMENTS; CONCRETE; ARTIFICIAL STONE; CERAMICS; REFRACTORIES
    • C04BLIME, MAGNESIA; SLAG; CEMENTS; COMPOSITIONS THEREOF, e.g. MORTARS, CONCRETE OR LIKE BUILDING MATERIALS; ARTIFICIAL STONE; CERAMICS; REFRACTORIES; TREATMENT OF NATURAL STONE
    • C04B2235/00Aspects relating to ceramic starting mixtures or sintered ceramic products
    • C04B2235/02Composition of constituents of the starting material or of secondary phases of the final product
    • C04B2235/50Constituents or additives of the starting mixture chosen for their shape or used because of their shape or their physical appearance
    • C04B2235/54Particle size related information
    • C04B2235/5418Particle size related information expressed by the size of the particles or aggregates thereof
    • C04B2235/5445Particle size related information expressed by the size of the particles or aggregates thereof submicron sized, i.e. from 0,1 to 1 micron
    • CCHEMISTRY; METALLURGY
    • C04CEMENTS; CONCRETE; ARTIFICIAL STONE; CERAMICS; REFRACTORIES
    • C04BLIME, MAGNESIA; SLAG; CEMENTS; COMPOSITIONS THEREOF, e.g. MORTARS, CONCRETE OR LIKE BUILDING MATERIALS; ARTIFICIAL STONE; CERAMICS; REFRACTORIES; TREATMENT OF NATURAL STONE
    • C04B2235/00Aspects relating to ceramic starting mixtures or sintered ceramic products
    • C04B2235/02Composition of constituents of the starting material or of secondary phases of the final product
    • C04B2235/50Constituents or additives of the starting mixture chosen for their shape or used because of their shape or their physical appearance
    • C04B2235/54Particle size related information
    • C04B2235/5418Particle size related information expressed by the size of the particles or aggregates thereof
    • C04B2235/5454Particle size related information expressed by the size of the particles or aggregates thereof nanometer sized, i.e. below 100 nm
    • CCHEMISTRY; METALLURGY
    • C04CEMENTS; CONCRETE; ARTIFICIAL STONE; CERAMICS; REFRACTORIES
    • C04BLIME, MAGNESIA; SLAG; CEMENTS; COMPOSITIONS THEREOF, e.g. MORTARS, CONCRETE OR LIKE BUILDING MATERIALS; ARTIFICIAL STONE; CERAMICS; REFRACTORIES; TREATMENT OF NATURAL STONE
    • C04B2235/00Aspects relating to ceramic starting mixtures or sintered ceramic products
    • C04B2235/60Aspects relating to the preparation, properties or mechanical treatment of green bodies or pre-forms
    • C04B2235/602Making the green bodies or pre-forms by moulding
    • C04B2235/6026Computer aided shaping, e.g. rapid prototyping
    • CCHEMISTRY; METALLURGY
    • C04CEMENTS; CONCRETE; ARTIFICIAL STONE; CERAMICS; REFRACTORIES
    • C04BLIME, MAGNESIA; SLAG; CEMENTS; COMPOSITIONS THEREOF, e.g. MORTARS, CONCRETE OR LIKE BUILDING MATERIALS; ARTIFICIAL STONE; CERAMICS; REFRACTORIES; TREATMENT OF NATURAL STONE
    • C04B2235/00Aspects relating to ceramic starting mixtures or sintered ceramic products
    • C04B2235/60Aspects relating to the preparation, properties or mechanical treatment of green bodies or pre-forms
    • C04B2235/616Liquid infiltration of green bodies or pre-forms
    • CCHEMISTRY; METALLURGY
    • C04CEMENTS; CONCRETE; ARTIFICIAL STONE; CERAMICS; REFRACTORIES
    • C04BLIME, MAGNESIA; SLAG; CEMENTS; COMPOSITIONS THEREOF, e.g. MORTARS, CONCRETE OR LIKE BUILDING MATERIALS; ARTIFICIAL STONE; CERAMICS; REFRACTORIES; TREATMENT OF NATURAL STONE
    • C04B2235/00Aspects relating to ceramic starting mixtures or sintered ceramic products
    • C04B2235/65Aspects relating to heat treatments of ceramic bodies such as green ceramics or pre-sintered ceramics, e.g. burning, sintering or melting processes
    • C04B2235/66Specific sintering techniques, e.g. centrifugal sintering
    • C04B2235/661Multi-step sintering
    • CCHEMISTRY; METALLURGY
    • C04CEMENTS; CONCRETE; ARTIFICIAL STONE; CERAMICS; REFRACTORIES
    • C04BLIME, MAGNESIA; SLAG; CEMENTS; COMPOSITIONS THEREOF, e.g. MORTARS, CONCRETE OR LIKE BUILDING MATERIALS; ARTIFICIAL STONE; CERAMICS; REFRACTORIES; TREATMENT OF NATURAL STONE
    • C04B2235/00Aspects relating to ceramic starting mixtures or sintered ceramic products
    • C04B2235/65Aspects relating to heat treatments of ceramic bodies such as green ceramics or pre-sintered ceramics, e.g. burning, sintering or melting processes
    • C04B2235/66Specific sintering techniques, e.g. centrifugal sintering
    • C04B2235/661Multi-step sintering
    • C04B2235/662Annealing after sintering
    • C04B2235/663Oxidative annealing
    • CCHEMISTRY; METALLURGY
    • C04CEMENTS; CONCRETE; ARTIFICIAL STONE; CERAMICS; REFRACTORIES
    • C04BLIME, MAGNESIA; SLAG; CEMENTS; COMPOSITIONS THEREOF, e.g. MORTARS, CONCRETE OR LIKE BUILDING MATERIALS; ARTIFICIAL STONE; CERAMICS; REFRACTORIES; TREATMENT OF NATURAL STONE
    • C04B2235/00Aspects relating to ceramic starting mixtures or sintered ceramic products
    • C04B2235/65Aspects relating to heat treatments of ceramic bodies such as green ceramics or pre-sintered ceramics, e.g. burning, sintering or melting processes
    • C04B2235/66Specific sintering techniques, e.g. centrifugal sintering
    • C04B2235/665Local sintering, e.g. laser sintering
    • CCHEMISTRY; METALLURGY
    • C04CEMENTS; CONCRETE; ARTIFICIAL STONE; CERAMICS; REFRACTORIES
    • C04BLIME, MAGNESIA; SLAG; CEMENTS; COMPOSITIONS THEREOF, e.g. MORTARS, CONCRETE OR LIKE BUILDING MATERIALS; ARTIFICIAL STONE; CERAMICS; REFRACTORIES; TREATMENT OF NATURAL STONE
    • C04B2235/00Aspects relating to ceramic starting mixtures or sintered ceramic products
    • C04B2235/70Aspects relating to sintered or melt-casted ceramic products
    • C04B2235/72Products characterised by the absence or the low content of specific components, e.g. alkali metal free alumina ceramics
    • CCHEMISTRY; METALLURGY
    • C04CEMENTS; CONCRETE; ARTIFICIAL STONE; CERAMICS; REFRACTORIES
    • C04BLIME, MAGNESIA; SLAG; CEMENTS; COMPOSITIONS THEREOF, e.g. MORTARS, CONCRETE OR LIKE BUILDING MATERIALS; ARTIFICIAL STONE; CERAMICS; REFRACTORIES; TREATMENT OF NATURAL STONE
    • C04B2235/00Aspects relating to ceramic starting mixtures or sintered ceramic products
    • C04B2235/70Aspects relating to sintered or melt-casted ceramic products
    • C04B2235/74Physical characteristics
    • C04B2235/77Density
    • CCHEMISTRY; METALLURGY
    • C04CEMENTS; CONCRETE; ARTIFICIAL STONE; CERAMICS; REFRACTORIES
    • C04BLIME, MAGNESIA; SLAG; CEMENTS; COMPOSITIONS THEREOF, e.g. MORTARS, CONCRETE OR LIKE BUILDING MATERIALS; ARTIFICIAL STONE; CERAMICS; REFRACTORIES; TREATMENT OF NATURAL STONE
    • C04B2235/00Aspects relating to ceramic starting mixtures or sintered ceramic products
    • C04B2235/70Aspects relating to sintered or melt-casted ceramic products
    • C04B2235/74Physical characteristics
    • C04B2235/78Grain sizes and shapes, product microstructures, e.g. acicular grains, equiaxed grains, platelet-structures
    • C04B2235/786Micrometer sized grains, i.e. from 1 to 100 micron
    • CCHEMISTRY; METALLURGY
    • C04CEMENTS; CONCRETE; ARTIFICIAL STONE; CERAMICS; REFRACTORIES
    • C04BLIME, MAGNESIA; SLAG; CEMENTS; COMPOSITIONS THEREOF, e.g. MORTARS, CONCRETE OR LIKE BUILDING MATERIALS; ARTIFICIAL STONE; CERAMICS; REFRACTORIES; TREATMENT OF NATURAL STONE
    • C04B2235/00Aspects relating to ceramic starting mixtures or sintered ceramic products
    • C04B2235/70Aspects relating to sintered or melt-casted ceramic products
    • C04B2235/80Phases present in the sintered or melt-cast ceramic products other than the main phase
    • CCHEMISTRY; METALLURGY
    • C04CEMENTS; CONCRETE; ARTIFICIAL STONE; CERAMICS; REFRACTORIES
    • C04BLIME, MAGNESIA; SLAG; CEMENTS; COMPOSITIONS THEREOF, e.g. MORTARS, CONCRETE OR LIKE BUILDING MATERIALS; ARTIFICIAL STONE; CERAMICS; REFRACTORIES; TREATMENT OF NATURAL STONE
    • C04B2235/00Aspects relating to ceramic starting mixtures or sintered ceramic products
    • C04B2235/70Aspects relating to sintered or melt-casted ceramic products
    • C04B2235/96Properties of ceramic products, e.g. mechanical properties such as strength, toughness, wear resistance
    • CCHEMISTRY; METALLURGY
    • C04CEMENTS; CONCRETE; ARTIFICIAL STONE; CERAMICS; REFRACTORIES
    • C04BLIME, MAGNESIA; SLAG; CEMENTS; COMPOSITIONS THEREOF, e.g. MORTARS, CONCRETE OR LIKE BUILDING MATERIALS; ARTIFICIAL STONE; CERAMICS; REFRACTORIES; TREATMENT OF NATURAL STONE
    • C04B2235/00Aspects relating to ceramic starting mixtures or sintered ceramic products
    • C04B2235/70Aspects relating to sintered or melt-casted ceramic products
    • C04B2235/96Properties of ceramic products, e.g. mechanical properties such as strength, toughness, wear resistance
    • C04B2235/963Surface properties, e.g. surface roughness
    • CCHEMISTRY; METALLURGY
    • C04CEMENTS; CONCRETE; ARTIFICIAL STONE; CERAMICS; REFRACTORIES
    • C04BLIME, MAGNESIA; SLAG; CEMENTS; COMPOSITIONS THEREOF, e.g. MORTARS, CONCRETE OR LIKE BUILDING MATERIALS; ARTIFICIAL STONE; CERAMICS; REFRACTORIES; TREATMENT OF NATURAL STONE
    • C04B2235/00Aspects relating to ceramic starting mixtures or sintered ceramic products
    • C04B2235/70Aspects relating to sintered or melt-casted ceramic products
    • C04B2235/96Properties of ceramic products, e.g. mechanical properties such as strength, toughness, wear resistance
    • C04B2235/963Surface properties, e.g. surface roughness
    • C04B2235/9638Tolerance; Dimensional accuracy
    • YGENERAL TAGGING OF NEW TECHNOLOGICAL DEVELOPMENTS; GENERAL TAGGING OF CROSS-SECTIONAL TECHNOLOGIES SPANNING OVER SEVERAL SECTIONS OF THE IPC; TECHNICAL SUBJECTS COVERED BY FORMER USPC CROSS-REFERENCE ART COLLECTIONS [XRACs] AND DIGESTS
    • Y02TECHNOLOGIES OR APPLICATIONS FOR MITIGATION OR ADAPTATION AGAINST CLIMATE CHANGE
    • Y02PCLIMATE CHANGE MITIGATION TECHNOLOGIES IN THE PRODUCTION OR PROCESSING OF GOODS
    • Y02P10/00Technologies related to metal processing
    • Y02P10/25Process efficiency

Definitions

  • the present invention relates to a metal component-containing liquid for being absorbed by a ceramic model manufactured by using an additional manufacturing technique, particularly a powder bed melt-bonding method or a directed energy lamination method, and a ceramic article using such a metal component-containing liquid.
  • the present invention relates to a manufacturing method, a kit for manufacturing a ceramic article containing such a metal component-containing liquid, and a ceramic article.
  • the raw material powder is irradiated with an energy beam based on the three-dimensional data of the object to be modeled, and the raw material powder is combined to form a desired modeled product.
  • Additional manufacturing technology is widespread.
  • metal modeling the powder bed fusion bonding method is widely adopted, and a dense and diverse metal model is obtained.
  • the high density of the metal model is achieved by effectively melting and solidifying the metal powder. Based on the success of such metal molding, the development of additional manufacturing technology to ceramic materials has been discussed, and many efforts have been reported.
  • the metal oxide has a low thermal conductivity, a large thermal stress is generated when it solidifies, and the cracks formed by this cause a decrease in the mechanical strength of the modeled object.
  • Patent Document 1 relieves thermal stress by heating the powder to be melted and the surrounding powder with the laser light for preheating to the extent that the powder to be melted and the surrounding powder are not melted before and after the irradiation with the laser beam for modeling. It is stated that it should be done. Furthermore, by lowering the melting point using a powder having an Al 2 O 3- ZrO 2 eutectic (eutectic) composition, the energy required for melting is lowered to relax the thermal stress and form a phase-separated structure. A technique for suppressing the growth of cracks by doing so is disclosed. Further, a technique is disclosed in which glass powder is melted and infiltrated into a modeled object, and cracks are filled with glass to improve the mechanical strength of the modeled object.
  • Patent Document 1 a modeled product having excellent mechanical strength is obtained by molding while preheating.
  • a part of the powder in the vicinity of the irradiation portion which has become a certain high temperature due to preheating, may be heated and melted. Therefore, the portion not irradiated with the laser beam for modeling is modeled, and it is difficult to selectively melt the irradiated portion of the laser beam for modeling to obtain high modeling accuracy.
  • flexural strength is as low as less than 50 MPa.
  • the present invention manufactures a ceramic article for improving the mechanical strength of the modeled object while achieving high modeling accuracy and shape accuracy in the production of the ceramic article using the additional manufacturing technique.
  • a method, a metal component-containing liquid used in such a manufacturing method, and a kit for manufacturing a ceramic article are provided.
  • the present invention provides a ceramic article which can have an advantageous free shape when an additional manufacturing technique is applied, and which has excellent molding accuracy, shape accuracy and mechanical strength.
  • the first aspect of the present invention is a method for manufacturing a ceramic article.
  • a second aspect of the present invention is a metal component-containing liquid used for repairing cracks in a ceramic model formed by an addition molding method using an energy beam, wherein the metal component-containing liquid contains a solvent and a metal element. It contains inorganic particles having an average particle size of 300 nm or less, and the oxide of the metal element can be co-crystallized with at least one compound contained in the ceramic model.
  • a third aspect of the present invention is a kit for producing a ceramic article for producing a ceramic article by an addition molding method using an energy beam, which includes a powder containing ceramics as a main component and a metal component-containing liquid.
  • the metal component-containing liquid contains a solvent and inorganic particles containing a metal element, and the oxide of the metal element can be co-crystallized with a compound contained in a ceramic model formed from the powder. It is characterized by.
  • a fourth aspect of the present invention is a ceramic article manufactured by an addition manufacturing technique, which is a ceramic article manufactured by an addition manufacturing technique, and includes three types of phases in which at least one kind of metal element is common. , At least two of the three types of phases are complex compound phases.
  • the method for producing a ceramic article according to the present invention is excellent in modeling accuracy, shape accuracy, and mechanicalness by appropriately treating a ceramic model formed by an addition manufacturing method using a metal component-containing liquid. It is possible to provide a ceramic article having strength. Specifically, by absorbing the metal component-containing liquid into the cracks of the ceramic model formed by the addition manufacturing method and then performing heat treatment, only the vicinity of the cracks is locally melted to reduce cracks. Disappear.
  • the additional manufacturing technology is a process of joining materials to form an object based on the three-dimensional shape data of the modeling model to be modeled, and in many cases, a method of joining the materials in layers is used.
  • the method for producing a ceramic article according to the present invention includes an additional manufacturing technique of a powder bed melt-bonding method or a directed energy lamination method (so-called cladding method).
  • the metal component-containing liquid of the present invention is preferably used for a model formed by additional production of a powder bed melt-bonding method or a directed energy lamination method.
  • the method for producing the ceramic article of the present invention will be described.
  • the production method of the present invention is characterized by having the following three steps.
  • (I) A ceramic-based powder is irradiated with an energy beam to be sintered, melted and solidified to obtain a ceramic model.
  • (Ii) The ceramic model is made to absorb a metal component-containing liquid containing inorganic particles containing a metal element as a component.
  • (Iii) The ceramic model that has absorbed the metal component-containing liquid is heat-treated.
  • each process will be described in detail by taking as an example a case where molding is performed using a powder containing aluminum oxide as a main component, which is a general-purpose structural ceramic, but the technical idea is that aluminum oxide is the main component. It is not limited to the powder contained. It can also be applied to modeling using powder containing silicon oxide as a main component and powder containing other ceramics as a main component. It can also be applied to modeling using a powder in which a plurality of ceramics (for example, aluminum oxide, silicon oxide, magnesium oxide, etc.) are mixed so that the target ceramics (for example, mullite, cordierite, etc.) are formed as a modeled object. Is.
  • a powder containing aluminum oxide as a main component which is a general-purpose structural ceramic, but the technical idea is that aluminum oxide is the main component. It is not limited to the powder contained. It can also be applied to modeling using powder containing silicon oxide as a main component and powder containing other ceramics as a main component. It can also be applied to modeling using a
  • the powder containing ceramics as a main component for modeling a ceramic model may be composed of an inorganic compound powder, and not only ceramics defined as sintered polycrystalline bodies but also amorphous powders. Powders of quality or single crystal may be used.
  • the component contained most in the molar ratio is referred to as the main component.
  • the notation "main component” is also used synonymously with the main component.
  • the sub-component refers to a component other than the main component, and is added to facilitate modeling, such as a sintering aid and an infrared absorber.
  • Step (i)> This is a step of irradiating a powder containing ceramics as a main component with an energy beam to sinter or melt and solidify the powder to form a solidified portion to obtain a ceramic model.
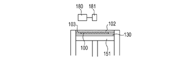
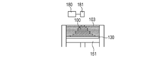
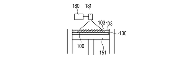
  • a powder 101 containing ceramics as a main component is placed on a base 130 installed on the stage 151, and a powder layer 102 is formed by using a roller 152 (FIGS. 1A and 1B).
  • the surface of the powder layer 102 is irradiated with the energy beam based on the three-dimensional shape data of the article to be manufactured while scanning the energy beam emitted from the energy beam source 180 with the scanner unit 181.
  • the powder is sintered, melted and solidified to form the solidified portion 100 (FIG. 1C).
  • the stage 151 is lowered to newly form the powder layer 102 on the modeled object 100 (FIG. 1D).
  • the newly formed powder layer 102 is irradiated with an energy beam in the same manner as in FIG. 1C to form a solidified portion 100 in the irradiation range.
  • the output of the energy beam is adjusted to such an extent that the surface layer on the side of the newly formed powder layer 102 of the previously formed solidified portion is melted, the previously formed solidified portion and the later formed solidified portion are formed.
  • the solidified portions to be formed can be joined to each other. By repeating these series of steps, the solidified portions 100 formed for each layer are joined to each other to form an integrated model 110 having a desired shape (FIGS. 1E and 1F).
  • the uncured powder 103 is removed, and if necessary, unnecessary portions of the modeled object are removed and the modeled object and the base are separated (FIGS. 1G and 1H).
  • the powder when the powder is irradiated with an energy beam, the powder absorbs energy, and the energy is converted into heat to melt the powder. Then, in the region where the energy beam has passed and the irradiation is completed, the molten portion is cooled by the surrounding atmosphere and the adjacent portion and sintered or solidified to form a solidified portion. At this time, due to the rapid cooling in the process of solidifying the molten portion, stress is generated in the surface layer and the inside of the modeled object, and innumerable cracks are formed.
  • a light source having an appropriate wavelength is selected in consideration of the absorption characteristics of the powder.
  • a laser beam or an electron beam having a narrow beam diameter and high directivity it is preferable to use a laser beam or an electron beam having a narrow beam diameter and high directivity.
  • a YAG laser having a wavelength band of 1 ⁇ m, a fiber laser, a CO 2 laser having a wavelength band of 10 ⁇ m, and the like can be mentioned as suitable energy beams.
  • a powder containing aluminum oxide (Al 2 O 3 ), which is a general structural ceramic, as a main component (hereinafter, may be referred to as a raw material powder) will be described in detail as an example.
  • the powder containing aluminum oxide as a main component preferably contains an oxide of a rare earth element that produces a eutectic composition with aluminum oxide as a sub-component. Specifically, it contains at least one selected from gadolinium oxide (Gd 2 O 3 ), yttrium oxide (Y 2 O 3 ), terbium oxide (Tb 2 O 3 ) and praseodymium oxide (Pr 2 O 3). Is particularly preferable.
  • the raw material powder contains gadolinium oxide that produces a eutectic composition with aluminum oxide
  • there are three eutectic compositions and each of the three eutectic compositions is in the vicinity.
  • the eutectic point in is lower than the melting point of aluminum oxide alone and the melting point of gadolinium oxide alone.
  • the powder can be melted with a small amount of heat, and the diffusion of energy in the powder is suppressed, so that the molding accuracy is improved.
  • the raw material powder contains gadolinium oxide
  • the modeled product has a phase-separated structure consisting of two or more phases. As a result, the expansion of cracks is suppressed and the mechanical strength of the modeled object is improved.
  • oxides of other rare earth elements such as yttrium oxide are contained, the same effect as that of gadolinium oxide can be obtained.
  • the powder When the energy beam is a laser beam, the powder has sufficient energy absorption, so that the spread of heat in the powder is suppressed and becomes local, and the influence of heat on the non-molded part is reduced, so that the molding accuracy Is improved.
  • the powder when using an Nd: YAG laser or a fiber laser in the 1 ⁇ m wavelength band, the powder is terbium oxide (Tb 4 O 7 ), placeodymium oxide (Pr 6 O 11 ), Ti 2 O 3 , TiO, SiO, ZnO, Antimon-doped tin oxide (ATO), indium-doped tin oxide (ITO), MnO, MnO 2 , Mn 2 O 3 , Mn 3 O 4 , FeO, Fe 2 O 3 , Fe 3 O 4 , Cu 2 O, CuO, Cr 2 O 3 , CrO 3 , NiO, V 2 O 3 , VO 2 , V 2 O 5 , V 2 O 4 , Co 3 O 4 , CoO, Transition
  • the absorber refers to a component (element or compound) that exhibits higher absorptive capacity than the main component with respect to light having a wavelength contained in the laser used for modeling.
  • the absorptive capacity of the absorber is preferably 10% or more, more preferably 40% or more, and 60% or more with respect to the light of the wavelength contained in the laser beam of the wavelength used. Is even more preferable.
  • a particularly suitable raw material powder Al 2 O 3 -Gd 2 O 3, Al 2 O 3 -GdAlO 3, Al 2 O 3 -Tb 4 O 7, Al 2 O 3 -Gd 2 O 3 - Tb 4 O 7, Al 2 O 3 -GdAlO 3 -Tb 4 O 7, Al 2 O 3 -Pr 6 O 11, Al 2 O 3 -Gd 2 O 3 -Pr 6 O 11, Al 2 O 3 -GdAlO 3 -Pr 6 O 11 , Al 2 O 3 -Y 2 O 3 , Al 2 O 3 -YAlO 3 , Al 2 O 3 -Y 3 Al 5 O 12 , Al 2 O 3 -Y 2 O 3 -Tb 4 O 7 , Al 2 O 3- YAlO 3- Tb 4 O 7 , Al 2 O 3- Y 3 Al 5 O 12- Tb 4 O 7 , Al 2 O 3- Y 2 O 3- Pr 6 O 11 , Al 2 O 3 -YAlO 3- Pr 6 O 11 , Al 2 O 3
  • the powder containing ceramics as a main component preferably contains a composition that can be eutectic in a ratio of forming a eutectic composition.
  • the eutectic composition is the composition at the eutectic point shown in the phase diagram, but the modeling process using the energy beam is a composition deviated from the eutectic point because the heating state and the cooling state occur at a very high speed. However, a eutectic structure having a phase-separated structure is formed.
  • the eutectic composition in the production method of the present invention is preferably defined as the composition range in which the eutectic structure is formed, and includes a range of ⁇ 10 mol% with respect to the eutectic composition as referred to in the phase diagram.
  • the eutectic composition is contained in a ratio of eutectic composition.
  • component X and another component Y can be eutectic may be expressed as "the component X and the component Y are in a eutectic relationship".
  • Eutectic is a mixture of two or more types of crystals that crystallize at the same time from a liquid containing two or more components.
  • Component X and component Y can be eutectic is synonymous with "component X and component Y have a eutectic state”. If it has a eutectic state, there is a eutectic point (also called a eutectic melting point).
  • the eutectic point is the temperature at which eutectic occurs, and corresponds to the minimum value of the liquid phase curve in the state diagram represented by the temperature on the vertical axis and the component composition ratio on the horizontal axis.
  • the composition corresponding to the eutectic point is called the eutectic composition (or eutectic composition). Therefore, the eutectic point of the component X and the component Y is lower than the melting point of each of the component X and the component Y.
  • a material may be expressed using a chemical formula such as Al 2 O 3 and Tb 4 O 7 described above, but if the gist of the present invention is satisfied, the element of the actual material may be expressed.
  • the composition ratio does not have to exactly match the ratio in the chemical formula. That is, the valences of the metal elements constituting a certain material may be slightly different from the valences assumed from the chemical formula.
  • the ceramic model obtained in the step (i) is made to absorb the metal component-containing liquid containing the inorganic particles containing the metal element.
  • a direct molding method such as a powder bed fusion bonding method or a cladding method
  • a portion where the powder is melted by energy beam irradiation is cooled by the surroundings and solidified to form a solidified portion.
  • many cracks occur in the solidified portion. It is considered that this is due to the thermal stress caused by the temperature difference between the non-solidified portion and the solidified portion due to the small thermal conductivity of the material itself.
  • the cracks are distributed in the entire modeled object in an infinite manner like a grid in a form substantially dependent on the scanning direction of the energy beam.
  • the cross section of the modeled object is confirmed with a scanning electron microscope or the like, most of the cracks have a width of several nm to several ⁇ m. Further, the length of the crack varies from several ⁇ m to several mm. It is considered that this crack is the main cause of lowering the mechanical strength of the modeled object.
  • the metal component-containing liquid When the metal component-containing liquid is brought into contact with the model having cracks as described above, the metal component-containing liquid is absorbed in the cracks of the model, and the inorganic particles containing the metal element are distributed.
  • the metal component-containing liquid By heating the modeled object that has absorbed the metal component-containing liquid in a predetermined temperature range in the step (iii) described later, only the vicinity of the crack can be selectively melted. By performing such a process, it is possible to reduce the cracks existing in the modeled object and improve the mechanical strength of the modeled object while suppressing the shape change of the modeled object.
  • Metal component-containing liquid The metal component-containing liquid will be described.
  • the metal component-containing liquid used in the step (ii) contains at least inorganic particles containing a metal element and a solvent.
  • the metal component-containing liquid preferably contains inorganic particles having a particle size sufficiently smaller than the width of the cracks.
  • the average particle size of the inorganic particles is preferably 300 nm or less.
  • the preferable average particle size for further reducing cracks and improving the mechanical strength is 100 nm or less, and the more preferable average particle size is 50 nm or less.
  • the particle size is a sphere-equivalent diameter defined as the diameter of a sphere having the same physical characteristics.
  • the method for measuring the average particle size is not particularly limited, but a dynamic light scattering method, a microscopy method, or the like can be used.
  • the average particle size in the present invention is the median size, which is the particle size (D 50 ) at which the cumulative frequency is 50%.
  • the shape of the fine particles is not particularly limited, and examples thereof include a spherical shape, a columnar shape, an elliptical spherical shape, a cube shape, a rectangular parallelepiped shape, a needle shape, a plate shape, a scale shape, and a pyramid shape.
  • the metal element contained in the inorganic particles is preferably one whose oxide can be eutectic with at least one kind of compound contained in the ceramic model.
  • the eutectic point at which eutectic occurs between the oxide of the metal element contained in the inorganic particles and the component of the ceramic model is lower than the melting point of each single component. As a result, the effect of lowering the melting point in the vicinity of the crack of the modeled object in which the inorganic particles are present becomes greater.
  • the modeled object is heated in the step (iii) described later. Then, the melting point is locally lowered due to the presence of the inorganic particles and the components of the ceramic model, and the model in the vicinity of the crack can be selectively melted. This makes it easy to reduce cracks in the modeled object while maintaining the shape of the modeled object.
  • Examples of the inorganic particles containing a metal element include metal particles, metal oxide particles, metal nitride particles, metal carbide particles, metal boride particles, and metal hydroxide particles.
  • the bonding state of the atoms that make up the inorganic particles does not matter. It may be crystalline or amorphous.
  • the main component of the inorganic particles is a metal oxide.
  • the main component of the inorganic particles is a metal oxide, volatile components such as carbon dioxide and water vapor are less likely to be generated in the heat treatment step of the step (iii), so that stable heat treatment is possible.
  • the ceramic model formed in the step (i) may be in a state of having less oxygen than the stoichiometric ratio due to a radical reaction by the energy beam.
  • the heat treatment of the step (iii) is preferably performed in an atmosphere containing oxygen, and it is possible to promote the oxidation of the modeled object and eliminate the oxygen deficiency.
  • metal oxide particles are less likely to undergo an oxidation reaction during heat treatment and do not interfere with the supply of oxygen to the model itself. From these viewpoints, inorganic particles containing a metal oxide as a main component are preferable.
  • the concentration of the halogen element contained in the inorganic particles is preferably an impurity level of 1000 ppm or less.
  • the component X and the component Y are eutectic. It is preferable that the relationship has the state of. In this case, the local melting caused by the crack is presumed to be due to the following phenomenon.
  • the component X may have a eutectic state with the component Y, and a complex of a plurality of components (phase-separated structure or the like) may be collectively regarded as the component X.
  • Al 2 O 3 -Gd 2 O 3 based shaped article formed from the raw material powder has a phase separation structure of the two components of Al 2 O 3 and GdAlO 3.
  • This case may also refer to the phase separation structure of the two components of the component X Al 2 O 3 and GdAlO 3.
  • the amount of inorganic particles contained in the metal component-containing liquid is present not only on the surface of the modeled object but also on the surface constituting the crack of the modeled object. ..
  • the main component of the inorganic particles is a metal oxide on the surface constituting the crack of the modeled object, or the metal element contained in the inorganic particles is oxidized in the process of heat treatment to form a metal. By becoming an oxide, a certain amount of component Y is present.
  • the amount of the component X and the amount of the component X having a eutectic composition or a composition ratio close to the eutectic composition are melted at a temperature lower than the melting point of the modeled object. Then, by further fusing with the component X that constitutes the surrounding modeled object, it is thought that the melting point will rise relatively by increasing the proportion of the component X in the fused composition, and it will recrystallize and contribute to the repair of cracks. Be done. As a result, it is considered that the effect of reducing or eliminating the cracks is obtained by softening and recrystallizing only the region near the cracks while maintaining the shape of the modeled object. Further, this process has an advantage that it is easy to control because the progress is completed only by maintaining the heating temperature in a constant state.
  • the portion where the crack is repaired has a stronger bond between the tissues than the method of filling the crack by glass infiltration or the like, and a model having high mechanical strength is obtained. Further, as compared with the method of filling the cracks with glass or the like, the bias of the extreme composition becomes smaller, so that a relatively homogeneous model can be obtained in terms of physical properties other than mechanical strength.
  • FIG. 3 shows an example of a phase diagram showing the composition ratio of the component X and the component Y when the component X and the component Y are in an eutectic relationship, and the relationship between the temperature and the state at each composition ratio.
  • the horizontal axis represents the composition ratio, and the component X is 100% at the left end, and the proportion of the component X decreases and the proportion of the component Y increases as it approaches the right end.
  • the maximum temperature T S reaching the molded product by heat treatment performed after imbibed with the metal component-containing liquid may be set so as to satisfy the relation T E ⁇ T S ⁇ T m .
  • T E, T S is set to be lower than the melting point T a of each shaped article. Further , if T m ⁇ Ti , a high effect can be obtained even if the number of times of absorbing the metal component-containing liquid and the number of times of heating are small.
  • T m ⁇ T i becomes higher eutectic composition of component X and the component Y of component X ratio state, in a state ratio of component Y is small, cracks near This is because can be melted at the eutectic temperature.
  • T m ⁇ Ti is a preferable condition, not an essential condition.
  • the metal element contained in the inorganic particles is zirconium.
  • Candidates for inorganic particles that become zirconium oxide by heating include zirconium (metal), zirconium oxide, zirconium hydride, and zirconium chloride.
  • Zirconium chloride is a sublimable solid, but can be converted to zirconium oxide via hydrated zirconium chloride or the like.
  • Al 2 O 3 and ZrO 2 is in a relationship capable of forming a eutectic, eutectic point T E is about 1840 ° C..
  • Al 2 O 3 and ZrO 2 a combination that satisfies the preferred relationship, T m ⁇ T i described above. Therefore, by ZrO 2 is produced from a metal element contained in the metal component-containing liquid to crack near the maximum temperature T S at the time of heat treatment can be set in the range of 1840 °C ⁇ T S ⁇ 2070 °C . Then, the vicinity of the crack can be selectively melted at a temperature sufficiently lower than the melting point of Al 2 O 3, and the crack can be reduced or eliminated.
  • the melting point of the molded article is determined depending on the composition ratio of these two components. For example, shaped object that when the two components and containing at eutectic composition, the melting point T a of the shaped article is about 1720 ° C. (eutectic point).
  • the metal component-containing liquid preferably contains inorganic particles mainly composed of a component that becomes zirconium oxide by heating.
  • the melting point T i of ZrO 2 is 2715 ° C.
  • for Al 2 O 3 and GdAlO 3 and eutectic point T E of 3 components of ZrO 2 is about 1662 ° C.
  • the melting point T a of about 1720 ° C. the shaped article by heating at a sufficiently low temperature T S it is possible to reduce or eliminate cracking.
  • a combination of at least one kind of compound constituting the modeled object and a metal oxide which is an oxide of a metal element contained in the inorganic particles can be considered.
  • the metal component-containing liquid containing the metal element to be the component Y is preferably used in a ceramic model in which the content of the component Y is less than 3 mol%. With such a combination, it becomes easy to locally melt only the vicinity of the crack by heating, and the deformation of the modeled object can be suppressed.
  • the content of the component Y in the ceramic model that absorbs the metal component-containing liquid is more preferably less than 2 mol%, still more preferably less than 1 mol%.
  • the amount of component Y present on the surface of the modeled object facing the crack is the number of times the metal component-containing liquid is absorbed by the modeled object, the content of inorganic particles in the metal component-containing liquid, the particle size, and the like. It may be adjusted according to the size and shape.
  • the content of the inorganic particles in the metal component-containing liquid is not particularly limited, but there is a preferable content depending on the purpose.
  • the content of the inorganic particles in the metal component-containing liquid is high, a large amount of component Y can be imparted to the surface of the modeled object facing the crack by performing the step (ii) once. Therefore, cracks can be sufficiently reduced or eliminated even if the number of steps (ii) and steps (iii) is small.
  • the content of the inorganic particles in the metal component-containing liquid is preferably 25% by weight or more, more preferably 30% by weight or more.
  • the amount of the component Y given to the surface of the modeled object facing the crack in each step (ii) becomes too large, and the modeled object melts.
  • a metal component-containing liquid having an inorganic particle content of 80% by weight or less is preferable, and more preferably 75% by weight or less.
  • the content of inorganic particles in the metal component-containing liquid should be It is preferably 25% by weight or more and 80% by weight or less. More preferably, it is 30% by weight or more and 75% by weight or less.
  • the content of inorganic particles in the metal component-containing liquid applied to a model having a fine shape is preferably less than 50% by weight, more preferably less than 40% by weight.
  • a dispersion liquid having a high content of inorganic particles is used to efficiently reduce the cracks to some extent, and then the dispersion having a low content of inorganic particles is performed in the finishing stage. It is also preferable to use a liquid to reduce or eliminate cracks. As described above, by using a plurality of types of metal component-containing liquids having different contents of inorganic particles in combination, cracks can be reduced or eliminated more efficiently while ensuring shape accuracy.
  • Inorganic particles may be produced by crushing each material by a top-down method, or by a bottom-up method using a method such as hydrothermal reaction from metal salts, hydrates, hydroxides, carbonates, etc. It may be synthesized or a commercially available product may be used.
  • the metal component-containing liquid contains an organic solvent or water as a solvent for dispersing the inorganic particles. Specifically, it contains alcohols, ketones, esters, ethers, ester-modified ethers, hydrocarbons, halogenated hydrocarbons, amides, water, oils, or a mixed solvent of two or more of these. I'm out.
  • the alcohols for example, methanol, ethanol, 2-propanol, isopropanol, 1-butanol, ethylene glycol and the like are preferable.
  • the ketones for example, acetone, methyl ethyl ketone, methyl isobutyl ketone, cyclohexanone and the like are preferable.
  • esters for example, ethyl acetate, propyl acetate, butyl acetate, 4-butyrolactone, propylene glycol monomethyl ether acetate, methyl 3-methoxypropionate and the like are preferable.
  • ethers for example, ethylene glycol monomethyl ether, diethylene glycol monobutyl ether, butyl carbitol, 2-ethoxyethanol, 1-methoxy-2-propanol, 2-butoxyethanol and the like are preferable.
  • modified ethers for example, propylene glycol monomethyl ether acetate is preferable.
  • hydrocarbons for example, benzene, toluene, xylene, ethylbenzene, trimethylbenzene, hexane, cyclohexane, methylcyclohexane and the like are preferable.
  • halogenated hydrocarbons for example, dichloromethane, dichloroethane, and chloroform are preferable.
  • amides for example, dimethylformamide, N, N-dimethylacetamide and N-methylpyrrolidone are preferable.
  • oils for example, mineral oil, vegetable oil, wax oil, and silicone oil are preferable.
  • the metal component-containing liquid further contains a dispersant.
  • the dispersant preferably contains at least one of an organic acid, a silane coupling agent, and a surfactant.
  • organic acid include acrylic acid, 2-hydroxyethyl acrylate, 2-acryloxyethyl succinic acid, 2-acryloxyethyl hexahydrophthalic acid, 2-acryloxyethyl phthalic acid, 2-methylhexane acid, 2-. Ethylhexanic acid, 3-methylhexanelic acid, 3-ethylhexanenic acid and the like are preferable.
  • silane coupling agent for example, 3-acryloxypropyltrimethoxysilane, 3-methacryloxypropyltrimethoxysilane, hexyltrimethoxysilane, octyltriethoxysilane, decyltrimethoxysilane and the like are preferable.
  • the surfactant include ionic surfactants such as sodium oleate, potassium fatty acid, sodium alkylphosphate, alkylmethylammonium chloride, and alkylaminocarboxylate, polyoxyethylene laurin fatty acid ester, and polyoxyethylene alkylphenyl.
  • Nonionic surfactants such as ethers are preferred.
  • the viscosity of the metal component-containing liquid is preferably low in order to absorb the metal component-containing liquid to the center of the modeled object and to prevent the metal component-containing liquid from being thickly deposited on the surface of the modeled object, preferably at 20 ° C. It is particularly preferable that the viscosity is 12 mPa ⁇ s or less.
  • the manufacturing method of the metal component-containing liquid does not matter. It is preferably prepared by mixing inorganic particles, a dispersant, and a solvent, but it may be prepared by mixing all at once. Alternatively, the particles and the dispersant may be mixed and then the solvent may be added and mixed, the particles and the solvent may be mixed and then the dispersant may be added and mixed, or the dispersant and the solvent may be mixed. Then, the particles may be mixed to prepare the particles.
  • the metal component-containing liquid is as described above.
  • a metal component-containing liquid containing inorganic particles containing zirconium oxide as a main component is suitable.
  • the method of allowing the modeled object to absorb the metal component-containing liquid is not particularly limited as long as the inorganic particles can be uniformly interposed on the surface constituting the crack of the modeled object.
  • the modeled object may be impregnated by immersing the modeled object in the metal component-containing liquid, or the metal component-containing solution may be atomized and sprayed onto the modeled object, or may be applied to the surface with a brush or the like to be absorbed. Further, a plurality of these methods may be combined, or the same method may be repeated a plurality of times.
  • the modeled object When the volume of the modeled object obtained by repeating step (i) many times is large, the modeled object may be immersed in a metal component-containing liquid and degassed under reduced pressure in order to sufficiently distribute the inorganic particles to the inside of the modeled object. preferable. Alternatively, the modeled object may be placed in a closed container, degassed under reduced pressure, and then immersed in a metal component-containing liquid.
  • the inorganic particles are widely distributed in the surface layer of the modeled object and the cracks inside the modeled object.
  • a metal component-containing liquid in which zirconium oxide particles are dispersed is absorbed in a model containing aluminum oxide as a main component
  • only the vicinity of cracks is locally eutectic of Al 2 O 3 and ZrO 2.
  • Approaching the composition. Therefore, the melting point is lower only in the vicinity of the crack portion than in the portion away from the crack portion. Utilizing this difference in melting point, the eutectic point between at least one compound contained in the model and the metal oxide composed of the metal element contained in the inorganic particles is equal to or greater than the melting point of the material constituting the model. Heat at temperature.
  • Al 2 O 3 and ZrO 2 eutectic point or higher is heated at a temperature below the melting point of Al 2 O 3.
  • the shape of the modeled object is maintained, only the portion where the inorganic particles are present in the modeled object, that is, the vicinity of the crack of the modeled object is partially melted.
  • the eutectic points of these three components are two components.
  • the temperature is lower than the eutectic point.
  • the step (iii) can be performed at a lower temperature than when the modeled object is composed of one component, and even if the modeled object is relatively large in size, the temperature unevenness of heating in the modeled object can be reduced.
  • the step (iii) can be easily carried out in an electric furnace or the like in an atmospheric atmosphere if the temperature is relatively low.
  • Al 2 O 3- Gd 2 O 3 is a material capable of forming a three-phase eutectic with zirconium oxide. Therefore, when a modeled product formed from a powder containing Al 2 O 3- Gd 2 O 3 as a component absorbs a metal component-containing liquid containing inorganic particles containing a zirconium element as a component in step (ii), the modeled product A certain amount of inorganic particles containing a zirconium element is applied to the surface constituting the crack. When heat treatment is performed in this state, the zirconium element existing on the surface constituting the crack of the modeled object becomes, for example, zirconium oxide in the process of heat treatment.
  • the amount of zirconium oxide and the composition ratio at which three-phase eutectic can be formed or the composition ratio in the vicinity thereof are Al 2 O 3- Gd 2 O. 3 melts at a temperature lower than the melting point of the modeled object. After that, it recrystallizes and contributes to the repair of cracks.
  • the melting point can be significantly lowered locally. Utilizing this difference in melting point, heating can be performed at a temperature equal to or higher than the eutectic point of the three phases and lower than the melting point of the modeled object, and only the vicinity of the crack can be selectively and locally melted.
  • step (ii) is 1600 ° C. or higher and 1710 ° C. or lower.
  • the cracks can be reduced or eliminated.
  • Al 2 O 3 and Gd 2 O 3 and ZrO 2 in 3-phase eutectic point or higher, as Al 2 O 3 -Gd less than 2 O 3 system lowest melting point shaped object can take (about 1720 ° C.) From the viewpoint, it is more preferably 1662 ° C or higher and lower than 1710 ° C.
  • the modeled object arrives by the heat treatment performed in the step (iii).
  • the maximum temperature T S are preferably set such that T E ⁇ T S ⁇ T m . More preferably, T E ⁇ T S ⁇ T m - (T m -T E) is / 2. Accordingly, selectively melt the vicinity of the cracks at a temperature sufficiently lower than the melting point T m of a modeled object, since it is possible to reduce or eliminate cracks, shape of the shaped product tends to maintain.
  • the modeled object may be heated at a temperature at which the vicinity of the crack is desired to be reached. It is considered that the cracks are reduced or extinguished because the cracks and their vicinity are melted by heating at such a temperature and move in a direction in which the surface energy is reduced. Then, as the heating progresses further, it is considered that the modeled product diffuses into the crystalline and non-crystalline interior, and the crystal is recrystallized in a state containing the metal oxide component. It is presumed that such an action has the effect of further increasing the mechanical strength of the modeled object, as compared with the method of infiltrating the crack with glass and simply filling it.
  • the amount of inorganic particles in the vicinity of the crack may be adjusted according to the content of the inorganic particles in the metal component-containing liquid, the method of allowing the crack to absorb the metal component-containing liquid, the number of times, and the like.
  • the vicinity of the crack is a eutectic composition in which the zirconium oxide content is 38 mol% with respect to 62 mol% of aluminum oxide in the modeled product containing aluminum oxide as a main component.
  • the vicinity of the crack becomes easier to melt.
  • the modeled product absorbs the zirconium oxide metal component-containing liquid (step (iii)) and is heated at a temperature of 1662 ° C. or higher and 1710 ° C. or lower (step (iii)).
  • the components of the zirconium oxide particles that have entered the modeled object through the cracks diffuse into the crystalline and amorphous interior of the modeled object and recrystallize.
  • the resulting ceramic article contains a three-phase eutectic of a phase containing ZrO 2 as a main component, a phase containing Al 2 O 3 as a main component, and a phase containing GdAlO 3 as a main component. It is formed. Further, when a powder of terbium oxide (Tb 4 O 7 ) is added as a sub-component to a powder containing Al 2 O 3- Gd 2 O 3 as a component, the modeled product contains Al 2 O 3 as a main component. A phase and a phase containing (GdTb) AlO 3 as a main component are included. In this case as well, when heated at a temperature of 1662 ° C. or higher and 1710 ° C. or lower (step (iii)), cracks are reduced or eliminated. Can be made to.
  • Tb 4 O 7 terbium oxide
  • the modeled object immediately after being formed in step (i) contains a large amount of amorphous components because it is rapidly cooled and solidified after being melted by energy beam irradiation.
  • the process of heat treatment in the step (iii) can be changed to crystalline.
  • high mechanical strength is obtained by heating the modeled object for a certain period of time or longer, and sufficiently diffusing the oxide of the metal element contained in the inorganic particles into the crystal of the modeled object to recrystallize it.
  • the holding time of the maximum temperature Ts in the step (iii) is preferably 1 minute or more, and more preferably 5 minutes or more in total.
  • the holding time of the maximum temperature Ts in the step (iii) is preferably 2 hours or less in total, and more preferably 1 hour or less. More preferably, it is 30 minutes or less.
  • the heat treatment time refers to the holding time of the heat treatment at the maximum temperature Ts in the step (iii) unless otherwise specified.
  • the integrated time of the heat treatment refers to the holding time at the maximum temperature Ts of the heat treatment when the step (iii) is performed once, and the maximum of each time when the step (iii) is repeated a predetermined number of times. It is assumed that the holding time at the temperature Ts is integrated.
  • the heating method is not particularly limited.
  • the ceramic model that has absorbed the metal component-containing liquid may be heated by irradiating the energy beam again, or may be placed in an electric furnace and heated.
  • it is necessary to grasp the relationship between the input heat amount of the energy beam and the temperature of the modeled object in advance by a thermoelectric pair or the like so that the modeled object is heated in the above-mentioned preferable temperature range.
  • An electric furnace capable of adjusting the temperature lowering rate after heating is suitable because it can heat the entire modeled object and further control the cooling temperature, so that the formation of new cracks is suppressed.
  • the oxide of the metal element contained in the inorganic particles diffuses in the modeled object each time unless the crack disappears from the modeled object. Then, the difference in concentration of the components caused by the particles becomes smaller between the vicinity of the crack in the modeled object and the other part, and the difference between the melting point (eutectic point) in the vicinity of the crack in the modeled object and the melting point in the other part becomes smaller. It becomes smaller. From the viewpoint of melting only the vicinity of the crack, the difference in melting points is preferably 20 ° C. or higher, more preferably 30 ° C. or higher.
  • the zirconium oxide component in the model is less than 3 mol%, only the vicinity of cracks can be suppressed while suppressing the shape change of the model. It is preferable because it can be melted. More preferably, it is less than 2 mol%. More preferably, it is less than 1 mol%. Ceramic articles having a small particle size of crystal particles and sufficiently reduced cracks that contribute to mechanical strength have particularly excellent mechanical strength. Such a ceramic article can be realized by shortening the heat treatment time required for reducing cracks as much as possible and suppressing grain growth.
  • a ceramic article having a phase-separated structure containing three types of phases, including a phase of a main component and a phase of two types of a composite compound containing at least one type of metal element constituting the main component, can be obtained.
  • a ceramic article having such a phase-separated structure has superior mechanical strength to a ceramic article composed of one phase or two phases.
  • the ceramic article of the present invention is an article containing ceramics as a main component, which is manufactured by using the additional manufacturing technique, and has both the free shape, which is a feature of the additional manufacturing technique, and excellent mechanical strength. It is a feature.
  • the additional manufacturing techniques it is preferably manufactured by a powder bed melt-bonding method or a directed energy lamination method.
  • a ceramic article having excellent mechanical strength is laminated by using powders made of a plurality of kinds of materials, and the obtained model is absorbed in a metal component-containing liquid having an appropriate component. This can be achieved by shortening the integrated time of the heat treatment. Then, the ceramic article thus obtained having particularly excellent mechanical strength has a phase of the main component and a phase of two types of composite compounds containing at least one kind of metal element constituting the main component. It has a phase-separated structure consisting of three or more phases including.
  • the main component is preferably aluminum oxide, silicon oxide, mullite, cordylite and the like.
  • aluminum oxide is widely used as a general-purpose structural ceramic and has a relatively high thermal conductivity, so that it is suitable for an additional manufacturing technique of a direct molding method.
  • a ceramic article containing aluminum oxide as a main component will be described as an example, but the technical idea is not limited to the ceramic article containing aluminum oxide as a main component.
  • step (i) aluminum oxide and gadolinium oxide are mainly in a relationship that can form symcrystals.
  • a model composed of Al 2 O 3 phase, Gd AlO 3 phase, and Gd 2 O 3 phase can be formed.
  • the ceramic article obtained by absorbing the metal component-containing liquid into the modeled object (step (ii)) and performing the heat treatment (step (iii)) has Al 2 O when the integrated time of the heat treatment is short.
  • the ceramic article obtained by performing the heat treatment (step (iii)) has Al 2 O when the integrated time of the heat treatment is short.
  • GdAlO 3 phase, Gd 4 Al 2 O 9 phase, Gd 2 O 3 phase, a phase derived from inorganic particles of a metal component-containing liquid, and the like can be included. At this time, if the cracks in the ceramic article are sufficiently reduced, the ceramic article exhibits superior mechanical strength as compared with the ceramic article obtained by heat treatment for a long time.
  • the factors for obtaining excellent mechanical strength are the particle size of the crystal particles constituting the ceramic article and the presence of the composite compound phase.
  • the heat treatment in the step (iii) is short, the heat treatment is completed before the coarse particles are formed, so that a ceramic article having a small particle size and excellent mechanical strength can be obtained.
  • the preferred particle size is 20 ⁇ m or less, more preferably 15 ⁇ m or less, and even more preferably 10 ⁇ m or less.
  • a ceramic article forms a complex phase-separated structure composed of many types of phases.
  • the composite compound often has higher toughness than the main component. Therefore, it is considered that these complicated phase-separated structures contribute to the improvement of mechanical strength.
  • the composite compound is considered to be produced from the main component and the subcomponent during the melting and solidification of the step (i) and / or the heat treatment of the step (iii).
  • GdAlO 3 phase and Gd 4 Al 2 O 9 phase described above strikes the composite compound. It is considered that GdAlO 3 is mainly produced by eutectic with Al 2 O 3 in the step (i).
  • the Gd 4 Al 2 O 9 phase is mainly composed of atoms between the Gd 2 O 3 phase, which is the undissolved raw material, and the Al 2 O 3 phase and the Gd AlO 3 phase during the heat treatment of the step (iii). It is considered to be produced in the solid phase diffusion process. Therefore, when the integrated time of the heat treatment in the step (iii) is long, the Gd 4 Al 2 O 9 phase disappears and the phase composition of the ceramic article becomes an equilibrium state, but the mechanical strength decreases.
  • the composite compound produced by eutectic with the main component in the step (i) is the composite compound 1 and the composite compound transiently generated in the step (iii) is the composite compound 2, the ratio of the composite compound 2 is used. It is considered that the greater the amount, the higher the mechanical strength of the ceramic article.
  • the mechanical strength obtained differs depending on the type of the main component, but by performing crack repair by heating for a short time, as described above.
  • the mechanical strength can be further increased by the mechanism.
  • the main component in addition to aluminum oxide, silicon oxide, mullite, cordylite and the like can be applied.
  • the sub-component include a component capable of forming a eutectic with the main component, an absorber component, a sintering aid component, and the like.
  • the ceramic article of the present invention contains, in addition to three types of phases, a phase of a main component and a phase of two types of a composite compound containing at least one type of metal element constituting the main component, and yet another phase.
  • the other phase is a component derived from the inorganic particles of the metal component-containing liquid used in the step (ii), and has a relationship capable of forming an eutectic with at least one of the main component and two types of composite compounds contained in the modeled product. Is preferable.
  • the presence of a certain amount or more of the component derived from the inorganic particles of the metal component-containing liquid means that the crack has been sufficiently repaired, and by further containing such another phase, the phase of the ceramic article.
  • the separation structure becomes more complex and the mechanical strength is improved.
  • the component derived from the inorganic particles of the metal component-containing liquid has a relationship capable of forming a eutectic with the main component.
  • the metal element derived from the inorganic particles contained in the ceramic article is preferably contained in an amount of 0.3 mol% or more, more preferably, with respect to the total metal element constituting the ceramic article. Is 0.5 mol%.
  • the metal element derived from the inorganic particles contained in the ceramic article is preferably contained in the range of 5 mol% or less, more preferably 3 mol% or less, based on the total metal element constituting the ceramic article.
  • a metal component-containing liquid having zirconia particles is absorbed into a model formed by irradiating a powder containing aluminum oxide powder as a main component and gadolinium oxide powder as a sub component with an energy beam to melt and solidify it (step (step (step)).
  • step (step (step)) A case of a ceramic article obtained by performing ii)) and heat treatment (step (iii)) will be described. Ceramic articles obtained in this way, in addition to the Al 2 O 3 phase, GdAlO 3 phase, Gd 4 Al 2 O 9 phase, Gd 2 O 3 phase,, and the like ZrO 2 phase of the fluorite structure.
  • ZrO 2 phase of the fluorite structure is a phase derived from inorganic particles of a metal component-containing liquid corresponds to a different phase of the above.
  • ZrO 2 phase of the fluorite structure a part of Zr site becomes stable phase that is substituted in the (Gd, here) a rare earth element.
  • ZrO 2 phase of a phase derived from inorganic particles which phase fluorite structure of the metal component-containing liquid is preferably made of crystal particles of small particle size as compared with the phase as a main component of the ceramic article. This is because it is considered that another phase having a relatively small particle size with the main component phase acts to connect the main component phases and contributes to the mechanical strength of the ceramic article. ..
  • the particle size of the other phase is preferably 1/2 or less, more preferably 1/3 or less of the particle size of the main component phase.
  • At least one of the complex compounds and the main component have a relationship capable of forming an eutectic.
  • the relative density [%] was calculated by dividing the bulk density (weight divided by volume) of the modeled object by the theoretical density.
  • the theoretical density was calculated from the crystal structure.
  • the crystal structure was identified by performing X-ray diffraction measurements and performing Rietveld analysis.
  • the ceramic article was mirror-polished, the crystal structure and composition of the phases constituting the ceramic article were investigated by X-ray diffraction, electron beam diffraction, SEM-EDX and TEM-EDX, and the phase separation structure was analyzed by SEM-EBSD.
  • composition and crystal phase were mapped.
  • TEM transmission electron microscope
  • composition analysis The content of metal elements in powders, shaped objects or ceramic articles was measured by inductively coupled plasma emission spectrometry (ICP-AES), GDMS or ICP-MS.
  • composition ratio of each phase in the modeled object or ceramic article was measured and calculated by combining the above-mentioned crystal structure analysis and composition analysis.
  • Example 1 ⁇ -Al 2 O 3 powder with an average particle size of about 20 ⁇ m, Gd 2 O 3 powder with an average particle size of about 35 ⁇ m, and Tb 2 O 3.5 powder (Tb 4 O 7 powder) with an average particle size of about 5 ⁇ m.
  • Each weighing powder was mixed with a dry ball mill for 30 minutes to obtain a mixed powder (raw material powder).
  • ProX DMP 100 (trade name) manufactured by 3D SYSTEMS, which is equipped with a 50 W fiber laser, was used to form the modeled object.
  • a 20 ⁇ m-thick first layer powder layer made of the raw material powder was formed on an alumina base 130 (FIGS. 1A and 1B).
  • a 30 W laser beam was scanned at a drawing speed of 140 mm / s and a drawing pitch of 100 ⁇ m.
  • the powder is irradiated while scanning the laser beam so that the drawing line is at an angle of 45 degrees to each side of the rectangle, and the powder in the rectangular region of 5 mm ⁇ 42 mm is melted and solidified.
  • the solidified portion 100 was formed (FIG. 1C).
  • a powder layer having a thickness of 20 ⁇ m is newly formed by a roller so as to cover the solidified portion 100, and the powder layer is irradiated while scanning a laser beam to obtain a material powder in a rectangular region of 5 mm ⁇ 42 mm. It was melted and solidified to form a solidified portion 100 (FIGS. 1D, 1E).
  • the laser was scanned in a direction orthogonal to the drawing line of the first layer to melt and solidify the powder. Such a process was repeated until the height of the solidified portion reached 6 mm, and five 42 mm ⁇ 5 mm ⁇ 6 mm shaped objects were produced.
  • Each of the above-mentioned shaped objects was separated from an alumina base, and polished to obtain a W40 mm ⁇ D4 mm ⁇ H3 mm shaped object for a three-point bending strength test.
  • the polished surface was observed by SEM, cracks having a width of several nm to several ⁇ m were formed depending on the drawing direction of the laser beam. That is, as in the observation result with the optical microscope, grid-like cracks were formed in the direction of approximately 45 degrees diagonally with respect to each side of the rectangle.
  • a zirconium oxide-containing liquid 1 containing zirconium oxide particles was used as the metal component-containing liquid.
  • Zirconium oxide can form a eutectic with aluminum oxide, which is the main component of the model.
  • Zirconium oxide particles with an average particle size of 10 nm are used as particles, 2-hydroxyethyl acrylate and 3-acryloxypropyltrimethoxysilane are used as dispersants, and propylene glycol monomethyl ether acetate is used as a solvent. There was. These were mixed so that the content of zirconium oxide in the dispersion liquid was 70% by weight, and uniform stirring was performed to obtain a zirconium oxide-containing liquid 1.
  • the modeled product processed for the test was immersed in the zirconium oxide-containing liquid 1 and degassed under reduced pressure for 1 minute to absorb the liquid to the inside of the modeled product, and then naturally dried for 1 hour (step (ii)). ..
  • the modeled object that had absorbed the zirconium oxide-containing liquid 1 was placed in an electric furnace and heated. In the air atmosphere, the temperature is raised to 1670 ° C., which is equal to or higher than the eutectic point (1662 ° C.) of the three phases of aluminum oxide, gadolinium oxide and zirconium oxide, and lower than the melting point (1720 ° C.) of the modeled product in 2 hours. It was held for a minute (step (iii)). Then, the energization was terminated and the mixture was cooled by natural cooling to obtain the ceramic article of Example 1.
  • Example 1 a step of allowing each modeled object to absorb the zirconium oxide-containing liquid 1 (step ii)) and a step of heat-treating (step (iii)) are carried out once, respectively, for a three-point bending strength test. 5 ceramic articles of the above were prepared.
  • the dimensional accuracy of the obtained ceramic article was evaluated. Specifically, the rate of change in the length of each side of the article obtained after the step (ii) and the length of each side of the modeled object before the step (iii) is performed is dimensional accuracy (referred to as shape accuracy). In some cases).
  • the dimensional accuracy of Example 1 was within 1% on each side with respect to the dimensions (W40 mm ⁇ D4 mm ⁇ H3 mm) of the shaped object after polishing before performing the step (ii) and the step (iii).
  • the average value of the relative density was 95.9%.
  • a compression tester manufactured by Instron was used for the 3-point bending test. When five ceramic articles of Example 1 were tested, the average value of the three-point bending strength was 173 MPa.
  • phase contained in the ceramic article revealed that the phase was composed of Al 2 O 3 , the phase composed of Gd AlO 3 (composite compound 1), the phase composed of Gd 4 Al 2 O 9 (composite compound 2), and the phase composed of Gd 2 O 3 .
  • a phase consisting of a compound and a phase mainly composed of zirconium oxide having a fluorite structure were confirmed.
  • the Gd 4 Al 2 O 9 phase which is considered to greatly contribute to the mechanical strength, was present in the ceramic article at a ratio of 4% by weight based on the XRD result.
  • the main metal elements constituting the zirconium oxide-based phase of the fluorite structure were Zr, Gd, and Tb, and the metal elements other than Zr, Gd, and Tb were less than 1 mol%.
  • the ratio of rare earth elements Gd and Tb to the metal elements contained in the phase containing zirconium oxide as a main component of the fluorite structure was 30 mol% on average. There is no bias in the distribution of the phase containing zirconium oxide as the main component in the article, and it can be seen that the zirconium oxide component diffused from the cracks into the modeled object and recrystallized as a phase-separated structure while incorporating rare earth elements. ..
  • the amount of Zr contained in the ceramic article was examined, the amount of Zr among the metal elements constituting the ceramic article of this example was 0.7 mol%. Further, the articles obtained in this example or the following examples may contain a state in which Tb is dissolved in the Gd site in the above-mentioned phase containing Gd as a constituent element.
  • the average particle size of the crystal particles constituting the ceramic article measured by EBSD was 4.5 ⁇ m.
  • a ceramic article having high mechanical strength can be obtained due to the phase separation structure in which a plurality of phases are intricately intertwined, the presence of a composite compound having higher toughness than the main component, and the small particle size of the crystal particles. It is believed that it was obtained.
  • Example 2 Three-point bending strength in the same manner as in Example 1 except that the modeling conditions were adjusted using ProX DMP 200 (trade name) manufactured by 3D SYSTEMS, which is equipped with a 300 W fiber laser, to form the modeled object.
  • Five shaped objects of W40 mm ⁇ D4 mm ⁇ H3 mm were prepared for the test (step (i)).
  • the modeling conditions were set so that the output of the laser beam was 294 W (98% of 300 W), the drawing speed was 1000 mm / s, and the drawing pitch was 100 ⁇ m.
  • the uneven Ra of the surface of the shaped objects was 20 ⁇ m or less.
  • each of the five shaped objects was separated from the alumina base and polished to obtain a W40 mm ⁇ D4 mm ⁇ H3 mm model for a three-point bending strength test.
  • the polished surface was observed by SEM, cracks having a width of several nm to several ⁇ m were formed depending on the drawing direction of the laser beam. That is, as in the observation result with the optical microscope, grid-like cracks were formed in the direction of approximately 45 degrees diagonally with respect to each side of the rectangle.
  • Example 2 In the same manner as in Example 1, a step of allowing the modeled object to absorb the zirconium oxide-containing liquid 1 (ii) and a step of heating (iii) were carried out to prepare five ceramic articles. With respect to the obtained ceramic article, the three-point bending strength, dimensional accuracy, relative density, and the crystal structure and composition of the phases constituting the ceramic article were analyzed in the same manner as in Example 1.
  • the dimensional accuracy of the ceramic article obtained in Example 2 was excellent at 1% or less. Further, similarly to the ceramic article of Example 1, the shape of the modeled object did not change substantially before and after the step (ii) and the step (iii), and the similar shape was maintained.
  • phase contained in the ceramic article revealed that the phase composed of Al 2 O 3 (main component), the phase composed of GdAlO 3 (composite compound 1), the phase composed of Gd 4 Al 2 O 9 (composite compound 2), and Gd. phase consisting of 2 O 3, and, five-phase phase composed mainly of zirconium oxide fluorite structure was confirmed.
  • the main metal elements constituting the zirconium oxide-based phase of the fluorite structure are Zr, Gd, and Tb, and the metal elements other than Zr, Gd, and Tb are 1. It was less than mol%.
  • the ratio of rare earth elements to the metal elements contained in the phase containing zirconium oxide as a main component of the fluorite structure was 30 mol% on average. It can be seen that the distribution of the phase containing zirconium oxide as the main component is not biased, and the zirconium oxide component diffuses from the crack portion into the modeled object and recrystallizes as a phase-separated structure while incorporating rare earth elements.
  • the amount of Zr contained in the ceramic article was examined, the amount of Zr among the metal elements constituting the ceramic article of this example was 0.7 mol%.
  • the particle size of the crystal particles constituting the ceramic article measured by EBSD was 4.0 ⁇ m.
  • Example 3 In the same manner as in Example 1, a modeled product having a size of W40 mm ⁇ D4 mm ⁇ H3 mm was produced for a three-point bending strength test (step (i)). When the surface of the modeled object of Example 3 was observed with an optical microscope, Ra of the unevenness on the surface of the modeled object was 20 ⁇ m or less.
  • Zirconia fine particles manufactured by Kanto Denka Kogyo Co., Ltd.
  • 2-hydroxyethyl acrylate and 3-acryloxypropyltrimethoxysilane as dispersants and stirred uniformly.
  • Propylene glycol monomethyl ether acetate was added as a solvent so that the content of zirconia in the dispersion was 70% by weight, and the mixture was uniformly stirred to obtain a zirconium oxide-containing liquid 2.
  • Example 3 Under the same conditions as in Example 1, the step of absorbing the zirconium oxide-containing liquid 2 into the modeled object (ii) and the step of heating (iii) were carried out to prepare five ceramic articles of Example 3.
  • Example 1 For the obtained ceramic article, the three-point bending strength, dimensional accuracy, relative density, and the crystal structure and composition of the phases constituting the ceramic article were analyzed in the same manner as in Example 1.
  • the dimensional accuracy of the ceramic article of Example 3 was excellent at 1% or less. Further, similarly to the ceramic article of Example 1, the shape of the modeled object did not change before and after the step (ii) and the step (iii), and the similar shape was maintained.
  • the ceramic article of Example 3 had the same phase-separated structure as that of Example 1. That is, a phase composed of Al 2 O 3 , a phase composed of Gd AlO 3 (composite compound 1), a phase composed of Gd 4 Al 2 O 9 (composite compound 2), a phase composed of Gd 2 O 3 , and a fluorite structure. Five phases containing zirconium oxide as a main component were confirmed. The Gd 4 Al 2 O 9 phase, which is considered to greatly contribute to the mechanical strength, was present in the ceramic article at a ratio of 4% by weight based on the XRD result. The main metal elements constituting the zirconium oxide-based phase of the fluorite structure were Zr, Gd, and Tb.
  • the distribution of the phase containing zirconium oxide as a main component is not biased, and the zirconium oxide component diffuses from the crack portion into the modeled object to form a phase-separated structure while incorporating rare earth elements. It is considered to have recrystallized.
  • the amount of Zr contained in the ceramic article was examined, the amount of Zr among the metal elements constituting the ceramic article of this example was 0.7 mol%.
  • Example 4 In the same manner as in Example 1, a modeled product having a size of W40 mm ⁇ D4 mm ⁇ H3 mm was produced for a three-point bending strength test (step (i)). When the surface of the modeled object was observed with an optical microscope, the uneven Ra of the surface of the modeled object was 20 ⁇ m or less.
  • step (ii) of this example a 15% by weight zirconium oxide-containing liquid 3 was prepared and used using the same dispersant and solvent as in Example 1.
  • the steps of allowing the modeled object to absorb the zirconium oxide-containing liquid 3 (step (iii)) and the step of heating the modeled object that has absorbed the zirconium oxide-containing liquid (step (iii)) are also under the same conditions as in Example 1. I went there.
  • step (iii) and step (iii) were alternately repeated three times each. In this way, for Example 4, five ceramic articles for strength test were obtained.
  • Example 4 Similar to Example 1, the ceramic articles of Example 4 were also analyzed for three-point bending strength, relative density, dimensional accuracy, and the crystal structure and composition of the phases constituting the modeled object.
  • the dimensional accuracy of the ceramic article of Example 4 was excellent at 1% or less. Further, similarly to the modeled object of Example 1, the shape of the modeled object did not change before and after the step (ii) and the step (iii), and the similar shape was maintained.
  • the ceramic article of Example 4 also had the same phase-separated structure as that of Example 1. That is, a phase composed of Al 2 O 3 , a phase composed of Gd AlO 3 (composite compound 1), a phase composed of Gd 4 Al 2 O 9 (composite compound 2), a phase composed of Gd 2 O 3 , and a fluorite structure. Five phases containing zirconium oxide as a main component were confirmed. The phase composed of Gd 4 Al 2 O 9 (composite compound 2), which is considered to greatly contribute to the mechanical strength, was present in the ceramic article at a ratio of 2% by weight based on the XRD result. The main metal elements constituting the zirconium oxide-based phase of the fluorite structure were Zr, Gd, and Tb.
  • the distribution of the phase containing zirconium oxide as a main component was not biased, and the zirconium oxide component diffused from the crack portion into the modeled object and recrystallized as a phase-separated structure while incorporating rare earth elements. Think of it as a thing.
  • the amount of Zr contained in the ceramic article was examined, the amount of Zr among the metal elements constituting the ceramic article of this example was 0.4 mol%.
  • Example 5 (Example 5 and Example 6)
  • a modeled product having a size of W40 mm ⁇ D4 mm ⁇ H3 mm was produced for a three-point bending strength test (step (i)).
  • the uneven Ra of the surface of the modeled object was 20 ⁇ m or less.
  • the mixed solution of the zirconium hydride aqueous solution and HNO 3 was heated at 90 ° C. for 30 minutes, and then the mixed solution was filtered and dried to obtain a precursor powder.
  • the precursor powder was calcined at 1000 ° C. to obtain a zirconium oxide raw material powder having an average particle size of 40 nm.
  • the precursor powder was calcined at 1030 ° C. to obtain a zirconium oxide raw material powder having an average particle size of 90 nm.
  • a zirconium oxide-containing liquid 4 containing particles having an average particle diameter of 40 nm and a zirconium oxide-containing liquid 5 containing particles having an average particle diameter of 90 nm were prepared in the same manner as in Example 1.
  • the zirconium oxide-containing liquid 4 was prepared so that the content of zirconium oxide in the liquid was 30% by weight.
  • the zirconium oxide-containing liquid 5 was prepared so that the content of zirconium oxide in the liquid was 15% by weight.
  • Example 5 a zirconium oxide-containing liquid 4 was used as the metal component-containing liquid.
  • the step of allowing the modeled object to absorb the zirconium oxide-containing liquid 4 (step (iii)) and the step of heating the modeled object having absorbed the zirconium oxide-containing liquid 4 (step (iii)) have the same conditions as in Example 1. I went there.
  • step (iii) and step (iii) were alternately repeated three times each.
  • Example 6 a zirconium oxide-containing liquid 5 was used as the metal component-containing liquid.
  • the step of allowing the modeled object to absorb the zirconium oxide-containing liquid 5 (step (iii)) and the step of heating the modeled object having absorbed the zirconium oxide-containing liquid 5 (step (iii)) have the same conditions as in Example 1. I went there.
  • step (iii) and step (iii) were alternately repeated 5 times each.
  • Example 1 Similar to Example 1, the three-point bending strength, relative density, dimensional accuracy, and the crystal structure and composition of the phases constituting the model were analyzed for each of the ceramic articles of Example 5 and Example 6. The evaluation results are shown in Table 1 together with the results of Example 1.
  • the ceramic articles of Examples 5 and 6 had the same phase-separated structure as that of Example 1. That is, a phase composed of Al 2 O 3 , a phase composed of Gd AlO 3 (composite compound 1), a phase composed of Gd 4 Al 2 O 9 (composite compound 2), a phase composed of Gd 2 O 3 , and a fluorite structure. It contained five phases containing zirconium oxide as the main component.
  • the main metal elements constituting the zirconium oxide-based phase of the fluorite structure were Zr, Gd, and Tb.
  • Example 7 and Example 8 Prepare SiO 2 powder with an average particle size of about 38 ⁇ m and Tb 4 O 7 powder with an average particle size of 4 ⁇ m.
  • Si is 96.5 mol% in terms of oxide
  • Tb is 3.5 mol% in terms of oxide.
  • Each powder was weighed so as to be.
  • Each weighing powder was mixed with a dry ball mill for 30 minutes to obtain a mixed powder (raw material powder).
  • the content of aluminum oxide was less than 1 mol%.
  • Example 7 5 mm as the modeled objects of Examples 7 and 8 in the same manner as in Example 1 except that the output of the laser beam was 47.5 W, the drawing speed was 60 mm / s, and the drawing pitch was 80 ⁇ m.
  • a rectangular parallelepiped of ⁇ 42 mm ⁇ 6 mm was produced.
  • the surface of the modeled object was observed with an optical microscope, the modeled object was porous, and the Ra of the portion of the surface of the modeled object excluding the irregular holes was 20 ⁇ m or less.
  • the produced model was separated from the alumina base, and polished to obtain a W40 mm ⁇ D4 mm ⁇ H3 mm model for a three-point bending strength test.
  • An aluminum oxide-containing liquid was used as the metal component-containing liquid. Silicon oxide and aluminum oxide, which are the main components of the model, are in a eutectic relationship. Alumina fine particles with an average particle size of 25 nm (manufactured by Kanto Chemical Co., Inc.), 2-hydroxyethyl acrylate and 3-acryloxypropyltrimethoxysilane as dispersants, and methyl ethyl ketone as a solvent are used. The content of alumina in the dispersion is 70% by weight. The mixture was mixed so as to obtain the following, and the mixture was uniformly stirred to obtain an aluminum oxide-containing liquid 1.
  • the aluminum oxide-containing liquid 1 was absorbed by the modeled object processed for testing, degassed under reduced pressure for 1 minute, impregnated with the solution to the inside of the modeled object, and then naturally dried for 1 hour (step (ii)). ..
  • the modeled object that had absorbed the aluminum oxide-containing liquid 1 was placed in an electric furnace and heated. In the atmosphere, the temperature was raised to 1610 ° C., which is above the eutectic point of silicon oxide and aluminum oxide and below the melting point of silicon oxide, in 2.5 hours, held at 1610 ° C. for 50 minutes, and then energization was terminated to 5.0. It was cooled to 200 ° C. or lower in time (step (iii)).
  • Example 7 the step of allowing the modeled object to absorb the aluminum oxide-containing liquid 1 (step (iii)) and the heat treatment step (step (iii)) were alternately repeated twice to prepare five ceramic articles.
  • Example 8 alumina fine particles (manufactured by Kanto Chemical Co., Inc.) having an average particle size of 25 nm were calcined at 1100 ° C. and then pulverized to prepare aluminum oxide particles having an average particle size of 90 nm. Used as a raw material.
  • Five ceramic articles of Example 8 were produced in the same manner as in Example 7 except that the aluminum oxide particles were changed.
  • Example 7 Similar to Example 1, the three-point bending strength, relative density, dimensional accuracy, and the crystal structure and composition of the phases constituting the model were analyzed for each of the ceramic articles of Example 7 and Example 8. The results of Example 7 and Example 8 are shown in Table 1.
  • the dimensional accuracy of the ceramic article was excellent at 1% or less. Further, as in the case of the modeled object of the other examples, the shape of the modeled object did not change substantially before and after the step (ii) and the step (iii), and the similar shape was maintained.
  • the ceramic articles of Examples 7 and 8 had a phase-separated structure containing a SiO 2 (cristobalite) phase, a Si 2 Tb 2 O 7 phase, and a phase consisting of Al 2 O 3. Further, the composite oxide of nonstoichiometric consisting Al 2 O 3 -SiO 2 were also present. Si 2 Tb 2 composite oxide O 7 phase and Al 2 O 3 consisting -SiO 2 nonstoichiometric corresponds to the phase of the two types of complex oxides, Al 2 O 3 phase, inorganic particles of a metal component-containing liquid Corresponds to the phase of origin.
  • Example 1 In the same manner as in Example 1, five shaped objects of W40 mm ⁇ D4 mm ⁇ H3 mm were produced. When the surface of the modeled object was observed with an optical microscope, the uneven Ra of the surface of the modeled object was 20 ⁇ m or less.
  • Example 1 For the modeled product of Comparative Example 1, the crystal structure and composition of the phases constituting the three-point bending strength and relative density modeled product were evaluated in the same manner as in Example 1. Table 1 shows the evaluation results of the three-point bending strength and the relative density. In Comparative Example 1, since the heating step (step (iii)) was not carried out, a partially amorphous region was present. Therefore, the particle size evaluation is performed only on the crystal part.
  • the modeled product of Comparative Example 1 was mainly composed of a phase composed of Al 2 O 3 , a phase composed of Gd AlO 3 , a Gd 2 O 3 phase which is an undissolved raw material, and an amorphous phase having a fluctuation in composition. .. Cracks depending on the drawing direction of the laser beam were formed in the modeled object of Comparative Example 1. That is, there were cracks extending in a direction at an angle of approximately 45 degrees with respect to each side of the rectangle. The width of the crack was several nm to several ⁇ m.
  • step (iii)) of absorbing the inorganic oxide metal component-containing liquid into the obtained modeled product was omitted and only the step (iii) was carried out.
  • An article of W40 mm ⁇ D4 mm ⁇ H3 mm was prepared for the strength test. That is, after modeling, the modeled object was placed in an electric furnace and only heat-treated. Five ceramic articles were produced by repeating the steps of raising the temperature to 1670 ° C. in the air atmosphere for 2.5 hours, holding the temperature at 1670 ° C. for 50 minutes, ending the energization, and cooling by natural cooling three times.
  • Example 2 Similar to Example 1, the ceramic article of Comparative Example 2 was also analyzed for its three-point bending strength, relative density, and the crystal structure and composition of the phases constituting the ceramic article.
  • Table 1 shows the measurement results of 3-point bending strength and relative density.
  • the ceramic article of Comparative Example 2 the phase made of Al 2 O 3
  • the comparative ceramic article of Comparative Example 2 cracks depending on the drawing direction of the laser beam remained. That is, cracks extending in a direction at an angle of approximately 45 degrees with respect to each side of the rectangle remained.
  • the width of the crack was several nm to several ⁇ m.
  • Comparative Example 3 and Comparative Example 4 An ⁇ -Al 2 O 3 powder having an average particle size of about 20 ⁇ m was prepared. When the composition of the raw material powder was analyzed by ICP emission spectroscopic analysis, the content of zirconium oxide was less than 1 mol%. Next, five shaped objects according to Comparative Example 3 and Comparative Example 4 were produced through the same steps as in FIGS. 1A to 1H described above.
  • the shape of the modeled object was adjusted to W40 mm x D4 mm x H3 mm by polishing.
  • the surface of the modeled object after polishing was observed with an optical microscope, cracks depending on the drawing direction of the laser beam were formed. That is, there were cracks extending in a direction at an angle of approximately 45 degrees with respect to each side of the rectangle.
  • Fe 2 O 3 particles manufactured by Kanto Chemical Co., Inc. having a particle size of 25 nm were mixed with 2-hydroxyethyl acrylate and 3-acryloxypropyltrimethoxysilane as dispersants, and the mixture was uniformly stirred.
  • Propylene glycol monomethyl ether acetate was added as a solvent so that the iron oxide content in the dispersion was 70% by weight, and the mixture was uniformly stirred to obtain an iron oxide-containing liquid.
  • aluminum oxide which is a component constituting the modeled product of this comparative example, and iron oxide in the dispersion liquid do not form eutectics.
  • the maximum temperature of the heat treatment was set to 1800 ° C., which is higher than 1700 ° C. at which a phase change occurs, with reference to the state diagram of the Al 2 O 3- Fe 2 O 3 system.
  • the iron oxide-containing liquid was absorbed into the modeled object under the same conditions as in Example 1, and then heat-treated to obtain five ceramic articles.
  • Comparative Example 4 five ceramic articles were produced in the same manner as in Comparative Example 3 except that the maximum temperature of the heat treatment was set to 1650 ° C., which is lower than 1700 ° C. at which the phase change of the Al2O3-Fe2O3 system occurs.
  • the dimensional accuracy of the ceramic articles of Comparative Example 3 and Comparative Example 4 was 1% or less.
  • the ceramic article of Comparative Example 3 was composed of (Al, Fe) 2 O 3 having a corundum structure, and a large amount of Fe was detected in the vicinity of the crack, and no phase-separated structure was observed.
  • Most of the ceramic articles of Comparative Example 4 were composed of Al 2 O 3 having a corundum structure, and Al Fe 2 O 4 having a spinel structure was partially formed in the vicinity of the crack.
  • Example 5 For the ceramic article of Comparative Example 5, the three-point bending strength, the relative density, and the crystal structure and composition of the phases constituting the ceramic article for comparison were analyzed in the same manner as in Example 7. The measurement results are shown in Table 1.
  • the ceramic article of Comparative Example 5 was composed of two phases , a SiO 2 (cristobalite) phase and a Si 2 Tb 2 O 7 phase. Further, in the ceramic article of Comparative Example 5, cracks extending in a direction at an angle of approximately 45 degrees with respect to each side of the square remained, depending on the drawing direction of the laser beam. The width of the crack was several nm to several ⁇ m.
  • the ceramic articles whose main component is aluminum oxide according to Examples 1 to 6 produced by using the metal component-containing liquid of the present invention are Comparative Examples 1 to 4 in which the metal component-containing liquid of the present invention was not used. Compared with the ceramic articles of No. 1, the three-point bending strength was greatly improved. From this, it was confirmed that the mechanical strength of the modeled object can be greatly improved by using the metal component-containing liquid according to the present invention.
  • Comparative Examples 3 and 4 produced using a metal component-containing liquid containing particles containing iron oxide as a main component, which does not form a eutectic with aluminum oxide constituting the modeled object, cracks remained almost as they were at the time of modeling. Therefore, the high mechanical strength as in Examples 1 to 6 could not be obtained. In Comparative Examples 3 and 4, it is considered that the Fe component in the iron oxide particles was only diffused into the modeled object, and the crack portion was not melted.
  • Examples 1 to 6 using the zirconium oxide metal component-containing liquid which can be eutectic with the aluminum oxide constituting the modeled object melting occurs only in the vicinity of the crack, and the shape and dimensions of the modeled object are maintained. It is considered that the cracks were reduced or disappeared. Further, it is considered that high mechanical strength (three-point bending strength) of 100 MPa or more was obtained in the ceramic component containing aluminum oxide as a main component because it was recrystallized in the form of incorporating the zirconium oxide particle component.
  • Example 1 in which the integrated time of heat treatment is as short as 30 minutes or less, the particle size of the crystal particles constituting the ceramic article is as small as 10 ⁇ m or less, and the integrated time of heat treatment is as long as 50 minutes in Example 6. Higher mechanical strength was obtained.
  • the ceramic articles containing silicon oxide as a main component in Examples 7 and 8 had relative densities of 82.2% and 80.3%, which were porous. It is presumed that this is due to the high viscosity of the silicon oxide component when it is melted by laser irradiation, resulting in a porous state. Despite the fact that the produced model was porous, mechanical strength of about 20 MPa was obtained by using the metal component-containing liquid of the present invention. On the other hand, Comparative Example 5 in which the dispersion liquid of the present invention was not used had a low 3-point bending strength of 7 MPa.
  • Example 7 using the dispersion liquid having a small particle size obtained higher mechanical strength than Example 8 using the dispersion liquid having a large particle size. It is considered that this is because small particles penetrated deep into the crack and acted.
  • the metal component-containing liquid of the present invention it is possible to improve the mechanical strength of the modeled object while achieving high shape accuracy in additional manufacturing, and it is high even though it has a complicated shape or a fine shape. It becomes possible to obtain a ceramic article having mechanical strength.
  • the present invention it is possible to provide a metal component-containing liquid capable of further improving the mechanical strength of a modeled object while making the best use of the characteristics of the direct modeling method that can obtain a modeled object having a precise and complicated shape. .. Further, it is possible to provide a method for producing a ceramic article using a liquid containing a metal component. Further, the ceramic article according to the present invention can be easily produced by using a ceramic article manufacturing kit containing a powder containing ceramics as a main component and the above-mentioned metal component-containing liquid containing water and metal ions. Can be done.

Landscapes

  • Chemical & Material Sciences (AREA)
  • Engineering & Computer Science (AREA)
  • Manufacturing & Machinery (AREA)
  • Ceramic Engineering (AREA)
  • Materials Engineering (AREA)
  • Organic Chemistry (AREA)
  • Structural Engineering (AREA)
  • Inorganic Chemistry (AREA)
  • Composite Materials (AREA)
  • Mechanical Engineering (AREA)
  • Chemical Kinetics & Catalysis (AREA)
  • General Chemical & Material Sciences (AREA)
  • Physics & Mathematics (AREA)
  • Thermal Sciences (AREA)
  • Compositions Of Oxide Ceramics (AREA)
  • Producing Shaped Articles From Materials (AREA)
  • Powder Metallurgy (AREA)
PCT/JP2020/039560 2019-10-23 2020-10-21 セラミックス物品の製造方法、金属成分含有液、セラミックス物品製造用キットおよびセラミックス物品 Ceased WO2021079907A1 (ja)

Priority Applications (4)

Application Number Priority Date Filing Date Title
EP20879470.1A EP4049988A4 (en) 2019-10-23 2020-10-21 METHOD FOR MANUFACTURING A CERAMIC ARTICLE, LIQUID CONTAINING A METAL CONSTITUENT, KIT FOR MANUFACTURING A CERAMIC ARTICLE AND CERAMIC ARTICLE
CN202080073122.7A CN114585596B (zh) 2019-10-23 2020-10-21 制造陶瓷制品的方法,含金属成分的液体,制造陶瓷制品的套件和陶瓷制品
US17/715,465 US12264107B2 (en) 2019-10-23 2022-04-07 Method for manufacturing ceramic article, metal component-containing liquid, kit for manufacturing ceramic article, and ceramic article
US19/076,794 US20250206669A1 (en) 2019-10-23 2025-03-11 Method for manufacturing ceramic article, metal component-containing liquid, kit for manufacturing ceramic article, and ceramic article

Applications Claiming Priority (4)

Application Number Priority Date Filing Date Title
JP2019193068 2019-10-23
JP2019-193068 2019-10-23
JP2020-174680 2020-10-16
JP2020174680A JP2021066653A (ja) 2019-10-23 2020-10-16 セラミックス物品の製造方法、金属成分含有液、セラミックス物品製造用キットおよびセラミックス物品

Related Child Applications (1)

Application Number Title Priority Date Filing Date
US17/715,465 Continuation-In-Part US12264107B2 (en) 2019-10-23 2022-04-07 Method for manufacturing ceramic article, metal component-containing liquid, kit for manufacturing ceramic article, and ceramic article

Publications (1)

Publication Number Publication Date
WO2021079907A1 true WO2021079907A1 (ja) 2021-04-29

Family

ID=75620054

Family Applications (1)

Application Number Title Priority Date Filing Date
PCT/JP2020/039560 Ceased WO2021079907A1 (ja) 2019-10-23 2020-10-21 セラミックス物品の製造方法、金属成分含有液、セラミックス物品製造用キットおよびセラミックス物品

Country Status (5)

Country Link
US (2) US12264107B2 (enExample)
EP (1) EP4049988A4 (enExample)
JP (2) JP2021066653A (enExample)
CN (1) CN114585596B (enExample)
WO (1) WO2021079907A1 (enExample)

Families Citing this family (3)

* Cited by examiner, † Cited by third party
Publication number Priority date Publication date Assignee Title
WO2023085385A1 (ja) * 2021-11-12 2023-05-19 キヤノン株式会社 セラミックス構造体およびその製造方法
CN115533020B (zh) * 2022-10-28 2025-11-28 中国航发北京航空材料研究院 一种改性氧化钆材料及其制备方法和应用
CN119430887B (zh) * 2024-12-19 2025-11-04 湖北隆中实验室 一种多氧化物复合刚玉基吸热陶瓷及其制备方法

Citations (11)

* Cited by examiner, † Cited by third party
Publication number Priority date Publication date Assignee Title
JPS62113781A (ja) * 1985-11-12 1987-05-25 日立金属株式会社 セラミツクス焼結体の製造方法
JP2013501701A (ja) * 2009-08-10 2013-01-17 ベゴ・ブレーマー・ゴルトシュレーゲライ・ヴィルヘルム・ヘルプスト・ゲゼルシャフト・ミット・ベシュレンクテル・ハフツング・ウント・コムパニー・コマンディットゲゼルシャフト セラミック又はガラスセラミック物品及び該物品の製造方法
JP2016204244A (ja) * 2014-09-18 2016-12-08 Toto株式会社 反応焼結炭化ケイ素部材の製造方法
WO2019013334A1 (ja) * 2017-07-14 2019-01-17 キヤノン株式会社 セラミックス造形用粉体、セラミックス造形物、およびその製造方法
JP2019081358A (ja) * 2017-10-27 2019-05-30 キヤノン株式会社 造形物の製造方法および造形物
JP2019193068A (ja) 2018-04-24 2019-10-31 パナソニックIpマネジメント株式会社 インターホン装置、インターホンシステム、音量制御方法及びプログラム
WO2019208570A1 (ja) * 2018-04-24 2019-10-31 キヤノン株式会社 セラミックス物品の製造方法及びセラミックス物品
WO2020116568A1 (ja) * 2018-12-06 2020-06-11 キヤノン株式会社 セラミックス物品の製造方法、及びセラミックス物品
JP2020093973A (ja) * 2018-12-06 2020-06-18 キヤノン株式会社 セラミックス物品の製造方法、及びセラミックス物品
JP2020147489A (ja) * 2019-03-08 2020-09-17 キヤノン株式会社 無機化合物からなる物品、および無機化合物からなる物品の製造方法
JP2020174680A (ja) 2014-07-28 2020-10-29 ダグラス・サイエンティフィック・エルエルシー 生体試料及び試薬を分析するための器具

Family Cites Families (5)

* Cited by examiner, † Cited by third party
Publication number Priority date Publication date Assignee Title
US5284695A (en) * 1989-09-05 1994-02-08 Board Of Regents, The University Of Texas System Method of producing high-temperature parts by way of low-temperature sintering
DE19730742C2 (de) * 1997-07-17 2000-03-09 Fraunhofer Ges Forschung Verfahren zur Herstellung eines Silizium enthaltenden nichtoxidischen Keramikformkörpers oder einer solchen Schicht
US6596041B2 (en) * 2000-02-02 2003-07-22 3M Innovative Properties Company Fused AL2O3-MgO-rare earth oxide eutectic abrasive particles, abrasive articles, and methods of making and using the same
JP5577707B2 (ja) * 2010-01-12 2014-08-27 日本軽金属株式会社 アルミニウム合金板と樹脂部材とのレーザー接合方法
JP7011548B2 (ja) * 2017-07-14 2022-01-26 キヤノン株式会社 セラミックス造形用粉体、セラミックス造形物、およびその製造方法

Patent Citations (11)

* Cited by examiner, † Cited by third party
Publication number Priority date Publication date Assignee Title
JPS62113781A (ja) * 1985-11-12 1987-05-25 日立金属株式会社 セラミツクス焼結体の製造方法
JP2013501701A (ja) * 2009-08-10 2013-01-17 ベゴ・ブレーマー・ゴルトシュレーゲライ・ヴィルヘルム・ヘルプスト・ゲゼルシャフト・ミット・ベシュレンクテル・ハフツング・ウント・コムパニー・コマンディットゲゼルシャフト セラミック又はガラスセラミック物品及び該物品の製造方法
JP2020174680A (ja) 2014-07-28 2020-10-29 ダグラス・サイエンティフィック・エルエルシー 生体試料及び試薬を分析するための器具
JP2016204244A (ja) * 2014-09-18 2016-12-08 Toto株式会社 反応焼結炭化ケイ素部材の製造方法
WO2019013334A1 (ja) * 2017-07-14 2019-01-17 キヤノン株式会社 セラミックス造形用粉体、セラミックス造形物、およびその製造方法
JP2019081358A (ja) * 2017-10-27 2019-05-30 キヤノン株式会社 造形物の製造方法および造形物
JP2019193068A (ja) 2018-04-24 2019-10-31 パナソニックIpマネジメント株式会社 インターホン装置、インターホンシステム、音量制御方法及びプログラム
WO2019208570A1 (ja) * 2018-04-24 2019-10-31 キヤノン株式会社 セラミックス物品の製造方法及びセラミックス物品
WO2020116568A1 (ja) * 2018-12-06 2020-06-11 キヤノン株式会社 セラミックス物品の製造方法、及びセラミックス物品
JP2020093973A (ja) * 2018-12-06 2020-06-18 キヤノン株式会社 セラミックス物品の製造方法、及びセラミックス物品
JP2020147489A (ja) * 2019-03-08 2020-09-17 キヤノン株式会社 無機化合物からなる物品、および無機化合物からなる物品の製造方法

Non-Patent Citations (1)

* Cited by examiner, † Cited by third party
Title
See also references of EP4049988A4

Also Published As

Publication number Publication date
US20220227670A1 (en) 2022-07-21
EP4049988A1 (en) 2022-08-31
US20250206669A1 (en) 2025-06-26
CN114585596A (zh) 2022-06-03
US12264107B2 (en) 2025-04-01
EP4049988A4 (en) 2024-03-06
JP2021066653A (ja) 2021-04-30
JP2025105662A (ja) 2025-07-10
CN114585596B (zh) 2024-01-19

Similar Documents

Publication Publication Date Title
JP7383738B2 (ja) セラミックス造形用粉体、セラミックス造形物、およびその製造方法
JP7011548B2 (ja) セラミックス造形用粉体、セラミックス造形物、およびその製造方法
US20250206669A1 (en) Method for manufacturing ceramic article, metal component-containing liquid, kit for manufacturing ceramic article, and ceramic article
US11440850B2 (en) Powder for additive modeling, structure, semiconductor production device component, and semiconductor production device
JP7269084B2 (ja) セラミックス物品の製造方法およびセラミックス物品
JP7557264B2 (ja) セラミックス物品の製造方法、及びセラミックス物品
JP2021066177A (ja) セラミックス物品の製造方法、およびセラミックス物品
JP2011153065A (ja) 着色されたスピネルオプトセラミックス
US20220227021A1 (en) Method for manufacturing ceramic article and ceramic article
WO2020116568A1 (ja) セラミックス物品の製造方法、及びセラミックス物品
Vorona et al. Reactive sintering of highly-doped YAG/Nd3+: YAG/YAG composite ceramics
JP2004091271A (ja) 透明もしくは透光性セラミックスおよびその製造方法
JP5999030B2 (ja) セラミックス成型体の脱脂方法
JP2022162538A (ja) 付加製造法に用いられる粉末およびそれを用いたセラミックス物品の製造方法
WO2022080318A1 (ja) セラミックス物品の製造方法、それに用いられる金属イオン含有液およびセラミックス物品製造用キット
KR20170078505A (ko) 서스펜션 플라즈마 용사를 이용한 희토류가 저감된 저열전도성 복합산화물 열차폐코팅층의 제조방법
JP2016008163A (ja) 灰色化された酸化物セラミックス焼結体およびその製造方法
US20240294436A1 (en) Ceramic structure and method for manufacturing same
WO2023085384A1 (ja) セラミックス構造体を製造するための粉末
Ni Fabrication of er-doped sesquioxide laser ceramics and their laser performance
Osborne Additively Manufactured Engineered Transparent Ceramics For Laser Gain Media

Legal Events

Date Code Title Description
121 Ep: the epo has been informed by wipo that ep was designated in this application

Ref document number: 20879470

Country of ref document: EP

Kind code of ref document: A1

NENP Non-entry into the national phase

Ref country code: DE

ENP Entry into the national phase

Ref document number: 2020879470

Country of ref document: EP

Effective date: 20220523