WO2021054466A1 - リチウムイオン二次電池用正極活物質およびリチウムイオン二次電池 - Google Patents

リチウムイオン二次電池用正極活物質およびリチウムイオン二次電池 Download PDF

Info

Publication number
WO2021054466A1
WO2021054466A1 PCT/JP2020/035588 JP2020035588W WO2021054466A1 WO 2021054466 A1 WO2021054466 A1 WO 2021054466A1 JP 2020035588 W JP2020035588 W JP 2020035588W WO 2021054466 A1 WO2021054466 A1 WO 2021054466A1
Authority
WO
WIPO (PCT)
Prior art keywords
positive electrode
active material
electrode active
particles
secondary battery
Prior art date
Legal status (The legal status is an assumption and is not a legal conclusion. Google has not performed a legal analysis and makes no representation as to the accuracy of the status listed.)
Ceased
Application number
PCT/JP2020/035588
Other languages
English (en)
French (fr)
Japanese (ja)
Inventor
徹太郎 林
嵩凱 黄
敏弘 加藤
Current Assignee (The listed assignees may be inaccurate. Google has not performed a legal analysis and makes no representation or warranty as to the accuracy of the list.)
Sumitomo Metal Mining Co Ltd
Original Assignee
Sumitomo Metal Mining Co Ltd
Priority date (The priority date is an assumption and is not a legal conclusion. Google has not performed a legal analysis and makes no representation as to the accuracy of the date listed.)
Filing date
Publication date
Application filed by Sumitomo Metal Mining Co Ltd filed Critical Sumitomo Metal Mining Co Ltd
Priority to US17/761,772 priority Critical patent/US12315924B2/en
Priority to JP2021546998A priority patent/JP7588594B2/ja
Priority to CN202080065824.0A priority patent/CN114514636B/zh
Priority to EP20866052.2A priority patent/EP4032860A4/en
Publication of WO2021054466A1 publication Critical patent/WO2021054466A1/ja
Anticipated expiration legal-status Critical
Priority to JP2023220488A priority patent/JP2024038149A/ja
Ceased legal-status Critical Current

Links

Images

Classifications

    • HELECTRICITY
    • H01ELECTRIC ELEMENTS
    • H01MPROCESSES OR MEANS, e.g. BATTERIES, FOR THE DIRECT CONVERSION OF CHEMICAL ENERGY INTO ELECTRICAL ENERGY
    • H01M4/00Electrodes
    • H01M4/02Electrodes composed of, or comprising, active material
    • H01M4/36Selection of substances as active materials, active masses, active liquids
    • H01M4/48Selection of substances as active materials, active masses, active liquids of inorganic oxides or hydroxides
    • H01M4/52Selection of substances as active materials, active masses, active liquids of inorganic oxides or hydroxides of nickel, cobalt or iron
    • H01M4/525Selection of substances as active materials, active masses, active liquids of inorganic oxides or hydroxides of nickel, cobalt or iron of mixed oxides or hydroxides containing iron, cobalt or nickel for inserting or intercalating light metals, e.g. LiNiO2, LiCoO2 or LiCoOxFy
    • CCHEMISTRY; METALLURGY
    • C01INORGANIC CHEMISTRY
    • C01GCOMPOUNDS CONTAINING METALS NOT COVERED BY SUBCLASSES C01D OR C01F
    • C01G53/00Compounds of nickel
    • C01G53/80Compounds containing nickel, with or without oxygen or hydrogen, and containing one or more other elements
    • C01G53/82Compounds containing nickel, with or without oxygen or hydrogen, and containing two or more other elements
    • CCHEMISTRY; METALLURGY
    • C01INORGANIC CHEMISTRY
    • C01GCOMPOUNDS CONTAINING METALS NOT COVERED BY SUBCLASSES C01D OR C01F
    • C01G53/00Compounds of nickel
    • C01G53/40Complex oxides containing nickel and at least one other metal element
    • C01G53/42Complex oxides containing nickel and at least one other metal element containing alkali metals, e.g. LiNiO2
    • C01G53/44Complex oxides containing nickel and at least one other metal element containing alkali metals, e.g. LiNiO2 containing manganese
    • C01G53/50Complex oxides containing nickel and at least one other metal element containing alkali metals, e.g. LiNiO2 containing manganese of the type (MnO2)n-, e.g. Li(NixMn1-x)O2 or Li(MyNixMn1-x-y)O2
    • HELECTRICITY
    • H01ELECTRIC ELEMENTS
    • H01MPROCESSES OR MEANS, e.g. BATTERIES, FOR THE DIRECT CONVERSION OF CHEMICAL ENERGY INTO ELECTRICAL ENERGY
    • H01M10/00Secondary cells; Manufacture thereof
    • H01M10/05Accumulators with non-aqueous electrolyte
    • H01M10/052Li-accumulators
    • H01M10/0525Rocking-chair batteries, i.e. batteries with lithium insertion or intercalation in both electrodes; Lithium-ion batteries
    • HELECTRICITY
    • H01ELECTRIC ELEMENTS
    • H01MPROCESSES OR MEANS, e.g. BATTERIES, FOR THE DIRECT CONVERSION OF CHEMICAL ENERGY INTO ELECTRICAL ENERGY
    • H01M4/00Electrodes
    • H01M4/02Electrodes composed of, or comprising, active material
    • H01M4/36Selection of substances as active materials, active masses, active liquids
    • H01M4/48Selection of substances as active materials, active masses, active liquids of inorganic oxides or hydroxides
    • H01M4/50Selection of substances as active materials, active masses, active liquids of inorganic oxides or hydroxides of manganese
    • H01M4/502Selection of substances as active materials, active masses, active liquids of inorganic oxides or hydroxides of manganese for non-aqueous cells
    • HELECTRICITY
    • H01ELECTRIC ELEMENTS
    • H01MPROCESSES OR MEANS, e.g. BATTERIES, FOR THE DIRECT CONVERSION OF CHEMICAL ENERGY INTO ELECTRICAL ENERGY
    • H01M4/00Electrodes
    • H01M4/02Electrodes composed of, or comprising, active material
    • H01M4/36Selection of substances as active materials, active masses, active liquids
    • H01M4/48Selection of substances as active materials, active masses, active liquids of inorganic oxides or hydroxides
    • H01M4/50Selection of substances as active materials, active masses, active liquids of inorganic oxides or hydroxides of manganese
    • H01M4/505Selection of substances as active materials, active masses, active liquids of inorganic oxides or hydroxides of manganese of mixed oxides or hydroxides containing manganese for inserting or intercalating light metals, e.g. LiMn2O4 or LiMn2OxFy
    • CCHEMISTRY; METALLURGY
    • C01INORGANIC CHEMISTRY
    • C01PINDEXING SCHEME RELATING TO STRUCTURAL AND PHYSICAL ASPECTS OF SOLID INORGANIC COMPOUNDS
    • C01P2002/00Crystal-structural characteristics
    • C01P2002/50Solid solutions
    • C01P2002/52Solid solutions containing elements as dopants
    • CCHEMISTRY; METALLURGY
    • C01INORGANIC CHEMISTRY
    • C01PINDEXING SCHEME RELATING TO STRUCTURAL AND PHYSICAL ASPECTS OF SOLID INORGANIC COMPOUNDS
    • C01P2002/00Crystal-structural characteristics
    • C01P2002/60Compounds characterised by their crystallite size
    • CCHEMISTRY; METALLURGY
    • C01INORGANIC CHEMISTRY
    • C01PINDEXING SCHEME RELATING TO STRUCTURAL AND PHYSICAL ASPECTS OF SOLID INORGANIC COMPOUNDS
    • C01P2004/00Particle morphology
    • C01P2004/50Agglomerated particles
    • CCHEMISTRY; METALLURGY
    • C01INORGANIC CHEMISTRY
    • C01PINDEXING SCHEME RELATING TO STRUCTURAL AND PHYSICAL ASPECTS OF SOLID INORGANIC COMPOUNDS
    • C01P2004/00Particle morphology
    • C01P2004/51Particles with a specific particle size distribution
    • CCHEMISTRY; METALLURGY
    • C01INORGANIC CHEMISTRY
    • C01PINDEXING SCHEME RELATING TO STRUCTURAL AND PHYSICAL ASPECTS OF SOLID INORGANIC COMPOUNDS
    • C01P2004/00Particle morphology
    • C01P2004/60Particles characterised by their size
    • C01P2004/61Micrometer sized, i.e. from 1-100 micrometer
    • CCHEMISTRY; METALLURGY
    • C01INORGANIC CHEMISTRY
    • C01PINDEXING SCHEME RELATING TO STRUCTURAL AND PHYSICAL ASPECTS OF SOLID INORGANIC COMPOUNDS
    • C01P2006/00Physical properties of inorganic compounds
    • C01P2006/12Surface area
    • CCHEMISTRY; METALLURGY
    • C01INORGANIC CHEMISTRY
    • C01PINDEXING SCHEME RELATING TO STRUCTURAL AND PHYSICAL ASPECTS OF SOLID INORGANIC COMPOUNDS
    • C01P2006/00Physical properties of inorganic compounds
    • C01P2006/14Pore volume
    • CCHEMISTRY; METALLURGY
    • C01INORGANIC CHEMISTRY
    • C01PINDEXING SCHEME RELATING TO STRUCTURAL AND PHYSICAL ASPECTS OF SOLID INORGANIC COMPOUNDS
    • C01P2006/00Physical properties of inorganic compounds
    • C01P2006/16Pore diameter
    • HELECTRICITY
    • H01ELECTRIC ELEMENTS
    • H01MPROCESSES OR MEANS, e.g. BATTERIES, FOR THE DIRECT CONVERSION OF CHEMICAL ENERGY INTO ELECTRICAL ENERGY
    • H01M4/00Electrodes
    • H01M4/02Electrodes composed of, or comprising, active material
    • H01M2004/021Physical characteristics, e.g. porosity, surface area
    • HELECTRICITY
    • H01ELECTRIC ELEMENTS
    • H01MPROCESSES OR MEANS, e.g. BATTERIES, FOR THE DIRECT CONVERSION OF CHEMICAL ENERGY INTO ELECTRICAL ENERGY
    • H01M4/00Electrodes
    • H01M4/02Electrodes composed of, or comprising, active material
    • H01M2004/026Electrodes composed of, or comprising, active material characterised by the polarity
    • H01M2004/028Positive electrodes
    • YGENERAL TAGGING OF NEW TECHNOLOGICAL DEVELOPMENTS; GENERAL TAGGING OF CROSS-SECTIONAL TECHNOLOGIES SPANNING OVER SEVERAL SECTIONS OF THE IPC; TECHNICAL SUBJECTS COVERED BY FORMER USPC CROSS-REFERENCE ART COLLECTIONS [XRACs] AND DIGESTS
    • Y02TECHNOLOGIES OR APPLICATIONS FOR MITIGATION OR ADAPTATION AGAINST CLIMATE CHANGE
    • Y02EREDUCTION OF GREENHOUSE GAS [GHG] EMISSIONS, RELATED TO ENERGY GENERATION, TRANSMISSION OR DISTRIBUTION
    • Y02E60/00Enabling technologies; Technologies with a potential or indirect contribution to GHG emissions mitigation
    • Y02E60/10Energy storage using batteries

Definitions

  • the present invention relates to a positive electrode active material for a lithium ion secondary battery made of a lithium transition metal-containing composite oxide, and a lithium ion secondary battery using the positive electrode active material for a lithium ion secondary battery as a positive electrode material.
  • This lithium ion secondary battery is composed of a negative electrode, a positive electrode, a non-aqueous electrolyte, a solid electrolyte, and the like, and the active material used as the material for the negative electrode and the positive electrode includes a material capable of desorbing and inserting lithium.
  • the non-aqueous electrolyte includes a non-aqueous electrolyte solution obtained by dissolving the supporting salt lithium salt in an organic solvent
  • the solid electrolyte includes an inorganic or organic solid electrolyte that is nonflammable and has lithium ion conductivity. is there.
  • the lithium ion secondary battery using a lithium transition metal-containing composite oxide having a layered rock salt type or spinel type crystal structure as a positive electrode material has a high energy because a 4V class voltage can be obtained.
  • Research and development and practical application are being promoted as a battery having a density.
  • Lithium cobalt composite oxide (LiCoO 2 ), which is relatively easy to synthesize, lithium nickel composite oxide (LiNiO 2 ) using nickel, which is cheaper than cobalt, and lithium nickel manganese cobalt, are used as positive electrode materials for lithium ion secondary batteries.
  • Composite oxide LiNi 1/3 Mn 1/3 Co 1/3 O 2
  • lithium manganese composite oxide using manganese LiMn 2 O 4
  • lithium nickel manganese composite oxide LiNi 0.5 Mn 0.
  • a positive electrode active material composed of a lithium transition metal-containing composite oxide such as 5 O 2 has been proposed.
  • lithium transition metal-containing composite oxides at least nickel, manganese, and as transition metals containing lithium nickel manganese cobalt composite oxide (LiNi 1/3 Mn 1/3 Co 1/3 O 2), and
  • the ternary positive electrode active material made of lithium nickel manganese cobalt-containing composite oxide (NMC) containing cobalt has excellent thermal stability, high capacity, good cycle characteristics of battery capacity, and low resistance. It is attracting attention as a material that can obtain high output.
  • the lithium nickel manganese cobalt composite oxide is a compound having a layered rock salt type crystal structure like the lithium cobalt composite oxide and the lithium nickel composite oxide.
  • the emphasis is on increasing the output by reducing the internal resistance.
  • high output is required at a high level by further reducing internal resistance.
  • the particle size is small and the particle size distribution is narrow. It is important that it is composed of particles. Particles with a small particle size have a large specific surface area, can sufficiently secure a reaction area with an electrolyte when used as a positive electrode active material, have a thin positive electrode, and are between the positive electrode and the negative electrode of lithium ions. The moving distance of the can be shortened. Therefore, it is possible to reduce the positive electrode resistance by using particles having a small particle size. Further, by using particles having a narrow particle size distribution, the voltage applied to the particles can be made uniform in the electrode, so that it is possible to suppress a decrease in battery capacity due to selective deterioration of the particles.
  • the particle structure of the lithium transition metal-containing composite oxide In order to further improve the output characteristics, research and development are also underway to improve the particle structure of the lithium transition metal-containing composite oxide. For example, in order to improve the output characteristics, it is considered effective to form a space in which the electrolyte can penetrate inside the positive electrode active material. By adopting such a structure, the reaction area with the electrolyte can be increased as compared with the positive electrode active material having a solid structure having the same particle size, so that the positive electrode resistance can be significantly reduced. It will be possible. It is known that the positive electrode active material inherits the particle properties of the transition metal-containing composite hydroxide that is the precursor thereof. That is, in order to obtain a positive electrode active material having a space, it is necessary to appropriately control the particle size, particle size distribution, particle structure, etc. of the secondary particles of the transition metal-containing composite hydroxide which is the precursor thereof. You will need it.
  • Japanese Patent Application Laid-Open No. 2012-246199 and WO2012 / 131818 are described by a crystallization reaction clearly separated into two stages, a nuclear formation step mainly for nuclear formation and a particle growth step mainly for particle growth.
  • a method for producing transition metal-containing composite hydroxide particles as a precursor of a positive electrode active material is disclosed. In these methods, the pH value and the reaction atmosphere in the nucleation step and the particle growth step are appropriately adjusted, so that the particle size distribution is narrow with a small particle size, and the central part having a low density composed of fine primary particles and the plate shape.
  • transition metal-containing composite hydroxide particles composed of a high-density outer shell composed of needle-shaped primary particles are obtained, and the positive electrode active material obtained from such composite hydroxide particles has a hollow structure. It has a large contact area with the electrolytic solution, which makes it possible to improve the output characteristics.
  • the pH value of an aqueous solution for nucleation containing at least a metal compound containing a transition metal and an ammonium ion feeder is 12.0 or more and 14.0 or less.
  • the pH value of the nucleation step of controlling and nucleating and the aqueous solution for particle growth containing the generated nuclei is lower than the pH value of the nucleation step and is 10.5 or more and 12.0 or less. It is equipped with a particle growth step that controls and grows so that the nucleation step and the initial stage of the particle growth step are set to a non-oxidizing atmosphere, and after switching to an oxidizing atmosphere at a predetermined timing in the particle growing step, the atmosphere is changed again.
  • a method for producing a transition metal-containing composite hydroxide particle which comprises performing an atmosphere control for switching to a non-oxidizing atmosphere at least once. According to this method, it has a small particle size, a narrow particle size distribution, and a central portion formed by agglomeration of plate-like or needle-like primary particles, and is formed by agglomeration of fine primary particles on the outside of the central portion. It is said that it is possible to obtain transition metal-containing composite hydroxide particles having two laminated structures in which the formed low-density layer and the high-density layer formed by aggregating plate-shaped primary particles are alternately laminated.
  • the positive electrode active material using these transition metal-containing composite hydroxide particles as precursors has a small particle size, a narrow particle size distribution, and a hollow structure or a multilayer structure having a space portion. Therefore, in a secondary battery using these positive electrode active materials, it is possible to improve the battery capacity, output characteristics, and cycle characteristics at the same time.
  • an object of the present invention is to provide a positive electrode active material for a lithium ion secondary battery capable of exhibiting excellent output characteristics when used in a lithium ion secondary battery. ..
  • the lithium transition metal-containing composite oxide particles are composed of secondary particles in which primary particles are aggregated.
  • the secondary particles are 50% cumulative diameter d50 obtained from particle size distribution measurement values of 3.0 ⁇ m or more and 7.0 ⁇ m or less, BET specific surface area of 1.8 m 2 / g or more and 5.5 m 2 / g or less, Pore peak diameter of 0.01 ⁇ m or more and 0.30 ⁇ m or less in the pore portion obtained by the mercury intrusion method, and Log differential pore volume [dV / d (logD)] of 0.2 ml / g or more and 0.6 ml / g or less in the range of the pore peak diameter of 0.01 ⁇ m or more and 0.30 ⁇ m or less.
  • the concentration of the additive element M is measured at a plurality of locations by cross-sectional STEM or TEM-EDX analysis for each of the plurality of primary particles having a primary particle diameter in the range of 0.1 ⁇ m or more and 1.0 ⁇ m or less. Then, when the coefficient of variation of the concentration of the additive element M, which is the value obtained by dividing the standard deviation of the concentration of the additive element M by the average concentration of the additive element M, is calculated, the coefficient of variation is 1.5 or less. ..
  • the 50% cumulative diameter d50 of the secondary particles is preferably 4.0 ⁇ m or more and 6.0 ⁇ m or less.
  • the value of d90 / d10 of the secondary particles is preferably 1.0 or more and 2.0 or less.
  • the secondary particles have an agglomerate portion, one or more communication holes communicating with the outer peripheral portion of the agglomeration portion, and two or more space portions existing inside the agglomeration portion and communicating with the communication hole. Is preferable.
  • the number of the communication holes is preferably two or more. It is preferable that the two or more space portions communicate with the communication hole or another space portion.
  • the additive element M is preferably one or more selected from Mg, Al, Si, Ti, Zr, Nb, Mo, and W.
  • the additive element M is preferably W.
  • the lithium ion secondary battery according to the embodiment of the present invention includes a positive electrode, a negative electrode, a separator, and a non-aqueous electrolyte (non-aqueous electrolyte secondary battery), or includes a positive electrode, a negative electrode, and a solid electrolyte (solid electrolyte secondary).
  • non-aqueous electrolyte secondary battery or includes a positive electrode, a negative electrode, and a solid electrolyte (solid electrolyte secondary).
  • solid electrolyte secondary solid electrolyte secondary
  • the lithium ion secondary battery to which the positive electrode active material for the lithium ion secondary battery according to the embodiment of the present invention is applied can provide high output characteristics, and thus its industrial significance is very high. large.
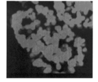
  • FIG. 1 is an SEM photograph of a cross section of secondary particles constituting the positive electrode active material for a lithium ion secondary battery according to the first embodiment of the present invention.
  • FIG. 2 is an SEM photograph of a cross section of secondary particles constituting the positive electrode active material for a lithium ion secondary battery of Comparative Example 1.
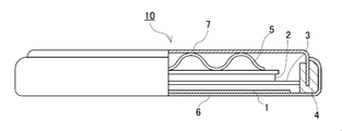
  • FIG. 3 is a schematic cross-sectional view of a 2032 type coin-shaped battery used for battery evaluation.
  • FIG. 4 is a graph showing a measurement example of impedance evaluation.
  • FIG. 5 is a schematic explanatory diagram of the equivalent circuit used in the analysis.
  • positive electrode active material for lithium ion secondary battery
  • positive electrode active material is a lithium transition metal-containing composite oxide particle (hereinafter referred to as “positive electrode active material”). It is characterized by being composed of (referred to as "composite oxide particles") and satisfying the following requirements (1) to (7).
  • the value of u indicating an excess amount of lithium (Li) is in the range of ⁇ 0.05 or more and 0.5 or less. It is preferably in the range of 0 or more and 0.50 or less, and more preferably in the range of 0 or more and 0.35 or less.
  • the value of u is less than ⁇ 0.05, the positive electrode resistance of the secondary battery becomes large, so that it may not be possible to improve the output characteristics. If it exceeds 0.5, not only the initial discharge capacity decreases, but also the positive electrode resistance may increase.
  • Nickel (Ni) is an element that contributes to high potential and high capacity of secondary batteries, and the value of x indicating its content is in the range of 0.3 or more and 0.9 or less. It is preferably in the range of 0.4 or more and 0.7 or less, and more preferably in the range of 0.4 or more and 0.6 or less. If the value of x is less than 0.3, it may not be possible to sufficiently improve the energy density of the secondary battery using this positive electrode active material. If the value of x exceeds 0.9, the content of other elements that improve the output characteristics and durability characteristics decreases, and there is a possibility that the characteristics as a positive electrode active material cannot be sufficiently obtained.
  • Manganese (Mn) is an element that contributes to the improvement of thermal stability, and the value of y indicating its content is in the range of 0 or more and 0.5 or less. It is preferably in the range of 0.1 or more and 0.4 or less. If the value of y exceeds 0.5, Mn may elute from the positive electrode active material during high temperature operation, and the charge / discharge cycle characteristics may deteriorate.
  • Co Co is an element that contributes to the improvement of charge / discharge cycle characteristics and output characteristics, and the value of z indicating its content is in the range of 0 or more and 0.5 or less. It is preferably in the range of 0.1 or more and 0.4 or less. If the value of z exceeds 0.5, the initial discharge capacity of the secondary battery using this positive electrode active material may decrease.
  • the positive electrode active material of the present invention can contain the following additive element M.
  • the additive element M include magnesium (Mg), aluminum (Al), silicon (Si), calcium (Ca), titanium (Ti), vanadium (V), chromium (Cr), zirconium (Zr), and niobium (Nb). , Molybdenum (Mo), Hafnium (Hf), Titanium (Ta), and Titanium (W).
  • the additive element M is preferably at least one selected from the group consisting of Mg, Al, Si, Ti, Zr, Nb, Mo, and W, and more preferably W.
  • the value of t indicating the content of the additive element M is in the range of more than 0 and 0.05 or less. It is preferably in the range of 0.001 or more and 0.03 or less. When the value of t exceeds 0.05, the metal elements that contribute to the Redox reaction decrease, so that the battery capacity of the secondary battery decreases.
  • the additive element M may be dispersed inside the composite oxide particles, or may cover the surface of the composite oxide particles. In any case, it is preferable to control the content of the additive element M so as to be within the above range.
  • the composite oxide particles of the present invention are preferably composed of a lithium nickel manganese cobalt-containing composite oxide (NMC) containing Ni, Mn, and Co as a main transition metal.
  • NMC lithium nickel manganese cobalt-containing composite oxide
  • M is Mg, Al, Si, Ca, Ti, V, Cr, Zr, It is preferable to have a composition of one or more additive elements selected from Nb, Mo, Hf, Ta, and W).
  • composition of the positive electrode active material can be confirmed by inductively coupled plasma emission spectrometry, Rietveld analysis of the parameters obtained by powder X-ray diffraction, and the like.
  • the positive electrode active material of the present invention has the composition of the above general formula (A) or general formula (B), it is a layered rock salt type and has a hexagonal crystal structure.
  • the composite oxide particles are composed of secondary particles formed by aggregating a plurality of primary particles.
  • the secondary particles have an agglomerate portion, one or more communication holes communicating with the outer peripheral portion of the agglomeration portion, and two or more space portions existing inside the agglomeration portion and communicating with the communication hole. Is preferable.
  • the two or more space portions communicate with the communication hole or another space portion.
  • the number of the communication holes is also preferably two or more.
  • the composite oxide particles have such a secondary particle structure, it is possible to easily realize the particle properties of the positive electrode active material of the present invention, which will be described later.
  • each of the two or more internal space portions can directly communicate with the communication holes on the outer peripheral portion. Alternatively, it can communicate with the communication hole on the outer peripheral portion through another communication hole.
  • the electrolyte sufficiently penetrates into the space inside the particle through the communication hole on the outer periphery, so that lithium can be desorbed and inserted not only on the surface of the particle but also inside the particle. Therefore, a sufficient reaction field is secured, and the internal resistance of the battery can be significantly reduced.
  • a lithium ion secondary battery is constructed by using a positive electrode active material having such a structure as a positive electrode material, it is possible to further improve the output characteristics.
  • the secondary particles have a 50% cumulative diameter d50 determined from a particle size distribution measurement value of 3.0 ⁇ m or more and 7.0 ⁇ m or less.
  • the 50% cumulative diameter d50 of the secondary particles is preferably 4.0 ⁇ m or more and 6.5 ⁇ m or less, and more preferably 4.0 ⁇ m or more and 6.0 ⁇ m or less.
  • the 50% cumulative diameter d50 is a particle size (total volume is 100) in which the cumulative volume obtained from the volume integrated value measured by the laser light diffraction scattering type particle size analyzer is 50% of the total volume of all particles.
  • the cumulative curve of the particle size distribution is obtained in%, the particle size at the point where this cumulative curve is 50%).
  • the d50 of the particles constituting the positive electrode active material is within the above range, not only the battery capacity per unit volume of the secondary battery using this positive electrode active material can be increased, but also the safety and output characteristics are improved. can do.
  • the 50% cumulative diameter d50 is less than 3.0 ⁇ m, the filling property of the positive electrode active material may decrease and the battery capacity per unit volume may not be increased. If the 50% cumulative diameter d50 exceeds 7.0 ⁇ m, the reaction area of the positive electrode active material is reduced and the interface with the electrolyte is reduced, which may make it difficult to improve the output characteristics.
  • the secondary particles have a BET specific surface area of 1.8 m 2 / g or more and 5.5 m 2 / g or less.
  • the BET specific surface area is preferably 2.0 m 2 / g or more and 5.0 m 2 / g or less, and more preferably 2.5 m 2 / g or more and 4.5 m 2 / g or less.
  • the BET specific surface area of the secondary particles is an index showing the particle properties (contact area with the electrolyte) of the positive electrode active material.
  • the secondary particles have an agglomerate portion, one or more communication holes communicating with the outer peripheral portion of the agglomeration portion, and two or more space portions existing inside the agglomeration portion and communicating with the communication hole.
  • the BET specific surface area represents the surface area including the communication holes (openings) existing in the outer peripheral portion of the secondary particles and the fine cavities (spaces) inside the secondary particles.
  • the BET specific surface area is measured by the BET method by adsorbing nitrogen gas.
  • the BET specific surface area of the secondary particles is less than 1.8 m 2 / g, a sufficient reaction area with the electrolyte cannot be secured when a secondary battery is constructed using this positive electrode active material, and the output It may not improve the properties sufficiently. If the BET specific surface area of the secondary particles exceeds 5.5 m 2 / g, the reaction area between the positive electrode active material and the electrolyte becomes too large, and the durability of the secondary battery may decrease.
  • the secondary particles have a pore peak diameter of 0.01 ⁇ m or more and 0.30 ⁇ m or less in the pore portion obtained by the mercury intrusion method.
  • the pore peak diameter is preferably 0.02 ⁇ m or more and 0.28 ⁇ m or less, and more preferably 0.05 ⁇ m or more and 0.25 ⁇ m or less.
  • the pore peak diameter is defined as the diameter in which the pore peak exists in the pore distribution plot obtained by obtaining the pore distribution plot of the secondary particles by the mercury intrusion method.
  • the pore peak diameter of the secondary particles is an index showing the particle properties (average pore diameter) of the positive electrode active material. More specifically, when the pore peak diameter of the secondary particles constituting the positive electrode active material is in the above range, it means that the particles are the positive electrode active material having pores.
  • the pore peak diameter of the secondary particles is less than 0.01 ⁇ m, the particle strength cannot be maintained because the pore diameter is small, and the particles may be crushed and the battery performance may be impaired. If the pore peak diameter of the secondary particles exceeds 0.30 ⁇ m, when a secondary battery is constructed using this positive electrode active material, a sufficient reaction area with the electrolyte cannot be sufficiently secured, and the output characteristics are sufficiently exhibited. It may not be.
  • the secondary particles are 0.2 ml / g or more and 0.6 ml / in the range of the pore peak diameter of 0.01 ⁇ m or more and 0.30 ⁇ m or less. It has a log differential pore volume [dV / d (logD)] of g or less.
  • the log differential pore volume is preferably 0.2 ml / g or more and 0.6 ml / g or less, and more preferably 0.25 ml / g or more and 0.5 ml / g or less.
  • the log differential pore volume [dV / d (logD)] at the pore peak diameter is an index showing the particle properties (volume of all cavities) of the positive electrode active material. More specifically, the log differential pore volume [dV / d (logD)] at the pore peak diameter is the respective pore diameter based on the pore distribution plot of the secondary particles obtained by the mercury intrusion method. It is a value in the pore peak diameter in the log differential pore volume distribution obtained by dividing the difference pore volume dV obtained in the above by the difference value d (logD) treated as a logarithm of the pore diameter.
  • the log differential pore volume [dV / d (logD)] is in the above range in the secondary particles constituting the positive electrode active material, an appropriate amount of space is formed inside the particles, which is sufficient. It means that the reaction area can be obtained.
  • the coefficient of variation (CV) indicating the variation of the concentration of the additive element M in the primary particles constituting the secondary particles is 1.5. It is as follows.
  • the coefficient of variation (CV) is preferably 1.3 or less, and more preferably 1.2 or less.
  • the coefficient of variation of the concentration of the additive element M is an index showing the variation in the concentration of the additive element M in the grain in the primary particle and in the entire primary particle including the grain boundary.
  • the coefficient of variation of the concentration of the additive element M is obtained as follows. First, the positive electrode active material is sliced with a focused ion beam device (FIB), an ion milling device, or the like to expose the cross section of the secondary particles. Using a scanning transmission electron microscope (STEM) or a transmission electron microscope (TEM), two connected primary particles having a primary particle size in the range of 0.1 ⁇ m or more and 1.0 ⁇ m or less in the cross section of the secondary particle. By irradiating each of the two primary particles with electron beams at a plurality of locations and performing energy dispersive X-ray analyzer (EDX) analysis on the characteristic X-ray energy of the generated additive element M, respectively. The concentration of the additive element M at the above location is determined.
  • FIB focused ion beam device
  • TEM transmission electron microscope
  • TEM transmission electron microscope
  • the average concentration of the additive element M ( ⁇ ) and the standard deviation ( ⁇ ) of the concentration of the additive element M are obtained.
  • CV coefficient of variation
  • the coefficient of variation (CV) of the concentration of the additive element M exceeds 1.5, the distribution of the additive element M in the primary particles and / or the secondary particles is biased, and the positive electrode active material is used. In the next battery, battery performance such as battery capacity and output characteristics may be impaired.
  • [(d90-d10) / d50] which is an index indicating the spread of the particle size distribution of the secondary particles, is preferably 1.0 or less. It is more preferably 0.7 or less, still more preferably 0.6 or less. Since the positive electrode active material composed of secondary particles having such a narrow particle size distribution has a small proportion of fine particles and coarse particles, a secondary battery using this has all of safety, cycle characteristics, and output characteristics. It will be excellent.
  • the lower limit of [(d90-d10) / d50] is preferably about 0.3.
  • d10 and d90 in the index [(d90-d10) / d50] indicating the spread of the particle size distribution are the same as in the case of d50 described above, and d90 sets the volume of each particle as the particle size.
  • the particle size is cumulative from the smaller side of the particle size, and the cumulative volume is 90% of the total volume of all particles.
  • D10 is the cumulative volume of each particle from the smaller particle size side, and the cumulative volume is the total volume of all particles. It means a particle size that is 10% of the volume.
  • the ratio of the value of d90 to the value of d10 obtained from the measured value of the particle size distribution for the secondary particles (d90 / d10) is 1.0 or more and 2.0. It is preferably 1.2 or more and 1.8 or less, more preferably 1.2 or more.
  • the value of d90 / d10 of the secondary particles constituting the positive electrode active material is in this range, not only the battery capacity per unit volume of the secondary battery using this positive electrode active material can be increased, but also the battery capacity is safe. The properties and output characteristics can also be improved. If the value of d90 / d10 of the secondary particles exceeds 2.0, the reaction area of the positive electrode active material is reduced and the interface with the electrolyte is reduced, which may make it difficult to improve the output characteristics. ..
  • the crystallite diameter obtained from the X-ray diffraction pattern of the (003) plane is arbitrary, but for the composite oxide particles constituting the positive electrode active material of the present invention, half of the peak of the (003) plane by X-ray diffraction.
  • the crystallite diameter of the primary particle is determined from the value range using the Scheller formula, the crystallite diameter is preferably in the range of 300 ⁇ to 1500 ⁇ , more preferably in the range of 400 ⁇ to 1300 ⁇ , and further preferably in the range of 700 ⁇ to 1250 ⁇ . In range.
  • a positive electrode active material having a crystallite diameter in such a range has extremely high crystallinity, can reduce the positive electrode resistance of a secondary battery, and can improve its output characteristics.
  • the crystallite diameter of the (003) plane is less than 300 ⁇ , the primary particles are fine, and the pores existing between the primary particles in the positive electrode active material are too fine, and the electrolyte invades into the positive electrode active material. As a result, the reaction area with the electrolyte is reduced, and the output characteristics of the secondary battery are lowered.
  • the crystallite diameter of the (003) plane exceeds 1500 ⁇ , the primary particles become too coarse, the proportion of pores in the secondary particles is extremely reduced, and the invasion path of the electrolyte is reduced. The reaction area of the secondary battery is reduced, and the output characteristics of the secondary battery are lowered.
  • the positive electrode active material of the present invention is not limited by the production method as long as it has the above-mentioned composition, crystal structure, particle structure, and particle properties. ..
  • the positive electrode active material of the present invention by producing the positive electrode active material of the present invention by the production method described below, it is possible to easily produce the positive electrode active material having the above-mentioned composition, crystal structure, particle structure, and particle properties. ..
  • the positive electrode active material of the present invention switches between an oxidizing atmosphere and a non-oxidizing atmosphere during the crystallization step to prepare a transition metal-containing composite hydroxide such as a nickel manganese cobalt-containing composite hydroxide. Then, it is obtained by mixing the composite hydroxide or heat-treated particles obtained by heat-treating the composite hydroxide with a lithium compound, and firing the obtained lithium mixture.
  • a transition metal-containing composite hydroxide such as a nickel manganese cobalt-containing composite hydroxide.
  • the composite oxide particles are lithium nickel manganese cobalt-containing composite oxide particles as an example.
  • Crystallization step An appropriate amount of water, sodium hydroxide aqueous solution and ammonia water is supplied into the reaction vessel, the pH value is 11 or more and 13 or less based on the liquid temperature of 25 ° C., and the ammonium ion concentration is 9 g / L or more and 15 g / L or less.
  • a pre-reaction aqueous solution adjusted to be.
  • a compound of nickel sulfate, manganese sulfate, cobalt sulfate, and additive element M has a molar ratio of each metal element (Ni, Co, Mn, M) according to the above formula (A).
  • Nickel sulfate, manganese sulfate, and cobalt sulfate should be used to suppress the fluctuation coefficient of the additive element M that dissolves inside the particles and to eliminate the local co-precipitation of the additive element M around the transition metal element.
  • Dissolve in water so that the molar ratio of each metal element (Ni, Co, Mn) satisfies the above formula (A) adjust and add a raw material aqueous solution of 1.0 mol / L or more and 3.0 mol / L or less. It is more preferable to separately prepare an aqueous solution containing the compound of the element M and add it to the raw material aqueous solution so that the amount of the added element M added satisfies the above formula (A).
  • nucleation is performed by supplying the raw material aqueous solution to the pre-reaction aqueous solution while blowing a gas having an oxygen concentration of 2% by volume or less, such as argon gas or nitrogen, in a non-oxidizing atmosphere.
  • a gas having an oxygen concentration of 2% by volume or less such as argon gas or nitrogen
  • an acid such as sulfuric acid is added to adjust the pH value so that the pH value is 10 or more and 12 or less based on the liquid temperature of 25 ° C. and is smaller than the pH value in the nucleation step.
  • Form an aqueous solution for particle growth After confirming that the pH value has reached a predetermined value, the above-mentioned raw material aqueous solution is supplied to grow nuclei (particles) generated in the nucleation step.
  • the aqueous solution containing the compound of the additive element M is separately prepared, the aqueous solution containing the compound of the additive element M is added only in the particle growth step or only in a specific stage of the particle growth step. You can also do it.
  • crystallization in a non-oxidizing atmosphere having an oxygen concentration of 2% by volume or less is continued from the start of the particle growth step while stirring with a stirrer for a certain period of time.
  • a micro-nano bubble generator is used to circulate bubbles of gas having an oxidizing atmosphere consisting of ultrafine air or oxygen in the reaction vessel, and the reaction atmosphere is adjusted to the oxygen concentration. Is adjusted to an oxidizing atmosphere of 21% by volume or more, and the switching operation 1 is performed. After the start of the switching operation 1, crystallization is performed while maintaining an oxidizing atmosphere and stirring with a stirrer for a certain period of time.
  • a micro-nano bubble generator is used to circulate ultrafine gas bubbles having a non-oxidizing atmosphere in the reaction vessel, and the reaction atmosphere has an oxygen concentration of 2% by volume or less.
  • a gas bubble having an extremely fine oxidizing atmosphere is circulated in the reaction vessel using a micro-nano bubble generator, and the reaction atmosphere has an oxygen concentration of 21% by volume or more.
  • a micro-nano bubble generator is used to circulate ultrafine gas bubbles having a non-oxidizing atmosphere in the reaction vessel, and the reaction atmosphere has an oxygen concentration of 2% by volume or less.
  • a micro-nano bubble generator is used as a device for switching and maintaining the reaction atmosphere of the aqueous solution for particle growth.
  • the diameter of the bubbles (micro-nano bubbles) produced by the micro-nano bubble generator is 0.01 mm or less, and since the buoyancy is small, the bubbles stay in the water for a long time, so that the reaction atmosphere is switched between the non-oxidizing atmosphere gas and the oxidizing atmosphere gas. Can be done quickly and its oxygen concentration can be lower or higher.
  • the time of each stage in the particle growth step is 2nd stage ⁇ 4th stage ⁇ 1st stage ⁇ 3rd stage ⁇ 5th stage.
  • the crystallization time of the entire particle growth step is preferably 8 hours or less.
  • switching operations 5 and 6 can be performed to provide a sixth step in an oxidizing atmosphere and a seventh step in a non-oxidizing atmosphere.
  • switching operations 7 and 8 can be performed to provide an eighth step in an oxidizing atmosphere and a ninth step in a non-oxidizing atmosphere.
  • switching operations 9 and 10 may be performed to provide a tenth step in an oxidizing atmosphere and an eleventh step in a non-oxidizing atmosphere.
  • the time of each stage in the particle growth step is: 2nd stage ⁇ 4th stage ⁇ 6th stage ⁇ 8th stage ⁇ 10th stage ⁇ 1st stage ⁇ 3rd stage ⁇ 5th stage ⁇ 7th stage Step ⁇ 9th stage ⁇ 11th stage.
  • a micro-nano bubble generator is used as a device for switching and maintaining the reaction atmosphere of the aqueous solution for particle growth.
  • the obtained product is washed with water, filtered and dried to obtain predetermined nickel-cobalt-manganese-containing composite hydroxide particles.
  • the particle growth step it is desirable to appropriately supply an aqueous solution of sodium hydroxide and an aqueous solution of ammonia through this step to maintain the pH value and the ammonium ion concentration of the aqueous solution for particle growth within the above-mentioned ranges.
  • the composite hydroxide particles obtained by such a crystallization step have a particle structure in which a low-density layer and a high-density layer are mutually laminated around a high-density central portion.
  • the composite hydroxide particles having such a particle structure as a precursor, the agglomerated portion, one or more communication holes communicating with the outer peripheral portion of the agglomerated portion, and the inside of the agglomerated portion are present and the communication is performed.
  • Composite oxide particles having a particle structure having two or more spaces communicating with the pores can be easily obtained.
  • the mixing step is a step of mixing a lithium compound with the above-mentioned composite hydroxide particles or heat-treated particles obtained by heat-treating the composite hydroxide particles to obtain a lithium mixture.
  • (Li / Me) is 0.95 or more and 1.5 or less, preferably 1.0 or more and 1.5 or less, more preferably 1.0 or more and 1.35 or less, and further preferably 1.0 or more and 1.2 or less.
  • the composite hydroxide particles and the lithium compound are mixed so as to be. That is, since Li / Me does not change before and after the firing step, the composite hydroxide and the lithium compound are mixed so that Li / Me in the mixing step becomes Li / Me of the target positive electrode active material. Is required.
  • the lithium compound used in the mixing step is not particularly limited, but it is preferable to use lithium hydroxide, lithium nitrate, lithium carbonate, or a mixture thereof from the viewpoint of easy availability. In particular, considering ease of handling and stability of quality, it is preferable to use lithium hydroxide or lithium carbonate.
  • a general mixer can be used for mixing.
  • a shaker mixer a radige mixer, a Julia mixer, a V blender and the like can be used.
  • Temporary firing step When lithium hydroxide or lithium carbonate is used as the lithium compound, the lithium mixture is placed at a temperature lower than the firing temperature described later and at 350 ° C. or higher after the mixing step and before the firing step. It is also possible to carry out a calcining step of calcining at a temperature of 800 ° C. or lower, preferably 450 ° C. or lower and 750 ° C. or lower. As a result, Li can be sufficiently diffused in the composite hydroxide particles, and more uniform composite oxide particles can be obtained.
  • the holding time at the above temperature is preferably 1 hour or more and 10 hours or less, and more preferably 3 hours or more and 6 hours or less.
  • the atmosphere in the calcining step is preferably an oxidizing atmosphere as in the firing step described later, and more preferably an atmosphere having an oxygen concentration of 18% by volume or more and 100% by volume or less.
  • the calcination step is a step of firing the lithium mixture obtained in the mixing step under predetermined conditions, diffusing Li into the composite hydroxide and reacting the mixture to obtain composite oxide particles.
  • the furnace used in the firing step is not particularly limited as long as it can heat the lithium mixture in the atmosphere or an oxygen stream.
  • an electric furnace that does not generate gas is preferable, and either a batch type or a continuous type electric furnace can be preferably used. The same applies to the furnaces used in the heat treatment step and the calcining step.
  • the calcination temperature of the lithium mixture is set to 720 ° C. or higher and 980 ° C. or lower. If the firing temperature is less than 720 ° C., the composite hydroxide particles and Li do not sufficiently react with each other, excess Li and unreacted composite hydroxide remain, and the obtained positive electrode active material has insufficient crystallinity. It becomes a thing. On the other hand, when the firing temperature exceeds 980 ° C., the communication holes and spaces in the composite oxide particles are crushed, the BET specific surface area of the finally obtained positive electrode active material (secondary particles) is lowered, and the pores are reduced. It may lead to a decrease in the peak diameter and the log differential pore volume at the pore peak diameter. In addition, the particles of the positive electrode active material are violently sintered, causing abnormal grain growth, and the proportion of amorphous coarse particles increases.
  • the firing temperature of the mixture is preferably set to 730 ° C. or higher and 970 ° C. or lower, and more preferably 750 ° C. or higher and 970 ° C. or lower.
  • the rate of temperature rise in the firing step is preferably set to 1 ° C./min or more and 10 ° C./min or less, and more preferably 3 ° C./min or more and 8 ° C./min or less. Further, during the firing step, it is more preferable that the temperature near the melting point of the lithium compound is set to 0.3 ° C./min or more and 6 ° C./min or less by lowering the heating rate. Thereby, the composite hydroxide particles and the lithium compound can be reacted more uniformly.
  • the holding time at the above-mentioned firing temperature is preferably at least 2 hours, and more preferably 3 hours or more and 20 hours or less. If the holding time at the calcination temperature is less than 2 hours, Li does not sufficiently diffuse in the composite oxide particles, excess Li and unreacted composite oxide particles remain, and the obtained positive electrode active material becomes crystalline. It may be inadequate.
  • the atmosphere at the time of firing is preferably an oxidizing atmosphere, more preferably an atmosphere having an oxygen concentration of 18% by volume or more and 100% by volume or less, and an oxygen concentration of 50% by volume or more and 100% by volume or less. It is more preferable to have the atmosphere of. It is particularly preferable to create a mixed atmosphere of oxygen having the above oxygen concentration and an inert gas. That is, firing is preferably performed in the atmosphere or an oxygen stream. If the oxygen concentration is less than 18% by volume, the crystallinity of the positive electrode active material may be insufficient.
  • the secondary particles constituting the positive electrode active material obtained by the firing step may be aggregated or slightly sintered. In such a case, it is preferable to crush the agglomerate or the sintered body. Thereby, the average particle size and the particle size distribution of the obtained positive electrode active material can be adjusted in a suitable range.
  • crushing mechanical energy is applied to an agglomerate composed of a plurality of secondary particles generated by sintering necking between particles during firing to separate the secondary particles themselves with almost no destruction. It means an operation to loosen agglomerates.
  • a known means can be used, for example, a pin mill or a hammer mill can be used. At this time, it is preferable to control the crushing force within an appropriate range so as not to destroy the secondary particles themselves.
  • the BET specific surface area of the positive electrode active material (secondary particles), the pore peak diameter, the log differential pore volume at the pore peak diameter, and the particle size distribution measurement value. It becomes possible to control the 50% cumulative diameter d50 obtained from the above, and finally, the positive electrode active material of the present invention having predetermined particle properties can be easily obtained.
  • the lithium-ion secondary battery of the present invention can have the same configuration as a general non-aqueous electrolyte secondary battery, which includes components such as a positive electrode, a negative electrode, a separator, and a non-aqueous electrolyte. ..
  • the lithium ion secondary battery of the present invention can have the same configuration as a general solid electrolyte secondary battery including components such as a positive electrode, a negative electrode, and a solid electrolyte. That is, the present invention can be widely applied from a non-aqueous electrolyte secondary battery to an all-solid-state lithium ion secondary battery as long as it is a secondary battery that charges and discharges by removing and inserting lithium ions.
  • the embodiments described below are merely examples, and the present invention is applied to a lithium ion secondary battery in which various modifications and improvements have been made based on the embodiments described in the present specification. It is possible.
  • a positive electrode of a lithium ion secondary battery is produced as follows.
  • a conductive material and a binder are mixed with the positive electrode active material of the present invention, and if necessary, a solvent such as activated carbon and viscosity adjustment is added, and these are kneaded to prepare a positive electrode mixture paste.
  • the mixing ratio of each of the positive electrode mixture pastes is also an important factor in determining the performance of the lithium ion secondary battery.
  • the solid content of the positive electrode mixture excluding the solvent is 100 parts by mass
  • the content of the positive electrode active material is 60 parts by mass or more and 95 parts by mass or less, as in the case of the positive electrode of a general lithium ion secondary battery.
  • the content of the conductive material can be 1 part by mass or more and 20 parts by mass or less
  • the content of the binder can be 1 part by mass or more and 20 parts by mass or less.
  • the obtained positive electrode mixture paste is applied to the surface of a current collector made of aluminum foil, for example, and dried to disperse the solvent. If necessary, pressurization may be performed by a roll press or the like in order to increase the electrode density. In this way, a sheet-shaped positive electrode can be produced.
  • the sheet-shaped positive electrode can be cut into an appropriate size according to the target battery and used for manufacturing the battery.
  • the method for producing the positive electrode is not limited to the above-exemplified method, and other methods may be used.
  • the conductive material for example, graphite (natural graphite, artificial graphite, expanded graphite, etc.) or a carbon black material such as acetylene black or Ketjen black can be used.
  • the binder serves to hold the active material particles together, for example, polyvinylidene fluoride (PVDF), polytetrafluoroethylene (PTFE), fluororubber, ethylene propylene diene rubber, styrene butadiene, cellulose resin, or poly.
  • PVDF polyvinylidene fluoride
  • PTFE polytetrafluoroethylene
  • fluororubber ethylene propylene diene rubber
  • styrene butadiene styrene butadiene
  • cellulose resin or poly.
  • Acrylic acid can be used.
  • a solvent that disperses the positive electrode active material, the conductive material, and activated carbon and dissolves the binder can be added to the positive electrode mixture.
  • the solvent specifically, an organic solvent such as N-methyl-2-pyrrolidone can be used.
  • activated carbon can be added to the positive electrode mixture in order to increase the electric double layer capacity.
  • Negative electrode A metallic lithium, a lithium alloy, or the like can be used for the negative electrode. Further, a negative electrode mixture prepared by mixing a binder with a negative electrode active material capable of occluding and desorbing lithium ions and adding an appropriate solvent to form a paste is applied to the surface of a metal leaf current collector such as copper. , Dried, and if necessary, compressed to increase the electrode density can be used.
  • the negative electrode active material examples include lithium-containing substances such as metallic lithium and lithium alloys, organic compound calcined substances such as natural graphite, artificial graphite, and phenolic resin that can occlude and desorb lithium ions, and carbon substances such as coke.
  • the powdery substance of the above can be used.
  • a fluororesin such as PVDF can be used as in the positive electrode
  • the solvent for dispersing these negative electrode active materials and the binder N-methyl-2-pyrrolidone or the like can be used.
  • An organic solvent can be used.
  • a separator is arranged so as to be sandwiched between a positive electrode and a negative electrode in a lithium ion secondary battery, and has a function of separating the positive electrode and the negative electrode and holding an electrolyte.
  • a separator for example, a thin film such as polyethylene or polypropylene, which has a large number of fine pores, can be used, but is not particularly limited as long as it has the above-mentioned function. It is also possible to use a solid electrolyte.
  • Non-aqueous electrolyte As the non-aqueous electrolyte used in the secondary battery, a non-aqueous electrolyte solution obtained by dissolving a lithium salt as a supporting salt in an organic solvent is used.
  • organic solvent used in the non-aqueous electrolyte solution examples include cyclic carbonates such as ethylene carbonate, propylene carbonate, butylene carbonate and trifluoropropylene carbonate; chain carbonates such as diethyl carbonate, dimethyl carbonate, ethylmethyl carbonate and dipropyl carbonate; tetrahydrofuran. , 2-Methyltetrahydrofuran, ether compounds such as dimethoxyethane; sulfur compounds such as ethylmethylsulfone and butanesulton; phosphorus compounds such as triethyl phosphate and trioctyl phosphate, etc., alone or in admixture of two or more. Can be used.
  • LiPF 6 LiBF 4 , LiClO 4 , LiAsF 6 , LiN (CF 3 SO 2 ) 2 , and a composite salt thereof can be used.
  • the non-aqueous electrolyte solution may contain a radical scavenger, a surfactant, a flame retardant, and the like.
  • Solid electrolytes such as all-solid-state lithium-ion secondary batteries
  • Solid electrolytes used in secondary batteries have the property of being able to withstand high voltages.
  • Solid electrolytes include inorganic solid electrolytes and organic solid electrolytes.
  • an oxide containing oxygen (O) and having lithium ion conductivity and electron insulating property for example, Li 1.3 Al 0.3 Ti 1.7 (PO 4 ) 3 , Li 3 PO 4 , Li 3 PO 4 N X , LiBO 2 N X , LiNbO 3 , LiTaO 3 , Li 2 SiO 3 , Li 4 SiO 4- Li 3 PO 4 , Li 4 SiO 4- Li 3 VO 4 , Li 2 O-B 2 O 3- P 2 O 5 , Li 2 O-SiO 2 , Li 2 O-B 2 O 3- ZnO, Li 1 + X Al X Ti 2-X (PO 4 ) 3 (0 ⁇ X ⁇ 1) ), Li 1 + X Al X Ge 2-X (PO 4 ) 3 (0 ⁇ X ⁇ 1), LiTi 2 (PO 4 ) 3 , Li 3X La 2 / 3-X TiO 3 (0 ⁇ X ⁇ 2/3) , Li 5 La 3 Ta2O 12 , Li
  • Examples of the sulfide solid electrolyte include sulfides containing sulfur (S) and having lithium ion conductivity and electron insulating properties, for example, Li 2 S-SiS 2 , Li 2 SP 2 S 5 , LiI. -Li 2 S-SiS 2 , LiI-Li 2 SP 2 S 5 , LiI-Li 2 SB 2 S 3 , Li 3 PO 4- Li 2 S-Si 2 S, Li 3 PO 4- Li 2 S-SiS 2 , LiPO 4 -Li 2 S-SiS, LiI-Li 2 SP 2 O 5 , LiI-Li 3 PO 4- P 2 S 5 and the like can be used.
  • S sulfur
  • Li 2 SP 2 S 5 LiI. -Li 2 S-SiS 2
  • LiI-Li 2 SP 2 S 5 LiI-Li 2 SB 2 S 3
  • Li 3 N, LiI, etc. Li 3 N-LiI-LiOH.
  • organic solid electrolyte a polymer compound exhibiting ionic conductivity can be used.
  • polyethylene oxide, polypropylene oxide, copolymers thereof and the like can be used.
  • the organic solid electrolyte may contain a supporting salt (lithium salt).
  • the solid electrolyte can be mixed in the positive electrode material in order to ensure contact between the electrolyte and the positive electrode active material.
  • the configuration of the lithium ion secondary battery is not particularly limited, and the configuration of the non-aqueous electrolyte secondary battery includes a positive electrode, a negative electrode, a separator, a non-aqueous electrolyte, and the like, and a solid electrolyte secondary.
  • the next battery may have a configuration including a positive electrode, a negative electrode, a solid electrolyte, and the like.
  • the shape of the secondary battery is not particularly limited, and various shapes such as a cylindrical shape and a laminated shape can be adopted.
  • a positive electrode and a negative electrode are laminated via a separator to form an electrode body, and the obtained electrode body is impregnated with a non-aqueous electrolyte to form a positive electrode body that communicates with a positive electrode current collector and the outside.
  • a lithium ion secondary battery is completed by connecting the terminals and the negative electrode current collector and the negative electrode terminals communicating with the outside using a current collecting lead or the like and sealing the battery case.
  • the lithium ion secondary battery of the present invention uses the positive electrode active material of the present invention as the positive electrode material, and therefore has excellent output characteristics and durability characteristics.
  • the lithium ion secondary battery of the present invention has excellent output characteristics and durability characteristics, and power tools and environmental vehicles that require these characteristics at a high level are required. It can be suitably used as a power source for the above.
  • the pH value of the reaction aqueous solution is measured by a pH controller, and the pH value of the reaction aqueous solution in each step is adjusted by adjusting the supply amount of the sodium hydroxide aqueous solution based on the measured value.
  • the fluctuation range of was controlled within the range of ⁇ 0.2.
  • Example 1 Production of composite hydroxide [Nucleation step] First, 17 L of water was placed in the reaction vessel and the temperature in the vessel was set to 40 ° C. while stirring. At this time, a micro-nano bubble generator made of a ceramic porous body (Noritake Co., Ltd. Limited, micro-nano bubble high-efficiency gas-liquid reactor) was used to circulate ultrafine nitrogen gas bubbles in the reaction vessel for 1 hour. The reaction atmosphere was a non-oxidizing atmosphere having an oxygen concentration of 2% by volume or less.
  • W was used as the additive element M.
  • Sodium tungstate dihydrate was dissolved in water to prepare an aqueous sodium tungstate solution.
  • the raw material aqueous solution was supplied to the pre-reaction aqueous solution at 115 ml / min to form an aqueous solution for the nucleation step, and nucleation was performed for 1 minute.
  • a 25% by mass aqueous sodium hydroxide solution and a 25% by mass aqueous ammonia solution were supplied in a timely manner to maintain the pH value and ammonium ion concentration of the nucleation aqueous solution within the above ranges.
  • a micro-nano bubble generator is used to circulate ultrafine nitrogen gas bubbles, and the oxygen concentration is 2% by volume or less from the start of the particle growth process. Crystallization in a sexual atmosphere was continued for 35 minutes.
  • ultrafine air bubbles are circulated in the reaction vessel using a micro-nano bubble generator to change the reaction atmosphere to an oxidizing atmosphere with an oxygen concentration of 21% by volume. Adjusted (switching operation 1). After the start of the switching operation 1, 20-minute crystallization was performed while maintaining an oxidizing atmosphere and stirring with a stirrer.
  • ultrafine nitrogen bubbles are circulated in the reaction vessel using a micro-nano bubble generator to create a reaction atmosphere.
  • the oxygen concentration was adjusted to a non-oxidizing atmosphere of 2% by volume or less (switching operation 2). After the start of the switching operation 2, 65-minute crystallization was performed while maintaining a non-oxidizing atmosphere and stirring with a stirrer.
  • ultrafine air bubbles are circulated in the reaction vessel using a micro-nano bubble generator, and an oxidizing atmosphere having an oxygen concentration of 21% by volume is used. Adjusted to (switching operation 3). After the start of the switching operation 3, 40-minute crystallization was performed while maintaining an oxidizing atmosphere and stirring with a stirrer.
  • the fifth step while stopping the supply of the sodium tungstate aqueous solution, while continuing the supply of the raw material aqueous solution, ultrafine nitrogen bubbles are circulated in the reaction vessel using a micro-nano bubble generator to create a reaction atmosphere.
  • the oxygen concentration was adjusted to a non-oxidizing atmosphere of 2% by volume or less (switching operation 4). After the start of the switching operation 4, 110-minute crystallization was performed while maintaining a non-oxidizing atmosphere and stirring with a stirrer.
  • the particle growth process was completed by stopping the supply of all the aqueous solutions including the raw material aqueous solution.
  • the obtained product was washed with water, filtered and dried to obtain composite hydroxide particles.
  • the particle growth step 25% by mass sodium hydroxide aqueous solution and 25% by mass ammonia water were appropriately supplied through this step, and the pH value and ammonium ion concentration of the particle growth aqueous solution were maintained within the above ranges.
  • This lithium mixture is heated to 965 ° C. in an oxygen (oxygen concentration: 100% by volume) atmosphere at a heating rate of 1.3 ° C./min and held at this temperature for 3 hours to be calcined and cooled to room temperature. (Baking process).
  • This positive electrode active material was crushed in order to eliminate agglutination or slight sintering of the obtained lithium transition metal-containing composite oxide particles (crushing step).
  • composition Evaluation of positive electrode active material [Composition] The composition of this positive electrode active material was analyzed by analysis using an ICP emission spectroscopic analyzer (ICPE-9000, manufactured by Shimadzu Corporation).
  • BET specific surface area The BET specific surface area of the positive electrode active material (secondary particles) was determined using an independent 4-station type specific surface area / pore distribution measuring device (QUADRASORB SI manufactured by Cantachrome Instruments).
  • the positive electrode active material of the present invention is formed of secondary particles in which a plurality of primary particles are aggregated, has about 6 communication holes on the outer peripheral portion of the secondary particles, and is secondary particles. It was confirmed that there are about eight spaces inside the space, and that the communication holes on the outer periphery and the voids inside are connected.
  • a cross section of the positive electrode active material (secondary particles) was processed into flakes using an ion milling apparatus (JEOL Ltd., cryoion slicer, IB-09060CIS).
  • a TEM JEM-ARM200F manufactured by Nippon Denshi Co., Ltd.
  • a total of 10 locations arbitrarily selected from the entire primary particle including the inside of the particle and the grain boundary are irradiated with an electron beam, and the energy of the generated W characteristic X-ray is converted to EDX (Thermofisher Scientific Co., Ltd., NSS).
  • Table 1 shows a graph of the measurement results of the W concentration by TEM-EDX analysis on the obtained primary particles.
  • the average concentration ( ⁇ ) of W was 1.0
  • the standard deviation ( ⁇ ) of the concentration of W was 1.1
  • the coefficient of variation (CV) of the concentration of W was 1.1.
  • a 2032 type coin-shaped battery was produced in a glove box having an Ar atmosphere with a dew point controlled at ⁇ 60 ° C.
  • a lithium metal having a diameter of 14 mm and a thickness of 1 mm is used for the negative electrode 2 of the 2032 type coin-shaped battery, and ethylene carbonate (EC) and diethyl carbonate (DEC) using 1 M LiClO 4 as a supporting electrolyte are used as the non-aqueous electrolyte solution.
  • EC ethylene carbonate
  • DEC diethyl carbonate
  • 1 M LiClO 4 1 M LiClO 4
  • separator 3 a polyethylene porous membrane having a film thickness of 25 ⁇ m was used. In this way, a 2032 type coin-shaped battery 10 having a gasket 4 and a wave washer 5 and a positive electrode can 6 and a negative electrode can 7 was assembled.
  • the positive electrode resistance is measured by the impedance measurement method, charging a 2032 type coin-shaped battery at 3.8 V, and measuring by the AC impedance method using a frequency response analyzer and a potentiogalvanostat (manufactured by Solartron, 1255B).
  • the impedance spectrum shown in No. 4 was obtained. In the obtained impedance spectrum, two semicircles are observed in the high frequency region and the intermediate frequency region, and a straight line is observed in the low frequency region. Therefore, the equivalent circuit shown in FIG. 5 is constructed to analyze the positive interface resistance. did.
  • Rs is a bulk resistance
  • R 1 is a positive electrode coating resistance
  • R ct is an electrolytic solution / positive electrode interface resistance
  • W is a Warburg component
  • CPE1 and CPE2 are constant phase elements.
  • the positive electrode interfacial resistance the positive electrode active material of Comparative Example 1 described later is used as a reference, and the resistance reduction rate with respect to this is shown.
  • Table 2 shows the overall composition and characteristics of the obtained positive electrode active material and the characteristics of the obtained lithium ion secondary battery. Table 1 also shows Examples 2 to 5, Comparative Example 1, and Comparative Example 2 with respect to these.
  • Example 2 A positive electrode active material was obtained and evaluated in the same manner as in Example 1 except that the lithium mixture was heated to 915 ° C. and held at this temperature for 3 hours for firing.
  • Example 4 A positive electrode active material was obtained and evaluated in the same manner as in Example 1 except that the lithium mixture was calcined at 985 ° C.
  • Example 5 A positive electrode active material was obtained and evaluated in the same manner as in Example 1 except that the lithium mixture was calcined at 885 ° C.
  • FIG. 2 shows the particle structure of the obtained positive electrode active material. It is formed from secondary particles in which a plurality of primary particles are aggregated, has one communication hole in the outer peripheral portion of the secondary particle, has one space inside the secondary particle, and has a communication hole in the outer peripheral portion. It was confirmed that it had a hollow structure in which the internal voids were connected.
  • Example 2 A positive electrode active material was obtained and evaluated in the same manner as in Example 1 except that the lithium mixture was calcined at 815 ° C.
  • Negative electrode can 10 Coin-type battery

Landscapes

  • Chemical & Material Sciences (AREA)
  • Chemical Kinetics & Catalysis (AREA)
  • Electrochemistry (AREA)
  • General Chemical & Material Sciences (AREA)
  • Inorganic Chemistry (AREA)
  • Engineering & Computer Science (AREA)
  • Organic Chemistry (AREA)
  • Materials Engineering (AREA)
  • Manufacturing & Machinery (AREA)
  • Battery Electrode And Active Subsutance (AREA)
  • Secondary Cells (AREA)
  • Inorganic Compounds Of Heavy Metals (AREA)
PCT/JP2020/035588 2019-09-19 2020-09-18 リチウムイオン二次電池用正極活物質およびリチウムイオン二次電池 Ceased WO2021054466A1 (ja)

Priority Applications (5)

Application Number Priority Date Filing Date Title
US17/761,772 US12315924B2 (en) 2019-09-19 2020-09-18 Positive electrode active material for lithium ion secondary battery and lithium ion secondary battery
JP2021546998A JP7588594B2 (ja) 2019-09-19 2020-09-18 リチウムイオン二次電池用正極活物質およびリチウムイオン二次電池
CN202080065824.0A CN114514636B (zh) 2019-09-19 2020-09-18 锂离子二次电池用正极活性物质以及锂离子二次电池
EP20866052.2A EP4032860A4 (en) 2019-09-19 2020-09-18 ACTIVE MATERIAL OF POSITIVE ELECTRODE FOR LITHIUM-ION SECONDARY BATTERY AND LITHIUM-ION SECONDARY BATTERY
JP2023220488A JP2024038149A (ja) 2019-09-19 2023-12-27 リチウムイオン二次電池用正極活物質およびリチウムイオン二次電池

Applications Claiming Priority (2)

Application Number Priority Date Filing Date Title
JP2019170443 2019-09-19
JP2019-170443 2019-09-19

Publications (1)

Publication Number Publication Date
WO2021054466A1 true WO2021054466A1 (ja) 2021-03-25

Family

ID=74883621

Family Applications (1)

Application Number Title Priority Date Filing Date
PCT/JP2020/035588 Ceased WO2021054466A1 (ja) 2019-09-19 2020-09-18 リチウムイオン二次電池用正極活物質およびリチウムイオン二次電池

Country Status (5)

Country Link
US (1) US12315924B2 (enExample)
EP (1) EP4032860A4 (enExample)
JP (2) JP7588594B2 (enExample)
CN (1) CN114514636B (enExample)
WO (1) WO2021054466A1 (enExample)

Cited By (1)

* Cited by examiner, † Cited by third party
Publication number Priority date Publication date Assignee Title
EP4459713A4 (en) * 2021-12-27 2025-07-16 Panasonic Ip Man Co Ltd POSITIVE ELECTRODE ACTIVE MATERIAL FOR NONAQUEOUS ELECTROLYTE SECONDARY BATTERY

Families Citing this family (1)

* Cited by examiner, † Cited by third party
Publication number Priority date Publication date Assignee Title
EP4032860A4 (en) * 2019-09-19 2023-11-22 Sumitomo Metal Mining Co., Ltd. ACTIVE MATERIAL OF POSITIVE ELECTRODE FOR LITHIUM-ION SECONDARY BATTERY AND LITHIUM-ION SECONDARY BATTERY

Citations (11)

* Cited by examiner, † Cited by third party
Publication number Priority date Publication date Assignee Title
WO2012131881A1 (ja) 2011-03-28 2012-10-04 住友金属鉱山株式会社 ニッケルマンガン複合水酸化物粒子とその製造方法、非水系電解質二次電池用正極活物質とその製造方法、および非水系電解質二次電池
JP2012246199A (ja) 2011-05-30 2012-12-13 Sumitomo Metal Mining Co Ltd マンガン複合水酸化物粒子、非水系電解質二次電池用正極活物質、および非水系電解質二次電池と、それらの製造方法
WO2014181891A1 (ja) 2013-05-10 2014-11-13 住友金属鉱山株式会社 遷移金属複合水酸化物粒子とその製造方法、非水電解質二次電池用正極活物質とその製造方法および非水電解質二次電池
WO2015170561A1 (ja) * 2014-05-07 2015-11-12 エリーパワー株式会社 非水電解質二次電池用正極、非水電解質二次電池
WO2016084346A1 (ja) * 2014-11-28 2016-06-02 三洋電機株式会社 非水電解質二次電池用正極及び非水電解質二次電池
JP2017004635A (ja) * 2015-06-05 2017-01-05 プライムアースEvエナジー株式会社 非水電解液二次電池および非水電解液二次電池の正極活物質
JP2017224496A (ja) * 2016-06-15 2017-12-21 株式会社東芝 非水電解質電池、電池モジュール及び車両
WO2018088320A1 (ja) * 2016-11-08 2018-05-17 本田技研工業株式会社 非水系電解質二次電池用電極及びこれを備える非水系電解質二次電池
JP2018104276A (ja) 2016-12-27 2018-07-05 住友金属鉱山株式会社 遷移金属含有複合水酸化物粒子およびその製造方法、並びに、非水電解質二次電池用正極活物質およびその製造方法
CN109873142A (zh) * 2019-02-22 2019-06-11 东莞理工学院 电极活性材料、正极及其制备方法和锂电池
JP2019119662A (ja) * 2018-01-11 2019-07-22 住友金属鉱山株式会社 遷移金属含有複合水酸化物粒子とその製造方法、非水電解質二次電池用正極活物質とその製造方法、および非水電解質二次電池

Family Cites Families (8)

* Cited by examiner, † Cited by third party
Publication number Priority date Publication date Assignee Title
JP6596978B2 (ja) 2015-06-26 2019-10-30 住友金属鉱山株式会社 遷移金属複合水酸化物粒子とその製造方法、非水電解質二次電池用正極活物質とその製造方法、および非水電解質二次電池
JP6187655B2 (ja) * 2015-08-25 2017-08-30 日亜化学工業株式会社 非水電解液二次電池用正極活物質及びその製造方法
WO2017126682A1 (ja) * 2016-01-22 2017-07-27 旭化成株式会社 リチウムイオン二次電池
CN108475587B (zh) * 2016-01-22 2019-07-09 旭化成株式会社 非水系锂型蓄电元件
KR102176633B1 (ko) * 2017-02-28 2020-11-09 주식회사 엘지화학 리튬 이차전지용 양극 활물질, 그 제조방법 및 이를 포함하는 리튬 이차전지
JP7166265B2 (ja) 2017-10-04 2022-11-07 株式会社東芝 電極、非水電解質電池及び電池パック
JP7035540B2 (ja) 2018-01-11 2022-03-15 住友金属鉱山株式会社 遷移金属含有複合水酸化物粒子とその製造方法、非水電解質二次電池用正極活物質とその製造方法、および非水電解質二次電池
EP4032860A4 (en) * 2019-09-19 2023-11-22 Sumitomo Metal Mining Co., Ltd. ACTIVE MATERIAL OF POSITIVE ELECTRODE FOR LITHIUM-ION SECONDARY BATTERY AND LITHIUM-ION SECONDARY BATTERY

Patent Citations (11)

* Cited by examiner, † Cited by third party
Publication number Priority date Publication date Assignee Title
WO2012131881A1 (ja) 2011-03-28 2012-10-04 住友金属鉱山株式会社 ニッケルマンガン複合水酸化物粒子とその製造方法、非水系電解質二次電池用正極活物質とその製造方法、および非水系電解質二次電池
JP2012246199A (ja) 2011-05-30 2012-12-13 Sumitomo Metal Mining Co Ltd マンガン複合水酸化物粒子、非水系電解質二次電池用正極活物質、および非水系電解質二次電池と、それらの製造方法
WO2014181891A1 (ja) 2013-05-10 2014-11-13 住友金属鉱山株式会社 遷移金属複合水酸化物粒子とその製造方法、非水電解質二次電池用正極活物質とその製造方法および非水電解質二次電池
WO2015170561A1 (ja) * 2014-05-07 2015-11-12 エリーパワー株式会社 非水電解質二次電池用正極、非水電解質二次電池
WO2016084346A1 (ja) * 2014-11-28 2016-06-02 三洋電機株式会社 非水電解質二次電池用正極及び非水電解質二次電池
JP2017004635A (ja) * 2015-06-05 2017-01-05 プライムアースEvエナジー株式会社 非水電解液二次電池および非水電解液二次電池の正極活物質
JP2017224496A (ja) * 2016-06-15 2017-12-21 株式会社東芝 非水電解質電池、電池モジュール及び車両
WO2018088320A1 (ja) * 2016-11-08 2018-05-17 本田技研工業株式会社 非水系電解質二次電池用電極及びこれを備える非水系電解質二次電池
JP2018104276A (ja) 2016-12-27 2018-07-05 住友金属鉱山株式会社 遷移金属含有複合水酸化物粒子およびその製造方法、並びに、非水電解質二次電池用正極活物質およびその製造方法
JP2019119662A (ja) * 2018-01-11 2019-07-22 住友金属鉱山株式会社 遷移金属含有複合水酸化物粒子とその製造方法、非水電解質二次電池用正極活物質とその製造方法、および非水電解質二次電池
CN109873142A (zh) * 2019-02-22 2019-06-11 东莞理工学院 电极活性材料、正极及其制备方法和锂电池

Non-Patent Citations (1)

* Cited by examiner, † Cited by third party
Title
See also references of EP4032860A4

Cited By (1)

* Cited by examiner, † Cited by third party
Publication number Priority date Publication date Assignee Title
EP4459713A4 (en) * 2021-12-27 2025-07-16 Panasonic Ip Man Co Ltd POSITIVE ELECTRODE ACTIVE MATERIAL FOR NONAQUEOUS ELECTROLYTE SECONDARY BATTERY

Also Published As

Publication number Publication date
CN114514636B (zh) 2024-03-26
EP4032860A1 (en) 2022-07-27
CN114514636A (zh) 2022-05-17
JP7588594B2 (ja) 2024-11-22
US12315924B2 (en) 2025-05-27
JPWO2021054466A1 (enExample) 2021-03-25
EP4032860A4 (en) 2023-11-22
US20220384804A1 (en) 2022-12-01
JP2024038149A (ja) 2024-03-19

Similar Documents

Publication Publication Date Title
JP6888297B2 (ja) 非水系電解質二次電池用正極活物質とその製造方法
JP7660064B2 (ja) リチウムイオン二次電池用正極活物質およびリチウムイオン二次電池
JP2021147314A (ja) 遷移金属複合水酸化物粒子、遷移金属複合水酸化物粒子の製造方法、リチウムイオン二次電池用正極活物質、及びリチウムイオン二次電池
JP7347061B2 (ja) リチウムイオン二次電池用正極活物質およびリチウムイオン二次電池
CN111094188A (zh) 金属复合氢氧化物及其制造方法、非水电解质二次电池用正极活性物质及其制造方法、以及使用其的非水电解质二次电池
JP2021051880A (ja) リチウムイオン二次電池用正極活物質およびリチウムイオン二次電池
JP7235130B2 (ja) リチウムイオン二次電池用正極活物質およびリチウムイオン二次電池
JP7183813B2 (ja) ニッケルマンガンコバルト含有複合水酸化物およびその製造方法、リチウムイオン二次電池用正極活物質およびその製造方法、並びに、リチウムイオン二次電池
JP7183815B2 (ja) ニッケルマンガンコバルト含有複合水酸化物およびその製造方法、リチウムイオン二次電池用正極活物質およびその製造方法、並びに、リチウムイオン二次電池
JP7488021B2 (ja) 金属複合水酸化物とその製造方法、リチウムイオン二次電池用正極活物質とその製造方法、及び、それを用いたリチウムイオン二次電池
JP7102973B2 (ja) リチウムイオン二次電池用の正極活物質とその製造方法、およびチウムイオン二次電池
JP2024001041A (ja) リチウムイオン二次電池用正極活物質、リチウムイオン二次電池
JP2021012807A (ja) ニッケルマンガンコバルト含有複合水酸化物およびその製造方法、リチウムイオン二次電池用正極活物質およびその製造方法、並びに、リチウムイオン二次電池
JP7183812B2 (ja) ニッケルマンガンコバルト含有複合水酸化物およびその製造方法、リチウムイオン二次電池用正極活物質およびその製造方法、並びに、リチウムイオン二次電池
JP2024038149A (ja) リチウムイオン二次電池用正極活物質およびリチウムイオン二次電池
JP7347062B2 (ja) リチウムイオン二次電池用正極活物質およびリチウムイオン二次電池
WO2021054469A1 (ja) リチウムイオン二次電池用正極活物質およびリチウムイオン二次電池
JP7183814B2 (ja) ニッケルマンガンコバルト含有複合水酸化物およびその製造方法、リチウムイオン二次電池用正極活物質およびその製造方法、並びに、リチウムイオン二次電池
JP7031150B2 (ja) 非水系電解質二次電池用正極活物質、非水系電解質二次電池用正極活物質の製造方法、および該正極活物質を用いた非水系電解質二次電池

Legal Events

Date Code Title Description
121 Ep: the epo has been informed by wipo that ep was designated in this application

Ref document number: 20866052

Country of ref document: EP

Kind code of ref document: A1

ENP Entry into the national phase

Ref document number: 2021546998

Country of ref document: JP

Kind code of ref document: A

NENP Non-entry into the national phase

Ref country code: DE

ENP Entry into the national phase

Ref document number: 2020866052

Country of ref document: EP

Effective date: 20220419

WWG Wipo information: grant in national office

Ref document number: 17761772

Country of ref document: US