WO2020240329A1 - 表示装置および電子機器 - Google Patents

表示装置および電子機器 Download PDF

Info

Publication number
WO2020240329A1
WO2020240329A1 PCT/IB2020/054663 IB2020054663W WO2020240329A1 WO 2020240329 A1 WO2020240329 A1 WO 2020240329A1 IB 2020054663 W IB2020054663 W IB 2020054663W WO 2020240329 A1 WO2020240329 A1 WO 2020240329A1
Authority
WO
WIPO (PCT)
Prior art keywords
transistor
layer
capacitor
electrode
display device
Prior art date
Legal status (The legal status is an assumption and is not a legal conclusion. Google has not performed a legal analysis and makes no representation as to the accuracy of the status listed.)
Ceased
Application number
PCT/IB2020/054663
Other languages
English (en)
French (fr)
Japanese (ja)
Inventor
川島進
楠本直人
Current Assignee (The listed assignees may be inaccurate. Google has not performed a legal analysis and makes no representation or warranty as to the accuracy of the list.)
Semiconductor Energy Laboratory Co Ltd
Original Assignee
Semiconductor Energy Laboratory Co Ltd
Priority date (The priority date is an assumption and is not a legal conclusion. Google has not performed a legal analysis and makes no representation as to the accuracy of the date listed.)
Filing date
Publication date
Application filed by Semiconductor Energy Laboratory Co Ltd filed Critical Semiconductor Energy Laboratory Co Ltd
Priority to KR1020217041714A priority Critical patent/KR20220013390A/ko
Priority to US17/612,384 priority patent/US11988926B2/en
Priority to CN202080037155.6A priority patent/CN113841253A/zh
Priority to JP2021523124A priority patent/JP7486480B2/ja
Publication of WO2020240329A1 publication Critical patent/WO2020240329A1/ja
Anticipated expiration legal-status Critical
Priority to US18/599,770 priority patent/US12204212B2/en
Priority to JP2024075383A priority patent/JP7618876B2/ja
Priority to US18/951,923 priority patent/US20250076716A1/en
Priority to JP2025002657A priority patent/JP7781318B2/ja
Ceased legal-status Critical Current

Links

Images

Classifications

    • HELECTRICITY
    • H10SEMICONDUCTOR DEVICES; ELECTRIC SOLID-STATE DEVICES NOT OTHERWISE PROVIDED FOR
    • H10KORGANIC ELECTRIC SOLID-STATE DEVICES
    • H10K59/00Integrated devices, or assemblies of multiple devices, comprising at least one organic light-emitting element covered by group H10K50/00
    • H10K59/10OLED displays
    • H10K59/12Active-matrix OLED [AMOLED] displays
    • H10K59/122Pixel-defining structures or layers, e.g. banks
    • HELECTRICITY
    • H10SEMICONDUCTOR DEVICES; ELECTRIC SOLID-STATE DEVICES NOT OTHERWISE PROVIDED FOR
    • H10DINORGANIC ELECTRIC SEMICONDUCTOR DEVICES
    • H10D86/00Integrated devices formed in or on insulating or conducting substrates, e.g. formed in silicon-on-insulator [SOI] substrates or on stainless steel or glass substrates
    • H10D86/40Integrated devices formed in or on insulating or conducting substrates, e.g. formed in silicon-on-insulator [SOI] substrates or on stainless steel or glass substrates characterised by multiple TFTs
    • H10D86/481Integrated devices formed in or on insulating or conducting substrates, e.g. formed in silicon-on-insulator [SOI] substrates or on stainless steel or glass substrates characterised by multiple TFTs integrated with passive devices, e.g. auxiliary capacitors
    • HELECTRICITY
    • H10SEMICONDUCTOR DEVICES; ELECTRIC SOLID-STATE DEVICES NOT OTHERWISE PROVIDED FOR
    • H10KORGANIC ELECTRIC SOLID-STATE DEVICES
    • H10K59/00Integrated devices, or assemblies of multiple devices, comprising at least one organic light-emitting element covered by group H10K50/00
    • H10K59/10OLED displays
    • H10K59/12Active-matrix OLED [AMOLED] displays
    • H10K59/121Active-matrix OLED [AMOLED] displays characterised by the geometry or disposition of pixel elements
    • GPHYSICS
    • G02OPTICS
    • G02FOPTICAL DEVICES OR ARRANGEMENTS FOR THE CONTROL OF LIGHT BY MODIFICATION OF THE OPTICAL PROPERTIES OF THE MEDIA OF THE ELEMENTS INVOLVED THEREIN; NON-LINEAR OPTICS; FREQUENCY-CHANGING OF LIGHT; OPTICAL LOGIC ELEMENTS; OPTICAL ANALOGUE/DIGITAL CONVERTERS
    • G02F1/00Devices or arrangements for the control of the intensity, colour, phase, polarisation or direction of light arriving from an independent light source, e.g. switching, gating or modulating; Non-linear optics
    • G02F1/01Devices or arrangements for the control of the intensity, colour, phase, polarisation or direction of light arriving from an independent light source, e.g. switching, gating or modulating; Non-linear optics for the control of the intensity, phase, polarisation or colour 
    • G02F1/13Devices or arrangements for the control of the intensity, colour, phase, polarisation or direction of light arriving from an independent light source, e.g. switching, gating or modulating; Non-linear optics for the control of the intensity, phase, polarisation or colour  based on liquid crystals, e.g. single liquid crystal display cells
    • G02F1/133Constructional arrangements; Operation of liquid crystal cells; Circuit arrangements
    • G02F1/136Liquid crystal cells structurally associated with a semi-conducting layer or substrate, e.g. cells forming part of an integrated circuit
    • G02F1/1362Active matrix addressed cells
    • G02F1/136213Storage capacitors associated with the pixel electrode
    • GPHYSICS
    • G09EDUCATION; CRYPTOGRAPHY; DISPLAY; ADVERTISING; SEALS
    • G09FDISPLAYING; ADVERTISING; SIGNS; LABELS OR NAME-PLATES; SEALS
    • G09F9/00Indicating arrangements for variable information in which the information is built-up on a support by selection or combination of individual elements
    • G09F9/30Indicating arrangements for variable information in which the information is built-up on a support by selection or combination of individual elements in which the desired character or characters are formed by combining individual elements
    • HELECTRICITY
    • H05ELECTRIC TECHNIQUES NOT OTHERWISE PROVIDED FOR
    • H05BELECTRIC HEATING; ELECTRIC LIGHT SOURCES NOT OTHERWISE PROVIDED FOR; CIRCUIT ARRANGEMENTS FOR ELECTRIC LIGHT SOURCES, IN GENERAL
    • H05B33/00Electroluminescent light sources
    • H05B33/12Light sources with substantially two-dimensional radiating surfaces
    • H05B33/14Light sources with substantially two-dimensional radiating surfaces characterised by the chemical or physical composition or the arrangement of the electroluminescent material, or by the simultaneous addition of the electroluminescent material in or onto the light source
    • HELECTRICITY
    • H10SEMICONDUCTOR DEVICES; ELECTRIC SOLID-STATE DEVICES NOT OTHERWISE PROVIDED FOR
    • H10DINORGANIC ELECTRIC SEMICONDUCTOR DEVICES
    • H10D30/00Field-effect transistors [FET]
    • H10D30/60Insulated-gate field-effect transistors [IGFET]
    • H10D30/67Thin-film transistors [TFT]
    • H10D30/674Thin-film transistors [TFT] characterised by the active materials
    • H10D30/6755Oxide semiconductors, e.g. zinc oxide, copper aluminium oxide or cadmium stannate
    • HELECTRICITY
    • H10SEMICONDUCTOR DEVICES; ELECTRIC SOLID-STATE DEVICES NOT OTHERWISE PROVIDED FOR
    • H10DINORGANIC ELECTRIC SEMICONDUCTOR DEVICES
    • H10D86/00Integrated devices formed in or on insulating or conducting substrates, e.g. formed in silicon-on-insulator [SOI] substrates or on stainless steel or glass substrates
    • H10D86/40Integrated devices formed in or on insulating or conducting substrates, e.g. formed in silicon-on-insulator [SOI] substrates or on stainless steel or glass substrates characterised by multiple TFTs
    • H10D86/421Integrated devices formed in or on insulating or conducting substrates, e.g. formed in silicon-on-insulator [SOI] substrates or on stainless steel or glass substrates characterised by multiple TFTs having a particular composition, shape or crystalline structure of the active layer
    • H10D86/423Integrated devices formed in or on insulating or conducting substrates, e.g. formed in silicon-on-insulator [SOI] substrates or on stainless steel or glass substrates characterised by multiple TFTs having a particular composition, shape or crystalline structure of the active layer comprising semiconductor materials not belonging to the Group IV, e.g. InGaZnO
    • HELECTRICITY
    • H10SEMICONDUCTOR DEVICES; ELECTRIC SOLID-STATE DEVICES NOT OTHERWISE PROVIDED FOR
    • H10DINORGANIC ELECTRIC SEMICONDUCTOR DEVICES
    • H10D86/00Integrated devices formed in or on insulating or conducting substrates, e.g. formed in silicon-on-insulator [SOI] substrates or on stainless steel or glass substrates
    • H10D86/40Integrated devices formed in or on insulating or conducting substrates, e.g. formed in silicon-on-insulator [SOI] substrates or on stainless steel or glass substrates characterised by multiple TFTs
    • H10D86/60Integrated devices formed in or on insulating or conducting substrates, e.g. formed in silicon-on-insulator [SOI] substrates or on stainless steel or glass substrates characterised by multiple TFTs wherein the TFTs are in active matrices
    • HELECTRICITY
    • H10SEMICONDUCTOR DEVICES; ELECTRIC SOLID-STATE DEVICES NOT OTHERWISE PROVIDED FOR
    • H10KORGANIC ELECTRIC SOLID-STATE DEVICES
    • H10K59/00Integrated devices, or assemblies of multiple devices, comprising at least one organic light-emitting element covered by group H10K50/00
    • H10K59/10OLED displays
    • H10K59/12Active-matrix OLED [AMOLED] displays
    • H10K59/121Active-matrix OLED [AMOLED] displays characterised by the geometry or disposition of pixel elements
    • H10K59/1213Active-matrix OLED [AMOLED] displays characterised by the geometry or disposition of pixel elements the pixel elements being TFTs
    • HELECTRICITY
    • H10SEMICONDUCTOR DEVICES; ELECTRIC SOLID-STATE DEVICES NOT OTHERWISE PROVIDED FOR
    • H10KORGANIC ELECTRIC SOLID-STATE DEVICES
    • H10K59/00Integrated devices, or assemblies of multiple devices, comprising at least one organic light-emitting element covered by group H10K50/00
    • H10K59/10OLED displays
    • H10K59/12Active-matrix OLED [AMOLED] displays
    • H10K59/121Active-matrix OLED [AMOLED] displays characterised by the geometry or disposition of pixel elements
    • H10K59/1216Active-matrix OLED [AMOLED] displays characterised by the geometry or disposition of pixel elements the pixel elements being capacitors
    • HELECTRICITY
    • H10SEMICONDUCTOR DEVICES; ELECTRIC SOLID-STATE DEVICES NOT OTHERWISE PROVIDED FOR
    • H10KORGANIC ELECTRIC SOLID-STATE DEVICES
    • H10K59/00Integrated devices, or assemblies of multiple devices, comprising at least one organic light-emitting element covered by group H10K50/00
    • H10K59/10OLED displays
    • H10K59/12Active-matrix OLED [AMOLED] displays
    • H10K59/123Connection of the pixel electrodes to the thin film transistors [TFT]
    • HELECTRICITY
    • H10SEMICONDUCTOR DEVICES; ELECTRIC SOLID-STATE DEVICES NOT OTHERWISE PROVIDED FOR
    • H10KORGANIC ELECTRIC SOLID-STATE DEVICES
    • H10K59/00Integrated devices, or assemblies of multiple devices, comprising at least one organic light-emitting element covered by group H10K50/00
    • H10K59/10OLED displays
    • H10K59/12Active-matrix OLED [AMOLED] displays
    • H10K59/131Interconnections, e.g. wiring lines or terminals
    • HELECTRICITY
    • H10SEMICONDUCTOR DEVICES; ELECTRIC SOLID-STATE DEVICES NOT OTHERWISE PROVIDED FOR
    • H10KORGANIC ELECTRIC SOLID-STATE DEVICES
    • H10K59/00Integrated devices, or assemblies of multiple devices, comprising at least one organic light-emitting element covered by group H10K50/00
    • H10K59/10OLED displays
    • H10K59/12Active-matrix OLED [AMOLED] displays
    • H10K59/131Interconnections, e.g. wiring lines or terminals
    • H10K59/1315Interconnections, e.g. wiring lines or terminals comprising structures specially adapted for lowering the resistance
    • GPHYSICS
    • G02OPTICS
    • G02FOPTICAL DEVICES OR ARRANGEMENTS FOR THE CONTROL OF LIGHT BY MODIFICATION OF THE OPTICAL PROPERTIES OF THE MEDIA OF THE ELEMENTS INVOLVED THEREIN; NON-LINEAR OPTICS; FREQUENCY-CHANGING OF LIGHT; OPTICAL LOGIC ELEMENTS; OPTICAL ANALOGUE/DIGITAL CONVERTERS
    • G02F1/00Devices or arrangements for the control of the intensity, colour, phase, polarisation or direction of light arriving from an independent light source, e.g. switching, gating or modulating; Non-linear optics
    • G02F1/01Devices or arrangements for the control of the intensity, colour, phase, polarisation or direction of light arriving from an independent light source, e.g. switching, gating or modulating; Non-linear optics for the control of the intensity, phase, polarisation or colour 
    • G02F1/13Devices or arrangements for the control of the intensity, colour, phase, polarisation or direction of light arriving from an independent light source, e.g. switching, gating or modulating; Non-linear optics for the control of the intensity, phase, polarisation or colour  based on liquid crystals, e.g. single liquid crystal display cells
    • G02F1/133Constructional arrangements; Operation of liquid crystal cells; Circuit arrangements
    • G02F1/1333Constructional arrangements; Manufacturing methods
    • G02F1/1334Constructional arrangements; Manufacturing methods based on polymer dispersed liquid crystals, e.g. microencapsulated liquid crystals
    • GPHYSICS
    • G02OPTICS
    • G02FOPTICAL DEVICES OR ARRANGEMENTS FOR THE CONTROL OF LIGHT BY MODIFICATION OF THE OPTICAL PROPERTIES OF THE MEDIA OF THE ELEMENTS INVOLVED THEREIN; NON-LINEAR OPTICS; FREQUENCY-CHANGING OF LIGHT; OPTICAL LOGIC ELEMENTS; OPTICAL ANALOGUE/DIGITAL CONVERTERS
    • G02F1/00Devices or arrangements for the control of the intensity, colour, phase, polarisation or direction of light arriving from an independent light source, e.g. switching, gating or modulating; Non-linear optics
    • G02F1/01Devices or arrangements for the control of the intensity, colour, phase, polarisation or direction of light arriving from an independent light source, e.g. switching, gating or modulating; Non-linear optics for the control of the intensity, phase, polarisation or colour 
    • G02F1/13Devices or arrangements for the control of the intensity, colour, phase, polarisation or direction of light arriving from an independent light source, e.g. switching, gating or modulating; Non-linear optics for the control of the intensity, phase, polarisation or colour  based on liquid crystals, e.g. single liquid crystal display cells
    • G02F1/133Constructional arrangements; Operation of liquid crystal cells; Circuit arrangements
    • G02F1/136Liquid crystal cells structurally associated with a semi-conducting layer or substrate, e.g. cells forming part of an integrated circuit
    • G02F1/1362Active matrix addressed cells
    • G02F1/13624Active matrix addressed cells having more than one switching element per pixel
    • GPHYSICS
    • G02OPTICS
    • G02FOPTICAL DEVICES OR ARRANGEMENTS FOR THE CONTROL OF LIGHT BY MODIFICATION OF THE OPTICAL PROPERTIES OF THE MEDIA OF THE ELEMENTS INVOLVED THEREIN; NON-LINEAR OPTICS; FREQUENCY-CHANGING OF LIGHT; OPTICAL LOGIC ELEMENTS; OPTICAL ANALOGUE/DIGITAL CONVERTERS
    • G02F1/00Devices or arrangements for the control of the intensity, colour, phase, polarisation or direction of light arriving from an independent light source, e.g. switching, gating or modulating; Non-linear optics
    • G02F1/01Devices or arrangements for the control of the intensity, colour, phase, polarisation or direction of light arriving from an independent light source, e.g. switching, gating or modulating; Non-linear optics for the control of the intensity, phase, polarisation or colour 
    • G02F1/13Devices or arrangements for the control of the intensity, colour, phase, polarisation or direction of light arriving from an independent light source, e.g. switching, gating or modulating; Non-linear optics for the control of the intensity, phase, polarisation or colour  based on liquid crystals, e.g. single liquid crystal display cells
    • G02F1/133Constructional arrangements; Operation of liquid crystal cells; Circuit arrangements
    • G02F1/136Liquid crystal cells structurally associated with a semi-conducting layer or substrate, e.g. cells forming part of an integrated circuit
    • G02F1/1362Active matrix addressed cells
    • G02F1/1368Active matrix addressed cells in which the switching element is a three-electrode device

Definitions

  • One aspect of the present invention relates to a display device.
  • One aspect of the present invention is not limited to the above technical fields.
  • the technical field of one aspect of the invention disclosed in the present specification and the like relates to a product, a method, or a manufacturing method.
  • one aspect of the invention relates to a process, machine, manufacture, or composition (composition of matter). Therefore, more specifically, the technical fields of one aspect of the present invention disclosed in the present specification include semiconductor devices, display devices, liquid crystal display devices, light emitting devices, lighting devices, power storage devices, storage devices, imaging devices, and the like.
  • the operation method or the manufacturing method thereof can be given as an example.
  • the semiconductor device refers to all devices that can function by utilizing the semiconductor characteristics.
  • Transistors and semiconductor circuits are one aspect of semiconductor devices.
  • the storage device, the display device, the image pickup device, and the electronic device may have a semiconductor device.
  • Patent Document 1 and Patent Document 2 disclose a technique of using a transistor using zinc oxide or an In-Ga-Zn-based oxide as a switching element for pixels of a display device.
  • Patent Document 3 discloses a storage device having a configuration in which a transistor having an extremely low off-current is used as a memory cell.
  • Driving a distributed liquid crystal device, a tandem type light emitting device, or the like requires a voltage higher than the driving voltage of a general display device.
  • the pixel circuit may be provided with a boosting function to generate a voltage higher than the output of the source driver and supply it to the display device.
  • a general pixel circuit can be used, but there is a problem that the cost and power consumption of the source driver are high.
  • a general-purpose source driver can be used. Further, if a boosting function is applied to drive a general display device, the output voltage of the source driver can be reduced. However, if the pixel is to be provided with a boosting function, elements such as transistors, capacitors, and wiring must be added. Therefore, there is a trade-off relationship between the boosting ability and the aperture ratio or fineness of the pixel.
  • one of the purposes is to provide a display device having low power consumption.
  • one of the purposes is to provide a highly reliable display device.
  • one of the purposes is to provide a new display device or the like.
  • Another object of the present invention is to provide a method for driving the display device.
  • one of the purposes is to provide a new semiconductor device or the like.
  • One aspect of the present invention relates to a display device having an excellent boosting function.
  • One aspect of the present invention includes a first capacitor, a second capacitor, and a display element as pixels, and the first capacitor and the second capacitor are electrically connected to the display element, and the first capacitor is used.
  • the first capacitor has a configuration in which a first conductive layer, a first dielectric layer, and a second conductive layer are laminated in this order, and the second capacitor has a second conductive layer and a second conductive layer.
  • the dielectric layer and the third conductive layer are laminated in this order, and the first capacitor and the second capacitor are display devices having regions that overlap each other.
  • the second capacitor preferably has a larger capacitance value than the first capacitor.
  • the pixel further comprises a first transistor, a second transistor, and a third transistor, one of the source or drain of the first transistor being electrically connected to the second conductive layer.
  • One of the source or drain of the second transistor and one of the source or drain of the third transistor can be electrically connected to the third conductive layer.
  • the pixel has a light emitting element as a display element, the pixel further has a fourth transistor and a fifth transistor, and the gate of the fourth transistor is electrically connected to the second conductive layer.
  • the electrode of one of the source or drain of the fourth transistor, one of the source or drain of the fifth transistor, and one electrode of the light emitting element can be electrically connected to the third conductive layer.
  • the pixel has a liquid crystal element as a display element, and one electrode of the liquid crystal element can be electrically connected to the second conductive layer.
  • the first transistor to the third transistor preferably have a metal oxide in the channel forming region.
  • the second conductive layer can have a metal oxide.
  • the metal oxide preferably contains In, Zn, and M (M is Al, Ti, Ga, Ge, Sn, Y, Zr, La, Ce, Nd or Hf).
  • a display device having an excellent boosting function it is possible to provide a display device having both an excellent boosting function and a high aperture ratio or high definition.
  • a display device capable of increasing the brightness of the display image it is possible to provide a display device having an excellent boosting function.
  • a low power consumption display device can be provided.
  • a highly reliable display device can be provided.
  • a new display device or the like can be provided.
  • an operation method of the display device can be provided.
  • a new semiconductor device or the like can be provided.
  • FIG. 1 is a diagram illustrating a pixel circuit.
  • 2A and 2B are diagrams for explaining the configuration of the capacitor.
  • 3A and 3B are diagrams for explaining the configuration of the capacitor.
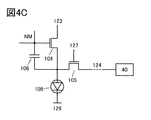
  • 4A to 4C are diagrams for explaining a pixel circuit.
  • FIG. 5 is a diagram illustrating a pixel circuit.
  • FIG. 6 is a timing chart illustrating the operation of the pixel circuit.
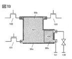
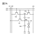
  • FIG. 7A is a diagram illustrating a pixel circuit.
  • FIG. 7B is a diagram illustrating the configuration of the capacitor.
  • 8A and 8B are diagrams for explaining a pixel circuit.
  • FIG. 9 is a diagram illustrating a pixel circuit.
  • FIG. 10 is a diagram illustrating a pixel circuit.
  • FIG. 11 is a diagram illustrating a pixel circuit.
  • FIG. 12A and 12B are diagrams for explaining the pixel layout.
  • 13A and 13B are diagrams for explaining the pixel layout.
  • 14A and 14B are diagrams for explaining the pixel layout.
  • 15A to 15C are diagrams for explaining the pixel layout.
  • 16A and 16B are diagrams for explaining the pixel layout.
  • 17A and 17B are diagrams for explaining the pixel layout.
  • 18A and 18B are diagrams for explaining the pixel layout.
  • FIG. 19 is a diagram illustrating a display device.
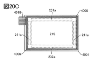
  • 20A to 20C are diagrams illustrating a display device.
  • 21A and 21B are diagrams for explaining the touch panel.
  • 22A and 22B are diagrams for explaining the display device.
  • FIG. 23 is a diagram illustrating a display device.
  • 24A and 24B are diagrams for explaining the display device.
  • 25A and 25B are diagrams for explaining the display device.
  • 26A to 26E are diagrams illustrating a display device.
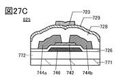
  • 27A to 27C are diagrams illustrating transistors.
  • 28A to 28C are diagrams illustrating transistors.
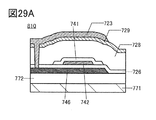
  • 29A and 29B are diagrams illustrating transistors.
  • 30A to 30F are diagrams for explaining electronic devices.
  • the element may be composed of a plurality of elements as long as there is no functional inconvenience.
  • a plurality of transistors operating as switches may be connected in series or in parallel.
  • the capacitor may be divided and arranged at a plurality of positions.
  • one conductor may have a plurality of functions such as wiring, electrodes, and terminals, and in the present specification, a plurality of names may be used for the same element. Further, even if the elements are shown to be directly connected on the circuit diagram, the elements may actually be connected via one or a plurality of conductors. , In the present specification, such a configuration is also included in the category of direct connection.
  • One aspect of the present invention is a display device provided with pixels having a function of adding data (boost function).
  • the pixel has a function of adding the first data and the second data supplied from the source driver to generate a third data, and supplying the third data to a display device (also referred to as a display element). .. Therefore, a voltage higher than the voltage output from the source driver can be supplied to the display device, and the display device having a relatively high operating voltage can be operated by the general-purpose source driver. Alternatively, the output voltage of the source driver can be reduced, and the display device can be operated with low power consumption.
  • the area and capacitance value of the boosting capacitor are expanded by arranging the boosting capacitor and the data holding capacitor in an overlapping manner. Therefore, it is possible to impart an excellent boosting function to the pixel without significantly impairing the aperture ratio or the fineness.
  • FIG. 1 is a circuit diagram of pixels included in the display device of one aspect of the present invention.
  • the pixel includes a transistor 101, a transistor 102, a transistor 103, a transistor 104, a transistor 105, a capacitor 106, a capacitor 107, and a light emitting device 108.
  • the light emitting device is also referred to as a light emitting element.
  • One of the source or drain of the transistor 101 is electrically connected to one electrode of the capacitor 107, the gate of the transistor 104 and one electrode of the capacitor 106.
  • the other electrode of the capacitor 107 is electrically connected to one of the source or drain of the transistor 102 and one of the source or drain of the transistor 103.
  • One of the source or drain of the transistor 104 is electrically connected to one of the source or drain of the transistor 105, one electrode of the light emitting device 108 and the other electrode of the capacitor 106.
  • the capacitor 107 has a function of adding data by capacitive coupling. That is, the pixel has a boosting function.
  • the capacitor 106 has a function of holding data.
  • the capacitor 106 and the capacitor 107 are electrically connected in series. Therefore, a common conductive layer can be used for one electrode of the capacitor 106 and one electrode of the capacitor 107.
  • FIG. 2A and 2B are conventional examples of layout, and show a simple layout of the capacitor 106 and the capacitor 107 in the pixel circuit shown in FIG.
  • FIG. 2A is a top view, which simply shows electrical connections with other elements.
  • FIG. 2B is a cross-sectional view taken along the alternate long and short dash line A1-A2 shown in FIG. 2A.
  • the capacitor 107 has a structure in which a conductive layer 51, a dielectric layer 61, and a conductive layer 52 are laminated.
  • the capacitor 106 has a structure in which a conductive layer 53, a dielectric layer 61, and a conductive layer 52 are laminated.
  • the conductive layer 51 and the conductive layer 53 can be formed from a conductive film formed in the same process. Further, the conductive layer 52 can be used as a common electrode.
  • the forming process and the structure of the capacitor 106 and the capacitor 107 are simple, but since they are formed side by side in a limited area, the respective capacitance values are in a trade-off relationship with each other.
  • FIG. 3A and 3B are diagrams showing a simple layout of the capacitor 106 and the capacitor 107 in one aspect of the present invention.
  • FIG. 3A is a top view, which simply shows electrical connections with other elements.
  • FIG. 3B is a cross-sectional view taken along the alternate long and short dash line B1-B2 shown in FIG. 3A.
  • the capacitor 107 may have a configuration in which the conductive layer 51, the dielectric layer 61, and the conductive layer 52 are laminated.
  • the capacitor 106 may have a configuration in which the conductive layer 52, the dielectric layer 62, and the conductive layer 54 are laminated.
  • the capacitor 106 and the capacitor 107 can have a region overlapping each other with the conductive layer 52 as a common electrode. Therefore, the capacitors 106 and the capacitors 107 are less subject to area restrictions, and the degree of freedom in design can be improved.
  • the capacitor 107 can also be arranged in the region where the capacitor 106 in the conventional example is arranged, and the capacitance value can be increased. Being able to increase the area (capacity value) of the capacitor 107 is effective in improving the boosting function. Further, since the dielectric layer 62 and the conductive layer 54 use elements for forming a transistor or the like, the number of steps is not increased. Details of the boost function and the specific layout will be described later.
  • the gate of the transistor 101 is electrically connected to the wiring 125.
  • the gate of the transistor 102 is electrically connected to the wiring 126.
  • the gate of the transistor 103 is electrically connected to the wiring 125.
  • the gate of the transistor 105 is electrically connected to the wiring 127.
  • the other of the source or drain of the transistor 101 is electrically connected to the wiring 121.
  • the other of the source or drain of the transistor 102 is electrically connected to the wiring 122.
  • the other of the source or drain of the transistor 103 is electrically connected to the wiring 124.
  • the other of the source or drain of the transistor 104 is electrically connected to the wiring 123.
  • the other of the source or drain of the transistor 105 is electrically connected to the wiring 124.
  • the other electrode of the light emitting device 108 is electrically connected to the wiring 129.
  • Wiring 125, 126, 127 has a function as a gate wire and can be electrically connected to the gate driver.
  • the wirings 121 and 122 have a function as a source line and can be electrically connected to the source driver.
  • Wiring 123 and 129 can have a function as a power line. For example, by supplying a high potential to the wiring 123 and a low potential to the wiring 129, the light emitting device 108 can be operated in a forward bias operation (light emission).
  • the wiring 124 can have a function of supplying a reference potential (V ref ).
  • V ref a reference potential
  • 0V, GND potential, or the like can be used as "V ref ".
  • a specific potential may be set to "V ref ".
  • the wiring connecting one of the source or drain of the transistor 101, one electrode of the capacitor 106, one electrode of the capacitor 107, and the gate of the transistor 104 is referred to as a node NM.
  • the wiring that connects one of the source or drain of the transistor 102, the other electrode of the capacitor 107, and one of the source or drain of the transistor 103 is defined as a node NA.
  • the transistor 101 can have a function of writing the potential of the wiring 121 to the node NM.
  • the transistor 102 can have a function of writing the potential of the wiring 122 to the node NA.
  • the transistor 103 can have a function of supplying a reference potential (V ref ) to the node NA.
  • the transistor 104 can have a function of controlling the current flowing through the light emitting device 108 according to the potential of the node NM.
  • the transistor 105 can have a function of fixing the source potential of the transistor 104 when writing data to the node NM and a function of controlling the operation timing of the light emitting device 108.
  • the node NM is connected to the node NA via the capacitor 107. Therefore, when the node NM is in the floating state, the potential change of the node NA can be added by capacitive coupling. The addition of potentials in the node NM will be described below.
  • the first data (weight: “W”) is written to the node NM.
  • the reference potential “V ref ” is supplied to the node NA, and the capacitor 107 is made to hold the “ WV ref ”.
  • the node NA is made floating, and the second data (data: “D”) is supplied to the node NA.
  • the potential of the node NM is “W + (C 107 / (C 107 + C NM )) ⁇ ( DV ref )”. It becomes.
  • C 107 / (C 107 + C NM ) approaches 1, and the potential of the node NM can be regarded as "W + DV ref ".
  • V ref is "-W” or "-D"
  • the potential of the node NM can be brought close to "3D”.
  • the voltage required for the operation of the light emitting device 108 can be generated even if the output voltage of the source driver is small, and the light emitting device 108 can be operated appropriately.
  • the capacitance value of the capacitor 107 is preferably sufficiently larger than the capacitance value of the node NM (including the capacitor 106).
  • the capacitor 106 and the capacitor 107 are formed so as to have an overlapping region, it is easy to increase the occupied area of the capacitor 107 in the pixel. That is, it is easy to increase the capacitance value of the capacitor 107, and the above-mentioned potential addition function (boosting function) can be enhanced.
  • Node NM and node NA act as holding nodes.
  • Data can be written to each node by making the transistor connected to each node conductive. Further, by making the transistor non-conducting, the data can be held in each node. Leakage current can be suppressed by using a transistor having an extremely low off current for the transistor, and the potential of each node can be maintained for a long time.
  • the transistor for example, it is preferable to use a transistor (hereinafter, OS transistor) in which a metal oxide is used in the channel forming region.
  • the OS transistor it is preferable to apply the OS transistor to any one of the transistors 101, 102, and 103.
  • the OS transistor may be applied to all the transistors of the pixel.
  • a transistor having Si in the channel forming region hereinafter, Si transistor
  • an OS transistor and a Si transistor may be used together.
  • the Si transistor include a transistor having amorphous silicon, a transistor having crystalline silicon (microcrystalline silicon, low temperature polysilicon, single crystal silicon), and the like.
  • a metal oxide having an energy gap of 2 eV or more, preferably 2.5 eV or more, more preferably 3 eV or more can be used.
  • a typical example is an oxide semiconductor containing indium, and for example, CAAC-OS or CAC-OS described later can be used.
  • CAAC-OS is suitable for transistors and the like in which the atoms constituting the crystal are stable and reliability is important. Further, since CAC-OS exhibits high mobility characteristics, it is suitable for a transistor or the like that performs high-speed driving.
  • the OS transistor Since the OS transistor has a large energy gap in the semiconductor layer, it can exhibit an extremely low off-current characteristic of several yA / ⁇ m (current value per 1 ⁇ m of channel width). Further, the OS transistor has features different from those of the Si transistor such as impact ionization, avalanche breakdown, and short channel effect, and can form a highly reliable circuit. In addition, variations in electrical characteristics due to crystalline non-uniformity, which is a problem with Si transistors, are unlikely to occur with OS transistors.
  • the semiconductor layer of the OS transistor is In containing, for example, indium, zinc and M (M is one or more metals such as indium, titanium, gallium, germanium, ittrium, zirconium, lanthanum, cerium, tin, neodymium or hafnium). It can be a film represented by ⁇ M—Zn-based oxide.
  • M is one or more metals such as indium, titanium, gallium, germanium, ittrium, zirconium, lanthanum, cerium, tin, neodymium or hafnium.
  • M is one or more metals such as indium, titanium, gallium, germanium, ittrium, zirconium, lanthanum, cerium, tin, neodymium or hafnium.
  • M is one or more metals such as indium, titanium, gallium, germanium, ittrium, zirconium, lanthanum, cerium, tin, neodymium or ha
  • the atomic number ratio of the metal element of the sputtering target used for forming the In—M—Zn-based oxide by the sputtering method preferably satisfies In ⁇ M and Zn ⁇ M.
  • the atomic number ratio of the semiconductor layer to be formed includes a variation of plus or minus 40% of the atomic number ratio of the metal element contained in the sputtering target.
  • the semiconductor layer an oxide semiconductor having a low carrier density is used.
  • the semiconductor layer has a carrier density of 1 ⁇ 10 17 / cm 3 or less, preferably 1 ⁇ 10 15 / cm 3 or less, more preferably 1 ⁇ 10 13 / cm 3 or less, and more preferably 1 ⁇ 10 11 / cm. 3 or less, more preferably less than 1 ⁇ 10 10 / cm 3, it is possible to use a 1 ⁇ 10 -9 / cm 3 or more oxide semiconductor.
  • oxide semiconductors are referred to as high-purity intrinsic or substantially high-purity intrinsic oxide semiconductors. It can be said that the oxide semiconductor is an oxide semiconductor having a low defect level density and stable characteristics.
  • the present invention is not limited to these, and a transistor having an appropriate composition may be used according to the required semiconductor characteristics and electrical characteristics (field effect mobility, threshold voltage, etc.) of the transistor. Further, in order to obtain the required semiconductor characteristics of the transistor, it is preferable that the carrier density, impurity concentration, defect density, atomic number ratio of metal element and oxygen, interatomic distance, density, etc. of the semiconductor layer are appropriate. ..
  • the concentration of silicon or carbon in the semiconductor layer is set to 2 ⁇ 10 18 atoms / cm 3 or less, preferably 2 ⁇ 10 17 atoms / cm 3 or less.
  • the concentration of alkali metal or alkaline earth metal in the semiconductor layer is 1 ⁇ 10 18 atoms / cm 3 or less, preferably 2 ⁇ 10 16 atoms / cm 3 or less.
  • the nitrogen concentration in the semiconductor layer is preferably 5 ⁇ 10 18 atoms / cm 3 or less.
  • the oxide semiconductor constituting the semiconductor layer when hydrogen is contained in the oxide semiconductor constituting the semiconductor layer, it reacts with oxygen bonded to a metal atom to become water, which may form an oxygen deficiency in the oxide semiconductor. If the channel formation region in the oxide semiconductor contains oxygen deficiency, the transistor may have a normally-on characteristic. Furthermore, a defect containing hydrogen in an oxygen deficiency may function as a donor and generate electrons as carriers. In addition, a part of hydrogen may be combined with oxygen that is bonded to a metal atom to generate an electron as a carrier. Therefore, a transistor using an oxide semiconductor containing a large amount of hydrogen tends to have a normally-on characteristic.
  • Defects containing hydrogen in oxygen deficiencies can function as donors for oxide semiconductors. However, it is difficult to quantitatively evaluate the defect. Therefore, in oxide semiconductors, the carrier concentration may be evaluated instead of the donor concentration. Therefore, in the present specification and the like, as a parameter of the oxide semiconductor, a carrier concentration assuming a state in which an electric field is not applied may be used instead of the donor concentration. That is, the "carrier concentration" described in the present specification and the like may be paraphrased as the "donor concentration".
  • the hydrogen concentration obtained by secondary ion mass spectrometry is less than 1 ⁇ 10 20 atoms / cm 3 , preferably 1 ⁇ 10 19 atoms / cm. Less than 3 , more preferably less than 5 ⁇ 10 18 atoms / cm 3 , and even more preferably less than 1 ⁇ 10 18 atoms / cm 3 .
  • the semiconductor layer may have a non-single crystal structure, for example.
  • the non-single crystal structure includes, for example, CAAC-OS (C-Axis Aligned Crystalline Oxide Semiconductor) having crystals oriented on the c-axis, a polycrystalline structure, a microcrystal structure, or an amorphous structure.
  • CAAC-OS C-Axis Aligned Crystalline Oxide Semiconductor
  • the amorphous structure has the highest defect level density
  • CAAC-OS has the lowest defect level density.
  • An oxide semiconductor film having an amorphous structure has, for example, a disordered atomic arrangement and no crystal component.
  • the amorphous oxide film has, for example, a completely amorphous structure and has no crystal portion.
  • the semiconductor layer is a mixed film having two or more of an amorphous structure region, a microcrystal structure region, a polycrystalline structure region, a CAAC-OS region, and a single crystal structure region.
  • the mixed film may have, for example, a single-layer structure or a laminated structure including any two or more of the above-mentioned regions.
  • CAC Cloud-Organized Complex
  • the CAC-OS is, for example, a composition of a material in which the elements constituting the oxide semiconductor are unevenly distributed in a size of 0.5 nm or more and 10 nm or less, preferably 1 nm or more and 2 nm or less, or a size close thereto.
  • the oxide semiconductor one or more metal elements are unevenly distributed, and the region having the metal elements is 0.5 nm or more and 10 nm or less, preferably 1 nm or more and 2 nm or less, or a size in the vicinity thereof.
  • the state of being mixed with is also called a mosaic shape or a patch shape.
  • the oxide semiconductor preferably contains at least indium. In particular, it preferably contains indium and zinc. Also, in addition to them, aluminum, gallium, yttrium, copper, vanadium, beryllium, boron, silicon, titanium, iron, nickel, germanium, zirconium, molybdenum, lantern, cerium, neodymium, hafnium, tantalum, tungsten, or magnesium, etc. One or more selected from the above may be included.
  • CAC-OS in In-Ga-Zn oxide is indium oxide (hereinafter, InO).
  • InO indium oxide
  • X1 is a real number greater than 0
  • In X2 Zn Y2 O Z2 X2, Y2, and Z2 are real numbers greater than 0
  • GaO X3 (X3 is a real number larger than 0)
  • gallium zinc oxide hereinafter, Ga X4 Zn Y4 O Z4 (X4, Y4, and Z4 are real numbers larger than 0)
  • the material is separated into a mosaic-like structure, and the mosaic-like InO X1 or In X2 Zn Y2 O Z2 is uniformly distributed in the film (hereinafter, also referred to as cloud-like). is there.
  • CAC-OS is a composite oxide semiconductor having a structure in which a region containing GaO X3 as a main component and a region containing In X2 Zn Y2 O Z2 or InO X1 as a main component are mixed.
  • the atomic number ratio of In to the element M in the first region is larger than the atomic number ratio of In to the element M in the second region. It is assumed that the concentration of In is higher than that of region 2.
  • IGZO is a common name and may refer to one compound consisting of In, Ga, Zn, and O. As a typical example, it is represented by InGaO 3 (ZnO) m1 (m1 is a natural number) or In (1 + x0) Ga (1-x0) O 3 (ZnO) m0 (-1 ⁇ x0 ⁇ 1, m0 is an arbitrary number). Crystalline compounds can be mentioned.
  • the crystalline compound has a single crystal structure, a polycrystalline structure, or a CAAC structure.
  • the CAAC structure is a crystal structure in which a plurality of IGZO nanocrystals have a c-axis orientation and are connected without being oriented on the ab plane.
  • CAC-OS relates to the material composition of oxide semiconductors.
  • CAC-OS is a region that is partially observed as nanoparticles containing Ga as a main component and nanoparticles containing In as a main component in a material composition containing In, Ga, Zn, and O. The regions observed in the shape are randomly dispersed in a mosaic pattern. Therefore, in CAC-OS, the crystal structure is a secondary element.
  • CAC-OS does not include a laminated structure of two or more types of films having different compositions.
  • CAC-OS has a region observed in the form of nanoparticles containing the metal element as a main component and a nano having In as a main component.
  • the regions observed in the form of particles refer to a configuration in which the regions are randomly dispersed in a mosaic pattern.
  • the CAC-OS can be formed by a sputtering method, for example, under the condition that the substrate is not intentionally heated.
  • a sputtering method one or more selected from an inert gas (typically argon), an oxygen gas, and a nitrogen gas may be used as the film forming gas. Good. Further, the lower the flow rate ratio of the oxygen gas to the total flow rate of the film-forming gas at the time of film formation, the more preferable. ..
  • CAC-OS is characterized by the fact that no clear peak is observed when measured using the ⁇ / 2 ⁇ scan by the Out-of-plane method, which is one of the X-ray diffraction (XRD) measurement methods. Have. That is, from the X-ray diffraction measurement, it can be seen that the orientation of the measurement region in the ab plane direction and the c-axis direction is not observed.
  • XRD X-ray diffraction
  • CAC-OS has a ring-shaped region with high brightness (ring region) and the ring in an electron diffraction pattern obtained by irradiating an electron beam having a probe diameter of 1 nm (also referred to as a nanobeam electron beam). Multiple bright spots are observed in the area. Therefore, from the electron diffraction pattern, it can be seen that the crystal structure of CAC-OS has an nc (nano-crystal) structure having no orientation in the planar direction and the cross-sectional direction.
  • GaO X3 is the main component by EDX mapping obtained by using energy dispersive X-ray spectroscopy (EDX). It can be confirmed that the region and the region containing In X2 Zn Y2 O Z2 or InO X1 as the main component have a structure in which they are unevenly distributed and mixed.
  • EDX energy dispersive X-ray spectroscopy
  • CAC-OS has a structure different from that of the IGZO compound in which metal elements are uniformly distributed, and has properties different from those of the IGZO compound. That is, the CAC-OS is phase-separated into a region containing GaO X3 or the like as a main component and a region containing In X2 Zn Y2 O Z2 or InO X1 as a main component, and a region containing each element as a main component. Has a mosaic-like structure.
  • the region in which In X2 Zn Y2 O Z2 or InO X1 is the main component is a region having higher conductivity than the region in which GaO X3 or the like is the main component. That is, the conductivity as an oxide semiconductor is exhibited by the carrier flowing through the region where In X2 Zn Y2 O Z2 or InO X1 is the main component. Therefore, a high field effect mobility ( ⁇ ) can be realized by distributing the region containing In X2 Zn Y2 O Z2 or InO X1 as the main component in the oxide semiconductor in a cloud shape.
  • the region in which GaO X3 or the like is the main component is a region having higher insulating property than the region in which In X2 Zn Y2 O Z2 or InO X1 is the main component. That is, the region containing GaO X3 or the like as the main component is distributed in the oxide semiconductor, so that the leakage current can be suppressed and a good switching operation can be realized.
  • CAC-OS when CAC-OS is used for a semiconductor device, the insulation property caused by GaO X3 and the like and the conductivity caused by In X2 Zn Y2 O Z2 or InO X1 act in a complementary manner, resulting in high efficiency.
  • On-current (I on ) and high field-effect mobility ( ⁇ ) can be achieved.
  • CAC-OS is suitable as a constituent material for various semiconductor devices.
  • the pixel circuit configuration shown in FIG. 1 is an example.
  • one electrode of the light emitting device 108 is electrically connected to the wiring 123, and the other electrode of the light emitting device 108 is connected to a transistor. It may be electrically connected to the other of 104 sources or drains.
  • the transistor 109 may be provided between the source or drain of the transistor 104 and one electrode of the light emitting device 108 and the transistor 109. By providing the transistor 109, the timing of light emission can be arbitrarily controlled. Further, the configurations shown in FIGS. 4A and 4B may be combined.
  • the circuit 40 can be electrically connected to the wiring 124 connected to the transistor 105.
  • the circuit 40 can have one or more of a reference potential (V ref ) source, a function of acquiring the electrical characteristics of the transistor 104, and a function of generating correction data.
  • V ref reference potential
  • the gate line may be shared by two pixels adjacent to each other in the vertical direction (the direction in which the source lines (wiring 121, 122) extend).
  • FIG. 5 describes pixels 10 [n, m] arranged in the nth row and mth column (n and m are natural numbers of 1 or more) and pixels 10 [n + 1, m] arranged in the n + 1th row and mth column. It is a figure to do.
  • the basic configuration of the pixel 10 is the same as that of the pixel circuit shown in FIG. 1, but the wiring 126 is omitted because the wiring 125 also functions as the wiring 126.
  • the gate of the transistor 102 of pixel 10 [n, m] is electrically connected to the wiring 125 [n + 1].
  • the gate of the transistor 101 and the gate of the transistor 103 of the pixel 10 [n + 1, m] are electrically connected to the wiring 125 [n + 1].
  • the gate of the transistor 102 of pixel 10 [n + 1, m] is electrically connected to the wiring 125 [n + 2].
  • the gate of the transistor 101 of the pixel 10 [n + 2, m] and the gate of the transistor 103 are electrically connected to the wiring 125 [n + 2].
  • the pixel 10 of one aspect of the present invention there are two writing operations of writing the first data (weight) and writing the second data (data). Since the weights and data are supplied from different source lines, the timing of writing data to one pixel and the timing of writing weights to the other pixel can be overlapped. Therefore, the gate line to which the gates of the transistors performing these operations are connected can be shared.
  • the number of gate lines per pixel can be reduced from three to substantially two, and the aperture ratio of the pixels can be increased.
  • power consumption can be reduced because the operation of the gate driver is simplified and the number of gate wirings that require charging and discharging is reduced.
  • the high potential is represented by “H” and the low potential is represented by “L”.
  • the weight supplied to the pixel 10 [n, m] is “W1”
  • the image data is “D1”
  • the weight supplied to the pixel 10 [n + 1, m] is “W2”
  • the image data is "D2”.
  • V ref for example, 0V, GND potential or a specific potential can be used.
  • a high potential is constantly supplied to the wiring 123
  • a low potential is constantly supplied to the wiring 129
  • a reference potential ( Vref ) is constantly supplied to the wiring 124. If there is no problem in operation, there may be a period during which these potentials are not supplied.
  • the transistor 101 conducts, and the potential of the wiring 121 [m] is written to the node NM [n, m]. Further, the transistor 105 becomes conductive, and the source potential of the transistor 104 becomes "V ref ". This operation is a weight writing operation in the pixel 10 [n, m], and the potential “W1” is written to the node NM [n, m] in a state where the source potential of the transistor 104 is stable.
  • the potential of the wiring 125 [n] is "L”
  • the potential of the wiring 127 [n] is "H”
  • the potential of the wiring 125 [n + 1] is “H”
  • the potential of the wiring 127 [n + 1] is "H”.
  • the transistor 101 becomes non-conducting.
  • "W1” is held in the node NM [n, m]. Further, "W1-V ref " is held in the capacitor 107.
  • the transistor 103 becomes non-conducting, the transistor 102 becomes conductive, and the potential of the node NA [n, m] becomes the potential “D1” of the wiring 122 [m].
  • the change amount "D1-V ref " of the node NA is added to the node NM [n, m] according to the capacitance ratio of the capacitor 107 and the node NM [n, m].
  • This operation is an addition operation in the pixel 10 [n, m], and the potential of the node NM [n, m] is “W1 + (D1-V ref )'”.
  • V ref " 0, the potential of the node NM [n, m] becomes "W1 + D1'".
  • This operation is a reset operation for performing a later addition operation (capacitive coupling operation).
  • the transistor 101 conducts, and the potential of the wiring 121 [m] is written to the node NM [n + 1, m]. Further, the transistor 105 becomes conductive, and the source potential of the transistor 104 becomes "V ref ". This operation is a weight writing operation in the pixel 10 [n + 1, m], and the potential “W2” is written to the node NM [n + 1, m] in a state where the source potential of the transistor 104 is stable.
  • the transistor 105 becomes non-conducting, a current flows through the transistor 104 according to the potential of the node NM [n, m], and the light emitting device 108 emits light.
  • the transistor 103 becomes non-conducting, the transistor 102 becomes conductive, and the potential of the node NA [n + 1, m] becomes the potential “D2” of the wiring 122 [m].
  • the change "D2-V ref " of the node NA is added to the node NM [n + 1, m] according to the capacitance ratio of the capacitor 107 and the node NM [n + 1, m].
  • This operation is an addition operation in the pixel 10 [n + 1, m], and the potential of the node NM [n + 1, m] is “W2 + (D2-V ref )'”.
  • V ref " 0, the potential of the node NM [n + 1, m] becomes "W2 + D2'".
  • the transistor 105 becomes non-conducting in the pixel 10 [n + 1, m], and the node NM [n + 1, m] ], A current flows through the transistor 104, and the light emitting device 108 emits light.
  • FIG. 7A is a circuit diagram of pixels using a liquid crystal device as a display device.
  • One electrode of the liquid crystal device 110 is electrically connected to the node NM, and the other electrode of the liquid crystal device 110 is electrically connected to the wiring 130. Further, the other electrode of the capacitor 106 is electrically connected to the wiring 131.
  • the elements common to the pixels shown in FIG. 1 are designated by the same reference numerals, and the description thereof will be omitted.
  • FIG. 7B is a top view showing a simple layout of the cabasita 106 and the capacitor 107.
  • Capacitor 106 and capacitor 107 can be equivalent to the configurations shown in FIGS. 3A and 3B.
  • the wiring 130 and the wiring 131 may be electrically connected.
  • the wirings 130 and 131 have a function of supplying power.
  • the wirings 130 and 131 can supply a reference potential such as GND or 0V or an arbitrary potential.
  • the other of the source or drain of the transistor 103 is electrically connected to the wiring 123, but may be electrically connected to the wiring 131 as shown in FIG. 8A. Alternatively, it may be electrically connected to the wiring 130. Alternatively, the other electrode of the capacitor 106 and the wiring 123 may be electrically connected.
  • the capacitor 106 may be omitted.
  • an OS transistor can be used as the transistor connected to the node NM. Since the leakage current of the OS transistor is extremely small, the display can be maintained for a relatively long time even if the capacitor 106 that functions as a holding capacitance is omitted. Further, it is effective to omit the capacitor 106 not only in the transistor configuration but also in the case where the display period can be shortened by high-speed operation as in the field sequential drive. The aperture ratio can be improved by omitting the capacitor 106. Alternatively, the transmittance of the pixels can be improved.
  • the gate line can be shared by two pixels arranged in the vertical direction. As shown in FIG. 9, when a liquid crystal device is used, the number of gate lines can be reduced from two to one substantially per pixel by sharing the gate line between the two pixels.
  • the operation when the light emitting device is used can be referred to.
  • a back gate may be provided in the transistor.
  • FIG. 10 shows a configuration in which the back gate is electrically connected to the front gate, which has the effect of increasing the on-current.
  • the back gate may be electrically connected to a wiring capable of supplying a constant potential. In this configuration, the threshold voltage of the transistor can be controlled.
  • the pixel of one aspect of the present invention may have a configuration in which one source line is used.
  • weights and data are written at different timings, so the source lines that supply them can be shared.
  • the configuration cannot be combined with the configuration in which the gate line is common between the two pixels shown in FIG. 5 or 9.
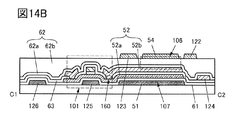
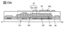
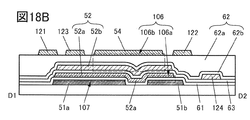
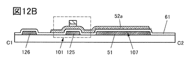
  • FIGS. 12A, 12B, 13A, 13B, 14A, 14B, and 15A to 15C In order to mainly explain the configuration of the capacitor, the light emitting device and some components of the pixel are shown in FIGS. 12A, 12B, 13A, 13B, 14A, 14B, and 15A to 15C. It cannot be shown and the description will be omitted.
  • FIG. 12A, FIG. 12B, FIG. 13A, FIG. 13B, FIG. 14A, FIG. 14B, and FIGS. 15A to 15C the same reference numerals as those in FIGS. 1, 3A, and 3B are used.
  • FIG. 12A and 12B are views showing a laminated state of the conductive layer 51, the dielectric layer 61, and the conductive layer 52a constituting the capacitor 107.
  • FIG. 12A is a top view.
  • FIG. 12B is a cross-sectional view taken along the alternate long and short dash line C1-C2 shown in FIG. 12A.
  • the conductive layer 51 can be formed in the same process as the wiring 125, the wiring 126, the wiring 127, and the back gate electrode of the transistor 104.
  • the wiring 125 also functions as a back gate electrode of the transistor 101.
  • the wiring 126 also functions as a back gate electrode for the transistor 102 and the transistor 103.
  • the wiring 127 also functions as a back gate electrode of the transistor 105.
  • a metal layer having a low resistance can be used for the conductive layer 51.
  • the dielectric layer 61 can be formed in the same process as the back gate insulating film of the transistors 101 to 105.
  • An inorganic insulating layer such as a silicon oxide film can be used for the dielectric layer 61.
  • the conductive layer 52a is a low-resistance semiconductor layer, and after forming the semiconductor layer, impurities and the like are introduced to reduce the resistance.
  • the semiconductor layer can be formed by using a process common to the semiconductor layers of the transistors 101 to 105.
  • the introduction region of impurities can be controlled by using the gate electrode as a mask, the region overlapping the gate electrode is a high resistance region, and the other regions are low resistance regions.
  • the high resistance region acts as a channel formation region and the low resistance region acts as a source or drain region.
  • the low resistance region can be, for example, an oxide conductive layer obtained by reducing the resistance of an oxide semiconductor such as IGZO.
  • the conductive layer 52a can be formed in the same manner as the low resistance region.
  • the capacitor 107 can be formed.
  • FIG. 13A is a top view.
  • FIG. 13B is a cross-sectional view taken along the alternate long and short dash line C1-C2 shown in FIG. 13A.
  • the conductive layer 52b has a region that overlaps with the conductive layer 52a. Further, since the conductive layer 52b is directly electrically connected to the conductive layer 52a, both have the same potential. Therefore, the conductive layer 52b and the conductive layer 52a can be regarded as the same as the conductive layer 52 shown in FIG. 3B.
  • a protective layer 63 is provided on each transistor and the conductive layer 52a.
  • an inorganic insulating layer such as a silicon oxide film can be used.
  • the conductive layer 52a is a region where one of the source and the drain of the transistor 101 extends.
  • An opening 160 is provided in the protective layer 63 that overlaps one of the source and drain of the transistor 101.
  • the conductive layer 52b is formed so as to have a region overlapping the conductive layer 52a via the protective layer 63. Further, a part of the conductive layer 52b is also provided in the opening 160 and is electrically directly connected to the conductive layer 52a.
  • the conductive layer 52b can be formed by a process common to the wiring 124 and the connection wiring corresponding to the source electrode or drain electrode of each transistor.
  • a metal layer having a low resistance can be used for the conductive layer 52b.
  • FIG. 14A is a top view.
  • FIG. 14B is a cross-sectional view taken along the alternate long and short dash line C1-C2 shown in FIG. 14A.
  • the capacitor 106 has a structure in which a conductive layer 52b, a dielectric layer 62a, a dielectric layer 62b, and a conductive layer 54 are laminated.
  • the dielectric layer 62a is provided on each transistor and the conductive layer 52b.
  • an inorganic insulating layer such as a silicon oxide film or a silicon nitride film can be used.
  • the dielectric layer 62a also functions as a protective film for the transistor.
  • the dielectric layer 62b is provided on the dielectric layer 62a.
  • an organic insulating layer such as acrylic or polyimide can be used.
  • the dielectric layer 62b also functions as a flattening film. Both the dielectric layer 62a and the dielectric layer 62b function as the dielectric layer of the capacitor 106. That is, the dielectric layer 62a and the dielectric layer 62b can be regarded as the same as the dielectric layer 62 shown in FIG. 3B.
  • the conductive layer 54 is provided on the dielectric layer 62b so as to have a region overlapping the conductive layer 52b.
  • the conductive layer 54 can be formed in the same process as the wiring 122 and the wiring 123.
  • a metal layer having low resistance can be used for the conductive layer 54.
  • the capacitor 107 and the capacitor 106 can be configured to have a region in which the conductive layer 52 is used as a common electrode and overlap each other.
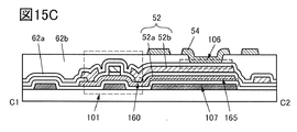
  • the conductive layer 52a having a low resistance of the semiconductor layer has a higher resistance than the metal layer. Therefore, as shown in FIG. 15A, the protective layer 63 may be provided with a plurality of openings 165 to increase the area of contact between the conductive layer 52a and the conductive layer 52b to mitigate the influence of resistance.
  • This configuration can be said to be a configuration in which a plurality of openings 160 are provided.
  • the conductive layer 54 may be provided so as to be in contact with the dielectric layer 62a.
  • the organic insulating layer (dielectric layer 62b) may be provided on the dielectric layer 62a and the conductive layer 54.
  • an opening may be provided in a region of the organic insulating layer (dielectric layer 62b) overlapping the conductive layer 52b, and the conductive layer 54 may be provided in the opening.
  • the dielectric layer can be formed by one layer of the inorganic insulating layer (dielectric layer 62a), the capacitance value can be easily increased.
  • a configuration may be configured in which three capacitors are provided and one capacitor has a region where the other two capacitors overlap.
  • the one capacitor can be connected in parallel with the other capacitor.
  • FIGS. 16A, 16B, 17A, 17B, 18A, and 18B will be described with reference to FIGS. 16A, 16B, 17A, 17B, 18A, and 18B.
  • a capacitor 107, a capacitor 106a, and a capacitor 106b are provided in the pixel, and the capacitor 106a and the capacitor 106b are connected in parallel and used as the capacitor 106.
  • the capacitor 107 may be configured by connecting in parallel.
  • FIGS. 12A, 12B, 13A, 13B, 14A, 14B, and 15A to 15C will be omitted.
  • FIG. 16A and 16B show a laminated state of the conductive layer 51a, the dielectric layer 61, and the conductive layer 52a constituting the capacitor 107, and a laminated state of the conductive layer 51b, the dielectric layer 61, and the conductive layer 52a constituting the capacitor 106a. It is a figure which shows.
  • FIG. 16A is a top view.
  • 16B is a cross-sectional view taken along the alternate long and short dash line D1-D2 shown in FIG. 16A.
  • the conductive layer 51a and the conductive layer 51b can be formed in the same process as the wiring 125, the wiring 126, the wiring 127, and the back gate electrode of the transistor 104.
  • the conductive layer 51a and the conductive layer 51b are separately provided on the same surface.
  • the dielectric layer 61 can be formed in the same process as the back gate insulating film of the transistors 101 to 105.
  • the conductive layer 52a can be formed by using a step common to the semiconductor layers of the transistors 101 to 105 and a step of lowering the resistance of the semiconductor layer.
  • a step common to the semiconductor layers of the transistors 101 to 105 for example, an oxide conductive layer obtained by reducing the resistance of an oxide semiconductor such as IGZO can be used.
  • the capacitor 107 and the capacitor 106a having the conductive layer 52a as a common electrode can be formed.
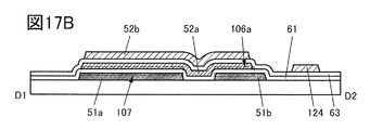
  • FIG. 17A is a top view.
  • FIG. 17B is a cross-sectional view taken along the alternate long and short dash line D1-D2 shown in FIG. 17A.
  • the conductive layer 52b has a region that overlaps with the conductive layer 52a. Further, since the conductive layer 52b is electrically directly connected to the conductive layer 52a at the opening 160 (see FIG. 17A), both have the same potential.
  • connection wiring 55 is electrically connected to the connection wiring 55 formed in the same process as the conductive layer 52b at the openings 161 provided in the dielectric layer 61 and the protective layer 63 (see FIG. 17A).
  • the connection wiring 55 is also electrically connected to the transistor 104 and the transistor 105.
  • FIG. 18A is a top view.
  • FIG. 18B is a cross-sectional view taken along the alternate long and short dash line D1-D2 shown in FIG. 18A.
  • the capacitor 106b has a structure in which a conductive layer 52b, a dielectric layer 62a, a dielectric layer 62b, and a conductive layer 54 are laminated.
  • the dielectric layer 62a is provided on each transistor and the conductive layer 52b.
  • the dielectric layer 62b is provided on the dielectric layer 62a. Both the dielectric layer 62a and the dielectric layer 62b function as a dielectric layer of the capacitor 106b.
  • the conductive layer 54 is provided on the dielectric layer 62b so as to have a region overlapping the conductive layer 52b.
  • the capacitor 107, the capacitor 106a, and the capacitor 106b having the conductive layer 52 as a common electrode are formed.
  • the conductive layer 54 is electrically directly connected to the connection wiring 55 at the openings 162 provided in the dielectric layer 62a and the dielectric layer 62b (see FIG. 18A). Therefore, the conductive layer 54 has the same potential as the conductive layer 51b. That is, the capacitor 106a and the capacitor 106b are connected in parallel and can function as the capacitor 106.
  • FIGS. 15A to 15C can also be applied to the configurations shown in FIGS. 18A and 18B.
  • FIG. 19 is a diagram illustrating a display device according to an aspect of the present invention.
  • the display device includes a pixel array 11, a source driver 20, and a gate driver 30.
  • the pixel array 11 has pixels 12 arranged in the column direction and the row direction.
  • a pixel having a laminated structure of capacitors described in the present embodiment and having a boosting function can be used as the pixel 12, a pixel having a laminated structure of capacitors described in the present embodiment and having a boosting function can be used.
  • the wiring is simply shown, and the wiring for connecting to the element of the pixel of one aspect of the present invention described above is provided.
  • a sequential circuit such as a shift register can be used for the source driver 20 and the gate driver 30.
  • the source driver 20 and the gate driver 30 can use a method of externally attaching an IC chip by a COF (chip on film) method, a COG (chip on glass) method, a TCP (tape carrier package) method, or the like. Alternatively, it may be built on the same substrate as the pixel array 11 by using a transistor manufactured by using the same process as the pixel array 11.
  • COF chip on film
  • COG chip on glass
  • TCP tape carrier package
  • gate driver 30 is arranged on one side of the pixel array 11, two gate drivers 30 may be arranged so as to face each other via the pixel array 11 and the drive lines may be divided.
  • This embodiment can be implemented in combination with the configurations described in the other embodiments as appropriate.
  • the pixels described in the first embodiment can be used in the display device described in the present embodiment.
  • the scanning line drive circuit described below corresponds to a gate driver, and the signal line drive circuit corresponds to a source driver.
  • 20A to 20C are diagrams showing the configuration of a display device that can use one aspect of the present invention.
  • a sealing material 4005 is provided so as to surround the display unit 215 provided on the first substrate 4001, and the display unit 215 is sealed by the sealing material 4005 and the second substrate 4006.
  • the scanning line drive circuit 221a, the signal line drive circuit 231a, the signal line drive circuit 232a, and the common line drive circuit 241a each have a plurality of integrated circuits 4042 provided on the printed circuit board 4041.
  • the integrated circuit 4042 is made of a single crystal semiconductor or a polycrystalline semiconductor.
  • the common line drive circuit 241a has a function of supplying a predetermined potential to the wirings 123, 124, 129, 130, 131 and the like shown in the first embodiment.
  • the integrated circuit 4042 included in the scanning line driving circuit 221a and the common line driving circuit 241a has a function of supplying a selection signal to the display unit 215.
  • the integrated circuit 4042 included in the signal line drive circuit 231a and the signal line drive circuit 232a has a function of supplying image data to the display unit 215.
  • the integrated circuit 4042 is mounted in a region different from the region surrounded by the sealing material 4005 on the first substrate 4001.
  • connection method of the integrated circuit 4042 is not particularly limited, and a wire bonding method, a COF (Chip On Film) method, a COG (Chip On Glass) method, a TCP (Tape Carrier Package) method, or the like can be used. it can.
  • FIG. 20B shows an example of mounting the integrated circuit 4042 included in the signal line drive circuit 231a and the signal line drive circuit 232a by the COG method. Further, a part or the whole of the drive circuit can be integrally formed on the same substrate as the display unit 215 to form a system on panel.
  • FIG. 20B shows an example in which the scanning line driving circuit 221a and the common line driving circuit 241a are formed on the same substrate as the display unit 215.
  • a sealing material 4005 is provided so as to surround the display unit 215 provided on the first substrate 4001 and the scanning line drive circuit 221a and the common line drive circuit 241a.
  • a second substrate 4006 is provided on the display unit 215, the scanning line drive circuit 221a, and the common line drive circuit 241a. Therefore, the display unit 215, the scanning line drive circuit 221a, and the common line drive circuit 241a are sealed together with the display device by the first substrate 4001, the sealing material 4005, and the second substrate 4006.
  • FIG. 20B shows an example in which the signal line drive circuit 231a and the signal line drive circuit 232a are separately formed and mounted on the first substrate 4001, but the configuration is not limited to this.
  • the scanning line drive circuit may be separately formed and mounted, or a part of the signal line driving circuit or a part of the scanning line driving circuit may be separately formed and mounted.
  • the signal line drive circuit 231a and the signal line drive circuit 232a may be formed on the same substrate as the display unit 215.
  • the display device may include a panel in which the display device is sealed and a module in which an IC or the like including a controller is mounted on the panel.
  • the display unit and the scanning line drive circuit provided on the first substrate have a plurality of transistors.
  • the transistor the Si transistor or OS transistor shown in the first embodiment can be applied.
  • the structure of the transistor included in the peripheral drive circuit and the transistor included in the pixel circuit of the display unit may be the same or different.
  • the transistors included in the peripheral drive circuit may all have the same structure, or may have two or more types of transistors.
  • the transistors included in the pixel circuit may all have the same structure, or may have two or more types of transistors.
  • an input device 4200 can be provided on the second substrate 4006.
  • the configuration in which the input device 4200 is provided on the display device shown in FIGS. 20A to 20C can function as a touch panel.
  • the detection device also referred to as a sensor element included in the touch panel of one aspect of the present invention is not limited.
  • Various sensors capable of detecting the proximity or contact of the object to be detected such as a finger or a stylus can be applied as a detection device.
  • various methods such as a capacitance method, a resistance film method, a surface acoustic wave method, an infrared method, an optical method, and a pressure sensitive method can be used.
  • a touch panel having a capacitance type detection device will be described as an example.
  • Examples of the capacitance method include a surface type capacitance method and a projection type capacitance method. Further, as the projection type capacitance method, there are a self-capacitance method, a mutual capacitance method and the like. It is preferable to use the mutual capacitance method because simultaneous multipoint detection is possible.
  • the touch panel according to one aspect of the present invention has a configuration in which a separately manufactured display device and a detection device are bonded together, a configuration in which electrodes or the like constituting the detection device are provided on one or both of a substrate supporting the display device and a facing substrate, and the like. , Various configurations can be applied.
  • FIG. 21A and 21B show an example of a touch panel.
  • FIG. 21A is a perspective view of the touch panel 4210.
  • FIG. 21B is a schematic perspective view of the input device 4200. For clarity, only typical components are shown.
  • the touch panel 4210 has a configuration in which a separately manufactured display device and a detection device are bonded together.
  • the touch panel 4210 has an input device 4200 and a display device, and these are provided in an overlapping manner.
  • the input device 4200 has a substrate 4263, electrodes 4227, electrodes 4228, a plurality of wires 4237, a plurality of wires 4238, and a plurality of wires 4239.
  • the electrode 4227 can be electrically connected to the wiring 4237 or the wiring 4239.
  • the electrode 4228 can be electrically connected to the wiring 4239.
  • the FPC 4272b is electrically connected to each of the plurality of wires 4237 and the plurality of wires 4238.
  • IC4273b can be provided in FPC4272b.
  • a touch sensor may be provided between the first substrate 4001 and the second substrate 4006 of the display device.
  • a touch sensor is provided between the first substrate 4001 and the second substrate 4006, an optical touch sensor using a photoelectric conversion element may be applied in addition to the capacitance type touch sensor.
  • FIGS. 22A and 22B are cross-sectional views of the portion shown by the chain line of N1-N2 in FIG. 20B.
  • the display device shown in FIGS. 22A and 22B has an electrode 4015, and the electrode 4015 is electrically connected to a terminal of the FPC 4018 via an anisotropic conductive layer 4019. Further, in FIGS. 22A and 22B, the electrode 4015 is electrically connected to the wiring 4014 at the openings formed in the insulating layer 4112, the insulating layer 4111, and the insulating layer 4110.
  • the electrode 4015 is formed of the same conductive layer as the first electrode layer 4030, and the wiring 4014 is formed of the same conductive layer as the transistor 4010 and the source electrode and drain electrode of the transistor 4011.
  • the display unit 215 and the scanning line drive circuit 221a provided on the first substrate 4001 have a plurality of transistors, and in FIGS. 22A and 22B, the transistor 4010 included in the display unit 215 and the scanning line The transistor 4011 included in the drive circuit 221a is illustrated. Although the bottom gate type transistor is illustrated as the transistor 4010 and the transistor 4011 in FIGS. 22A and 22B, the top gate type transistor may be used.
  • the insulating layer 4112 is provided on the transistor 4010 and the transistor 4011. Further, in FIG. 22B, a partition wall 4510 is formed on the insulating layer 4112.
  • the transistor 4010 and the transistor 4011 are provided on the insulating layer 4102. Further, the transistor 4010 and the transistor 4011 have an electrode 4017 formed on the insulating layer 4111. Electrode 4017 can function as a backgate electrode.
  • the display device shown in FIGS. 22A and 22B has a capacitor 4020.
  • the capacitor 4020 has an electrode 4021 formed in the same process as the gate electrode of the transistor 4010, an insulating layer 4103, and an electrode formed in the same process as the source electrode and the drain electrode.
  • the configuration of the capacitor 4020 is not limited to this, and may be formed of other conductive layers and insulating layers.
  • FIG. 22A is an example of a liquid crystal display device using a liquid crystal device as the display device.
  • the liquid crystal device 4013 which is a display device, includes a first electrode layer 4030, a second electrode layer 4031, and a liquid crystal layer 4008.
  • An insulating layer 4032 and an insulating layer 4033 that function as an alignment film are provided so as to sandwich the liquid crystal layer 4008.
  • the second electrode layer 4031 is provided on the side of the second substrate 4006, and the first electrode layer 4030 and the second electrode layer 4031 are superimposed via the liquid crystal layer 4008.
  • liquid crystal device 4013 a liquid crystal device to which various modes are applied can be used.
  • VA Very Birefringence
  • TN Transmission Nematic
  • IPS In-Plane-Switching
  • ASM Analy Symmetrically named Micro-cell
  • OCB Optical Liquid Crystal Display
  • OCB Optical Liquid Crystal
  • AFLC Antiferroelectric Liquid Crystal
  • ECB Electrostaticly Controlled Birefringence
  • a normally black type liquid crystal display device for example, a transmissive liquid crystal display device adopting a vertical orientation (VA) mode may be applied to the liquid crystal display device shown in the present embodiment.
  • VA vertical orientation
  • an MVA (Multi-Domain Vertical Alignment) mode a PVA (Patterned Vertical Alignment) mode, an ASV (Advanced Super View) mode, and the like can be used.
  • the liquid crystal device is an element that controls the transmission or non-transmission of light by the optical modulation action of the liquid crystal.
  • the optical modulation action of a liquid crystal is controlled by an electric field applied to the liquid crystal (including a horizontal electric field, a vertical electric field, or an oblique electric field).
  • a thermotropic liquid crystal a low molecular weight liquid crystal, a high molecular weight liquid crystal, a polymer dispersed liquid crystal (PDLC: Polymer Dispersed Liquid Crystal), a strong dielectric liquid crystal, an anti-strong dielectric liquid crystal, or the like can be used. ..
  • these liquid crystal materials exhibit a cholesteric phase, a smectic phase, a cubic phase, a chiral nematic phase, an isotropic phase and the like.
  • FIG. 22A shows an example of a liquid crystal display device having a vertical electric field type liquid crystal device
  • a liquid crystal display device having a horizontal electric field type liquid crystal device can be applied to one aspect of the present invention.
  • a liquid crystal showing a blue phase without using an alignment film may be used.
  • the blue phase is one of the liquid crystal phases, and is a phase that appears immediately before the transition from the cholesteric phase to the isotropic phase when the temperature of the cholesteric liquid crystal is raised. Since the blue phase is expressed only in a narrow temperature range, a liquid crystal composition in which 5% by weight or more of a chiral agent is mixed is used for the liquid crystal layer 4008 in order to improve the temperature range.
  • a liquid crystal composition containing a liquid crystal exhibiting a blue phase and a chiral agent has a short response rate and exhibits optical isotropic properties. Further, the liquid crystal composition containing the liquid crystal exhibiting the blue phase and the chiral agent does not require an orientation treatment and has a small viewing angle dependence. Further, since it is not necessary to provide an alignment film, the rubbing process is not required, so that electrostatic breakdown caused by the rubbing process can be prevented, and defects or breakage of the liquid crystal display device during the manufacturing process can be reduced. ..
  • the spacer 4035 is a columnar spacer obtained by selectively etching the insulating layer, and is provided to control the distance (cell gap) between the first electrode layer 4030 and the second electrode layer 4031. ing. A spherical spacer may be used.
  • an optical member such as a black matrix (light-shielding layer), a colored layer (color filter), a polarizing member, a retardation member, and an antireflection member may be appropriately provided.
  • an optical member such as a black matrix (light-shielding layer), a colored layer (color filter), a polarizing member, a retardation member, and an antireflection member
  • circular polarization using a polarizing substrate and a retardation substrate may be used.
  • a backlight, a side light or the like may be used as the light source. Further, as the backlight and the side light, a micro LED or the like may be used.
  • a light-shielding layer 4132, a colored layer 4131, and an insulating layer 4133 are provided between the second substrate 4006 and the second electrode layer 4031.
  • the material that can be used as the light-shielding layer examples include carbon black, titanium black, metal, metal oxide, and composite oxide containing a solid solution of a plurality of metal oxides.
  • the light-shielding layer may be a film containing a resin material or a thin film of an inorganic material such as metal.
  • a laminated film of a film containing a material of a colored layer can also be used.
  • a laminated structure of a film containing a material used for a colored layer that transmits light of a certain color and a film containing a material used for a colored layer that transmits light of another color can be used.
  • Examples of the material that can be used for the colored layer include a metal material, a resin material, a resin material containing a pigment or a dye, and the like.
  • the light-shielding layer and the colored layer can be formed by, for example, an inkjet method or the like.
  • the display device shown in FIGS. 22A and 22B has an insulating layer 4111 and an insulating layer 4104.
  • an insulating layer that does not easily transmit impurity elements is used as the insulating layer 4111 and the insulating layer 4104.
  • a light emitting device can be used as the display device included in the display device.
  • an EL device that utilizes electroluminescence can be applied.
  • the EL device has a layer (also referred to as an "EL layer") containing a luminescent compound between a pair of electrodes.
  • EL layer a layer containing a luminescent compound between a pair of electrodes.
  • an organic EL device or an inorganic EL device can be used.
  • An LED (including a micro LED) that uses a compound semiconductor as a light emitting material is also one of the EL elements, and an LED can also be used.
  • the EL layer is a substance having a high hole injecting property, a substance having a high hole transporting property, a hole blocking material, a substance having a high electron transporting property, a substance having a high electron injecting property, or a bipolar. It may have a sex substance (a substance having high electron transport property and hole transport property) and the like.
  • the EL layer can be formed by a method such as a thin film deposition method (including a vacuum vapor deposition method), a transfer method, a printing method, an inkjet method, or a coating method.
  • Inorganic EL devices are classified into dispersed inorganic EL devices and thin film type inorganic EL devices according to their device configurations.
  • the dispersed inorganic EL device has a light emitting layer in which particles of a light emitting material are dispersed in a binder, and the light emitting mechanism is donor-acceptor recombination type light emission utilizing a donor level and an acceptor level.
  • the thin-film inorganic EL device has a structure in which a light emitting layer is sandwiched between dielectric layers and further sandwiched between electrodes, and the light emitting mechanism is localized light emission utilizing the inner-shell electronic transition of metal ions.
  • an organic EL device will be used as the light emitting device.
  • the light emitting device may have at least one of a pair of electrodes transparent in order to extract light. Then, a top emission (top emission) structure in which a transistor and a light emitting device are formed on the substrate and light emission is taken out from the surface opposite to the substrate, or a bottom injection (bottom emission) structure in which light emission is taken out from the surface on the substrate side. , There is a light emitting device having a double-sided injection (dual emission) structure that extracts light from both sides, and any light emitting device having an injection structure can be applied.
  • FIG. 22B is an example of a light emitting display device (also referred to as “EL display device”) using a light emitting device as the display device.
  • the light emitting device 4513 which is a display device, is electrically connected to the transistor 4010 provided in the display unit 215.
  • the configuration of the light emitting device 4513 is a laminated structure of the first electrode layer 4030, the light emitting layer 4511, and the second electrode layer 4031, but is not limited to this configuration.
  • the configuration of the light emitting device 4513 can be appropriately changed according to the direction of the light extracted from the light emitting device 4513 and the like.
  • the partition wall 4510 is formed by using an organic insulating material or an inorganic insulating material.
  • a photosensitive resin material it is preferable to use a photosensitive resin material to form an opening on the first electrode layer 4030 so that the side surface of the opening becomes an inclined surface formed with a continuous curvature.
  • the light emitting layer 4511 may be composed of a single layer or may be configured such that a plurality of layers are laminated.
  • the emission color of the light emitting device 4513 can be white, red, green, blue, cyan, magenta, yellow, or the like, depending on the material constituting the light emitting layer 4511.
  • a method of realizing color display there are a method of combining a light emitting device 4513 having a white light emitting color and a colored layer, and a method of providing a light emitting device 4513 having a different light emitting color for each pixel.
  • the former method is more productive than the latter method.
  • the latter method since it is necessary to create the light emitting layer 4511 separately for each pixel, the productivity is inferior to that of the former method.
  • the latter method it is possible to obtain an luminescent color having higher color purity than the former method.
  • the color purity can be further increased by imparting a microcavity structure to the light emitting device 4513.
  • the light emitting layer 4511 may have an inorganic compound such as a quantum dot. For example, by using quantum dots in the light emitting layer, it can function as a light emitting material.
  • a protective layer may be formed on the second electrode layer 4031 and the partition wall 4510 so that oxygen, hydrogen, water, carbon dioxide, etc. do not enter the light emitting device 4513.
  • the protective layer silicon nitride, silicon nitride oxide, aluminum oxide, aluminum nitride, aluminum nitride nitride, aluminum nitride oxide, DLC (Diamond Like Carbon) and the like can be formed.
  • a filler 4514 is provided and sealed in the space sealed by the first substrate 4001, the second substrate 4006, and the sealing material 4005. As described above, it is preferable to package (enclose) with a protective film (bonded film, ultraviolet curable resin film, etc.) or a cover material having high airtightness and little degassing so as not to be exposed to the outside air.
  • an ultraviolet curable resin or a thermosetting resin in addition to an inert gas such as nitrogen or argon, an ultraviolet curable resin or a thermosetting resin can be used, and PVC (polyvinyl chloride), acrylic resin, polyimide, epoxy resin, silicone resin can be used. , PVB (polyimidebutyral), EVA (ethylene vinyl acetate) and the like can be used. Further, the filler 4514 may contain a desiccant.
  • the sealing material 4005 a glass material such as glass frit, a curable resin such as a two-component mixed resin that cures at room temperature, a photocurable resin, and a resin material such as a thermosetting resin can be used. Further, the sealing material 4005 may contain a desiccant.
  • an optical film such as a polarizing plate, a circular polarizing plate (including an elliptical polarizing plate), a retardation plate ( ⁇ / 4 plate, ⁇ / 2 plate), or a color filter is attached to the ejection surface of the light emitting device. It may be provided as appropriate. Further, an antireflection film may be provided on the polarizing plate or the circular polarizing plate. For example, it is possible to apply an anti-glare treatment that can diffuse the reflected light due to the unevenness of the surface and reduce the reflection.
  • the light emitting device has a microcavity structure, it is possible to extract light having high color purity. Further, by combining the microcavity structure and the color filter, the reflection can be reduced and the visibility of the displayed image can be improved.
  • the first electrode layer and the second electrode layer (also referred to as pixel electrode layer, common electrode layer, counter electrode layer, etc.) for applying a voltage to the display device, the direction of the light to be taken out, the place where the electrode layer is provided, and Translucency and reflectivity may be selected according to the pattern structure of the electrode layer.
  • the first electrode layer 4030 and the second electrode layer 4031 are indium oxide containing tungsten oxide, indium zinc oxide containing tungsten oxide, indium oxide containing titanium oxide, indium tin oxide, and indium containing titanium oxide.
  • a translucent conductive material such as tin oxide, indium zinc oxide, and indium tin oxide to which silicon oxide is added can be used.
  • first electrode layer 4030 and the second electrode layer 4031 are tungsten (W), molybdenum (Mo), zirconium (Zr), hafnium (Hf), vanadium (V), niobium (Nb), and tantalum (Ta). , Chromium (Cr), Cobalt (Co), Nickel (Ni), Titanium (Ti), Platinum (Pt), Aluminum (Al), Copper (Cu), Silver (Ag) and other metals, or alloys thereof, or their alloys. It can be formed from metal nitride using one or more.
  • a conductive composition containing a conductive polymer (also referred to as a conductive polymer) can be used.
  • a conductive polymer a so-called ⁇ -electron conjugated conductive polymer can be used. Examples thereof include polyaniline or a derivative thereof, polypyrrole or a derivative thereof, polythiophene or a derivative thereof, or a copolymer consisting of two or more kinds of aniline, pyrrole and thiophene or a derivative thereof.
  • the protection circuit is preferably configured by using a non-linear element.
  • the stack structure may have a region in which transistors and capacitors overlap in the height direction.
  • the transistors 4011 and the transistors 4022 constituting the drive circuit are arranged in an overlapping manner, a display device having a narrow frame can be obtained.
  • the aperture ratio and the resolution can be improved by arranging the transistors 4010, the transistor 4023, the capacitor 4020, and the like constituting the pixel circuit so as to have a region where even a part of them overlap.
  • FIG. 23 shows an example in which the stack structure is applied to the liquid crystal display device shown in FIG. 22A, it may be applied to the EL display device shown in FIG. 22B.
  • the transmittance of light in the pixel can be increased, and the aperture ratio is substantially improved. Can be made to.
  • the semiconductor layer also has translucency, so that the aperture ratio can be further increased.
  • the display device may be configured by combining the liquid crystal display device and the light emitting device.
  • the light emitting device is arranged on the opposite side of the display surface or at the end of the display surface.
  • the light emitting device has a function of supplying light to the display device.
  • the light emitting device can also be called a backlight.
  • the light emitting device can have a plate-shaped or sheet-shaped light guide unit (also referred to as a light guide plate) and a plurality of light emitting devices that emit light of different colors.
  • a plate-shaped or sheet-shaped light guide unit also referred to as a light guide plate
  • the light guide unit has a mechanism for changing the optical path (also referred to as a light extraction mechanism), whereby the light emitting device can uniformly irradiate the pixel portion of the display panel with light.
  • the light emitting device may be arranged directly under the pixel without providing the light guide unit.
  • the light emitting device preferably has a light emitting device having three colors of red (R), green (G), and blue (B). Further, it may have a white (W) light emitting device. It is preferable to use a light emitting diode (LED: Light Emitting Diode) as these light emitting devices.
  • LED Light Emitting Diode
  • the light emitting device has an extremely high color purity in which the full width at half maximum (FWHM: Full Width at Half Maximum) of the light emitting spectrum is 50 nm or less, preferably 40 nm or less, more preferably 30 nm or less, still more preferably 20 nm or less. It is preferably a light emitting device.
  • the full width at half maximum of the emission spectrum may be smaller, but it can be, for example, 1 nm or more. As a result, when performing color display, it is possible to perform vivid display with high color reproducibility.
  • the red light emitting device it is preferable to use an element whose peak wavelength of the light emitting spectrum is located in the range of 625 nm or more and 650 nm or less.
  • the green light emitting device it is preferable to use an element whose peak wavelength of the light emitting spectrum is located in the range of 515 nm or more and 540 nm or less.
  • the blue light emitting device it is preferable to use an element whose peak wavelength of the light emitting spectrum is located in the range of 445 nm or more and 470 nm or less.
  • the display device can sequentially blink the three-color light emitting device, drive the pixels in synchronization with the blinking, and perform color display based on the time-addition color mixing method.
  • the driving method can also be called field sequential driving.
  • 24A and 24B are examples of schematic cross-sectional views of a display device capable of field sequential drive.
  • a backlight unit capable of emitting RGB colors is provided on the first substrate 4001 side of the display device.
  • the colors are expressed by time-division emission of each RGB color, so that no color filter is required.
  • the backlight unit 4340a shown in FIG. 24A has a configuration in which a plurality of light emitting devices 4342 are provided directly below the pixels via a diffuser plate 4352.
  • the diffuser plate 4352 has a function of diffusing the light emitted from the light emitting device 4342 to the first substrate 4001 side to make the brightness in the display unit surface uniform.
  • a polarizing plate may be provided between the light emitting device 4342 and the diffuser plate 4352, if necessary. Further, the diffuser plate 4352 may not be provided if it is unnecessary. Further, the light-shielding layer 4132 may be omitted.
  • the backlight unit 4340a can be equipped with a large number of light emitting devices 4342, a bright display is possible. Further, the light guide plate is unnecessary, and there is an advantage that the light efficiency of the light emitting device 4342 is not easily impaired. If necessary, the light emitting device 4342 may be provided with a lens 4344 for light diffusion.
  • the backlight unit 4340b shown in FIG. 24B has a configuration in which a light guide plate 4341 is provided directly under the pixel via a diffusion plate 4352.
  • a plurality of light emitting devices 4342 are provided at the end of the light guide plate 4341.
  • the light guide plate 4341 has a concavo-convex shape on the opposite side of the diffuser plate 4352, and the waveguide light can be scattered in the concavo-convex shape and emitted in the direction of the diffuser plate 4352.
  • the light emitting device 4342 can be fixed to the printed circuit board 4347.
  • the light emitting devices 4342 of each RGB color are shown so as to overlap each other, but the light emitting devices 4342 of each RGB color can be arranged so as to be arranged in the depth direction.
  • a reflection layer 4348 that reflects visible light may be provided on the side surface opposite to the light emitting device 4342.
  • the cost can be reduced and the thickness can be reduced.
  • a light scattering type liquid crystal device may be used.
  • the light scattering type liquid crystal device it is preferable to use an element having a composite material of a liquid crystal and a polymer.
  • a polymer-dispersed liquid crystal device can be used.
  • a polymer network type liquid crystal (PNLC (Polymer Network Liquid Crystal)) element may be used.
  • the light scattering type liquid crystal device has a structure in which a liquid crystal portion is provided in a three-dimensional network structure of a resin portion sandwiched between a pair of electrodes.
  • a material used for the liquid crystal portion for example, a nematic liquid crystal can be used.
  • a photocurable resin can be used as the resin portion.
  • a monofunctional monomer such as acrylate or methacrylate
  • a polyfunctional monomer such as diacrylate, triacrylate, dimethacrylate or trimethacrylate, or a polymerizable compound obtained by mixing these can be used.
  • the light scattering type liquid crystal device utilizes the anisotropy of the refractive index of the liquid crystal material to transmit or scatter light to perform display. Further, the resin portion may also have anisotropy of the refractive index.
  • the difference in the refractive index between the liquid crystal portion and the resin portion becomes small, and the light incident along the direction is the liquid crystal portion. It is transmitted without being scattered by. Therefore, the light scattering type liquid crystal device is visually recognized in a transparent state from the direction.
  • the light scattering type liquid crystal device is in an opaque state regardless of the viewing direction.
  • FIG. 25A is a configuration in which the liquid crystal device 4013 of the display device of FIG. 24A is replaced with a light scattering type liquid crystal device 4016.
  • the light scattering type liquid crystal device 4016 has a composite layer 4009 having a liquid crystal portion and a resin portion, and a first electrode layer 4030 and a second electrode layer 4031.
  • the elements related to the field sequential drive are the same as those in FIG. 24A, but when the light scattering type liquid crystal device 4016 is used, the alignment film and the polarizing plate are not required.
  • the spacer 4035 is shown in a spherical shape, it may be columnar.
  • FIG. 25B is a configuration in which the liquid crystal device 4013 of the display device of FIG. 24B is replaced with a light scattering type liquid crystal device 4016.
  • the light scattering type liquid crystal device 4016 operates in a mode in which light is transmitted when no voltage is applied and light is scattered when a voltage is applied.
  • a transparent display device can be obtained in a normal state (a state in which no display is made). In this case, color display can be performed when the operation of scattering light is performed.
  • 26A to 26E show modifications of the display device shown in FIG. 25B.
  • FIGS. 26A to 26E for clarification, some elements of FIG. 25B are used and other elements are omitted.
  • FIG. 26A shows a configuration in which the first substrate 4001 has a function as a light guide plate.
  • An uneven shape may be provided on the outer surface of the first substrate 4001. In this configuration, it is not necessary to separately provide a light guide plate, so that the manufacturing cost can be reduced. Further, since the light is not attenuated by the light guide plate, the light emitted by the light emitting device 4342 can be efficiently used.
  • FIG. 26B is a configuration in which light is incident from the vicinity of the end portion of the composite layer 4009. Light can be emitted from the light scattering type liquid crystal device to the outside by utilizing the total reflection at the interface between the composite layer 4009 and the second substrate 4006 and the interface between the composite layer 4009 and the first substrate 4001.
  • a material having a refractive index larger than that of the first substrate 4001 and the second substrate 4006 is used.
  • the light emitting device 4342 may be provided not only on one side of the display device but also on two opposite sides as shown in FIG. 26C. Further, it may be provided on three or four sides. By providing the light emitting device 4342 on a plurality of sides, the attenuation of light can be supplemented, and a large area display device can also be supported.
  • FIG. 26D shows a configuration in which the light emitted from the light emitting device 4342 is guided to the display device via the mirror 4345.
  • FIG. 26E shows a configuration in which a layer 4003 and a layer 4004 are laminated on the composite layer 4009.
  • One of the layers 4003 and 4004 is a support such as a glass substrate, and the other can be formed of an inorganic film, an organic resin coating film, a film, or the like.
  • a material having a refractive index larger than that of the layer 4004 is used.
  • a material having a refractive index larger than that of the layer 4003 is used for the layer 4004.
  • a first interface is formed between the composite layer 4009 and the layer 4004, and a second interface is formed between the layer 4004 and the layer 4003.
  • FIGS. 25B and 26A to 26E can be combined with each other.
  • This embodiment can be implemented in combination with the configurations described in the other embodiments as appropriate.
  • the display device of one aspect of the present invention can be manufactured by using various types of transistors such as a bottom gate type transistor and a top gate type transistor. Therefore, the material of the semiconductor layer and the transistor structure to be used can be easily replaced according to the existing production line.
  • FIG. 27A is a cross-sectional view of a channel protection type transistor 810, which is a kind of bottom gate type transistor, in the channel length direction.
  • the transistor 810 is formed on the substrate 771.
  • the transistor 810 has an electrode 746 on the substrate 771 via an insulating layer 772.
  • the semiconductor layer 742 is provided on the electrode 746 via the insulating layer 726.
  • the electrode 746 can function as a gate electrode.
  • the insulating layer 726 can function as a gate insulating layer.
  • the insulating layer 741 is provided on the channel forming region of the semiconductor layer 742. Further, the electrode 744a and the electrode 744b are provided on the insulating layer 726 in contact with a part of the semiconductor layer 742.
  • the electrode 744a can function as either a source electrode or a drain electrode.
  • the electrode 744b can function as the other of the source electrode and the drain electrode. A part of the electrode 744a and a part of the electrode 744b are formed on the insulating layer 741.
  • the insulating layer 741 can function as a channel protection layer. By providing the insulating layer 741 on the channel forming region, it is possible to prevent the semiconductor layer 742 from being exposed when the electrodes 744a and 744b are formed. Therefore, it is possible to prevent the channel formation region of the semiconductor layer 742 from being etched when the electrodes 744a and 744b are formed.
  • the transistor 810 has an insulating layer 728 on the electrodes 744a, 744b and the insulating layer 741, and has an insulating layer 729 on the insulating layer 728.
  • an oxide semiconductor When an oxide semiconductor is used for the semiconductor layer 742, a material capable of depriving a part of the semiconductor layer 742 of oxygen and causing oxygen deficiency is used at least in the portion of the electrode 744a and the electrode 744b in contact with the semiconductor layer 742. Is preferable.
  • the carrier concentration increases in the region where oxygen deficiency occurs in the semiconductor layer 742, and the region becomes n-type and becomes an n-type region (n + layer). Therefore, the region can function as a source region or a drain region.
  • tungsten, titanium and the like can be mentioned as an example of a material capable of depriving the semiconductor layer 742 of oxygen and causing oxygen deficiency.
  • the contact resistance between the electrodes 744a and 744b and the semiconductor layer 742 can be reduced. Therefore, the electrical characteristics of the transistor such as the field effect mobility and the threshold voltage can be improved.
  • the semiconductor layer 742 When a semiconductor such as silicon is used for the semiconductor layer 742, it is preferable to provide a layer that functions as an n-type semiconductor or a p-type semiconductor between the semiconductor layer 742 and the electrode 744a and between the semiconductor layer 742 and the electrode 744b.
  • the layer that functions as an n-type semiconductor or a p-type semiconductor can function as a source region or a drain region of a transistor.
  • the insulating layer 729 is preferably formed by using a material having a function of preventing or reducing the diffusion of impurities from the outside into the transistor.
  • the insulating layer 729 may be omitted if necessary.
  • An electrode 723 that can function as a back gate electrode is provided on the insulating layer 729.
  • the electrode 723 can be formed by the same material and method as the electrode 746.
  • the electrode 723 may not be provided.
  • the back gate electrode is formed of a conductive layer, and is arranged so as to sandwich the channel formation region of the semiconductor layer between the gate electrode and the back gate electrode. Therefore, the back gate electrode can function in the same manner as the gate electrode.
  • the potential of the back gate electrode may be the same potential as that of the gate electrode, may be a ground potential (GND potential), or may be an arbitrary potential.
  • the threshold voltage of the transistor can be changed by changing the potential of the back gate electrode independently without interlocking with the gate electrode.
  • Both the electrode 746 and the electrode 723 can function as gate electrodes. Therefore, the insulating layer 726, the insulating layer 728, and the insulating layer 729 can each function as a gate insulating layer.
  • the electrode 723 may be provided between the insulating layer 728 and the insulating layer 729.
  • the other is referred to as a "back gate electrode".
  • the electrode 746 when the electrode 723 is referred to as a "gate electrode”, the electrode 746 is referred to as a "back gate electrode”.
  • the transistor 810 can be considered as a kind of top gate type transistor.
  • either one of the electrode 746 and the electrode 723 may be referred to as a "first gate electrode”, and the other may be referred to as a "second gate electrode".
  • the electrodes 746 and 723 By providing the electrodes 746 and 723 with the semiconductor layer 742 sandwiched between them, and further by setting the electrodes 746 and 723 to the same potential, the region in which the carriers flow in the semiconductor layer 742 becomes larger in the film thickness direction. The amount of carrier movement increases. As a result, the on-current of the transistor 810 becomes large, and the field effect mobility becomes high.
  • the transistor 810 is a transistor having a large on-current with respect to the occupied area. That is, the occupied area of the transistor 810 can be reduced with respect to the required on-current.
  • the gate electrode and the back gate electrode are formed of a conductive layer, they have a function of preventing an electric field generated outside the transistor from acting on the semiconductor layer on which a channel is formed (particularly, an electric field shielding function against static electricity). ..
  • the electric field shielding function can be enhanced by forming the back gate electrode larger than the semiconductor layer and covering the semiconductor layer with the back gate electrode.
  • the back gate electrode by forming the back gate electrode with a conductive film having a light-shielding property, it is possible to prevent light from entering the semiconductor layer from the back gate electrode side. Therefore, it is possible to prevent photodegradation of the semiconductor layer and prevent deterioration of electrical characteristics such as a shift of the threshold voltage of the transistor.
  • FIG. 27B is a cross-sectional view of a channel-protected transistor 820 having a configuration different from that of FIG. 27A in the channel length direction.
  • the transistor 820 has substantially the same structure as the transistor 810, except that the insulating layer 741 covers the end portion of the semiconductor layer 742. Further, the semiconductor layer 742 and the electrode 744a are electrically connected to each other in the opening formed by selectively removing a part of the insulating layer 741 overlapping the semiconductor layer 742. Further, the semiconductor layer 742 and the electrode 744b are electrically connected to each other in another opening formed by selectively removing a part of the insulating layer 741 overlapping the semiconductor layer 742.
  • the region of the insulating layer 741 that overlaps the channel forming region can function as a channel protection layer.
  • the insulating layer 741 By providing the insulating layer 741, it is possible to prevent the semiconductor layer 742 from being exposed when the electrodes 744a and 744b are formed. Therefore, it is possible to prevent the semiconductor layer 742 from being thinned when the electrodes 744a and 744b are formed.
  • the transistor 820 has a longer distance between the electrode 744a and the electrode 746 and a distance between the electrode 744b and the electrode 746 than the transistor 810. Therefore, the parasitic capacitance generated between the electrode 744a and the electrode 746 can be reduced. In addition, the parasitic capacitance generated between the electrode 744b and the electrode 746 can be reduced.
  • FIG. 27C is a cross-sectional view of a channel etching type transistor 825, which is one of the bottom gate type transistors, in the channel length direction.
  • the transistor 825 forms the electrode 744a and the electrode 744b without using the insulating layer 741. Therefore, a part of the semiconductor layer 742 exposed at the time of forming the electrode 744a and the electrode 744b may be etched. On the other hand, since the insulating layer 741 is not provided, the productivity of the transistor can be improved.
  • the transistor 842 illustrated in FIG. 28A is one of the top gate type transistors.
  • the electrodes 744a and 744b are electrically connected to the semiconductor layer 742 at the openings formed in the insulating layer 728 and the insulating layer 729.
  • the semiconductor layer 742 is formed with an LDD (Lightly Doped Drain) region in a region that overlaps with the insulating layer 726 and does not overlap with the electrode 746.
  • LDD Lightly Doped Drain
  • the transistor 842 has an electrode 723 formed on the substrate 771.
  • the electrode 723 has a region that overlaps with the semiconductor layer 742 via the insulating layer 772.
  • the electrode 723 can function as a backgate electrode.
  • the electrode 723 may not be provided.
  • the entire insulating layer 726 in the region that does not overlap with the electrode 746 may be removed. Further, the insulating layer 726 may be left as in the transistor 846 shown in FIG. 28C.
  • FIG. 29A shows a cross-sectional view of the transistor 810 in the channel width direction
  • FIG. 29B shows a cross-sectional view of the transistor 842 in the channel width direction.
  • the gate electrode and the back gate electrode are connected, and the potentials of the gate electrode and the back gate electrode are the same. Further, the semiconductor layer 742 is sandwiched between the gate electrode and the back gate electrode.
  • each of the gate electrode and the back gate electrode in the channel width direction is longer than the length of the semiconductor layer 742 in the channel width direction, and the entire channel width direction of the semiconductor layer 742 is the gate electrode with each insulating layer sandwiched between them.
  • the configuration is covered with a back gate electrode.
  • the semiconductor layer 742 included in the transistor can be electrically surrounded by the electric fields of the gate electrode and the back gate electrode.
  • the device structure of the transistor that electrically surrounds the semiconductor layer 742 in which the channel forming region is formed by the electric fields of the gate electrode and the back gate electrode can be called a Surrounded channel (S-channel) structure.
  • the S-channel structure By adopting the S-channel structure, an electric field for inducing a channel by one or both of the gate electrode and the back gate electrode can be effectively applied to the semiconductor layer 742, so that the current driving ability of the transistor is improved. , It is possible to obtain high on-current characteristics. Further, since the on-current can be increased, the transistor can be miniaturized. Further, the mechanical strength of the transistor can be increased by adopting the S-channel structure.
  • the gate electrode and the back gate electrode may not be connected, and different potentials may be supplied to each.
  • the threshold voltage of the transistor can be controlled by supplying a constant potential to the back gate electrode.
  • This embodiment can be implemented in combination with the configurations described in the other embodiments as appropriate.
  • Electronic devices that can use the display device according to one aspect of the present invention include a display device, a personal computer, an image storage device or image reproduction device provided with a recording medium, a mobile phone, a game machine including a portable type, and a portable data terminal.
  • Electronic book terminals video cameras, cameras such as digital still cameras, goggles type displays (head mount displays), navigation systems, sound reproduction devices (car audio, digital audio players, etc.), copiers, facsimiles, printers, multifunction printers , Automatic cash deposit / payment machines (ATMs), vending machines, etc. Specific examples of these electronic devices are shown in FIGS. 30A to 30F.
  • FIG. 30A is a digital camera, which includes a housing 961, a shutter button 962, a microphone 963, a speaker 967, a display unit 965, an operation key 966, a zoom lever 968, a lens 969, and the like.
  • a display device can be used for the display unit 965.
  • FIG. 30B is a portable data terminal, which includes a housing 911, a display unit 912, a speaker 913, an operation button 914, a camera 919, and the like. Information can be input / output by the touch panel function of the display unit 912.
  • a display device according to one aspect of the present invention can be used for the display unit 912.
  • FIG. 30C is a mobile phone, which includes a housing 951, a display unit 952, an operation button 953, an external connection port 954, a speaker 955, a microphone 956, a camera 957, and the like.
  • the mobile phone includes a touch sensor on the display unit 952. All operations such as making a phone call or inputting characters can be performed by touching the display unit 952 with a finger or a stylus. Further, the housing 951 and the display unit 952 are flexible and can be bent and used as shown in the figure. A display device according to one aspect of the present invention can be used for the display unit 952.
  • FIG. 30D is a video camera, which includes a first housing 901, a second housing 902, a display unit 903, an operation key 904, a lens 905, a connection unit 906, a speaker 907, and the like.
  • the operation key 904 and the lens 905 are provided in the first housing 901, and the display unit 903 is provided in the second housing 902.
  • the display device of one aspect of the present invention can be used for the display unit 903.
  • FIG. 30E is a television, which includes a housing 971, a display unit 973, an operation button 974, a speaker 975, a communication connection terminal 976, an optical sensor 977, and the like.
  • a touch sensor is provided on the display unit 973, and an input operation can be performed.
  • the display device of one aspect of the present invention can be used for the display unit 973.
  • FIG. 30F is digital signage and has a large display unit 922.
  • a large display unit 922 is attached to the side surface of the pillar 921.
  • a display device according to one aspect of the present invention can be used for the display unit 922.
  • This embodiment can be implemented in combination with the configurations described in the other embodiments as appropriate.

Landscapes

  • Physics & Mathematics (AREA)
  • Engineering & Computer Science (AREA)
  • Microelectronics & Electronic Packaging (AREA)
  • Nonlinear Science (AREA)
  • General Physics & Mathematics (AREA)
  • Mathematical Physics (AREA)
  • Crystallography & Structural Chemistry (AREA)
  • Chemical & Material Sciences (AREA)
  • Optics & Photonics (AREA)
  • Power Engineering (AREA)
  • Geometry (AREA)
  • Theoretical Computer Science (AREA)
  • Thin Film Transistor (AREA)
  • Electroluminescent Light Sources (AREA)
  • Devices For Indicating Variable Information By Combining Individual Elements (AREA)
  • Liquid Crystal (AREA)
  • Liquid Crystal Display Device Control (AREA)
  • Control Of Indicators Other Than Cathode Ray Tubes (AREA)
  • Control Of El Displays (AREA)
PCT/IB2020/054663 2019-05-30 2020-05-18 表示装置および電子機器 Ceased WO2020240329A1 (ja)

Priority Applications (8)

Application Number Priority Date Filing Date Title
KR1020217041714A KR20220013390A (ko) 2019-05-30 2020-05-18 표시 장치 및 전자 기기
US17/612,384 US11988926B2 (en) 2019-05-30 2020-05-18 Display apparatus and electronic device
CN202080037155.6A CN113841253A (zh) 2019-05-30 2020-05-18 显示装置及电子设备
JP2021523124A JP7486480B2 (ja) 2019-05-30 2020-05-18 表示装置および電子機器
US18/599,770 US12204212B2 (en) 2019-05-30 2024-03-08 Display apparatus and electronic device
JP2024075383A JP7618876B2 (ja) 2019-05-30 2024-05-07 表示装置
US18/951,923 US20250076716A1 (en) 2019-05-30 2024-11-19 Display apparatus and electronic device
JP2025002657A JP7781318B2 (ja) 2019-05-30 2025-01-08 発光装置

Applications Claiming Priority (2)

Application Number Priority Date Filing Date Title
JP2019101319 2019-05-30
JP2019-101319 2019-05-30

Related Child Applications (2)

Application Number Title Priority Date Filing Date
US17/612,384 A-371-Of-International US11988926B2 (en) 2019-05-30 2020-05-18 Display apparatus and electronic device
US18/599,770 Continuation US12204212B2 (en) 2019-05-30 2024-03-08 Display apparatus and electronic device

Publications (1)

Publication Number Publication Date
WO2020240329A1 true WO2020240329A1 (ja) 2020-12-03

Family

ID=73552693

Family Applications (1)

Application Number Title Priority Date Filing Date
PCT/IB2020/054663 Ceased WO2020240329A1 (ja) 2019-05-30 2020-05-18 表示装置および電子機器

Country Status (5)

Country Link
US (3) US11988926B2 (enExample)
JP (3) JP7486480B2 (enExample)
KR (1) KR20220013390A (enExample)
CN (1) CN113841253A (enExample)
WO (1) WO2020240329A1 (enExample)

Families Citing this family (1)

* Cited by examiner, † Cited by third party
Publication number Priority date Publication date Assignee Title
KR20230164225A (ko) * 2018-02-01 2023-12-01 가부시키가이샤 한도오따이 에네루기 켄큐쇼 표시 장치 및 전자 기기

Citations (7)

* Cited by examiner, † Cited by third party
Publication number Priority date Publication date Assignee Title
JP2006186320A (ja) * 2004-12-03 2006-07-13 Semiconductor Energy Lab Co Ltd 半導体装置及びその作製方法、並びに表示装置
JP2007123861A (ja) * 2005-09-29 2007-05-17 Semiconductor Energy Lab Co Ltd 半導体装置及びその作製方法
US20120104405A1 (en) * 2010-11-02 2012-05-03 Hee-Dong Choi Array substrate for organic electroluminescent device and method of fabricating the same
JP2013057921A (ja) * 2011-09-08 2013-03-28 Samsung Display Co Ltd 有機発光表示装置
US20150008395A1 (en) * 2013-07-08 2015-01-08 Samsung Display Co., Ltd. Organic light emitting diodes display
US20150187861A1 (en) * 2013-12-30 2015-07-02 Lg Display Co., Ltd. Organic light emitting diode display device
WO2016190187A1 (ja) * 2015-05-25 2016-12-01 シャープ株式会社 表示装置の駆動回路

Family Cites Families (19)

* Cited by examiner, † Cited by third party
Publication number Priority date Publication date Assignee Title
KR100892945B1 (ko) 2002-02-22 2009-04-09 삼성전자주식회사 액티브 매트릭스형 유기전계발광 표시장치 및 그 제조방법
KR100467944B1 (ko) 2002-07-15 2005-01-24 엘지.필립스 엘시디 주식회사 반사투과형 액정표시장치 및 그의 제조방법
KR100930916B1 (ko) 2003-03-20 2009-12-10 엘지디스플레이 주식회사 횡전계형 액정표시장치 및 그 제조방법
US7586121B2 (en) * 2004-12-07 2009-09-08 Au Optronics Corp. Electroluminescence device having stacked capacitors
EP3614442A3 (en) 2005-09-29 2020-03-25 Semiconductor Energy Laboratory Co., Ltd. Semiconductor device having oxide semiconductor layer and manufactoring method thereof
JP5078246B2 (ja) 2005-09-29 2012-11-21 株式会社半導体エネルギー研究所 半導体装置、及び半導体装置の作製方法
CN104282691B (zh) 2009-10-30 2018-05-18 株式会社半导体能源研究所 半导体装置
JP5781544B2 (ja) * 2011-08-09 2015-09-24 株式会社Joled 画像表示装置
CN104376813B (zh) 2013-11-26 2017-09-08 苹果公司 显示器像素单元
KR20150073297A (ko) 2013-12-20 2015-07-01 삼성디스플레이 주식회사 박막 트랜지스터, 이를 포함하는 표시 기판 및 표시 기판의 제조 방법
JP6330220B2 (ja) 2014-03-27 2018-05-30 株式会社Joled 表示装置、電子機器および基板
KR102391347B1 (ko) 2015-04-09 2022-04-28 삼성디스플레이 주식회사 박막트랜지스터 어레이 기판 및 이를 구비한 디스플레이 장치
KR20170031313A (ko) * 2015-09-10 2017-03-21 삼성디스플레이 주식회사 디스플레이 장치
US20170102577A1 (en) * 2015-10-09 2017-04-13 Kent State University Electro-optical devices utilizing alternative transparent conductive oxide layers
KR102484185B1 (ko) 2016-10-31 2023-01-04 엘지디스플레이 주식회사 게이트 구동 회로와 이를 이용한 표시장치
KR20220165800A (ko) 2017-08-11 2022-12-15 가부시키가이샤 한도오따이 에네루기 켄큐쇼 표시 장치 및 전자 기기
EP3676822A4 (en) 2017-08-31 2021-08-04 Semiconductor Energy Laboratory Co., Ltd. DISPLAY DEVICE AND ELECTRONIC DEVICE
WO2019048966A1 (ja) * 2017-09-05 2019-03-14 株式会社半導体エネルギー研究所 表示システム
CN113299716B (zh) * 2021-05-21 2023-03-17 武汉华星光电半导体显示技术有限公司 一种显示面板

Patent Citations (7)

* Cited by examiner, † Cited by third party
Publication number Priority date Publication date Assignee Title
JP2006186320A (ja) * 2004-12-03 2006-07-13 Semiconductor Energy Lab Co Ltd 半導体装置及びその作製方法、並びに表示装置
JP2007123861A (ja) * 2005-09-29 2007-05-17 Semiconductor Energy Lab Co Ltd 半導体装置及びその作製方法
US20120104405A1 (en) * 2010-11-02 2012-05-03 Hee-Dong Choi Array substrate for organic electroluminescent device and method of fabricating the same
JP2013057921A (ja) * 2011-09-08 2013-03-28 Samsung Display Co Ltd 有機発光表示装置
US20150008395A1 (en) * 2013-07-08 2015-01-08 Samsung Display Co., Ltd. Organic light emitting diodes display
US20150187861A1 (en) * 2013-12-30 2015-07-02 Lg Display Co., Ltd. Organic light emitting diode display device
WO2016190187A1 (ja) * 2015-05-25 2016-12-01 シャープ株式会社 表示装置の駆動回路

Also Published As

Publication number Publication date
CN113841253A (zh) 2021-12-24
US11988926B2 (en) 2024-05-21
JP7486480B2 (ja) 2024-05-17
JPWO2020240329A1 (enExample) 2020-12-03
US12204212B2 (en) 2025-01-21
JP7781318B2 (ja) 2025-12-05
US20250076716A1 (en) 2025-03-06
US20240248355A1 (en) 2024-07-25
KR20220013390A (ko) 2022-02-04
US20220252949A1 (en) 2022-08-11
JP2025061088A (ja) 2025-04-10
JP2024116116A (ja) 2024-08-27
JP7618876B2 (ja) 2025-01-21

Similar Documents

Publication Publication Date Title
JP7488927B2 (ja) 表示装置
US12106729B2 (en) Display device and electronic device
JP7487111B2 (ja) 表示装置および電子機器
JP2024045230A (ja) 表示装置
JP7374896B2 (ja) 表示装置および電子機器
US11822198B2 (en) Display device and electronic device
JPWO2020095142A1 (ja) 表示装置および電子機器
JP7781318B2 (ja) 発光装置
JP2025109775A (ja) 表示装置
JP7412360B2 (ja) 表示装置および電子機器
JP7315572B2 (ja) 表示装置および電子機器

Legal Events

Date Code Title Description
121 Ep: the epo has been informed by wipo that ep was designated in this application

Ref document number: 20812968

Country of ref document: EP

Kind code of ref document: A1

ENP Entry into the national phase

Ref document number: 2021523124

Country of ref document: JP

Kind code of ref document: A

NENP Non-entry into the national phase

Ref country code: DE

ENP Entry into the national phase

Ref document number: 20217041714

Country of ref document: KR

Kind code of ref document: A

122 Ep: pct application non-entry in european phase

Ref document number: 20812968

Country of ref document: EP

Kind code of ref document: A1