WO2020230505A1 - ガスセンサ - Google Patents

ガスセンサ Download PDF

Info

Publication number
WO2020230505A1
WO2020230505A1 PCT/JP2020/016506 JP2020016506W WO2020230505A1 WO 2020230505 A1 WO2020230505 A1 WO 2020230505A1 JP 2020016506 W JP2020016506 W JP 2020016506W WO 2020230505 A1 WO2020230505 A1 WO 2020230505A1
Authority
WO
WIPO (PCT)
Prior art keywords
end side
base end
axial direction
side cover
annular protrusion
Prior art date
Legal status (The legal status is an assumption and is not a legal conclusion. Google has not performed a legal analysis and makes no representation as to the accuracy of the status listed.)
Ceased
Application number
PCT/JP2020/016506
Other languages
English (en)
French (fr)
Japanese (ja)
Inventor
翔太 萩野
中村 聡
直人 小澤
Current Assignee (The listed assignees may be inaccurate. Google has not performed a legal analysis and makes no representation or warranty as to the accuracy of the list.)
Denso Corp
Original Assignee
Denso Corp
Priority date (The priority date is an assumption and is not a legal conclusion. Google has not performed a legal analysis and makes no representation as to the accuracy of the date listed.)
Filing date
Publication date
Application filed by Denso Corp filed Critical Denso Corp
Publication of WO2020230505A1 publication Critical patent/WO2020230505A1/ja
Priority to US17/522,343 priority Critical patent/US20220065809A1/en
Anticipated expiration legal-status Critical
Ceased legal-status Critical Current

Links

Images

Classifications

    • GPHYSICS
    • G01MEASURING; TESTING
    • G01NINVESTIGATING OR ANALYSING MATERIALS BY DETERMINING THEIR CHEMICAL OR PHYSICAL PROPERTIES
    • G01N33/00Investigating or analysing materials by specific methods not covered by groups G01N1/00 - G01N31/00
    • G01N33/0004Gaseous mixtures, e.g. polluted air
    • G01N33/0009General constructional details of gas analysers, e.g. portable test equipment
    • GPHYSICS
    • G01MEASURING; TESTING
    • G01NINVESTIGATING OR ANALYSING MATERIALS BY DETERMINING THEIR CHEMICAL OR PHYSICAL PROPERTIES
    • G01N27/00Investigating or analysing materials by the use of electric, electrochemical, or magnetic means
    • G01N27/26Investigating or analysing materials by the use of electric, electrochemical, or magnetic means by investigating electrochemical variables; by using electrolysis or electrophoresis
    • G01N27/403Cells and electrode assemblies
    • G01N27/406Cells and probes with solid electrolytes
    • G01N27/4067Means for heating or controlling the temperature of the solid electrolyte
    • GPHYSICS
    • G01MEASURING; TESTING
    • G01NINVESTIGATING OR ANALYSING MATERIALS BY DETERMINING THEIR CHEMICAL OR PHYSICAL PROPERTIES
    • G01N27/00Investigating or analysing materials by the use of electric, electrochemical, or magnetic means
    • G01N27/26Investigating or analysing materials by the use of electric, electrochemical, or magnetic means by investigating electrochemical variables; by using electrolysis or electrophoresis
    • G01N27/403Cells and electrode assemblies
    • G01N27/406Cells and probes with solid electrolytes
    • G01N27/407Cells and probes with solid electrolytes for investigating or analysing gases
    • G01N27/4077Means for protecting the electrolyte or the electrodes
    • GPHYSICS
    • G01MEASURING; TESTING
    • G01NINVESTIGATING OR ANALYSING MATERIALS BY DETERMINING THEIR CHEMICAL OR PHYSICAL PROPERTIES
    • G01N27/00Investigating or analysing materials by the use of electric, electrochemical, or magnetic means
    • G01N27/26Investigating or analysing materials by the use of electric, electrochemical, or magnetic means by investigating electrochemical variables; by using electrolysis or electrophoresis
    • G01N27/403Cells and electrode assemblies
    • G01N27/406Cells and probes with solid electrolytes
    • G01N27/407Cells and probes with solid electrolytes for investigating or analysing gases
    • G01N27/4078Means for sealing the sensor element in a housing
    • GPHYSICS
    • G01MEASURING; TESTING
    • G01NINVESTIGATING OR ANALYSING MATERIALS BY DETERMINING THEIR CHEMICAL OR PHYSICAL PROPERTIES
    • G01N27/00Investigating or analysing materials by the use of electric, electrochemical, or magnetic means
    • G01N27/26Investigating or analysing materials by the use of electric, electrochemical, or magnetic means by investigating electrochemical variables; by using electrolysis or electrophoresis
    • G01N27/403Cells and electrode assemblies
    • G01N27/406Cells and probes with solid electrolytes
    • G01N27/407Cells and probes with solid electrolytes for investigating or analysing gases
    • G01N27/409Oxygen concentration cells

Definitions

  • the present disclosure relates to a gas sensor including a sensor element.
  • an in-vehicle gas sensor is arranged in the exhaust pipe of the internal combustion engine of a vehicle, and the exhaust gas flowing through the exhaust pipe is used as the detection target gas, and the air-fuel ratio of the internal combustion engine based on the detection target gas, the oxygen concentration in the detection target gas, etc. Used to find.
  • the sensor element having the detection part is inserted into the tubular housing, the detection part of the sensor element is covered by the front end cover attached to the housing, and the wiring part of the sensor element is attached to the housing. It is covered by a base end cover.
  • the detection unit and the front end side cover of the sensor element are arranged inside the exhaust pipe, and the base end side cover is arranged outside the exhaust pipe.
  • the exhaust gas passing through the exhaust pipe of the internal combustion engine becomes a high temperature of, for example, about 1100 ° C. Then, heat is transferred from the exhaust pipe heated to a high temperature to the housing attached to the exhaust pipe, and heat is transferred from the housing to the base end side cover. Further, on the inner peripheral side of the base end side cover, a rubber sealing member for holding the lead wire electrically connected to the sensor element is arranged, and from the base end side cover to the sealing member. Also heat is transferred.
  • Patent Document 1 As a technique for protecting the sealing member from heat, for example, there is a gas sensor disclosed in Patent Document 1.
  • a gas sensor disclosed in Patent Document 1.
  • a heat insulating space as an atmospheric layer having high heat insulating property is formed between the sensor element and the grommet.
  • the present disclosure has been obtained in an attempt to provide a gas sensor capable of making it difficult for the sealing member to be heated by the heat transferred from the housing and effectively protecting the sealing member from heat.
  • One aspect of the present disclosure is a sensor element having a detection unit capable of detecting gas at the tip side position in the axial direction.
  • the annular protrusion is formed with a root portion connected to the flange portion and a reduced diameter portion located on the axial base end side of the root portion and whose outer circumference is smaller than the root portion.
  • the end end of the base end cover in the axial direction is in a gas sensor bonded to the outer periphery of the reduced diameter portion.
  • Another aspect of the present disclosure is a sensor element having a detection unit capable of detecting gas at the tip side position in the axial direction.
  • the annular protrusion and the tip end of the base end cover are in a gas sensor that is joined via the protrusion.
  • Yet another aspect of the present disclosure is a sensor element having a detection unit capable of detecting gas at the tip side position in the axial direction.
  • the tip end portion of the base end side cover is in a gas sensor that is joined to the annular projection portion while being arranged in the recess.
  • the area of the portion where the housing and the proximal end side cover are in contact with each other is made as small as possible to prevent heat transfer from the housing to the proximal end side cover.
  • the annular protrusion provided on the housing forms a root portion connected to the flange portion and a reduced diameter portion whose outer circumference is smaller than the root portion.
  • the tip end portion of the base end side cover in the axial direction is joined to the outer periphery of the reduced diameter portion of the annular protrusion.
  • the axial length of the reduced diameter portion of the annular protrusion is shortened, and the area of contact between the reduced diameter portion of the annular protrusion and the axial end of the base end side cover is reduced. Can be done. As a result, the area of the portion where the housing and the base end side cover come into contact with each other can be minimized. Therefore, it becomes difficult for heat to be transferred from the housing to the base end side cover, and it becomes difficult for heat to be transferred from the base end side cover to the sealing member arranged on the inner peripheral side of the base end side cover.
  • the sealing member is less likely to be heated by the heat transferred from the housing, and the sealing member can be effectively protected from the heat.
  • the area of the portion where the housing and the base end side cover are in contact with each other is made as small as possible to prevent heat transfer from the housing to the base end side cover.
  • a convex portion is formed on at least one of the outer circumference of the annular projection portion provided on the housing and the inner circumference of the distal end side end portion in the axial direction of the base end side cover. Then, the annular projection portion and the distal end side end portion of the base end side cover are joined via the convex portion.
  • the axial length of the convex portion can be shortened, and the area of contact between the convex portion and the base end side cover or the annular protrusion can be reduced.
  • the area of the portion where the housing and the base end side cover come into contact with each other can be minimized. Therefore, it becomes difficult for heat to be transferred from the housing to the base end side cover, and it becomes difficult for heat to be transferred from the base end side cover to the sealing member arranged on the inner peripheral side of the base end side cover.
  • the sealing member is less likely to be heated by the heat transferred from the housing, and the sealing member can be effectively protected from the heat.
  • the area of the portion where the housing and the base end side cover are in contact with each other is made as small as possible to prevent heat transfer from the housing to the base end side cover.
  • a concave portion is formed on the end surface of the annular protrusion portion on the proximal end side in the axial direction of the root portion connected to the flange portion. Then, the tip end portion of the base end side cover is joined to the annular protrusion portion in a state of being arranged in the recess.
  • the axial length of the recess can be shortened, and the area of contact between the recess and the base end side cover can be reduced.
  • the area of the portion where the housing and the base end side cover come into contact with each other can be minimized. Therefore, it becomes difficult for heat to be transferred from the housing to the base end side cover, and it becomes difficult for heat to be transferred from the base end side cover to the sealing member arranged on the inner peripheral side of the base end side cover.
  • the sealing member is less likely to be heated by the heat transferred from the housing, and the sealing member can be effectively protected from the heat.
  • FIG. 1 is an explanatory view showing a cross section of a gas sensor according to the first embodiment.
  • FIG. 2 is an explanatory view showing a cross section II-II of FIG. 1 according to the first embodiment.
  • FIG. 3 is an enlarged explanatory view showing a cross section around the annular protrusion portion of the housing and the end portion on the distal end side in the axial direction of the base end side cover according to the first embodiment.
  • FIG. 4 is an explanatory diagram showing a main part of FIG. 3 according to the first embodiment in a further enlarged manner.
  • FIG. 1 is an explanatory view showing a cross section of a gas sensor according to the first embodiment.
  • FIG. 2 is an explanatory view showing a cross section II-II of FIG. 1 according to the first embodiment.
  • FIG. 3 is an enlarged explanatory view showing a cross section around the annular protrusion portion of the housing and the end portion on the distal end side in the axial direction of the base end side cover according to the
  • FIG. 5 is an explanatory view showing an enlarged cross section of the sensor element of the gas sensor according to the first embodiment.
  • FIG. 6 is an explanatory view showing a VI-VI cross section of FIG. 5 according to the first embodiment.
  • FIG. 7 is an explanatory view showing a cross section of VII-VII of FIG. 5 according to the first embodiment.
  • FIG. 8 is an explanatory view showing a cross section of another gas sensor according to the first embodiment.
  • FIG. 9 is an enlarged explanatory view showing a cross section around the annular protrusion portion of the housing and the end portion on the distal end side in the axial direction of the base end side cover according to the second embodiment.
  • FIG. 10 is an explanatory view showing a main part of FIG. 9 according to the second embodiment in a further enlarged manner.
  • FIG. 11 is an explanatory view showing an enlarged cross section of the annular projection portion of the housing and the peripheral end portion on the distal end side in the axial direction of the base end side cover according to the third embodiment.
  • FIG. 12 is an explanatory view showing a main part of FIG. 11 according to the third embodiment in a further enlarged manner.
  • FIG. 13 is an explanatory view showing an enlarged cross section of the annular projection portion of the housing and the peripheral end portion on the distal end side in the axial direction of the base end side cover according to the fourth embodiment.
  • FIG. 14 is an explanatory diagram showing a main part of FIG. 13 according to the fourth embodiment in a further enlarged manner.
  • FIG. 15 is an explanatory view showing an enlarged cross section of a proximal end side portion of the gas sensor in the axial direction according to the fifth embodiment.
  • the gas sensor 1 of this embodiment includes a sensor element 2, a housing 41, a contact terminal 44, a second insulator 43 as an insulator, a lead wire 48, a sealing member 47, and base end side covers 46A and 46B. Be prepared.
  • the sensor element 2 has a detection unit 21 capable of detecting gas at the position of the tip side L1 in the axial direction L.
  • the housing 41 is formed in a tubular shape, and the sensor element 2 is inserted through the inner peripheral side of the housing 41.
  • the detection unit 21 of the sensor element 2 projects from the end surface of the tip side L1 of the housing 41 in the axial direction L to the tip side L1.
  • the contact terminal 44 is in contact with the terminal portion 22 provided at the position of the base end side L2 of the sensor element 2 in the axial direction L.
  • the second insulator 43 holds the contact terminal 44.
  • the lead wire 48 is connected to the contact terminal 44 and is led out to the outside of the gas sensor 1.
  • the sealing member 47 holds the lead wire 48.
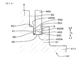
  • the base end side cover 46A is attached to and sealed on the outer circumference of the annular protrusion 5 provided so as to project from the flange portion 411 constituting the maximum outer diameter portion of the housing 41 to the base end side L2 in the axial direction L.
  • the member 47 is held on the inner peripheral side.
  • the annular protrusion 5 is located at the root portion 51 connected to the flange portion 411 and the base end side L2 of the root portion 51 in the axial direction L, and the outer circumference thereof is from the root portion 51.
  • a reduced diameter portion 52 is formed.
  • the outer diameter of the reduced diameter portion 52 is smaller than the outer diameter of the root portion 51.
  • the end portion 460 of the distal end side L1 in the axial direction L of the proximal end side cover 46A is joined to the outer periphery of the reduced diameter portion 52.
  • the gas sensor 1 of this embodiment will be described in detail below.
  • the gas sensor 1 As shown in FIG. 1, the gas sensor 1 is arranged at the attachment port 71 of the exhaust pipe 7 of the internal combustion engine (engine) of the vehicle, and the exhaust gas G flowing through the exhaust pipe 7 is used as the detection target gas, and the oxygen concentration in the detection target gas and the like. Is used to detect.
  • the gas sensor 1 can be used as an air-fuel ratio sensor (A / F sensor) for obtaining the air-fuel ratio in an internal combustion engine based on the oxygen concentration in the exhaust gas G, the unburned gas concentration, and the like.
  • the air-fuel ratio sensor quantitatively and continuously ranges from a fuel-rich state in which the ratio of fuel to air is higher than the theoretical air-fuel ratio to a fuel lean state in which the ratio of fuel to air is lower than the theoretical air-fuel ratio. Can be detected.
  • the gas sensor 1 can be used for various purposes for determining the oxygen concentration.
  • a catalyst for purifying harmful substances in the exhaust gas G is arranged in the exhaust pipe 7, and the gas sensor 1 is arranged on either the upstream side or the downstream side of the catalyst in the flow direction of the exhaust gas G in the exhaust pipe 7. You can also do it.
  • the gas sensor 1 can also be arranged in a pipe on the suction side of a supercharger that increases the density of air sucked by the internal combustion engine by using the exhaust gas G.
  • the pipe in which the gas sensor 1 is arranged may be a pipe in the exhaust gas recirculation mechanism that recirculates a part of the exhaust gas G exhausted from the internal combustion engine to the exhaust pipe 7 to the intake pipe of the internal combustion engine.
  • the sensor element 2 of this embodiment is formed in a long rectangular shape, and has a solid electrolyte 31, an exhaust electrode 311 and an atmospheric electrode 312, a first insulator 33A, and a second insulator. It includes an insulator 33B, a gas chamber 35, an atmospheric duct 36, and a heating element 34.
  • the sensor element 2 is a laminated type in which the insulators 33A and 33B and the heating element 34 are laminated on the solid electrolyte body 31.
  • the axial direction L of the sensor element 2 means the direction in which the sensor element 2 extends in an elongated shape. Further, the direction in which the solid electrolyte 31 and the insulators 33A and 33B are laminated, that is, the solid electrolyte 31, the insulators 33A and 33B, and the heating element 34 are laminated, orthogonal to the axial direction L. The direction is called the stacking direction D. Further, the direction orthogonal to the axial direction L and the stacking direction D is referred to as the width direction W. Further, in the axial direction L of the sensor element 2, the side exposed to the exhaust gas G is referred to as the tip end side L1, and the side opposite to the tip end side L1 is referred to as the proximal end side L2.
  • the solid electrolyte 31 has the conductivity of oxygen ions (O 2- ) at a predetermined active temperature.
  • the first surface 301 of the solid electrolyte 31 is provided with an exhaust electrode 311 exposed to the exhaust gas G, and the second surface 302 of the solid electrolyte 31 is provided with an atmospheric electrode 312 exposed to the atmosphere A.
  • the exhaust electrode 311 and the atmospheric electrode 312 are arranged at positions in the axial direction L of the sensor element 2 at the distal end side L1 exposed to the exhaust gas G and overlapping in the stacking direction D via the solid electrolyte body 31.
  • the first insulator 33A is laminated on the first surface 301 of the solid electrolyte body 31, and the second insulator 33B is laminated on the second surface 302 of the solid electrolyte body 31.
  • the solid electrolyte 31 is composed of a zirconia-based oxide, contains zirconia as a main component (containing 50% by mass or more), and is a stabilized zirconia or a portion obtained by substituting a part of zirconia with a rare earth metal element or an alkaline earth metal element. Consists of stabilized zirconia. A portion of the zirconia constituting the solid electrolyte 31 can be replaced by yttria, scandia or calcia.
  • the exhaust electrode 311 and the atmospheric electrode 312 contain platinum as a noble metal exhibiting catalytic activity for oxygen and a zirconia oxide as a co-material with the solid electrolyte 31.
  • the common material is the exhaust electrode 311 and the atmospheric electrode 312 formed by the electrode material and the solid electrolyte when the paste-like electrode material is printed (coated) on the solid electrolyte body 31 and the solid electrolyte body 31 and the electrode material are fired. This is for maintaining the bond strength with the body 31.
  • electrode lead portions 313 for electrically connecting these electrodes 311, 312 to the outside of the gas sensor 1 are connected to the exhaust electrode 311 and the atmospheric electrode 312.
  • the electrode lead portion 313 is pulled out to a portion of the sensor element 2 on the proximal end side L2 in the axial direction L.
  • Gas chamber 35 As shown in FIGS. 5 and 6, a gas chamber 35 surrounded by the first insulator 33A and the solid electrolyte 31 is formed adjacent to the first surface 301 of the solid electrolyte 31.
  • the gas chamber 35 is formed at a position on the tip end side L1 of the first insulator 33A in the axial direction L at a position for accommodating the exhaust electrode 311.
  • the gas chamber 35 is formed as a space portion closed by the first insulator 33A, the diffusion resistance portion 32, and the solid electrolyte body 31.
  • the exhaust gas G flowing in the exhaust pipe 7 passes through the diffusion resistance portion 32 and is introduced into the gas chamber 35.
  • the diffusion resistance portion 32 of this embodiment is provided adjacent to the tip side L1 of the gas chamber 35 in the axial direction L.
  • the diffusion resistance portion 32 is arranged in the introduction port opened adjacent to the tip side L1 in the axial direction L of the gas chamber 35 in the first insulator 33A.
  • the diffusion resistance portion 32 is formed of a porous metal oxide such as alumina.
  • the diffusion rate (flow rate) of the exhaust gas G introduced into the gas chamber 35 is determined by limiting the rate at which the exhaust gas G penetrates the pores in the diffusion resistance portion 32.
  • the diffusion resistance portion 32 may be formed adjacent to both sides of the gas chamber 35 in the width direction W. In this case, the diffusion resistance portion 32 is arranged in the introduction port opened adjacent to both sides of the gas chamber 35 in the width direction W in the first insulator 33A. In addition to being formed by using a porous body, the diffusion resistance portion 32 can also be formed by using a pinhole which is a small through hole communicated with the gas chamber 35.
  • an atmospheric duct 36 surrounded by the second insulator 33B and the solid electrolyte 31 is formed adjacent to the second surface 302 of the solid electrolyte 31.
  • the atmospheric duct 36 is formed from the portion of the second insulator 33B in the axial direction L accommodating the atmospheric electrode 312 to the proximal end position in the axial direction L of the sensor element 2 exposed to the atmosphere A.
  • a proximal end opening 361 as an atmospheric introduction portion of the atmospheric duct 36 is formed.
  • the atmospheric duct 36 is formed from the base end opening 361 to a position where it overlaps with the gas chamber 35 in the stacking direction D via the solid electrolyte body 31. Atmosphere A is introduced into the atmosphere duct 36 from the base end opening 361.
  • Heating element 34 As shown in FIGS. 5 to 7, the heating element 34 is embedded in the second insulator 33B forming the atmospheric duct 36, and the heating element 341 that generates heat by energization and the heating element lead connected to the heating element 341. It has a part 342 and a portion 342.
  • the heat generating portion 341 is arranged at a position where at least a part thereof overlaps with the exhaust electrode 311 and the atmospheric electrode 312 in the stacking direction D of the solid electrolyte body 31 and the insulators 33A and 33B.
  • the heating element 34 has a heating element 341 that generates heat when energized, and a pair of heating element lead portions 342 that are connected to the base end side L2 of the heating element 341 in the axial direction L.
  • the heat generating portion 341 is formed by a linear conductor portion meandering by a straight portion and a curved portion.
  • the straight portion of the heat generating portion 341 of this embodiment is formed parallel to the axial direction L.
  • the heating element lead portion 342 is formed by a linear conductor portion parallel to the axial direction L.
  • the resistance value per unit length of the heating element 341 is larger than the resistance value per unit length of the heating element lead unit 342.
  • the heating element lead portion 342 is pulled out from the heating element 341 to the portion L2 on the proximal end side in the axial direction L.
  • the heating element 34 contains a conductive metal material.
  • the heat generating portion 341 of the present embodiment is formed in a shape meandering in the axial direction L at the position of the tip side L1 in the axial direction L in the heating element 34.
  • the heat generating portion 341 may be formed in a meandering manner in the width direction W.
  • the heat generating portion 341 is arranged at a position facing the exhaust electrode 311 and the atmospheric electrode 312 in the stacking direction D orthogonal to the axial direction L.
  • the heat generating portion 341 is arranged at a portion of the sensor element 2 at the tip end side L1 in the axial direction L at a position overlapping the exhaust electrode 311 and the atmospheric electrode 312 in the stacking direction D.
  • the cross-sectional area of the heating element 341 is smaller than the cross-sectional area of the heating element lead portion 342, and the resistance value per unit length of the heating element 341 is higher than the resistance value per unit length of the heating element lead portion 342.
  • This cross-sectional area refers to the cross-sectional area of the surfaces orthogonal to the extending direction of the heating element 341 and the heating element lead portion 342. Then, when a voltage is applied to the pair of heating element lead portions 342, the heating portion 341 generates heat due to Joule heat, and the heat generation heats the periphery of the detection unit 21 to a target temperature.
  • each insulator 33A, 33B As shown in FIGS. 5 and 6, the first insulator 33A forms the gas chamber 35, and the second insulator 33B forms the atmospheric duct 36 and embeds the heating element 34. ..
  • the first insulator 33A and the second insulator 33B are formed of a metal oxide such as alumina (aluminum oxide).
  • the insulators 33A and 33B are formed as a dense body through which a gas such as exhaust gas G or atmosphere A cannot permeate, and the insulators 33A and 33B have almost all pores through which the gas can pass. It has not been.
  • Terminal 22 of sensor element 2 As shown in FIG. 1, the terminal portion 22 of the sensor element 2 is electrically connected to each electrode lead portion 313 of the exhaust electrode 311 and the atmospheric electrode 312, and the base end portion of the pair of heating element lead portions 342 in the axial direction L. It is connected.
  • the terminal portions 22 are arranged on both side surfaces of the sensor element 2 at the base end portion in the axial direction L.
  • the base end portions of the electrode lead portion 313 and the heating element lead portion 342 in the axial direction L are connected to the terminal portion 22 via through holes formed in the insulators 33A and 33B.
  • Porous layer 37 As shown in FIG. 1, the entire circumference of the portion of the sensor element 2 on the distal end side L1 in the axial direction is porous to capture the toxic substance to the exhaust electrode 311 and the condensed water generated in the exhaust pipe 7.
  • a layer 37 is provided.
  • the porous layer 37 is formed of porous ceramics (metal oxide) such as alumina.
  • the porosity of the porous layer 37 is larger than the porosity of the diffusion resistance portion 32, and the flow rate of the exhaust gas G that can permeate the porous layer 37 is the flow rate of the exhaust gas G that can permeate the diffusion resistance portion 32. More than.
  • the direction orthogonal to the axial direction L of the sensor element 2 and extending radially from the central axis of the sensor element 2 is referred to as the radial direction R.
  • the central axis refers to a virtual line passing through the center of gravity of the cross section of the sensor element 2 orthogonal to the axial direction L.
  • the housing 41 is used to tighten the gas sensor 1 to the attachment port 71 of the exhaust pipe 7.
  • the housing 41 includes a flange portion 411 forming the maximum outer diameter portion, a tip side tubular portion 412 formed on the tip end side L1 of the flange portion 411 in the axial direction L, and a base end side L2 of the flange portion 411 in the axial direction L. It has an annular protrusion 5 as a base end side tubular portion formed in.
  • the “maximum outer diameter portion” refers to a portion of the housing 41 having the largest radial dimension in the radial direction R.
  • the outer circumference of the flange portion 411 is formed in a hexagonal shape used when the gas sensor 1 is tightened to the mounting port 71 by a tool.
  • the tip side tubular portion 412 and the annular protrusion portion 5 are formed in a cylindrical shape.
  • a male screw to be tightened to the female screw of the mounting port 71 is formed on the outer circumference of the portion of the tip side cylinder portion 412 on the base end side L2 in the axial direction L.
  • a mounting portion 413 to which the tip side covers 45A and 45B, which will be described later, is mounted is formed on the tip side L1 portion of the tip side tubular portion 412 in the axial direction L.
  • the annular protrusion 5 is formed with a caulking portion 53 for fixing the first insulator 42 to the housing 41.
  • the caulking portion 53 is bent toward the inner peripheral side in the radial direction R so that the first insulator 42 does not come out from the center hole 410 of the housing 41 to the proximal end side L2 in the axial direction L. As shown in FIG. 8, depending on the structure of the first insulator 42 and the second insulator 43, the caulking portion 53 may not be formed on the annular protrusion 5. Further, the caulking portion 53 may fix the cup-type sensor element 2 to the housing 41.
  • the base end side covers 46A, 46B cover the wiring portion located on the base end side L2 in the axial direction L of the gas sensor 1 to protect the wiring portion from water or the like in the atmosphere A. belongs to.
  • the wiring portion is composed of a contact terminal 44, a connection portion between the contact terminal 44 and the lead wire 48 (connection fitting 441), and the like as a portion electrically connected to the sensor element 2.
  • the base end side covers 46A and 46B are formed by being divided into two parts in order to sandwich the water repellent filter 462 that prevents water in the atmosphere A from entering the gas sensor 1.
  • the base end side covers 46A and 46B of the present embodiment are the first base end side cover 46A mounted on the outer periphery of the annular protrusion 5 of the housing 41 and the axial direction L of the first base end side cover 46A. It has a second base end side cover 46B mounted on the outer periphery of the position of the base end side L2. The portion of the second base end side cover 46B at the tip end side L1 in the axial direction L is attached to the outer periphery of the portion of the first base end side cover 46A at the base end side L2 in the axial direction L.
  • the end of the tip side L1 in the axial direction L of the first base end side cover 46A is joined to the outer periphery of the annular protrusion 5 of the housing 41 by welding or the like.
  • the annular protrusion 5 of the housing 41 can be press-fitted into the end of the tip side L1 in the axial direction L of the first base end side cover 46A.
  • a sealing member 47 for holding a plurality of lead wires 48 is held on the inner peripheral side of the portion of the base end side L2 in the axial direction L of the second base end side cover 46B.
  • the water repellent filter 462 is sandwiched between the first base end side cover 46A and the second base end side cover 46B, and between the second base end side cover 46B and the sealing member 47.
  • the portion of the second base end side cover 46B at the tip end side L1 in the axial direction L1 is inside the portion of the first base end side cover 46A at the base end side L2 in the axial direction L from the outer peripheral side. It is crimped by a recess 463 that sinks to the circumferential side. Further, the intermediate portion of the second base end side cover 46B in the axial direction L is from the outer peripheral side in a state where the water repellent filter 462 is sandwiched between the portions of the first base end side cover 46A on the base end side L2 in the axial direction L. It is crimped by a recess 464 that sinks toward the inner circumference.
  • the portion of the second base end side cover 46B on the base end side L2 in the axial direction is crimped by a recess 465 that is recessed from the outer peripheral side to the inner peripheral side while holding the water repellent filter 462 in the sealing member 47. Has been done.
  • the base end side covers 46A and 46B are arranged outside the exhaust pipe 7 of the internal combustion engine.
  • the gas sensor 1 of this embodiment is for in-vehicle use, and the vehicle body in which the exhaust pipe 7 is arranged is connected to the engine room in which the internal combustion engine (engine) is arranged. Then, the atmosphere (air) A in the engine room flows around the base end side covers 46A and 46B.
  • the second base end side cover 46B is formed with an atmosphere introduction hole 461 for introducing the atmosphere A from the outside of the gas sensor 1.
  • the water repellent filter 462 is arranged so as to cover the atmosphere introduction hole 461 from the inner peripheral side of the second base end side cover 46B.
  • the base end opening 361 of the atmospheric duct 36 in the sensor element 2 is open to the space inside the base end side covers 46A and 46B.
  • the atmosphere A existing around the atmosphere introduction hole 461 of the second base end side cover 46B is taken into the base end side covers 46A and 46B via the water repellent filter 462. Then, the atmosphere A that has passed through the water-repellent filter 462 flows into the atmosphere duct 36 from the base end opening 361 of the atmosphere duct 36 of the sensor element 2 and is guided to the atmosphere electrode 312 in the atmosphere duct 36.
  • the caulked portion 53 of the annular protrusion 5 is formed so as to project from the reduced diameter portion 52 of the annular protrusion 5 to the proximal end side L2 in the axial direction L.
  • the outer diameter of the crimped portion 53 is smaller than the outer diameter of the reduced diameter portion 52.
  • An annular step shape is formed between the root portion 51 of the annular protrusion 5 and the reduced diameter portion 52 of the annular protrusion 5, and an annular step is also formed between the reduced diameter portion 52 and the crimped portion 53. A step shape is formed.
  • the reduced diameter portion 52 is formed to have a short length in the axial direction L in order to reduce the area in which the annular protrusion 5 and the base end side covers 46A and 46B come into contact with each other.
  • the length of the reduced diameter portion 52 in the axial direction L is shorter than the length of the root portion 51 in the axial direction L and the length of the crimped portion 53 in the axial direction L.
  • the contact area between the annular protrusion 5 and the proximal end side cover 46A is reduced. can do.
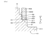
  • the joint area X1 in which the annular protrusion 5 and the end portion 460 of the distal end side L1 of the proximal end side cover 46A are joined is the annular projection portion 5 (housing 41) and the proximal end side cover 46A. It is larger than the contact area X2 in which the end surface 460A of the tip end side L1 contacts via the interface.
  • the joint area X1 does not include the contact area X2.
  • the joint area X1 is shown by a chain double-dashed line in FIG. Most of the portions where the annular protrusion 5 and the base end side cover 46A come into contact with each other are joined to each other by welding or the like.
  • the area X1 where the outer peripheral surface 521 of the reduced diameter portion 52 of the annular protrusion 5 and the inner peripheral surface 460C of the end portion 460 of the distal end side L1 of the proximal end side cover 46A are joined is the distal end side L1 of the proximal end side cover 46A. It is larger than the area X2 in which the end surface 460A of the above and the end surface 511 of the base end side L2 of the root portion 51 of the annular protrusion 5 come into contact with each other.
  • the joint area X1 is larger than the contact area X2, the heat transfer from the annular protrusion 5 to the base end cover 46A is effectively performed while maintaining the joint strength between the annular protrusion 5 and the base end side cover 46A. It can be suppressed.
  • the end portion 460 of the tip end side L1 of the base end side cover 46A is attached to the outer peripheral surface 521 of the reduced diameter portion 52 of the annular protrusion 5. Then, a laser beam is irradiated from the outer periphery of the end portion 460 of the tip end side L1 of the base end side cover 46A to melt and join the reduced diameter portion 52 and the end portion 460 of the tip end side L1 of the base end side cover 46A.
  • the length in which the outer peripheral surface 521 of the reduced diameter portion 52 of the annular protrusion 5 and the inner peripheral surface 460C of the end portion 460 of the tip end side L1 of the base end side cover 46A are joined in the axial direction L is in the range of 1 to 3 mm. Can be inside. As a result, the joint length between the annular protrusion 5 and the base end side covers 46A and 46B is short, and the temperature of the sealing member 47 heated by heat transfer from the base end side covers 46A and 46B can be lowered. ..
  • the first insulator 42 is arranged in a center hole 410 that penetrates the central portion of the housing 41 in the axial direction L.
  • the first insulator 42 also called a first insulator, is made of an insulating ceramic material.
  • a first insertion hole 420 penetrating in the axial direction L is formed in order to insert the sensor element 2.
  • a fixing recess 421 in which the glass powder 422 for fixing the sensor element 2 is arranged is formed.
  • the sensor element 2 is fixed to the first insulator 42 by the glass powder 422 arranged in the fixing recess 421 in a state of being inserted into the first insertion hole 420 of the first insulator 42.
  • a protrusion 423 forming the maximum outer diameter portion of the first insulator 42 is formed on the outer periphery of the first insulator 42.
  • a sealing material 424 is arranged in the tip side L1 of the protrusion 423 in the axial direction L in the center hole 410, and the protrusion in the center hole 410.
  • the caulking material 425,426,427 is arranged on the base end side L2 of the portion 423 in the axial direction L.
  • the caulking material 425, 426, 427 is composed of a powder sealing material 425, a tubular body 426, and a caulking material 427.
  • the caulking portion 53 of the annular protrusion 5 of the housing 41 By bending the caulking portion 53 of the annular protrusion 5 of the housing 41 toward the inner peripheral side in the radial direction R, the caulking portion 53 enters the center hole 410 of the housing 41 via the sealing material 424 and the caulking material 425,426,427.
  • the first insulator 42 is caulked and fixed.
  • the second insulator 43 is arranged on the base end side L2 of the first insulator 42 in the axial direction L, and holds a contact terminal 44 that contacts the terminal portion 22 of the sensor element 2.
  • the second insulator 43 also called a second insulator, is made of an insulating ceramic material.
  • a second insertion hole 431 through which the sensor element 2 is inserted is formed so as to penetrate in the axial direction L.
  • a groove 432 for arranging the contact terminal 44 is formed at a position of the second insulator 43 that communicates with the second insertion hole 431.
  • the second insulator 43 is arranged on the inner peripheral side of the base end side cover 46A in the radial direction R. The second insulator 43 is pressed against the first insulator 42 by the first base end side cover 46A via the leaf spring 433.
  • the contact terminal 44 contacts the terminal portion 22 of the sensor element 2 and electrically connects the terminal portion 22 to the lead wire 48.
  • the contact terminal 44 is arranged in the groove portion 432 of the second insulator 43.
  • the contact terminal 44 is connected to the lead wire 48 via the connection fitting 441, and is in contact with the terminal portion 22 by applying a restoring force of elastic deformation.
  • the contact terminals 44 are based on the number of terminal portions 22 in the sensor element 2, in other words, the number of electrode lead portions 313 of the exhaust electrode 311 and the atmospheric electrode 312, and the number of pair of heating element lead portions 342 shown in FIG. A plurality of them are arranged in total.
  • the sealing member (bush) 47 is arranged on the inner peripheral side of the second base end side cover 46B, and seals and holds a plurality of lead wires 48.
  • the sealing member 47 is made of an elastically deformable rubber material in order to have a function as a sealing material.
  • the sealing member 47 is formed with a through hole through which the lead wire 48 is inserted. By crimping the second base end side cover 46B to the sealing member 47, each gap between each lead wire 48 and each through hole and between the sealing member 47 and the second base end side cover 46B is formed. It will be sealed.
  • the lead wire 48 is for connecting each contact terminal 44 to an external sensor control device 6 of the gas sensor 1.
  • the lead wire 48 has an internal conductor coated with a coating layer.
  • Tip side covers 45A, 45B As shown in FIG. 1, the front end side covers 45A and 45B cover the detection unit 21 of the sensor element 2 protruding from the end surface of the front end side L1 in the axial direction L of the housing 41 to the front end side L1.
  • the tip side covers 45A and 45B are mounted on the outer periphery of the mounting portion 413 formed on the tip side tubular portion 412 of the housing 41.
  • the tip side covers 45A and 45B of this embodiment have a double structure of a first tip side cover 45A and a second tip side cover 45B that covers the first tip side cover 45A.
  • Gas flow holes 451 through which exhaust gas G can flow are formed in the first front end side cover 45A and the second front end side cover 45B.
  • the detection unit 21 of the sensor element 2 and the front end side covers 45A and 45B are arranged in the exhaust pipe 7 of the internal combustion engine. A part of the exhaust gas G flowing in the exhaust pipe 7 flows into the tip side covers 45A and 45B from the gas flow holes 451 of the tip side covers 45A and 45B. Then, the exhaust gas G in the front end side covers 45A and 45B passes through the porous layer 37 of the sensor element 2 and the diffusion resistance portion 32 and is guided to the exhaust electrode 311.
  • the tip side covers 45A and 45B may have a single structure in which the gas flow holes 451 are formed.
  • the lead wire 48 in the gas sensor 1 is electrically connected to a sensor control device 6 that controls gas detection in the gas sensor 1.
  • the sensor control device 6 performs electrical control on the gas sensor 1 in cooperation with an engine control device that controls combustion operation in the engine.
  • the sensor control device 6 applies a voltage between the current measuring circuit 61 for measuring the current flowing between the exhaust electrode 311 and the atmospheric electrode 312, and between the exhaust electrode 311 and the atmospheric electrode 312.
  • An energization circuit or the like for energizing the voltage application circuit 62 and the heating element 34 is formed.
  • the sensor control device 6 may be built in the engine control device.
  • the gas sensor 1 may detect the concentration of a specific gas component such as NOx (nitrogen oxide).
  • NOx nitrogen oxide
  • a pump electrode for pumping oxygen to the atmospheric electrode 312 by applying a voltage is arranged on the upstream side of the flow of the exhaust gas G in contact with the exhaust electrode 311 in the solid electrolyte body 31.
  • the atmospheric electrode 312 is also formed at a position where it overlaps the pump electrode in the stacking direction D via the solid electrolyte body 31.
  • the gas sensor 1 may include a cup-type sensor element 2 in which the solid electrolyte body 31 is formed in a bottomed cylindrical shape, in addition to the laminated type sensor element 2.
  • the exhaust electrode 311 is provided on the outer peripheral surface of the solid electrolyte body 31, and the atmospheric electrode 312 is provided on the inner peripheral surface of the solid electrolyte body 31.
  • the cup-type sensor element 2 is arranged in the center hole 410 of the housing 41 without using the first insulator 42.
  • the base end side cover 46A can be attached to the outer periphery of the annular protrusion 5 of the housing 41.
  • the area of the portion where the housing 41 and the base end side cover 46A come into contact with each other is made as small as possible to prevent heat transfer from the housing 41 to the base end side covers 46A and 46B.
  • the housing 41 has a configuration in which the end portion 460 of the tip end side L1 in the axial direction L of the base end side cover 46A is joined to the outer circumference of the reduced diameter portion 52 of the annular protrusion 5 provided on the housing 41.
  • the area of the portion where the outer peripheral surface of the base end side cover 46A and the inner peripheral surface of the base end side cover 46A come into contact with each other is the area of the outer peripheral surface 521 of the reduced diameter portion 52 of the annular projection portion 5 and the tip side L1 in the axial direction L of the base end side cover 46A.
  • the area of the portion where the inner peripheral surface 460C of the end portion 460 is joined can be limited. As a result, the area of the portion where the housing 41 and the base end side cover 46A come into contact with each other can be minimized.
  • the sealing member 47 is less likely to be heated by the heat transferred from the housing 41, and the sealing member 47 can be effectively protected from the heat.
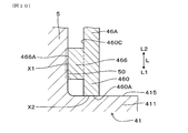
  • This embodiment shows a case where the structure of the portion where the housing 41 and the base end side cover 46A come into contact is different from the structure in the case of the first embodiment.
  • the inner peripheral surface 460C of the end portion 460 of the tip end side L1 in the axial direction L of the base end side cover 46A of the present embodiment has an outer peripheral surface 50 of the annular protrusion 5 of the housing 41.
  • a joined convex portion 466 is formed.
  • the convex portion 466 is formed in an annular shape on the entire circumference of a part of the axial direction L on the inner peripheral surface 460C of the end portion 460 of the distal end side L1 of the base end side cover 46A.
  • the convex portion 466 is formed so that the shape of the cross section orthogonal to the axial direction L becomes a constant shape in the axial direction L.
  • the annular protrusion 5 and the end 460 of the tip end side L1 of the base end side cover 46A are joined via the convex portion 466.
  • the convex portion 466 is formed to have a short length in the axial direction L in order to reduce the area in which the annular protrusion 5 and the base end side cover 46A come into contact with each other.
  • the length of the convex portion 466 in the axial direction L is shorter than the length of the annular protrusion 5 in the axial direction L.
  • a caulking portion 53 for fixing the first insulator 42 to the housing 41 is formed at a portion of the annular projection portion 5 on the proximal end side L2 in the axial direction L.
  • the annular protrusion 5 is formed at the root portion of the tip side L1 of the caulking portion 53 in the axial direction L in a state of protruding toward the outer peripheral side.
  • the caulking portion 53 may not be formed on the annular protrusion 5.
  • the contact area between the annular protrusion portion 5 and the base end side cover 46A can be reduced.
  • the joint area X1 in which the annular protrusion 5 and the convex portion 466 at the end portion 460 of the distal end side L1 of the proximal end side cover 46A are joined is the distal end side of the housing 41 and the proximal end side cover 46A. It is larger than the contact area X2 in which the end surface 460A of L1 is in contact with the end surface 460A via the interface.
  • the entire portion where the outer peripheral surface 50 of the annular protrusion 5 and the inner peripheral surface 466A of the convex portion 466 are in contact with each other is joined to each other by welding or the like.
  • the end surface 460A of the tip end side L1 of the base end side cover 46A and the surface 415 of the housing 41 are in contact with each other, but are not joined to each other.
  • the area X1 where the outer peripheral surface 50 of the annular protrusion 5 and the inner peripheral surface 466A of the convex portion 466 are joined is the area X2 where the end surface 460A of the distal end side L1 of the base end side cover 46A and the surface 415 of the housing 41 come into contact with each other. Greater than.
  • the length of the outer peripheral surface 50 of the annular protrusion 5 and the inner peripheral surface 466A of the convex portion 466 of the base end side cover 46A joined in the axial direction L can be within the range of 1 to 3 mm. As a result, the joint length between the annular protrusion 5 and the base end side cover 46A is short, and the temperature of the sealing member 47 heated by heat transfer from the base end side covers 46A and 46B can be lowered.
  • the convex portion 466 provided on the inner peripheral surface 460C of the base end side cover 46A is joined to the outer peripheral surface 50 of the annular protrusion 5, so that the outer peripheral surface of the housing 41 and the base end side cover 46A are joined.
  • the area of the portion in contact with the inner peripheral surface can be limited to the area of the portion where the annular protrusion 5 and the convex portion 466 are joined. As a result, it is possible to prevent heat from being transferred from the housing 41 to the base end side covers 46A and 46B and the sealing member 47.
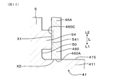
  • This embodiment shows a case where the convex portion 54 in the second embodiment is formed on the annular protrusion 5.
  • the outer peripheral surface 50 of the annular protrusion 5 of the housing 41 of the present embodiment has an inner peripheral surface 460C of the end portion 460 of the tip end side L1 in the axial direction L of the base end side cover 46A.
  • a joined convex portion 54 is formed.
  • the convex portion 54 is formed in an annular shape on the entire circumference of a part of the outer peripheral surface 50 of the annular projection portion 5 in the axial direction L.
  • the convex portion 54 is formed so that the shape of the cross section orthogonal to the axial direction L becomes a constant shape in the axial direction L.
  • the annular protrusion 5 and the end 460 of the tip end side L1 of the base end side cover 46A are joined via the convex portion 54.
  • the convex portion 54 can be integrally formed on the outer peripheral surface 50 of the annular protrusion 5 of the housing 41 when the housing 41 is molded. Further, the convex portion 54 may be formed by joining a cylindrical member to the outer peripheral surface 50 of the annular protrusion 5 of the housing 41 by welding or the like.
  • the length of the outer peripheral surface 541 of the convex portion 54 of the annular protrusion 5 and the inner peripheral surface 460C of the base end side cover 46A joined in the axial direction L can be within the range of 1 to 3 mm. As a result, the joint length between the annular protrusion 5 and the base end side cover 46A is short, and the temperature of the sealing member 47 heated by heat transfer from the base end side covers 46A and 46B can be lowered.
  • the joint area X1 in which the convex portion 54 of the annular protrusion 5 and the end portion 460 of the distal end side L1 of the proximal end side cover 46A are joined is the housing 41 and the proximal end side. It is larger than the contact area X2 in which the end surface 460A of the tip end side L1 of the cover 46A contacts through the interface. More specifically, the entire portion where the outer peripheral surface 541 of the convex portion 54 of the annular protrusion 5 and the inner peripheral surface 460C of the end portion 460 of the distal end side L1 of the base end side cover 46A come into contact with each other is formed by welding or the like. It is joined.
  • the end surface 460A of the tip end side L1 of the base end side cover 46A and the surface 415 of the housing 41 are in contact with each other, but are not joined to each other.
  • the area X1 where the outer peripheral surface 541 of the convex portion 54 of the annular protrusion 5 and the inner peripheral surface 460C of the end portion 460 of the end portion 460 of the distal end side L1 of the proximal end side cover 46A are joined is the distal end side of the proximal end side covers 46A and 46B.
  • the area of contact between the end surface 460A of L1 and the surface 415 of the housing 41 is larger than the area X2.
  • the other configurations, working effects, etc. of the gas sensor 1 of this embodiment are the same as those of the first and second embodiments. Further, also in this embodiment, the components indicated by the same reference numerals as those shown in the first and second embodiments are the same as those in the first and second embodiments.
  • This embodiment shows a case where the structure of the portion where the housing 41 and the base end side cover 46A come into contact is different from the structure in the cases of the first to third embodiments.
  • the base end side cover 46A is provided on the end surface 501 of the base end side L2 of the root portion 51 connected to the flange portion 411 in the axial direction L.
  • a recess 55 is formed in which the end portion 460 of the tip end side L1 in the axial direction L is arranged.
  • the recess 55 is formed in an annular shape on the entire circumference of a part of the radial direction R on the end surface 501 of the base end side L2 of the root portion 51 of the annular protrusion 5.
  • the end portion 460 of the tip end side L1 of the base end side cover 46A is joined to the root portion 51 in a state of being arranged in the recess 55.
  • the outer peripheral surface 460D of the end portion 460 of the tip end side L1 of the base end side cover 46A of this embodiment is joined to the inner wall surface 551 on the outer peripheral side of the recess 55.
  • a gap S is formed between the inner peripheral surface 460C of the end portion 460 of the distal end side L1 of the base end side cover 46A and the inner wall surface 552 on the inner peripheral side of the recess 55.
  • the recess 55 is formed to have a short length in the axial direction L in order to reduce the area in which the annular protrusion 5 and the base end side cover 46A come into contact with each other.
  • the depth of the recess 55 in the axial direction L is shorter than the length of the annular protrusion 5 in the axial direction L.
  • a caulking portion 53 for fixing the first insulator 42 to the housing 41 is formed at a portion of the annular projection portion 5 on the proximal end side L2 in the axial direction L.
  • the root portion 51 of the annular protrusion portion 5 is formed in a state of protruding toward the outer peripheral side at the root portion of the tip side L1 of the caulking portion 53 in the axial direction L.
  • the caulking portion 53 may not be formed on the annular protrusion 5.
  • the contact area between the annular protrusion 5 and the base end cover 46A can be reduced by mounting the end portion 460 of the tip end side L1 of the base end side cover 46A on the recess 55 of the annular protrusion portion 5. it can.
  • the joint area X1 in which the recess 55 of the annular protrusion 5 and the end 460 of the tip side L1 of the base end side cover 46A are joined is the recess 55 of the annular protrusion 5 and the base end side cover. It is larger than the contact area X2 in which the end surface 460A of the tip side L1 of 46A and 46B is in contact with each other via the interface.
  • the area X1 where the inner wall surface 551 on the outer peripheral side of the concave portion 55 of the annular protrusion 5 and the outer peripheral surface 460D at the end 460 of the tip side L1 of the base end side cover 46A are joined is the tip of the concave portion 55 of the annular protrusion 5. It is larger than the area X2 in which the bottom surface 553 of the side L1 and the end surface 460A of the tip end side L1 of the base end side cover 46A come into contact with each other.
  • the length of the inner wall surface 551 on the outer peripheral side of the concave portion 55 of the annular protrusion 5 and the outer peripheral surface 460D of the base end side cover 46A joined in the axial direction L can be within the range of 1 to 3 mm. As a result, the joint length between the annular protrusion 5 and the base end side cover 46A is short, and the temperature of the sealing member 47 heated by heat transfer from the base end side covers 46A and 46B can be lowered.
  • the end portion 460 of the distal end side L1 of the proximal end side cover 46A is joined to the concave portion 55 of the root portion 51 of the annular protrusion 5, so that the housing 41 and the proximal end side cover 46A come into contact with each other.
  • the inner peripheral surface 460C of the end portion 460 of the tip end side L1 of the base end side cover 46A is joined to the inner wall surface 552 on the inner peripheral side of the recess 55. You may. In this case, a gap S is formed between the outer peripheral surface 460D of the end portion 460 of the tip end side L1 of the base end side cover 46A and the inner wall surface 551 on the outer peripheral side of the recess 55.
  • the first base end side cover 46A and the second base end side cover 46B are made of a metal material.
  • the heat insulating member 49 of this embodiment is made of glass wool in which glass fibers are formed into a sheet.
  • the heat insulating member 49 can be made of various materials capable of suppressing heat transfer between the first base end side cover 46A and the second base end side cover 46B.
  • the heat insulating member 49 may be made of a porous ceramic material in which voids having a complicated shape or through holes that are regularly arranged are formed.
  • the heat insulating member 49 is sandwiched at the position of the tip side L1 in the axial direction L rather than the position where the water repellent filter 462 is sandwiched between the first base end side cover 46A and the second base end side cover 46B. .. At a position where the heat insulating member 49 is sandwiched between the first base end side cover 46A and the second base end side cover 46B, a recess 463 that sinks from the outer peripheral side to the inner peripheral side is formed.
  • the presence of the heat insulating member 49 can suppress heat transfer from the first base end side cover 46A to the second base end side cover 46B.
  • heat transfer from the distal end side L1 in the axial direction L to the proximal end side L2 in the proximal end side covers 46A and 46B is suppressed, and the sealing member 47 can be more effectively protected from heat.
  • the gas sensor 1 refers to the gas sensor 1 of the first embodiment in which the joint length of the reduced diameter portion 52 of the annular protrusion 5 and the base end side cover 46A in the axial direction L is within the range of 1 to 3 mm.
  • a simulation was performed to see how much each part of the gas sensor 1 is heated when the exhaust gas G at 1100 ° C. flows in the arranged exhaust pipe 7. Further, for comparison, a simulation was similarly performed for a gas sensor in a comparative form in which the joint length of the annular protrusion 5 and the base end side cover 46A in the axial direction L is 4 mm. In this simulation, the temperature distribution of each part of each gas sensor is displayed. Then, the temperature of each sealing member 47 in the gas sensor 1 of the first embodiment and the gas sensor of the comparative embodiment was confirmed.
  • the temperature of the sealing member 47 in the comparative gas sensor was about 260 ° C.
  • the temperature of the sealing member 47 in the gas sensor 1 of the first embodiment is about 235 ° C. when the joint length is 1 mm, about 243 ° C. when the joint length is 2 mm, and the joint length is 3 mm.
  • the temperature was about 254 ° C. It was found that in the case of the first embodiment, the temperature of the sealing member 47 can be lowered by about 6 to 25 ° C. and the sealing member 47 can be effectively protected from heat as compared with the case of the comparative embodiment. It was.
  • the thermal conductivity of glass wool is 0.05 [W / m ⁇ K]
  • the thermal conductivity of the stainless steel mesh is 16 [W / m ⁇ K].
  • the thermal conductivity of the stainless steel constituting the first base end side cover 46A and the second base end side cover 46B is 16 [W / m ⁇ K].
  • the temperature of the sealing member 47 could be lowered by about 18 ° C. as compared with the gas sensor 1 of the first embodiment. Further, it was found that in the gas sensor 1 to which the heat insulating member 49 made of stainless steel mesh is applied, the temperature of the sealing member 47 can be lowered by about 8 ° C. as compared with the gas sensor 1 of the first embodiment.
  • the present disclosure is not limited to each embodiment, and it is possible to configure different embodiments without departing from the gist thereof.
  • the present disclosure includes various modifications, modifications within an equal range, and the like.
  • the technical idea of the present disclosure also includes combinations, forms, etc. of various components assumed from the present disclosure.

Landscapes

  • Chemical & Material Sciences (AREA)
  • Life Sciences & Earth Sciences (AREA)
  • Health & Medical Sciences (AREA)
  • Pathology (AREA)
  • General Physics & Mathematics (AREA)
  • Immunology (AREA)
  • Physics & Mathematics (AREA)
  • Analytical Chemistry (AREA)
  • Biochemistry (AREA)
  • General Health & Medical Sciences (AREA)
  • Chemical Kinetics & Catalysis (AREA)
  • Electrochemistry (AREA)
  • Molecular Biology (AREA)
  • Engineering & Computer Science (AREA)
  • Combustion & Propulsion (AREA)
  • Food Science & Technology (AREA)
  • Medicinal Chemistry (AREA)
  • Measuring Oxygen Concentration In Cells (AREA)
PCT/JP2020/016506 2019-05-10 2020-04-15 ガスセンサ Ceased WO2020230505A1 (ja)

Priority Applications (1)

Application Number Priority Date Filing Date Title
US17/522,343 US20220065809A1 (en) 2019-05-10 2021-11-09 Gas sensor

Applications Claiming Priority (2)

Application Number Priority Date Filing Date Title
JP2019-089953 2019-05-10
JP2019089953A JP7125372B2 (ja) 2019-05-10 2019-05-10 ガスセンサ

Related Child Applications (1)

Application Number Title Priority Date Filing Date
US17/522,343 Continuation US20220065809A1 (en) 2019-05-10 2021-11-09 Gas sensor

Publications (1)

Publication Number Publication Date
WO2020230505A1 true WO2020230505A1 (ja) 2020-11-19

Family

ID=73221595

Family Applications (1)

Application Number Title Priority Date Filing Date
PCT/JP2020/016506 Ceased WO2020230505A1 (ja) 2019-05-10 2020-04-15 ガスセンサ

Country Status (3)

Country Link
US (1) US20220065809A1 (enExample)
JP (1) JP7125372B2 (enExample)
WO (1) WO2020230505A1 (enExample)

Families Citing this family (3)

* Cited by examiner, † Cited by third party
Publication number Priority date Publication date Assignee Title
WO2022249924A1 (ja) * 2021-05-24 2022-12-01 株式会社デンソー ガスセンサ
JP7731299B2 (ja) * 2022-01-26 2025-08-29 株式会社デンソー 接合方法
CN115128221B (zh) * 2022-09-02 2022-11-18 运易通科技有限公司 一种远程运输设备的碳排放连续式检测装置及其检测方法

Citations (12)

* Cited by examiner, † Cited by third party
Publication number Priority date Publication date Assignee Title
JPH0616861U (ja) * 1992-07-31 1994-03-04 日本電子機器株式会社 酸素センサ
JPH0727739A (ja) * 1993-07-12 1995-01-31 Unisia Jecs Corp 空燃比検出素子
US6266997B1 (en) * 1999-03-25 2001-07-31 Delphi Technologies, Inc. Thermal management of a sensor
JP2004198360A (ja) * 2002-12-20 2004-07-15 Denso Corp ガスセンサ
JP2007199036A (ja) * 2006-01-30 2007-08-09 Denso Corp ガスセンサ
JP2008032651A (ja) * 2006-07-31 2008-02-14 Denso Corp ガスセンサ
JP2008134219A (ja) * 2006-10-30 2008-06-12 Denso Corp ガスセンサ及びその製造方法
JP2013072671A (ja) * 2011-09-27 2013-04-22 Denso Corp ガスセンサ素子とその製造方法並びにガスセンサ
JP2014206479A (ja) * 2013-04-15 2014-10-30 日本特殊陶業株式会社 ガスセンサ
JP2017049205A (ja) * 2015-09-04 2017-03-09 日本特殊陶業株式会社 センサ
JP2017167136A (ja) * 2016-03-09 2017-09-21 株式会社デンソー アンモニアセンサ用検出電極及びアンモニアセンサ
JP2020071177A (ja) * 2018-11-01 2020-05-07 株式会社Soken ガスセンサ

Family Cites Families (4)

* Cited by examiner, † Cited by third party
Publication number Priority date Publication date Assignee Title
DE60044525D1 (de) * 1999-12-27 2010-07-22 Ngk Spark Plug Co Gassensor und dessen Herstellungsverfahren
JP4047919B2 (ja) * 2002-07-19 2008-02-13 日本特殊陶業株式会社 センサ、センサの製造方法、セパレータと付勢部材の組立体
JP3885781B2 (ja) * 2003-08-08 2007-02-28 株式会社デンソー ガスセンサ
JP2007218800A (ja) * 2006-02-17 2007-08-30 Denso Corp ガスセンサ及びその製造方法

Patent Citations (12)

* Cited by examiner, † Cited by third party
Publication number Priority date Publication date Assignee Title
JPH0616861U (ja) * 1992-07-31 1994-03-04 日本電子機器株式会社 酸素センサ
JPH0727739A (ja) * 1993-07-12 1995-01-31 Unisia Jecs Corp 空燃比検出素子
US6266997B1 (en) * 1999-03-25 2001-07-31 Delphi Technologies, Inc. Thermal management of a sensor
JP2004198360A (ja) * 2002-12-20 2004-07-15 Denso Corp ガスセンサ
JP2007199036A (ja) * 2006-01-30 2007-08-09 Denso Corp ガスセンサ
JP2008032651A (ja) * 2006-07-31 2008-02-14 Denso Corp ガスセンサ
JP2008134219A (ja) * 2006-10-30 2008-06-12 Denso Corp ガスセンサ及びその製造方法
JP2013072671A (ja) * 2011-09-27 2013-04-22 Denso Corp ガスセンサ素子とその製造方法並びにガスセンサ
JP2014206479A (ja) * 2013-04-15 2014-10-30 日本特殊陶業株式会社 ガスセンサ
JP2017049205A (ja) * 2015-09-04 2017-03-09 日本特殊陶業株式会社 センサ
JP2017167136A (ja) * 2016-03-09 2017-09-21 株式会社デンソー アンモニアセンサ用検出電極及びアンモニアセンサ
JP2020071177A (ja) * 2018-11-01 2020-05-07 株式会社Soken ガスセンサ

Also Published As

Publication number Publication date
JP7125372B2 (ja) 2022-08-24
US20220065809A1 (en) 2022-03-03
JP2020186945A (ja) 2020-11-19

Similar Documents

Publication Publication Date Title
WO2020230505A1 (ja) ガスセンサ
JP2019027847A (ja) ガスセンサ
JP2019045260A (ja) ガスセンサ
CN114026413B (zh) 气体传感器及其制造方法
US10996193B2 (en) Gas sensor element and gas sensor
JP5139955B2 (ja) セラミックヒータ、ガスセンサ素子及びガスセンサ
JP2015099110A (ja) ガスセンサ
JP7186131B2 (ja) ガスセンサ
JP2020003471A (ja) ガスセンサ
JP7432542B2 (ja) ガスセンサ
US20220011257A1 (en) Gas sensor
CN111796015B (zh) NOx传感器元件和NOx传感器
CN110573870B (zh) 气体传感器
JP6438851B2 (ja) ガスセンサ素子及びガスセンサ
JP7616143B2 (ja) ガスセンサ
JP7619302B2 (ja) ガスセンサ
JP7068132B2 (ja) ガスセンサ
JP7391638B2 (ja) センサ素子及びガスセンサ
JP2020056670A (ja) ガスセンサ
JP7114701B2 (ja) ガスセンサ素子およびガスセンサ
CN120202407A (zh) 传感器元件、气体传感器以及传感器元件的制造方法
JP2008008857A (ja) ガスセンサ
JP2015172524A (ja) ガスセンサ
JP2008014764A (ja) ガスセンサ素子およびそれを用いたガスセンサ、ガスセンサ素子の製造方法
JP2004093303A (ja) ガスセンサ

Legal Events

Date Code Title Description
121 Ep: the epo has been informed by wipo that ep was designated in this application

Ref document number: 20805397

Country of ref document: EP

Kind code of ref document: A1

NENP Non-entry into the national phase

Ref country code: DE

122 Ep: pct application non-entry in european phase

Ref document number: 20805397

Country of ref document: EP

Kind code of ref document: A1