WO2020196689A1 - 光測定用光源装置、分光測定装置及び分光測定方法 - Google Patents

光測定用光源装置、分光測定装置及び分光測定方法 Download PDF

Info

Publication number
WO2020196689A1
WO2020196689A1 PCT/JP2020/013498 JP2020013498W WO2020196689A1 WO 2020196689 A1 WO2020196689 A1 WO 2020196689A1 JP 2020013498 W JP2020013498 W JP 2020013498W WO 2020196689 A1 WO2020196689 A1 WO 2020196689A1
Authority
WO
WIPO (PCT)
Prior art keywords
light
fiber
wavelength
core
light source
Prior art date
Legal status (The legal status is an assumption and is not a legal conclusion. Google has not performed a legal analysis and makes no representation as to the accuracy of the status listed.)
Ceased
Application number
PCT/JP2020/013498
Other languages
English (en)
French (fr)
Japanese (ja)
Inventor
山田 剛
拓馬 横山
Current Assignee (The listed assignees may be inaccurate. Google has not performed a legal analysis and makes no representation or warranty as to the accuracy of the list.)
Ushio Denki KK
Original Assignee
Ushio Denki KK
Priority date (The priority date is an assumption and is not a legal conclusion. Google has not performed a legal analysis and makes no representation as to the accuracy of the date listed.)
Filing date
Publication date
Application filed by Ushio Denki KK filed Critical Ushio Denki KK
Priority to EP20779848.9A priority Critical patent/EP3951335A4/en
Priority to US17/598,770 priority patent/US12117340B2/en
Priority to CN202080018895.5A priority patent/CN113544480B/zh
Publication of WO2020196689A1 publication Critical patent/WO2020196689A1/ja
Anticipated expiration legal-status Critical
Ceased legal-status Critical Current

Links

Images

Classifications

    • GPHYSICS
    • G01MEASURING; TESTING
    • G01JMEASUREMENT OF INTENSITY, VELOCITY, SPECTRAL CONTENT, POLARISATION, PHASE OR PULSE CHARACTERISTICS OF INFRARED, VISIBLE OR ULTRAVIOLET LIGHT; COLORIMETRY; RADIATION PYROMETRY
    • G01J3/00Spectrometry; Spectrophotometry; Monochromators; Measuring colours
    • G01J3/02Details
    • G01J3/0205Optical elements not provided otherwise, e.g. optical manifolds, diffusers, windows
    • G01J3/0218Optical elements not provided otherwise, e.g. optical manifolds, diffusers, windows using optical fibers
    • GPHYSICS
    • G01MEASURING; TESTING
    • G01JMEASUREMENT OF INTENSITY, VELOCITY, SPECTRAL CONTENT, POLARISATION, PHASE OR PULSE CHARACTERISTICS OF INFRARED, VISIBLE OR ULTRAVIOLET LIGHT; COLORIMETRY; RADIATION PYROMETRY
    • G01J3/00Spectrometry; Spectrophotometry; Monochromators; Measuring colours
    • G01J3/02Details
    • G01J3/10Arrangements of light sources specially adapted for spectrometry or colorimetry
    • GPHYSICS
    • G01MEASURING; TESTING
    • G01JMEASUREMENT OF INTENSITY, VELOCITY, SPECTRAL CONTENT, POLARISATION, PHASE OR PULSE CHARACTERISTICS OF INFRARED, VISIBLE OR ULTRAVIOLET LIGHT; COLORIMETRY; RADIATION PYROMETRY
    • G01J3/00Spectrometry; Spectrophotometry; Monochromators; Measuring colours
    • G01J3/12Generating the spectrum; Monochromators
    • G01J3/14Generating the spectrum; Monochromators using refracting elements, e.g. prisms
    • GPHYSICS
    • G01MEASURING; TESTING
    • G01JMEASUREMENT OF INTENSITY, VELOCITY, SPECTRAL CONTENT, POLARISATION, PHASE OR PULSE CHARACTERISTICS OF INFRARED, VISIBLE OR ULTRAVIOLET LIGHT; COLORIMETRY; RADIATION PYROMETRY
    • G01J3/00Spectrometry; Spectrophotometry; Monochromators; Measuring colours
    • G01J3/12Generating the spectrum; Monochromators
    • G01J3/18Generating the spectrum; Monochromators using diffraction elements, e.g. grating
    • GPHYSICS
    • G01MEASURING; TESTING
    • G01JMEASUREMENT OF INTENSITY, VELOCITY, SPECTRAL CONTENT, POLARISATION, PHASE OR PULSE CHARACTERISTICS OF INFRARED, VISIBLE OR ULTRAVIOLET LIGHT; COLORIMETRY; RADIATION PYROMETRY
    • G01J3/00Spectrometry; Spectrophotometry; Monochromators; Measuring colours
    • G01J3/12Generating the spectrum; Monochromators
    • G01J3/18Generating the spectrum; Monochromators using diffraction elements, e.g. grating
    • G01J3/1895Generating the spectrum; Monochromators using diffraction elements, e.g. grating using fiber Bragg gratings or gratings integrated in a waveguide
    • GPHYSICS
    • G02OPTICS
    • G02FOPTICAL DEVICES OR ARRANGEMENTS FOR THE CONTROL OF LIGHT BY MODIFICATION OF THE OPTICAL PROPERTIES OF THE MEDIA OF THE ELEMENTS INVOLVED THEREIN; NON-LINEAR OPTICS; FREQUENCY-CHANGING OF LIGHT; OPTICAL LOGIC ELEMENTS; OPTICAL ANALOGUE/DIGITAL CONVERTERS
    • G02F1/00Devices or arrangements for the control of the intensity, colour, phase, polarisation or direction of light arriving from an independent light source, e.g. switching, gating or modulating; Non-linear optics
    • G02F1/35Non-linear optics
    • G02F1/365Non-linear optics in an optical waveguide structure
    • GPHYSICS
    • G01MEASURING; TESTING
    • G01JMEASUREMENT OF INTENSITY, VELOCITY, SPECTRAL CONTENT, POLARISATION, PHASE OR PULSE CHARACTERISTICS OF INFRARED, VISIBLE OR ULTRAVIOLET LIGHT; COLORIMETRY; RADIATION PYROMETRY
    • G01J3/00Spectrometry; Spectrophotometry; Monochromators; Measuring colours
    • G01J3/28Investigating the spectrum
    • G01J3/30Measuring the intensity of spectral lines directly on the spectrum itself
    • G01J3/32Investigating bands of a spectrum in sequence by a single detector
    • GPHYSICS
    • G01MEASURING; TESTING
    • G01NINVESTIGATING OR ANALYSING MATERIALS BY DETERMINING THEIR CHEMICAL OR PHYSICAL PROPERTIES
    • G01N21/00Investigating or analysing materials by the use of optical means, i.e. using sub-millimetre waves, infrared, visible or ultraviolet light
    • G01N21/17Systems in which incident light is modified in accordance with the properties of the material investigated
    • G01N21/25Colour; Spectral properties, i.e. comparison of effect of material on the light at two or more different wavelengths or wavelength bands
    • G01N21/31Investigating relative effect of material at wavelengths characteristic of specific elements or molecules, e.g. atomic absorption spectrometry
    • G01N21/35Investigating relative effect of material at wavelengths characteristic of specific elements or molecules, e.g. atomic absorption spectrometry using infrared light
    • G01N21/359Investigating relative effect of material at wavelengths characteristic of specific elements or molecules, e.g. atomic absorption spectrometry using infrared light using near infrared light
    • GPHYSICS
    • G02OPTICS
    • G02FOPTICAL DEVICES OR ARRANGEMENTS FOR THE CONTROL OF LIGHT BY MODIFICATION OF THE OPTICAL PROPERTIES OF THE MEDIA OF THE ELEMENTS INVOLVED THEREIN; NON-LINEAR OPTICS; FREQUENCY-CHANGING OF LIGHT; OPTICAL LOGIC ELEMENTS; OPTICAL ANALOGUE/DIGITAL CONVERTERS
    • G02F2201/00Constructional arrangements not provided for in groups G02F1/00 - G02F7/00
    • G02F2201/30Constructional arrangements not provided for in groups G02F1/00 - G02F7/00 grating
    • G02F2201/305Constructional arrangements not provided for in groups G02F1/00 - G02F7/00 grating diffraction grating

Definitions

  • the invention of this application relates to a light source device for light measurement that emits a wide band pulsed light, and also relates to a technique of spectroscopic measurement using the light source device.
  • a typical pulsed light source is a pulsed laser (pulse laser).
  • pulse laser pulse laser
  • SC light supercontinuum light
  • SC light is light obtained by passing light from a pulsed laser source through a non-linear element such as a fiber and widening the wavelength by a non-linear optical effect such as self-phase modulation or induced Raman scattering.
  • the above-mentioned broadband pulsed light is extended as a wavelength range, but remains narrow as a pulse width (time width).
  • the pulse width can also be extended by using the group delay in a transmission medium such as a fiber.
  • the elapsed time (time) and wavelength in the pulse are 1.
  • Pulse extension can be performed in a state corresponding to 1: 1.
  • the pulsed light in such a state where the elapsed time in the pulse and the wavelength have a one-to-one correspondence is sometimes called a chirped pulse light or a linear chirped pulse light.
  • the correspondence between the elapsed time and the wavelength in the wideband pulsed light (hereinafter referred to as wideband stretched pulsed light) pulse-stretched in this way can be effectively used for spectroscopic measurement. That is, when a wideband extended pulsed light is received by a certain detector, the temporal change of the light intensity detected by the detector corresponds to the light intensity of each wavelength, that is, the spectrum. Therefore, the temporal change of the output data of the detector can be converted into a spectrum, and spectroscopic measurement can be performed without using a special dispersion element such as a diffraction grating. That is, the spectral characteristics (for example, spectral transmittance) of the sample can be known by irradiating the sample with broadband extended pulsed light, receiving the light from the sample with a detector, and measuring the temporal change thereof. Will be.
  • wideband extended pulsed light is considered to be particularly useful in fields such as spectroscopic measurement.
  • the output of the pulsed light source is increased in order to output stronger light, an unintended nonlinear optical effect occurs in the pulse stretching element, and the elapsed time and wavelength are unique (1 to 1). Correspondence) was found to collapse. If the uniqueness between the elapsed time and the wavelength is broken, the measurement accuracy will be significantly reduced, especially when used for spectroscopic measurement.
  • the invention of this application is based on this finding, and an object of the present invention is to provide a light source device for light measurement in which the uniqueness of elapsed time and wavelength is not lost even when the output is high. The purpose is to enable highly accurate and high-speed spectroscopic measurement by using a light source device.
  • the light source device for light measurement outputs pulsed light having a continuous spectrum and a one-to-one correspondence between the elapsed time in one pulse and the wavelength.
  • This light source device includes a pulse light source that emits pulsed light having a continuous spectrum, a divider that spatially divides the pulsed light emitted from the pulsed light source according to the wavelength, and the number of wavelengths that the divider divides. It is provided with a plurality of fibers according to the number of fibers. Each fiber has an incident end located at a position where light of each wavelength that is spatially divided by the divider is incident, and has a different length depending on the wavelength of the incident light.
  • the divider may be an array waveguide diffraction grating.
  • the light source device for light measurement includes a diffraction grating and an optical system that collects the light dispersed by the diffraction grating at different positions according to the wavelength. , The incident end of each fiber may be arranged at each light collecting position.
  • a plurality of fibers are an element fiber constituting a plurality of fiber sets and a multi-core fiber, and each fiber set has the same pattern but different lengths.
  • the core of each element fiber and each core of the multi-core fiber are connected, and the number and length of the multi-core fibers are each composed of the core of each element fiber and each core of the multi-core fiber. It may have a configuration in which the total lengths of the transmission lines are selected so as to be different from each other.
  • the pulse light source in this light source device for light measurement, may be a light source that emits supercontinuum light.
  • the spectroscopic measuring apparatus according to the invention of the present application spatially emits a pulse light source that emits pulsed light having a continuous spectrum and pulsed light emitted from the pulsed light source according to the wavelength.
  • each incident end is located at a position where the light of each wavelength spatially divided by the divider is incident, and the incident light has a one-to-one correspondence between the elapsed time in one pulse and the wavelength. The length varies depending on the wavelength of.
  • this spectroscopic measuring device calculates the spectral characteristics of the object according to the detector arranged at the position where the light from the object irradiated with the light emitted from each fiber is incident and the output from the detector. It is equipped with a calculation means.
  • the divider may be an array waveguide diffraction grating.
  • the spectroscopic measuring apparatus includes a diffraction grating and an optical system that collects the light dispersed by the diffraction grating at different positions according to the wavelength. It may have a configuration in which the incident end of each fiber is arranged at the light collecting position.
  • a plurality of fibers are an element fiber constituting a plurality of fiber sets and a multi-core fiber, and each fiber set has a plurality of elements having the same pattern but different lengths.
  • the pulse light source may be a light source that emits supercontinuum light.
  • the spectroscopic measurement method according to the invention of the present application includes a division step of spatially dividing pulsed light having a continuous spectrum according to a wavelength by a divider.
  • the divider may be an array waveguide diffraction grating. Further, in order to solve the above problems, in this spectroscopic measurement method, the divider is provided with a diffraction grating and an optical system that collects the light dispersed by the diffraction grating at different positions according to the wavelength. It may have a configuration in which the incident end of each fiber is arranged at the light collecting position. Further, in order to solve the above problems, in this spectroscopic measurement method, the plurality of fibers are an element fiber constituting a plurality of fiber sets and a multi-core fiber, and each fiber set has a plurality of elements having the same pattern but different lengths.
  • the pulsed light may be supercontinuum light in this spectroscopic measurement method.
  • the broadband pulsed light is divided into light of each wavelength by a divider, and the light of each wavelength is divided according to the propagation distance in each fiber transmitting the light. Since the pulse is stretched due to the delay, there is no problem that an unintended non-linear optical effect is generated and the time wavelength uniqueness is broken. Therefore, it is possible to perform light measurement by irradiating an object with a wide band pulsed light having a unique time wavelength. Therefore, high-speed and high-quality optical measurement can be performed.
  • the divider is an arrayed waveguide diffraction grating
  • a plurality of fibers form a plurality of fiber sets having the same pattern but different lengths, cost reduction can be achieved.
  • a time-consuming operation such as sweeping the diffraction grating is performed. It is unnecessary and can perform high-speed spectroscopic measurement.
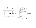
  • FIG. 1 is a schematic view of a light source device for light measurement according to the first embodiment.
  • the light source device for light measurement shown in FIG. 1 includes a pulse light source 1 and a pulse extension unit 2.
  • the pulse extension unit 2 is a unit that pulse-extends the light from the pulse light source 1 so that the relationship between the elapsed time in one pulse and the wavelength is 1: 1.
  • the pulse light source 1 is a light source that emits pulsed light having a continuous spectrum. In this embodiment, for example, it is a light source that emits light having a continuous spectrum over a wavelength width of at least 10 nm in the range of 900 nm to 1300 nm. "A spectrum continuous over a wavelength width of at least 10 nm in the range of 900 nm to 1300 nm" means any continuous wavelength width of 10 nm or more in the range of 900 nm to 1300 nm. For example, it may be continuous at 900 to 910 nm, or may be continuous at 990 to 1000 nm.
  • the spectrum is continuous means that the spectrum is continuous in a certain wavelength width. This is not limited to the case where the pulsed light is continuous in the entire spectrum, and may be partially continuous.
  • the point in the range of 900 nm to 1300 nm is that the light source device of the embodiment is used for light measurement in this wavelength range.
  • Light having a continuous spectrum over a wavelength width of at least 10 nm is typically SC light. Therefore, in this embodiment, the pulse light source 1 is an SC light source.
  • other broadband pulse light sources such as SLD (Superluminescent Diode) light sources may be used.
  • the pulse light source 1 which is an SC light source includes an ultrashort pulse laser 11 and a non-linear element 12.
  • the ultrashort pulse laser 11 a gain switch laser, a microchip laser, a fiber laser, or the like can be used.
  • the nonlinear element 12 a fiber is often used.
  • a photonic crystal fiber or other non-linear fiber can be used as the non-linear element 12.
  • the fiber mode is often a single mode, but it can be used as the non-linear element 12 as long as it exhibits sufficient non-linearity even in the multi-mode.
  • the pulse extension unit 2 is a major feature of the light source device of the embodiment.
  • the light emitted from the pulse light source 1 has a wide wavelength band, but the pulse width remains as a short pulse on the order of femtoseconds to nanoseconds. Since it is difficult to use it for optical measurement as it is, the pulse extension unit 2 is used to extend the pulse. At this time, what is important is that a configuration is adopted in which the relationship between the elapsed time and the wavelength in one pulse is extended so as to be 1: 1. At this time, the light source device of the embodiment adopts a configuration in consideration of preventing an unintended nonlinear optical effect from occurring.
  • FIG. 2 is a schematic view showing the principle of pulse elongation of wideband pulsed light.
  • a configuration using a fiber having a specific group delay characteristic such as a dispersion compensation fiber (DCF) is preferably adopted.
  • DCF dispersion compensation fiber
  • the emitted SC light L2 becomes light whose pulse width is extended while the uniqueness of time vs. wavelength is ensured. That is, as shown on the lower side of FIG. 2, the times t 1 to t n are pulse-extended in a state of having a one-to-one correspondence with the wavelengths ⁇ 1 to ⁇ n .
  • an anomalous dispersion fiber as the group delay fiber 9 for pulse extension.
  • the light on the long wavelength side that existed at the beginning of the pulse is delayed, and the light on the short wavelength side that existed at a later time is dispersed in a state of advancing, so that the time within one pulse The target relationship is reversed, and the light on the short wavelength side exists at the beginning of one pulse, and the pulse is extended in a state where the light on the longer wavelength side exists with the passage of time.
  • normal dispersion is preferable in this respect.
  • the field of optical measurement it may be necessary to increase the intensity of the wideband pulsed light incident on the fiber in the pulse extension using such a group delay fiber.
  • a group delay fiber For example, when measuring the absorption spectrum by irradiating an object with a large amount of light with light and dispersing the transmitted light, it is necessary to irradiate the object with strong light, and therefore the strong light is extended even in pulse elongation. It will be necessary to let it. Further, from the viewpoint of increasing the SN ratio of the measurement or performing the measurement at high speed, it may be necessary to irradiate the object with strong light.
  • FIG. 3 is a diagram showing the results of an experiment confirming this point.
  • FIG. 3 is a diagram showing the results of an experiment confirming an unintended nonlinear optical effect when a high-intensity wideband pulsed light is pulse-stretched by a group delay fiber.
  • the vertical axis is a logarithmic scale.
  • a microchip laser beam having a center wavelength of 1064 nm and a pulse width of 2 nanoseconds was put into a photonic crystal fiber as a non-linear element to obtain SC light, and a single-mode fiber having a length of 5 km was used as a group delay fiber. Used as pulse stretched.
  • Single-mode fiber is a fiber that is normally dispersed in the range of 1100 to 1200 nm. At this time, the energy of the incident SC light on the single mode fiber was changed to 0.009 ⁇ J, 0.038 ⁇ J, 0.19 ⁇ J, and 0.79 ⁇ J.
  • the light source device for light measurement of the embodiment includes a pulse extension unit 2 that extends the pulse width of the wideband pulsed light from the pulse light source 1, and the pulse extension unit 2 is provided.
  • the divider 3 and a plurality of fibers (hereinafter, referred to as extension fibers) 41 to 4n are included.
  • the divider 3 is an element that spatially divides the pulsed light emitted from the pulsed light source 1 according to the wavelength.
  • each extension fiber 41 to 4n is connected in parallel to the divider 3.
  • the incident end of each extended fiber 4 is arranged at a position where light of each wavelength spatially divided by the divider 3 is incident. That is, when the divider 3 divides the broadband pulsed light into light having wavelengths ⁇ 1 to ⁇ n , the incident end of the extending fiber 41 is arranged at the emission position of the light having wavelength ⁇ 1 , and the incident end of the extending fiber 42 is arranged. Is arranged at the light emitting position of the wavelength ⁇ 2 , and ...
  • the fiber 4n is arranged at the light emitting position of the wavelength ⁇ n .
  • the lengths of the extended fibers 41 to 4n are different depending on the incident wavelength (connection position with respect to the divider 3).
  • the length of each extended fiber 41 to 4n is determined so that the relationship between the elapsed time in one pulse and the wavelength is 1: 1 at the exit end of each extended fiber 41 to 4n.
  • the light on the long wavelength side is present at the beginning of one pulse, and the pulse is extended while maintaining the relationship that the light on the short wavelength side gradually exists with the passage of time.
  • the length of the stretched fiber that transmits light is longer. That is, if ⁇ 1 is the longest wavelength, ⁇ n is the shortest wavelength, and the lengths of the extended fibers 41, 42, ..., 4n are m 1 , m 2 , ...
  • 20 single-mode fibers having different lengths from 1 to 20 m in 1 m increments can be used as extended fibers 41 to 4n.
  • each extension fiber 41 to 4n does not necessarily have to be a specific group delay fiber. That is, it is not essential to adopt a fiber having an appropriate group delay characteristic according to the wavelength. If the same fiber (fiber of the same core / clad material) is used and the length is different depending on the wavelength, the time-wavelength uniqueness at each emission end is achieved. In this sense, each extension fiber 41 to 4n may be a multimode fiber. From the viewpoint of preventing unintended non-linear optical effects, multimode fiber may be preferable to single mode fiber.
  • each extended fiber 41 to 4n since the difference in length of each extended fiber 41 to 4n is optimized, when the broadband pulsed light is divided into light of each wavelength and propagates through each extended fiber 41 to 4n, at each emission end. Time wavelength uniqueness is achieved. That is, the divided light is delayed according to the wavelength, the length of each extended fiber 41 to 4n, and the refractive index of the core. Therefore, if the length of each extended fiber 41 to 4n is appropriately selected according to the wavelength and the core refractive index, time wavelength uniqueness is achieved at each emission end.
  • the difference in wavelength divided by the divider 3 is ⁇ and the difference in length of each extended fiber 41 to 4n is ⁇ m, even if ⁇ is constant (wavelength interval is constant), ⁇ m is It may not be constant.
  • each of the extended fibers 41 to 4n has a wavelength dependence in the group delay even if it is not a group delay fiber, and thus the ⁇ m may be different in consideration of this.
  • the same extension fibers 41 to 4n are used (those having the same characteristics), those having different characteristics may be used. When using different characteristics, select the difference in length according to the difference in the characteristics.
  • the time ticks t 1 to t n may be discrete times. is there. That is, after the light of wavelength ⁇ 1 is observed at time t 1 , the light of wavelength ⁇ 2 is observed at time t 2 after a vacant time (there is a time zone in which no light exists). In some cases, Even in this state, since the wavelength is specified by specifying the time, it can be said that the uniqueness of the time wavelength is ensured. Of course, the wavelength may change continuously with a continuous change in time.
  • a coupler 5 is provided at the exit end of each extension fiber 41 to 4n.
  • the coupler 5 is an element that superimposes the beams emitted from the exit ends of the extended fibers 41 to 4n so that the same irradiation region is irradiated.
  • an optical system such as a mechanism or a lens that holds the emission end of each extended fiber 41 to 4n so that the same irradiation region is irradiated may be adopted.
  • a fan-in / fan-out device may also be used as the coupler 5.
  • an optical coupler using a planar optical circuit or an arrayed waveguide diffraction grating can also be used.
  • FIG. 4 is a schematic plan view of the array waveguide diffraction grating adopted as the divider 3.
  • the arrayed waveguide diffraction grating is configured by forming each functional waveguide 32 to 36 on the substrate 31.
  • Each functional waveguide includes a large number of array waveguides 32 having slightly different optical path lengths, slab waveguides 33 and 34 connected to both ends (incident side and emission side) of the array waveguide 32, and incident side slab waveguides.
  • the slab waveguides 33 and 34 are free spaces, and the light incident through the incident side waveguide 35 spreads in the incident side slab waveguide 33 and is incident on each array waveguide 32. Since the lengths of the array waveguides 32 are slightly different, the light reaching the end of each array waveguide 32 is out of phase (shifted) by this difference. Light is diffracted and emitted from each array waveguide 32, but the diffracted light passes through the exit side slab waveguide 34 while interfering with each other and reaches the incident end of the exit side waveguide 36. At this time, due to the phase shift, the interference light has the highest intensity at the position corresponding to the wavelength. That is, light having different wavelengths is sequentially incident on each emission end waveguide 36, and the light is spatially dispersed. Strictly speaking, each emitting side waveguide 36 is formed so that each incident end is located at such a spectroscopic position.
  • An arrayed waveguide grating as shown in FIG. 4 was developed for wavelength division multiplexing (WDM) in the field of optical communication, but the inventor described it as an embodiment, although the application and wavelength range are significantly different. It has been found that the light source device can be used as a divider 3 for pulse extension.
  • Such an array waveguide diffraction grating can be produced, for example, by surface-treating a substrate 31 made of silicon. Specifically, a clad layer (SiO 2 layer) is formed on the surface of a silicon substrate 31 by a flame deposition method, and a SiO 2- GeO 2 layer for a core is similarly formed by a flame deposition method, and then photolithography. It is produced by patterning two layers of SiO 2- GeO to form the waveguides 32 to 36.
  • the line width of each array waveguide 32 may be, for example, about 5 to 6 ⁇ m.
  • the number of light emitting side waveguides 36 is about 128, and the light is divided into different wavelengths of 3 to 50 nm and emitted. ..
  • Extension fibers 41 to 4n are connected to each emission side waveguide 36 of the array waveguide diffraction grating. Therefore, light spatially divided according to the wavelength is incident on the extended fibers 41 to 4n as described above, and the light of each wavelength is transmitted by the separate extended fibers 41 to 4n and has different delay times. Is given.
  • the coupler 5 is arranged at a predetermined position according to the purpose of optical measurement.
  • the ultrashort pulsed light emitted from the ultrashort pulse laser 11 is widened by the nonlinear element 12 to become wideband pulsed light, and is incident on the divider 3.
  • it is spatially divided by the divider 3 according to the wavelength, and light of each wavelength is incident on each of the extending fibers 41 to 4n.
  • the light of each wavelength is delayed in each of the extended fibers 41 to 4n, and is emitted from each of the extended fibers 41 to 4n in a state where the time wavelength uniqueness is achieved.
  • the emitted light is applied to the irradiation region directed by the coupler 5.
  • the broadband pulsed light is divided into light of each wavelength by the divider 3, and the extended fibers 41 to 4n transmitting the light of each wavelength depend on the propagation distance. Since the pulse is stretched due to the delay, there is no problem that an unintended non-linear optical effect is generated and the time wavelength uniqueness is broken. That is, since the power of the wideband pulsed light is dispersed and propagated in each extended fiber 41 to 4n, even when the high power wideband pulsed light is emitted from the pulse light source 1, the light propagating in each extended fiber 41 to 4n. Power is kept low. Therefore, the uniqueness of the time wavelength is not broken.
  • the object can be irradiated with the extended high-power wideband pulsed light. Therefore, even for an object having a large absorption, it is possible to perform optical measurement with a high SN ratio.
  • the array waveguide diffraction grating used as the divider 3 has low loss, it is possible to irradiate light with even higher illuminance. Further, the arrayed waveguide diffraction grating has a high affinity with the fiber, and can be easily connected to each extended fiber. Therefore, there is an effect that it is easy to manufacture.
  • FIG. 5 is a schematic view of the divider 3 of another example.
  • the array waveguide diffraction grating is used as the divider 3, but the example of FIG. 5 is an example in which the diffraction grating 371 is used as the divider 3.
  • the light is focused at different positions according to the wavelength.
  • the splitter 3 includes an angular dispersion module 37 that makes the angle with respect to the optical axis different depending on the wavelength, and a non-parallel mirror pair 38 connected to the angular dispersion module 37.
  • the beam splitter 372 that takes out the light of each wavelength folded by the non-parallel mirror pair 38, and the incident optical system 39 that causes the light of each wavelength taken out by the beam splitter 372 to enter into each of the extending fibers 41 to 4n. ..
  • the angular dispersion module 37 has a diffraction grating 371 on which wideband pulsed light is incident, a collimator lens 373 that makes the light wavelength-dispersed by the diffraction grating 371 parallel light, and a collimator lens 373 that makes the light parallel. It includes a condenser lens 374 that connects the light to the incident point P of the non-parallel mirror pair 38.
  • the beam splitter 372 for extraction is arranged between the collimator lens 373 and the condenser lens 374.
  • the light of each wavelength dispersed by the diffraction grating 371 is condensed by the condensing lens 374 and connected to the incident point P of the non-parallel mirror pair 38.
  • the angle at which the incident point P is reached is different depending on the wavelength, and is continuously different. Since the non-parallel mirror pair 38 is composed of a pair of flat plate mirrors 381 tilted by a slight angle ⁇ , as shown in FIG. 5, the incident light of each wavelength is alternately reflected by the flat plate mirrors 381. While coming back.
  • the wideband pulsed light is spatially divided according to the wavelength and transmitted by each extended fiber 41 to 4n.
  • the lengths of the extended fibers 41 to 4n are different depending on the wavelength of the incident light, and the time wavelength uniqueness is achieved at the emission end.
  • the optical path length of the light having a wavelength that just returns to the position of the incident point P is slightly different depending on the wavelength, so that time dispersion occurs by this amount. Therefore, when selecting the length of the extended fiber 41 to 4n, it is desirable to take this amount of dispersion into consideration.
  • FIG. 6 is a schematic view showing the divider 3 of yet another example.
  • the divider 3 as shown in FIG. 6 (1), one using a pair of diffraction gratings 301 can be adopted.
  • a configuration can be adopted in which light is wavelength-dispersed by a pair of diffraction gratings 301, and light of each wavelength is incident on each of the extending fibers 41 to 4n via a microlens array 302.
  • the microlens array 302 is an element in which microlenses are arranged so as to collect light of each wavelength and incident it on the core of each extended fiber 41 to 4n.
  • the divider 3 that employs a prism pair.
  • the light is wavelength-dispersed by the pair of prisms 303, and similarly condensed by the microlens array 302 and incident on the cores of the extended fibers 41 to 4n.
  • the high-intensity broadband pulsed light is pulsed. Even when emitted from the source 1, an unintended nonlinear optical effect is prevented and the time wavelength uniqueness is not disrupted.
  • FIG. 7 is a schematic view of the light source device for light measurement of the second embodiment.
  • the configuration of the pulse extension unit 2 is different from that of the first embodiment.
  • the pulse extension unit 2 includes a plurality of extension fibers. These extended fibers include fibers (hereinafter, referred to as element fibers) 41 to 4n constituting a plurality of fiber sets 4G1 to 4Gn.
  • Each fiber set 4G1 to 4Gn is composed of a plurality of element fibers 41 to 4n having the same pattern but different lengths. This is intended to reduce costs by standardizing extended fibers. However, as it is, since there are extended fibers having the same length, different delays cannot be achieved in that portion. Therefore, multi-core fibers 61 to 6n are combined. In this configuration, the cores of one element fiber 41 to 4n and each core of the multi-core fibers 61 to 6n connected to the core form one transmission line, so that the number and length of the multi-core fibers 61 to 6n are determined. The transmission lines are selected so that they have different lengths.
  • the fiber sets 4G1 to 4Gn of each set are 1 to 5 It shall consist of five element fibers 41 to 45 having different lengths in 1 meter increments up to meters. Prepare 4 sets of this set. Then, three multi-core fibers having five cores are prepared. The three multi-core fibers 61 to 63 have a length of 5 meters, 10 meters, and 15 meters. Then, the multi-core fiber is not connected to the first fiber group 4G1, and the 5-meter multi-core fiber 61 is connected to the next fiber group 4G2.
  • each core of the 5-meter multi-core fiber 61 is connected to the core of each element fiber 41 to 45.
  • a 10-meter multi-core fiber 62 is connected to the next fiber set 4G3.
  • a 15-meter multi-core fiber 63 is connected to the final fiber set 4G4. In this way, 20 transmission lines having different lengths are formed in increments of 1 meter from 1 to 20 meters.
  • the above is an example, and any combination may be used as long as the total lengths of the transmission lines are different from each other.
  • the number of cores of the multi-core fiber 61 to 6n may be larger than the number of element fibers 41 to 4n of the fiber set 4G1 to 4Gn, but in that case, it may be free (not connected). When there are two fiber sets, one multi-core fiber is sufficient. It is also possible to use a bundle fiber instead of the multi-core fiber 61 to 6n. In the above example, a bundle fiber in which five fibers are bundled is prepared. Each bundle fiber has a length of 5 meters, 10 meters, and 15 meters, and is similarly connected to the fiber sets 4G2, 4G3, and 4G4, respectively.
  • the pulse extension unit 2 includes a plurality of fiber sets 4G1 to 4Gn composed of a plurality of element fibers 41 to 4n having the same pattern but different from each other, the cost is low.
  • each fiber set 4G1 to 4Gn is connected to the divider 3, and each multi-core fiber 61 to 6n is connected to the subsequent stage, but this relationship may be reversed. .. That is, each multi-core fiber 61 to 6n may be connected to the divider 3, and each fiber set 4G1 to 4Gn may be connected to the subsequent stage.
  • FIG. 8 is a schematic view of the spectroscopic measuring device of the first embodiment.
  • the spectroscopic measurement device shown in FIG. 8 is a light source device 10 for light measurement, an irradiation optical system 71 that irradiates an object S with light emitted from the light source device 10 for light measurement, and an object S irradiated with light. It includes a detector 72 arranged at a position where light is incident, and a calculation means 73 for calculating the spectral spectrum of the object S according to the output from the detector 72.
  • the irradiation optical system 71 includes a beam expander 711 in this embodiment.
  • the light from the light source device 10 is a time-extended wideband pulsed light, it is a light from an ultrashort pulse laser 11, considering that the beam diameter is small.
  • a scanning mechanism such as a galvano mirror may be provided to cover a wide irradiation area by beam scanning.
  • the detector 72 is provided at a position where the transmitted light from the object S is incident.
  • a transparent receiving plate 74 on which the object S is arranged is provided.
  • the irradiation optical system 71 is adapted to irradiate light from above, and the detector 72 is arranged below the receiving plate 74.
  • the calculation means 73 a general-purpose personal computer is used in this embodiment.
  • An AD converter 75 is provided between the detector 72 and the calculation means 73, and the output of the detector 72 is input to the calculation means 73 via the AD converter 75.
  • the arithmetic means 73 includes a processor 731 and a storage unit (hard disk, memory, etc.) 732.
  • a measurement program 733 that processes the output data from the detector 72 to calculate the absorption spectrum and other necessary programs are installed in the storage unit 732.
  • FIG. 9 is a diagram schematically showing a main part of an example of the measurement program 733 included in the spectroscopic measuring device.
  • the example of FIG. 9 is an example of a program in which the measurement program 733 measures the absorption spectrum (spectral absorption rate).
  • Reference spectrum data is used in the calculation of the absorption spectrum.
  • the reference spectrum data is a value for each wavelength that serves as a reference for calculating the absorption spectrum.
  • the reference spectrum data is acquired by causing the light from the light source device 10 to enter the detector 72 without passing through the object S. That is, the light is directly incident on the detector 72 without passing through the object S, the output of the detector 72 is input to the calculation means 73 via the AD converter 75, and the value for each time resolution ⁇ t is acquired.
  • Each value is stored as a reference intensity at each time (t 1 , t 2 , t 3 , %) For each ⁇ t (V 1 , V 2 , V 3 , ).
  • the time resolution ⁇ t is an amount determined by the response speed (signal payout cycle) of the detector 72, and means a time interval for outputting a signal.
  • the reference intensities V 1 , V 2 , V 3 , ... at each time t 1 , t 2 , t 3 , ... are the intensities of the corresponding wavelengths ⁇ 1 , ⁇ 2 , ⁇ 3 , ... (Spectrum).
  • the relationship between the time t 1 , t 2 , t 3 , ... In one pulse and the wavelength has been investigated in advance, and the values V 1 , V 2 , V 3 , ... at each time are ⁇ 1 , respectively. It is treated as a value of ⁇ 2 , ⁇ 3 , ...
  • the measurement program 733 is programmed to perform the above arithmetic processing.
  • the operation of the spectroscopic measuring device will be described.
  • the following description is also a description of embodiments of the spectroscopic measurement method.
  • the light source device 10 is operated in a state where the object S is not arranged, the output data from the detector 72 is processed, and the reference spectrum data is acquired in advance. Then, the object S is arranged on the receiving plate 74, and the light source device 10 is operated again. Then, the output data from the detector 72 is input to the calculation means 73 via the AD converter 75, and the spectral spectrum is calculated by the measurement program 733.
  • the absorption spectrum was measured using the transmitted light from the object S, but the reflected light from the object S is incident on the detector 72 to measure the reflection spectrum (spectral reflectance).
  • the fluorescence spectrum may be measured by incidenting the fluorescence emitted by being excited by the light irradiated on the object S into the detector 72.
  • the spectral characteristics of the scattering spectrum of the object S such as Rayleigh scattering and Raman scattering may be measured. Therefore, the light from the object S can be transmitted light, reflected light, fluorescence, scattered light, or the like from the object S irradiated with light.
  • the light from the pulse light source 1 is time-divided and irradiated to the object S, so that a time-consuming operation such as sweeping the diffraction grating can be performed. It is unnecessary and can perform high-speed spectroscopic measurement.
  • pulse extension that ensures uniqueness in time and wavelength
  • a configuration is adopted in which transmission is performed for each wavelength with separate extended fibers 41 to 4n having different lengths, so that the object S is irradiated with light with high illuminance. Even when this is done, the uniqueness of the time wavelength is not lost.
  • FIG. 10 is a schematic view of the spectroscopic measuring device of the second embodiment.
  • a branching element 76 for branching the emitted light from the light source device 10 is provided in the spectroscopic measuring device of the second embodiment.
  • the branching element 76 divides the optical path from the light source device 10 into a measurement optical path and a reference optical path.
  • the receiving plate 74 is arranged in the optical path for measurement, and the measuring detector 72 is arranged at a position on the receiving plate 74 to receive the light transmitted through the object S.
  • a reference detector 702 is arranged on the reference optical path.
  • the light that is branched by the branching element 76 and travels in the reference optical path is incident on the reference detector 702 as it is.
  • This light (reference light) is light for incident on the detector 702 without passing through the object S and obtaining reference spectrum data in real time.
  • the measurement detector 72 and the reference detector 702 are connected to the calculation means 73 via AD converters 75 and 705, respectively.
  • the measurement program 733 in the arithmetic means 73 is programmed to perform real-time reference intensity spectrum reference. That is, the measured values v 1 , v 2 , v 3 , ... At each time t 1 , t 2 , t 3 , ... Are input from the measuring detector 72, and the reference detector 72 inputs the measured values v 1 , v 2 , v 3 , ... , The reference intensities V 1 , V 2 , V 3 , ... (Reference spectrum data) at each time t 1 , t 2 , t 3 , ... At the same time are input.
  • the measurement program 733 is v 1 / V according to the relationship between the time t 1 , t 2 , t 3 , ... Within one pulse and the wavelengths ⁇ 1 , ⁇ 2 , ⁇ 3 , ... 1 , v 2 / V 2 , v 3 / V 3 , ... Are calculated and used as an absorption spectrum.
  • the reflection spectrum and the scattering spectrum can be measured in the same manner by using the reference spectrum data acquired in real time.
  • the reference spectrum data is not acquired periodically. Except for this point, it is the same as that of the first embodiment.
  • the spectroscopic measurement device and the spectroscopic measurement method of the second embodiment it is not necessary to separately acquire the reference spectrum data, so that the efficiency of the entire measurement work is high.
  • the characteristics of the light source device 10 and the characteristics of the detector 72 are likely to change, it is necessary to frequently perform the calibration work, but it is not necessary in the second embodiment. Even if the characteristics of the light source device 10 and the characteristics of the detector 72 do not change, calibration work may be required when the measurement environment is different (for example, when the temperature conditions, background light conditions, etc. are different). In the second embodiment, the calibration work is not required even in such a case, so that the measurement efficiency is high.
  • the first embodiment is more advantageous.
  • the light source device for light measurement includes various types of light measurement in addition to the above-mentioned spectroscopic measurement.
  • an application of irradiating an object with light for observation such as a microscope is also a kind of light measurement, and a case of irradiating light to measure a distance is also a kind of light measurement.
  • the light source device for light measurement of the present invention can be used for such various types of light measurement.
  • the continuous spectrum over a certain wavelength width included in the wavelength range of 900 to 1300 nm is significant to make it suitable for light measurement in the near infrared region, which is particularly effective for material analysis and the like.
  • there are various spectroscopic measurements other than this wavelength range and the spectroscopic measuring device and the spectroscopic measuring method are not limited to this wavelength range.
  • the wavelength width of the continuous spectrum is set to at least 10 nm, but this is also an example, and pulsed light having a wavelength width narrower than that may be used.
  • pulsed light having a wavelength width narrower than that may be used.
  • the object is a gas as in the analysis of atmospheric components and only a specific component (specific absorption spectrum) needs to be measured, or when pulsed light continuous with a narrow wavelength width is used. There is also.
  • Pulse light source 10 Light source device 11
  • Ultrashort pulse laser 12 Non-linear element 2
  • Pulse extension unit 3 Splitter 41 to 4n Extension fiber 4G 1 to 4Gn Fiber assembly 5
  • Multi-core fiber 71 Irradiation optical system 72
  • Detector 73 Calculation means 75

Landscapes

  • Physics & Mathematics (AREA)
  • Spectroscopy & Molecular Physics (AREA)
  • General Physics & Mathematics (AREA)
  • Nonlinear Science (AREA)
  • Optics & Photonics (AREA)
  • Optical Modulation, Optical Deflection, Nonlinear Optics, Optical Demodulation, Optical Logic Elements (AREA)
  • Spectrometry And Color Measurement (AREA)
  • Investigating Or Analysing Materials By Optical Means (AREA)
PCT/JP2020/013498 2019-03-27 2020-03-25 光測定用光源装置、分光測定装置及び分光測定方法 Ceased WO2020196689A1 (ja)

Priority Applications (3)

Application Number Priority Date Filing Date Title
EP20779848.9A EP3951335A4 (en) 2019-03-27 2020-03-25 LIGHT SOURCE DEVICE FOR OPTICAL MEASUREMENT, SPECTROSCOPIC MEASUREMENT DEVICE AND SPECTROSCOPIC MEASUREMENT METHOD
US17/598,770 US12117340B2 (en) 2019-03-27 2020-03-25 Light source apparatus for light measurement
CN202080018895.5A CN113544480B (zh) 2019-03-27 2020-03-25 光测定用光源装置、分光测定装置及分光测定方法

Applications Claiming Priority (2)

Application Number Priority Date Filing Date Title
JP2019062000A JP7115387B2 (ja) 2019-03-27 2019-03-27 光測定用光源装置、分光測定装置及び分光測定方法
JP2019-062000 2019-03-27

Publications (1)

Publication Number Publication Date
WO2020196689A1 true WO2020196689A1 (ja) 2020-10-01

Family

ID=72611539

Family Applications (1)

Application Number Title Priority Date Filing Date
PCT/JP2020/013498 Ceased WO2020196689A1 (ja) 2019-03-27 2020-03-25 光測定用光源装置、分光測定装置及び分光測定方法

Country Status (5)

Country Link
US (1) US12117340B2 (enExample)
EP (1) EP3951335A4 (enExample)
JP (3) JP7115387B2 (enExample)
CN (1) CN113544480B (enExample)
WO (1) WO2020196689A1 (enExample)

Cited By (5)

* Cited by examiner, † Cited by third party
Publication number Priority date Publication date Assignee Title
WO2022049986A1 (ja) * 2020-09-02 2022-03-10 ウシオ電機株式会社 パルス分光装置及びマルチファイバ用照射ユニット
WO2022059379A1 (ja) * 2020-09-17 2022-03-24 ウシオ電機株式会社 分光測定方法、分光測定装置、製品検査方法、製品検査装置及び製品選別装置
WO2022064875A1 (ja) * 2020-09-25 2022-03-31 ウシオ電機株式会社 アレイ導波路回折格子、広帯域光源装置及び分光測定装置
WO2022085568A1 (ja) * 2020-10-21 2022-04-28 ウシオ電機株式会社 パルス分光装置
JP7786034B2 (ja) 2020-10-21 2025-12-16 ウシオ電機株式会社 パルス分光装置

Families Citing this family (9)

* Cited by examiner, † Cited by third party
Publication number Priority date Publication date Assignee Title
WO2022176208A1 (ja) 2021-02-22 2022-08-25 株式会社 ジャパンセル 所定光生成方法、所定光利用方法、所定光を利用したサービス提供方法、測定/イメージング方法、光学特性変換素子、光源部、計測部、測定装置、所定光利用装置およびサービス提供システム
JP7694121B2 (ja) 2021-04-07 2025-06-18 ウシオ電機株式会社 光測定装置
JP7707619B2 (ja) * 2021-04-07 2025-07-15 ウシオ電機株式会社 光測定装置および光測定方法
JP2023069314A (ja) 2021-11-05 2023-05-18 ウシオ電機株式会社 光測定方法および光測定装置
JP2023138018A (ja) * 2022-03-18 2023-09-29 日本電気株式会社 光源装置、光源装置の制御方法および光源装置の制御プログラム
JP2023142557A (ja) * 2022-03-25 2023-10-05 ウシオ電機株式会社 光源装置および光測定装置
JP2023179208A (ja) 2022-06-07 2023-12-19 ウシオ電機株式会社 光測定装置
JP2025022205A (ja) * 2023-08-02 2025-02-14 ウシオ電機株式会社 光源装置および光測定装置
CN120958299A (zh) * 2023-08-10 2025-11-14 优志旺电机株式会社 光源装置

Citations (6)

* Cited by examiner, † Cited by third party
Publication number Priority date Publication date Assignee Title
JPH0915661A (ja) * 1995-06-27 1997-01-17 Nippon Telegr & Teleph Corp <Ntt> 全光型時分割光パルス多重分離回路および全光型tdm−wdm変換回路および全光型時分割チャネルドロップ回路
JP2003279480A (ja) * 2002-03-22 2003-10-02 Japan Science & Technology Corp 広帯域スーパーコンティニューム極短光パルスを用いたシングルショット過渡吸収計測方法およびシングルショット過渡吸収計測システム
JP2007501414A (ja) * 2003-05-07 2007-01-25 ダコタ テクノロジーズ、インコーポレイテッド 混合物の迅速かつ高度に鋭敏に定量分析するための多次元蛍光装置及び方法
US7184144B2 (en) 2002-08-08 2007-02-27 Wisconsin Alumni Research Foundation High speed swept frequency spectroscopic system
JP2013205390A (ja) 2012-03-29 2013-10-07 Nagoya Univ 吸収分光計測装置
US20170122806A1 (en) * 2015-10-01 2017-05-04 National Security Technologies, Llc Long-pulse-width variable-wavelength chirped pulse generator and method

Family Cites Families (27)

* Cited by examiner, † Cited by third party
Publication number Priority date Publication date Assignee Title
US3838278A (en) * 1973-09-28 1974-09-24 Bell Telephone Labor Inc Optical switching network utilizing organ arrays of optical fibers
US3925727A (en) * 1973-09-28 1975-12-09 Bell Telephone Labor Inc Optical sampling oscilloscope utilizing organ arrays of optical fibers
US5010346A (en) * 1989-10-27 1991-04-23 The Boeing Company Electro-optical analog-to-digital converter and method for digitizing an analog signal
JP2891761B2 (ja) * 1990-08-31 1999-05-17 日本電信電話株式会社 超短光パルス変調回路及び変復調回路
JPH08122833A (ja) * 1994-10-18 1996-05-17 Nippon Telegr & Teleph Corp <Ntt> 波長変換装置
US5694408A (en) * 1995-06-07 1997-12-02 Mcdonnell Douglas Corporation Fiber optic laser system and associated lasing method
US6295395B1 (en) * 1997-01-31 2001-09-25 The United States Of America As Represented By The Secretary Of Commerce True time delay generation utilizing broadband light source with fiber chirp grating array and acousto-optic beam steering and 2-D architectures
DE59900654D1 (de) 1999-08-11 2002-02-21 Acterna Eningen Gmbh Anordnung zur gleichzeitigen Analyse mehrerer optischer Leitungen
JP2002162345A (ja) 2000-11-22 2002-06-07 Nippon Telegr & Teleph Corp <Ntt> 分光機能を持った光導波路型spr現象計測チップ及びspr現象測定装置
JP2002310729A (ja) 2001-04-09 2002-10-23 Hitachi Cable Ltd 分布型物理量計測方法及び計測装置
US7355716B2 (en) * 2002-01-24 2008-04-08 The General Hospital Corporation Apparatus and method for ranging and noise reduction of low coherence interferometry LCI and optical coherence tomography OCT signals by parallel detection of spectral bands
JP4407282B2 (ja) 2003-01-08 2010-02-03 株式会社ニコン 逆分散型二重分光器
US7426038B2 (en) 2003-08-12 2008-09-16 Fujikura Ltd. Detection device, optical path length measurement device, measurement instrument, optical member evaluation method, and temperature change detection method
US7376349B2 (en) * 2004-04-07 2008-05-20 The Boeing Company Analog to digital converter systems and methods
JP2007187757A (ja) * 2006-01-11 2007-07-26 Toshiba Corp 光量子化装置及び光アナログデジタル変換装置
JP4893501B2 (ja) * 2007-06-27 2012-03-07 沖電気工業株式会社 光パルス時間拡散装置
WO2010038863A1 (ja) * 2008-10-03 2010-04-08 国立大学法人 横浜国立大学 非結合系マルチコアファイバ
CN101750155A (zh) * 2008-12-19 2010-06-23 复旦大学 基于光纤阵列的脉冲信噪比单次测量方法和系统
US8514485B2 (en) * 2009-08-07 2013-08-20 Northrop Grumman Systems Corporation Passive all-fiber integrated high power coherent beam combination
US8531761B2 (en) * 2010-05-27 2013-09-10 Massachusetts Institute Of Technology High peak power optical amplifier
US20140340634A1 (en) * 2013-04-05 2014-11-20 Wasatch Photonics, Inc. Optical coherence tomography systems and methods
NL2010940C2 (en) * 2013-06-07 2014-12-09 Technobis Group B V Fiber bragg grating interrogator assembly and method for the same.
EP3106828B1 (en) * 2015-06-16 2023-06-07 Academisch Medisch Centrum Common-path integrated low coherence interferometry system and method therefor
NL2015448B1 (en) * 2015-09-16 2017-04-03 Technobis Group B V Fiber Bragg grating interrogator assembly and method for the same.
US10539495B2 (en) 2015-10-14 2020-01-21 The University Of Tokyo Systems and methods for generating an image of an inspection object using an attenuated beam
JP7070567B2 (ja) 2017-06-08 2022-05-18 ウシオ電機株式会社 分光測定方法、分光測定装置及び広帯域パルス光源ユニット
JP7217446B2 (ja) 2017-08-31 2023-02-03 学校法人総持学園 光干渉断層画像撮像装置

Patent Citations (6)

* Cited by examiner, † Cited by third party
Publication number Priority date Publication date Assignee Title
JPH0915661A (ja) * 1995-06-27 1997-01-17 Nippon Telegr & Teleph Corp <Ntt> 全光型時分割光パルス多重分離回路および全光型tdm−wdm変換回路および全光型時分割チャネルドロップ回路
JP2003279480A (ja) * 2002-03-22 2003-10-02 Japan Science & Technology Corp 広帯域スーパーコンティニューム極短光パルスを用いたシングルショット過渡吸収計測方法およびシングルショット過渡吸収計測システム
US7184144B2 (en) 2002-08-08 2007-02-27 Wisconsin Alumni Research Foundation High speed swept frequency spectroscopic system
JP2007501414A (ja) * 2003-05-07 2007-01-25 ダコタ テクノロジーズ、インコーポレイテッド 混合物の迅速かつ高度に鋭敏に定量分析するための多次元蛍光装置及び方法
JP2013205390A (ja) 2012-03-29 2013-10-07 Nagoya Univ 吸収分光計測装置
US20170122806A1 (en) * 2015-10-01 2017-05-04 National Security Technologies, Llc Long-pulse-width variable-wavelength chirped pulse generator and method

Non-Patent Citations (2)

* Cited by examiner, † Cited by third party
Title
MENG, Z: "Multimode fiber spectrometer with scalable bandwidth using space- division multiplexing", AIP ADVANCES, vol. 9, no. 015004, 8 January 2019 (2019-01-08), pages 1 - 6, XP012234446 *
See also references of EP3951335A4

Cited By (7)

* Cited by examiner, † Cited by third party
Publication number Priority date Publication date Assignee Title
WO2022049986A1 (ja) * 2020-09-02 2022-03-10 ウシオ電機株式会社 パルス分光装置及びマルチファイバ用照射ユニット
WO2022059379A1 (ja) * 2020-09-17 2022-03-24 ウシオ電機株式会社 分光測定方法、分光測定装置、製品検査方法、製品検査装置及び製品選別装置
WO2022064875A1 (ja) * 2020-09-25 2022-03-31 ウシオ電機株式会社 アレイ導波路回折格子、広帯域光源装置及び分光測定装置
WO2022085568A1 (ja) * 2020-10-21 2022-04-28 ウシオ電機株式会社 パルス分光装置
JP2022067961A (ja) * 2020-10-21 2022-05-09 ウシオ電機株式会社 パルス分光装置
US12270704B2 (en) 2020-10-21 2025-04-08 Ushio Denki Kabushiki Kaisha Pulsed-light spectroscopic device
JP7786034B2 (ja) 2020-10-21 2025-12-16 ウシオ電機株式会社 パルス分光装置

Also Published As

Publication number Publication date
US12117340B2 (en) 2024-10-15
JP7723631B2 (ja) 2025-08-14
US20220170791A1 (en) 2022-06-02
JP7115387B2 (ja) 2022-08-09
CN113544480B (zh) 2024-06-11
JP2022089199A (ja) 2022-06-15
EP3951335A4 (en) 2023-01-11
CN113544480A (zh) 2021-10-22
JP2020159973A (ja) 2020-10-01
JP2022069677A (ja) 2022-05-11
JP7405175B2 (ja) 2023-12-26
EP3951335A1 (en) 2022-02-09

Similar Documents

Publication Publication Date Title
JP7405175B2 (ja) 光測定用光源装置、分光測定装置及び分光測定方法
US11268855B2 (en) Wideband extended pulsed light source, spectrometry device, and spectrometry method
JP7215060B2 (ja) 分光分析用光源、分光分析装置及び分光分析方法
CN114174910B (zh) 宽频带脉冲光源装置、分光测定装置、分光测定方法以及分光分析方法
US12092520B2 (en) Broadband pulsed light source apparatus
JP7147657B2 (ja) 広帯域パルス光源装置、分光測定装置及び分光測定方法
Reimer et al. Ultra-short fiber Bragg grating used for spectral analysis of guided light in single-mode fibers
JP7679605B2 (ja) パルス分光装置及びマルチファイバ用照射ユニット
WO2022064875A1 (ja) アレイ導波路回折格子、広帯域光源装置及び分光測定装置
JP7238541B2 (ja) 分光測定装置及び分光測定方法
JP7487608B2 (ja) 分光測定装置
US20250216264A1 (en) Light source apparatus
WO2025028033A1 (ja) 光源装置および光測定装置
JP2025106991A (ja) 光源装置および光測定装置
JP4882377B2 (ja) 波長計測装置
JP2020159977A (ja) 広帯域パルス光源装置、分光測定装置及び分光測定方法

Legal Events

Date Code Title Description
121 Ep: the epo has been informed by wipo that ep was designated in this application

Ref document number: 20779848

Country of ref document: EP

Kind code of ref document: A1

NENP Non-entry into the national phase

Ref country code: DE

ENP Entry into the national phase

Ref document number: 2020779848

Country of ref document: EP

Effective date: 20211027