WO2020129534A1 - 車両用空調装置 - Google Patents

車両用空調装置 Download PDF

Info

Publication number
WO2020129534A1
WO2020129534A1 PCT/JP2019/045666 JP2019045666W WO2020129534A1 WO 2020129534 A1 WO2020129534 A1 WO 2020129534A1 JP 2019045666 W JP2019045666 W JP 2019045666W WO 2020129534 A1 WO2020129534 A1 WO 2020129534A1
Authority
WO
WIPO (PCT)
Prior art keywords
air
blower
sensor
case
vehicle
Prior art date
Legal status (The legal status is an assumption and is not a legal conclusion. Google has not performed a legal analysis and makes no representation as to the accuracy of the status listed.)
Ceased
Application number
PCT/JP2019/045666
Other languages
English (en)
French (fr)
Japanese (ja)
Inventor
俊輔 石黒
尚敬 石山
熊田 辰己
俊哉 長野
Current Assignee (The listed assignees may be inaccurate. Google has not performed a legal analysis and makes no representation or warranty as to the accuracy of the list.)
Denso Corp
Original Assignee
Denso Corp
Priority date (The priority date is an assumption and is not a legal conclusion. Google has not performed a legal analysis and makes no representation as to the accuracy of the date listed.)
Filing date
Publication date
Application filed by Denso Corp filed Critical Denso Corp
Priority to CN201980083435.8A priority Critical patent/CN113242807B/zh
Publication of WO2020129534A1 publication Critical patent/WO2020129534A1/ja
Anticipated expiration legal-status Critical
Ceased legal-status Critical Current

Links

Images

Classifications

    • BPERFORMING OPERATIONS; TRANSPORTING
    • B60VEHICLES IN GENERAL
    • B60HARRANGEMENTS OF HEATING, COOLING, VENTILATING OR OTHER AIR-TREATING DEVICES SPECIALLY ADAPTED FOR PASSENGER OR GOODS SPACES OF VEHICLES
    • B60H1/00Heating, cooling or ventilating [HVAC] devices
    • BPERFORMING OPERATIONS; TRANSPORTING
    • B60VEHICLES IN GENERAL
    • B60HARRANGEMENTS OF HEATING, COOLING, VENTILATING OR OTHER AIR-TREATING DEVICES SPECIALLY ADAPTED FOR PASSENGER OR GOODS SPACES OF VEHICLES
    • B60H3/00Other air-treating devices
    • B60H3/06Filtering
    • FMECHANICAL ENGINEERING; LIGHTING; HEATING; WEAPONS; BLASTING
    • F24HEATING; RANGES; VENTILATING
    • F24FAIR-CONDITIONING; AIR-HUMIDIFICATION; VENTILATION; USE OF AIR CURRENTS FOR SCREENING
    • F24F11/00Control or safety arrangements
    • F24F11/62Control or safety arrangements characterised by the type of control or by internal processing, e.g. using fuzzy logic, adaptive control or estimation of values
    • F24F11/63Electronic processing
    • GPHYSICS
    • G01MEASURING; TESTING
    • G01NINVESTIGATING OR ANALYSING MATERIALS BY DETERMINING THEIR CHEMICAL OR PHYSICAL PROPERTIES
    • G01N15/00Investigating characteristics of particles; Investigating permeability, pore-volume or surface-area of porous materials
    • G01N15/06Investigating concentration of particle suspensions
    • GPHYSICS
    • G01MEASURING; TESTING
    • G01NINVESTIGATING OR ANALYSING MATERIALS BY DETERMINING THEIR CHEMICAL OR PHYSICAL PROPERTIES
    • G01N21/00Investigating or analysing materials by the use of optical means, i.e. using sub-millimetre waves, infrared, visible or ultraviolet light
    • G01N21/17Systems in which incident light is modified in accordance with the properties of the material investigated
    • G01N21/47Scattering, i.e. diffuse reflection
    • G01N21/49Scattering, i.e. diffuse reflection within a body or fluid
    • G01N21/53Scattering, i.e. diffuse reflection within a body or fluid within a flowing fluid, e.g. smoke
    • YGENERAL TAGGING OF NEW TECHNOLOGICAL DEVELOPMENTS; GENERAL TAGGING OF CROSS-SECTIONAL TECHNOLOGIES SPANNING OVER SEVERAL SECTIONS OF THE IPC; TECHNICAL SUBJECTS COVERED BY FORMER USPC CROSS-REFERENCE ART COLLECTIONS [XRACs] AND DIGESTS
    • Y02TECHNOLOGIES OR APPLICATIONS FOR MITIGATION OR ADAPTATION AGAINST CLIMATE CHANGE
    • Y02ATECHNOLOGIES FOR ADAPTATION TO CLIMATE CHANGE
    • Y02A50/00TECHNOLOGIES FOR ADAPTATION TO CLIMATE CHANGE in human health protection, e.g. against extreme weather
    • Y02A50/20Air quality improvement or preservation, e.g. vehicle emission control or emission reduction by using catalytic converters
    • Y02A50/2351Atmospheric particulate matter [PM], e.g. carbon smoke microparticles, smog, aerosol particles, dust

Definitions

  • the present disclosure relates to a vehicle air conditioner including a particle detection unit that detects a particle concentration of a particulate matter.
  • Patent Document 1 there is a device described in Patent Document 1 as a device for detecting particles in the air.
  • This device includes a housing that forms an air passage, and an air motor that sucks air inside the vehicle compartment or air outside the vehicle compartment into the housing. Then, the concentration of particles is detected by irradiating the air sucked into the housing with light and receiving the scattered light which is scattered by hitting the light.
  • the device described in Patent Document 1 cannot accurately detect the concentration of particles contained in distant air because the air volume of the air motor that sucks air into the housing is small.
  • the housing is arranged inside the instrument panel of the vehicle and the concentration of particles contained in the air near the body of the occupant seated on the seat is detected, it is possible to detect the concentration of particles in the air near the body of the occupant. Since air cannot be sufficiently sucked in, there is a problem that the concentration of particles cannot be detected accurately. Further, when the air volume of the air motor is small, it takes a long time for the air to reach the inside of the housing, which causes a problem that the responsiveness is not good.
  • the suction capacity of the air motor is increased, it is possible to suck the air near the body of the vehicle occupant into the housing.However, if the suction capacity of the air motor is increased, turbulent flow will occur, which will increase the flow velocity, and The concentration cannot be detected accurately.
  • the present disclosure aims to enable detection of the concentration of particulate matter contained in distant air with higher accuracy and responsiveness.
  • an air conditioner for a vehicle is arranged inside an air conditioning case that forms an air passage through which air blown into a vehicle compartment flows, and sucks air into the inside of the air conditioning case.
  • An air blower and a particle detection unit that detects the particle concentration of the particulate matter contained in the air are provided.
  • the particle detection unit includes a light emitting unit that irradiates the air with light, and the light emitted by the light emitting unit hits the particulate matter.
  • It has a light receiving part that receives scattered scattered light, and a sensor case that houses the light emitting part and the light receiving part.
  • a part of the air sucked into the inside of the air conditioning case by the operation of the blower is inside the sensor case.
  • a sensor introduction port for introducing into is formed.
  • the sensor case is formed with the sensor introduction port for introducing a part of the air sucked into the air conditioning case by the operation of the blower into the sensor case.
  • the concentration of the particulate matter contained can be detected more accurately and with high responsiveness.
  • FIG. 3 is a diagram showing a light emitting unit and a light receiving unit of a particle detecting unit. It is the figure which showed the flow of the air at the time of the operation
  • the vehicle air conditioner 10 according to the first embodiment is an air conditioner mounted on the vehicle 1 and is a device for performing air conditioning in the vehicle interior.
  • the vehicle air conditioner 10 includes an air conditioning unit 100 and a particle detector 200.
  • the vehicle air conditioner 10 is arranged inside the instrument panel 2 of the vehicle 1.
  • the particle detection unit 200 detects the particle concentration of air in the vicinity of the body of an occupant seated on the seat 3 of the vehicle 1.
  • the value of the particle concentration detected by the particle detecting unit 200 is displayed on, for example, a display unit arranged in the meter.
  • the air conditioning unit 100 performs air conditioning on the air taken in from the outside and supplies the conditioned air into the vehicle interior.
  • the air conditioning unit 100 includes a blower storage section 101, a blower 130, a connecting section 140, and an air conditioning section 150.
  • the blower storage part 101 is a part of the vehicle air conditioner 10 that takes in air from the outside.
  • a blower 130 which will be described later, is housed inside the blower housing portion 101.
  • An inner air inlet 111 and an outer air inlet 112 are formed in the blower storage portion 101.
  • the inside air inlet 111 is an opening formed as an inlet for air introduced from the passenger compartment.
  • the outside air inlet 112 is an opening formed as an inlet for air introduced from outside the vehicle.
  • the space outside the vehicle and the outside air inlet 112 are connected by a duct (not shown).
  • An inside/outside air switching door (not shown) is provided between the inside air inlet 111 and the outside air inlet 112 in the blower storage unit 101.
  • the operation of the inside/outside air switching door adjusts the ratio of the air flowing in from the inside air inlet 111 to the air flowing in from the outside air inlet 112. Since a publicly known one can be adopted as the structure of such an inside/outside air switching door, a concrete illustration and description thereof will be omitted.
  • a particle filter 120 is arranged at a position on the upstream side (upper side in FIG. 1) of the blower 130 along the air flow direction in the blower housing 101.
  • the particle filter 120 is a filter for removing particles from the air flowing in from the inside air inlet 111 or the outside air inlet 112. As the air passes through the particle filter 120, clean air with a reduced particle concentration is blown into the vehicle interior.
  • the blower 130 is a blower that blows out air so that it is blown into the vehicle interior.
  • the blower 130 corresponds to a blower that sucks air into the air conditioning case.
  • blower 130 When the blower 130 is driven, air is drawn into the blower housing 101 from the inside air inlet 111 and the outside air inlet 112. The air is blown into the vehicle compartment through the connection unit 140 and the air conditioning unit 150 described below.
  • connection part 140 is a part provided as a flow path that connects the blower storage part 101 and the air conditioning part 150.
  • the blower storage portion 101 and the connection portion 140 are integrally formed.
  • the air conditioner 150 is a part that adjusts the temperature of the air. Inside the air conditioning unit 150, an evaporator for dehumidifying and cooling air, a heater core for heating air, an air mix door for adjusting the amount of air flowing through each of the evaporator and the heater core, and the like are arranged.
  • the blower storage unit 101, the connection unit 140, and the air conditioning unit 150 correspond to an air conditioning case that forms an air passage through which air blown into the vehicle interior flows.
  • a defroster blowing unit 151, a face blowing unit 152, and a foot blowing unit 153 are provided in the downstream portion of the air conditioning unit 150 along the air flow direction.
  • the defroster blowout part 151 is a part which blows out conditioned air toward the window of the vehicle.
  • the face blowing section 152 is a section that blows out the conditioned air toward the face of the vehicle occupant.
  • the foot blowout part 153 is a part that blows out the conditioned air toward the feet of an occupant of the vehicle.
  • a door (not shown) is provided in each of the defroster blowing unit 151, the face blowing unit 152, and the foot blowing unit 153, and the flow rate of the air blown out from each blowing unit is adjusted by the opening of the door. Since a known structure can be adopted as the structure of the air conditioning unit 150 as described above, a concrete illustration and description thereof will be omitted.
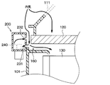
  • an air introducing chamber 160 is formed at a position in the blower housing 101 near the end of the particle filter 120.
  • the air introducing chamber 160 is formed as a space in which air introduced from the outside of the air conditioning unit 100 into the inside of the air conditioning unit 100 (specifically, inside the blower housing 101) flows. The air flowing through the air introduction chamber 160 bypasses the particle filter 120 and flows.
  • An opening 161 serving as an air inlet of the air introduction chamber 160 is formed at a position above the particle filter 120 and a particle detection unit 200 described later.
  • the opening 161 communicates the space around the air conditioning unit 100 with the air introduction chamber 160.
  • the opening 162, which serves as an air outlet, in the air introduction chamber 160 is formed at a position slightly below the particle filter 120.
  • the opening 162 connects the air introducing chamber 160 and a space in the blower housing portion 101 below the particle filter 120.
  • the opening 162 corresponds to the air intake for the detection unit.
  • the positions of the openings 161 and 162 as described above are merely examples.
  • the openings 161 and 162 may be formed at positions different from the above.
  • the air conditioning control unit 40 will be described.
  • the air conditioning control unit 40 illustrated in FIG. 1 is a control device that controls the air conditioning unit 100.
  • the air conditioning control unit 40 is an electronic control device including a storage unit configured by a non-transitional physical storage medium such as a semiconductor memory and a processor.
  • the air conditioning control unit 40 executes the computer program stored in the storage unit. By executing this computer program, the method corresponding to the computer program is executed.
  • the air conditioning control unit 40 controls the operation of each actuator by outputting a control signal to each actuator included in the air conditioning unit 150.
  • the air conditioning control unit 40 performs various air conditioning controls on the air conditioning unit 150.
  • the blower 130, the inside/outside air switching door, the air mix door, the face outlet opening door, the foot outlet opening door, and the defroster outlet opening door are drive-controlled by the air conditioning controller 40. It
  • the air conditioning control unit 40 is connected with, for example, sensors such as the particle detection unit 200 and actuators such as doors, as well as an operation unit 41 and a display unit 42.
  • the operation unit 41 is an operation unit operated by an occupant when adjusting the air volume, temperature, etc. of the conditioned air blown out from the air conditioning unit 150.
  • the operation unit 41 is arranged, for example, on an instrument panel of a vehicle.
  • the air volume of the conditioned air, the target room temperature in the passenger compartment, the outlet of the conditioned air, etc. can be set.
  • the operation unit 41 outputs information indicating these settings, that is, operation information indicating an occupant operation performed on the operation device 44, to the air conditioning control unit 40.
  • the air conditioning control unit 40 calculates the concentration of particles in the air in the vehicle compartment based on the output signal of the particle detection unit 200, and the calculated concentration of particles is displayed on, for example, the display unit 42 arranged in the meter. It also performs the process of displaying.
  • the blower storage section 101 is arranged inside the instrument panel of the vehicle.
  • the space inside the instrument panel that is, the space outside the air introduction chamber 160, is connected to the vehicle interior. Therefore, the air flowing into the air introduction chamber 160 from the opening 161 is the air in the vehicle compartment.
  • the portion of the air conditioning unit 100 where the air introduction chamber 160 is formed is the portion to which the particle detection unit 200 is attached.
  • the particle detector 200 is attached to the blower housing 101 from the outside so as to form a side portion of the air introduction chamber 160.
  • the position of the upper end of the particle detector 200 is lower than the opening 161.
  • the particle detection unit 200 is a sensor unit for measuring the concentration of particles in the air. As shown in FIG. 4, the particle detection unit 200 has a light emitting unit 210 having a light emitting element 211 and a light receiving unit 220 having a light receiving element 221.
  • a part of the light emitted from the light emitting section 210 is scattered by particles in the air introduced into the particle detecting section 200, and a part of the light is detected by the light receiving section 220.
  • the particle detecting unit 200 is configured to detect the presence or absence and the concentration of particles in the air based on the amount of light detected by the light receiving unit 220.
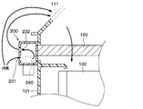
  • the particle detection unit 200 has a sensor case 230 as shown in FIG.
  • the sensor case 230 is a container that houses the light emitting unit 210, the light receiving unit 220, the sensor blower 240, and the like therein, and is formed in a substantially rectangular parallelepiped shape.
  • a first opening 231 and a second opening 232 are formed on the surface of the sensor case 230 that forms the air introduction chamber 160.
  • the first opening 231 is an opening formed so that the air from the air introducing chamber 160 flows in.
  • the second opening 232 is an opening formed to discharge the air to the air introduction chamber 160, as described above.
  • the second opening 232 in the present embodiment is formed at a position above the first opening 231.
  • the particle detection unit 200 has a sensor blower 240 that adjusts the flow rate of the air introduced into the sensor case 230.
  • the light emitting unit 210, the light receiving unit 220, and the sensor blower 240 are arranged inside the sensor case 230.
  • the sensor blower 240 operates according to an instruction from the air conditioning control unit 40 described later.
  • the sensor blower 240 sucks the air flowing through the air introduction chamber 160 into the sensor case 230 through the first opening 231.
  • the maximum suction capacity of the sensor blower 240 is smaller than the maximum suction capacity of the blower 130.
  • the particle detection unit 200 measures the concentration of particles in the air that has flowed into the sensor case 230 through the first opening 231.
  • the air is the air in the vehicle compartment as described above.
  • the air sucked into the sensor case 230 is discharged into the air introduction chamber 160 through the second opening 232.
  • the suction capacity of the sensor blower 240 is increased, the air around the body of the vehicle occupant can be quickly sucked into the sensor case 230.
  • the suction capacity of the sensor blower 240 is increased, turbulent flow is generated with an increase in flow velocity, and the particle concentration cannot be detected accurately.
  • the vehicle air conditioner 10 of the present embodiment has a sensor introduction port for introducing a part of the air sucked into the blower housing portion 101 into the sensor case 230 by the operation of the blower 130 having a large suction capacity. There is.
  • This sensor inlet corresponds to the first opening 231.
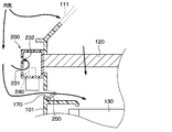
  • the inside air in the vehicle compartment is introduced from the inside air inlet 111 to the blower storage unit 101 by the operation of the inside/outside air switching door.
  • the inside air is sucked into the blower 130 from the inside air inlet 111 through the particle filter 120 and the blower housing portion 101, as shown in FIG.
  • part of the air sucked into the blower storage unit 101 flows into the air introduction chamber 160. Then, a part of the air flowing into the air introducing chamber 160 is introduced into the sensor case 230 through the first opening 231.
  • the particle detection unit 200 measures the concentration of particles in the air that has flowed into the sensor case 230 through the first opening 231.
  • the air sucked into the sensor case 230 is discharged from the second opening 232 into the air introduction chamber 160 and sucked into the blower 130.
  • air is further introduced from the air introduction chamber 160 into the sensor case 230 by the operation of the sensor blower 240. That is, in the vehicle air conditioner 10 of the present embodiment, air is introduced into the sensor case 230 from the air introduction chamber 160 not only by the operation of the blower 130 but also by the operation of the sensor blower 240. Therefore, it is possible to detect the particle concentration with high accuracy and responsiveness without generating turbulence.
  • the air conditioning control unit 40 of the present embodiment controls the blower 130 so that the flow rate of the air sucked into the blower storage unit 101 increases as the traveling speed of the vehicle increases.
  • the air near the body of the occupant is easily introduced into the sensor case 230, so that the concentration of particles in the air near the body of the occupant can be accurately detected.
  • the air conditioning control unit 40 of the present embodiment increases the flow rate of air introduced into the sensor case 230 in a vehicle with a small suction capacity of the blower 130, compared with a vehicle with a large suction capacity of the blower 130.
  • the sensor blower 240 is controlled so that
  • the air conditioning control unit 40 of the present embodiment determines that the position of the seat 3 of the vehicle 1 is ahead of the predetermined position of the vehicle based on the signal indicating the position of the seat 3, the air conditioning control unit 40 of the blower storage unit 101 is further operated.
  • the blower 130 is controlled to increase the flow rate of the air sucked into the inside.
  • the air conditioning control unit 40 of the present embodiment controls the sensor blower 240 so that the flow rate of the air introduced into the sensor case 230 becomes an appropriate amount according to the mode.
  • the air conditioning control unit 40 of the present embodiment determines that the flow rate of the air introduced into the sensor case 230 is an appropriate amount according to the signal indicating whether the door closing the face blowing unit 152 closes the face blowing unit 152.
  • the sensor blower 240 is controlled so that
  • the air flow path of the air conditioning case is divided into left and right, and the right and left independent temperature control type vehicle air conditioners that independently control the temperature of the air blown from the right air flow path and the left air flow path
  • the air flow rates of the air blown from the air flow path and the left air flow path are different. Therefore, the air conditioning controller 40 of the present embodiment uses the sensor blower so that the flow rate of the air introduced into the sensor case 230 becomes an appropriate amount according to the air volume of the blown air blown out from the right air passage and the left air passage. Control 240.
  • the air conditioning control unit 40 of the present embodiment compares the case where the seat air conditioning system is not operating with the case where the seat air conditioning system is operating.
  • the sensor blower 240 is controlled so that the flow rate of air introduced into the sensor case 230 is increased.
  • the air conditioning control unit 40 of the present embodiment compares the case where the rear air conditioner is not operating with the case where the seat air conditioner is operating.
  • the sensor blower 240 is controlled so that the flow rate of air introduced into the sensor case 230 is increased.
  • the vehicle air conditioner includes the air conditioning cases 101, 140, and 150 that form the air passages through which the air blown into the vehicle interior flows.
  • the vehicle air conditioner includes a blower 130 that is arranged inside the air conditioning cases 101, 140, 150 and sucks air into the air conditioning cases 101, 140, 150.
  • a particle detector 200 for detecting the particle concentration of the particulate matter contained in the air.
  • the particle detecting unit 200 includes a light emitting unit 210 that irradiates air with light, a light receiving unit 220 that receives scattered light that is scattered by the light emitted by the light emitting unit 210 hitting a particulate matter, and the light emitting unit 210 and the light receiving unit 220. It has a sensor case 230 for housing the.
  • the sensor case 230 is formed with a first opening 231 as a sensor introduction port for introducing a part of the air sucked into the air conditioning cases 101, 140 and 150 into the sensor case 230 by the operation of the blower 130. ing.
  • the sensor case 230 has a first sensor introduction port as a sensor introduction port for introducing a part of the air sucked into the air conditioning cases 101, 140 and 150 by the operation of the blower 130 into the sensor case 230.
  • One opening 231 is formed. Therefore, the concentration of the particulate matter contained in the distant air can be detected more accurately and with good responsiveness.
  • the particle detection unit 200 has a sensor blower 240 that sucks a part of the air sucked into the air conditioning cases 101, 140, and 150 into the sensor case 230 through the first opening 231 serving as a sensor inlet. There is.
  • the sensor blower 240 is arranged inside the sensor case 230. In this way, the sensor blower 240 disposed inside the sensor case 230 can introduce a part of the air sucked into the air conditioning cases 101, 140, and 150 into the sensor case 230.
  • a portion of the air conditioning case 101, 140, 150 to which the sensor case 230 is attached is a space in which air introduced from the outside of the air conditioning case 101, 140, 150 into the air conditioning case 101, 140, 150 flows.
  • An air introducing chamber 160 is formed. Then, the sensor blower 240 sucks a part of the air flowing through the air introducing chamber 160 into the sensor case 230.
  • the sensor blower 240 can be provided so as to suck a part of the air flowing through the air introduction chamber 160 into the sensor case 230.
  • the air introduction chamber 160 is formed in the blower storage portion 101 at a position near the end of the particle filter 120, and a part of the air flowing in the air introduction chamber 160 is formed. It is adapted to be introduced into the sensor case 230 of the particle detector 200.
  • the air introduction chamber 160 is not formed in the blower storage part 101, and the particle detection part 200 is configured such that a part of the air introduced into the inside air inlet 111 is a particle. It is adapted to be introduced into the sensor case 230 of the detection unit 200.
  • the particle detection unit 200 has a sensor blower 240 that adjusts the flow rate of air introduced into the sensor case 230.
  • the sensor blower 240 is arranged inside the sensor case 230.
  • the light emitting unit 210 and the light receiving unit 220 are also arranged inside the sensor case 230.
  • the sensor blower 240 operates according to an instruction from the air conditioning control unit 40 described later.
  • the sensor blower 240 sucks a part of the inside air introduced into the inside air inlet 111 into the sensor case 230 through the first opening 231.
  • the maximum suction capacity of the sensor blower 240 is smaller than the maximum suction capacity of the blower 130.
  • the particle detection unit 200 measures the concentration of particles in the air that has flowed into the sensor case 230 through the first opening 231.
  • the air is the air in the vehicle compartment as described above.
  • the air sucked into the sensor case 230 is discharged to the outside of the sensor case 230 through the second opening 232.
  • the air conditioning control unit 40 of the present embodiment performs a process of adjusting the air volume of the sensor blower 240 according to the air volume of the blower 130. A flowchart of this process is shown in FIG. The air conditioning control unit 40 periodically executes the processing shown in FIG.
  • the air conditioning controller 40 determines in S100 whether or not the blown air volume of the blower 130 is equal to or greater than a threshold value. Specifically, the blown air volume of the blower 130 is estimated based on the voltage supplied to the blower 130, and it is determined whether this blown air volume is equal to or more than a threshold value.
  • the air conditioning control unit 40 reduces the air volume of the sensor blower 240 in S102. As a result, it is possible to prevent excessive air from being introduced into the sensor case 230.
  • the air conditioning control unit 40 increases the air volume of the sensor blower 240 in S104. This makes it possible to introduce an appropriate amount of air into the sensor case 230.
  • the air volume determination unit corresponding to step S100 determines whether or not the air volume of the blower is greater than or equal to a threshold value.
  • the air volume adjusting unit corresponding to steps S102 and S104 reduces the intake air volume of the sensor blower when the air volume determining unit determines that the air volume of the blower is greater than or equal to the threshold value.
  • the air volume adjustment unit increases the intake air volume of the sensor blower.
  • the intake air volume of the sensor blower is reduced, and if the air flow rate of the blower is determined to be less than the threshold value by the air flow rate determination unit, It is possible to increase the intake air volume of the sensor blower.
  • the vehicle air conditioner 10 according to the present embodiment is configured such that the air intake device for the detection unit takes in air from the outside of the blower storage unit 101 to the inside of the blower storage unit 101 at a position near the end of the particle filter 120 in the blower storage unit 101.
  • An inlet 170 is formed. A part of the air flowing through the air intake 170 for the detection unit is introduced into the sensor case 230 of the particle detection unit 200.
  • the vehicle air conditioner 10 of the present embodiment includes an opening/closing door 250 that adjusts the opening degree of the detection unit air intake 170.
  • the opening/closing door 250 corresponds to a door member.
  • the air conditioning control unit 40 adjusts the flow rate of air introduced into the sensor case 230 by the sensor blower 240 and adjusts the flow rate of air introduced from the outside of the blower storage unit 101 into the inside of the blower storage unit 101 by the opening/closing door 25. It is possible to do.
  • the door member 250 opens the air intake 170 for the detection unit, the air that does not pass through the particle filter 120 is introduced into the air conditioning unit 150 through the air intake 170 for the detection unit.
  • the door member 250 by closing the first opening 231 with the door member 250, it is possible to prevent the air that does not pass through the particle filter 120 from entering the air conditioning unit 150 through the detection unit air intake 170.
  • an air inlet for a detection unit that takes in air from outside the air conditioning case 101, 140, 150 into the air conditioning case 101, 140, 150. 170 is formed.
  • the vehicle air conditioner 10 includes a door member 250 that adjusts the opening degree of the detection unit air intake 170.
  • the sensor blower 240 is arranged inside the sensor case 230, but the sensor blower 240 may be arranged outside the sensor case 230.
  • the sensor blower 240 may be arranged in the air introducing chamber 160 so that air is sucked into the air introducing chamber 160 from the outside of the air conditioning case.
  • the vehicle air conditioner of the third embodiment includes the opening/closing door 250 that adjusts the opening degree of the detection unit air intake 170.
  • the vehicle air conditioner of the first embodiment described above is also included.
  • An opening/closing door for adjusting the opening of the opening 162 may be provided.
  • the present disclosure is not limited to the above-described embodiment, and can be modified as appropriate. Further, the above embodiments are not unrelated to each other, and can be appropriately combined unless a combination is obviously impossible. Further, in each of the above-mentioned embodiments, it goes without saying that the elements constituting the embodiment are not necessarily essential unless explicitly stated as being essential and in principle considered to be essential. Yes. Further, in each of the above-described embodiments, when numerical values such as the number of components of the embodiment, numerical values, amounts, ranges, etc. are referred to, it is clearly limited to a particular number and in principle limited to a specific number. The number is not limited to the specific number, except in the case of being performed.
  • the vehicle air conditioner includes an air conditioning case that forms an air passage through which air blown into the vehicle interior flows, and an interior of the air conditioning case. And a blower that draws air into the inside of the air conditioning case. Further, a particle detection unit for detecting the particle concentration of the particulate matter contained in the air is provided.
  • the particle detection unit includes a light emitting unit that irradiates air with light, a light receiving unit that receives scattered light when the light emitted by the light emitting unit hits the particulate matter and is scattered, and a sensor case that houses the light emitting unit and the light receiving unit.
  • the sensor case is formed with a sensor introduction port for introducing a part of the air sucked into the air conditioning case into the sensor case by the operation of the blower.
  • the particle detection unit has a sensor blower that sucks a part of the air sucked into the air conditioning case into the sensor case through the sensor inlet.
  • the sensor blower is also arranged inside the sensor case.
  • the sensor blower arranged inside the sensor case can introduce a part of the air sucked into the air conditioning case into the sensor case.
  • an air introduction chamber that is a space in which air introduced from the outside of the air conditioning case into the inside of the air conditioning case flows is formed in a portion of the air conditioning case to which the sensor case is attached. .. Then, the sensor blower sucks a part of the air flowing through the air introduction chamber into the sensor case.
  • a sensor blower can be installed so that part of the air flowing through the air introduction chamber is sucked into the sensor case.
  • the vehicle air conditioner includes an air volume determination unit that determines whether or not the air volume of the blower is equal to or greater than a threshold value. Further, if the air flow rate of the blower is determined to be equal to or higher than the threshold value by the air flow rate determination unit, the intake air volume of the sensor blower is reduced, and if the air flow rate of the blower is determined to be less than the threshold value by the air flow rate determination unit, the sensor blower It is equipped with an air volume adjustment unit that increases the intake air volume.
  • the intake air volume of the sensor blower is reduced, and if the air flow rate of the blower is determined to be less than the threshold value by the air flow rate determination unit, It is possible to increase the intake air volume of the sensor blower.
  • an air inlet for the detection unit that takes in air from the outside of the air conditioning case to the inside of the air conditioning case is formed.
  • the vehicle air conditioner includes a door member that adjusts the opening degree of the detection unit air intake.
  • the first opening 231 corresponds to the sensor inlet
  • the detection unit air intake 170 and the opening 162 correspond to the detection unit air intake
  • the process of S100 corresponds to the air volume determination unit
  • the processing corresponds to the air volume adjusting unit.

Landscapes

  • Engineering & Computer Science (AREA)
  • Chemical & Material Sciences (AREA)
  • Physics & Mathematics (AREA)
  • Mechanical Engineering (AREA)
  • Pathology (AREA)
  • Health & Medical Sciences (AREA)
  • Biochemistry (AREA)
  • General Health & Medical Sciences (AREA)
  • General Physics & Mathematics (AREA)
  • Immunology (AREA)
  • Life Sciences & Earth Sciences (AREA)
  • Analytical Chemistry (AREA)
  • Signal Processing (AREA)
  • Fuzzy Systems (AREA)
  • Mathematical Physics (AREA)
  • Combustion & Propulsion (AREA)
  • Dispersion Chemistry (AREA)
  • General Engineering & Computer Science (AREA)
  • Thermal Sciences (AREA)
  • Air-Conditioning For Vehicles (AREA)
PCT/JP2019/045666 2018-12-20 2019-11-21 車両用空調装置 Ceased WO2020129534A1 (ja)

Priority Applications (1)

Application Number Priority Date Filing Date Title
CN201980083435.8A CN113242807B (zh) 2018-12-20 2019-11-21 车辆用空调装置

Applications Claiming Priority (2)

Application Number Priority Date Filing Date Title
JP2018238528A JP7234619B2 (ja) 2018-12-20 2018-12-20 車両用空調装置
JP2018-238528 2018-12-20

Publications (1)

Publication Number Publication Date
WO2020129534A1 true WO2020129534A1 (ja) 2020-06-25

Family

ID=71102131

Family Applications (1)

Application Number Title Priority Date Filing Date
PCT/JP2019/045666 Ceased WO2020129534A1 (ja) 2018-12-20 2019-11-21 車両用空調装置

Country Status (3)

Country Link
JP (1) JP7234619B2 (enExample)
CN (1) CN113242807B (enExample)
WO (1) WO2020129534A1 (enExample)

Families Citing this family (3)

* Cited by examiner, † Cited by third party
Publication number Priority date Publication date Assignee Title
CN115027222B (zh) * 2021-10-28 2025-04-25 长城汽车股份有限公司 车辆及其空调以及车辆空调控制方法和装置
JP2023122176A (ja) * 2022-02-22 2023-09-01 株式会社ヴァレオジャパン 車両用空調装置
KR20250163652A (ko) * 2024-05-14 2025-11-21 엘지전자 주식회사 의류 관리 장치 및 의류 관리 장치의 제어 방법

Citations (4)

* Cited by examiner, † Cited by third party
Publication number Priority date Publication date Assignee Title
JP2017116147A (ja) * 2015-12-22 2017-06-29 パナソニックIpマネジメント株式会社 空気清浄機
JP2017122554A (ja) * 2016-01-08 2017-07-13 株式会社Cmc 空気清浄機および扇風機として機能する装置およびその制御方法
JP2018099937A (ja) * 2016-12-19 2018-06-28 株式会社デンソー 車両用空調装置
JP2018141679A (ja) * 2017-02-27 2018-09-13 パナソニックIpマネジメント株式会社 粉塵センサ

Family Cites Families (5)

* Cited by examiner, † Cited by third party
Publication number Priority date Publication date Assignee Title
CN204358868U (zh) * 2014-12-18 2015-05-27 南京协众汽车空调集团有限公司 基于pm2.5监测的车用环保空调系统
CN107531125B (zh) * 2015-04-24 2020-04-07 株式会社电装 车辆用空调装置
WO2017082074A1 (ja) * 2015-11-12 2017-05-18 株式会社デンソー 車両用空調装置
KR101795173B1 (ko) * 2015-12-02 2017-11-07 현대자동차주식회사 차량의 실내온도 및 미세먼지 동시 측정 장치
JP6631487B2 (ja) * 2016-12-02 2020-01-15 株式会社デンソー 車両用空調装置

Patent Citations (4)

* Cited by examiner, † Cited by third party
Publication number Priority date Publication date Assignee Title
JP2017116147A (ja) * 2015-12-22 2017-06-29 パナソニックIpマネジメント株式会社 空気清浄機
JP2017122554A (ja) * 2016-01-08 2017-07-13 株式会社Cmc 空気清浄機および扇風機として機能する装置およびその制御方法
JP2018099937A (ja) * 2016-12-19 2018-06-28 株式会社デンソー 車両用空調装置
JP2018141679A (ja) * 2017-02-27 2018-09-13 パナソニックIpマネジメント株式会社 粉塵センサ

Also Published As

Publication number Publication date
JP2020100209A (ja) 2020-07-02
CN113242807B (zh) 2024-02-27
CN113242807A (zh) 2021-08-10
JP7234619B2 (ja) 2023-03-08

Similar Documents

Publication Publication Date Title
EP3104092B1 (en) Indoor unit for air conditioner
WO2020129534A1 (ja) 車両用空調装置
CN103347717B (zh) 用于操作车辆暖通空调系统防止输出逆气流的方法及装置
JP6662362B2 (ja) 埃濃度検出装置
JP4675229B2 (ja) 車両用空調システム
JP6920901B2 (ja) 空調装置
JP2020100209A5 (enExample)
CN113498386B (zh) 颗粒浓度检测装置
WO2020149065A1 (ja) Pmセンサ
US10675944B2 (en) Vehicular air conditioner
JP6791049B2 (ja) 車両用空調装置
CN112930472B (zh) Pm传感器
CN111032389B (zh) 车辆用空调装置
EP4230451A1 (en) Vehicular air conditioner
JP2020121698A (ja) 車両用空調装置
JP7188066B2 (ja) 粉塵検出装置
WO2022176727A1 (ja) 車両用空調装置
JPH0732864A (ja) バス車両用空調装置
JP2010111170A (ja) 車両用空気調和装置

Legal Events

Date Code Title Description
121 Ep: the epo has been informed by wipo that ep was designated in this application

Ref document number: 19899157

Country of ref document: EP

Kind code of ref document: A1

NENP Non-entry into the national phase

Ref country code: DE

122 Ep: pct application non-entry in european phase

Ref document number: 19899157

Country of ref document: EP

Kind code of ref document: A1