WO2020071039A1 - 劣化検知システム - Google Patents

劣化検知システム

Info

Publication number
WO2020071039A1
WO2020071039A1 PCT/JP2019/034731 JP2019034731W WO2020071039A1 WO 2020071039 A1 WO2020071039 A1 WO 2020071039A1 JP 2019034731 W JP2019034731 W JP 2019034731W WO 2020071039 A1 WO2020071039 A1 WO 2020071039A1
Authority
WO
WIPO (PCT)
Prior art keywords
model
deterioration
unit
normal
data
Prior art date
Legal status (The legal status is an assumption and is not a legal conclusion. Google has not performed a legal analysis and makes no representation as to the accuracy of the status listed.)
Ceased
Application number
PCT/JP2019/034731
Other languages
English (en)
French (fr)
Japanese (ja)
Inventor
優一 若林
浩司 脇本
泉 大塚
親人 石飛
武久 原口
Current Assignee (The listed assignees may be inaccurate. Google has not performed a legal analysis and makes no representation or warranty as to the accuracy of the list.)
Mitsubishi Electric Corp
Original Assignee
Mitsubishi Electric Corp
Priority date (The priority date is an assumption and is not a legal conclusion. Google has not performed a legal analysis and makes no representation as to the accuracy of the date listed.)
Filing date
Publication date
Application filed by Mitsubishi Electric Corp filed Critical Mitsubishi Electric Corp
Priority to CN201980063005.XA priority Critical patent/CN112771462B/zh
Priority to DE112019004928.3T priority patent/DE112019004928B4/de
Priority to KR1020217008240A priority patent/KR102495422B1/ko
Publication of WO2020071039A1 publication Critical patent/WO2020071039A1/ja
Priority to US17/214,274 priority patent/US12079303B2/en
Anticipated expiration legal-status Critical
Ceased legal-status Critical Current

Links

Images

Classifications

    • GPHYSICS
    • G06COMPUTING OR CALCULATING; COUNTING
    • G06FELECTRIC DIGITAL DATA PROCESSING
    • G06F17/00Digital computing or data processing equipment or methods, specially adapted for specific functions
    • G06F17/10Complex mathematical operations
    • G06F17/18Complex mathematical operations for evaluating statistical data, e.g. average values, frequency distributions, probability functions, regression analysis
    • GPHYSICS
    • G05CONTROLLING; REGULATING
    • G05BCONTROL OR REGULATING SYSTEMS IN GENERAL; FUNCTIONAL ELEMENTS OF SUCH SYSTEMS; MONITORING OR TESTING ARRANGEMENTS FOR SUCH SYSTEMS OR ELEMENTS
    • G05B23/00Testing or monitoring of control systems or parts thereof
    • G05B23/02Electric testing or monitoring
    • G05B23/0205Electric testing or monitoring by means of a monitoring system capable of detecting and responding to faults
    • G05B23/0218Electric testing or monitoring by means of a monitoring system capable of detecting and responding to faults characterised by the fault detection method dealing with either existing or incipient faults
    • G05B23/0224Process history based detection method, e.g. whereby history implies the availability of large amounts of data
    • G05B23/0227Qualitative history assessment, whereby the type of data acted upon, e.g. waveforms, images or patterns, is not relevant, e.g. rule based assessment; if-then decisions
    • G05B23/0235Qualitative history assessment, whereby the type of data acted upon, e.g. waveforms, images or patterns, is not relevant, e.g. rule based assessment; if-then decisions based on a comparison with predetermined threshold or range, e.g. "classical methods", carried out during normal operation; threshold adaptation or choice; when or how to compare with the threshold
    • GPHYSICS
    • G05CONTROLLING; REGULATING
    • G05BCONTROL OR REGULATING SYSTEMS IN GENERAL; FUNCTIONAL ELEMENTS OF SUCH SYSTEMS; MONITORING OR TESTING ARRANGEMENTS FOR SUCH SYSTEMS OR ELEMENTS
    • G05B23/00Testing or monitoring of control systems or parts thereof
    • G05B23/02Electric testing or monitoring
    • G05B23/0205Electric testing or monitoring by means of a monitoring system capable of detecting and responding to faults
    • G05B23/0218Electric testing or monitoring by means of a monitoring system capable of detecting and responding to faults characterised by the fault detection method dealing with either existing or incipient faults
    • G05B23/0224Process history based detection method, e.g. whereby history implies the availability of large amounts of data
    • G05B23/024Quantitative history assessment, e.g. mathematical relationships between available data; Functions therefor; Principal component analysis [PCA]; Partial least square [PLS]; Statistical classifiers, e.g. Bayesian networks, linear regression or correlation analysis; Neural networks
    • GPHYSICS
    • G05CONTROLLING; REGULATING
    • G05BCONTROL OR REGULATING SYSTEMS IN GENERAL; FUNCTIONAL ELEMENTS OF SUCH SYSTEMS; MONITORING OR TESTING ARRANGEMENTS FOR SUCH SYSTEMS OR ELEMENTS
    • G05B23/00Testing or monitoring of control systems or parts thereof
    • G05B23/02Electric testing or monitoring
    • G05B23/0205Electric testing or monitoring by means of a monitoring system capable of detecting and responding to faults
    • G05B23/0218Electric testing or monitoring by means of a monitoring system capable of detecting and responding to faults characterised by the fault detection method dealing with either existing or incipient faults
    • G05B23/0243Electric testing or monitoring by means of a monitoring system capable of detecting and responding to faults characterised by the fault detection method dealing with either existing or incipient faults model based detection method, e.g. first-principles knowledge model
    • GPHYSICS
    • G05CONTROLLING; REGULATING
    • G05BCONTROL OR REGULATING SYSTEMS IN GENERAL; FUNCTIONAL ELEMENTS OF SUCH SYSTEMS; MONITORING OR TESTING ARRANGEMENTS FOR SUCH SYSTEMS OR ELEMENTS
    • G05B23/00Testing or monitoring of control systems or parts thereof
    • G05B23/02Electric testing or monitoring
    • G05B23/0205Electric testing or monitoring by means of a monitoring system capable of detecting and responding to faults
    • G05B23/0259Electric testing or monitoring by means of a monitoring system capable of detecting and responding to faults characterized by the response to fault detection
    • G05B23/0283Predictive maintenance, e.g. involving the monitoring of a system and, based on the monitoring results, taking decisions on the maintenance schedule of the monitored system; Estimating remaining useful life [RUL]
    • GPHYSICS
    • G06COMPUTING OR CALCULATING; COUNTING
    • G06FELECTRIC DIGITAL DATA PROCESSING
    • G06F17/00Digital computing or data processing equipment or methods, specially adapted for specific functions
    • G06F17/10Complex mathematical operations
    • G06F17/15Correlation function computation including computation of convolution operations
    • GPHYSICS
    • G06COMPUTING OR CALCULATING; COUNTING
    • G06FELECTRIC DIGITAL DATA PROCESSING
    • G06F18/00Pattern recognition
    • G06F18/20Analysing
    • G06F18/21Design or setup of recognition systems or techniques; Extraction of features in feature space; Blind source separation
    • G06F18/213Feature extraction, e.g. by transforming the feature space; Summarisation; Mappings, e.g. subspace methods
    • G06F18/2132Feature extraction, e.g. by transforming the feature space; Summarisation; Mappings, e.g. subspace methods based on discrimination criteria, e.g. discriminant analysis
    • GPHYSICS
    • G08SIGNALLING
    • G08BSIGNALLING OR CALLING SYSTEMS; ORDER TELEGRAPHS; ALARM SYSTEMS
    • G08B21/00Alarms responsive to a single specified undesired or abnormal condition and not otherwise provided for
    • G08B21/18Status alarms

Definitions

  • This invention relates to a deterioration detection system for detecting aging of equipment.
  • a target device In order to detect deterioration of a device with high accuracy, it is necessary to collect operation data in both a normal state and a deterioration state for each target device (hereinafter, referred to as a target device).
  • a target device In actual devices, there are many devices whose deterioration progresses slowly, and it is often difficult to accurately specify the start time of occurrence of an abnormality. Therefore, it is difficult to collect a sufficient amount of operation data in a deteriorated state.
  • a diagnostic model is constructed using data of all devices belonging to the same group as the target device. Therefore, in this conventional technique, in order to obtain a diagnostic model that accurately represents a target device, it is necessary that the operation data of each device in the group and the target device have the same operation data. If the operation data of each device in the same group as the target device includes data that behaves differently from the operation data of the target device, the constructed diagnostic model will not correctly represent the behavior of the target device, Accurate deterioration detection is not possible.
  • the present invention has been made to solve the above-described problem, and provides a deterioration detection system that can detect deterioration of a target device without using operation data of the target device in a deteriorated state.
  • the purpose is.
  • the deterioration detection system constructs a normal model that builds a normal model that is a model in a normal state of another device based on normal data that is operation data in a normal state of another device different from the target device. And a deterioration determination model that is a model for determining the deterioration of the other device from the operation data of the other device based on the normal data of the other device and the deterioration data that is the operation data in the deteriorated state.
  • the normal model constructed by the normal model construction unit and the normal data which is the operation data of the target device in a normal state a normal model which is a model of the target device in a normal state is constructed.
  • the normal model reconstruction unit, the deterioration judgment model constructed by the deterioration judgment model construction unit, and the normal model constructed by the normal model reconstruction unit And a deterioration determination model reconstructing unit that constructs a deterioration determination model that is a model for determining the deterioration of the target device from the operation data of the target device, and a deterioration determination model reconstructing unit that constructs the operation data and the deterioration determination model rebuilding unit of the target device.
  • a deterioration determining unit that determines deterioration of the target device based on the obtained deterioration determination model.
  • the configuration as described above allows the deterioration detection of the target device to be performed without using the operation data in the deteriorated state of the target device.
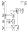
  • FIG. 1 is a diagram showing a configuration example of a deterioration detection system according to Embodiment 1 of the present invention.
  • FIG. 3 is a diagram illustrating a configuration example of a deterioration determination model construction unit according to the first embodiment of the present invention.
  • FIG. 3 is a diagram illustrating a configuration example of a normal model reconstructing unit according to the first embodiment of the present invention.
  • FIG. 3 is a diagram illustrating a configuration example of a deterioration determination model reconstruction unit according to Embodiment 1 of the present invention.
  • 5 is a flowchart illustrating an operation example of the deterioration detection system according to the first embodiment of the present invention.
  • FIG. 6 is a flowchart illustrating an operation example of a normal model construction unit according to the first embodiment of the present invention.
  • 5 is a flowchart illustrating an operation example of a deterioration determination model construction unit according to Embodiment 1 of the present invention.
  • 5 is a flowchart illustrating an operation example of a normal model restructuring unit according to Embodiment 1 of the present invention.
  • 5 is a flowchart illustrating an operation example of a deterioration determination model restructuring unit according to Embodiment 1 of the present invention.
  • 5 is a flowchart illustrating an operation example of a deterioration determination unit according to Embodiment 1 of the present invention.
  • FIG. 9 is a diagram showing a configuration example of a deterioration detection system according to Embodiment 2 of the present invention.
  • FIG. 13 is a diagram illustrating a configuration example of a model evaluation unit according to Embodiment 2 of the present invention.
  • 9 is a flowchart showing an operation example of evaluation and correction of a deterioration determination model by the deterioration detection system according to Embodiment 2 of the present invention.
  • 9 is a flowchart illustrating an operation example of a model evaluation unit according to Embodiment 2 of the present invention.
  • 13 is a flowchart illustrating an operation example of a model correction unit according to the second embodiment of the present invention.
  • FIG. 2 is a diagram illustrating a hardware configuration example of a deterioration detection system according to Embodiments 1 and 2 of the present invention.
  • FIG. 1 is a diagram illustrating a configuration example of a deterioration detection system 1 according to Embodiment 1 of the present invention.
  • the deterioration detection system 1 detects deterioration of a target device (hereinafter, referred to as a target device).
  • a target device examples include a railway-related device such as a platform door, a train-mounted device such as a brake, a power plant device, a factory line facility, and the like.
  • a target device include a railway-related device such as a platform door, a train-mounted device such as a brake, a power plant device, a factory line facility, and the like.
  • the deterioration detection system 1 includes a deterioration feature extraction unit 101, a normal model construction unit 102, a normal model storage unit 103, a deterioration judgment model construction unit 104, a deterioration judgment model storage unit 105, and a normal model reconstruction.
  • the degradation feature extraction unit 101 extracts a feature amount from the input operation data.
  • the operation data input to the deterioration feature extraction unit 101 includes operation data in a normal state (normal data) collected from another device different from the target device (hereinafter, referred to as another device) and deterioration data.
  • the normal data and the detection target data of the target device are sequentially collected.
  • the feature quantity extracted by the degradation feature extraction unit 101 is a feature quantity that may reflect deterioration.
  • the deterioration feature extraction unit 101 first extracts a feature amount from normal data and deterioration data collected from another device.
  • the deterioration feature extraction unit 101 extracts a feature amount from normal data sequentially collected from the target device immediately after the start of operation of the target device. Next, the deterioration feature extraction unit 101 extracts a feature amount from the detection target data sequentially collected from the target device.
  • the method of extracting a feature that may reflect deterioration is determined by design, physical knowledge, prior analysis, or the like.
  • the feature amount extracted from the normal data by the deterioration feature extraction unit 101 is referred to as normal feature amount data.
  • the feature amount extracted from the deterioration data by the deterioration feature extraction unit 101 is referred to as deterioration feature amount data.
  • the feature amount extracted from the detection target data by the deterioration feature extraction unit 101 is referred to as detection target feature amount data.
  • the other device a test device, a device that has previously collected data in another environment, or the like can be considered.
  • FIG. 1 shows a case where the deterioration detection system 1 includes the deterioration feature extraction unit 101.
  • the present invention is not limited to this, and the deterioration detection system 1 may not include the deterioration feature extraction unit 101.
  • the normal model construction unit 102 constructs a model (normal model) of the other device in a normal state based on the normal feature amount data of the other device extracted by the deterioration feature extraction unit 101.
  • a normal model a behavior obtained by normal feature data, a pattern obtained by normal feature data, a range of the behavior or a range of the pattern, and one or more represented by an equation, a graph, or a network
  • the correlation between the feature amounts extracted from the normal feature amount data can be used.
  • the graph structure can be represented by a covariance matrix of feature vectors or an accuracy matrix that is the reciprocal thereof.
  • the normal model storage unit 103 stores data indicating a normal model of another device constructed by the normal model construction unit 102.
  • the deterioration determination model construction unit 104 is for determining the deterioration of the other device from the operation data of the other device based on the normal feature amount data and the deterioration feature amount data of the other device extracted by the deterioration feature extraction unit 101. Build a model (deterioration determination model). Note that, at this time, the deterioration determination model construction unit 104, based on the normal model of the other device read from the normal model storage unit 103 in addition to the normal feature amount data and the deterioration feature amount data of the other device, A deterioration determination model may be constructed. Details of the deterioration determination model construction unit 104 will be described later.
  • the deterioration determination model storage unit 105 stores data indicating the deterioration determination model of the other device constructed by the deterioration determination model construction unit 104.
  • the deterioration detection system 1 builds a normal model of another device and a deterioration determination model of another device before constructing a model of the target device and determining deterioration.
  • the normal model reconstructing unit 106 based on the normal model of the other device read from the normal model storage unit 103 and the normal feature data of the target device extracted by the deterioration feature extracting unit 101, stores the target device in the normal state. Build a model (normal model). The details of the normal model reconstruction unit 106 will be described later.
  • the deterioration determination model reconstructing unit 107 is based on the deterioration determination model of the other device read from the deterioration determination model storage unit 105 and the normal model of the target device constructed by the normal model restructuring unit 106, and operates the operation data of the target device.
  • a model deterioration judgment model
  • the deterioration determination model reconstructing unit 107 performs, based on the normal characteristic amount data of the target device extracted by the deterioration characteristic extraction unit 101, in addition to the deterioration determination model of the other device and the normal model of the target device.
  • a deterioration determination model of the target device may be constructed. The details of the deterioration determination model reconstruction unit 107 will be described later.
  • the deterioration judgment model storage unit 108 stores data indicating the deterioration judgment model of the target device constructed by the deterioration judgment model restructuring unit 107.
  • the deterioration determination unit 109 determines the deterioration of the target device based on the detection target feature amount data extracted by the deterioration feature extraction unit 101 and the deterioration determination model of the target device read from the deterioration determination model storage unit 108. At this time, the deterioration determination unit 109 determines whether the target device is normal or deteriorated by applying the deterioration determination model of the target device to the detection target feature amount data.
  • the detection result output unit 110 outputs data indicating the result of the determination by the deterioration determination unit 109 to the outside.
  • the deterioration determination model construction unit 104 includes a deterioration degree calculation unit 1041 and a classifier construction unit 1042.
  • the deterioration degree calculation unit 1041 applies the normal model of the other device to the normal feature amount data and the deterioration feature amount data of the other device, respectively, and calculates the deterioration degree of the normal feature amount data and the deterioration degree of the deterioration feature amount data. .
  • the discriminator construction unit 1042 constructs a discriminator capable of discriminating the degree of deterioration of the normal feature amount data calculated by the deterioration degree calculation unit 1041 and the degree of deterioration of the deterioration feature amount data, and sets the classifier as a deterioration determination model. I do.
  • the normal model reconstructing unit 106 includes a model holding unit 1061, a parameter updating unit 1062, and a convergence determining unit 1063, as shown in FIG.
  • the model holding unit 1061 holds a normal model of another device as a normal model of the target device.
  • the parameter updating unit 1062 updates the parameters of the normal model of the target device held by the model holding unit 1061 using the normal feature amount data of the target device.
  • the parameter updating unit 1062 updates the parameters of the normal model of the target device each time the normal data of the target device is sequentially collected until the convergence determination unit 1063 determines that the parameters have converged.
  • the data of the other device and the data of the target device generally have different tendencies. Therefore, even if a model constructed using data of another device is directly applied to the target device, it is difficult to correctly detect deterioration occurring in the target device. Therefore, the deterioration detection system 1 updates the parameters of the model constructed by other devices using the normal data of the target device. Thereby, the deterioration detection system 1 can reconstruct a model suitable for the target device. Also, it is often difficult to collect in advance a sufficient amount of data for learning with all target devices.
  • the deterioration detection system 1 updates the parameters of the model built in advance by another device using the data sequentially collected from the target device, and acquires the model of the target device online. Accordingly, the deterioration detection system 1 can reconstruct a highly accurate model even when there is not enough data of the target device in advance.
  • the convergence determination unit 1063 determines whether the parameters updated by the parameter update unit 1062 have converged. The convergence determination unit 1063 determines whether the parameters of the normal model updated by the parameter update unit 1062 have converged each time the normal data of the target device is sequentially collected. The convergence determination unit 1063 repeats this operation until it determines that the parameters have converged.
  • the convergence determination unit 1063 performs convergence determination of the parameter, and the deterioration detection system 1 enables accurate model construction.
  • the parameter update unit 1062 and the convergence determination unit 1063 start updating parameters and determining convergence of parameters when data during normal operation starts to be collected from the target device.
  • the parameter update unit 1062 terminates the parameter update until it is determined that the parameters have converged, or when the target device has been operating for a certain period of time and the possibility that collected data is not normal data has increased. I do.
  • whether there is a high possibility that the collected data is not normal is determined based on device design knowledge or physical knowledge.
  • the deterioration determination model reconstructing unit 107 includes a model holding unit 1071, a deterioration degree calculating unit 1072, a deterioration determining unit (second deterioration determining unit) 1073, and a model updating unit 1074.
  • the model holding unit 1071 holds a deterioration determination model of another device as a deterioration determination model of the target device.
  • the deterioration degree calculation unit 1072 applies the normal model of the target device to the normal feature amount data of the target device, and calculates the deterioration degree of the normal feature amount data.
  • the deterioration degree calculation unit 1072 calculates the deterioration degree until the normal model reconstruction unit 106 completes the construction.
  • the deterioration degree calculating unit 1072 calculates the deterioration degree of the normal feature amount data using the parameters of the normal model updated by the parameter updating unit 1062 every time the normal data of the target device is sequentially collected.
  • the deterioration determination unit 1073 performs the deterioration determination by applying the deterioration determination model of the target device held by the model holding unit 1071 to the deterioration degree calculated by the deterioration degree calculation unit 1072.
  • the model updating unit 1074 updates the deterioration determination model of the target device held by the model holding unit 1071 based on the determination result by the deterioration determination unit 1073.
  • the deterioration detection system 1 since only the model information of the target device is used, accurate deterioration detection cannot be performed due to factors such as individual differences specific to the device. On the other hand, it is difficult to collect the deterioration data of the target device with the actual device, but it may be possible to collect the normal data of the target device sequentially. Therefore, in the deterioration detection system 1 according to the first embodiment, the normal model and the deterioration determination model that can express the target device more accurately by correcting the normal model and the deterioration determination model of the other device using the normal data of the target device. Build the model. Thereby, in the deterioration detection system 1 according to the first embodiment, the accuracy of the deterioration detection is improved.
  • the deterioration feature extraction unit 101 extracts a feature amount from the input operation data (step ST501).
  • the normal model construction unit 102 constructs a normal model of the other device (step ST502).
  • Data indicating the normal model of the other device constructed by the normal model construction unit 102 is stored in the normal model storage unit 103. A detailed operation example of the normal model construction unit 102 will be described later.
  • the deterioration determination model construction unit 104 based on the normal feature amount data and deterioration feature amount data of the other device extracted by the deterioration feature extraction unit 101 and the normal model of the other device read from the normal model storage unit 103, A deterioration determination model of the other device is constructed (step ST503).
  • the data indicating the degradation determination model of the other device constructed by the degradation determination model construction unit 104 is stored in the degradation determination model storage unit 105. A detailed operation example of the deterioration determination model construction unit 104 will be described later.
  • the normal model reconstruction unit 106 Is constructed (step ST504).
  • a detailed operation example of the normal model reconstruction unit 106 will be described later.
  • the deterioration judgment model reconstructing unit 107 reads the deterioration judgment model of the other device read from the deterioration judgment model storage unit 105, the normal model of the target device constructed by the normal model restructuring unit 106, and the deterioration feature extraction unit 101. Based on the normal feature data of the target device extracted by the above, a deterioration determination model of the target device is constructed (step ST505). The data indicating the deterioration judgment model of the target device constructed by the deterioration judgment model reconstruction unit 107 is stored in the deterioration judgment model storage unit 108. A detailed operation example of the deterioration determination model reconstruction unit 107 will be described later.
  • the deterioration determination unit 109 determines the deterioration of the target device based on the detection target feature amount data extracted by the deterioration feature extraction unit 101 and the deterioration determination model of the target device read from the deterioration determination model storage unit 108. (Step ST506).
  • detection result output section 110 outputs data indicating the result of determination by deterioration determination section 109 to the outside (step ST507).
  • the normal model construction unit 102 acquires the normal feature amount data of the other device extracted by the deterioration feature extraction unit 101 (step ST601).
  • the normal model construction unit 102 constructs a normal model of the other device based on the normal feature data of the other device (step ST602).
  • the normal model construction unit 102 outputs data indicating a normal model of another device (step ST603).
  • the deterioration judgment model construction unit 104 converts the normal feature amount data and the deterioration feature amount data of the other device extracted by the deterioration feature extraction unit 101. It is acquired (step ST701).
  • deterioration determination model construction section 104 reads the normal model of the other device stored in normal model storage section 103 (step ST702).
  • the degradation degree calculation unit 1041 applies the normal model of the other device to the normal feature amount data and the degradation feature amount data of the other device, respectively, and determines the degradation degree of the normal feature amount data and the degradation degree of the degradation feature amount data. It is calculated (step ST703).
  • Equation (1) x (k) ⁇ R r represents a k-th r-dimensional feature vector in all feature amount data, and a (k) represents an abnormality degree (deterioration degree) with respect to x (k).
  • P (x) represents the probability distribution of x.
  • k represents the time at which the data was acquired, and the value of k is sequentially updated each time the data is acquired.
  • the above-described method of calculating the degree of deterioration is merely an example, and other methods may be used, and the degree of deterioration may be a multidimensional vector.
  • the discriminator construction unit 1042 constructs a discriminator capable of discriminating the degree of deterioration of the normal feature amount data calculated by the deterioration degree calculation unit 1041 and the degree of deterioration of the deteriorated feature amount data, and determines the classifier for deterioration.
  • a model is set (step ST704).
  • a method of constructing the discriminator for example, when the degree of deterioration is calculated by equation (2), a ROC (Receiver Operating Characteristic) curve is applied to the degree of deterioration, and the degree of deterioration of the normal feature amount data and the deterioration characteristic are calculated. By calculating a threshold value for best discriminating the degree of deterioration of the quantity data, the discriminator can be obtained.
  • deterioration determination model construction section 104 outputs data indicating a deterioration determination model of another device (step ST705).
  • the normal model reconstruction unit 106 reads the normal model of another device stored in the normal model storage unit 103 (step ST801). . Then, the model holding unit 1061 holds the normal model of the other device as a normal model of the target device.
  • the normal model reconstructing unit 106 acquires normal feature data of the target device as learning data (step ST802).
  • the parameter updating unit 1062 updates the parameters of the normal model of the target device held in the model holding unit 1061 using the learning data (step ST803).
  • the normal model held in the model holding unit 1061 has a graph structure representing a correlation between feature amounts, and a sample mean, a sample covariance matrix, and a graph structure obtained by updating parameters are represented by ⁇ (hat), ⁇ ⁇ ⁇ (hat) and ⁇ (hat).
  • ⁇ (hat) (k) which is the sample average at the current time, is calculated as in the following equation (3).
  • ⁇ i represents the i component of ⁇ .
  • ⁇ (hat) (k) which is the sample covariance matrix at the current time, is calculated as in the following equation (4).
  • ⁇ ij 2 represents the (i, j) component of ⁇ (hat).
  • ⁇ ⁇ ⁇ (hat) (k) which is the graph structure at the current time
  • ⁇ (hat) (k) which is the sample average at the current time
  • ⁇ (hat) (k) which is the sample covariance matrix at the current time.
  • P the value of P
  • normal model reconstructing section 106 outputs data indicating a normal model of the target device (step ST804).
  • convergence determining section 1063 determines whether or not the parameter updated by parameter updating section 1062 has converged (step ST805).
  • the sequence returns to step ST802 and repeats the above operation.
  • the convergence determination unit 1063 determines that the parameters have converged in step ST805
  • the sequence ends.
  • the updating of the normal model by the normal model reconstructing unit 106 is terminated when the parameters of the normal model have converged and the values have hardly changed.
  • a method for determining the convergence of the parameters of the normal model for example, when the normal model is represented by an r ⁇ r square matrix ⁇ (hat) (k), ⁇ (hat) (k) is given by the following equation (6). When satisfied, it can be determined that the convergence has been achieved.
  • is a sufficiently small constant value
  • tr ( ⁇ ) represents the sum (trace) of the diagonal components of the matrix.
  • normal data of the target device may not be obtained before the convergence determining unit 1063 determines that the parameters have converged. In this case, even if the parameters do not converge, the normal model reconstructing unit 106 outputs data indicating a normal model of the target device calculated immediately before normal data is no longer obtained.
  • the deterioration judgment model reconstruction unit 107 reads the deterioration judgment model of another device stored in the deterioration judgment model storage unit 105. (Step ST901). Then, the model holding unit 1071 holds the deterioration determination model of the other device as the deterioration determination model of the target device.
  • the deterioration determination model restructuring unit 107 acquires normal feature amount data of the target device as learning data (step ST902).
  • Deterioration determination model reconstruction section 107 reads the normal model of the target device constructed by normal model reconstruction section 106 (step ST903).
  • deterioration degree calculation section 1072 applies the normal model of the target device to the learning data, and calculates the deterioration degree of the learning data (step ST904).
  • the deterioration determination model reconstruction unit 107 applies the normal model of the target device updated using x (k) to x (k) which is the normal feature amount data of the target device input at the current time. Then, a (k), which is the degree of deterioration of x (k), is calculated.
  • the deterioration determination unit 1073 performs the deterioration determination by applying the deterioration determination model held by the model holding unit 1071 to the deterioration degree calculated by the deterioration degree calculation unit 1072 (step ST905).
  • model updating section 1074 updates the deterioration determination model held by model holding section 1071 based on the determination result by deterioration determination section 1073 (step ST906).
  • the deterioration determination model reconstruction unit 107 determines the probability distribution P ′ (a) of the degree of deterioration of the normal feature amount data of the other device and the probability distribution P ′ of the degree of deterioration of the normal feature amount data of the target device. (A) is compared, and the deterioration determination model is updated by updating the identification surface of the classifier according to the difference between the two probability distributions.
  • the difference between the probability distributions P ′ (a) and P (a) is quantified using the Kullback-Leibler information amount, and the difference is large. It is possible to consider a method in which the discrimination plane is made to make a larger transition.
  • X which is an erroneous detection rate of deterioration determination
  • Y which is an erroneous detection rate of the deterioration determination
  • step ST907 deterioration determination model reconstructing section 107 determines whether or not the parameters of the normal model of the target device have converged.
  • step ST907 when the deterioration determination model restructuring unit 107 determines that the parameters of the normal model of the target device have not converged, the sequence returns to step ST902 and repeats the above operation.
  • step ST907 when the deterioration determination model restructuring unit 107 determines that the parameters of the normal model of the target device have converged, it outputs data indicating the deterioration determination model of the target device (step ST908).
  • the deterioration determining unit 109 acquires the detection target feature amount data of the target device extracted by the deterioration feature extracting unit 101 (step ST1001).
  • the deterioration judgment unit 109 reads the deterioration judgment model of the target device stored in the deterioration judgment model storage unit 108 (step ST1002).
  • the deterioration determination unit 109 determines whether or not the target device has deteriorated by applying the deterioration determination model of the target device to the detection target feature amount data (step ST1003).
  • deterioration determination section 109 outputs data indicating the determination result (step ST1004).
  • the deterioration detection system 1 includes, based on the normal data of another device, the normal model construction unit 102 that constructs a normal model of the other device, and the normal data And a deterioration judgment model construction unit 104 for constructing a deterioration judgment model of the other device based on the deterioration data and the normal model constructed by the normal model construction unit 102 and the normal data of the target device.
  • the deterioration detection system 1 can detect deterioration of the target device without using deterioration data of the target device.
  • Embodiment 2 FIG.
  • the deterioration detection system 1 it is assumed that the target device does not deteriorate immediately after the installation and operation of the target device, and that the operation data collected from the target device is normal. However, even immediately after the installation and operation of the target device, the operation data collected from the device may not be normal due to factors such as initial failure. Therefore, in the deterioration detection system 1, the accuracy of the deterioration determination is calculated from the deterioration determination model of the target device to be sequentially updated, and if the accuracy is out of the allowable range, an alarm is output, and based on the inspection result by the inspector or maintenance person. A function for correcting the deterioration determination model may be added.
  • the deterioration detection system 1 having the above function will be described.
  • FIG. 11 is a diagram showing a configuration example of the deterioration detection system 1 according to Embodiment 2 of the present invention.
  • the deterioration detection system 1 according to the second embodiment shown in FIG. 11 differs from the deterioration detection system 1 according to the first embodiment shown in FIG. 1 in that a model evaluation unit 111, an input reception unit 112, a model correction unit 113, and a normal A model storage unit 114 is added.
  • Other configurations are the same, and the same reference numerals are given and only different portions will be described.
  • the model evaluation unit 111 determines that the accuracy of the degradation determination is out of the allowable range. An alarm is issued in some cases. A configuration example of the model evaluation unit 111 will be described later.
  • the input receiving unit 112 receives an input indicating whether the alarm is correct or not.
  • the model correction unit 113 corrects the deterioration determination model constructed by the deterioration determination model reconstruction unit 107 based on the input received by the input reception unit 112. At this time, for example, the model correction unit 113 may correct the deterioration determination model constructed by the deterioration determination model reconstructing unit 107 based on the normal model read from the normal model storage unit 114.
  • the deterioration determination model storage unit 108 stores data indicating the deterioration determination model after the correction by the model correction unit 113.
  • the normal model storage unit 114 stores data indicating the normal model of the target device constructed by the normal model restructuring unit 106. Note that the normal model storage unit 114 is not an essential component of the deterioration detection system 1 and need not be used.
  • the model evaluation unit 111 includes a deterioration determination unit 1111, an accuracy calculation unit 1112, a comparison unit 1113, and an alarm output unit 1114.
  • the deterioration determination unit 1111 performs the deterioration determination by applying the deterioration determination model of the target device to the normal feature amount data of the target device.
  • the accuracy calculation unit 1112 calculates the accuracy of the deterioration determination based on the deterioration determination result by the deterioration determination unit 1111.
  • the comparing unit 1113 determines whether the accuracy of the deterioration determination calculated by the accuracy calculating unit 1112 is within an allowable range.
  • the allowable range is set, for example, based on the value of the accuracy of the deterioration determination when the deterioration determination model of the other device is applied to the normal feature data of the other device in advance.
  • the alarm output unit 1114 outputs an alarm to the outside when the comparison unit 1113 determines that the accuracy of the deterioration determination is out of the allowable range.
  • the input receiving unit 112 receives an input indicating whether the alarm is correct or not (step ST1302). That is, after an alarm is output by the model evaluation unit 111, the inspector or maintenance person inspects the target device and performs an input indicating whether the alarm is a false alarm.
  • model correcting section 113 corrects the deterioration determination model constructed by deterioration determination model reconstructing section 107 (step ST1303).
  • a detailed operation example of the model correction unit 113 will be described later.
  • model evaluation unit 111 acquires normal feature amount data of the target device (step ST1401). Further, model evaluation section 111 reads the deterioration judgment model of the target device constructed by deterioration judgment model restructuring section 107 (step ST1402).
  • the deterioration determination unit 1111 performs the deterioration determination by applying the deterioration determination model of the target device to the normal feature amount data of the target device (step ST1403).
  • accuracy calculation section 1112 calculates the accuracy of the deterioration determination based on the deterioration determination result by deterioration determination section 1111 (step ST1404).
  • comparing section 1113 determines whether or not the accuracy of the deterioration determination calculated by accuracy calculating section 1112 is within an allowable range (step ST1405).
  • step ST1405 when comparing section 1113 determines that the accuracy of the deterioration determination is within the allowable range, the sequence returns to step ST1401 and repeats the above operation.
  • the deterioration detection system 1 determines whether the accuracy of the deterioration determination is within the allowable range, and corrects the label when the accuracy is out of the allowable range, so that an accurate model can be constructed.
  • the comparing unit 1113 While the data with the normal label is being input from the target device, the comparing unit 1113 continues to sequentially determine whether the accuracy of the deterioration determination is within the allowable range. Then, the comparing unit 1113 ends the process at the timing when the input of the data with the normal label is stopped.
  • step ST1405 when comparing section 1113 determines that the accuracy of the deterioration determination is out of the allowable range, alarm output section 1114 outputs an alarm to the outside (step ST1406).
  • the model correcting unit 113 acquires the input received by the input receiving unit 112 (step ST1501).
  • the model correcting section 113 determines whether or not the input indicates an alarm error (step ST1502).
  • step ST1502 when the model correction unit 113 determines that the input indicates an alarm error, the model correction unit 113 corrects the deterioration determination model so that the alarm error does not occur (step ST1503). At this time, for example, the model correction unit 113 may adjust the identification surface of the deterioration determination model so that the normal feature amount data is correctly determined to be normal. Thereafter, the sequence proceeds to step ST1505.
  • step ST1502 when the model correction unit 113 determines that the input does not indicate an error of the alarm, the model correction unit 113 corrects the normal feature amount data (learning data) of the target device in the alarm generation period to the deteriorated feature amount data. Then, the deterioration determination model is corrected (step ST1504). At this time, for example, the model correction unit 113 obtains the normal model immediately before the alarm generation period from the normal model storage unit 114, and corrects the deterioration determination model by using the normal model as the current normal model. You may.
  • model correcting section 113 outputs data indicating the corrected deterioration determination model (step ST1505).
  • the deterioration detection system 1 allows the accuracy of the deterioration determination based on the normal data of the target device and the deterioration determination model constructed by the degradation determination model reconstructing unit 107.
  • a model evaluator 111 that issues an alarm when the value is out of the range
  • an input acceptor 112 that accepts an input indicating whether the alarm is correct after the alarm by the model evaluator 111
  • a model correction unit 113 for correcting the deterioration determination model constructed by the deterioration determination model reconstructing unit 107.
  • the deterioration determination unit 109 includes the operation data of the target device and the deterioration determination model corrected by the model correction unit 113. Is used to determine the deterioration of the target device.
  • the deterioration detection system 1 according to Embodiment 2 can detect deterioration of the target device even when the normal data of the target device is not normal.
  • the processes performed by the deterioration feature extraction unit 101, the normal model construction unit 102, the deterioration determination model construction unit 104, the normal model reconstruction unit 106, the degradation decision model reconstruction unit 107, and the degradation judgment unit 109 are as follows.
  • the program stored in the memory 201 is executed by a CPU (also referred to as a Central Processing Unit, a central processing unit, a processing unit, an arithmetic unit, a microprocessor, a microcomputer, a processor, or a DSP (Digital Signal Processor)) 202 reading the program.
  • a CPU also referred to as a Central Processing Unit, a central processing unit, a processing unit, an arithmetic unit, a microprocessor, a microcomputer, a processor, or a DSP (Digital Signal Processor)
  • the functions of the deterioration feature extraction unit 101, the normal model construction unit 102, the deterioration judgment model construction unit 104, the normal model reconstruction unit 106, the deterioration judgment model reconstruction unit 107, and the deterioration judgment unit 109 are software, firmware, or software and firmware. This is realized by a combination with Software and firmware are described as programs and stored in the memory 201.
  • the CPU 202 implements the function of each unit by reading and executing the program stored in the memory 201. That is, the deterioration detection system 1 includes a memory 201 for storing a program that, when executed by the CPU 202, causes the steps illustrated in FIGS. 5 to 10 to be executed as a result, for example.
  • these programs execute the procedures and methods of the deterioration feature extraction unit 101, the normal model construction unit 102, the deterioration judgment model construction unit 104, the normal model reconstruction unit 106, the deterioration judgment model reconstruction unit 107, and the deterioration judgment unit 109. It can also be said to be executed by a computer.
  • the parameters of the normal model stored in the normal model storage unit 103, the parameters of the deterioration determination model stored in the deterioration determination model storage unit 105, and the parameters of the deterioration determination model stored in the deterioration determination model storage unit 108 are respectively
  • the data is stored in the DB 204 through the DB input / output I / F 203.
  • the data indicating the determination result output from the detection result output unit 110 may be stored in the DB 204 or may be displayed on the display 206 through the display I / F 205.
  • the input device 207 is used for inputting normal data and deterioration data collected from other devices, normal data collected from target devices, and detection target data.
  • Various operation data input to the input device 207 is stored in the DB 204 or the memory 201 through the input I / F 208.
  • a non-volatile or volatile semiconductor memory such as a RAM (Random Access Memory), a ROM (Read Only Memory), a flash memory, an EPROM (Erasable Programmable ROM), an EEPROM (Electrically EPROM), or the like.
  • RAM Random Access Memory
  • ROM Read Only Memory
  • flash memory an EPROM (Erasable Programmable ROM), an EEPROM (Electrically EPROM), or the like.
  • EPROM Erasable Programmable ROM
  • EEPROM Electrical EPROM
  • any combination of the embodiments, a modification of an arbitrary component of each embodiment, or an omission of an arbitrary component in each embodiment is possible within the scope of the invention. .
  • a deterioration detection system includes a normal model construction unit, a deterioration judgment model construction unit, a normal model restructuring unit, a deterioration judgment model restructuring unit, and a deterioration judgment unit. This makes it possible to detect the deterioration of the target device without using the operation data of the target device, and is suitable for a deterioration detection system for detecting the aging deterioration of the device.

Landscapes

  • Engineering & Computer Science (AREA)
  • Physics & Mathematics (AREA)
  • General Physics & Mathematics (AREA)
  • Data Mining & Analysis (AREA)
  • Theoretical Computer Science (AREA)
  • Mathematical Physics (AREA)
  • Pure & Applied Mathematics (AREA)
  • Computational Mathematics (AREA)
  • Mathematical Analysis (AREA)
  • Mathematical Optimization (AREA)
  • Automation & Control Theory (AREA)
  • General Engineering & Computer Science (AREA)
  • Computer Vision & Pattern Recognition (AREA)
  • Evolutionary Biology (AREA)
  • Life Sciences & Earth Sciences (AREA)
  • Bioinformatics & Cheminformatics (AREA)
  • Bioinformatics & Computational Biology (AREA)
  • Databases & Information Systems (AREA)
  • Software Systems (AREA)
  • Algebra (AREA)
  • Artificial Intelligence (AREA)
  • Evolutionary Computation (AREA)
  • Probability & Statistics with Applications (AREA)
  • Operations Research (AREA)
  • Computing Systems (AREA)
  • Business, Economics & Management (AREA)
  • Emergency Management (AREA)
  • Testing And Monitoring For Control Systems (AREA)
PCT/JP2019/034731 2018-10-01 2019-09-04 劣化検知システム Ceased WO2020071039A1 (ja)

Priority Applications (4)

Application Number Priority Date Filing Date Title
CN201980063005.XA CN112771462B (zh) 2018-10-01 2019-09-04 劣化检测系统
DE112019004928.3T DE112019004928B4 (de) 2018-10-01 2019-09-04 System zur verschlechterungserfassung
KR1020217008240A KR102495422B1 (ko) 2018-10-01 2019-09-04 열화 검지 시스템
US17/214,274 US12079303B2 (en) 2018-10-01 2021-03-26 Degradation detection system

Applications Claiming Priority (2)

Application Number Priority Date Filing Date Title
JP2018-186643 2018-10-01
JP2018186643A JP7134051B2 (ja) 2018-10-01 2018-10-01 劣化検知システム

Related Child Applications (1)

Application Number Title Priority Date Filing Date
US17/214,274 Continuation US12079303B2 (en) 2018-10-01 2021-03-26 Degradation detection system

Publications (1)

Publication Number Publication Date
WO2020071039A1 true WO2020071039A1 (ja) 2020-04-09

Family

ID=70054609

Family Applications (1)

Application Number Title Priority Date Filing Date
PCT/JP2019/034731 Ceased WO2020071039A1 (ja) 2018-10-01 2019-09-04 劣化検知システム

Country Status (6)

Country Link
US (1) US12079303B2 (enExample)
JP (1) JP7134051B2 (enExample)
KR (1) KR102495422B1 (enExample)
CN (1) CN112771462B (enExample)
DE (1) DE112019004928B4 (enExample)
WO (1) WO2020071039A1 (enExample)

Cited By (2)

* Cited by examiner, † Cited by third party
Publication number Priority date Publication date Assignee Title
CN111797944A (zh) * 2020-08-04 2020-10-20 上海仁童电子科技有限公司 一种车门异常诊断方法及装置
US10898633B2 (en) 2016-09-22 2021-01-26 Michigan Critical Care Consultants, Inc. Devices and methods for extracorporeal conditioning of blood

Families Citing this family (4)

* Cited by examiner, † Cited by third party
Publication number Priority date Publication date Assignee Title
US11941506B2 (en) * 2020-02-04 2024-03-26 Hubbell Incorporated System and method for monitoring via smart devices
JP7055260B1 (ja) * 2021-10-15 2022-04-15 三菱電機株式会社 状態検知システム、状態検知方法および状態検知プログラム
JPWO2023153193A1 (enExample) * 2022-02-09 2023-08-17
JP2024013399A (ja) * 2022-07-20 2024-02-01 株式会社日立製作所 設備の劣化診断装置及び方法

Citations (4)

* Cited by examiner, † Cited by third party
Publication number Priority date Publication date Assignee Title
JPH09145405A (ja) * 1995-11-22 1997-06-06 Mitsubishi Chem Corp 設備劣化診断システム
JP2016091378A (ja) * 2014-11-06 2016-05-23 株式会社東芝 診断システム、診断方法および診断プログラム
JP2018147080A (ja) * 2017-03-02 2018-09-20 富士ゼロックス株式会社 情報処理装置及び情報処理プログラム
JP2019038089A (ja) * 2017-08-29 2019-03-14 ファナック株式会社 ロボットシステム

Family Cites Families (15)

* Cited by examiner, † Cited by third party
Publication number Priority date Publication date Assignee Title
JP3321487B2 (ja) 1993-10-20 2002-09-03 株式会社日立製作所 機器/設備診断方法およびシステム
JP2006343063A (ja) * 2005-06-10 2006-12-21 Daikin Ind Ltd 設備機器の異常予知システム、設備機器の異常予知装置および設備機器の異常予知方法
JP2008230742A (ja) * 2007-03-19 2008-10-02 Toshiba Elevator Co Ltd エレベータの保守管理システム
JP4369961B2 (ja) * 2007-03-23 2009-11-25 株式会社日立製作所 異常検知装置及び異常検知プログラム
US8339637B2 (en) * 2007-08-03 2012-12-25 Ricoh Company, Ltd. Management apparatus, management system, operation status determination method, and image forming apparatus
US8712929B1 (en) * 2007-11-30 2014-04-29 Intellectual Assets Llc Dynamic data filtering system and method
JP5297272B2 (ja) * 2009-06-11 2013-09-25 株式会社日立製作所 装置異常監視方法及びシステム
US8494826B2 (en) * 2010-01-13 2013-07-23 The United States Postal Service Systems and methods for analyzing equipment failures and maintenance schedules
US9122273B2 (en) * 2010-02-26 2015-09-01 Hitachi, Ltd. Failure cause diagnosis system and method
JP5343920B2 (ja) * 2010-04-27 2013-11-13 株式会社デンソー 故障予兆検出装置
JP2013109711A (ja) * 2011-11-24 2013-06-06 Yokogawa Electric Corp プラントモデル生成装置およびプラント運転支援システム
AR091412A1 (es) * 2013-06-11 2015-02-04 Ypf Sa Dispositivo y metodo para diagnosticar situaciones anomalas en procesos
JP2016052357A (ja) * 2014-09-02 2016-04-14 キヤノン株式会社 情報処理装置、情報処理装置の制御方法およびプログラム
JP2016157206A (ja) 2015-02-23 2016-09-01 株式会社日立製作所 予兆診断システム、予兆診断方法および予兆診断装置
JP5996153B1 (ja) * 2015-12-09 2016-09-21 三菱電機株式会社 劣化個所推定装置、劣化個所推定方法および移動体の診断システム

Patent Citations (4)

* Cited by examiner, † Cited by third party
Publication number Priority date Publication date Assignee Title
JPH09145405A (ja) * 1995-11-22 1997-06-06 Mitsubishi Chem Corp 設備劣化診断システム
JP2016091378A (ja) * 2014-11-06 2016-05-23 株式会社東芝 診断システム、診断方法および診断プログラム
JP2018147080A (ja) * 2017-03-02 2018-09-20 富士ゼロックス株式会社 情報処理装置及び情報処理プログラム
JP2019038089A (ja) * 2017-08-29 2019-03-14 ファナック株式会社 ロボットシステム

Cited By (2)

* Cited by examiner, † Cited by third party
Publication number Priority date Publication date Assignee Title
US10898633B2 (en) 2016-09-22 2021-01-26 Michigan Critical Care Consultants, Inc. Devices and methods for extracorporeal conditioning of blood
CN111797944A (zh) * 2020-08-04 2020-10-20 上海仁童电子科技有限公司 一种车门异常诊断方法及装置

Also Published As

Publication number Publication date
JP7134051B2 (ja) 2022-09-09
DE112019004928T5 (de) 2021-06-24
CN112771462A (zh) 2021-05-07
JP2020057144A (ja) 2020-04-09
DE112019004928B4 (de) 2025-04-30
CN112771462B (zh) 2023-06-09
KR102495422B1 (ko) 2023-02-06
KR20210044862A (ko) 2021-04-23
US20210216609A1 (en) 2021-07-15
US12079303B2 (en) 2024-09-03

Similar Documents

Publication Publication Date Title
JP7134051B2 (ja) 劣化検知システム
CN102246111B (zh) 识别航空发动机中故障
CN110121724B (zh) 异常检测装置、异常检测方法及存储介质
KR20140139622A (ko) Eifs 불확실성을 고려하여 초음파 검사 데이터를 사용한 확률적 피로 수명 예측
EP2941640A1 (en) Probabilistic modeling and sizing of embedded flaws in nondestructive inspections for fatigue damage prognostics and structural integrity assessment
JP2019070965A (ja) 学習装置、学習方法、プログラム
CN102640297A (zh) 异常诊断装置和异常诊断方法
CN103646114B (zh) 硬盘smart数据中特征数据提取方法和装置
JP2024045515A (ja) 構造物診断システム、構造物診断方法、および構造物診断プログラム
CN119026463A (zh) 一种预测岩石节理残余抗剪强度的方法、装置、设备和可读存储介质
CN108226907B (zh) 用于激光测距设备的测距校准方法和装置
CN110646134B (zh) 一种气压传感器的校准方法和校准装置
KR20190128420A (ko) 클라우드 기반 가상 센서를 이용한 IoT 센서 이상 진단 방법 및 시스템
CN110991124A (zh) 集成电路修补方法及装置、存储介质、电子设备
US20220215144A1 (en) Learning Apparatus, Learning Method and Learning Program
CN112559030A (zh) 代码发布的告警监控方法及系统
CN113874866A (zh) 传感器模型的生成方法和系统、传感器测量方法和系统
Römgens et al. Robust Damage Detection and Localization Under Varying Environmental Conditions Using Neural Networks and Input‐Residual Correlations
CN118229271B (zh) 用于核电安全级设备的寿命评估方法、装置、设备及介质
Gaol et al. Software testing model by measuring the level of accuracy fault output using neural network algorithm
JP2021110977A (ja) 診断装置、診断方法およびプログラム
JP2017062551A (ja) 品質基準算出装置及び品質基準算出方法
CN120742077B (zh) 一种集成芯片的故障检测方法及系统
KR102829006B1 (ko) 배터리 상태 진단 장치 및 방법
CN113297773B (zh) 一种结构损伤识别的不确定性定量分析方法及装置

Legal Events

Date Code Title Description
121 Ep: the epo has been informed by wipo that ep was designated in this application

Ref document number: 19868292

Country of ref document: EP

Kind code of ref document: A1

ENP Entry into the national phase

Ref document number: 20217008240

Country of ref document: KR

Kind code of ref document: A

122 Ep: pct application non-entry in european phase

Ref document number: 19868292

Country of ref document: EP

Kind code of ref document: A1

WWG Wipo information: grant in national office

Ref document number: 112019004928

Country of ref document: DE