WO2018199164A1 - 空気浄化システム - Google Patents

空気浄化システム Download PDF

Info

Publication number
WO2018199164A1
WO2018199164A1 PCT/JP2018/016795 JP2018016795W WO2018199164A1 WO 2018199164 A1 WO2018199164 A1 WO 2018199164A1 JP 2018016795 W JP2018016795 W JP 2018016795W WO 2018199164 A1 WO2018199164 A1 WO 2018199164A1
Authority
WO
WIPO (PCT)
Prior art keywords
air
room
carbon dioxide
space
purification system
Prior art date
Legal status (The legal status is an assumption and is not a legal conclusion. Google has not performed a legal analysis and makes no representation as to the accuracy of the status listed.)
Ceased
Application number
PCT/JP2018/016795
Other languages
English (en)
French (fr)
Japanese (ja)
Inventor
勝弥 梅本
輝雄 岸本
寿浩 奥村
Current Assignee (The listed assignees may be inaccurate. Google has not performed a legal analysis and makes no representation or warranty as to the accuracy of the list.)
Kawasaki Heavy Industries Ltd
Kawasaki Motors Ltd
Original Assignee
Kawasaki Heavy Industries Ltd
Kawasaki Jukogyo KK
Priority date (The priority date is an assumption and is not a legal conclusion. Google has not performed a legal analysis and makes no representation as to the accuracy of the date listed.)
Filing date
Publication date
Application filed by Kawasaki Heavy Industries Ltd, Kawasaki Jukogyo KK filed Critical Kawasaki Heavy Industries Ltd
Priority to US16/608,885 priority Critical patent/US11413573B2/en
Priority to CN201880025138.3A priority patent/CN110494696B/zh
Publication of WO2018199164A1 publication Critical patent/WO2018199164A1/ja
Anticipated expiration legal-status Critical
Ceased legal-status Critical Current

Links

Images

Classifications

    • BPERFORMING OPERATIONS; TRANSPORTING
    • B01PHYSICAL OR CHEMICAL PROCESSES OR APPARATUS IN GENERAL
    • B01DSEPARATION
    • B01D53/00Separation of gases or vapours; Recovering vapours of volatile solvents from gases; Chemical or biological purification of waste gases, e.g. engine exhaust gases, smoke, fumes, flue gases, aerosols
    • B01D53/22Separation of gases or vapours; Recovering vapours of volatile solvents from gases; Chemical or biological purification of waste gases, e.g. engine exhaust gases, smoke, fumes, flue gases, aerosols by diffusion
    • FMECHANICAL ENGINEERING; LIGHTING; HEATING; WEAPONS; BLASTING
    • F24HEATING; RANGES; VENTILATING
    • F24FAIR-CONDITIONING; AIR-HUMIDIFICATION; VENTILATION; USE OF AIR CURRENTS FOR SCREENING
    • F24F3/00Air-conditioning systems in which conditioned primary air is supplied from one or more central stations to distributing units in the rooms or spaces where it may receive secondary treatment; Apparatus specially designed for such systems
    • F24F3/12Air-conditioning systems in which conditioned primary air is supplied from one or more central stations to distributing units in the rooms or spaces where it may receive secondary treatment; Apparatus specially designed for such systems characterised by the treatment of the air otherwise than by heating and cooling
    • F24F3/14Air-conditioning systems in which conditioned primary air is supplied from one or more central stations to distributing units in the rooms or spaces where it may receive secondary treatment; Apparatus specially designed for such systems characterised by the treatment of the air otherwise than by heating and cooling by humidification; by dehumidification
    • F24F3/147Air-conditioning systems in which conditioned primary air is supplied from one or more central stations to distributing units in the rooms or spaces where it may receive secondary treatment; Apparatus specially designed for such systems characterised by the treatment of the air otherwise than by heating and cooling by humidification; by dehumidification with both heat and humidity transfer between supplied and exhausted air
    • FMECHANICAL ENGINEERING; LIGHTING; HEATING; WEAPONS; BLASTING
    • F24HEATING; RANGES; VENTILATING
    • F24FAIR-CONDITIONING; AIR-HUMIDIFICATION; VENTILATION; USE OF AIR CURRENTS FOR SCREENING
    • F24F7/00Ventilation
    • F24F7/003Ventilation in combination with air cleaning
    • FMECHANICAL ENGINEERING; LIGHTING; HEATING; WEAPONS; BLASTING
    • F24HEATING; RANGES; VENTILATING
    • F24FAIR-CONDITIONING; AIR-HUMIDIFICATION; VENTILATION; USE OF AIR CURRENTS FOR SCREENING
    • F24F7/00Ventilation
    • F24F7/04Ventilation with ducting systems, e.g. by double walls; with natural circulation
    • F24F7/06Ventilation with ducting systems, e.g. by double walls; with natural circulation with forced air circulation, e.g. by fan positioning of a ventilator in or against a conduit
    • F24F7/08Ventilation with ducting systems, e.g. by double walls; with natural circulation with forced air circulation, e.g. by fan positioning of a ventilator in or against a conduit with separate ducts for supplied and exhausted air with provisions for reversal of the input and output systems
    • BPERFORMING OPERATIONS; TRANSPORTING
    • B01PHYSICAL OR CHEMICAL PROCESSES OR APPARATUS IN GENERAL
    • B01DSEPARATION
    • B01D53/00Separation of gases or vapours; Recovering vapours of volatile solvents from gases; Chemical or biological purification of waste gases, e.g. engine exhaust gases, smoke, fumes, flue gases, aerosols
    • B01D53/22Separation of gases or vapours; Recovering vapours of volatile solvents from gases; Chemical or biological purification of waste gases, e.g. engine exhaust gases, smoke, fumes, flue gases, aerosols by diffusion
    • B01D2053/221Devices
    • BPERFORMING OPERATIONS; TRANSPORTING
    • B01PHYSICAL OR CHEMICAL PROCESSES OR APPARATUS IN GENERAL
    • B01DSEPARATION
    • B01D2257/00Components to be removed
    • B01D2257/50Carbon oxides
    • B01D2257/504Carbon dioxide
    • BPERFORMING OPERATIONS; TRANSPORTING
    • B01PHYSICAL OR CHEMICAL PROCESSES OR APPARATUS IN GENERAL
    • B01DSEPARATION
    • B01D2258/00Sources of waste gases
    • B01D2258/06Polluted air
    • BPERFORMING OPERATIONS; TRANSPORTING
    • B01PHYSICAL OR CHEMICAL PROCESSES OR APPARATUS IN GENERAL
    • B01DSEPARATION
    • B01D2259/00Type of treatment
    • B01D2259/45Gas separation or purification devices adapted for specific applications
    • B01D2259/4508Gas separation or purification devices adapted for specific applications for cleaning air in buildings
    • FMECHANICAL ENGINEERING; LIGHTING; HEATING; WEAPONS; BLASTING
    • F24HEATING; RANGES; VENTILATING
    • F24FAIR-CONDITIONING; AIR-HUMIDIFICATION; VENTILATION; USE OF AIR CURRENTS FOR SCREENING
    • F24F3/00Air-conditioning systems in which conditioned primary air is supplied from one or more central stations to distributing units in the rooms or spaces where it may receive secondary treatment; Apparatus specially designed for such systems
    • F24F3/12Air-conditioning systems in which conditioned primary air is supplied from one or more central stations to distributing units in the rooms or spaces where it may receive secondary treatment; Apparatus specially designed for such systems characterised by the treatment of the air otherwise than by heating and cooling
    • F24F3/14Air-conditioning systems in which conditioned primary air is supplied from one or more central stations to distributing units in the rooms or spaces where it may receive secondary treatment; Apparatus specially designed for such systems characterised by the treatment of the air otherwise than by heating and cooling by humidification; by dehumidification
    • F24F2003/1435Air-conditioning systems in which conditioned primary air is supplied from one or more central stations to distributing units in the rooms or spaces where it may receive secondary treatment; Apparatus specially designed for such systems characterised by the treatment of the air otherwise than by heating and cooling by humidification; by dehumidification comprising semi-permeable membrane
    • FMECHANICAL ENGINEERING; LIGHTING; HEATING; WEAPONS; BLASTING
    • F24HEATING; RANGES; VENTILATING
    • F24FAIR-CONDITIONING; AIR-HUMIDIFICATION; VENTILATION; USE OF AIR CURRENTS FOR SCREENING
    • F24F2110/00Control inputs relating to air properties
    • F24F2110/50Air quality properties
    • F24F2110/65Concentration of specific substances or contaminants
    • F24F2110/70Carbon dioxide
    • YGENERAL TAGGING OF NEW TECHNOLOGICAL DEVELOPMENTS; GENERAL TAGGING OF CROSS-SECTIONAL TECHNOLOGIES SPANNING OVER SEVERAL SECTIONS OF THE IPC; TECHNICAL SUBJECTS COVERED BY FORMER USPC CROSS-REFERENCE ART COLLECTIONS [XRACs] AND DIGESTS
    • Y02TECHNOLOGIES OR APPLICATIONS FOR MITIGATION OR ADAPTATION AGAINST CLIMATE CHANGE
    • Y02BCLIMATE CHANGE MITIGATION TECHNOLOGIES RELATED TO BUILDINGS, e.g. HOUSING, HOUSE APPLIANCES OR RELATED END-USER APPLICATIONS
    • Y02B30/00Energy efficient heating, ventilation or air conditioning [HVAC]
    • Y02B30/70Efficient control or regulation technologies, e.g. for control of refrigerant flow, motor or heating

Definitions

  • the present invention relates to an air purification system that purifies air in a room.
  • Ventilation is carried out for rooms that accommodate people in buildings and transport equipment in order to suppress the increase in carbon dioxide concentration.
  • the room is provided with an air conditioner for heating or cooling.
  • the ventilation volume for suppressing the above-mentioned increase in carbon dioxide concentration is relatively large, so the load on the air conditioner increases accordingly.
  • Patent Document 1 discloses an air purification system mounted on a railway vehicle.
  • a carbon dioxide removing device is provided in a circulation path for circulating the air in the room.
  • the carbon dioxide removing device includes a separation membrane that selectively permeates carbon dioxide.
  • the carbon dioxide removing device has a permeation side in order to give a pressure difference between the circulation path side of the separation membrane (one of the spaces partitioned by the separation membrane) and the permeation side (the other of the spaces partitioned by the separation membrane).
  • a vacuum pump for evacuating is connected.
  • an object of the present invention is to realize an air purification system that can purify air in a room without using a pump that performs vacuuming.
  • an air purification system of the present invention is an air purification system for purifying air in a room, and includes a first space and a second space partitioned by a separation membrane that selectively transmits carbon dioxide.
  • a carbon dioxide removing device including a space; a feed path that guides air in the room to the first space; a return path that guides clean air from which carbon dioxide has been removed from the first space to the room;
  • a pressure difference is generated in the partial pressure of carbon dioxide between the first space and the second space partitioned by the separation membrane.
  • the carbon dioxide in the air led to the first space selectively permeates the separation membrane. Therefore, the air in the room can be purified without using a pump that performs evacuation.
  • the sweep gas may be outside air.
  • the air purification system includes an air conditioner for heating and cooling provided in the room, the first ventilation path for supplying outside air to the room, and the second ventilation path for exhausting air in the room. And a heat exchanger that performs sensible heat exchange between the air flowing through the second ventilation path and the sweep gas flowing through the supply path. According to this configuration, since the temperature of the sweep gas supplied to the second space can be brought close to the temperature of the air in the room by sensible heat exchange in the heat exchanger, sensible heat exchange via the separation membrane can be performed. Can be suppressed.
  • the heat exchanger may perform not only sensible heat exchange but also latent heat exchange. According to this configuration, when the separation membrane allows not only carbon dioxide but also water vapor to pass therethrough, it is possible to prevent the humidity of the air in the room from changing before and after the removal of carbon dioxide.
  • the supply path may be branched from the return path, and the sweep gas may be clean air. According to this configuration, a part of the clean air flowing out from the carbon dioxide removing device is used as the sweep gas, so that the configuration can be simplified.
  • the air in the room can be purified without using a pump that performs evacuation.
  • FIG. 1 is a schematic configuration diagram of an air purification system according to a first embodiment of the present invention. It is a schematic block diagram of the air purification system which concerns on 2nd Embodiment of this invention. It is a schematic block diagram of the air purification system which concerns on 3rd Embodiment of this invention.
  • FIG. 1 shows an air purification system 1A according to the first embodiment of the present invention.
  • This air purification system 1A purifies the air in the room 2 that accommodates people.
  • the room 2 may be a room of a building such as an office building, or may be a room of transportation equipment such as a railway vehicle or an aircraft (so-called cabin).
  • the room 2 may be a space station, a submarine, a disaster evacuation facility, or the like.
  • the air purification system 1A includes a carbon dioxide removing device 4.
  • the carbon dioxide removing device 4 is arranged outside the room 2, but the carbon dioxide removing device 4 may be arranged inside the room 2.
  • the carbon dioxide removing device 4 includes a first space 41 and a second space 42 partitioned by a separation membrane 43.
  • the separation membrane 43 selectively transmits carbon dioxide from the first space 41 toward the second space 42.
  • the separation membrane 43 is a hollow fiber membrane.
  • many hollow fiber membranes may comprise one membrane module, and the carbon dioxide removal apparatus 4 may contain many membrane modules.
  • the separation membrane 43 is a hollow fiber membrane, the inside of the hollow fiber membrane is the first space 41 and the outside of the hollow fiber membrane is the second space 42.
  • Air in the room 2 is guided to the first space 41 of the carbon dioxide removal device 4 through the feed path 51, and clean air from which carbon dioxide has been removed is guided to the room 2 through the return path 52 from the first space 41. It is burned.
  • the blower 53 is provided in the feed path 51, but the blower 53 may be provided in the return path 52.
  • the blower 53 may be a blower or a fan (the same applies to a blower described later).
  • the sweep gas is guided to the second space 42 of the carbon dioxide removal device 4 through the supply path 61.
  • the sweep gas has a lower partial pressure of carbon dioxide than the air in the room 2.
  • the sweep gas is the outside air that is the atmosphere outside the room 2. That is, the upstream end of the supply path 61 is open to the atmosphere.
  • the partial pressure of carbon dioxide is about 0.1 kPa.
  • the carbon dioxide partial pressure is about 0.04 kPa.
  • the sweep gas mixed with carbon dioxide that has permeated through the separation membrane 43 is discharged from the second space 42 to the atmosphere through the discharge path 62. That is, the downstream end of the discharge path 62 is open to the atmosphere.
  • the blower 63 is provided in the supply path 61, but the blower 63 may be provided in the discharge path 62.
  • the room 2 is provided with an air conditioner 3 for heating and cooling.
  • the room 2 is connected to a first ventilation path 71 and a second ventilation path 72.
  • Blowers 73 and 74 are provided in the first ventilation path 71 and the second ventilation path 72, respectively.
  • a pressure difference occurs in the partial pressure of carbon dioxide between the first space 41 and the second space 42 partitioned by the separation membrane 43.
  • carbon dioxide in the air guided to the first space 41 selectively permeates the separation membrane 43. Therefore, the air in the room 2 can be purified without using a pump that performs evacuation.
  • FIG. 2 shows an air purification system 1B according to the second embodiment of the present invention.
  • the same components as those in the first embodiment are denoted by the same reference numerals, and redundant description is omitted.
  • the air purification system 1B of the present embodiment is obtained by adding a first heat exchanger 81 and a second heat exchanger 82 to the air purification system 1A of the first embodiment.
  • the first heat exchanger 81 performs sensible heat exchange between the air flowing through the second ventilation path 72 and the sweep gas (outside air) flowing through the supply path 61.
  • the second heat exchanger 82 performs sensible heat exchange between the outside air flowing through the first ventilation path 71 and the sweep gas flowing through the discharge path 62.
  • the same effect as in the first embodiment can be obtained.
  • the temperature of the sweep gas supplied to the second space 42 can be brought close to the temperature of the air in the room 2 by sensible heat exchange in the first heat exchanger 81, and thus the separation membrane 43.
  • the sensible heat exchange via can be suppressed.
  • the outside air supplied to the room 2 through the first ventilation path 71 can be heated or cooled in advance by sensible heat exchange in the second heat exchanger 82.
  • the first heat exchanger 81 desirably performs not only sensible heat exchange but also latent heat exchange.
  • the separation membrane 43 allows not only carbon dioxide but also water vapor to pass therethrough, it is possible to prevent the humidity of the air in the room 2 from changing before and after the removal of carbon dioxide.
  • latent heat exchange is movement of water vapor from a high humidity side to a low humidity side.
  • the first heat exchanger 81 may be a total heat exchanger or a combination of a latent heat exchange membrane (water vapor permeable membrane) and a sensible heat exchanger.
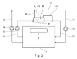
  • FIG. 3 shows an air purification system 1C according to a third embodiment of the present invention.
  • the upstream end of the supply path 61 is not open to the atmosphere but is connected to the return path 52. That is, the supply path 61 branches from the return path 52, and the sweep gas is clean air from which carbon dioxide has been removed.
  • the present invention is not limited to the above-described embodiments, and various modifications can be made without departing from the gist of the present invention.
  • the air conditioner 3 is not necessarily provided in the room 2.

Landscapes

  • Engineering & Computer Science (AREA)
  • Chemical & Material Sciences (AREA)
  • Combustion & Propulsion (AREA)
  • Mechanical Engineering (AREA)
  • General Engineering & Computer Science (AREA)
  • Analytical Chemistry (AREA)
  • General Chemical & Material Sciences (AREA)
  • Oil, Petroleum & Natural Gas (AREA)
  • Chemical Kinetics & Catalysis (AREA)
  • Separation Using Semi-Permeable Membranes (AREA)
  • Central Air Conditioning (AREA)
PCT/JP2018/016795 2017-04-27 2018-04-25 空気浄化システム Ceased WO2018199164A1 (ja)

Priority Applications (2)

Application Number Priority Date Filing Date Title
US16/608,885 US11413573B2 (en) 2017-04-27 2018-04-25 Air purifying system
CN201880025138.3A CN110494696B (zh) 2017-04-27 2018-04-25 空气净化系统

Applications Claiming Priority (2)

Application Number Priority Date Filing Date Title
JP2017-087807 2017-04-27
JP2017087807A JP6970522B2 (ja) 2017-04-27 2017-04-27 空気浄化システム

Publications (1)

Publication Number Publication Date
WO2018199164A1 true WO2018199164A1 (ja) 2018-11-01

Family

ID=63918415

Family Applications (1)

Application Number Title Priority Date Filing Date
PCT/JP2018/016795 Ceased WO2018199164A1 (ja) 2017-04-27 2018-04-25 空気浄化システム

Country Status (4)

Country Link
US (1) US11413573B2 (enExample)
JP (1) JP6970522B2 (enExample)
CN (1) CN110494696B (enExample)
WO (1) WO2018199164A1 (enExample)

Families Citing this family (4)

* Cited by examiner, † Cited by third party
Publication number Priority date Publication date Assignee Title
JP6609386B1 (ja) 2019-02-05 2019-11-20 川崎重工業株式会社 空気浄化システム
JP7773852B2 (ja) * 2020-11-10 2025-11-20 日産自動車株式会社 車両用空調方法及び車両用空調システム
CN114923246A (zh) * 2022-01-22 2022-08-19 上海交大高新技术股份有限公司 一种建筑内空间节能新风循环系统
JP2024047604A (ja) * 2022-09-27 2024-04-08 パナソニックIpマネジメント株式会社 Co2分離システム

Citations (4)

* Cited by examiner, † Cited by third party
Publication number Priority date Publication date Assignee Title
JPH0361198A (ja) * 1989-07-29 1991-03-15 Shimadzu Corp 航空機用空気再生装置
WO2008136215A1 (ja) * 2007-04-26 2008-11-13 C'stec Corporation クリーンユニット、クリーンユニットの運転方法および連結クリーンユニット
JP2010120496A (ja) * 2008-11-19 2010-06-03 Denso Corp 車両用空気清浄装置および車両用空調装置
US20130074688A1 (en) * 2010-02-02 2013-03-28 Generon Igs, Inc. Sweep gas for membrane-based dehydration modules

Family Cites Families (18)

* Cited by examiner, † Cited by third party
Publication number Priority date Publication date Assignee Title
JP2800175B2 (ja) * 1986-07-21 1998-09-21 株式会社島津製作所 航空機用空気調和装置
JP2001239125A (ja) * 2000-03-01 2001-09-04 Nabco Ltd 中空糸膜式除湿装置
JP2003025991A (ja) 2001-07-13 2003-01-29 Hitachi Ltd 換気装置
JP5039293B2 (ja) 2005-09-28 2012-10-03 川崎重工業株式会社 炭酸ガス除去設備
US20080011160A1 (en) * 2006-07-17 2008-01-17 General Electric Company Carbon dioxide capture systems and methods
JP5383146B2 (ja) * 2007-10-29 2014-01-08 信越ポリマー株式会社 非対称膜及びこれを用いた空調システム
TWI541478B (zh) * 2009-10-27 2016-07-11 Seibu Giken Kk Air conditioning unit
JP2011247566A (ja) 2010-05-31 2011-12-08 Seibu Giken Co Ltd デシカント空調機
JP2012032138A (ja) * 2010-06-30 2012-02-16 Denso Corp 換気装置
WO2012151429A1 (en) * 2011-05-03 2012-11-08 University Of Mississippi Dehumidification, dehydration, or drying of uncompressed gases using water selective membranes and a portion of the retentate as a vacuum permeate sweep
JP5849889B2 (ja) * 2011-08-02 2016-02-03 株式会社デンソー 空調システム
JP6245607B2 (ja) * 2012-02-06 2017-12-13 株式会社ルネッサンス・エナジー・リサーチ Co2選択透過膜、co2を混合ガスから分離する方法、及び膜分離装置
US9597632B2 (en) * 2012-02-06 2017-03-21 Renaissance Energy Research Corporation Selectively CO 2-permeable membrane, method for separating CO2 from mixed gas, and membrane separation equipment
CN108096991A (zh) * 2012-05-22 2018-06-01 恩沃德系统公司 对室内空气的洗涤的吸附剂的高效利用
US9950290B2 (en) * 2012-07-18 2018-04-24 Enverid Systems, Inc. Systems and methods for regenerating adsorbents for indoor air scrubbing
JP6490388B2 (ja) * 2014-10-21 2019-03-27 国立大学法人神戸大学 アミノ酸イオン性液体含有相互侵入網目構造体及びその製造方法
JP6652806B2 (ja) 2015-10-13 2020-02-26 清水建設株式会社 空調システム
JP6555489B2 (ja) * 2017-04-17 2019-08-07 シーズテック株式会社 ガス交換装置

Patent Citations (4)

* Cited by examiner, † Cited by third party
Publication number Priority date Publication date Assignee Title
JPH0361198A (ja) * 1989-07-29 1991-03-15 Shimadzu Corp 航空機用空気再生装置
WO2008136215A1 (ja) * 2007-04-26 2008-11-13 C'stec Corporation クリーンユニット、クリーンユニットの運転方法および連結クリーンユニット
JP2010120496A (ja) * 2008-11-19 2010-06-03 Denso Corp 車両用空気清浄装置および車両用空調装置
US20130074688A1 (en) * 2010-02-02 2013-03-28 Generon Igs, Inc. Sweep gas for membrane-based dehydration modules

Also Published As

Publication number Publication date
JP2018185115A (ja) 2018-11-22
CN110494696A (zh) 2019-11-22
CN110494696B (zh) 2022-04-29
US11413573B2 (en) 2022-08-16
JP6970522B2 (ja) 2021-11-24
US20200086269A1 (en) 2020-03-19

Similar Documents

Publication Publication Date Title
WO2018199165A1 (ja) 空気浄化システム
WO2018199164A1 (ja) 空気浄化システム
CN100379486C (zh) 降低空气中二氧化碳浓度的方法和设备
EP2782657B1 (en) Distributed building-integrated carbon dioxide extraction system reducing fresh air requirements
US20140211531A1 (en) Liquid cooling type power conversion apparatus and railway vehicle
MX2024014574A (es) Sistema de captura directa de aire con panel movil de alto rendimiento
US11325064B2 (en) Device and method to dry a damp compressed gas and a compressor installation provided with such a device
US20200031501A1 (en) Systems and methods for air revitalization
JP2018502303A5 (enExample)
US11534722B2 (en) Gas separation apparatus and gas separation method
WO2021117260A1 (ja) ガス除去濃縮装置
JP2025039798A (ja) 二酸化炭素回収システム
JP6609386B1 (ja) 空気浄化システム
JP4810748B2 (ja) 除湿システム
JP2003089508A (ja) オゾン発生システム
JP2006284087A (ja) 空気浄化装置
JP2008111643A (ja) エンジン廃熱利用液体デシカント装置
JP2008111644A (ja) エアコン廃熱利用液体デシカント装置
JP6746434B2 (ja) 空気調和装置
CN102678158B (zh) 一种用于密闭空间的co2温湿度调节与空气净化系统
JP2009243791A (ja) 空調機および空調方法
JP2003212516A (ja) オゾン発生装置
JP2006329613A (ja) 空気加湿方法及びその装置
JP2025001702A (ja) 二酸化炭素分離システム及び二酸化炭素分離方法
TH1801004500A (th) อุปกรณ์ปรับอากาศระบายอากาศ

Legal Events

Date Code Title Description
121 Ep: the epo has been informed by wipo that ep was designated in this application

Ref document number: 18791156

Country of ref document: EP

Kind code of ref document: A1

NENP Non-entry into the national phase

Ref country code: DE

122 Ep: pct application non-entry in european phase

Ref document number: 18791156

Country of ref document: EP

Kind code of ref document: A1