WO2018173924A1 - アクチュエータ、押圧装置および鍵盤装置 - Google Patents

アクチュエータ、押圧装置および鍵盤装置 Download PDF

Info

Publication number
WO2018173924A1
WO2018173924A1 PCT/JP2018/010264 JP2018010264W WO2018173924A1 WO 2018173924 A1 WO2018173924 A1 WO 2018173924A1 JP 2018010264 W JP2018010264 W JP 2018010264W WO 2018173924 A1 WO2018173924 A1 WO 2018173924A1
Authority
WO
WIPO (PCT)
Prior art keywords
line
key
center point
hammer
actuator
Prior art date
Legal status (The legal status is an assumption and is not a legal conclusion. Google has not performed a legal analysis and makes no representation as to the accuracy of the status listed.)
Ceased
Application number
PCT/JP2018/010264
Other languages
English (en)
French (fr)
Japanese (ja)
Inventor
山本 信
Current Assignee (The listed assignees may be inaccurate. Google has not performed a legal analysis and makes no representation or warranty as to the accuracy of the list.)
Yamaha Corp
Original Assignee
Yamaha Corp
Priority date (The priority date is an assumption and is not a legal conclusion. Google has not performed a legal analysis and makes no representation as to the accuracy of the date listed.)
Filing date
Publication date
Application filed by Yamaha Corp filed Critical Yamaha Corp
Priority to US16/494,868 priority Critical patent/US10891929B2/en
Publication of WO2018173924A1 publication Critical patent/WO2018173924A1/ja
Anticipated expiration legal-status Critical
Ceased legal-status Critical Current

Links

Images

Classifications

    • GPHYSICS
    • G10MUSICAL INSTRUMENTS; ACOUSTICS
    • G10CPIANOS, HARPSICHORDS, SPINETS OR SIMILAR STRINGED MUSICAL INSTRUMENTS WITH ONE OR MORE KEYBOARDS
    • G10C3/00Details or accessories
    • G10C3/12Keyboards; Keys
    • GPHYSICS
    • G10MUSICAL INSTRUMENTS; ACOUSTICS
    • G10HELECTROPHONIC MUSICAL INSTRUMENTS; INSTRUMENTS IN WHICH THE TONES ARE GENERATED BY ELECTROMECHANICAL MEANS OR ELECTRONIC GENERATORS, OR IN WHICH THE TONES ARE SYNTHESISED FROM A DATA STORE
    • G10H1/00Details of electrophonic musical instruments
    • G10H1/32Constructional details
    • G10H1/34Switch arrangements, e.g. keyboards or mechanical switches specially adapted for electrophonic musical instruments
    • GPHYSICS
    • G10MUSICAL INSTRUMENTS; ACOUSTICS
    • G10BORGANS, HARMONIUMS OR SIMILAR WIND MUSICAL INSTRUMENTS WITH ASSOCIATED BLOWING APPARATUS
    • G10B3/00Details or accessories
    • G10B3/12Keys or keyboards; Manuals
    • GPHYSICS
    • G10MUSICAL INSTRUMENTS; ACOUSTICS
    • G10CPIANOS, HARPSICHORDS, SPINETS OR SIMILAR STRINGED MUSICAL INSTRUMENTS WITH ONE OR MORE KEYBOARDS
    • G10C3/00Details or accessories
    • G10C3/16Actions
    • G10C3/18Hammers
    • GPHYSICS
    • G10MUSICAL INSTRUMENTS; ACOUSTICS
    • G10HELECTROPHONIC MUSICAL INSTRUMENTS; INSTRUMENTS IN WHICH THE TONES ARE GENERATED BY ELECTROMECHANICAL MEANS OR ELECTRONIC GENERATORS, OR IN WHICH THE TONES ARE SYNTHESISED FROM A DATA STORE
    • G10H1/00Details of electrophonic musical instruments
    • G10H1/02Means for controlling the tone frequencies, e.g. attack or decay; Means for producing special musical effects, e.g. vibratos or glissandos
    • G10H1/04Means for controlling the tone frequencies, e.g. attack or decay; Means for producing special musical effects, e.g. vibratos or glissandos by additional modulation
    • G10H1/053Means for controlling the tone frequencies, e.g. attack or decay; Means for producing special musical effects, e.g. vibratos or glissandos by additional modulation during execution only
    • GPHYSICS
    • G10MUSICAL INSTRUMENTS; ACOUSTICS
    • G10HELECTROPHONIC MUSICAL INSTRUMENTS; INSTRUMENTS IN WHICH THE TONES ARE GENERATED BY ELECTROMECHANICAL MEANS OR ELECTRONIC GENERATORS, OR IN WHICH THE TONES ARE SYNTHESISED FROM A DATA STORE
    • G10H1/00Details of electrophonic musical instruments
    • G10H1/18Selecting circuits
    • GPHYSICS
    • G10MUSICAL INSTRUMENTS; ACOUSTICS
    • G10HELECTROPHONIC MUSICAL INSTRUMENTS; INSTRUMENTS IN WHICH THE TONES ARE GENERATED BY ELECTROMECHANICAL MEANS OR ELECTRONIC GENERATORS, OR IN WHICH THE TONES ARE SYNTHESISED FROM A DATA STORE
    • G10H1/00Details of electrophonic musical instruments
    • G10H1/32Constructional details
    • G10H1/34Switch arrangements, e.g. keyboards or mechanical switches specially adapted for electrophonic musical instruments
    • G10H1/344Structural association with individual keys
    • G10H1/346Keys with an arrangement for simulating the feeling of a piano key, e.g. using counterweights, springs, cams
    • GPHYSICS
    • G10MUSICAL INSTRUMENTS; ACOUSTICS
    • G10HELECTROPHONIC MUSICAL INSTRUMENTS; INSTRUMENTS IN WHICH THE TONES ARE GENERATED BY ELECTROMECHANICAL MEANS OR ELECTRONIC GENERATORS, OR IN WHICH THE TONES ARE SYNTHESISED FROM A DATA STORE
    • G10H2220/00Input/output interfacing specifically adapted for electrophonic musical tools or instruments
    • G10H2220/155User input interfaces for electrophonic musical instruments
    • G10H2220/265Key design details; Special characteristics of individual keys of a keyboard; Key-like musical input devices, e.g. finger sensors, pedals, potentiometers, selectors
    • G10H2220/275Switching mechanism or sensor details of individual keys, e.g. details of key contacts, hall effect or piezoelectric sensors used for key position or movement sensing purposes; Mounting thereof
    • G10H2220/285Switching mechanism or sensor details of individual keys, e.g. details of key contacts, hall effect or piezoelectric sensors used for key position or movement sensing purposes; Mounting thereof with three contacts, switches or sensor triggering levels along the key kinematic path

Definitions

  • the present disclosure relates to an actuator, a pressing device, and a keyboard device.
  • a predetermined feeling (hereinafter referred to as touch feeling) is given to a player's finger through a key by the action of an action mechanism.
  • an action mechanism is required for key pressing with a hammer.
  • an electronic keyboard instrument a key depression is detected by a sensor, so that sound generation is possible without having an action mechanism such as an acoustic piano.
  • the touch feeling of an electronic keyboard instrument that does not use an action mechanism and an electronic keyboard instrument that uses a simple action mechanism are greatly different from the touch feeling of an acoustic piano. Therefore, a technique for providing a mechanism corresponding to a hammer in an acoustic piano in order to obtain a touch feeling close to that of an acoustic piano in an electronic keyboard instrument has been disclosed (for example, Patent Document 1).
  • the hammer moves in accordance with the player's key press operation, and a sound is emitted when the sensor is pressed.
  • it is sufficient to always apply a force to the key in the vertical direction but the force is not always applied only in the vertical direction, such as when the key is far away from the performer or when the key is strongly pressed.
  • a force is applied by shifting laterally with respect to the key as viewed from the person.
  • the hammer moves in parallel with the key arrangement direction (sometimes referred to as the scale direction), or the hammer is fixed.
  • the surface rotates around the place as a fulcrum.
  • the sensor does not operate stably, and there is a possibility that sound generation failure may occur.
  • the above problem may occur even when the key directly presses the sensor in a keyboard device in which the hammer does not press the sensor (or does not use the hammer), and sound generation failure tends to occur.
  • the said problem will generate
  • One of the purposes of the present disclosure is to enable a player to generate a reaction force stably.
  • one of the objects of the present disclosure is to enable a player to emit a sound stably.
  • the actuator according to the present disclosure includes a rotation shaft and a convex portion forming surface on which a convex portion arranged to extend is formed, and the first portion of the convex portion in the plan view of the convex portion forming surface.
  • the portion passes through the center point of the pivot shaft, is perpendicular to a parallel line parallel to the direction in which the pivot shaft extends, passes through the center point of the first portion, and passes through the center point of the first portion.
  • An angle formed by a second line that is perpendicular and passes through a vertical line passing through the center point of the rotation axis is ⁇ 1, and the first line, the center point of the rotation axis, and the center point of the first part 0 ⁇ 1 ⁇ 2 where ⁇ 1 is the angle formed by the third line from the center point of the first portion connecting to the center point of the rotation axis It is configured to satisfy the relationship of ⁇ 1.
  • the angle ⁇ 1 may be ⁇ 1 ⁇ 90 °.
  • the convex portion further includes a second portion, is perpendicular to the parallel line, passes through a central point of the second portion, and extends from the central point of the second portion toward the parallel line.
  • the angle ⁇ 2 formed by the four lines and the fifth line that is perpendicular to the direction in which the second portion extends and passes through the center point of the second portion and toward the parallel line or the vertical line is: It may be larger than the angle ⁇ 1.
  • the convex portion may be arranged in an arc shape with respect to the center point of the rotation axis.
  • a plurality of the convex portions are provided, and a first convex portion that is one of the plurality of convex portions is one other than the first convex portion among the plurality of convex portions.
  • the first convex portion may be disposed closer to the rotation axis than the second convex portion, and the curvature radius of the first convex portion may be smaller than the curvature radius of the second convex portion.
  • the actuator may have a rotation center and a projection forming surface on which a projection including an arc is formed.
  • the center of the arc may be arranged at the same position as the rotation center.
  • a pressing device includes the actuator and a movable member pressed by the actuator, and the movable member includes an elastic material.
  • the pressure device may be a reaction force generator.
  • the switching device may be a switching device.
  • the keyboard device includes the pressing device, and the actuator is a hammer.
  • a keyboard device includes the pressing device, and the actuator is a key.
  • a keyboard device includes the pressing device, and the actuator is an interlocking member that interlocks with a key or a hammer.
  • the performer can stably generate a reaction force. Moreover, according to this indication, a player can emit a sound stably.
  • FIG. 1 is a diagram illustrating a configuration of a keyboard device according to the present embodiment.
  • the keyboard device 1 is an electronic keyboard instrument that emits sound in response to a user (player) key depression such as an electronic piano.
  • the keyboard device 1 may be a keyboard-type controller that outputs control data (for example, MIDI) for controlling an external sound source device in response to a key depression.
  • the keyboard device 1 may not include the sound source device.
  • the keyboard device 1 includes a keyboard assembly 10.
  • the keyboard assembly 10 includes a white key 100w and a black key 100b.
  • a plurality of white keys 100w and black keys 100b are arranged side by side.
  • the number of keys 100 is N, which is 88 in this example. This arranged direction is called a scale direction.
  • the white key 100w and the black key 100b can be described without particular distinction, the key 100 may be referred to.
  • w is added to the end of the reference sign, it means that the configuration corresponds to the white key.
  • “b” is added at the end of the code, it means that the configuration corresponds to the black key.
  • a part of the keyboard assembly 10 exists inside the housing 90.
  • a portion of the keyboard assembly 10 covered by the casing 90 is referred to as a non-appearance portion NV, and a portion exposed from the casing 90 and visible to the user is referred to as an appearance portion PV.
  • the appearance part PV is a part of the key 100 and indicates an area where the user can perform a performance operation.
  • a portion of the key 100 that is exposed by the appearance portion PV may be referred to as a key body portion.
  • a sound source device 70 and a speaker 80 are arranged inside the housing 90.
  • the tone generator 70 generates a sound waveform signal when the key 100 is pressed.
  • the speaker 80 outputs the sound waveform signal generated in the sound source device 70 to an external space.
  • the keyboard device 1 may be provided with a slider for controlling the volume, a switch for switching timbres, a display for displaying various information, and the like.
  • directions such as up, down, left, right, front, and back indicate directions when the keyboard device 1 is viewed from the performer when performing. Therefore, for example, the non-appearance part NV can be expressed as being located on the back side with respect to the appearance part PV. Further, the direction may be indicated with the key 100 as a reference, such as the front end side (key front side) and the rear end side (key rear side). In this case, the key front end side indicates the front side as viewed from the performer with respect to the key 100. The rear end side of the key indicates the back side viewed from the performer with respect to the key 100.
  • the black key 100b can be expressed as a portion protruding upward from the white key 100w from the front end to the rear end of the key body of the black key 100b.
  • a direction D1 in FIG. 1 is a direction from the front to the rear, and can be referred to as the front-rear direction D1.
  • the direction D2 is a direction (scale direction) in which a plurality of keys 100 are arranged, and can be referred to as a left-right direction D2 in FIG.
  • FIG. 2 is a block diagram showing the configuration of the sound source device in the present embodiment.
  • the sound source device 70 includes a signal conversion unit 710, a sound source unit 730, and an output unit 750.
  • the sensor 300 is provided corresponding to each key 100, detects a key operation, and outputs a signal corresponding to the detected content. In this example, the sensor 300 outputs a signal according to the key depression amount in three stages. The key pressing speed can be detected according to the interval of this signal.
  • the signal conversion unit 710 acquires the output signal of the sensor 300 (sensors 300-1, 300-2,..., 300-88 corresponding to the 88 key 100), and operates according to the operation state of each key 100. Generate and output a signal.
  • the operation signal is a MIDI signal. Therefore, the signal conversion unit 710 outputs note-on according to the key pressing operation. At this time, the key number indicating which of the 88 keys 100 has been operated and the velocity corresponding to the key pressing speed are also output in association with the note-on.
  • the signal conversion unit 710 outputs the key number and note-off in association with each other.
  • a signal corresponding to another operation such as a pedal may be input to the signal conversion unit 710 and reflected in the operation signal.
  • the sound source unit 730 generates a sound waveform signal based on the operation signal output from the signal conversion unit 710.
  • the output unit 750 outputs the sound waveform signal generated by the sound source unit 730. This sound waveform signal is output to, for example, the speaker 80 or the sound waveform signal output terminal.
  • the configuration of the keyboard assembly 10 will be described below.
  • FIG. 3 is an explanatory diagram when the internal structure of the housing in the present embodiment is viewed from the side of the keyboard.
  • the keyboard assembly 10 and the speaker 80 are arranged inside the housing 90. That is, the housing 90 covers at least a part of the keyboard assembly 10 (the connection portion 180 and the frame 500) and the speaker 80.
  • the speaker 80 is disposed on the back side of the keyboard assembly 10.
  • the speaker 80 is arranged so as to output a sound corresponding to the key depression toward the upper side and the lower side of the housing 90. The sound output downward advances from the lower surface side of the housing 90 to the outside.
  • the sound output upward passes through the space inside the keyboard assembly 10 from the inside of the housing 90, and is externally transmitted from the gap between the adjacent keys 100 in the exterior portion PV or the gap between the key 100 and the housing 90.
  • the path of sound from the speaker 80 that reaches the space inside the keyboard assembly 10, that is, the space below the key 100 (key body portion) is exemplified as the path SR.
  • the keyboard assembly 10 includes a connection unit 180, a hammer assembly 200, and a frame 500 in addition to the key 100 described above.
  • the keyboard assembly 10 is a resin-made structure whose most configuration is manufactured by injection molding or the like.
  • the frame 500 is fixed to the housing 90.
  • the connection unit 180 connects the key 100 so as to be rotatable with respect to the frame 500.
  • the connecting portion 180 includes a plate-like flexible member 181, a key-side support portion 183, and a rod-like flexible member 185.
  • the plate-like flexible member 181 extends from the rear end of the key 100.
  • the key side support portion 183 extends from the rear end of the plate-like flexible member 181.
  • a rod-shaped flexible member 185 is supported by the key side support portion 183 and the frame side support portion 585 of the frame 500. That is, a rod-shaped flexible member 185 is disposed between the key 100 and the frame 500. The key 100 can be rotated with respect to the frame 500 by bending the rod-shaped flexible member 185.
  • the rod-shaped flexible member 185 is configured to be attachable to and detachable from the key side support portion 183 and the frame side support portion 585.
  • the rod-like flexible member 185 may be configured so as not to be attached or detached integrally with the key side support portion 183 and the frame side support portion 585, or by bonding or the like.
  • the key 100 includes a front end key guide 151 and a side key guide 153.
  • the front end key guide 151 is slidably in contact with the front end frame guide 511 of the frame 500.
  • the front end key guide 151 is in contact with the front end frame guide 511 on both sides of the upper and lower scale directions.
  • the side key guide 153 is slidably in contact with the side frame guide 513 on both sides in the scale direction.
  • the side key guide 153 is disposed in a region corresponding to the non-appearance portion NV on the side surface of the key 100, and exists on the key front end side with respect to the connection portion 180 (plate-like flexible member 181). You may arrange
  • the key 100 is connected to the key-side load unit 120 below the exterior portion PV.
  • the key-side load portion 120 is connected to the hammer assembly 200 so that the hammer assembly 200 is rotated when the key 100 is rotated.
  • the hammer assembly 200 is disposed in a space below the key 100 and is rotatably attached to the frame 500.
  • the hammer assembly 200 includes a weight part 230 and a hammer body part 250.
  • the hammer main body 250 is provided with a shaft support portion 220 that serves as a bearing for the rotation shaft 520 of the frame 500.
  • the shaft support portion 220 and the rotation shaft 520 of the frame 500 are slidably in contact with each other at at least three points.
  • the rotation shaft 520 is a shaft that protrudes from the frame 500 in the direction in which the plurality of keys 100 are arranged, that is, the direction D2 in FIG.
  • the central axis of the rotation shaft 520 is the central axis when the hammer main body 250 rotates around the rotation shaft 520 while being in contact with the rotation shaft 520 and the shaft support portion 220 (of the hammer main body 250.
  • the axis of rotation is the central axis when the hammer main body 250 rotates around the rotation shaft 520 while being in contact with the rotation shaft 520 and the shaft support portion 220 (of the hammer main body 250. The axis of rotation).
  • the hammer side load portion 210 is connected to the front end portion of the hammer main body portion 250.
  • the hammer side load portion 210 includes a portion that is slidably contacted in the front-rear direction inside the key side load portion 120.
  • a lubricant such as grease may be disposed on the contact portion.
  • the hammer-side load unit 210 and the key-side load unit 120 (in the following description, these may be collectively referred to as “load generation unit”) generate a part of the load when the key is pressed by sliding on each other. To do.
  • the load generating unit is located below the key 100 in the appearance portion PV (frontward from the rear end of the key body).
  • the weight portion 230 includes a metal weight, and is connected to the rear end portion of the hammer main body portion 250 (the back side from the rotation shaft). In a normal state (when no key is pressed), the weight portion 230 is placed on the lower stopper 410. As a result, the key 100 is stabilized at the rest position. When the key is depressed, the weight portion 230 moves upward and collides with the upper stopper 430. This defines the end position that is the maximum key depression amount of the key 100. The weight 230 also applies a load to the key press.
  • the lower stopper 410 and the upper stopper 430 are formed of a buffer material or the like (nonwoven fabric, elastic body, etc.).
  • the sensor 300 is attached to the frame 500 below the load generating unit.
  • the hammer-side load portion 210 When the hammer-side load portion 210 is rotated about the rotation shaft 520 by pressing the key and the sensor 300 is crushed, the sensor 300 outputs a detection signal. Therefore, the hammer side load unit 210, the key side load unit 120, and the sensor 300 may be collectively referred to as the pressing device 50. Further, as will be described later, when the switching operation is performed with the electrodes as in the sensor 300, the pressing device 50 can be called a switching device.
  • the pressing device 50 is not limited to this configuration. The configuration of the pressing device 50 will be described in detail below.
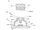
  • FIG. 4 is an enlarged cross-sectional view of the pressing device 50 shown in FIG.
  • FIG. 5 is a cross-sectional view of the key 100 as viewed from the front end side (D1 direction).
  • the hammer side load part 210 has a convex part 270 and a convex part forming surface 215 on which the convex part is formed.
  • the convex part 270 is arranged extending on the convex part forming surface 215.
  • a plurality of convex portions 270 are provided.
  • tip part 270a of the convex part 270 may have roundness.
  • the sensor 300 includes an upper electrode 310, a lower electrode 320, an upper electrode support portion 330, a deformation portion 340, and a lower electrode support portion 350.
  • the upper electrode 310 is provided on the lower surface 330B of the upper electrode support 330.
  • the upper electrode 310 is formed of an elastic body, and a conductive portion is provided at the tip portion 310A.
  • molded silicone rubber is used for the upper electrode 310, and conductive carbon black is used for the tip portion 310A as a conductor.
  • the lower electrode 320 is disposed on the upper surface side of the lower electrode support portion 350 so as to face the upper electrode 310.
  • the lower electrode 320 includes a conductor.
  • the lower electrode 320 is made of a metal material such as gold, silver, copper, or platinum, or a conductive resin such as conductive carbon black.
  • the deformation part 340 is disposed so as to connect the upper electrode support part 330 and the lower electrode support part 350. Further, the deformable portion 340 may be directly fixed to the lower electrode support portion 350 or indirectly fixed. In this example, the deforming portion 340 is fixed to the lower electrode support portion 350 by the connecting portion 340A and the connecting portion 340B. In addition, when the deformation
  • the deformable portion 340 can move the upper electrode 310 and the upper electrode support portion 330 in the vertical direction so that the distance between the upper electrode 310 and the lower electrode 320 can be changed and can be restored to the original position. , Has a function to deform. For this reason, the deformable portion 340 is made of a deformable and recoverable member. For example, molded silicone rubber is used for the deformable portion 340.
  • the upper electrode support part 330 is disposed to face the convex part forming surface 215 of the hammer side load part 210.
  • the upper surface 330A of the upper electrode support 330 has a flat portion.
  • the upper surface 330 ⁇ / b> A may have a recess depending on the shape of the upper electrode 310.
  • the upper electrode 310, the upper electrode support part 330, and the deformation part 340 may be collectively referred to as a movable member.
  • An elastic body is used for the movable member.
  • the upper electrode support portion 330 is made of a soft material such as silicone rubber so that the upper electrode 310 and the deformable portion 340 can be integrally formed with the upper electrode 310 and the deformable portion 340.
  • transformation part 340 is not limited to a soft material, A thing like a coil spring may be used.
  • the upper electrode support portion 330 may be referred to as an upper surface portion of the movable member.
  • the upper electrode support part 330 may be provided with a lubricant.
  • the upper electrode support portion 330 is disposed to be inclined with respect to the lower electrode support portion 350 in accordance with the trajectory R ⁇ b> 1 that the hammer side load portion 210 rotates.
  • the upper electrode support part 330 should just be set as the structure according to the place arrange
  • the lower electrode support part 350 may be provided as another member together with the lower electrode 320.
  • the lower electrode support part 350 may be provided as a printed board, and the lower electrode 320 may be an electrode formed on the printed board.
  • the lower electrode support part 350 can also be called a support member. That is, the lower electrode 320 and the lower electrode support portion 350 can be collectively referred to as a circuit board.
  • FIG. 6 shows a rotation of a portion 271-1 (an example of a first portion) that is a part of the convex portion 271 in a plan view of the convex portion forming surface 215 viewed from the upper electrode support portion 330 side (D3 direction in FIG. 4). It is a schematic diagram which shows the relationship with the axis
  • FIG. FIG. 7 is an enlarged view of the portion 271-1 near the center point 271-1c.
  • FIG. 6 is a schematic diagram for explaining the positional relationship between the convex portion 270 and the rotating shaft 520 by projecting the convex portion 270 and the rotating shaft 520 onto the convex portion forming surface 215 from the D3 direction.
  • the D3 direction is a direction perpendicular to the convex portion forming surface 215.
  • a line parallel to the line 520H (an example of a parallel line) is perpendicular to the direction in which the rotation shaft 520 extends, and a line passing through the center point 520c of the rotation shaft 520 is a line 520V (vertical line).
  • a center point arranged at the same position as the center point 520c of the rotation shaft 520 is defined as a center 271EC, and an arc having a radius r and passing through the center point 271-1c of the portion 271-1 is defined as 271E.
  • the portion 271-1 there are three lines starting from the center point 271-1c, namely a line 271-1-L1, a line 271-1-L2, and a line 271-1-L3.
  • the line 271-1-L1 is perpendicular to the line 520H, passes through the center point 271-1c, and goes to the line 520H.
  • the line 271-1-L2 is a line that is perpendicular to the extending direction of the portion 271-1 and passes through the center point 271-1c toward the line 520H or the line 520V.
  • a line 271-1-L3 connects the center point 520c of the rotation shaft 520 and the center point 271-1c of the portion 271-1 and is a line from the center point 271-1c toward the center point 520c.
  • the length of the line 271-1-1-L3 is the same as the radius r.
  • the center point 520c of the rotation shaft 520 is the center position of the rotation shaft 520 in the direction in which the rotation shaft 520 extends (longitudinal direction of the rotation shaft 520), and the rotation shaft 520 at the center position is the center point 520c. This is the center position in the cross section perpendicular to the extending direction.
  • center point 271-1c of the portion 271-1 is the central position of the portion 271-1 in the direction in which the portion 271-1 extends, and is perpendicular to the direction in which the portion 271-1 extends in the central position. It is the center position in the cross section.
  • the line 271-1-L1 and the line 271-1-L2 form an angle ⁇ 1. Further, the line 271-1-L1 and the line 271-1-L3 form an angle ⁇ 1.
  • the length of the line 271-1-1-L1 is L1.
  • the length of the line from the line 520V to the center point 271-1c of the portion 271-1 is D1.
  • Equation 1) tan ⁇ 1 D1 / L1
  • the angle ⁇ 1 and the angle ⁇ 1 have a relationship of 0 ⁇ 1 ⁇ 2 ⁇ 1.
  • a portion of the convex portion 271 that has the same center point 271-1c as the portion 271-1 and is disposed along the arc 271E in the extending direction is defined as a portion 271-1F.
  • the portion 271-1 has an angle ⁇ 1 upward (counterclockwise) with respect to the tangent line 271-1T where the portion 271-1F passes through the center point 271-1c in the arc 271E. It can be said that it is tilted downward (counterclockwise) within the range of angle ⁇ 1.
  • the portion 271-1 is preferably arranged along the arc 271E in the extending direction. At this time, it is desirable that ⁇ 1 ⁇ 90 °.
  • the center point 520c of the rotation shaft 520 overlaps the center 271EC.
  • the center point 520c of the rotation shaft 520 may be disposed farther from the arc 271E than the center 271EC, or may be disposed closer to the arc 271E than the center 271EC.
  • FIG. 8 is a schematic diagram showing the portion 271-2 (an example of the second portion) which is another portion in addition to the portion 271-1 which is a portion of the convex portion 271, and more specifically.
  • the portion 271-2 in the portion 271-2, there are a line 271-2-L1, a line 271-2-L2, and a line 271-2-L3 starting from the center point 271-2c.
  • the line 271-2-L1 is a line perpendicular to the line 520H, passing through the center point 271-2c, and going to the line 520H.
  • the line 271-2-L2 is a line perpendicular to the extending direction of the portion 271-2 and directed to the line 520H or the line 520V.
  • the line 271-2-L2 is the same as the line (line 271-2-L3) connecting the center point 520c of the rotation shaft 520 and the center point 271-2c of the portion 271-2. There may be.
  • the line 271-1-L2 and the line 271-1-L3 may be the same. In this case, it can be said that the portion 271-1 and the portion 271-2 are part of an arc centered on the center point 520c of the rotation shaft 520, and the convex portion 271 includes an arc.
  • the angle ⁇ 2 formed between the line 271-2-L1 and the line 271-2-L2 is the line 271-1-L1 and the line 271-1 at the center point 271-1c of the portion 271-1.
  • the angle ⁇ 1 formed by 1-L2 may be larger.
  • the length of the line 271-2-L1 of the portion 271-2 may be shorter than the length of the line 271-1-L1 of the portion 271-1.
  • FIG. 9 is a plan view when the entire convex portion forming surface 215 of the hammer side load portion 210 is viewed from the upper electrode support portion 330 side (D3 direction).
  • the plurality of convex portions 270 are arranged in concentric circular arcs with respect to the center point 520 c of the rotation shaft 520. Further, among the convex portions 270, the convex portions 272 are disposed closer to the rotation shaft 520 than the convex portions 271. At this time, the radius of curvature of the convex portion 272 may be smaller than the radius of curvature of the convex portion 271.
  • FIG. 10 is a diagram for explaining the operation of the key assembly when the key (white key) in this embodiment is pressed.
  • FIG. 10A is a diagram when the key 100 is in the rest position (a state where the key is not pressed).
  • FIG. 10B is a diagram when the key 100 is in the end position (the state where the key is pressed to the end).
  • the rod-like flexible member 185 is bent with the center of rotation.
  • the rod-shaped flexible member 185 is bent and deformed forward (frontward) of the key 100, but the key 100 moves forward due to the restriction of movement in the front-rear direction by the side key guide 153. Instead, it rotates in the direction perpendicular to the key 100 (D4 direction).
  • the key side load portion 120 pushes down the hammer side load portion 210
  • the hammer assembly 200 rotates around the rotation shaft 520.
  • the hammer side load part 210 functions as one of the actuators.
  • the actuator in this case refers to an actuator that operates based on key depression, and the movable member is pressed by the operation to operate the sensor.
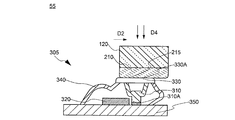
  • FIG. 11 shows a cross-sectional view of the pressing device 50 viewed from the key tip direction at this time.
  • the hammer assembly 200 may vibrate (blur). Further, there may be a slight gap (rattle) between the hammer assembly 200 and the frame 500 to which the hammer assembly 200 is attached.
  • the hammer side load portion 210 that is the tip of the hammer assembly 200 is different from the direction in which the hammer side load portion 210 originally rotates about the rotation shaft 520 (for example, the direction in which the keys 100 are arranged (scale direction)). In some cases, the hammer side load portion 210 may move or rotate on the contact surface with the upper electrode support portion 330.
  • FIG. 14 is a schematic diagram when the arrangement of the portion 271-1 is changed.
  • FIG. 14 shows a portion 371F in which the angle ⁇ 1 in the portion 271-1 is 0, that is, the portion 271-1F is inclined upward (counterclockwise) with respect to the tangent line 271-1T at an angle ⁇ 1 and parallel to the line 520H. This is the case.
  • the convex portion 370 is arranged in parallel to the direction of the rotation shaft 520.
  • the hammer side load portion 210 rotates around the center point 520c of the rotation shaft 520 on the surface where the convex portion 270 of the hammer side load portion 210 and the upper electrode support portion 330 are in contact with each other.
  • the portion 371-1F in the hammer side load portion 210 may bite into the upper electrode support portion 330 formed of a soft material such as silicone rubber.
  • friction may occur between the portion 371-1F and the upper electrode support portion 330 when the hammer side load portion 210 rotates in the horizontal direction (R2 direction). In these cases, the area A1 of the portion 371-1F may be caught. For this reason, as shown in FIG.
  • the upper electrode support part 330 follows the movement of the hammer side load part 210 in the pressing device 55, and the upper electrode 310 can be electrically connected to the lower electrode 320. Can not. If the upper electrode 310 and the lower electrode 320 cannot be electrically connected, the keyboard device 1 cannot emit sound because the sensor 305 cannot output a detection signal. Further, even if the upper electrode 310 and the lower electrode 320 are partially connected, the keyboard device 1 cannot stably emit a sound because the connection is not stable.
  • FIG. 17 shows the case where the angle ⁇ 1 at the portion 271-1 is 2 ⁇ 1 or more, that is, the portion 271-1F is the portion 471-1F inclined at an angle ⁇ 1 or more downward (clockwise) with respect to the tangent line 271-1T. Also in this case, when the hammer side load portion 210 rotates in the horizontal direction (R2 direction), the portion 471-1F bites into the upper electrode support portion 330 as in the case of the portion 371-1F, or the upper electrode support portion 330 and Friction occurs between the two. In these cases, the region A2 of the portion 471-1F may be caught.
  • the upper electrode support portion 330 follows the movement of the hammer side load portion 210, and the upper electrode 310 cannot be electrically connected to the lower electrode 320 or does not become a stable connection. Therefore, the keyboard apparatus 1 cannot emit a sound stably.
  • the portion 271-1 since the portion 271-1 has 0 ⁇ 1 ⁇ 2 ⁇ 1, the portion 271-1 is supported by the upper electrode when the hammer assembly 200 including the hammer side load portion 210 rotates. It is prevented or reduced from being caught by the part 330. Thereby, it is suppressed that the upper electrode support part 330 follows the movement of the hammer side load part 210. FIG. Therefore, as shown in FIG. 12, when the upper electrode support portion 330 is pushed down by the hammer side load portion 210, the upper electrode 310 and the lower electrode 320 can be reliably in contact with each other. That is, the keyboard device 1 can emit sound stably.
  • the deforming portion 340 since the deforming portion 340 operates stably in the above, it is possible to prevent a local force (sometimes referred to as an uneven load) from being applied to the sensor 300, and the durability of the sensor 300 is improved.
  • Second Embodiment 2 Configuration of the pressing device 50-1
  • a pressing device 50-1 having a structure different from that of the first embodiment will be described.
  • the description is used.
  • FIG. 13 is a cross-sectional view of the pressing device 50-1 viewed from the key front end side.
  • the hammer side load portion 210 and the reaction force generating member 301 have the same configuration as the sensor 300 except for the upper electrode 310 and the lower electrode 320.
  • a reaction force generator when no electrode is provided in the pressing device, it may be referred to as a reaction force generator.
  • the hammer side load portion 210 and the reaction force generation member 301 have a plurality of tangential planes 333.
  • An upper surface 333 A of the tangent plane 333 is in contact with the convex portion 270. Further, the tangent plane 333 includes a rotation fulcrum.
  • the reaction force generating member 301 When the hammer-side load portion 210 that functions as an actuator presses the reaction force generating member 301, no component force is generated in the longitudinal direction of the key 100 (direction in which shear stress acts) or the component force is suppressed. For this reason, the hammer side load part 210 always moves perpendicularly (normal direction) with respect to the tangential plane 333 while rotating. Thereby, the reaction force generating member can generate the reaction force at an appropriate timing, and the touch feeling in the keyboard device can be improved. Further, in the above, since the reaction force generating member is prevented from being deformed abnormally, durability is improved.
  • the convex portion 270 has an arc
  • the convex portion 270 is not partially arc-shaped, and may be parallel to the direction in which the rotation shaft 520 extends. Further, the number and size of the convex portions 270 are not limited. It may be smaller than the convex part 270 shown in FIG. 9, and many may be provided.
  • portion 271-1 the example in which the angle ⁇ 1 and the angle ⁇ 1 are 0 ⁇ 1 ⁇ 2 ⁇ 1 and ⁇ 1 ⁇ 90 ° is shown, but the present invention is not limited to this.
  • the portion 271-1 may have a portion where 0 ⁇ 1 ⁇ 2 ⁇ 1 and angle ⁇ 1> 90 °.
  • the key side load portion 120 may be in direct contact with the upper electrode support portion 330 and pressed.
  • the arrangement of the sensor 300 is different from the position shown in FIG. 3, and the sensor 300 is located directly below the key 100 (for example, the middle position of the line connecting the front end key guide 151 and the side key guide 153 in FIG. 3). Be placed.
  • the key 100 is connected to the hammer assembly 200 at a location different from the position shown in FIG. Since the key-side load unit 120 is directly affected by the player pressing the key, the upper electrode support unit 330 is more easily displaced in the scale direction. Therefore, the effect by using this indication can be acquired further.
  • the hammer side load part 210 and the key side load part 120 do not have to press the upper electrode support part 330.
  • the actuator may be an interlocking member that interlocks with a key or a hammer.
  • a rotating member such as a lever arranged between a key and a hammer can be used.

Landscapes

  • Physics & Mathematics (AREA)
  • Engineering & Computer Science (AREA)
  • Acoustics & Sound (AREA)
  • Multimedia (AREA)
  • Electrophonic Musical Instruments (AREA)
PCT/JP2018/010264 2017-03-24 2018-03-15 アクチュエータ、押圧装置および鍵盤装置 Ceased WO2018173924A1 (ja)

Priority Applications (1)

Application Number Priority Date Filing Date Title
US16/494,868 US10891929B2 (en) 2017-03-24 2018-03-15 Actuator, pressing device and keyboard instrument

Applications Claiming Priority (2)

Application Number Priority Date Filing Date Title
JP2017060171A JP6878989B2 (ja) 2017-03-24 2017-03-24 アクチュエータ、押圧装置および鍵盤装置
JP2017-060171 2017-03-24

Publications (1)

Publication Number Publication Date
WO2018173924A1 true WO2018173924A1 (ja) 2018-09-27

Family

ID=63585332

Family Applications (1)

Application Number Title Priority Date Filing Date
PCT/JP2018/010264 Ceased WO2018173924A1 (ja) 2017-03-24 2018-03-15 アクチュエータ、押圧装置および鍵盤装置

Country Status (3)

Country Link
US (1) US10891929B2 (enExample)
JP (1) JP6878989B2 (enExample)
WO (1) WO2018173924A1 (enExample)

Families Citing this family (4)

* Cited by examiner, † Cited by third party
Publication number Priority date Publication date Assignee Title
JP6922319B2 (ja) * 2017-03-24 2021-08-18 ヤマハ株式会社 センサおよび鍵盤装置
JP7215927B2 (ja) * 2019-02-19 2023-01-31 株式会社河合楽器製作所 電子鍵盤楽器の鍵盤装置
CN209993339U (zh) * 2019-05-07 2020-01-24 得理电子(上海)有限公司 琴键组件
JP7436344B2 (ja) * 2020-10-27 2024-02-21 ローランド株式会社 鍵盤装置および荷重の付与方法

Citations (4)

* Cited by examiner, † Cited by third party
Publication number Priority date Publication date Assignee Title
JPH1138976A (ja) * 1997-07-23 1999-02-12 Casio Comput Co Ltd 鍵盤装置のスイッチ構造
JPH11175067A (ja) * 1997-12-10 1999-07-02 Yamaha Corp 鍵盤装置
JP2004198721A (ja) * 2002-12-18 2004-07-15 Kawai Musical Instr Mfg Co Ltd 鍵盤楽器
JP2015115224A (ja) * 2013-12-12 2015-06-22 アルプス電気株式会社 押ボタンスイッチ

Family Cites Families (4)

* Cited by examiner, † Cited by third party
Publication number Priority date Publication date Assignee Title
JP3846426B2 (ja) 2003-01-23 2006-11-15 カシオ計算機株式会社 鍵盤装置
US20150075317A1 (en) * 2013-09-18 2015-03-19 Alfred Donegan Brake Pedal Cover
JP6340184B2 (ja) * 2013-10-31 2018-06-06 株式会社河合楽器製作所 鍵盤楽器のハンマー装置
JP6515622B2 (ja) * 2015-03-25 2019-05-22 ヤマハ株式会社 サポートアセンブリおよび鍵盤装置

Patent Citations (4)

* Cited by examiner, † Cited by third party
Publication number Priority date Publication date Assignee Title
JPH1138976A (ja) * 1997-07-23 1999-02-12 Casio Comput Co Ltd 鍵盤装置のスイッチ構造
JPH11175067A (ja) * 1997-12-10 1999-07-02 Yamaha Corp 鍵盤装置
JP2004198721A (ja) * 2002-12-18 2004-07-15 Kawai Musical Instr Mfg Co Ltd 鍵盤楽器
JP2015115224A (ja) * 2013-12-12 2015-06-22 アルプス電気株式会社 押ボタンスイッチ

Also Published As

Publication number Publication date
JP6878989B2 (ja) 2021-06-02
US10891929B2 (en) 2021-01-12
JP2018163268A (ja) 2018-10-18
US20200043452A1 (en) 2020-02-06

Similar Documents

Publication Publication Date Title
JP6878988B2 (ja) スイッチング装置および鍵盤装置
JP7371677B2 (ja) 鍵盤装置用スイッチング装置
US10643582B2 (en) Pivot mechanism and keyboard apparatus
WO2018173924A1 (ja) アクチュエータ、押圧装置および鍵盤装置
CN109643532B (zh) 键盘装置
WO2018016327A1 (ja) 鍵盤装置
US10636394B2 (en) Hammer assembly, keyboard instrument, and hammer
WO2018016328A1 (ja) 鍵盤装置
JP6922319B2 (ja) センサおよび鍵盤装置
US10395625B2 (en) Support assembly and keyboard apparatus
JP6428889B2 (ja) サポートアセンブリおよび鍵盤装置
WO2018173770A1 (ja) 反力発生装置および鍵盤装置
WO2018173669A1 (ja) 鍵盤装置用スイッチング装置
JP6464867B2 (ja) サポートアセンブリおよび鍵盤装置
WO2018016325A1 (ja) 鍵盤装置
JP2016184025A (ja) サポートアセンブリおよび鍵盤装置
JP2017026842A (ja) サポートアセンブリおよび鍵盤装置
JP2017173699A (ja) 回動機構および鍵盤装置
JP2017026838A (ja) サポートアセンブリおよび鍵盤装置

Legal Events

Date Code Title Description
121 Ep: the epo has been informed by wipo that ep was designated in this application

Ref document number: 18771666

Country of ref document: EP

Kind code of ref document: A1

NENP Non-entry into the national phase

Ref country code: DE

122 Ep: pct application non-entry in european phase

Ref document number: 18771666

Country of ref document: EP

Kind code of ref document: A1