WO2018154880A1 - 製品の製造方法、外装部品およびアンテナパターン選択装置 - Google Patents

製品の製造方法、外装部品およびアンテナパターン選択装置 Download PDF

Info

Publication number
WO2018154880A1
WO2018154880A1 PCT/JP2017/041271 JP2017041271W WO2018154880A1 WO 2018154880 A1 WO2018154880 A1 WO 2018154880A1 JP 2017041271 W JP2017041271 W JP 2017041271W WO 2018154880 A1 WO2018154880 A1 WO 2018154880A1
Authority
WO
WIPO (PCT)
Prior art keywords
antenna
resin molded
chip
product
antenna wiring
Prior art date
Legal status (The legal status is an assumption and is not a legal conclusion. Google has not performed a legal analysis and makes no representation as to the accuracy of the status listed.)
Ceased
Application number
PCT/JP2017/041271
Other languages
English (en)
French (fr)
Japanese (ja)
Inventor
若浩 川井
Current Assignee (The listed assignees may be inaccurate. Google has not performed a legal analysis and makes no representation or warranty as to the accuracy of the list.)
Omron Corp
Original Assignee
Omron Corp
Omron Tateisi Electronics Co
Priority date (The priority date is an assumption and is not a legal conclusion. Google has not performed a legal analysis and makes no representation as to the accuracy of the date listed.)
Filing date
Publication date
Application filed by Omron Corp, Omron Tateisi Electronics Co filed Critical Omron Corp
Priority to CN201780071288.3A priority Critical patent/CN109997153A/zh
Priority to EP17898167.6A priority patent/EP3588384B1/en
Priority to US16/462,277 priority patent/US11322828B2/en
Publication of WO2018154880A1 publication Critical patent/WO2018154880A1/ja
Anticipated expiration legal-status Critical
Ceased legal-status Critical Current

Links

Images

Classifications

    • GPHYSICS
    • G06COMPUTING OR CALCULATING; COUNTING
    • G06KGRAPHICAL DATA READING; PRESENTATION OF DATA; RECORD CARRIERS; HANDLING RECORD CARRIERS
    • G06K19/00Record carriers for use with machines and with at least a part designed to carry digital markings
    • G06K19/06Record carriers for use with machines and with at least a part designed to carry digital markings characterised by the kind of the digital marking, e.g. shape, nature, code
    • G06K19/067Record carriers with conductive marks, printed circuits or semiconductor circuit elements, e.g. credit or identity cards also with resonating or responding marks without active components
    • G06K19/07Record carriers with conductive marks, printed circuits or semiconductor circuit elements, e.g. credit or identity cards also with resonating or responding marks without active components with integrated circuit chips
    • G06K19/077Constructional details, e.g. mounting of circuits in the carrier
    • G06K19/0772Physical layout of the record carrier
    • G06K19/07724Physical layout of the record carrier the record carrier being at least partially made by a molding process
    • HELECTRICITY
    • H01ELECTRIC ELEMENTS
    • H01QANTENNAS, i.e. RADIO AERIALS
    • H01Q1/00Details of, or arrangements associated with, antennas
    • H01Q1/36Structural form of radiating elements, e.g. cone, spiral, umbrella; Particular materials used therewith
    • H01Q1/38Structural form of radiating elements, e.g. cone, spiral, umbrella; Particular materials used therewith formed by a conductive layer on an insulating support
    • GPHYSICS
    • G06COMPUTING OR CALCULATING; COUNTING
    • G06KGRAPHICAL DATA READING; PRESENTATION OF DATA; RECORD CARRIERS; HANDLING RECORD CARRIERS
    • G06K19/00Record carriers for use with machines and with at least a part designed to carry digital markings
    • G06K19/06Record carriers for use with machines and with at least a part designed to carry digital markings characterised by the kind of the digital marking, e.g. shape, nature, code
    • G06K19/067Record carriers with conductive marks, printed circuits or semiconductor circuit elements, e.g. credit or identity cards also with resonating or responding marks without active components
    • G06K19/07Record carriers with conductive marks, printed circuits or semiconductor circuit elements, e.g. credit or identity cards also with resonating or responding marks without active components with integrated circuit chips
    • G06K19/077Constructional details, e.g. mounting of circuits in the carrier
    • G06K19/0772Physical layout of the record carrier
    • G06K19/07728Physical layout of the record carrier the record carrier comprising means for protection against impact or bending, e.g. protective shells or stress-absorbing layers around the integrated circuit

Definitions

  • the present technology relates to a manufacturing method of a product including an IC chip capable of wireless communication, an exterior component of the product, and an antenna pattern selection device.
  • a method using an IC (Integrated Circuit) tag capable of contactless communication using radio waves in the UHF band is known.
  • the IC tag and the reader can perform data communication using radio waves. Therefore, the reader can read the identification information from the IC tag even if it is not opposed to the IC tag.
  • a general IC tag includes an antenna formed on a PET (polyethylene terephthalate) or polyimide film by etching copper foil or screen printing of a conductive paste such as silver, and an IC chip.
  • An IC tag is used by a method of being attached to a product with an adhesive or the like.
  • Patent Document 1 discloses a method of manufacturing IC tags having different frequency bands by changing the connection position of an IC chip with respect to an antenna.
  • Patent Document 2 discloses a method in which a plurality of circuit elements are formed in advance and unnecessary circuit elements are burned out in accordance with a required frequency.
  • Patent Document 3 discloses a technique for protecting an IC chip by embedding an entire IC tag in a resin material or a rubber material.
  • Patent Document 4 discloses a technique for protecting an IC chip by embedding an entire IC tag in a resin material or a rubber material.
  • Patent Document 5 discloses a technique for protecting an IC chip by embedding an entire IC tag in a resin material or a rubber material.
  • Patent Document 4 discloses a technique for protecting an IC chip by embedding an entire IC tag in a resin material or a rubber material.
  • Patent Document 4 discloses a technique for protecting an IC chip by embedding an entire IC tag in a resin material or a rubber material.
  • Patent Document 5 discloses a technique for protecting an IC chip by embedding an entire IC tag in a resin material or a rubber material.
  • Patent Document 5 discloses a technique for protecting an IC chip by embedding an entire IC tag in a resin material or a rubber material.
  • the adjustable range is limited because the frequency band is adjusted according to the connection position between the antenna and the IC chip.
  • the form of the antenna (for example, a patch antenna, a loop antenna, etc.) cannot be changed according to the required communication distance. Therefore, it is necessary to stock a plurality of IC tags having antennas in accordance with the frequency standard of the country to which the product is shipped and the necessary communication distance, and the manufacturing cost increases.
  • the technique described in Japanese Patent Laid-Open No. 2005-301443 has the same problem.
  • IC tags manufactured by the techniques described in JP 2008-210344 A, JP 2000-294577 A, and JP 2002-261421 A are generally mounted inside products. For this reason, after the shipment destination of the product is determined, it is necessary to prepare an IC tag including an antenna having a resonance frequency corresponding to the shipment destination, and to start assembling the product using the IC tag. Therefore, it takes time until the product is completed after receiving an order.
  • the present invention has been made paying attention to the above problems, and can easily manufacture a product including an IC tag having an antenna pattern selected from a variety of antenna patterns in a short time after receiving an order. It is an object of the present invention to provide a method for manufacturing a product, an exterior part of the product, and an antenna pattern selection device.
  • a manufacturing method of a product includes a first step of molding a resin molded body in which an IC chip is embedded by injecting a resin so as to surround an IC chip that stores identification data for identifying the product.
  • the product manufacturing method further includes a fourth step of determining an antenna wiring pattern according to at least one of a frequency standard of a product shipping destination and a use environment of the product.
  • the antenna wiring having the pattern determined in the fourth step is printed.
  • the exterior part of the product is provided with a resin molded body.
  • the surface of the resin molded body includes a first surface serving as an outer surface of the exterior component.
  • the exterior component further includes an IC chip that is embedded in the resin molded body and stores identification data for identifying a product, and an antenna wiring that is formed on the first surface and for wireless communication with the IC chip.
  • the exterior component further includes an insulating film formed on the antenna wiring.
  • the IC chip is exposed from the first surface.
  • the antenna wiring is electrically connected to the IC chip.
  • the exterior component further includes an IC side antenna connected to the IC chip.
  • the IC chip and the IC side antenna are integrated to form an IC module.
  • the resin molded body embeds the IC module.
  • the antenna wiring is a booster antenna that is electromagnetically coupled to the IC side antenna.
  • the surface of the resin molded body includes a second surface serving as an inner surface of the exterior part.
  • the second surface is a surface on the back side of the first surface.
  • the IC module is embedded in the resin molded body so as to be exposed from the second surface.
  • the antenna wiring is formed on the first surface so as to face the IC module.
  • the resin molded body may include a first resin molded part and a second resin molded part.
  • the first surface is a part of the outer surface of the first resin molded part.
  • the outer surface of the second resin molded part includes a second surface that is coplanar with the first surface.
  • the IC module is embedded in the second resin molded part and exposed from the second surface.
  • an antenna pattern selection device that selects a pattern of antenna wiring in the exterior part described above includes a first input unit that receives input of shipping destination information indicating a shipping destination of a product, and an environment that indicates a usage environment of the product.
  • the second input unit that receives information input
  • the communication condition setting unit that sets the antenna wiring communication conditions based on the use environment indicated by the environmental information, and the shipping destination, communication conditions, and antenna wiring pattern are associated with each other.
  • a shipping destination indicated by the shipping destination information and a pattern selection unit for selecting an antenna wiring pattern corresponding to the communication condition set by the communication condition setting unit.
  • a product including an IC tag having an antenna pattern selected from a variety of antenna patterns can be easily manufactured in a short time after receiving an order.
  • FIG. 1 is a front view showing a relay according to a first embodiment.
  • FIG. 2 is a cross-sectional view taken along line XX in FIG.
  • FIG. 2 is a cross-sectional view taken along the line XI-XI in FIG. It is a figure for demonstrating the process of the manufacturing method to the semi-finished product in which the antenna wiring is not formed. It is a figure for demonstrating the process of the manufacturing method which completes a relay from a semi-finished product.
  • It is a front view which shows the modification of a relay.
  • It is a top view which shows the modification of a relay.
  • FIG. 7 is a cross-sectional view taken along line XI-XI in FIG. 6. It is a block diagram which shows the structure of an antenna pattern selection apparatus.
  • FIG. 5 is a front view showing a relay according to Embodiment 2.
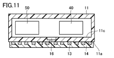
  • FIG. FIG. 11 is a cross-sectional view taken along line XX in FIG. 10.
  • FIG. 11 is a cross-sectional view taken along the line XI-XI in FIG. 10. It is a figure which shows schematic structure of an IC module.
  • FIG. 9 is a front view showing a relay according to a third embodiment.
  • FIG. 15 is a cross-sectional view taken along the line XX of FIG.
  • FIG. 15 is a cross-sectional view taken along line XI-XI in FIG. 14.
  • the exterior part is not limited to the exterior part of the relay, and may be an exterior part of another product (for example, an ink cartridge).
  • FIG. 1 is a front view showing a relay 1 according to the first embodiment.
  • FIG. 2 is a cross-sectional view taken along the line XX of FIG. 3 is a cross-sectional view taken along the line XI-XI in FIG.
  • the relay 1 includes an exterior component 10, a base member 20, a plurality of terminals 30, an electromagnet 40, and a contact portion 50.
  • the base member 20, the plurality of terminals 30, the electromagnet 40, and the contact portion 50 constitute a main body (product main body) of the relay 1.
  • the electromagnet 40 and the contact portion 50 are mounted on one surface of the base member 20 on a flat plate.
  • Each of the plurality of terminals 30 is connected to the electromagnet 40 or the contact portion 50, passes through the base member 20, and protrudes from the other surface of the base member 20.
  • the contact part 50 is composed of a fixed contact and a movable contact.
  • an iron piece (not shown) is moved by the magnetic force of the electromagnet 40.
  • the movable contact moves to the fixed contact side as the iron piece moves, and is electrically connected to the fixed contact.
  • the movable contact moves in a direction away from the fixed contact by elastic force. Thereby, the movable contact is electrically disconnected from the fixed contact.
  • the exterior component 10 is a box-shaped cover that covers the electromagnet 40 and the contact portion 50.
  • the open end of the exterior component 10 is joined to the surface of the base member 20 on which the electromagnet 40 and the contact portion 50 are mounted. Thereby, the electromagnet 40 and the contact part 50 are accommodated in the space inside the exterior component 10.
  • the shape of the exterior component 10 is not particularly limited.
  • the exterior component 10 includes a resin molded body 11, an IC chip 12, an antenna wiring 13, and an insulating film 14.
  • the IC chip 12 stores identification data for identifying the relay 1 and outputs the identification data in response to an external request.
  • the identification data is used for authentication between the IC chip 12 and an external reader.
  • the identification data includes various information such as the specifications, characteristics, and date of manufacture of the relay 1.
  • the resin molded body 11 is a box-shaped member that becomes the main body of the exterior component 10 and is made of a resin such as polycarbonate (PC), acrylonitrile butadiene styrene (ABS), or polypropylene (PP).
  • the shape of the resin molded body 11 is not particularly limited, and is appropriately designed according to the relay 1.
  • the material of the resin molding 11 is not particularly limited.
  • the surface of the resin molded body 11 includes a surface 11 a that is an outer surface of the exterior component 10.
  • the surface 11 a is the surface having the largest area among the four side surfaces of the box-shaped resin molded body 11.
  • the resin molded body 11 embeds the IC chip 12 so that the IC chip 12 is exposed from the surface 11a. Terminals for connecting the antenna wiring 13 are formed on the surface of the IC chip 12 exposed from the resin molded body 11.
  • the antenna wiring 13 is a conductive circuit that is formed on the surface 11 a of the resin molded body 11 and is electrically connected to the terminals of the IC chip 12.
  • the antenna wiring 13 can be easily formed by ejecting silver (Ag) ink using an ink jet printing method.
  • the ink jet printing method is a printing method in which ink is ejected from nozzles and ink is deposited on the ejection target surface.
  • the antenna wiring 13 may be made of a material other than Ag.
  • the antenna wiring 13 is formed at a position farthest from the electromagnet 40 in the surface 11a so as not to be affected by the magnetic field generated by the electromagnet 40.
  • the insulating film 14 is formed on the surface 11 a of the resin molded body 11 so as to cover the antenna wiring 13. Thereby, the antenna wiring 13 is cut off from the outside air.
  • the insulating film 14 is formed of, for example, an ultraviolet curable resist ink.
  • FIG. 4 is a diagram for explaining the steps of the manufacturing method up to a semi-finished product with no antenna wiring formed thereon.
  • FIG. 5 is a diagram for explaining a process of completing the relay 1 from a semi-finished product. 4B and 4C and FIG. 5A and FIG. 5B, the upper part is a front view, and the lower part is a cross-sectional view taken along line XX of the front view.
  • the IC chip 12 is attached to the temporary fixing sheet 100 with an adhesive (not shown) and temporarily fixed. At this time, the IC chip 12 is attached so that a terminal connected to the antenna wiring 13 is in contact with the temporary fixing sheet 100.
  • the temporary fixing sheet 100 for example, polyethylene terephthalate (PET), polyethylene naphthalate (PEN), polyphenylene sulfide (PPS), or the like can be used.
  • PET polyethylene terephthalate
  • PEN polyethylene naphthalate
  • PPS polyphenylene sulfide
  • the temporary fixing sheet 100 is preferably made of a material that transmits ultraviolet rays and has flexibility.
  • Temporary fixing can be performed using, for example, an ultraviolet curable adhesive (not shown) applied to one surface of the temporary fixing sheet 100.
  • an ultraviolet curable adhesive is applied to a temporary fixing sheet 100 made of PET having a thickness of 50 ⁇ m to a thickness of 2 to 3 ⁇ m. This application may be performed using a method such as an ink jet printing method.
  • the IC chip 12 is placed at a predetermined position.
  • the adhesive is cured by irradiating UV light having an intensity of, for example, 3000 mJ / cm 2 from the surface of the temporarily fixed sheet 100 where the IC chip 12 is not temporarily fixed, and the IC chip 12 is temporarily fixed to the temporarily fixed sheet 100. To do.
  • the temporarily fixed sheet 100 on which the IC chip 12 is temporarily fixed is placed in a mold.
  • the temporarily fixing sheet 100 is installed in the mold so that a space is formed between the surface of the temporarily fixed sheet 100 to which the IC chip 12 is attached and the inner surface of the mold.
  • the molding die has an internal space having substantially the same shape as the resin molded body 11 shown in FIGS.
  • the temporarily fixing sheet 100 is installed on the inner surface corresponding to the surface 11a of the resin molded body 11 in the molding die.
  • the resin molded body 11 shown in FIG. 4B is molded by injecting a resin material into the internal space of the mold.
  • the resin material is filled into the space so as to surround the IC chip 12. Therefore, the IC chip 12 is embedded in the resin molded body 11.
  • the conditions for performing the injection molding may be appropriately selected depending on the resin.
  • the injection molding is performed at an injection resin temperature of 270 ° C. and an injection pressure of 100 MPa.
  • injection molding is performed at an injection resin temperature of 180 ° C. and an injection pressure of 20 kgf / cm 2 .
  • Various resin materials can be adopted as the resin to be injection-molded.
  • the temporary fixing sheet 100 is peeled from the resin molded body 11 taken out from the mold. Thereby, the surface 11a in contact with the temporarily fixed sheet 100 in the resin molded body 11 is exposed. Further, the portion (including the terminal) that is in contact with the temporarily fixing sheet 100 in the IC chip 12 is exposed from the surface 11a.
  • the temporarily fixed sheet 100 is a PET film
  • the temporarily fixed sheet 100 is greatly deformed by heat during the injection molding of the resin material. Thereby, the temporarily fixed sheet 100 can be easily separated from the resin molded body 11.
  • the electromagnet 40 and the contact portion 50 are mounted on one surface of the base member 20. Furthermore, the main body (product main body) of the relay 1 is manufactured by penetrating the plurality of terminals 30 from the other surface of the base member 20 and connecting the terminals 30 and the electromagnet 40 or the contact portion 50 with solder or the like. Thereafter, the resin molded body 11 obtained by the resin molding process is attached to the base member 20 so as to cover the electromagnet 40 and the contact portion 50. Thereby, the semi-finished product 15 of the relay 1 shown in (c) of FIG. 4 is manufactured.
  • the semi-finished product 15 has a common configuration regardless of the shipping country of the relay 1 or the like. Therefore, the relay 1 which is a finished product corresponding to the shipping destination is manufactured by holding the semi-finished product 15 as a stock product and performing the following steps after receiving an order.
  • the shape (antenna pattern) of the antenna wiring 13 is determined in consideration of the frequency standard of the shipping destination of the relay 1 and the communication distance necessary for the use environment of the relay 1. This determination is executed by an antenna pattern selection device described later.
  • the shape (antenna pattern) of the antenna wiring 13 may be determined according to only the frequency standard of the shipping destination of the relay 1.
  • the shape (antenna pattern) of the antenna wiring 13 may be determined according to only the usage environment of the relay 1.
  • the antenna wiring 13 connected to the terminals of the IC chip 12 is formed on the surface 11a of the resin molded body 11 (the surface from which the IC chip 12 is exposed). Thereby, an IC tag including the IC chip 12 and the antenna wiring 13 is completed.
  • the formation of the antenna wiring 13 is performed by a printing machine that ejects a conductive material (for example, silver nano ink) by an ink jet printing method.
  • the printing machine prints the antenna wiring 13 according to a printing program in which the shape of the antenna wiring 13 is designated.
  • the shape of the antenna wiring 13 is appropriately changed according to the shipping destination and the usage environment of the relay 1 as described above.
  • the antenna wiring 13 is formed by etching using a photomask, it is necessary to prepare photomasks corresponding to various shapes of the antenna wiring 13 in advance.
  • the antenna wiring 13 is formed using the screen printing method, it is necessary to prepare printing plates corresponding to various shapes of the antenna wiring 13 in advance.
  • the shape of the antenna wiring 13 can be easily changed by changing the printing program used by the printing machine.
  • the formation of the antenna wiring 13 using the ink jet printing method is suitable for manufacturing a variety of relays 1.
  • an insulating layer (resist) 14 is formed on the surface 11 a of the resin molded body 11 so as to cover the antenna wiring 13. As a result, it is possible to prevent wear of the antenna wiring 13 due to sulfurization, oxidation, or mechanical load.
  • the insulating film 14 is formed by selectively spraying a conventionally known ultraviolet curable resin material or the like onto the antenna wiring 13 by, for example, an ink jet printing method and curing it.
  • the antenna wiring 13 may be formed on a surface different from the surface 11 a of the resin molded body 11.
  • the relay 1 in which the antenna wiring 13 is formed on the upper surface 11b of the resin molded body 11 will be described with reference to FIGS.
  • FIG. 6 is a front view showing a modified example of the relay 1.
  • FIG. 7 is a plan view showing a modification of the relay 1.
  • 8 is a cross-sectional view taken along the line XI-XI in FIG.
  • the IC chip 12 is embedded in the resin molded body 11 so as to be exposed from the upper surface 11b of the resin molded body 11.
  • the antenna wiring 13 is formed on the upper surface 11 b of the resin molded body 11 and is connected to the IC chip 12.
  • the insulating film 14 is formed on the upper surface 11 b of the resin molded body 11 so as to cover the antenna wiring 13.
  • the antenna wiring 13 is formed at a position farthest from the electromagnet 40. Thereby, the influence of the magnetic field generated by the electromagnet 40 on the radio wave transmitted and received by the antenna wiring 13 can be reduced.
  • FIG. 9 is a block diagram illustrating a configuration of the antenna pattern selection device 70.
  • the antenna pattern selection device 70 generates a print program including one antenna pattern selected from a plurality of antenna patterns, and outputs the generated print program to the printing press 60.
  • the antenna pattern selection device 70 includes a first input unit 71, a second input unit 72, a communication condition setting unit 73, a frequency standard storage unit 74, and a pattern storage unit 75.
  • a table storage unit 76 and a pattern selection unit 77 are provided.
  • the first input unit 71 and the second input unit 72 receive input of information from the user.
  • the first input unit 71 and the second input unit 72 are configured by a keyboard, a mouse, a touch panel, and the like.
  • the first input unit 71 receives input of shipping destination information indicating the shipping country or shipping region of the relay 1.
  • the second input unit 72 receives input of environmental information indicating the component specifications, use place, and use state of the relay 1.
  • the component specification is the specification of the relay 1 and is specified by the specification number.
  • a certain specification number indicates a specification in which the antenna wiring 13 is formed on the front surface 11 a of the resin molded body 11, and another specification number indicates that the antenna wiring 13 is formed on the upper surface 11 b of the resin molded body 11.
  • a use place is a place (the outdoors, a factory, etc.) where the relay 1 is used.
  • the use state is a state when the relay 1 is used (for example, a surrounding radio wave state).
  • the communication condition setting unit 73 sets communication conditions necessary for setting the shape of the antenna wiring 13 based on the environment information input to the second input unit 72.
  • the communication condition setting unit 73 sets, as communication conditions, a print space indicating a place where the antenna wiring 13 is printed, a communication distance necessary for the antenna wiring 13, a size of the antenna wiring 13 (antenna size), and the like.
  • the communication condition setting unit 73 sets a print space according to the part specification indicated by the environment information received from the second input unit 72. For example, when the communication condition setting unit 73 receives the specification number of the component specification in which the antenna wiring 13 is formed on the front surface 11a of the resin molded body 11, the communication condition setting unit 73 sets the surface 11a as the print space.
  • the communication condition setting unit 73 sets a communication distance according to the place of use indicated by the environment information received from the second input unit 72. For example, when the usage location is outdoors, the communication condition setting unit 73 sets a longer communication distance than when the usage location is a factory.
  • the communication condition setting unit 73 stores in advance information that associates the place of use with the communication distance, and sets the communication distance according to the information. In this case, it is preferable that the 2nd input part 72 is set so that only the use place contained in the said information may be received.
  • the communication condition setting unit 73 sets the antenna size according to the usage state indicated by the environment information received from the second input unit 72. For example, the communication condition setting unit 73 sets a larger antenna size as the radio wave around the relay 1 is weaker.
  • the communication condition setting unit 73 stores in advance information that associates the usage state (the strength of radio waves) with the antenna size, and sets the antenna size according to the information.
  • the usage state may include the density of the relay 1 in addition to those described above.
  • the density of the relays 1 is indicated by, for example, the distance from other relays 1 or the number of relays 1 installed per unit area.
  • the communication condition setting unit 73 sets the antenna size according to the density, and print space on the resin molded body 11 on which the antenna wiring 13 is formed (the surface of the resin molded body 11 and the surface Position in the plane) or the shape of the antenna wiring is set as one of the communication conditions.
  • the frequency standard storage unit 74 stores a frequency standard set for each country or region.
  • the pattern storage unit 75 stores a plurality of antenna patterns designed in advance.
  • the antenna pattern is a shape pattern of the antenna wiring 13. Each antenna pattern is given a pattern number for identifying the antenna pattern.
  • the plurality of antenna patterns stored in the pattern storage unit 75 may include different types of antennas (for example, patch antennas, loop antennas, dipole antennas, etc.).
  • the correspondence table storage unit 76 stores a correspondence table in which frequency standards and communication conditions (printing space, communication distance, antenna size, and the like) are associated with pattern numbers.
  • the correspondence table is set in advance. For example, as a pattern number corresponding to a certain combination, communication is possible with respect to a reader separated by the communication distance of the combination, printing is possible in the printing space of the combination, the antenna size of the combination is satisfied, and A pattern number of an antenna pattern that resonates at a frequency included in the frequency standard of the combination is set.
  • the pattern selection unit 77 selects one antenna pattern from a plurality of antenna patterns based on the shipping destination information received from the first input unit 71 and the communication condition information received from the communication condition setting unit 73.
  • the pattern selection unit 77 reads the selected antenna pattern from the pattern storage unit 75 and generates a print program including the antenna pattern.
  • the pattern selection unit 77 outputs the generated printing program to the printing machine 60.
  • the pattern selection unit 77 reads the frequency standard corresponding to the shipping country or the shipping region indicated by the shipping destination information from the frequency standard storage unit 74.
  • the pattern selection unit 77 specifies the antenna number corresponding to the read frequency standard and the communication condition information (print space, communication distance, antenna size, etc.) received from the communication condition setting unit 73 from the correspondence table storage unit 76.
  • the pattern selection unit 77 reads the antenna pattern of the identified antenna number from the pattern storage unit 75 as an antenna pattern to be included in the print program.
  • the pattern selection unit 77 outputs a printing program that specifies a reference point to be connected to the terminal of the IC chip 12 in the antenna pattern.
  • the printing press 60 identifies the position of the IC chip 12 from an image obtained by imaging the conveyed semi-finished product 15 (see FIG. 4C), and determines the position of the IC chip 12 and the reference point. After alignment, the antenna wiring 13 having the designated antenna pattern is printed.
  • the hardware of the antenna pattern selection device 70 includes a user interface, a CPU (Central Processing Unit) that executes various programs including an OS (Operating System), a ROM (Read Only Memory) that stores various data, and a CPU. It is composed of a RAM that provides a work area for storing data necessary for program execution, and a hard disk (HDD) that stores programs executed by the CPU in a nonvolatile manner.
  • the first input unit 71 and the second input unit 72 are configured by a user interface.
  • the communication condition setting unit 73 and the pattern selection unit 77 are realized by the CPU executing a program stored in the HDD.
  • the frequency standard storage unit 74, the pattern storage unit 75, and the correspondence table storage unit 76 are configured by a ROM and a RAM.
  • the method for manufacturing the relay 1 includes a resin molding step (first step) for molding the resin molded body 11 in which the IC chip 12 is embedded by injecting resin so as to surround the IC chip 12, and the resin.
  • An antenna wiring forming step for printing the antenna wiring 13 of the antenna.
  • the antenna wiring 13 is printed after the resin molded body 11 is attached to the base member 20 as a part of the exterior component 10. Therefore, it can be stocked in the state of the semi-finished product 15 in which the antenna wiring 13 is not formed, the antenna wiring 13 can be formed immediately before shipping, and the IC tag can be configured by the antenna wiring 13 and the IC chip 12. .
  • the antenna wiring 13 is formed so as to have a shape according to the frequency standard of the shipping destination after the shipping destination is determined.
  • the relay 1 including an IC tag having one antenna pattern selected from a plurality of types of antenna patterns having different antenna resonance frequencies or antenna forms can be easily manufactured in a short time after receiving an order. Can do.
  • the manufacturing method according to the first embodiment further includes an antenna pattern determination step (fourth step) for determining the pattern of the antenna wiring 13 according to at least one of the frequency standard of the shipping destination of the relay 1 and the use environment of the relay 1.
  • an antenna pattern determination step for determining the pattern of the antenna wiring 13 according to at least one of the frequency standard of the shipping destination of the relay 1 and the use environment of the relay 1.
  • the exterior part 10 of the relay (product) 1 includes a resin molded body 11.
  • the surface of the resin molded body 11 includes a surface (first surface) 11 a that is an outer surface of the exterior component 10.
  • the exterior component 10 is embedded in the resin molded body 11, and an IC chip 12 that stores identification data for identifying the relay 1 and antenna wiring formed on the surface 11a for wireless communication with the IC chip 12 13.
  • the antenna wiring 13 is formed on the surface 11a which is the outer surface of the exterior component 10. Therefore, it can be stocked in the state of the semi-finished product 15 in which the antenna wiring 13 is not formed, the antenna wiring 13 can be formed immediately before shipping, and the IC tag can be configured by the antenna wiring 13 and the IC chip 12. .
  • the antenna wiring 13 is formed so as to have a shape according to the frequency standard of the shipping destination after the shipping destination is determined.
  • the exterior component 10 of the relay 1 includes an IC tag having one antenna pattern selected from many types of antenna patterns having different antenna resonance frequencies or antenna forms. Thereby, the relay 1 provided with the IC tag having one antenna pattern selected from the various types of antenna patterns can be easily manufactured in a short time after receiving an order.
  • the exterior component 10 since the IC chip 12 is embedded in the resin molded body 11 that is the main body of the exterior component 10, in order to replace the IC chip 12 illegally, the exterior component 10 It needs to be replaced. Therefore, it is possible to suppress the illegal acts as described above.
  • the exterior component 10 preferably further includes an insulating film 14 formed on the antenna wiring 13. As a result, it is possible to prevent wear of the antenna wiring 13 due to sulfurization, oxidation, or mechanical load.
  • the IC chip 12 is exposed from the surface 11a.
  • the antenna wiring 13 is electrically connected to the IC chip 12. Thereby, the antenna wiring 13 can be used as an antenna directly connected to the IC chip 12.
  • the antenna pattern selection device 70 includes a first input unit 71, a second input unit 72, a communication condition setting unit 73, and a pattern selection unit 77.
  • the first input unit 71 receives input of shipping destination information indicating the shipping destination of the relay 1.
  • the second input unit 72 receives input of environment information indicating the use environment of the relay 1.
  • the communication condition setting unit 73 sets the communication condition of the antenna wiring 13 based on the use environment indicated by the environment information.
  • the pattern selection unit 77 sets the shipping destination indicated by the shipping destination information and the communication condition set by the communication condition setting unit 73 based on the correspondence table in which the shipping destination and communication conditions are associated with the pattern of the antenna wiring 13.
  • the corresponding antenna wiring 13 pattern is selected. Thereby, the pattern of the antenna wiring 13 according to the frequency standard of a shipping destination and use environment can be selected easily.
  • the antenna wiring 13 is used as an antenna that is directly connected to the IC chip 12.
  • the antenna wiring 13 is used as a booster antenna that amplifies weak radio waves transmitted from the IC module including the IC chip 12. Therefore, the antenna wiring 13 is not electrically connected directly to the IC chip 12.
  • FIG. 10 is a front view showing the relay 101 according to the second embodiment.
  • 11 is a cross-sectional view taken along line XX in FIG. 12 is a cross-sectional view taken along line XI-XI in FIG.
  • FIG. 13 is a diagram showing a schematic configuration of the IC module 16.
  • the relay 101 is different from the relay 1 of the first embodiment in that it includes an exterior component 110 instead of the exterior component 10.
  • the exterior component 110 is different from the exterior component 10 in that an IC module 16 is provided instead of the IC chip 12. Since points other than this are the same as those of relay 1 of the first embodiment, description thereof will not be repeated below.
  • the IC module 16 includes an IC chip 12 and an IC-side antenna 17 that is electrically connected directly to the IC chip 12.
  • the IC chip 12 performs wireless communication via the IC side antenna 17.
  • the IC side antenna 17 is an antenna having a relatively small size and can transmit only weak radio waves. Therefore, in the second embodiment, the antenna wiring 13 is caused to function as a booster antenna that amplifies weak radio waves transmitted from the IC-side antenna 17.
  • the IC module 16 is embedded in the resin molded body 11 so as to be exposed from the surface 11c on the back side of the surface 11a of the resin molded body 11.
  • the antenna wiring 13 is formed at a position facing the IC module 16 on the surface 11 a and is electromagnetically coupled to the IC-side antenna 17 of the IC module 16. That is, the antenna wiring 13 is impedance-matched with the IC-side antenna 17 of the IC module 16. Accordingly, the IC chip 12 can perform wireless communication via the IC-side antenna 17 and the antenna wiring 13.
  • the IC module 16 is exposed from the surface (second surface) 11c on the back side of the surface (first surface) 11a of the resin molded body 11. It is embedded in the resin molded body 11.
  • the antenna wiring 13 is formed on the surface 11 a so as to face the IC module 16.
  • the antenna wiring 13 is formed at a position where it can be electromagnetically coupled to the IC side antenna 17 of the IC module 16. Therefore, the printing machine 60 needs to specify the position of the IC module 16 and print the antenna wiring 13 based on the position. In order to easily specify the position of the IC module 16 embedded on the inner surface side of the resin molded body 11, it is preferable to mold the resin molded body 11 with a transparent material.
  • the antenna wiring 13 is formed at a position facing the IC module 16.
  • the IC module 16 is disposed so as to be exposed on the outer surface of the exterior component, and the antenna wiring 13 is formed so as not to overlap the IC module 16.
  • FIG. 14 is a front view showing the relay 201 according to the third embodiment.
  • 15 is a cross-sectional view taken along the line XX in FIG. 16 is a cross-sectional view taken along line XI-XI in FIG.
  • the relay 201 is different from the relay 101 of the second embodiment in that it includes an exterior component 210 instead of the exterior component 110.
  • the exterior component 210 is different from the exterior component 110 in that a resin molded body 211 is provided instead of the resin molded body 11. Since points other than this are the same as those of relay 101 of the second embodiment, description thereof will not be repeated below.
  • the resin molded body 211 includes a first resin molded part 221 and a second resin molded part 231.
  • the first resin molded part 221 and the second resin molded part 231 are integrated by an adhesive or a mechanical joining structure to constitute a resin molded body 211.
  • the exterior component 210 can be enlarged. Furthermore, the exterior component 210 having a complicated shape can be easily realized.
  • the first resin molded part 221 is cylindrical. One open end of the first resin molded component 221 is joined to the surface of the base member 20 on which the electromagnet 40 and the contact portion 50 are mounted.
  • the second resin molded part 231 has a plate shape and is joined to the other open end so as to close the other open end of the first resin molded part 221.
  • the front surface 221a of the first resin molded part 221 and the front surface 231a of the second resin molded part 231 are on the same plane.
  • the IC module 16 is embedded in the second resin molded part 231 so as to be exposed from the surface 231a.
  • the antenna wiring 13 is formed on the surface 221a of the first resin molded part 221 at a position where it is electromagnetically coupled to the IC side antenna 17 (see FIG. 13) of the IC module 16.
  • the resin molded body 211 includes the first resin molded part 221 and the second resin molded part 231.
  • the antenna wiring 13 is formed on a surface (first surface) 221 a that is a part of the outer surface of the first resin molded part 221.
  • the outer surface of the second resin molded part includes a surface (second surface) 231a that is on the same plane as the surface 221a.
  • the IC module 16 is embedded in the second resin molded part 231 and exposed from the surface 231a. As a result, the antenna wiring 13 is not formed at the boundary between the first resin molded part 221 and the second resin molded part 231. As a result, disconnection of the antenna wiring 13 can be prevented.

Landscapes

  • Engineering & Computer Science (AREA)
  • Computer Hardware Design (AREA)
  • Microelectronics & Electronic Packaging (AREA)
  • Physics & Mathematics (AREA)
  • General Physics & Mathematics (AREA)
  • Theoretical Computer Science (AREA)
  • Details Of Aerials (AREA)
  • Credit Cards Or The Like (AREA)
PCT/JP2017/041271 2017-02-22 2017-11-16 製品の製造方法、外装部品およびアンテナパターン選択装置 Ceased WO2018154880A1 (ja)

Priority Applications (3)

Application Number Priority Date Filing Date Title
CN201780071288.3A CN109997153A (zh) 2017-02-22 2017-11-16 产品的制造方法、外装部件以及天线图案选择装置
EP17898167.6A EP3588384B1 (en) 2017-02-22 2017-11-16 Method for manufacturing product, exterior component, and device for selecting antenna pattern
US16/462,277 US11322828B2 (en) 2017-02-22 2017-11-16 Method of manufacturing product, exterior jacket component and antenna pattern selection device

Applications Claiming Priority (2)

Application Number Priority Date Filing Date Title
JP2017030838A JP6658607B2 (ja) 2017-02-22 2017-02-22 製品の製造方法、外装部品およびアンテナパターン選択装置
JP2017-030838 2017-02-22

Publications (1)

Publication Number Publication Date
WO2018154880A1 true WO2018154880A1 (ja) 2018-08-30

Family

ID=63254193

Family Applications (1)

Application Number Title Priority Date Filing Date
PCT/JP2017/041271 Ceased WO2018154880A1 (ja) 2017-02-22 2017-11-16 製品の製造方法、外装部品およびアンテナパターン選択装置

Country Status (6)

Country Link
US (1) US11322828B2 (enExample)
EP (1) EP3588384B1 (enExample)
JP (1) JP6658607B2 (enExample)
CN (1) CN109997153A (enExample)
TW (1) TW201832413A (enExample)
WO (1) WO2018154880A1 (enExample)

Families Citing this family (2)

* Cited by examiner, † Cited by third party
Publication number Priority date Publication date Assignee Title
WO2023139864A1 (ja) * 2022-01-24 2023-07-27 サトーホールディングス株式会社 成形体及び成形体の製造方法
US12400100B2 (en) * 2022-11-17 2025-08-26 Hid Global Corp. On-metal RFID tag

Citations (6)

* Cited by examiner, † Cited by third party
Publication number Priority date Publication date Assignee Title
JP2000294577A (ja) 1999-04-06 2000-10-20 Sony Chem Corp 半導体装置
JP2002261421A (ja) 2001-03-06 2002-09-13 Matsushita Electric Ind Co Ltd 電子部品実装済部品の製造方法、電子部品実装済完成品の製造方法、及び半導体部品実装済完成品
JP2005301443A (ja) 2004-04-07 2005-10-27 Bridgestone Corp Rfidタグ及びrfidタグの回路定数調整方法
JP2006039902A (ja) * 2004-07-27 2006-02-09 Ntn Corp Uhf帯無線icタグ
JP2007096768A (ja) 2005-09-29 2007-04-12 Omron Corp アンテナユニットおよび非接触icタグ
JP2008210344A (ja) 2007-02-28 2008-09-11 Omron Corp Icタグ及びその製造方法

Family Cites Families (10)

* Cited by examiner, † Cited by third party
Publication number Priority date Publication date Assignee Title
JP4089167B2 (ja) 2001-03-30 2008-05-28 三菱マテリアル株式会社 Rfid用タグ
JP4052111B2 (ja) * 2002-06-07 2008-02-27 ソニー株式会社 無線情報記憶媒体
JP4290620B2 (ja) * 2004-08-31 2009-07-08 富士通株式会社 Rfidタグ、rfidタグ用アンテナ、rfidタグ用アンテナシートおよびrfidタグの製造方法
EP1833290A4 (en) * 2004-12-03 2009-11-11 Hallys Corp METHOD FOR MANUFACTURING ELECTRONIC COMPONENT AND EQUIPMENT FOR MANUFACTURING ELECTRONIC COMPONENT
WO2007141836A1 (ja) 2006-06-02 2007-12-13 Hitachi, Ltd. Icタグ用インレットの製造方法
CN101587845A (zh) * 2008-05-21 2009-11-25 资茂科技股份有限公司 电子卷标的封装方法、封装结构及无尘室人员的管控方法
WO2013070747A1 (en) * 2011-11-07 2013-05-16 Tego Inc. Rfid drive management facility
US9286564B2 (en) * 2012-11-20 2016-03-15 Xerox Corporation Apparatuses and methods for printed radio frequency identification (RFID) tags
DE102014119663A1 (de) * 2014-12-29 2016-06-30 Infineon Technologies Ag Chipkarte
US11239179B2 (en) * 2018-11-28 2022-02-01 Shiann-Tsong Tsai Semiconductor package and fabrication method thereof

Patent Citations (6)

* Cited by examiner, † Cited by third party
Publication number Priority date Publication date Assignee Title
JP2000294577A (ja) 1999-04-06 2000-10-20 Sony Chem Corp 半導体装置
JP2002261421A (ja) 2001-03-06 2002-09-13 Matsushita Electric Ind Co Ltd 電子部品実装済部品の製造方法、電子部品実装済完成品の製造方法、及び半導体部品実装済完成品
JP2005301443A (ja) 2004-04-07 2005-10-27 Bridgestone Corp Rfidタグ及びrfidタグの回路定数調整方法
JP2006039902A (ja) * 2004-07-27 2006-02-09 Ntn Corp Uhf帯無線icタグ
JP2007096768A (ja) 2005-09-29 2007-04-12 Omron Corp アンテナユニットおよび非接触icタグ
JP2008210344A (ja) 2007-02-28 2008-09-11 Omron Corp Icタグ及びその製造方法

Non-Patent Citations (1)

* Cited by examiner, † Cited by third party
Title
See also references of EP3588384A4

Also Published As

Publication number Publication date
US11322828B2 (en) 2022-05-03
EP3588384A1 (en) 2020-01-01
EP3588384A4 (en) 2020-08-12
TW201832413A (zh) 2018-09-01
US20190386390A1 (en) 2019-12-19
CN109997153A (zh) 2019-07-09
JP6658607B2 (ja) 2020-03-04
JP2018136746A (ja) 2018-08-30
EP3588384B1 (en) 2021-12-29

Similar Documents

Publication Publication Date Title
US20130196788A1 (en) Golf ball with rfid system
CN105868664B (zh) 具有防篡改组件的rfid标签
US7982295B2 (en) Electronic device, electronic apparatus mounted with electronic device, article equipped with electronic device and method of producing electronic device
US20100001081A1 (en) Electronic device, electronic apparatus mounted with electronic device, article equipped with electronic device and method of producing electronic device
JP5145896B2 (ja) 電子装置および電子装置製造方法
US20100059596A1 (en) Manufacture of labels with rfid transponders
US8366008B2 (en) Radio frequency identification tag, and method of manufacturing the same
JP6658607B2 (ja) 製品の製造方法、外装部品およびアンテナパターン選択装置
KR20050094082A (ko) Rfid용 아일렛
EP2063383A1 (en) RFID tag and method of manufacturing the same
JP2010237877A (ja) Rfidタグおよびrfidタグの製造方法
JP4797281B2 (ja) Icタグインレットのインサートインモールド成型法
KR100567840B1 (ko) 내열성을 갖는 금속용 무선주파수 인식 태그 및 그 제조방법
KR100898603B1 (ko) 일체형 알에프아이디 태그 및 그 제조방법
JP4487977B2 (ja) Rfidタグ及びその製造方法
KR20140031646A (ko) 칩모듈 패키징을 이용한 고 내구성 알에프아이디 태그
JP4548074B2 (ja) クリーニング用icタグ
EP1703448A2 (en) RFID tag, module component, and RFID tag fabrication method
JP2018136746A5 (enExample)
US20070096917A1 (en) Label of radio frequency identification by thermal transfer printing antenna
KR20220152076A (ko) 타이어 매설 타입 uhf 대역 알에프아이디 타이어 태그 및 이의 제조 방법
KR101427339B1 (ko) 알에프아이디 카드 및 그 제조방법
JP7014189B2 (ja) Rfタグの製造方法、及びrfタグ
KR101032803B1 (ko) 온도에 따라 색깔이 변하는 칩리스 알에프아이디 구조 및 그의 제조 방법
JP5098478B2 (ja) 無線icデバイス及びその製造方法

Legal Events

Date Code Title Description
121 Ep: the epo has been informed by wipo that ep was designated in this application

Ref document number: 17898167

Country of ref document: EP

Kind code of ref document: A1

NENP Non-entry into the national phase

Ref country code: DE

ENP Entry into the national phase

Ref document number: 2017898167

Country of ref document: EP

Effective date: 20190923