WO2018147141A1 - 撮像装置及び撮像システム - Google Patents

撮像装置及び撮像システム Download PDF

Info

Publication number
WO2018147141A1
WO2018147141A1 PCT/JP2018/003189 JP2018003189W WO2018147141A1 WO 2018147141 A1 WO2018147141 A1 WO 2018147141A1 JP 2018003189 W JP2018003189 W JP 2018003189W WO 2018147141 A1 WO2018147141 A1 WO 2018147141A1
Authority
WO
WIPO (PCT)
Prior art keywords
light
substrate
compound semiconductor
light emitting
pixel
Prior art date
Legal status (The legal status is an assumption and is not a legal conclusion. Google has not performed a legal analysis and makes no representation as to the accuracy of the status listed.)
Ceased
Application number
PCT/JP2018/003189
Other languages
English (en)
French (fr)
Japanese (ja)
Inventor
武志 内田
潤 伊庭
Current Assignee (The listed assignees may be inaccurate. Google has not performed a legal analysis and makes no representation or warranty as to the accuracy of the list.)
Canon Inc
Original Assignee
Canon Inc
Priority date (The priority date is an assumption and is not a legal conclusion. Google has not performed a legal analysis and makes no representation as to the accuracy of the date listed.)
Filing date
Publication date
Application filed by Canon Inc filed Critical Canon Inc
Publication of WO2018147141A1 publication Critical patent/WO2018147141A1/ja
Priority to US16/526,168 priority Critical patent/US10861897B2/en
Anticipated expiration legal-status Critical
Ceased legal-status Critical Current

Links

Images

Classifications

    • HELECTRICITY
    • H10SEMICONDUCTOR DEVICES; ELECTRIC SOLID-STATE DEVICES NOT OTHERWISE PROVIDED FOR
    • H10FINORGANIC SEMICONDUCTOR DEVICES SENSITIVE TO INFRARED RADIATION, LIGHT, ELECTROMAGNETIC RADIATION OF SHORTER WAVELENGTH OR CORPUSCULAR RADIATION
    • H10F39/00Integrated devices, or assemblies of multiple devices, comprising at least one element covered by group H10F30/00, e.g. radiation detectors comprising photodiode arrays
    • H10F39/10Integrated devices
    • H10F39/12Image sensors
    • H10F39/18Complementary metal-oxide-semiconductor [CMOS] image sensors; Photodiode array image sensors
    • HELECTRICITY
    • H01ELECTRIC ELEMENTS
    • H01LSEMICONDUCTOR DEVICES NOT COVERED BY CLASS H10
    • H01L25/00Assemblies consisting of a plurality of semiconductor or other solid state devices
    • H01L25/16Assemblies consisting of a plurality of semiconductor or other solid state devices the devices being of types provided for in two or more different subclasses of H10B, H10D, H10F, H10H, H10K or H10N, e.g. forming hybrid circuits
    • H01L25/167Assemblies consisting of a plurality of semiconductor or other solid state devices the devices being of types provided for in two or more different subclasses of H10B, H10D, H10F, H10H, H10K or H10N, e.g. forming hybrid circuits comprising optoelectronic devices, e.g. LED, photodiodes
    • HELECTRICITY
    • H04ELECTRIC COMMUNICATION TECHNIQUE
    • H04NPICTORIAL COMMUNICATION, e.g. TELEVISION
    • H04N25/00Circuitry of solid-state image sensors [SSIS]; Control thereof
    • H04N25/70SSIS architectures; Circuits associated therewith
    • H04N25/76Addressed sensors, e.g. MOS or CMOS sensors
    • HELECTRICITY
    • H10SEMICONDUCTOR DEVICES; ELECTRIC SOLID-STATE DEVICES NOT OTHERWISE PROVIDED FOR
    • H10FINORGANIC SEMICONDUCTOR DEVICES SENSITIVE TO INFRARED RADIATION, LIGHT, ELECTROMAGNETIC RADIATION OF SHORTER WAVELENGTH OR CORPUSCULAR RADIATION
    • H10F39/00Integrated devices, or assemblies of multiple devices, comprising at least one element covered by group H10F30/00, e.g. radiation detectors comprising photodiode arrays
    • H10F39/10Integrated devices
    • H10F39/12Image sensors
    • H10F39/15Charge-coupled device [CCD] image sensors
    • H10F39/151Geometry or disposition of pixel elements, address lines or gate electrodes
    • HELECTRICITY
    • H10SEMICONDUCTOR DEVICES; ELECTRIC SOLID-STATE DEVICES NOT OTHERWISE PROVIDED FOR
    • H10FINORGANIC SEMICONDUCTOR DEVICES SENSITIVE TO INFRARED RADIATION, LIGHT, ELECTROMAGNETIC RADIATION OF SHORTER WAVELENGTH OR CORPUSCULAR RADIATION
    • H10F55/00Radiation-sensitive semiconductor devices covered by groups H10F10/00, H10F19/00 or H10F30/00 being structurally associated with electric light sources and electrically or optically coupled thereto
    • HELECTRICITY
    • H10SEMICONDUCTOR DEVICES; ELECTRIC SOLID-STATE DEVICES NOT OTHERWISE PROVIDED FOR
    • H10HINORGANIC LIGHT-EMITTING SEMICONDUCTOR DEVICES HAVING POTENTIAL BARRIERS
    • H10H29/00Integrated devices, or assemblies of multiple devices, comprising at least one light-emitting semiconductor element covered by group H10H20/00
    • H10H29/10Integrated devices comprising at least one light-emitting semiconductor component covered by group H10H20/00
    • H10H29/14Integrated devices comprising at least one light-emitting semiconductor component covered by group H10H20/00 comprising multiple light-emitting semiconductor components
    • H10H29/142Two-dimensional arrangements, e.g. asymmetric LED layout

Definitions

  • the present invention relates to an imaging apparatus and an imaging system.
  • Patent Document 1 discloses a first substrate provided with a photodiode array and a second substrate provided with a functional element for performing signal processing.
  • An imaging apparatus having a configuration in which the two are connected by metal bumps is disclosed.
  • the first substrate and the second substrate are electrically and mechanically connected by a metal bump such as In. Manufactured by.
  • the first substrate outputs the same number of signals as the photodiodes constituting the photodiode array.
  • the second substrate has a function of converting an output signal from the first substrate into an image signal and performing electrical output with the number of electrode pins that can be handled by a general package. For this reason, if one module is configured with only the first substrate, the number of electrode pins from which signals are extracted becomes enormous, which is practically difficult to use as an imaging apparatus. From such a point of view, not only the first substrate provided with the photodiode array but also the second substrate provided with the functional elements are modularized to constitute an imaging device.
  • An object of the present invention is to provide a high-performance and highly reliable image pickup apparatus and image pickup system including a substrate provided with a light receiving portion and a substrate provided with a readout circuit.
  • a plurality of first pixels each including a first light receiving unit and a light emitting unit that emits light with a light amount corresponding to the light amount detected by the first light receiving unit are provided.
  • a plurality of second substrates each including a first substrate and a second light receiving unit provided opposite to the first substrate and detecting light emitted from the light emitting unit of the first pixel.
  • an imaging apparatus including a pixel and a second substrate provided with a readout circuit that outputs an image signal based on information detected by the plurality of second pixels.
  • the present invention it is possible to realize a high-performance and highly reliable imaging device and imaging system including a substrate provided with a light receiving unit and a substrate provided with a readout circuit.
  • FIG. 1 is a schematic perspective view showing a structure of an imaging apparatus according to a first embodiment of the present invention. It is a figure which shows an example of the plane layout of the read-out circuit board which comprises the imaging device by 1st Embodiment of this invention. It is a figure which shows an example of the plane layout of the sensor board
  • the sensor area may be limited due to the difference between the thermal expansion coefficient of the first substrate and the thermal expansion coefficient of the second substrate.
  • a compound semiconductor substrate is typically used as the first substrate, and a silicon substrate is typically used as the second substrate.
  • the width of the substrate is about 30 mm, the difference in length change due to thermal expansion is about 20 ⁇ m depending on the heating conditions. . Since this difference is as large as a general size of one pixel, it is difficult to realize bump connection under this condition.
  • the pixel size there was a restriction on the pixel size. If the first substrate and the second substrate are in an ideal state without warping, there is no problem in joining even if the height of the metal bumps is low. Exists. When such substrates are bonded, an in-plane distribution corresponding to the warpage of the substrate may occur in the gap between the substrates. Therefore, the height of the metal bump that electrically connects the first substrate and the second substrate must have an allowable width corresponding to the gap difference. As a result, the metal bump has a certain amount of width. Height is required. On the other hand, the aspect ratio (ratio of width to height) of the metal bump has a limit, and the width of the metal bump cannot be reduced beyond the limit value of the aspect ratio. As a result, the size of the pixel is restricted by the size of the metal bump, and cannot be reduced below a certain size.
  • the yield of the bonding process between the substrates using metal bumps is generally not as high as that of the silicon wafer process. Therefore, the yield of the imaging device in which the first substrate and the second substrate are connected by metal bumps is influenced by the yield of the bonding process, and imaging that acquires an image in the visible light band composed only of silicon. It was often lower than the device yield.
  • the present invention is not limited to only the embodiments described below.
  • a modified example in which a part of the configuration of the embodiment described below is changed without departing from the gist of the present invention is also an embodiment of the present invention.
  • FIG. 1 is a perspective view illustrating the structure of the imaging apparatus according to the present embodiment.
  • 2A and 2B are views showing an example of a planar layout of the readout circuit board and the sensor board constituting the imaging apparatus according to the present embodiment.
  • FIG. 3 is a schematic cross-sectional view showing the structure of the imaging apparatus according to the present embodiment.
  • FIG. 4 is a schematic cross-sectional view showing the structure of the sensor substrate constituting the imaging apparatus according to the present embodiment.
  • FIG. 5 is a view for explaining the optical connection between the readout circuit board and the sensor board constituting the imaging apparatus according to the present embodiment.
  • FIG. 6 is a diagram for explaining a locus of light passing through an optical system of a general CMOS image sensor used in a visible light band camera or the like.
  • FIG. 7 is an equivalent circuit diagram for explaining the operation of the sensor substrate constituting the imaging apparatus according to the present embodiment.
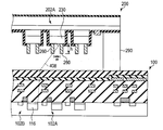
  • the image pickup apparatus 300 has a structure in which a readout circuit board 100 and a sensor board 200 are bonded together as shown in FIG.
  • the sensor substrate 200 is a substrate including an optical sensor for imaging.
  • the readout circuit board 100 is a board including a readout integrated circuit (RoIC: Readout Integrated Circuit) for outputting information detected by the optical sensor of the sensor substrate 200 as a readout image signal.
  • the readout circuit board 100 and the sensor board 200 are bonded together with a spacer 290 so as to face each other with a predetermined gap.
  • Bumps 170 are provided between the readout circuit board 100 and the sensor board 200 and serve to electrically connect them.
  • a silicon substrate accumulated in wafer process technology and integration technology is preferably used from the viewpoint of providing readout integrated circuits.
  • the main reason for mounting the optical sensor on the sensor substrate 200 different from the readout circuit substrate 100 is to use a substrate having a light absorption characteristic different from that of the constituent material of the readout circuit substrate 100.
  • a substrate made of a material different from silicon such as a compound semiconductor substrate, is preferably used as the base material of the sensor substrate 200.
  • the compound semiconductor substrate include an InP substrate and a GaAs substrate.
  • the absorption wavelength band of materials such as InGaAs, GaAsSb, and AlGaInAsP that can grow crystals on InP and GaAs substrates is longer than the absorption wavelength band of single crystal silicon.
  • the sensor substrate 200 may be a substrate in which a compound semiconductor layer such as an InP layer is provided on another substrate such as a sapphire substrate.
  • a silicon substrate is used as the base material of the readout circuit substrate 100 and an InP substrate is used as the base material of the sensor substrate 200 will be described.
  • the materials of the readout circuit substrate 100 and the sensor substrate 200 are as necessary. It can be selected appropriately.
  • FIG. 2A is a diagram illustrating an example of a planar layout of the read circuit board 100.
  • the readout circuit substrate 100 includes a pixel region 104 in which a plurality of pixels 102 are arranged in a matrix, and a peripheral circuit for executing driving of the pixels 102 and processing of output signals of the pixels 102.
  • a peripheral circuit region 106 is provided.
  • the readout circuit board 100 also includes pad electrodes 150 and 152 for electrical connection with the sensor substrate 200 via the bumps 170 and a plurality of pad electrodes 154 for electrical connection with the outside. Is provided.
  • the pad electrodes 150 and 152 are provided outside the pixel region 104.
  • the pad electrodes 150 and 152 are connected to a peripheral circuit via an internal wiring (not shown) so that power can be supplied to the sensor substrate 200 via the pad electrodes 150 and 152 and the bump 170.
  • FIG. 2B is a diagram illustrating an example of a planar layout of the sensor substrate 200.
  • the sensor substrate 200 is provided with a pixel region 204 in which a plurality of pixels 202 are arranged in a matrix and a spacer 290 that is arranged so as to surround the pixel region 204.
  • the sensor substrate 200 also includes a pad electrode 270 electrically connected to a common electrode 262 disposed so as to surround the pixel region 204, and a pad electrode 272 electrically connected to the ring electrode 260 of each pixel 202. And are provided.
  • the pad electrodes 270 and 272 are provided outside the pixel region 204.
  • the plurality of pixels 202 are arranged so as to face the plurality of pixels 102 arranged in the pixel region 104 of the readout circuit substrate 100 when the readout circuit substrate 100 and the sensor substrate 200 are bonded to each other.
  • the pad electrodes 270 and 272 are disposed so as to face the pad electrodes 150 and 152 disposed on the read circuit board 100 when the read circuit board 100 and the sensor substrate 200 are bonded to each other.
  • FIG. 3 is a schematic cross-sectional view taken along the line AA ′ in FIGS. 2A and 2B after the read circuit board 100 and the sensor board 200 are bonded together.
  • the read circuit board 100 includes a silicon substrate 110 as a base material.
  • the pixel region 104 and the peripheral circuit region 106 described above are provided on the silicon substrate 110.
  • FIG. 3 shows three pixels 102 arranged in the pixel region 104 and one peripheral transistor MP arranged in the peripheral circuit region 106. Actually, a plurality of pixels 102 are arranged in a matrix in the pixel region 104.
  • the peripheral circuit region 106 is provided with a plurality of peripheral transistors MP including those of the reverse conductivity type.
  • the signal charge is an electron will be described as an example, but the signal charge may be a hole.
  • the conductivity type of each semiconductor region is a reverse conductivity type.
  • Each pixel 102 includes a light receiving unit 116, a floating diffusion (hereinafter referred to as “FD”), a transfer transistor M 1, a first lens 162, and a second lens 166.
  • FD floating diffusion
  • the pixel 102 may have an in-pixel readout circuit including an amplification transistor, a reset transistor, a selection transistor, and the like, as in a general CMOS image sensor.
  • the light receiving unit 116 is a photodiode including an n-type semiconductor region 114 and a p-type semiconductor region 115 provided in the silicon substrate 110. Signal charges generated by photoelectric conversion in the silicon substrate 110 are collected in the n-type semiconductor region 114. The p-type semiconductor region 115 is arranged so as to contact the main surface 112 of the silicon substrate 110.
  • the photodiode constituting the light receiving unit 116 is a so-called embedded photodiode.
  • the FD is configured by an n-type semiconductor region 118 provided in the silicon substrate 110.
  • the transfer transistor M1 includes a gate electrode 128 provided on the silicon substrate 110 between the n-type semiconductor region 114 and the n-type semiconductor region 118 with a gate insulating film 124 interposed therebetween.
  • the transfer transistor M1 has a function of transferring the signal charge generated by the light receiving unit 116 and accumulated in the n-type semiconductor region 114 to the FD.
  • the signal charge transferred to the FD is converted into a voltage corresponding to the amount of the signal charge transferred from the light receiving unit 116 by the capacitance component of the FD.
  • the FD is electrically connected to an input node of an amplifying unit (not shown).
  • the amplifying unit may be disposed in each pixel.
  • the FD is electrically connected to a signal output line (not shown).
  • the peripheral transistor MP includes n-type semiconductor regions 120 and 122 as source / drain regions provided in the silicon substrate 110, and a silicon substrate 110 between the n-type semiconductor regions 120 and 122 via a gate insulating film 126. And a provided gate electrode 130.
  • An insulating layer 140 is provided on the silicon substrate 110.
  • the insulating layer 140 can be made of, for example, silicon oxide.
  • a first wiring layer 142 and a second wiring layer 144 are provided in the insulating layer 140.
  • a third wiring layer 146 is provided on the insulating layer 140.
  • the first wiring layer 142, the second wiring layer 144, and the third wiring layer 146 are arranged at different heights with the main surface 112 of the silicon substrate 110 as a reference.
  • the first wiring layer 142 and the second wiring layer 144 are made of a conductive member mainly composed of copper, for example.
  • the third wiring layer 146 is made of a conductive member mainly composed of aluminum, for example.
  • the pad electrodes 150, 152, and 154 are configured by the third wiring layer 146.
  • a part of the conductive members of the first wiring layer 142 and a part of the conductive members of the second wiring layer 144 are electrically connected by a via plug (not shown).
  • a part of the conductive member of the second wiring layer 144 and a part of the conductive member of the third wiring layer 146 are electrically connected by a via plug (not shown).
  • the via plug can be made of a conductive material such as tungsten.
  • the conductive member of the first wiring layer 142, the conductive member of the second wiring layer 144, and the conductive member of the third wiring layer 146 are insulated from each other by the insulating layer 140 except for a portion that is electrically connected by a via plug. .
  • the third wiring layer 146 among the plurality of wiring layers is assumed to be the wiring layer arranged farthest from the silicon substrate 110.
  • the insulating layer 140 does not necessarily need to be made of one type of insulating material, and may be made of a laminate of a plurality of insulating layers containing different materials.
  • the insulating layer 140 may include an antireflection film that prevents reflection on the surface of the silicon substrate 110, a diffusion prevention film that prevents diffusion of the conductive member, an etching stopper film, and the like.
  • the number of wiring layers is not limited to three.
  • the conductive members constituting the first wiring layer 142, the second wiring layer 144, and the third wiring layer 146 are not limited to the above example.
  • the first wiring layer 142 and the second wiring layer 144 are not included.
  • the conductive member may be mainly composed of aluminum.
  • An insulating layer 160 is provided on the insulating layer 140 provided with the third wiring layer 146.
  • the insulating layer 160 can function as a protective film.
  • a first lens 162 is disposed on the insulating layer 160 corresponding to each pixel 102.
  • the insulating layer 160 and the first lens 162 can be made of, for example, silicon nitride.
  • the refractive index of the constituent member of the insulating layer 160 and the constituent member of the first lens 162 are both higher than the refractive index of the constituent member of the insulating layer 140.
  • the refractive index of the constituent member of the insulating layer 160 may be different from the refractive index of the constituent member of the insulating layer 140.
  • the insulating layer 160 and the first lens 162 are not necessarily provided.
  • a planarization film 164 and a second lens 166 may be further provided on the first lens 162.
  • the sensor substrate 200 includes an InP substrate 210 as a base material.
  • the aforementioned pixel region 204 is provided on the InP substrate 210.
  • a common layer 212 made of, for example, p-type InP is provided on the InP substrate 210.
  • a plurality of pixels 202 made of a mesa structure including a light receiving unit 220, a light emitting unit 230, and a ring electrode 260 are provided.
  • the common layer 212 may be a part of a semiconductor layer constituting the light receiving unit 220.
  • a protective film 280 is provided on the side wall of the mesa structure.
  • An antireflection film 214 is provided on the back surface of the InP substrate 210.
  • the ring electrode 260 and the pad electrode 272 of the plurality of pixels 202 constituting the pixel region 204 are electrically connected to each other as shown in FIG. 2B.
  • the light receiving portions 220 of the plurality of pixels 202 constituting the pixel region 204 are connected to the common layer 212.
  • it is electrically connected to the pad electrode 270 via a common electrode 262 for making electrical contact with the common layer 212.
  • the mesa structure of the plurality of pixels 202 is designed to be applied with substantially the same voltage through the ring electrode 260 and the common electrode 262.
  • the layer configuration shown in FIG. 4 can be applied. Note that FIG. 4 is upside down from FIG. 3 because each layer is described in the order of crystal growth on the InP substrate 210.
  • a common layer 212 connected to the light receiving unit 220 of each pixel 202 is provided on the main surface of the InP substrate 210 having a thickness of about 500 ⁇ m.
  • the common layer 212 is made of p-type InP having a thickness of 3 ⁇ m, for example.
  • an undoped InGaAs layer 222 having a thickness of 4 ⁇ m and an n-type InP layer 224 having a thickness of 1 ⁇ m are stacked in this order.
  • the common layer 212, the undoped InGaAs layer 222, and the n-type InP layer 224 constitute the light receiving unit 220 described above, and the undoped InGaAs layer 222 functions as a light receiving layer.
  • the light receiving layer made of InGaAs has an absorption wavelength band in the infrared wavelength band.
  • an n-type InP layer 232 having a thickness of 4 ⁇ m, an undoped InP layer 234, and a p-type InP layer 236 are stacked in this order.
  • the n-type InP layer 232, the undoped InP layer 234, and the p-type InP layer 236 constitute the light emitting unit 230 described above, and the undoped InP layer 234 functions as a light emitting layer.
  • the emission center wavelength of the light emitting unit 230 having the light emitting layer made of InP is about 920 nm.
  • a ring electrode 260 is provided on the p-type InP layer 236 via an InGaAs contact layer (not shown). As described above, the ring electrodes 260 provided on the light emitting units 230 of the respective pixels 202 are electrically connected to each other, and substantially eliminate the voltage drop due to the electrical resistance of the wiring connecting them. Are at the same potential.
  • the readout circuit board 100 and the sensor board 200 are arranged so that their main surfaces are opposed and parallel to each other.
  • the plurality of pixels 102 of the readout circuit substrate 100 and the plurality of pixels 202 of the sensor substrate 200 are arranged at the same pitch so as to be paired with each other.
  • the light receiving unit 116 of the pixel 102 and the light emitting unit 230 of the pixel 202 are optically connected via the first lens 162 and the second lens 166.
  • the imaging apparatus includes the light emitting unit 230 on the sensor substrate 200 provided with the imaging sensor element (the light receiving unit 220), and the light receiving unit 116 on the readout circuit board 100 provided with the RoIC. have. Then, the light emitted from the light emitting unit 230 provided on the sensor substrate 200 is detected by the light receiving unit 116 provided on the reading circuit substrate 100. For this reason, the light emitting unit 230 emits light according to the amount of light received by the light receiving unit 220 and is detected by the light receiving unit 116, whereby the information detected by the light receiving unit 220 can be read and sent to the circuit board 100. . That is, in the imaging apparatus according to the present embodiment, the pixel 102 provided on the readout circuit substrate 100 and the pixel 202 provided on the sensor substrate 200 are not electrically connected via metal bumps.
  • FIG. 5 is a diagram for explaining optical connection between the readout circuit board 100 and the sensor board 200.
  • the first lens 162 and the second lens 166 constitute one lens group, and the light 400 emitted from the light emitting unit 230 of the sensor substrate 200 is read out by the lens group. 100 images are formed on the light receiving unit 116.
  • an optical system is designed based on the relationship of the following formula (1) based on a so-called lens formula.
  • 1 / f 1 / d 1 + 1 / d 2
  • d 1 is an optical distance from the interface between the second lens 166 and air to the light receiving unit 116.
  • d 2 is an optical distance from the interface between the second lens 166 and air to the light emitting unit 230.
  • f is an effective focal length of the lens group.
  • the optical distance is represented as the product of the refractive index of a substance through which light propagates and the physical distance through which light propagates.
  • FIG. 6 shows an example of a trajectory of light 402 that passes through an optical system of a general CMOS image sensor used in a camera having sensitivity in the visible light band.
  • FIG. 7 is an equivalent circuit diagram for explaining the operation of the sensor substrate 200.
  • the photodiode D1 corresponds to the light receiving unit 220 in FIG. 3
  • the light emitting diode D2 corresponds to the light emitting unit 230 in FIG. Note that in FIG. 7, wirings that connect the ring electrodes 260 of each pixel 202, and the electrical resistances of the common electrode 262 and the common layer 212 are omitted.
  • the photodiode D1 and the light emitting diode D2 constituting each pixel 202 are connected in series so that the directions of the pn junctions are opposite to each other.
  • the DC power supply 180 supplied from the readout circuit board 100 to the sensor board 200 via the pad electrodes 150, 152, 270, and 272 applies a reverse bias to the photodiode D1 and applies a forward bias to the light emitting diode D2.
  • the voltage of the DC power supply 180 is, for example, 5.0V.
  • the DC power supply 180 When the DC power supply 180 is connected to the series connection body of the photodiode D1 and the light emitting diode D2 in this way, most of the voltage supplied from the DC power supply 180 is applied to the photodiode D1. As a result, the photodiode D1 is in a state where a sufficient reverse bias is applied, and the current flowing through the photodiode D1 changes depending on the amount of light incident on the photodiode D1. Since the photodiode D1 and the light emitting diode D2 are connected in series, the current flowing through the light emitting diode D2 is the same as the current flowing through the photodiode D1.
  • the amount of light emitted from the light emitting diode D2 is proportional to the value of the current flowing through the light emitting diode D2, not the voltage applied to the light emitting diode D2, as in a general LED. As a result, the light emitting diode D2 emits light with a light amount proportional to the amount of light incident on the photodiode D1.
  • a certain amount of light is fed back from the light emitting unit 230 to the light receiving unit 220 due to its structure.
  • the feedback amount exceeds 1 and becomes positive feedback
  • the light emitting unit 230 exceeds the threshold value
  • the light emitting unit 230 emits light regardless of the amount of light incident on the light receiving unit 220, and the information of the light receiving unit 220 is read out. Cannot send to 100. Therefore, the amount of feedback from the light emitting unit 230 to the light receiving unit 220, more specifically, the amount of current flowing into the light emitting unit 230 is generated by the light receiving unit 220 by the light emitted from the light emitting unit 230 by the current. A small amount of current is required. Therefore, for example, a configuration as described in Patent Document 2 that has two stable states due to positive feedback and has an effect as a memory is unsuitable as a configuration of the sensor substrate 200 of the imaging apparatus according to the present embodiment.
  • the laminated body from the common layer 212 to the p-type InP layer 236 has a pnp structure as a whole although an i layer is inserted in the middle. Therefore, when the total film thickness of the n-type InP layers 224 and 232 is equal to or less than the thickness at which holes which are minority carriers can be diffused, an operation like a bipolar transistor is exhibited. When the operation like a bipolar transistor becomes remarkable and the amplification effect exceeds a certain level, positive feedback occurs from the light emitting unit 230 to the light receiving unit 220, and the amount of light emitted by the light emitting unit 230 corresponds to the amount of light received by the light receiving unit 220. It will not become.
  • the total film thickness of the n-type InP layers 224 and 232 corresponding to the base layer corresponds to the diffusion length of minority carriers. It is made thicker than the thickness.
  • the hole diffusion length in the n-type InP layers 224 and 232 of this embodiment is about 4 ⁇ m. Therefore, in this embodiment, the total film thickness of the n-type InP layers 224 and 232 is set to 5 ⁇ m, which is thicker than the hole diffusion length.
  • the hole diffusion length is about 4 ⁇ m, but the hole diffusion length varies depending on the material and the like, and the amplification factor of the bipolar transistor is the doping of each layer constituting the pn junction. Varies with concentration. Therefore, it is desirable that the total film thickness of the n-type layer is appropriately adjusted according to the constituent materials of the light receiving unit 220 and the light emitting unit 230 and the doping concentration of each layer.
  • minority carrier diffusion is blocked by inserting a layer having a larger energy band gap than the surroundings, such as AlInP, into the stacked body constituting the light receiving unit 220 and the light emitting unit 230 and providing a barrier on the valence band side. You may do it. Further, in order to confine minority carriers, a layer having a smaller energy band gap than InP may be inserted to promote carrier accumulation and recombination.
  • a layer having a larger energy band gap than the surroundings such as AlInP
  • the thickness of the InP substrate 210 is about 500 ⁇ m, and the thickness is not greatly reduced from the initial thickness of the InP substrate 210 used for crystal growth of each layer. In addition to facilitating handling during the manufacture of the sensor substrate 200, this has the purpose of absorbing visible light.
  • an InP substrate 210 with a thickness of about 230 ⁇ m is required to absorb 99% of light with a wavelength of 950 nm. Since the absorption coefficient of light on the shorter wavelength side than the wavelength of 950 nm is even greater, visible light can be reliably absorbed with a thickness of about 230 ⁇ m or more.
  • the read circuit board 100 and the sensor board 200 are respectively formed by a semiconductor wafer process. Thereafter, metal bumps made of a metal material such as gold or copper are formed on the pad electrodes 150 and 152 of the readout circuit substrate 100 and the pad electrodes 270 and 272 of the sensor substrate 200, respectively.
  • the sensor board 200 is positioned and installed on the readout circuit board 100, and the sensor board 200 is pressed against the readout circuit board 100 at an elevated temperature.
  • the metal bumps placed on the pad electrodes 150 and 152 and the metal bumps placed on the pad electrodes 270 and 272 are thermocompression bonded, respectively, and electrical connection between the readout circuit board 100 and the sensor board 200 is established.
  • the distance between the readout circuit board 100 and the sensor board 200 is defined by the height of the spacer 290.
  • the electrical connection between the readout circuit board 100 and the sensor board 200 is only the bump 170 that connects between the pad electrode 150 and the pad electrode 270 and between the pad electrode 152 and the pad electrode 272. is there. Therefore, the influence of the bonding process between the readout circuit board 100 and the sensor board 200 on the manufacturing yield can be reduced, and the connection reliability between the readout circuit board 100 and the sensor board 200 can be improved.
  • an adhesive is applied to the outer periphery of the sensor substrate 200 using a dispenser or the like, and the sensor substrate 200 is fixed to the readout circuit substrate 100.
  • the number and arrangement of pad electrodes for electrically connecting the readout circuit substrate 100 and the sensor substrate 200, the outer peripheral shape of the pixel regions 104 and 204, the arrangement of the peripheral circuit region 106, and the like are changed as necessary. can do.
  • the electrical connection method between the readout circuit board 100 and the sensor board 200 is not limited to the metal bumps as long as it can supply power, and for example, a conductive paste or the like may be used.
  • the method for fixing the sensor substrate 200 to the readout circuit substrate 100 is not limited to the adhesive, and other fixing methods may be used.
  • image information captured by the sensor substrate 200 can be transmitted to the readout circuit board 100 and electrically read out without using electrical connection for each pixel. This makes it easy to reduce the pixel size and increase the area of the sensor unit, and to realize a high-performance and highly reliable imaging apparatus that can acquire an image in a long wavelength band exceeding 1.0 ⁇ m. it can.
  • FIG. 8 is a schematic cross-sectional view showing the structure of the sensor substrate constituting the imaging apparatus according to the present embodiment.
  • the imaging device according to the present embodiment is the same as the imaging device according to the first embodiment, except that the configuration of the light emitting unit 230 provided on the sensor substrate 200 is different. That is, in the pixel 202 of the imaging apparatus according to the present embodiment, as shown in FIG. 8, the n-type AlInAs layer 238, the undoped AlGaInAs layer 240, and the p-type AlInAs layer 242 are arranged in this order on the light receiving unit 220.
  • the light emitting unit 230 is stacked.
  • the undoped AlGaInAs layer 240 functions as a light emitting layer.
  • AlGaInAs constituting the undoped AlGaInAs layer 240 is a mixed crystal of AlAs, GaAs, and InAs, and the energy band gap, that is, the emission center wavelength can be controlled in accordance with the composition ratio. Accordingly, a composition having a larger energy band gap than InP used in the light emitting layer of the light emitting unit 230 in the imaging device of the first embodiment can be realized.
  • the emission center wavelength can be set to about 820 nm.
  • the sensitivity of the photodiode made of silicon (the light receiving unit 116) is higher for light having a wavelength of 820 nm than light having a wavelength of 920 nm, which is the emission center wavelength of InP, and thus the light emission of the light emitting unit 230 is higher. It becomes possible to detect with sensitivity.
  • the light emitting layer of the light emitting unit 230 is made of AlGaInAs, but any material that has a desired emission center wavelength and can be epitaxially grown on the base material (InP substrate 210) is particularly suitable. It is not limited. For example, AlInAs excluding Ga may be used instead of AlGaInAs.
  • the light emitting layer may be composed of a plurality of layers or may have a quantum well structure.
  • a structure used in a general LED can be introduced.
  • FIG. 9 is a schematic cross-sectional view showing the structure of the sensor substrate constituting the imaging apparatus according to the present embodiment.
  • the imaging device according to the present embodiment is the same as the imaging device according to the first and second embodiments, except that the configuration of the light emitting unit 230 provided on the sensor substrate 200 is different. That is, the pixel 202 of the imaging apparatus according to the present embodiment includes an n-type AlInAs layer 238, an undoped AlGaInAs layer 240, and an undoped AlInAs layer 244 stacked in this order on the light receiving unit 220, as shown in FIG.
  • the light emitting unit 230 is formed.
  • the undoped AlInAs layer 244 is provided with p-type regions 250 and 252.
  • the p-type region 250 is provided on the surface portion of the undoped AlInAs layer 244 so as to be in contact with the ring electrode 260.
  • the p-type region 252 is provided in the undoped AlInAs layer 244 inside the ring electrode 260 from the surface portion of the undoped AlInAs layer 244 to a depth greater than the depth of the p-type region 250. In this way, an in-plane distribution is provided for the p-type impurity added to the undoped AlInAs layer 244.
  • the current flowing through the light emitting unit 230 is concentrated on the path passing through the p-type region 252 where the width in the depth direction of the undoped AlInAs layer 244 is the narrowest, and the region emits strong light locally.
  • the ratio of light emission in the light extraction window region inside the ring electrode 260 can be increased, and the light extraction efficiency can be improved.
  • the p-type regions 250 and 252 are not particularly limited.
  • the p-type regions 250 and 252 can be formed by adding Zn to the undoped AlGaInAs layer 240 by an ion implantation method.
  • the p-type regions 250 and 252 having different depths can be formed by changing the acceleration energy of the implanted ions.
  • the application example to the imaging apparatus according to the second embodiment has been described.
  • the same configuration may be applied to the imaging apparatus according to the first embodiment.
  • the p-type InP layer 236 may be an undoped InP layer, and a p-type region similar to the p-type regions 250 and 252 may be provided in the undoped InP layer.
  • FIG. 10 is a schematic cross-sectional view showing the structure of the sensor substrate constituting the imaging apparatus according to the present embodiment.
  • the imaging apparatus according to the present embodiment is the first in that a part of the plurality of pixels 202 provided on the sensor substrate 200 further includes an individual electrode connected to the n-side terminal of the light emitting unit 230.
  • the imaging device according to the third embodiment is different.
  • FIG. 10 shows an example in which the above configuration of the present embodiment is applied to the sensor substrate 200 of the imaging apparatus according to the third embodiment. That is, some of the pixels 202A among the plurality of pixels 202 provided on the sensor substrate 200 have the individual electrodes 264 provided on the n-type AlInAs layer 238 which is the n-side terminal of the light emitting unit 230. Yes. Similar to the ring electrode 260 and the common electrode 262, the individual electrode 264 is electrically connected to a peripheral circuit provided on the readout circuit board 100 through wiring and bumps (not shown).
  • the light emitting unit 230 of the pixel 202A applies a voltage between the individual electrode 264 as the n-side electrode and the ring electrode 260 as the p-side electrode, so that the light is not incident on the light receiving unit 220.
  • the light can be emitted independently.
  • the light emitting unit 230 provided in the pixel 202A can be used not only to transmit information to the pixel 102 but also to confirm alignment between the readout circuit board 100 and the sensor board 200. For example, after the readout circuit substrate 100 and the sensor substrate 200 are joined, a voltage is applied between the individual electrode 264 and the ring electrode 260 to cause the light emitting unit 230 of the pixel 202A to emit light, and the pixel 102 that makes a pair with the pixel 202A. The amount of light received by the light receiving unit 116 is confirmed. By doing in this way, it can be checked whether the position shift of the joining in the direction parallel to the main surface of the substrate is within an allowable range. As a result, it is possible to prevent defective products whose positional deviation between the readout circuit board 100 and the sensor board 200 is outside the allowable range from being sent to the mounting process on the ceramic package.
  • the arrangement location and the number of the pixels 202A in the pixel area 204 are not particularly limited. From the viewpoint of detecting a two-dimensional misalignment between the readout circuit board 100 and the sensor board 200, at least two pixels 202A arranged at remote locations are necessary. For example, when the pixel region 204 has a rectangular shape as shown in FIG. 2B, two to four pixels 202 positioned in the vicinity of the four corners of the pixel region 204 can be used as the pixel 202A.
  • the confirmation of the amount of misalignment between the readout circuit board 100 and the sensor board 200 may be performed when the readout circuit board 100 and the sensor board 200 are joined.
  • the light emitting portion 230 of the pixel 202A emits light, and an optimal location is monitored while monitoring the amount of light received by the light receiving portion 116 of the pixel 102 paired with the pixel 202A. Align to.
  • ⁇ An effect in this case is that alignment can be performed with higher accuracy than the mechanical alignment accuracy of the mounting device.
  • the lens is used for optical connection between the light emitting unit 230 of the sensor substrate 200 and the light receiving unit 116 of the readout circuit substrate 100, or when the pixel pitch is 10 micrometers or less.
  • Great effect when small is very when the lens is loaded is that the amount of fluctuation in the amount of light when there is a shift between the region and the light receiving unit 116 because the light is focused on a small region by the lens is not present. It is because it becomes large compared with.
  • a pattern on the readout circuit board 100 and a pattern on the sensor board 200 are recognized by image recognition, and a positional deviation amount in a direction parallel to the main surface is grasped. Thereafter, the readout circuit board 100 and the sensor board 200 are brought close to each other and heated to bond the bumps.
  • misalignment occurs not a little, such as misalignment from the ideal position.
  • the pixel pitch is relatively large, the problem due to the shift is small, but when the pixel pitch approaches a normal visible light band image sensor made of silicon, the influence of the alignment shift cannot be ignored.
  • the reading circuit board 100 and the sensor board 200 are brought close to a few micrometers before contact, and the light emitting unit 230 of the pixel 202A is caused to emit light in that state, and the light receiving unit 116 monitors the received light amount to maximize the amount of received light. Find a location. By doing so, the alignment can be performed in a state where the readout circuit board 100 and the sensor board 200 are as close as possible without using image recognition, so that the displacement due to the movement after the alignment or the like can be greatly reduced.
  • the application example to the imaging apparatus according to the third embodiment has been described.
  • the same configuration may be applied to the imaging apparatus according to the first or second embodiment.
  • the alignment accuracy between the readout circuit board 100 and the sensor board 200 can be improved. Thereby, an improvement in manufacturing yield and further enhancement of sensitivity can be realized.
  • FIG. 11 is a schematic cross-sectional view illustrating the structure of the imaging apparatus according to the present embodiment.
  • the imaging device according to the present embodiment is different from the imaging devices according to the first to fourth embodiments in that it further includes a lens 282 provided on the light emitting unit 230 of the sensor substrate 200. Yes.
  • the lens 282 has a function of shaping light emitted from the light emitting unit 230 into substantially parallel light.
  • the first lens 162 and the second lens 166 provided on the readout circuit board 100 are configured to collect the parallel light 404 emitted from the lens 282 on the light receiving unit 116. Yes.
  • the imaging apparatus since the lens 282 is also provided on the sensor substrate 200 side, the number of manufacturing steps increases. However, the imaging apparatus according to the present embodiment has a unique effect that fluctuations in optical coupling efficiency due to variations in the distance between the readout circuit board 100 and the sensor board 200 can be suppressed.
  • In-plane distribution or variation may occur in the interval between the readout circuit substrate 100 and the sensor substrate 200 due to warpage of the readout circuit substrate 100 and the sensor substrate 200 or variations in the bonding process.
  • the distance between the readout circuit board 100 and the sensor board 200 changes, the distance between the lens group constituted by the first lens 162 and the second lens 166 and the light emitting unit 230 changes.
  • a shift occurs between the position where the light beam is collected by the lens group and the position of the surface of the light receiving unit 116, and the optical coupling between the readout circuit board 100 and the sensor board 200. The efficiency will be affected.
  • the light emitted from the light emitting unit 230 is shaped into the parallel light 404 by the lens 282, so that the light is collected in the readout circuit board 100 even if the distance between the boards changes.
  • the position where the light shines hardly changes.
  • the variation in the optical coupling efficiency due to the in-plane distribution and the variation in the distance between the readout circuit substrate 100 and the sensor substrate 200 can be reduced. Can be suppressed.
  • FIG. 12 is a schematic cross-sectional view showing the structure of the imaging apparatus according to the present embodiment.
  • FIG. 13 is a graph showing the relationship between the distance between the readout circuit board and the sensor board and the optical coupling efficiency.
  • the imaging apparatus according to the present embodiment is the same as the imaging apparatus according to the first to fourth embodiments, except that the lens group (the first lens 162 and the second lens 166) is not provided on the readout circuit board 100.
  • the lens group the first lens 162 and the second lens 166
  • a lens group is not necessarily provided in the optical connection between the light emitting unit 230 of the pixel 202 provided on the sensor substrate 200 and the light receiving unit 116 of the pixel 102 provided on the readout circuit substrate 100, as shown in this embodiment.
  • a lens group is not necessarily provided. There is no need to use.
  • the imaging apparatus according to the present embodiment has an advantage that the manufacturing cost can be reduced by omitting the step of forming the first lens 162 and the second lens 166.
  • FIG. 13 is a graph showing the results of calculating the inter-substrate distance dependency of the optical coupling efficiency between the readout circuit substrate 100 and the sensor substrate 200 in the configuration of the imaging apparatus according to the present embodiment.
  • the horizontal axis represents the optical distance L (see FIG. 12) between the surface position of the light emitting unit 230 and the surface position of the light receiving unit 116.
  • the left vertical axis represents the optical coupling efficiency between the pixel 202 and the pixel 102.
  • the right vertical axis represents the ratio between the optical coupling efficiency to the pixel 102 immediately below and the optical coupling efficiency to the pixel 102 adjacent to the pixel 102 immediately below.
  • the plots marked with ⁇ indicate the optical coupling efficiency between the pixel 202 and the pixel 102 immediately below the pixel 202.
  • the plot with (2) indicates the optical coupling efficiency between the pixel 202 and the pixel 102 adjacent to the pixel 102 immediately below the pixel 202.
  • the plots with ⁇ indicate the ratio between the optical coupling efficiency to the pixel 102 immediately below and the optical coupling efficiency to the adjacent pixel 102.
  • the optical coupling efficiency between the pixel 202 and the pixel 102 increases as the distance between the readout circuit substrate 100 and the sensor substrate 200 is reduced. Therefore, by appropriately setting the interval between the readout circuit board 100 and the sensor board 200 according to the required optical coupling efficiency, desired characteristics can be realized even in a configuration in which no lens group is provided on the readout circuit board 100. It is possible to do.
  • the amount of light incident on the light receiving unit 116 of the pixel 102 directly below the light receiving unit 116 of the adjacent pixel 102 can be suppressed to about 3.5% or less.
  • an imaging device that detects light in a wavelength band exceeding 1.0 ⁇ m is a so-called monochrome imaging device that does not have filters with different transmission wavelength bands depending on pixels. is there. Therefore, depending on the application, it may be usable even if the crosstalk to adjacent pixels is about 3.5%.
  • an imaging apparatus can be realized at a lower cost by a configuration in which a lens is not provided as in the present embodiment. Further, if the crosstalk to the adjacent pixels can be allowed to about 10%, the distance L between the readout circuit board 100 and the sensor board 200 can be increased to about 7 ⁇ m.
  • the application example to the imaging device according to the first to fourth embodiments has been described, but the same configuration as that of this embodiment may be applied to the imaging device according to the fifth embodiment.
  • the manufacturing cost can be reduced.
  • FIG. 14 is a schematic cross-sectional view illustrating the structure of the imaging apparatus according to the present embodiment.
  • a light shielding wall for example, a ring electrode 260 can be used.
  • the ring electrode 260 is used as a light shielding wall in the imaging apparatus according to the sixth embodiment.
  • the area inside the ring electrode 260 of the light emitting unit 230 is an opening through which light is emitted.
  • a ring electrode 260 having a height higher than that in the first to sixth embodiments is assumed, and a case where light emitted from the light emitting unit 230 can be transmitted through the ring electrode 260 is considered.
  • the light rays that pass through the highest portion of the ring electrode 260 are dotted lines in FIG.
  • the ring electrode 260 when the ring electrode 260 is used as a light shielding wall, when the height h of the ring electrode 260 (light shielding wall) satisfies the relationship of the following expression (3), the light receiving unit 116 of the pixel 102B adjacent to the pixel 102A immediately below. It is possible to effectively block light incident on the. h> w ⁇ tan ⁇ 1 (3)
  • ⁇ 1 is an angle formed by the light beam 408 with respect to the surface of the light emitting unit 230
  • w is the width of the opening of the light emitting unit 230 (see FIG. 14).
  • the width w of the opening of the light emitting unit 230 is 5 ⁇ m
  • the width of the opening of the light receiving unit 116 is 5 ⁇ m
  • the optical distance between the surface of the light emitting unit 230 and the surface of the light receiving unit 116 is 5 ⁇ m
  • the pixel pitch is 19 ⁇ m.
  • the height h of the oblique light wall satisfying the above relationship is 1.3 ⁇ m.
  • the difference between the height of the oblique light wall and the height from the light emission surface of the light emitting unit 230 is important. Therefore, it is not always necessary to provide a member as an oblique light wall up to its height.
  • an oblique light wall having the same effect can be realized by etching a portion of the light emitting portion 230 that emits light by 0.5 ⁇ m and arranging a ring electrode 260 having a height of 0.8 ⁇ m around the etched portion. it can.
  • the light shielding wall satisfying the expression (3) is not necessarily the ring electrode 260, and may be formed using another member. Further, a light shielding wall having a similar function may be provided on the readout circuit board 100 side.
  • FIG. 15 is a schematic cross-sectional view showing the structure of the sensor substrate that constitutes the imaging apparatus according to the present embodiment.
  • each pixel 202 provided on the sensor substrate 200 is formed of a mesa structure including a light receiving unit 220 and a light emitting unit 230.
  • the light emitting unit 230 has an independent mesa structure for each pixel 202, but the undoped InGaAs layer 222 and n that constitute the light receiving unit 220.
  • the type InP layer 224 is not patterned for each pixel 202.
  • a p-type region 226 is provided in a region between the pixels 202 of the n-type InP layer 224.
  • the p-type region 226 is formed so as to surround the periphery of each pixel 202 in plan view.
  • the p-type region 226 is not particularly limited.
  • the p-type region 226 can be formed by adding Zn to the n-type InP layer 224 by an ion implantation method.
  • a pn junction can be formed at the interface between the n-type InP layer 224 and the p-type region 226. Due to the reverse characteristics of the pn junction, the light receiving portions 220 of the adjacent pixels 202 can be electrically separated.
  • the etching depth when forming the mesa structure is smaller than in the case of the first to seventh embodiments in which the mesa structure including the light receiving unit 220 and the light emitting unit 230 is formed. Therefore, the machining process can be facilitated. Further, since the light receiving unit 220 does not have a mesa structure, no surface current flows through the mesa side wall.
  • the imaging apparatus further includes a light shielding film 284 between the light emitting units 230 of the adjacent pixels 202.
  • the light-shielding film 284 is not particularly limited, but can be constituted by a laminated film of a Cr film having a thickness of 10 nm and an Au film having a thickness of 100 nm, for example.
  • the reason why the light shielding film 284 is provided in the imaging apparatus according to the present embodiment is to prevent light generated by the light emitting unit 230 of a certain pixel 202 from entering the light receiving unit 220 (undoped InGaAs layer 222) of the adjacent pixel 202. It is. Thereby, crosstalk of light between the pixels 202 can be suppressed.
  • the light shielding film 284 is also applicable to the imaging devices according to the first to seventh embodiments. However, in the imaging device according to the first to seventh embodiments, as described above, since the depth of the groove necessary for separating the mesa structure of each pixel 202 is deeper than that in the present embodiment, the light shielding film The relative difficulty of forming 284 increases.
  • the application example to the imaging apparatus according to the third embodiment has been described.
  • the same configuration as that of the present embodiment may be applied to imaging apparatuses according to other embodiments.
  • the manufacturing process can be facilitated and crosstalk to adjacent pixels can be reduced.
  • FIG. 16 is a block diagram illustrating a schematic configuration of the imaging system according to the present embodiment.
  • the imaging apparatus 300 described in the first to eighth embodiments can be applied to various imaging systems.
  • Examples of applicable imaging systems include digital still cameras, digital camcorders, surveillance cameras, copiers, fax machines, mobile phones, in-vehicle cameras, observation satellites, and the like.
  • a camera module including an optical system such as a lens and an imaging device is also included in the imaging system.
  • FIG. 16 illustrates a block diagram of a digital still camera as an example of these.
  • An imaging system 500 illustrated in FIG. 16 protects the imaging device 501, a lens 502 that forms an optical image of a subject on the imaging device 501, a diaphragm 504 that changes the amount of light passing through the lens 502, and the lens 502.
  • the barrier 506 is provided.
  • the lens 502 and the diaphragm 504 are an optical system that collects light on the imaging device 501.
  • the imaging device 501 is the imaging device 300 described in the first to eighth embodiments.
  • the imaging device 501 transmits an optical image formed on the pixel region 204 of the sensor substrate 200 by the lens 502 to the readout circuit substrate 100 via the light receiving unit 220 and the light emitting unit 230 of each pixel 202.
  • the readout circuit board 100 receives the information transmitted from the sensor board 200 at each pixel 102 arranged in the pixel area 104 and converts it into an image signal.
  • the imaging system 500 also includes a signal processing unit 508 that processes an image signal output from the imaging device 501.
  • the signal processing unit 508 performs AD conversion that converts an analog signal output from the imaging device 501 into a digital signal.
  • the signal processing unit 508 performs an operation of outputting image data after performing various corrections and compressions as necessary.
  • the AD conversion unit which is a part of the signal processing unit 508 may be provided on a semiconductor substrate (read circuit board 100) provided with the imaging device 501 or provided on a semiconductor substrate different from the imaging device 501. It may be. Further, the imaging device 501 and the signal processing unit 508 may be provided on the same semiconductor substrate.
  • the imaging system 500 further includes a memory unit 510 for temporarily storing image data, and an external interface unit (external I / F unit) 512 for communicating with an external computer or the like. Further, the imaging system 500 includes a recording medium 514 such as a semiconductor memory for recording or reading image data, and a recording medium control interface unit (recording medium control I / F unit) 516 for recording or reading to the recording medium 514.
  • a recording medium 514 such as a semiconductor memory for recording or reading image data
  • a recording medium control interface unit (recording medium control I / F unit) 516 for recording or reading to the recording medium 514.
  • the recording medium 514 may be built in the imaging system 500 or may be detachable.
  • the imaging system 500 further includes a general control / arithmetic unit 518 that controls various calculations and the entire digital still camera, and a timing generation unit 520 that outputs various timing signals to the imaging device 501 and the signal processing unit 508.
  • a general control / arithmetic unit 518 that controls various calculations and the entire digital still camera
  • a timing generation unit 520 that outputs various timing signals to the imaging device 501 and the signal processing unit 508.
  • timing signals and the like may be input from the outside, and the imaging system 500 only needs to include at least the imaging device 501 and a signal processing unit 508 that processes an output signal output from the imaging device 501.
  • the imaging device 501 outputs an image signal to the signal processing unit 508.
  • the signal processing unit 508 performs predetermined signal processing on the image signal output from the imaging device 501 and outputs image data.
  • the signal processing unit 508 generates an image using the image data.
  • the imaging apparatus 300 By applying the imaging apparatus 300 according to the first to eighth embodiments, it is possible to realize an imaging system that can acquire a high-definition image of light in a long wavelength band exceeding 1.0 ⁇ m.
  • the present invention is not limited to the above embodiment, and various modifications can be made.
  • the materials, configurations, and the like shown in the above embodiments can be changed as appropriate within the scope of the effects of the present invention.
  • the pixel region 104 of the readout circuit substrate 100 may have the same configuration as that of the backside illumination type CMOS image sensor.
  • the light receiving portion 220 of the sensor substrate 200 is made of an InGaAsSb-based material capable of detecting light having a longer wavelength, an AlGaInN-based material capable of efficiently receiving light in the ultraviolet region, or II-VI. Group compound semiconductor materials may also be applied.
  • the readout circuit board 100 and the sensor board 200 are separated from each other at a predetermined interval, and an air layer is interposed between the readout circuit board 100 and the sensor board 200. It is not necessarily an air layer.
  • a material transparent to the light emitted from the light emitting unit 230 for example, a light transmissive resin, may be filled between the readout circuit board 100 and the sensor board 200.
  • the read circuit board 100 and the sensor board 200 may be bonded so that the surface of the read circuit board 100 and the surface of the sensor board 200 are in contact with each other.
  • a light shielding material is provided so that light from the outside does not enter the light receiving portions 220 of some of the pixels 202 provided on the sensor substrate 200, and the amount of change in dark current due to changes in ambient temperature, etc. It may be a so-called optical black pixel to be monitored.
  • DESCRIPTION OF SYMBOLS 100 Read-out circuit board 102 ... Pixel 104 ... Pixel area 116 ... Light receiving part 200 ... Sensor substrate 202 ... Pixel 204 ... Pixel area 220 ... Light receiving part 230 ... Light emitting part 300 ... Imaging device

Landscapes

  • Engineering & Computer Science (AREA)
  • Microelectronics & Electronic Packaging (AREA)
  • Physics & Mathematics (AREA)
  • Signal Processing (AREA)
  • Condensed Matter Physics & Semiconductors (AREA)
  • General Physics & Mathematics (AREA)
  • Multimedia (AREA)
  • Computer Hardware Design (AREA)
  • Power Engineering (AREA)
  • Solid State Image Pick-Up Elements (AREA)
  • Photo Coupler, Interrupter, Optical-To-Optical Conversion Devices (AREA)
  • Transforming Light Signals Into Electric Signals (AREA)
  • Light Receiving Elements (AREA)
PCT/JP2018/003189 2017-02-07 2018-01-31 撮像装置及び撮像システム Ceased WO2018147141A1 (ja)

Priority Applications (1)

Application Number Priority Date Filing Date Title
US16/526,168 US10861897B2 (en) 2017-02-07 2019-07-30 Imaging device and imaging system

Applications Claiming Priority (2)

Application Number Priority Date Filing Date Title
JP2017020334A JP6817835B2 (ja) 2017-02-07 2017-02-07 撮像装置及び撮像システム
JP2017-020334 2017-02-07

Related Child Applications (1)

Application Number Title Priority Date Filing Date
US16/526,168 Continuation US10861897B2 (en) 2017-02-07 2019-07-30 Imaging device and imaging system

Publications (1)

Publication Number Publication Date
WO2018147141A1 true WO2018147141A1 (ja) 2018-08-16

Family

ID=63107519

Family Applications (1)

Application Number Title Priority Date Filing Date
PCT/JP2018/003189 Ceased WO2018147141A1 (ja) 2017-02-07 2018-01-31 撮像装置及び撮像システム

Country Status (3)

Country Link
US (1) US10861897B2 (enExample)
JP (1) JP6817835B2 (enExample)
WO (1) WO2018147141A1 (enExample)

Families Citing this family (2)

* Cited by examiner, † Cited by third party
Publication number Priority date Publication date Assignee Title
CN117352533B (zh) * 2023-12-06 2024-02-09 深圳市正东明光电子有限公司 发光二极管及制备方法
FR3159853A1 (fr) * 2024-03-04 2025-09-05 Commissariat A L'energie Atomique Et Aux Energies Alternatives Dispositif optoelectronique comportant une diode electroluminescente superposee a un photodetecteur

Citations (6)

* Cited by examiner, † Cited by third party
Publication number Priority date Publication date Assignee Title
JPH0521837A (ja) * 1991-07-17 1993-01-29 Ricoh Co Ltd 半導体機能素子
JPH0540214A (ja) * 1990-06-22 1993-02-19 Internatl Business Mach Corp <Ibm> 電気光学式コネクタ
JPH0697490A (ja) * 1992-09-14 1994-04-08 Toshiba Corp 面型光半導体素子
US5567955A (en) * 1995-05-04 1996-10-22 National Research Council Of Canada Method for infrared thermal imaging using integrated gasa quantum well mid-infrared detector and near-infrared light emitter and SI charge coupled device
US20050083567A1 (en) * 2003-10-15 2005-04-21 National Research Council Of Canada Wavelength conversion device with avalanche multiplier
JP2011077467A (ja) * 2009-10-02 2011-04-14 Mitsubishi Heavy Ind Ltd 赤外線検出素子、赤外線検出装置及び赤外線検出素子の製造方法

Family Cites Families (12)

* Cited by examiner, † Cited by third party
Publication number Priority date Publication date Assignee Title
JPS5526615A (en) 1978-08-11 1980-02-26 Semiconductor Res Found Method of and apparatus for receiving or emitting light
JP3217448B2 (ja) 1992-05-29 2001-10-09 株式会社東芝 インジウムバンプ接続方法
JP4315020B2 (ja) 2004-03-02 2009-08-19 ソニー株式会社 半導体集積回路装置およびその製造方法
JP2011142558A (ja) 2010-01-08 2011-07-21 Fujitsu Ltd イメージセンサおよび撮像システム
JP6141024B2 (ja) 2012-02-10 2017-06-07 キヤノン株式会社 撮像装置および撮像システム
US9543282B2 (en) * 2013-11-18 2017-01-10 Stmicroelectronics Pte Ltd. Optical sensor package
JP2016118417A (ja) 2014-12-19 2016-06-30 株式会社リコー 赤外線検出素子およびそれを用いた赤外線検出装置、赤外線撮像装置
JP6518071B2 (ja) 2015-01-26 2019-05-22 キヤノン株式会社 固体撮像装置およびカメラ
JP2016152374A (ja) 2015-02-19 2016-08-22 キヤノン株式会社 光電変換装置
JP2016218115A (ja) 2015-05-14 2016-12-22 キヤノン株式会社 光学素子の設計方法、光学素子アレイ、センサアレイおよび撮像装置
JP2017069553A (ja) 2015-09-30 2017-04-06 キヤノン株式会社 固体撮像装置、その製造方法及びカメラ
JP6732468B2 (ja) 2016-02-16 2020-07-29 キヤノン株式会社 光電変換装置及びその駆動方法

Patent Citations (6)

* Cited by examiner, † Cited by third party
Publication number Priority date Publication date Assignee Title
JPH0540214A (ja) * 1990-06-22 1993-02-19 Internatl Business Mach Corp <Ibm> 電気光学式コネクタ
JPH0521837A (ja) * 1991-07-17 1993-01-29 Ricoh Co Ltd 半導体機能素子
JPH0697490A (ja) * 1992-09-14 1994-04-08 Toshiba Corp 面型光半導体素子
US5567955A (en) * 1995-05-04 1996-10-22 National Research Council Of Canada Method for infrared thermal imaging using integrated gasa quantum well mid-infrared detector and near-infrared light emitter and SI charge coupled device
US20050083567A1 (en) * 2003-10-15 2005-04-21 National Research Council Of Canada Wavelength conversion device with avalanche multiplier
JP2011077467A (ja) * 2009-10-02 2011-04-14 Mitsubishi Heavy Ind Ltd 赤外線検出素子、赤外線検出装置及び赤外線検出素子の製造方法

Also Published As

Publication number Publication date
US20190355776A1 (en) 2019-11-21
US10861897B2 (en) 2020-12-08
JP6817835B2 (ja) 2021-01-20
JP2018129359A (ja) 2018-08-16

Similar Documents

Publication Publication Date Title
KR102500813B1 (ko) 반도체 소자 및 이의 제조 방법
US9337227B2 (en) Multi-substrate image sensor having a dual detection function
US11284028B2 (en) Image sensors with multiple functions and image sensor modules including the same
US10438989B2 (en) Stack-type image sensor
US20170092684A1 (en) Image sensor device with sub-isolation in pixels
CN104970756B (zh) 自发光互补金属氧化物半导体影像传感器封装
CN112928152B (zh) 半导体装置和设备
US10692915B2 (en) Imaging device and method of manufacturing imaging device
US8836065B2 (en) Solid-state imaging device
US10861897B2 (en) Imaging device and imaging system
US10418406B2 (en) Hybrid sensor chip assembly and method for reducing radiative transfer between a detector and read-out integrated circuit
JP2011192873A (ja) 広波長帯域光検出器アレイ
US20230128236A1 (en) Photodiode and electronic device including the same
US20230283866A1 (en) Imaging device
JP5486541B2 (ja) フォトダイオードアレイモジュール及びその製造方法
JP6127747B2 (ja) 赤外線センサ、及び、赤外線センサの製造方法
JP2018129359A5 (enExample)
US20250228028A1 (en) Image sensor and manufacturing method of the same
US20080042080A1 (en) Multi-channel photocoupling device and producing method thereof
KR20220125930A (ko) 이미지 센싱 장치
KR20220122001A (ko) 이미지 센싱 장치

Legal Events

Date Code Title Description
121 Ep: the epo has been informed by wipo that ep was designated in this application

Ref document number: 18752057

Country of ref document: EP

Kind code of ref document: A1

NENP Non-entry into the national phase

Ref country code: DE

122 Ep: pct application non-entry in european phase

Ref document number: 18752057

Country of ref document: EP

Kind code of ref document: A1