WO2018100887A1 - 物理量計測装置、異常検出装置、及び異常検出方法 - Google Patents

物理量計測装置、異常検出装置、及び異常検出方法 Download PDF

Info

Publication number
WO2018100887A1
WO2018100887A1 PCT/JP2017/036568 JP2017036568W WO2018100887A1 WO 2018100887 A1 WO2018100887 A1 WO 2018100887A1 JP 2017036568 W JP2017036568 W JP 2017036568W WO 2018100887 A1 WO2018100887 A1 WO 2018100887A1
Authority
WO
WIPO (PCT)
Prior art keywords
humidity
abnormality
physical quantity
detection unit
humidity sensor
Prior art date
Legal status (The legal status is an assumption and is not a legal conclusion. Google has not performed a legal analysis and makes no representation as to the accuracy of the status listed.)
Ceased
Application number
PCT/JP2017/036568
Other languages
English (en)
French (fr)
Japanese (ja)
Inventor
水谷 彰利
康士 五箇
Current Assignee (The listed assignees may be inaccurate. Google has not performed a legal analysis and makes no representation or warranty as to the accuracy of the list.)
Denso Corp
Original Assignee
Denso Corp
Priority date (The priority date is an assumption and is not a legal conclusion. Google has not performed a legal analysis and makes no representation as to the accuracy of the date listed.)
Filing date
Publication date
Application filed by Denso Corp filed Critical Denso Corp
Priority to DE112017006115.6T priority Critical patent/DE112017006115T5/de
Publication of WO2018100887A1 publication Critical patent/WO2018100887A1/ja
Priority to US16/424,567 priority patent/US11286893B2/en
Anticipated expiration legal-status Critical
Ceased legal-status Critical Current

Links

Images

Classifications

    • FMECHANICAL ENGINEERING; LIGHTING; HEATING; WEAPONS; BLASTING
    • F02COMBUSTION ENGINES; HOT-GAS OR COMBUSTION-PRODUCT ENGINE PLANTS
    • F02MSUPPLYING COMBUSTION ENGINES IN GENERAL WITH COMBUSTIBLE MIXTURES OR CONSTITUENTS THEREOF
    • F02M35/00Combustion-air cleaners, air intakes, intake silencers, or induction systems specially adapted for, or arranged on, internal-combustion engines
    • F02M35/10Air intakes; Induction systems
    • F02M35/10373Sensors for intake systems
    • F02M35/10386Sensors for intake systems for flow rate
    • FMECHANICAL ENGINEERING; LIGHTING; HEATING; WEAPONS; BLASTING
    • F02COMBUSTION ENGINES; HOT-GAS OR COMBUSTION-PRODUCT ENGINE PLANTS
    • F02MSUPPLYING COMBUSTION ENGINES IN GENERAL WITH COMBUSTIBLE MIXTURES OR CONSTITUENTS THEREOF
    • F02M35/00Combustion-air cleaners, air intakes, intake silencers, or induction systems specially adapted for, or arranged on, internal-combustion engines
    • F02M35/10Air intakes; Induction systems
    • F02M35/10091Air intakes; Induction systems characterised by details of intake ducts: shapes; connections; arrangements
    • FMECHANICAL ENGINEERING; LIGHTING; HEATING; WEAPONS; BLASTING
    • F02COMBUSTION ENGINES; HOT-GAS OR COMBUSTION-PRODUCT ENGINE PLANTS
    • F02MSUPPLYING COMBUSTION ENGINES IN GENERAL WITH COMBUSTIBLE MIXTURES OR CONSTITUENTS THEREOF
    • F02M35/00Combustion-air cleaners, air intakes, intake silencers, or induction systems specially adapted for, or arranged on, internal-combustion engines
    • F02M35/10Air intakes; Induction systems
    • F02M35/10242Devices or means connected to or integrated into air intakes; Air intakes combined with other engine or vehicle parts
    • F02M35/10249Electrical or electronic devices fixed to the intake system; Electric wiring
    • FMECHANICAL ENGINEERING; LIGHTING; HEATING; WEAPONS; BLASTING
    • F02COMBUSTION ENGINES; HOT-GAS OR COMBUSTION-PRODUCT ENGINE PLANTS
    • F02MSUPPLYING COMBUSTION ENGINES IN GENERAL WITH COMBUSTIBLE MIXTURES OR CONSTITUENTS THEREOF
    • F02M35/00Combustion-air cleaners, air intakes, intake silencers, or induction systems specially adapted for, or arranged on, internal-combustion engines
    • F02M35/10Air intakes; Induction systems
    • F02M35/10242Devices or means connected to or integrated into air intakes; Air intakes combined with other engine or vehicle parts
    • F02M35/10268Heating, cooling or thermal insulating means
    • FMECHANICAL ENGINEERING; LIGHTING; HEATING; WEAPONS; BLASTING
    • F02COMBUSTION ENGINES; HOT-GAS OR COMBUSTION-PRODUCT ENGINE PLANTS
    • F02MSUPPLYING COMBUSTION ENGINES IN GENERAL WITH COMBUSTIBLE MIXTURES OR CONSTITUENTS THEREOF
    • F02M35/00Combustion-air cleaners, air intakes, intake silencers, or induction systems specially adapted for, or arranged on, internal-combustion engines
    • F02M35/10Air intakes; Induction systems
    • F02M35/10373Sensors for intake systems
    • F02M35/1038Sensors for intake systems for temperature or pressure
    • FMECHANICAL ENGINEERING; LIGHTING; HEATING; WEAPONS; BLASTING
    • F02COMBUSTION ENGINES; HOT-GAS OR COMBUSTION-PRODUCT ENGINE PLANTS
    • F02MSUPPLYING COMBUSTION ENGINES IN GENERAL WITH COMBUSTIBLE MIXTURES OR CONSTITUENTS THEREOF
    • F02M35/00Combustion-air cleaners, air intakes, intake silencers, or induction systems specially adapted for, or arranged on, internal-combustion engines
    • F02M35/10Air intakes; Induction systems
    • F02M35/10373Sensors for intake systems
    • F02M35/10393Sensors for intake systems for characterising a multi-component mixture, e.g. for the composition such as humidity, density or viscosity
    • GPHYSICS
    • G01MEASURING; TESTING
    • G01FMEASURING VOLUME, VOLUME FLOW, MASS FLOW OR LIQUID LEVEL; METERING BY VOLUME
    • G01F1/00Measuring the volume flow or mass flow of fluid or fluent solid material wherein the fluid passes through a meter in a continuous flow
    • GPHYSICS
    • G01MEASURING; TESTING
    • G01FMEASURING VOLUME, VOLUME FLOW, MASS FLOW OR LIQUID LEVEL; METERING BY VOLUME
    • G01F1/00Measuring the volume flow or mass flow of fluid or fluent solid material wherein the fluid passes through a meter in a continuous flow
    • G01F1/68Measuring the volume flow or mass flow of fluid or fluent solid material wherein the fluid passes through a meter in a continuous flow by using thermal effects
    • GPHYSICS
    • G01MEASURING; TESTING
    • G01FMEASURING VOLUME, VOLUME FLOW, MASS FLOW OR LIQUID LEVEL; METERING BY VOLUME
    • G01F1/00Measuring the volume flow or mass flow of fluid or fluent solid material wherein the fluid passes through a meter in a continuous flow
    • G01F1/68Measuring the volume flow or mass flow of fluid or fluent solid material wherein the fluid passes through a meter in a continuous flow by using thermal effects
    • G01F1/684Structural arrangements; Mounting of elements, e.g. in relation to fluid flow
    • GPHYSICS
    • G01MEASURING; TESTING
    • G01FMEASURING VOLUME, VOLUME FLOW, MASS FLOW OR LIQUID LEVEL; METERING BY VOLUME
    • G01F1/00Measuring the volume flow or mass flow of fluid or fluent solid material wherein the fluid passes through a meter in a continuous flow
    • G01F1/76Devices for measuring mass flow of a fluid or a fluent solid material
    • G01F1/86Indirect mass flowmeters, e.g. measuring volume flow and density, temperature or pressure
    • GPHYSICS
    • G01MEASURING; TESTING
    • G01NINVESTIGATING OR ANALYSING MATERIALS BY DETERMINING THEIR CHEMICAL OR PHYSICAL PROPERTIES
    • G01N27/00Investigating or analysing materials by the use of electric, electrochemical, or magnetic means
    • G01N27/02Investigating or analysing materials by the use of electric, electrochemical, or magnetic means by investigating impedance
    • G01N27/04Investigating or analysing materials by the use of electric, electrochemical, or magnetic means by investigating impedance by investigating resistance
    • G01N27/12Investigating or analysing materials by the use of electric, electrochemical, or magnetic means by investigating impedance by investigating resistance of a solid body in dependence upon absorption of a fluid; of a solid body in dependence upon reaction with a fluid, for detecting components in the fluid
    • G01N27/121Investigating or analysing materials by the use of electric, electrochemical, or magnetic means by investigating impedance by investigating resistance of a solid body in dependence upon absorption of a fluid; of a solid body in dependence upon reaction with a fluid, for detecting components in the fluid for determining moisture content, e.g. humidity, of the fluid

Definitions

  • the disclosure according to this specification relates to a physical quantity measurement device, an abnormality detection device, and an abnormality detection method.
  • Patent Document 1 discloses an air flow rate measuring apparatus provided with a humidity sensor for measuring the humidity of air.
  • the humidity sensor of the air flow rate measuring device of Patent Document 1 has one sensing unit that outputs a signal corresponding to the humidity of the air.
  • the air flow rate measuring device of Patent Document 1 is provided with only one humidity sensor. Therefore, it is difficult to detect such an abnormality of the humidity sensor when, for example, some abnormality due to failure or deterioration occurs in the humidity sensor.
  • An object of the present disclosure is to provide a physical quantity measurement device, an abnormality detection device, and an abnormality detection method capable of detecting an abnormality.
  • a physical quantity measurement device is a physical quantity measurement device that measures a physical quantity of a fluid, and includes at least two humidity detection units that output a humidity signal corresponding to the humidity of the fluid, and two humidity detection units.
  • An abnormality determination unit that determines that an abnormality has occurred in the humidity detection unit when the difference between the acquired humidity signals exceeds an abnormality determination threshold value.
  • An abnormality detection device is an abnormality detection device that detects an abnormality of a measurement unit that measures a physical quantity of fluid, and is configured to respond to the humidity of the fluid from at least two humidity detection units included in the measurement unit.
  • An abnormality determination unit that determines that an abnormality has occurred in the humidity detection unit when the difference between the humidity signal acquired from the two humidity detection units exceeds the abnormality determination threshold, Is provided.
  • the abnormality detection method is an abnormality detection method for detecting an abnormality of a measurement unit that measures a physical quantity of fluid, and is configured to respond to the humidity of the fluid from at least two humidity detection units included in the measurement unit. When the difference between the humidity signals acquired from the two humidity detection units exceeds the abnormality determination threshold, it is determined that an abnormality has occurred in the humidity detection unit.
  • the acquired humidity signals can be compared. Therefore, if it is determined that an abnormality has occurred when the difference between the two humidity signals exceeds the abnormality determination threshold, it is possible to detect an abnormality occurring in the humidity detection unit.
  • FIG. 1 is a diagram illustrating an overall image of a system including a measurement device according to a first embodiment and an internal combustion engine to which the measurement device is applied.
  • FIG. 2 is a perspective view showing the configuration of the air flow meter
  • FIG. 3 is a block diagram showing an electrical configuration of the measuring device
  • FIG. 4 is a front view showing the configuration of the humidity sensor assembly
  • is a cross-sectional view taken along the line IV-IV of FIG. 5 is a cross-sectional view taken along line VV in FIG.
  • FIG. 6 is a cross-sectional view of a humidity sensor chip
  • FIG. 7 is a flowchart showing details of the abnormality detection process.
  • FIG. 8 is a time chart showing details of the abnormality detection process.
  • 9 is a front view showing the configuration of the humidity sensor assembly according to the second embodiment, and is a cross-sectional view taken along the line IX-IX of FIG. 10 is a cross-sectional view taken along line XX of FIG.
  • FIG. 11 is a block diagram showing an electrical configuration of the air flow meter of the second embodiment
  • FIG. 12 is a flowchart showing details of the abnormality detection process according to the second embodiment.
  • FIG. 13 is a front view showing the configuration of the humidity sensor assembly according to the third embodiment, and is a cross-sectional view taken along line XIII-XIII of FIG.
  • FIG. 14 is a cross-sectional view taken along line XIV-XIV in FIG. 15 is a rear view of the humidity sensor assembly, and is a cross-sectional view taken along line XV-XV in FIG.
  • FIG. 16 is a block diagram showing an electrical configuration of the air flow meter of the third embodiment
  • FIG. 17 is a block diagram showing an electrical configuration of the air flow meter of the fourth embodiment
  • FIG. 18 is a cross-sectional view of the humidity sensor chip of the fourth embodiment
  • FIG. 19 is a flowchart showing details of the abnormality detection process according to the fourth embodiment.
  • FIG. 20 is a block diagram showing an electrical configuration of the measurement apparatus according to the fifth embodiment.
  • FIG. 21 is a flowchart showing details of the abnormality detection process according to the fifth embodiment.
  • FIG. 22 is a front view showing the configuration of the humidity sensor assembly according to the sixth embodiment, and is a sectional view taken along line XXII-XXII of FIG. 23 is a sectional view taken along line XXIII-XXIII in FIG.
  • FIG. 24 is a block diagram showing an electrical configuration of the air flow meter of the sixth embodiment
  • FIG. 25 is a front view showing the configuration of the humidity sensor assembly according to the seventh embodiment, and is a sectional view taken along line XXV-XXV in FIG. 26 is a sectional view taken along line XXVI-XXVI in FIG.
  • FIG. 27 is a front view showing the configuration of the humidity sensor assembly according to the eighth embodiment, and is a sectional view taken along line XXVII-XXVII in FIG. 28 is a cross-sectional view taken along line XXVIII-XXVIII in FIG. 29 is a front view showing the configuration of the humidity sensor assembly according to the ninth embodiment, and is a cross-sectional view taken along the line XXIX-XXIX of FIG. 30 is a sectional view taken along line XXX-XXX in FIG. FIG.
  • FIG. 31 is a block diagram showing an electrical configuration of the air flow meter of the ninth embodiment
  • 32 is a front view showing the configuration of the humidity sensor assembly according to the tenth embodiment, and is a sectional view taken along line XXXII-XXXII in FIG.
  • FIG. 33 is a sectional view taken along line XXXIII-XXXIII in FIG.
  • FIG. 34 is a cross-sectional view of the humidity sensor chip of the tenth embodiment
  • FIG. 35 is a block diagram showing an electrical configuration of the humidity sensor assembly of the tenth embodiment
  • 36 is a front view showing the configuration of the humidity sensor assembly according to the eleventh embodiment, and is a sectional view taken along line XXXVI-XXXVI of FIG.
  • FIG. 37 is a sectional view taken along line XXXVII-XXXVII in FIG.
  • FIG. 38 is a block diagram showing an electrical configuration of the measuring apparatus according to the eleventh embodiment.
  • FIG. 39 is a diagram illustrating an overall image of a system including a measurement device according to a twelfth embodiment and an internal combustion engine to which the measurement device is applied.
  • 40 is a front view of a humidity sensor assembly used in the twelfth embodiment, and is a cross-sectional view taken along the line XL-XL of FIG. 41.
  • 41 is a cross-sectional view taken along line XLI-XLI in FIG.
  • FIG. 42 is a diagram illustrating an overall image of a system including a measurement device according to the thirteenth embodiment and an internal combustion engine to which the measurement device is applied.
  • FIG. 43 is a diagram illustrating an overall image of a system including the measurement device according to the fourteenth embodiment and an internal combustion engine to which the measurement device is applied.
  • FIG. 44 is a perspective view showing a configuration of an air flow meter according to the fifteenth embodiment
  • FIG. 45 is a block diagram showing an electrical configuration of the air flow meter of the fifteenth embodiment
  • FIG. 46 is a block diagram showing an electrical configuration of the air flow meter of the sixteenth embodiment
  • FIG. 47 is a block diagram showing an electrical configuration of the air flow meter of the seventeenth embodiment
  • FIG. 48 is a longitudinal sectional view showing the mechanical configuration of the air flow meter of the eighteenth embodiment
  • FIG. 49 is a longitudinal sectional view showing the mechanical configuration of the air flow meter of the nineteenth embodiment
  • FIG. 50 is a longitudinal sectional view showing a mechanical configuration of the air flow meter of the twentieth embodiment
  • FIG. 51 is a diagram showing the arrangement of humidity sensor chips
  • FIG. 52 is a longitudinal sectional view showing the mechanical configuration of the air flow meter of the 21st embodiment
  • FIG. 53 is a front view showing a configuration of a humidity sensor assembly according to Modification Example 1
  • FIG. 54 is a block diagram showing an electrical configuration of a humidity sensor assembly of Modification Example 1
  • FIG. 55 is a diagram illustrating an overall image of a system including a measurement device according to Modification 2 and an internal combustion engine to which the measurement device is applied.
  • FIG. 56 is a block diagram showing an electrical configuration of a measuring apparatus according to the third modification.
  • a measuring device 100 according to the first embodiment of the present disclosure shown in FIG. 1 includes an air flow meter 10, an engine control device 110, and the like.
  • the measuring device 100 can measure the physical quantity of intake air as a fluid supplied to each cylinder including the combustion chamber 99, specifically, the flow rate and humidity.
  • the measurement result by the measuring device 100 is used for each control of the opening degree of the throttle valve 97, the fuel injection amount of the injector 96, and the EGR (Exhaust Gas Recirculation) amount.
  • the air flow meter 10 is one of many measuring units MS provided in the internal combustion engine 90.
  • an intake air temperature sensor 94, an air-fuel ratio sensor 95, a throttle opening sensor, and the like are provided as a measurement unit MS in the intake system and the exhaust system of the internal combustion engine 90.
  • the internal combustion engine 90 is provided with a crank angle sensor or the like as the measurement unit MS.
  • the air flow meter 10 has a humidity measurement function for measuring the humidity of the intake air in addition to a flow rate measurement function for measuring the flow rate of the intake air sucked into each combustion chamber 99 of the internal combustion engine 90.
  • the air flow meter 10 measures not only the intake flow rate but also the humidity of the intake air with high response and high accuracy, thereby enabling optimal control of the EGR amount and contributing to lower fuel consumption and lower exhaust gas of the internal combustion engine 90. To do.
  • the air flow meter 10 uses an engine control as an external device to generate a flow rate signal corresponding to the flow rate of intake air flowing through the intake flow path 92 of the internal combustion engine 90 and a humidity signal corresponding to the humidity of intake air flowing through the intake flow path 92. Output to device 110.
  • the inlet side of the intake pipe 91 into which air is introduced is the upstream side of the intake passage 92
  • the combustion chamber 99 side is the downstream side of the intake passage 92.
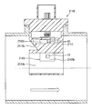
  • the air flow meter 10 shown in FIGS. 1 to 3 is detachably attached to an intake pipe 91 that forms an intake passage 92.
  • the air flow meter 10 is inserted into a sensor insertion hole 93 formed so as to penetrate the cylinder wall of the intake pipe 91, and at least a part thereof is positioned in the intake flow path 92.
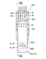
  • the air flow meter 10 includes a housing 11, a flow rate detection unit 12, a humidity sensor assembly 30, and the like.
  • the housing 11 is made of, for example, a resin material.
  • the housing 11 attaches the air flow meter 10 to the intake pipe 91 to bring the flow rate detection unit 12 and the humidity sensor assembly 30 into contact with the intake air flowing through the intake passage 92.
  • the housing 11 is provided with a bypass part 14, a fitting part 15, an O-ring 16, a fixing part 17, a connector part 18, and the like.
  • the bypass portion 14 forms a bypass passage 13.
  • the bypass passage 13 introduces part of the intake air flowing through the intake passage 92 into the housing 11.
  • the inlet opening 13 a of the bypass passage 13 is directed to the upstream side of the intake passage 92.
  • the bypass passage 13 is branched into a plurality of parts inside the housing 11. Some of the branch passages have a shape that circulates inside the bypass portion 14.
  • the fitting portion 15 is a portion that is fitted into the sensor insertion hole 93 via the O-ring 16.
  • the O-ring 16 is a member that seals the intake passage 92 and the outside of the intake pipe 91.
  • the O-ring 16 is externally fitted to the fitting portion 15 and is interposed between the fitting portion 15 and the sensor insertion hole 93.
  • the fixing portion 17 is a portion that fixes the air flow meter 10 to the intake pipe 91 in a state where the main part of the housing 11 is inserted into the sensor insertion hole 93.
  • the connector part 18 is a part surrounding a plurality of terminals.
  • a plug portion is inserted into the connector portion 18.
  • the plug portion is provided at an end portion of a connection line that is directly or indirectly electrically connected to the engine control device 110 and is fitted to the connector portion 18. According to the attachment of the plug portion to the connector portion 18, the air flow meter 10 can output the flow rate signal and the humidity signal toward the engine control device 110.
  • the flow rate detection unit 12 is a thermal flow rate sensor using a heating resistor, for example.
  • the flow rate detection unit 12 is disposed in a bypass passage 13 that circulates inside the bypass unit 14. By attaching the housing 11 to the intake pipe 91, the intake air flowing through the bypass passage 13 is supplied to the flow rate detection unit 12.
  • the flow rate detection unit 12 is electrically connected to a plurality of terminals provided on the connector unit 18.
  • the flow rate detection unit 12 outputs a sensor signal corresponding to the intake flow rate and corresponding to the flow velocity of the air flowing through the bypass passage 13 as a flow rate signal.
  • the flow rate detection unit 12 is not limited to a thermal flow rate sensor, and may be a movable flap flow rate sensor, a Karman vortex flow rate sensor, or the like.
  • the humidity sensor assembly 30 is installed on the side surface of the bypass portion 14 of the housing 11.
  • the humidity sensor assembly 30 has a plurality (two) of humidity detectors 60.
  • the humidity sensor assembly 30 of the first embodiment is provided with two humidity sensor chips 50 each having one humidity detection unit 60.
  • two humidity detectors 60 are provided in one humidity sensor assembly 30.
  • Each humidity detector 60 is disposed in the intake flow path 92 by attaching the housing 11 to the intake pipe 91.
  • the humidity sensor assembly 30 is electrically connected to a plurality of terminals provided on the connector unit 18.
  • the humidity sensor assembly 30 outputs a sensor signal corresponding to the humidity of the intake air flowing through the intake passage 92 as a humidity signal.
  • the humidity signal is a signal transmitted and received according to a communication method such as I2C (Inter-Integrated Circuit, registered trademark).
  • the humidity signal is not limited to the I2C communication method, and may be a SENT (Single Edge Nibble Transmission) communication method or an analog signal such as a simple potential.
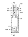
  • the 3 to 5 includes a sensor substrate 43, a plurality (two) of humidity sensor chips 50, a plurality (six) of terminals, a sensor casing 49, and the like.
  • the sensor substrate 43 has a configuration in which a wiring made of a conductive material is formed on an insulating base material.
  • the sensor substrate 43 is formed in a rectangular plate shape as a whole.
  • the sensor substrate 43 is embedded in the sensor housing 49.
  • the humidity sensor assembly 30 is provided with a first sensor chip 51 and a second sensor chip 52 as a plurality of humidity sensor chips 50.
  • the first sensor chip 51 and the second sensor chip 52 have substantially the same configuration.
  • the humidity sensor chip 50 is formed in a flat rectangular column shape as a whole.
  • Each humidity sensor chip 50 is provided with a humidity detector 60.
  • the humidity detection unit 60 of the first sensor chip 51 is referred to as a first humidity detection unit 61
  • the humidity detection unit 60 of the second sensor chip 52 is referred to as a second humidity detection unit 62.
  • Both the first sensor chip 51 and the second sensor chip 52 are mounted on one mounting surface of the sensor substrate 43.
  • the first sensor chip 51 and the second sensor chip 52 are fixed at positions closer to one edge than the center in the longitudinal direction on the mounting surface of the sensor substrate 43. Due to the arrangement in which the two sensor chips 51 and 52 are arranged in the short direction of the mounting surface, the positions of the first humidity detector 61 and the second humidity detector 62 in the longitudinal direction are aligned with each other. In addition, since the sensor chips 51 and 52 are arranged on the same mounting surface, the first humidity detector 61 and the second humidity detector 62 are directed in the same direction.
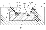
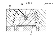
  • Each humidity sensor chip 50 includes a chip substrate 53, an electrode plate 54, a bonding material 55, a chip wire 56, and a sealing portion 57, as shown in FIG.
  • the chip substrate 53 is formed in a flat rectangular column shape as a whole by a semiconductor material such as silicon.
  • a humidity detector 60 is formed at the center of the top surface of the chip substrate 53.
  • the humidity detector 60 is a humidity sensor that measures the relative humidity of the air.
  • the humidity detection unit 60 is a capacitance type humidity sensor that measures the capacitance of a moisture-sensitive material that absorbs and desorbs moisture contained in air with a pair of electrodes sandwiching the moisture-sensitive material.
  • a resistance humidity sensor or the like can also be employed.
  • the electrode plate 54 is a thin plate member formed of a conductive material.
  • the electrode plate 54 forms the bottom surface of the humidity sensor chip 50.
  • a chip electrode 54a, a die pad 54b, and the like are formed on the electrode plate 54.
  • the chip electrode 54 a is electrically connected to the wiring provided on the sensor substrate 43 by mounting the humidity sensor chip 50 on the sensor substrate 43.
  • the bonding material 55 bonds the bottom surface of the chip substrate 53 to the die pad 54 b of the electrode plate 54.
  • the chip wire 56 is a wire-like member formed of a conductive material. The chip wire 56 electrically connects each electrode of the humidity detector 60 provided on the chip substrate 53 to the chip electrode 54a.
  • the sealing portion 57 covers the chip substrate 53, the chip wire 56, and the like while being in close contact with the electrode plate.
  • a detection hole 57 a is formed in the sealing portion 57.
  • the detection hole 57 a is a partially conical through hole provided at a position overlapping the humidity detection unit 60 formed on the top surface of the chip substrate 53.
  • the detection hole 57 a exposes the humidity detection unit 60 from the sealing unit 57.
  • terminals are formed of a metal plate extending in a strip shape as shown in FIGS. 4 and 5. Each terminal has one end exposed from the sensor housing 49. Each terminal is electrically connected to a wiring provided on the sensor substrate 43 via a metal connection wire 44.
  • the multiple terminals include a power supply terminal 45, a set of first output terminals 46a, 46b, a set of second output terminals 47a, 47b, and a ground terminal 48.
  • the power supply terminal 45 supplies a supply voltage necessary for humidity detection to the first sensor chip 51 and the second sensor chip 52.
  • Each of the first output terminals 46 a and 46 b shows the case of the above I2C communication method, and a humidity signal from the first humidity detector 61 is supplied from the first sensor chip 51.
  • Each of the second output terminals 47 a and 47 b shows the case of the above I2C communication method, and a humidity signal from the second humidity detection unit 62 is supplied from the second sensor chip 52.
  • the ground terminal 48 supplies a ground voltage to the first sensor chip 51 and the second sensor chip 52.
  • the sensor housing 49 is formed in a rectangular thick plate shape by a resin material.
  • the sensor housing 49 covers the sensor substrate 43, the terminals, and the sensor chips 51 and 52.
  • the sensor housing 49 exposes one end of each terminal, and the first humidity detection unit 61 and the second humidity detection unit 62 to the outside of the sensor housing 49.
  • Two detection holes 49 a are formed in the sensor housing 49.
  • Each detection hole 49 a is formed at a position overlapping with each detection hole 57 a of each sensor chip 51, 52.
  • the engine control device 110 shown in FIGS. 1 and 3 is an arithmetic processing circuit including a processor 111, a storage medium such as a RAM, a ROM, and a flash memory, a microcomputer including an input / output unit, a power supply circuit, and the like. .
  • sensor signals output from a number of in-vehicle sensors are input to the engine control device 110.
  • the storage medium of the engine control device 110 stores an abnormality detection program that causes the engine control device 110 to function as an abnormality detection device that detects an abnormality of the humidity sensor assembly 30.
  • the storage medium is a non-transitional tangible storage medium, and is not limited to the above-described ROM and storage medium.
  • the engine control device 110 has functional blocks such as a signal acquisition unit 71, a measurement value calculation unit 72, and a failure detection unit 73. *
  • the signal acquisition unit 71 acquires various sensor signals used for control of the internal combustion engine 90 from the measurement unit MS attached to the internal combustion engine 90, an in-vehicle sensor mounted on the vehicle, and the like.
  • the signal acquisition unit 71 acquires two systems of humidity signals corresponding to the humidity of the intake air from at least the first humidity detection unit 61 and the second humidity detection unit 62.
  • the signal acquisition unit 71 can acquire sensor signals from a vehicle speed sensor, an outside air temperature sensor, an atmospheric pressure sensor, and the like in addition to the sensor signal from the measurement unit MS described above.
  • the measurement value calculation unit 72 measures physical quantities used for controlling the throttle opening, the fuel injection amount, the EGR amount, and the like based on the flow rate signal and each humidity signal acquired by the signal acquisition unit 71 and various sensor signals. Calculate the results. The operation of the internal combustion engine 90 is controlled based on the numerical value calculated by the measured value calculation unit 72.
  • the failure detection unit 73 detects a failure occurring in at least one of the two humidity detection units 60 based on the comparison of the outputs of the two humidity sensors as one of the abnormality determinations of the measurement unit MS.
  • the failure detection unit 73 determines whether or not the output difference between the two systems of humidity signals acquired from the first humidity detection unit 61 and the second humidity detection unit 62 exceeds the abnormality determination threshold Th.
  • the failure detection unit 73 determines that the first humidity detection unit 61 or the second humidity detection unit 62 is abnormal when the deviation state in which the output difference of the humidity signal exceeds the abnormality determination threshold Th continues for longer than the abnormality determination time RT.
  • the failure is determined to be in the state.
  • the abnormality determination threshold Th and the abnormality determination time RT are set in advance based on output characteristics of each humidity detector 60, specifically, variations in output responsiveness.
  • the abnormality detection process shown in FIG. 7 is started by the engine control device 110 based on the ignition of the internal combustion engine 90 being turned on.
  • the abnormality detection process of FIG. 7 may be repeatedly performed at predetermined time intervals during operation of the internal combustion engine 90, or may be performed only once at the start of operation.
  • S101 processing for acquiring two humidity signals output from the humidity sensor assembly 30 is started, and the process proceeds to S102 (see time t1 in FIG. 8).
  • the signal acquisition unit 71 acquires the outputs of the first humidity detection unit 61 and the second humidity detection unit 62, and the failure detection unit 73 calculates the output difference between the humidity signals.
  • the output difference is calculated by subtracting the output of the second humidity detector 62 from the output of the first humidity detector 61, or subtracting the output of the first humidity detector 61 from the output of the second humidity detector 62. Either case is fine. If the sign of the output difference is negative, the absolute value of the output difference may be used as the final output difference.
  • Each calculation by the signal acquisition unit 71 and the measurement value calculation unit 72 is continued at least until the end of the abnormality detection process.
  • S102 it is determined whether or not the output difference between the humidity signals exceeds the abnormality determination threshold Th and the outputs of the first humidity detection unit 61 and the second humidity detection unit 62 are in a divergence state.
  • the process proceeds to S104.
  • S104 a normality determination that the two humidity detection units 60 are normal is performed, and the abnormality detection process is terminated.
  • S102 when it is determined in S102 that the output difference exceeds the abnormality determination threshold Th (see time t2 in FIG. 8), the process proceeds to S103.
  • S103 it is determined whether or not the deviation state of the output difference has continued beyond the abnormality determination time RT. If the divergence state is resolved before exceeding the abnormality determination time RT in S103, the normal determination is performed in S104, and the abnormality detection process is terminated. On the other hand, when it is determined in S103 that the divergence state has continued beyond the abnormality determination time RT (see time t3 in FIG. 8), the process proceeds to S105.
  • S105 a failure determination that an abnormality has occurred in at least one of the first humidity detector 61 and the second humidity detector 62 is performed, and the process proceeds to S106.
  • S106 in order to notify the vehicle user of the failure determination, an output process of a signal instructing lighting of the warning lamp is performed, and the abnormality detection process is terminated.
  • the signal output in S106 is acquired by the control unit of the combination meter, the warning lamp of the combination meter is turned on.
  • the measuring apparatus 100 can detect an abnormality such as a failure occurring in the humidity detection unit 60.
  • the failure detection unit 73 of the first embodiment performs failure determination when the deviation state exceeding the abnormality determination threshold Th continues for the abnormality determination time RT or longer.
  • the abnormality determination time RT By using the abnormality determination time RT in this way, erroneous determination due to mixing of noise or the like into the humidity signal is suppressed.
  • the first humidity detector 61 and the second humidity detector 62 are provided in one humidity sensor assembly 30. Therefore, even if it is the structure which provides the two humidity detection parts 60, the increase in the space which installs each humidity detection part 60 can be suppressed.
  • the humidity sensor assembly 30 of the first embodiment two humidity sensor chips 50 are provided on one sensor substrate 43.
  • the circuit board on which each humidity sensor chip 50 is mounted even the humidity sensor assembly 30 having the plurality of humidity detection units 60 can be prevented from being enlarged.
  • the air flow meter 10 performs an operation for determining an abnormality such as a failure.
  • a processing configuration may not be provided. Therefore, the measurement device 100 in which two systems of humidity signals are input to the engine control device 110 can perform abnormality determination while avoiding the complexity of the hardware configuration of the air flow meter 10 and the like.
  • the first humidity detector 61 and the second humidity detector 62 are directed in the same direction. Therefore, each humidity detection unit 60 can capture the flow of air coming from the same direction. As a result, the variation in responsiveness between the two humidity detectors 60 can be reduced, so that the failure detector 73 can perform failure determination with high accuracy.
  • the failure detection unit 73 corresponds to an abnormality determination unit
  • the measurement device 100 corresponds to a physical quantity measurement device.
  • the processor 111 corresponds to a processing unit
  • the engine control device 110 corresponds to an arithmetic processing circuit and an abnormality detection device.
  • the second embodiment of the present disclosure shown in FIGS. 9 to 12 is a modification of the first embodiment.
  • the arrangement of the first sensor chip 51 and the second sensor chip 52 on the sensor substrate 243 is different from that of the first embodiment.
  • the first sensor chip 51 and the second sensor chip 52 are arranged along the longitudinal direction of the sensor substrate 243.
  • the positions of the first sensor chip 51 and the second sensor chip 52 in the short direction are aligned with each other.
  • both the first humidity detector 61 and the second humidity detector 62 are located on the center line of the sensor substrate 243 along the longitudinal direction.
  • the humidity detectors 60 are directed in the same direction.
  • the air flow meter 210 of the second embodiment includes a failure detection unit 273.
  • the failure detection unit 273 is an electronic circuit housed in the housing 11 (see also FIG. 2) together with the flow rate detection unit 12 and the like. Similarly to the first sensor chip 51 and the second sensor chip 52, the failure detection unit 273 is supplied with operating power via the power supply terminal 45 (see FIG. 9).
  • the failure detection unit 273 detects a failure occurring in at least one of the two humidity detection units 60 by comparing the humidity signals of the two systems, similarly to the failure detection unit 73 (see FIG. 3) of the first embodiment. .
  • the abnormality detection process shown in FIG. 12 is started based on the start of power supply to each element of the air flow meter 210 including the failure detection unit 273, and is repeatedly started at a predetermined cycle until the power supply is ended.
  • S204 a failure determination that an abnormality has occurred in at least one of the first humidity detector 61 and the second humidity detector 62 is performed, and the process proceeds to S205.
  • S205 a process for outputting a failure signal toward the engine control apparatus 110 is started, and the abnormality detection process is ended.
  • the engine control device 110 performs processing such as turning on the warning of the combination meter based on the failure signal output in S205.
  • the failure detection unit 273 is provided in the air flow meter 210, it is possible to detect a failure in the humidity detection unit 60 while suppressing an increase in the calculation load of the engine control device 110.
  • the air flow meter 210 corresponds to a physical quantity measurement device
  • the failure detection unit 273 corresponds to an abnormality determination unit.
  • the third embodiment of the present disclosure shown in FIGS. 13 to 16 is a modification of the second embodiment.
  • the failure detection unit 273 is formed on the sensor substrate 343.
  • the failure detection unit 273 is an electronic circuit having substantially the same function as that of the second embodiment.
  • one humidity sensor chip 50 is mounted on each side of the sensor substrate 343.
  • the first sensor chip 51 and the second sensor chip 52 are fixed to the end of the sensor substrate 343 in an arrangement that is symmetrical with respect to each other with the sensor substrate 343 interposed therebetween. Due to the arrangement in which the two humidity sensor chips 50 overlap in the thickness direction of the sensor substrate 343, the positions of the two humidity detectors 60 are also arranged in positions that overlap in the thickness direction. On the other hand, the first humidity detector 61 and the second humidity detector 62 are directed in opposite directions.
  • the sensor housing 349 is provided with a detection hole 49a at a position overlapping with each of the first humidity detection unit 61 and the second humidity detection unit 62.
  • the same effects as in the second embodiment can be obtained, and an abnormality such as a failure occurring in the humidity detection unit 60 can be detected.
  • the two humidity detectors 60 are directed in different directions and in opposite directions.
  • each humidity detection unit 60 may have a different secular change.
  • the failure detection unit 273 see FIG. 11
  • the air flow meter including the humidity sensor assembly 330 corresponds to a physical quantity measuring device.
  • the fourth embodiment of the present disclosure shown in FIGS. 17 to 19 is another modification of the first embodiment.
  • the failure detection unit 273 is provided in the humidity sensor assembly 430 as in the third embodiment.
  • a heating unit 64 is formed in the two humidity sensor chips 450 provided in the humidity sensor assembly 430.
  • the heating unit 64 is configured to generate thermal energy when energized.
  • the heating unit 64 is formed at a position adjacent to the humidity detection unit 60 on the top surface of the chip substrate 53.
  • the heating unit 64 and the humidity detection unit 60 are arranged with a space therebetween.
  • the heating unit 64 is covered with a sealing unit 57.
  • the heating unit 64 evaporates the moisture adsorbed on the moisture-sensitive material of the humidity detection unit 60 by heating the humidity detection unit 60.
  • the failure detection unit 273 is directly or indirectly electrically connected to the heating unit 64 provided in the first sensor chip 451 and the second sensor chip 452.
  • the failure detection unit 273 has a function of driving each heating unit 64 in addition to the failure diagnosis function of the first humidity detection unit 61 and the second humidity detection unit 62.
  • the failure detection unit 273 outputs a heating drive signal to each heating unit 64 and causes each heating unit 64 to be energized, thereby causing each heating unit 64 to generate heat and evaporating the moisture in the humidity detection unit 60.
  • the abnormality detection process shown in FIG. 19 is started based on the start of power supply to each element of the air flow meter 410, and is repeatedly started at a predetermined cycle until the power supply is ended. Note that the processing from S401 to S404 is substantially the same as S101 to S104 (see FIG. 7) of the first embodiment, and a description thereof will be omitted.
  • S407 it is determined whether or not the output difference of each humidity signal of each refreshed humidity detection unit 60 remains in a divergence state exceeding the abnormality determination threshold Th. If it is determined in S407 that the output difference has become less than the abnormality determination threshold Th, normal determination is performed in S404, and the abnormality detection process is terminated.
  • a failure signal is output to the engine control device 110, thereby turning on the warning of the combination meter and ending the abnormality detection process. To do.
  • the failure detection unit 273 of the fourth embodiment performs re-determination of abnormality based on the difference between the humidity signals acquired from the two humidity detection units 60 after heating by the heating unit 64. In this way, if the two humidity detectors 60 are heated together by the respective heating units 64, each humidity detection unit can be used even when, for example, a large amount of moisture is adsorbed by the moisture sensitive material due to being left in a high temperature and high humidity state. It becomes possible to remove moisture from 60.
  • the air flow meter 410 corresponds to a physical quantity measuring device.
  • the fifth embodiment of the present disclosure shown in FIGS. 20 and 21 is a modification of the fourth embodiment.
  • the air flow meter 510 of the fifth embodiment includes a flow rate detection unit 12 and a humidity sensor assembly 530. From the humidity sensor assembly 530, the failure detection unit 273 (see FIG. 17) as in the fourth embodiment is omitted. Heat generation of each heating unit 64 is controlled by the failure detection unit 73 of the engine control device 110.
  • the details of the process in which the failure detection unit 73 detects the abnormality of each humidity detection unit 60 will be described based on FIG. 21 with reference to FIG.
  • S506 it is determined whether or not the output difference between the humidity signals of the refreshed humidity detection units 60 remains in a divergence state exceeding the abnormality determination threshold Th. If it is determined in S506 that the output difference is less than the abnormality determination threshold Th, normal determination is performed in S503, and the abnormality detection process is terminated.
  • the same effects as in the fourth embodiment can be obtained, and an abnormality such as a failure occurring in the humidity detection unit 60 can be detected.
  • the structure which the failure detection part 73 of the engine control apparatus 110 which is an external apparatus of the air flow meter 510 controls each heating part 64 like 5th embodiment may be sufficient.
  • the measuring device 500 including the air flow meter 510 and the engine control device 110 corresponds to a physical quantity measuring device.
  • the sixth embodiment of the present disclosure shown in FIGS. 22 to 24 is another modification of the second embodiment.
  • the humidity sensor assembly 630 of the sixth embodiment includes a plurality (two) of humidity sensor subassemblies 640.
  • the humidity sensor subassembly 640 becomes the subassembly 640.
  • the two subassemblies 640 have substantially the same configuration.
  • Each sub assembly 640 has one humidity detector 60.
  • the sub assembly 640 is formed in a rectangular thick plate shape as a whole.
  • the sub assembly 640 includes a sensor substrate 643, a power supply terminal 45, a set of output terminals 646 and 647, a ground terminal 48, a connection wire 44, a sub casing 640a, and the like. Has been.
  • the sensor substrate 643 and each terminal are embedded in the sub casing 640a by a primary mold of a resin material for molding the sub casing 640a.
  • the sub housing 640a is formed with a detection hole 649a for exposing the humidity detector 60 to the outside of the sub housing 640a.
  • one of the detection holes 649a that opens is the front surface, and the other is the back surface.
  • One of the two subassemblies 640 is the first subassembly 641, and the other is the second subassembly 642.
  • the humidity sensor chip 50 and the humidity detection unit 60 of the first sub assembly 641 become the first sensor chip 51 and the first humidity detection unit 61, respectively.
  • the humidity sensor chip 50 and the humidity detection unit 60 of the second subassembly 642 become the second sensor chip 52 and the second humidity detection unit 62, respectively.
  • the first subassembly 641 and the second subassembly 642 are held by the sensor casing 649 in a manner arranged in the thickness direction by a secondary mold of a resin material for molding the sensor casing 649.
  • the positions of the first subassembly 641 and the second subassembly 642 in the longitudinal direction and the short direction are aligned with each other.
  • a gap in the thickness direction is formed between the back surface of the first subassembly 641 and the front surface of the second subassembly 642.
  • the first humidity detector 61 of the first subassembly 641 and the second humidity detector 62 of the second subassembly 642 are directed in the same direction.
  • the second humidity detector 62 can measure the humidity of the air flowing into the detection hole 649a through the gap formed between the sub-casings 640a.
  • the failure detection unit 273 detects the humidity based on the humidity signal output from each humidity detection unit 60 of each subassembly 640. An abnormality such as a failure occurring in the unit 60 can be detected.
  • the humidity sensor assembly 630 is formed by integrating the two subassemblies 640 with a secondary mold.
  • Each subassembly 640 can be substantially the same as the configuration of a single humidity sensor assembly. Therefore, it is possible to efficiently mass-produce the multiplex system humidity sensor assembly 630 using the configuration used for the non-multiplex system.
  • the sub assembly 640 corresponds to a humidity sensor sub assembly
  • the air flow meter 610 corresponds to a physical quantity measuring device.
  • the seventh embodiment of the present disclosure shown in FIGS. 25 and 26 is a modification of the sixth embodiment.
  • the first sub assembly 641 and the second sub assembly 642 are held by the sensor housing 749 in an arrangement in which the sub assemblies 640 are arranged in the short direction. Yes.
  • Each sub assembly 640 is embedded in the sensor housing 749 in a posture in which each front surface is directed in the same direction.
  • the positions of the first subassembly 641 and the second subassembly 642 are aligned with each other in the thickness direction and the longitudinal direction.
  • the first sub assembly 641 and the second sub assembly 642 are in contact with the side surfaces of the sub housing 640a facing each other.
  • each humidity sensor chip 50 and each humidity detector 60 provided in each of the two subassemblies 640 are arranged along the short direction of the subassemblies 640.
  • the first humidity detector 61 and the second humidity detector 62 are directed in the same direction.
  • the seventh embodiment described so far has the same effect as the sixth embodiment.
  • the air flow meter including the humidity sensor assembly 730 corresponds to a physical quantity measuring device.
  • the eighth embodiment of the present disclosure shown in FIGS. 27 and 28 is another modification of the sixth embodiment.
  • the humidity sensor assembly 830 of the eighth embodiment includes subassemblies 640 and 840 having different longitudinal dimensions.
  • the sub assembly 840 that is the second sub assembly 842 is defined to have a longer dimension in the longitudinal direction than the sub assembly 640 that is the first sub assembly 641.
  • the first subassembly 641 and the second subassembly 842 are held by the sensor casing 849 in an arrangement aligned in the thickness direction.
  • the first subassembly 641 and the second subassembly 842 are embedded in the sensor housing 849 in a posture in which the respective front surfaces are directed in the same direction.
  • the back surface of the first subassembly 641 is in contact with the front surface of the second subassembly 842.
  • the first humidity detector 61 and the second humidity detector 62 are directed in the same direction.
  • the sub assembly 840 includes a sensor substrate 843 and a sub housing 840a. Each dimension in the longitudinal direction of the sensor substrate 843 and the sub housing 840a is longer than that of the sensor substrate 643 and the sub housing 640a of the sub assembly 640. Due to the shape of the sub assembly 840, the second sensor chip 52 is mounted in a region of the sensor substrate 843 that does not overlap the first sub assembly 641 in the thickness direction. As a result, the first sensor chip 51 and the second sensor chip 52 are arranged along the longitudinal direction of the subassemblies 640 and 840. In addition, the detection hole 849a of the second subassembly 842 opens in a region that does not overlap the first subassembly 641 on the front surface of the sub housing 840a.
  • the eighth embodiment described so far has the same effect as the sixth embodiment.
  • the sub assembly 840 corresponds to the humidity sensor sub assembly
  • the air flow meter including the humidity sensor assembly 830 corresponds to the physical quantity measuring device.
  • each sub assembly 640 is provided with a humidity sensor chip 450 having a heating unit 64.
  • the humidity sensor assembly 930 is provided with a failure detection unit 273.
  • the failure detection unit 273 is embedded in, for example, the sensor housing 949.
  • the failure detection unit 273 has substantially the same configuration as the failure detection unit 273 (see FIG. 24) of the sixth embodiment, the failure diagnosis function of the first humidity detection unit 61 and the second humidity detection unit 62, and each heating unit. 64 and a function of refreshing each humidity detector 60.
  • the first sub assembly 641 and the second sub assembly 642 are held by the sensor housing 949 in a posture in which the back surfaces of the sub housings 640a are abutted.
  • the positions of the first subassembly 641 and the second subassembly 642 in the longitudinal direction and the short direction are aligned with each other.
  • the first humidity detector 61 and the second humidity detector 62 are directed in opposite directions.
  • the humidity sensor assembly 930 corresponds to a humidity sensor assembly and a physical quantity measuring device.
  • the tenth embodiment of the present disclosure shown in FIGS. 32 to 35 is still another modification of the first embodiment.
  • the humidity sensor assembly 1030 of the tenth embodiment includes a humidity sensor chip 1050 having two humidity detectors 60.
  • the two humidity detectors 60 become a first humidity detector 61 and a second humidity detector 62, respectively.
  • the humidity sensor assembly 1030 uses one of the two humidity detection units 60 (for example, the first humidity detection unit 61) as a master, and sends a humidity signal based on the measurement of the humidity detection unit 60 serving as the master to the engine control device 110. Output.
  • the humidity sensor assembly 1030 includes a sensor substrate 1043, a power supply terminal 45, a set of output terminals 646 and 647, a ground terminal 48, a sensor housing 1049, and the like.
  • the humidity sensor chip 1050 has a chip substrate 53 and a sealing portion 57 as in the humidity sensor chip 50 (see FIG. 5) of the first embodiment.
  • the first humidity detection unit 61 and the second humidity detection unit 62 are formed on the top surface of the chip substrate 53 at intervals.
  • detection holes 57a are respectively formed in regions overlapping the first humidity detection portion 61 and the second humidity detection portion 62 (see FIG. 34).
  • the first humidity detection unit 61 and the second humidity detection unit 62 face the same direction.
  • the humidity sensor chip 1050 is mounted on the sensor substrate 1043 so that the first humidity detection unit 61 and the second humidity detection unit 62 are aligned in the short direction of the sensor substrate 1043.
  • the humidity sensor chip 1050 is further provided with a set of heating unit 64 and failure detection unit 1073.
  • Each heating unit 64 is formed at a position adjacent to each humidity detection unit 60 on the top surface of the chip substrate 53.
  • Each heating unit 64 is provided on each side in the longitudinal direction of each humidity detection unit 60.
  • the failure detection unit 1073 is formed on the top surface of the chip substrate 53 at a position away from each heating unit 64 and each humidity detection unit 60.
  • the failure detection unit 1073 receives the two systems of humidity signals output by the humidity detection units 60 and processed by the processing circuits 66.
  • the failure detection unit 1073 has a configuration corresponding to the failure detection unit 273 (see FIG. 24) of the sixth embodiment, and includes a failure diagnosis function based on a comparison of two humidity signals and a function of driving each heating unit 64. And have.
  • the tenth embodiment described so far has the same effect as the first embodiment.
  • the increase in size of the sensor substrate 1043 and, in turn, the humidity sensor assembly 1030 can be further suppressed.
  • the failure detection unit 1073 corresponds to an abnormality determination unit
  • the humidity sensor assembly 1030 corresponds to a humidity sensor assembly and a physical quantity measurement device.
  • the eleventh embodiment of the present disclosure shown in FIGS. 36 to 38 is a modification of the tenth embodiment.
  • the humidity sensor chip 1150 used in the eleventh embodiment has two humidity detection units 60, similarly to the humidity sensor chip 1050 (see FIG. 32) of the tenth embodiment.
  • the heating unit 64 (see FIG. 32) and the failure detection unit 1073 (see FIG. 32) are omitted from the humidity sensor chip 1150.
  • the humidity sensor chip 1150 individually processes the outputs of the two humidity detectors 60 by the processing circuits 66 and outputs the processed humidity signals to the engine control device 110 as two systems of humidity signals.
  • the humidity sensor assembly 1130 includes the humidity sensor chip 1150, the sensor substrate 1143, the power supply terminal 45, the two sets of output terminals 46a, 46b, 47a, 47b, the ground terminal 48, the sensor housing 1149, and the like.
  • the humidity sensor chip 1150 is mounted on the sensor substrate 1143 such that the two humidity detectors 60 are aligned in the longitudinal direction of the sensor substrate 1143. Also in the eleventh embodiment, the first humidity detection unit 61 and the second humidity detection unit 62 face the same direction.
  • the eleventh embodiment described so far has the same effect as the tenth embodiment.
  • the measuring device 1100 including the air flow meter 1110 including the humidity sensor chip 1150 and the engine control device 110 corresponds to a physical quantity measuring device.
  • the tenth embodiment of the present disclosure shown in FIGS. 39 to 41 is still another modification of the first embodiment.
  • the internal combustion engine 90 to which the measuring device 1200 according to the twelfth embodiment is applied is of a type having a plurality of banks, such as a V-type six cylinder.
  • An intake pipe 91 of the internal combustion engine 90 is branched into two so as to supply intake air to each combustion chamber 99 of a cylinder group provided in each bank.
  • the intake pipe 91 has a first pipe portion 91a that forms an intake flow path 92a connected to one bank, and a second pipe portion 91b that forms an intake flow path 92b connected to the other bank.
  • the measuring device 1200 includes an engine control device 110, a set of air flow meters 10b, and a set of humidity sensor assemblies 1230.
  • the engine control device 110 has a failure detection unit 73 as in the first embodiment.
  • the engine control device 110 acquires a flow signal from each air flow meter 10b and also acquires a humidity signal from each humidity sensor assembly 1230.
  • One air flow meter 10b and one humidity sensor assembly 1230 are provided in each of the first tube portion 91a and the second tube portion 91b.
  • the air flow meter 10b and the humidity sensor assembly 1230 are attached to the upstream side of the throttle valve 97 provided in the first pipe portion 91a and the second pipe portion 91b.
  • the air flow meter 10b may be installed upstream of the humidity sensor assembly 1230, or may be installed downstream of the humidity sensor assembly 1230.
  • Each air flow meter 10b is configured by removing the humidity sensor assembly 30 (see FIG. 2) from the air flow meter 10 (see FIG. 2) according to the first embodiment.
  • the two air flow meters 10b have substantially the same configuration.
  • Each air flow meter 10b is directly or indirectly electrically connected to the engine control device 110, and outputs a flow rate signal measured in each intake flow path 92a, 92b to the engine control device 110.
  • the humidity sensor assemblies 1230 have substantially the same configuration.
  • the humidity sensor assembly 1230 is electrically connected to the engine control device 110 directly or indirectly, and outputs humidity signals measured in the intake passages 92a and 92b to the engine control device 110.
  • Each humidity sensor assembly 1230 is provided with one humidity sensor chip 50 having one humidity detector 60.
  • the humidity sensor assembly 1230 includes a sensor substrate 1243, a power supply terminal 45, a set of output terminals 646 and 647, a ground terminal 48, a sensor housing 1249, and the like.
  • one humidity detection unit 60 installed in the first pipe portion 91a is used as the first humidity detection unit 61, and the other humidity detection unit installed in the second pipe unit 91b.
  • Reference numeral 60 denotes a second humidity detector 62.
  • the two humidity sensor assemblies 1230 are attached to the first tube portion 91a and the second tube portion 91b so that the postures of the first humidity detector 61 and the second humidity detector 62 with respect to the flow of intake air are the same. ing.
  • the humidity sensor assembly 1230 used in the twelfth embodiment can be applied to a measuring apparatus that outputs only one system of humidity signals.
  • the multi-system measuring apparatus 1200 it is possible to construct the multi-system measuring apparatus 1200 by combining a plurality of humidity sensor assemblies 1230 that can be used without excess or deficiency in the non-multiplex system.
  • the intake flow path 92a corresponds to the first flow path portion
  • the intake flow path 92b corresponds to the second flow path portion
  • the measurement device 1200 corresponds to the physical quantity measurement device.
  • the humidity sensor assembly 1230 installed in the first pipe part 91a corresponds to the first humidity sensor assembly
  • the humidity sensor assembly 1230 installed in the second pipe part 91b corresponds to the second humidity sensor assembly.
  • a measuring device 1300 according to the thirteenth embodiment includes an engine control device 110 and a set of air flow meters 1310.
  • the two air flow meters 1310 are installed in the first pipe portion 91a and the second pipe portion 91b, respectively, and measure the flow rate and humidity of air in each of the intake passages 92a and 92b.
  • the housing 11 (see FIG. 2) of each air flow meter 1310 is provided with one humidity sensor assembly 1230 (see FIGS. 40 and 41) substantially the same as that of the twelfth embodiment.
  • Each air flow meter 1310 outputs a flow rate signal and a humidity signal to the engine control device 110.
  • the thirteenth embodiment described so far has the same effect as the twelfth embodiment.
  • the air flow meter 1310 used in the thirteenth embodiment has a configuration applicable to a measuring apparatus in which each output of the flow rate signal and the humidity signal is only one system.
  • the multiple measurement device 1300 can be constructed also by combining a plurality of air flow meters 1310 that can be used in the non-multiplex system without excess or deficiency.
  • the measuring device 1300 corresponds to a physical quantity measuring device.
  • the fourteenth embodiment of the present disclosure shown in FIG. 43 is another modification example of the twelfth embodiment.
  • the internal combustion engine 90 to which the measurement device 1400 according to the fourteenth embodiment is applied has a series configuration in which all the cylinders are arranged in a line.
  • the measuring device 1400 includes an engine control device 110, a humidity sensor assembly 1230 (see FIGS. 40 and 41) substantially the same as the twelfth embodiment, and an air flow meter 1310 substantially the same as the thirteenth embodiment.
  • the air flow meter 1310 is provided with a humidity sensor assembly 1230.
  • the engine control device 110 acquires a flow signal from the air flow meter 1310 and also acquires a humidity signal from each of the humidity sensor assembly 1230 provided alone and the humidity sensor assembly 1230 which is a part of the air flow meter 1310.
  • the engine control device 110 detects an abnormality of each humidity sensor assembly 1230 by comparing the two humidity signals by the failure detection unit 73.
  • the humidity sensor assembly 1230 and the air flow meter 1310 are installed in the intake pipe 91 in an arrangement spaced apart from each other.
  • the humidity sensor assembly 1230 is attached on the upstream side of the air flow meter 1310.
  • the humidity sensor assembly 1230 and the air flow meter 1310 are electrically connected to the engine control device 110 directly or indirectly.
  • the humidity sensor assembly 1230 outputs a humidity signal measured in the intake passage 92 toward the engine control device 110.
  • the air flow meter 1310 outputs the humidity signal and the flow path signal measured in the intake flow path 92 toward the engine control device 110.
  • the fourteenth embodiment described so far has the same effect as the twelfth embodiment.
  • the multi-system measuring device 1400 by combining the humidity sensor assembly 1230 and the air flow meter 1310 used for the non-multiplex system one by one.
  • the measuring device 1400 corresponds to a physical quantity measuring device.
  • the humidity sensor assembly 1230 held in the housing 11 corresponds to the first humidity sensor assembly
  • the humidity sensor assembly 1230 arranged as a single unit corresponds to the second humidity sensor assembly.
  • the fifteenth embodiment of the present disclosure shown in FIGS. 44 and 45 is still another modification of the first embodiment.
  • the air flow meter 1510 according to the fifteenth embodiment includes two humidity sensor assemblies 1230 (see FIGS. 40 and 41) that are substantially the same as those of the twelfth embodiment, and a failure detection that has substantially the same function as that of the fourth embodiment. Part 273.
  • Each humidity sensor assembly 1230 is attached to the side surface of the bypass portion 14 in the housing 11 of the air flow meter 1510.
  • Each humidity sensor assembly 1230 is provided with one humidity sensor chip 450.
  • the humidity detectors 60 provided in the humidity sensor chips 450 are arranged as the first humidity detector 61 and the second humidity detector 62 along the axial direction of the intake pipe 91 (see FIG. 1).
  • Air flow meter 1510 outputs a humidity signal based on the measurement result of one humidity detector 60 toward engine control device 110.
  • the failure detection unit 273 is embedded in the housing 11.
  • the failure detection unit 273 is directly or indirectly electrically connected to each of the humidity detection unit 60 and the heating unit 64 provided in each humidity sensor chip 450.
  • the failure detection unit 273 outputs a failure signal to the engine control device 110 based on the difference between the two systems of humidity signals acquired from each humidity detection unit 60.
  • the failure detection unit 273 performs an operation of evaporating moisture of each humidity detection unit 60 by applying a heating drive signal to the heating unit 64 provided in each humidity sensor chip 450.
  • the 15th embodiment described so far has the same effect as the first embodiment.
  • the air flow meter 1510 corresponds to a physical quantity measuring device.
  • the sixteenth embodiment of the present disclosure shown in FIG. 46 is another modification example of the fourth embodiment.
  • the air flow meter 1610 according to the sixteenth embodiment includes two humidity sensor assemblies 1230 and a flow rate detector 1612. Each humidity sensor assembly 1230 is provided with one humidity sensor chip 50.
  • the flow rate detection unit 1612 is provided with a circuit unit corresponding to the failure detection unit 273.
  • the flow rate detection unit 1612 can output a failure signal based on the output difference of each humidity detection unit 60 (61, 62) to the engine control device 110 in addition to the flow rate signal and the humidity signal.
  • the seventeenth embodiment of the present disclosure shown in FIG. 47 is a modification of the sixteenth embodiment.
  • the air flow meter 1710 according to the sixteenth embodiment includes a flow rate detector 1612 that is substantially the same as that of the sixteenth embodiment, and two humidity sensor assemblies 1230 each having a humidity sensor chip 450.
  • the failure detection unit 273 provided in the flow rate detection unit 1612 evaporates the moisture in each humidity detection unit 60 (61, 62) by applying a heating drive signal to the heating unit 64 provided in each humidity sensor chip 450. Actuation can be performed.
  • each air flow meter 1610, 1710 corresponds to a physical quantity measuring device.
  • the eighteenth embodiment of the present disclosure shown in FIG. 48 is still another modification of the first embodiment.
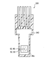
  • the air flow meter 1810 of the eighteenth embodiment is provided with two pressure detectors 80 in addition to the flow rate detector 12 and the two humidity detectors 60.
  • the pressure detector 80 is provided on the pressure sensor chip 180.
  • the pressure detector 80 outputs, as a pressure signal, a measurement signal corresponding to the pressure of the intake air as a physical quantity different from humidity.
  • the air flow meter 1810 outputs a flow rate signal, two humidity signals, and two pressure signals to the engine control device 110 (see FIG. 1).
  • the air flow meter 1810 includes a sensor substrate 1843 provided with a flow rate detection unit 12, each humidity detection unit 60, and each pressure detection unit 80.
  • the sensor substrate 1843 is molded in the housing 1811. Two humidity sensor chips 50 having one humidity detection unit 60 and two pressure sensor chips 180 having one pressure detection unit 80 are mounted on the sensor substrate 1843.
  • Each humidity sensor chip 50 and each pressure sensor chip 180 are arranged on the mounting surface on the opposite side of the both sides of the sensor substrate 1843 from the one provided with the flow rate detection unit 12.
  • Each humidity sensor chip 50 and each pressure sensor chip 180 are housed in a sensor housing chamber 1811 a formed in the housing 1811. Intake air flows into the sensor storage chamber 1811a from the passage opening 1811b.
  • the two humidity sensor chips 50 are arranged on the downstream side of the two pressure sensor chips 180.
  • the humidity sensor chip 50 is housed in the housing 1811 as in the eighteenth embodiment described above, the same effects as in the first embodiment can be obtained, and the failure detection of the humidity detection unit 60 can be detected. Become.
  • the humidity sensor chip 50 and the pressure sensor chip 180 are provided on the same sensor substrate 1843 as in the eighteenth embodiment, even if the air flow meter 1810 can measure a plurality of physical quantities, The increase in size can be suppressed.
  • the pressure detection unit 80 corresponds to a physical quantity detection unit
  • the pressure sensor chip 180 corresponds to a measurement chip.
  • the air flow meter 1810 corresponds to a humidity sensor assembly
  • the measurement device including the air flow meter 1810 and the engine control device 110 corresponds to a physical quantity measurement device.
  • the nineteenth embodiment of the present disclosure shown in FIG. 49 is a modification of the eighteenth embodiment.
  • the air flow meter 1910 of the nineteenth embodiment there is only one pressure sensor chip 180 mounted on the sensor substrate 1843.
  • the two humidity sensor chips 50 are disposed along the outer edge of the pressure sensor chip 180 on the downstream side of the pressure sensor chip 180.
  • the air flow meter 1910 outputs a flow rate signal, two humidity signals, and only one pressure signal to the engine control device 110 (see FIG. 1).
  • the failure detection of the humidity detection unit 60 can be performed as in the eighteenth embodiment.
  • the air flow meter 1910 corresponds to a humidity sensor assembly.
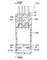
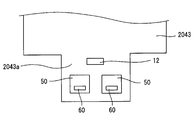
  • the twentieth embodiment of the present disclosure shown in FIGS. 50 and 51 is another modified example of the eighteenth embodiment.
  • the air flow meter 2010 of the 20th embodiment the flow rate detection unit 12 and the two humidity sensor chips 50 are provided in the sensor mounting region 2043a provided at the end of the sensor substrate 2043. As described above, the flow rate detection unit 12 and the two humidity detection units 60 come into contact with the intake air at substantially the same location. Even in the above twentieth embodiment, it is possible to detect a failure of the humidity detector 60 as in the eighteenth embodiment.
  • the air flow meter 2010 corresponds to a humidity sensor assembly.
  • the twenty-first embodiment of the present disclosure shown in FIG. 52 is yet another modification of the eighteenth embodiment.
  • a main bypass passage 2113b and a sub bypass passage 2113c are formed in the housing 2111 of the air flow meter 2110 of the twenty-first embodiment.
  • the sensor board 2143 is provided with a first mounting region 2143b exposed to the main bypass passage 2113b and a second mounting region 2143c exposed to the sub bypass passage 2113c.
  • the flow rate detector 12 is provided in the first mounting region 2143b.
  • two humidity detectors 60 are provided so as to be arranged along the extending direction of the sub bypass passage 2113c.
  • failure detection of the humidity detection unit 60 can be performed as in the eighteenth embodiment.
  • the air flow meter 2110 corresponds to a humidity sensor assembly.
  • the heating unit 64 is provided between the two humidity detection units 60 in the humidity sensor chip 2250 shown in FIGS.
  • the heating unit 64 heats the two humidity detection units 60 under the control of the failure detection unit 1073. As described above, the heating unit 64 that heats each humidity detection unit 60 may not be provided for each humidity detection unit 60.
  • the measuring device 2300 includes at least an engine control device 110 and two humidity sensor assemblies 1230 (see FIGS. 40 and 41).
  • the two humidity sensor assemblies 1230 are spaced apart from each other along the flow direction of the intake flow path 92.
  • the multiple measurement device 2300 can also be constructed by a configuration in which a plurality of single humidity sensor assemblies 1230 are provided in the intake pipe 91.
  • the air flow meter 2410 of the third modification of the first embodiment is provided with a flow rate detection unit 12 and a temperature sensor assembly 2430.
  • the temperature sensor assembly 2430 transmits two systems of humidity signals and temperature signals to the engine control device 110 by the I2C communication method.
  • the temperature sensor assembly 2430 is provided with a plurality (two) of sensor chips 2450 as the first sensor chip 2451 and the second sensor chip 2452.
  • Each sensor chip 2450 is provided with a temperature detection unit 194 that detects the temperature of air separately from the humidity detection unit 60.
  • the humidity detector 60 of the first sensor chip 2451 becomes the first humidity detector 61
  • the humidity detector 60 of the second sensor chip 2452 becomes the second humidity detector 62.
  • the signal acquisition unit 71 acquires the humidity signal and the temperature signal output from each sensor chip 2450.
  • the measured value calculation unit 72 calculates the temperature and humidity of the intake air by appropriately using each humidity signal and each temperature signal.
  • the failure detection unit 73 applies the failure detection means (failure detection method) of the present disclosure to the temperature signal separately from the failure detection of the humidity detection unit 60 based on the humidity signal described so far. It is possible to detect a failure.
  • the failure detection means of the present disclosure can be applied to various signals (for example, a pressure signal) other than the humidity signal and the temperature signal as described above.
  • the sensor chip 2450 corresponds to a humidity sensor chip
  • the temperature sensor assembly 2430 corresponds to a humidity sensor assembly
  • the measurement device 2400 including the air flow meter 2410 and the engine control device 110 corresponds to a physical quantity measurement device.
  • the configuration corresponding to the failure detection unit of the above embodiment may be realized by software and hardware different from the above, or a combination thereof. Further, an arithmetic processing circuit provided in the engine control device, the air flow meter, the humidity sensor assembly, and the like may realize functions such as a failure detection unit in cooperation.

Landscapes

  • Engineering & Computer Science (AREA)
  • Chemical & Material Sciences (AREA)
  • Combustion & Propulsion (AREA)
  • Mechanical Engineering (AREA)
  • General Engineering & Computer Science (AREA)
  • Physics & Mathematics (AREA)
  • Analytical Chemistry (AREA)
  • Fluid Mechanics (AREA)
  • General Physics & Mathematics (AREA)
  • Life Sciences & Earth Sciences (AREA)
  • Health & Medical Sciences (AREA)
  • Biochemistry (AREA)
  • General Health & Medical Sciences (AREA)
  • Electrochemistry (AREA)
  • Immunology (AREA)
  • Pathology (AREA)
  • Chemical Kinetics & Catalysis (AREA)
  • Investigating Or Analyzing Materials By The Use Of Electric Means (AREA)
  • Investigating Or Analyzing Materials By The Use Of Fluid Adsorption Or Reactions (AREA)
  • Measuring Volume Flow (AREA)
  • Combined Controls Of Internal Combustion Engines (AREA)
PCT/JP2017/036568 2016-12-02 2017-10-10 物理量計測装置、異常検出装置、及び異常検出方法 Ceased WO2018100887A1 (ja)

Priority Applications (2)

Application Number Priority Date Filing Date Title
DE112017006115.6T DE112017006115T5 (de) 2016-12-02 2017-10-10 Messvorrichtung für physikalische Größe, Anomalieerfassungsvorrichtung und Anomalieerfassungsverfahren
US16/424,567 US11286893B2 (en) 2016-12-02 2019-05-29 Physical quantity measuring device, humidity detector abnormality detection device, and humidity detector abnormality detection method

Applications Claiming Priority (2)

Application Number Priority Date Filing Date Title
JP2016-235321 2016-12-02
JP2016235321A JP6766620B2 (ja) 2016-12-02 2016-12-02 物理量計測装置、異常検出装置、及び異常検出方法

Related Child Applications (1)

Application Number Title Priority Date Filing Date
US16/424,567 Continuation US11286893B2 (en) 2016-12-02 2019-05-29 Physical quantity measuring device, humidity detector abnormality detection device, and humidity detector abnormality detection method

Publications (1)

Publication Number Publication Date
WO2018100887A1 true WO2018100887A1 (ja) 2018-06-07

Family

ID=62241540

Family Applications (1)

Application Number Title Priority Date Filing Date
PCT/JP2017/036568 Ceased WO2018100887A1 (ja) 2016-12-02 2017-10-10 物理量計測装置、異常検出装置、及び異常検出方法

Country Status (4)

Country Link
US (1) US11286893B2 (enExample)
JP (1) JP6766620B2 (enExample)
DE (1) DE112017006115T5 (enExample)
WO (1) WO2018100887A1 (enExample)

Cited By (3)

* Cited by examiner, † Cited by third party
Publication number Priority date Publication date Assignee Title
CN111198214A (zh) * 2018-11-16 2020-05-26 美蓓亚三美株式会社 检测装置
CN111693105A (zh) * 2019-03-14 2020-09-22 欧姆龙株式会社 流量测定装置
US11143643B2 (en) 2017-01-31 2021-10-12 Denso Corporation Humidity measurement device, control device for internal combustion engine, and abnormality detection device

Families Citing this family (3)

* Cited by examiner, † Cited by third party
Publication number Priority date Publication date Assignee Title
TWM569412U (zh) * 2018-08-07 2018-11-01 捷騰光電股份有限公司 溫濕度感測模組之烘乾裝置
JP7222363B2 (ja) * 2020-01-07 2023-02-15 トヨタ自動車株式会社 エアフロメータの異常診断装置
CN117091748A (zh) * 2022-05-12 2023-11-21 精量电子(深圳)有限公司 压力传感器

Citations (5)

* Cited by examiner, † Cited by third party
Publication number Priority date Publication date Assignee Title
JP2003166964A (ja) * 2001-11-30 2003-06-13 Ngk Spark Plug Co Ltd 湿度センサの制御装置及び湿度センサの制御方法
JP2010151795A (ja) * 2008-11-28 2010-07-08 Hitachi Automotive Systems Ltd 熱式空気流量センサ
WO2013132564A1 (ja) * 2012-03-05 2013-09-12 ナガノサイエンス株式会社 湿度検出装置及びそれを備えた環境試験装置
US20140298880A1 (en) * 2013-04-05 2014-10-09 Ford Global Technologies, Llc Humidity sensor diagnostic method using condensation clearing heater
JP2015078637A (ja) * 2013-10-16 2015-04-23 日立オートモティブシステムズ株式会社 内燃機関の制御装置

Family Cites Families (17)

* Cited by examiner, † Cited by third party
Publication number Priority date Publication date Assignee Title
US7043339B2 (en) 2000-03-29 2006-05-09 Sanyo Electric Co., Ltd. Remote monitoring system for air conditioners
JP2001280674A (ja) 2000-03-29 2001-10-10 Sanyo Electric Co Ltd 空調装置の遠隔監視システム
JP2006105412A (ja) * 2004-09-30 2006-04-20 Sanyo Electric Co Ltd 機器の運転状態監視装置
JP2007113913A (ja) * 2007-02-07 2007-05-10 Sanyo Electric Co Ltd 空調装置の遠隔監視システム
JP2009180587A (ja) * 2008-01-30 2009-08-13 Sanyo Electric Co Ltd センサユニット及びそれを用いた制御装置
JP4929333B2 (ja) * 2009-09-30 2012-05-09 日立オートモティブシステムズ株式会社 センサの構造
JP5568488B2 (ja) * 2011-01-21 2014-08-06 アズビル株式会社 温湿度測定装置
JP5445535B2 (ja) 2011-08-09 2014-03-19 株式会社デンソー 空気流量測定装置
EP2573804A1 (en) * 2011-09-21 2013-03-27 Nxp B.V. Integrated circuit with sensor and manufacturing method thereof
JP6069504B2 (ja) 2013-07-10 2017-02-01 日立オートモティブシステムズ株式会社 温湿度センサ
WO2015068569A1 (ja) 2013-11-07 2015-05-14 日立オートモティブシステムズ株式会社 物理量計測装置
WO2015142318A1 (en) * 2014-03-18 2015-09-24 Siemens Aktiengesellschaft System and method for monitoring air flow into a turbine engine
JP2015183608A (ja) 2014-03-25 2015-10-22 株式会社デンソー 多気筒エンジンの制御装置
JP6243516B2 (ja) 2014-04-04 2017-12-06 日立オートモティブシステムズ株式会社 湿度検出装置
JP6184915B2 (ja) 2014-07-30 2017-08-23 日立オートモティブシステムズ株式会社 物理量検出装置
CN106662475B (zh) 2014-07-30 2019-05-10 日立汽车系统株式会社 物理量检测装置
EP3176544B1 (en) 2014-07-30 2019-10-23 Hitachi Automotive Systems, Ltd. Physical-quantity detection device

Patent Citations (5)

* Cited by examiner, † Cited by third party
Publication number Priority date Publication date Assignee Title
JP2003166964A (ja) * 2001-11-30 2003-06-13 Ngk Spark Plug Co Ltd 湿度センサの制御装置及び湿度センサの制御方法
JP2010151795A (ja) * 2008-11-28 2010-07-08 Hitachi Automotive Systems Ltd 熱式空気流量センサ
WO2013132564A1 (ja) * 2012-03-05 2013-09-12 ナガノサイエンス株式会社 湿度検出装置及びそれを備えた環境試験装置
US20140298880A1 (en) * 2013-04-05 2014-10-09 Ford Global Technologies, Llc Humidity sensor diagnostic method using condensation clearing heater
JP2015078637A (ja) * 2013-10-16 2015-04-23 日立オートモティブシステムズ株式会社 内燃機関の制御装置

Cited By (3)

* Cited by examiner, † Cited by third party
Publication number Priority date Publication date Assignee Title
US11143643B2 (en) 2017-01-31 2021-10-12 Denso Corporation Humidity measurement device, control device for internal combustion engine, and abnormality detection device
CN111198214A (zh) * 2018-11-16 2020-05-26 美蓓亚三美株式会社 检测装置
CN111693105A (zh) * 2019-03-14 2020-09-22 欧姆龙株式会社 流量测定装置

Also Published As

Publication number Publication date
US11286893B2 (en) 2022-03-29
US20190277229A1 (en) 2019-09-12
JP6766620B2 (ja) 2020-10-14
JP2018091726A (ja) 2018-06-14
DE112017006115T5 (de) 2019-08-22

Similar Documents

Publication Publication Date Title
WO2018100887A1 (ja) 物理量計測装置、異常検出装置、及び異常検出方法
US10429223B2 (en) Air flow rate measuring device with integrated sensor module
US8215160B2 (en) Sensor structure
US9851234B2 (en) Physical quantity measuring device
JP6184915B2 (ja) 物理量検出装置
US7934419B2 (en) Intake air mass flow measurement device
CN106662476B (zh) 物理量检测装置
JP6090116B2 (ja) 流量測定装置
US10451597B2 (en) Determination device
US11143643B2 (en) Humidity measurement device, control device for internal combustion engine, and abnormality detection device
JP6874875B2 (ja) 物理量計測装置、及びセンサアッセンブリ
CN108027265B (zh) 物理量检测装置
US20180274964A1 (en) Physical quantity sensor subassembly and physical quantity measuring device
JP3878203B2 (ja) 発熱抵抗式空気流量装置
CN113597537A (zh) 物理量检测装置
JP7097324B2 (ja) 物理量測定装置
JP6699511B2 (ja) 湿度計測装置
JP6747124B2 (ja) 流量センサ
JP2020187062A (ja) 流量測定装置
JP2014044115A (ja) 圧力センサ

Legal Events

Date Code Title Description
121 Ep: the epo has been informed by wipo that ep was designated in this application

Ref document number: 17876103

Country of ref document: EP

Kind code of ref document: A1

122 Ep: pct application non-entry in european phase

Ref document number: 17876103

Country of ref document: EP

Kind code of ref document: A1