WO2017104560A1 - モータシャフト - Google Patents

モータシャフト Download PDF

Info

Publication number
WO2017104560A1
WO2017104560A1 PCT/JP2016/086690 JP2016086690W WO2017104560A1 WO 2017104560 A1 WO2017104560 A1 WO 2017104560A1 JP 2016086690 W JP2016086690 W JP 2016086690W WO 2017104560 A1 WO2017104560 A1 WO 2017104560A1
Authority
WO
WIPO (PCT)
Prior art keywords
motor shaft
support portions
outer portion
shaft according
motor
Prior art date
Legal status (The legal status is an assumption and is not a legal conclusion. Google has not performed a legal analysis and makes no representation as to the accuracy of the status listed.)
Ceased
Application number
PCT/JP2016/086690
Other languages
English (en)
French (fr)
Japanese (ja)
Inventor
嘉泰 光崎
充 尾見
拓也 ▲高▼橋
Current Assignee (The listed assignees may be inaccurate. Google has not performed a legal analysis and makes no representation or warranty as to the accuracy of the list.)
Denso Corp
Original Assignee
Denso Corp
Priority date (The priority date is an assumption and is not a legal conclusion. Google has not performed a legal analysis and makes no representation as to the accuracy of the date listed.)
Filing date
Publication date
Application filed by Denso Corp filed Critical Denso Corp
Publication of WO2017104560A1 publication Critical patent/WO2017104560A1/ja
Anticipated expiration legal-status Critical
Ceased legal-status Critical Current

Links

Images

Classifications

    • FMECHANICAL ENGINEERING; LIGHTING; HEATING; WEAPONS; BLASTING
    • F16ENGINEERING ELEMENTS AND UNITS; GENERAL MEASURES FOR PRODUCING AND MAINTAINING EFFECTIVE FUNCTIONING OF MACHINES OR INSTALLATIONS; THERMAL INSULATION IN GENERAL
    • F16CSHAFTS; FLEXIBLE SHAFTS; ELEMENTS OR CRANKSHAFT MECHANISMS; ROTARY BODIES OTHER THAN GEARING ELEMENTS; BEARINGS
    • F16C3/00Shafts; Axles; Cranks; Eccentrics
    • F16C3/02Shafts; Axles
    • HELECTRICITY
    • H02GENERATION; CONVERSION OR DISTRIBUTION OF ELECTRIC POWER
    • H02KDYNAMO-ELECTRIC MACHINES
    • H02K1/00Details of the magnetic circuit
    • H02K1/06Details of the magnetic circuit characterised by the shape, form or construction
    • H02K1/22Rotating parts of the magnetic circuit
    • H02K1/32Rotating parts of the magnetic circuit with channels or ducts for flow of cooling medium
    • HELECTRICITY
    • H02GENERATION; CONVERSION OR DISTRIBUTION OF ELECTRIC POWER
    • H02KDYNAMO-ELECTRIC MACHINES
    • H02K15/00Processes or apparatus specially adapted for manufacturing, assembling, maintaining or repairing of dynamo-electric machines
    • HELECTRICITY
    • H02GENERATION; CONVERSION OR DISTRIBUTION OF ELECTRIC POWER
    • H02KDYNAMO-ELECTRIC MACHINES
    • H02K7/00Arrangements for handling mechanical energy structurally associated with dynamo-electric machines, e.g. structural association with mechanical driving motors or auxiliary dynamo-electric machines
    • H02K7/003Couplings; Details of shafts

Definitions

  • the present disclosure relates to a motor shaft that is a rotating shaft constituting a rotor of a motor.
  • a hollow motor shaft having one axial hole extending along a rotation axis is known.
  • the motor shaft constitutes the rotor of the motor together with the rotor core fixed to the outer wall.
  • the axial hole contributes to the weight reduction of the motor shaft.
  • the inner diameter of the axial hole should be increased.
  • An object of the present disclosure is to provide a motor shaft that can achieve weight reduction while ensuring strength.
  • the motor shaft constitutes a motor rotor.
  • the motor shaft has a thin cylindrical outer portion and an inner portion.
  • the inner part is provided inside the outer part, is integrally formed with the outer part from the same material as the outer part, and a plurality of support parts coupled to each other, and a space defined by the plurality of support parts And have.
  • the outer portion is supported by the inner portion which is a structure, the strength of the motor shaft can be ensured even if the outer portion is thinned.
  • the inner side part is comprised lightweight by having a space
  • the plurality of support portions function as heat radiating fins, and heat transmitted from the outer portion to the inner portion can be radiated to the gap, so that the motor shaft can be effectively cooled.
  • FIG. 3 is a sectional view taken along line III-III in FIG. 2. It is a fragmentary sectional view showing the motor shaft by a 1st embodiment. It is a figure showing a motor shaft by a 2nd embodiment of this indication.
  • FIG. 6 is a sectional view taken along line VI-VI in FIG. 5. It is sectional drawing of the motor shaft by 3rd Embodiment of this indication.
  • FIG. 8 is a sectional view taken along line VIII-VIII in FIG. It is sectional drawing of the motor shaft by 4th Embodiment of this indication.
  • FIG. 10 is a sectional view taken along line XX in FIG. 9. It is sectional drawing of the motor shaft by 5th Embodiment of this indication.
  • FIG. 12 is a sectional view taken along line XII-XII in FIG. 11. It is a figure showing a motor shaft by a 6th embodiment of this indication. It is sectional drawing of the motor shaft by 6th Embodiment. It is the XV-XV sectional view taken on the line of FIG.
  • FIG. 80 A motor to which the motor shaft according to the first embodiment of the present disclosure is applied is shown in FIG. First, a schematic configuration of the motor 80 will be described with reference to FIG.
  • the motor 80 includes a housing 81, bearings 82 and 83, a stator 84 and a rotor 85.
  • the housing 81 includes a cylindrical case 90, a first plate 91 provided so as to close one opening of the case 90, and a second plate 92 provided so as to close the other opening of the case 90. ing.
  • the bearing 82 is provided at the center of the first plate 91.
  • the bearing 83 is provided at the center of the second plate 92.
  • the stator 84 has a stator core 93 fixed to the inner wall of the case 90, and a multi-phase coil 94 attached to the stator core 93.
  • the rotor 85 includes a motor shaft 10 rotatably supported by bearings 82 and 83, and a rotor core 95 fixed to the outer wall of the motor shaft 10 by, for example, press-fitting.
  • the rotor core 95 has a plurality of magnetic poles made of magnets (not shown).
  • the motor 80 configured as described above, when the energized phase of the coil 94 is sequentially switched, a magnetic field that rotates around the axis AX of the motor shaft 10 is generated.
  • the rotor 85 rotates around the axis AX when the magnetic pole is magnetically attracted to the rotating magnetic field.
  • a direction parallel to the axis AX of the motor shaft 10 is referred to as “axial direction”.
  • a direction perpendicular to the axis AX is referred to as a “radial direction”.
  • a part of the shape that is originally visible behind the cross section is omitted.
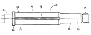
  • the motor shaft 10 includes a thin cylindrical outer portion 11 and an inner portion 12 provided inside the outer portion 11.
  • the outer portion 11 includes a tube portion 13, one end portion 14 located on one side in the axial direction with respect to the tube portion 13, and the other end portion 15 located on the other side in the axial direction with respect to the tube portion 13.
  • the cylindrical portion 13 is formed in a stepped shape, and has a flange portion 16, a large diameter portion 17, and a small diameter portion 18 in order from the one end portion 14 side.
  • the large diameter portion 17 has an uneven knurled portion 19 formed on the outer wall, and is fitted inside the rotor core 95.
  • the rotor core 95 is press-fitted until it comes into contact with the flange 16.
  • the small diameter portion 18 is fitted inside the bearing 83.
  • the collar 21 and the pulley 22 are fitted to the small diameter portion 18 on the other end 15 side with respect to the bearing 83.
  • the large diameter portion 17 and the small diameter portion 18 are formed in a thin cylindrical shape.
  • the one end portion 14 is fitted inside the bearing 82.
  • a nut 23 is screwed to the other end portion 15.
  • the pulley 22 is sandwiched between the collar 21 and the nut 23.
  • the one end portion 14 and the other end portion 15 are closed. That is, no through hole is formed in the one end portion 14 and the other end portion 15. Since the through hole is not formed in the cylindrical portion 13, the inside of the outer portion 11 is sealed in a liquid-tight manner with respect to the outside.
  • the inner part 12 is formed integrally with the outer part 11 from the same material as the outer part 11.
  • the inner portion 12 is a structure including a plurality of support portions 24 coupled to each other, and has a gap 25 defined between the plurality of support portions 24.
  • the inner portion 12 is a honeycomb structure in which a plurality of plate-like support portions 24 extending in the radial direction are gathered.
  • the inner portion 12 is a honeycomb structure constituted by an assembly of a plurality of hollow columns extending radially from the axial center portion.
  • the air gap 25 is mainly composed of a hollow portion inside the hollow column.
  • the support portion 24 is thicker toward the inner side in the radial direction.
  • the gap 25 has a smaller axial width and circumferential width as it goes inward in the radial direction.
  • the bulk density becomes large, so that it goes to radial direction inner side.
  • the inner portion 12 may have a higher density toward the radially inner side.
  • the “honeycomb structure” is a structure in which a plurality of hollow columns are arranged without gaps.
  • the cross-sectional shape of the hollow column is not limited to a hexagon, and may be another shape such as a quadrangle. In the present embodiment, the cross-sectional shape of the hollow column is a hexagon.
  • the “bulk” of the object is the total of the volume occupied by the object itself, the volume of the hole opened in the object surface, and the volume of the void inside the object and closed to the outside.
  • the “bulk density” is a value obtained by dividing the mass of an object by the bulk.
  • the motor shaft 10 is formed by a 3D printer. Specifically, the motor shaft 10 is obtained by a method of three-dimensional modeling by irradiating laser to fine metal powder laid flat and layering one layer at a time and repeating this process (that is, powder sintering method). Molded. The gap 25 is formed simultaneously with the formation of the outer portion 11 and the inner portion 12. The point that the motor shaft is formed by a 3D printer is the same in the embodiments described later.
  • the motor shaft 10 includes the thin cylindrical outer portion 11 and the inner portion 12 provided inside the outer portion 11.
  • the inner portion 12 is formed of the same material as the outer portion 11 and is integrally formed with the outer portion 11, and is a structure including a plurality of support portions 24 that are coupled to each other, and is defined between the plurality of support portions 24. It has a gap 25.
  • the outer portion 11 is supported by the inner portion 12 which is a structure, the strength of the motor shaft 10 can be ensured even if the outer portion 11 is thinned.
  • the inner side part 12 is comprised lightweight by having the space
  • the inner portion 12 has a larger bulk density as it goes inward in the radial direction. Therefore, it is possible to make the inner portion 12 a structure that can withstand the radial force acting when the rotor core 95 is press-fitted, for example, while making the support portion 24 as thin as possible so as to be lightweight.
  • the outer portion 11 includes the cylindrical portion 13, one end portion 14 that seals one end of the cylindrical portion 13 in a liquid-tight manner, and the other end of the cylindrical portion 13 that is liquid-tightly sealed. And the other end 15.
  • the inside of the outer side part 11 is sealed liquid-tight with respect to the exterior. Therefore, corrosion of the inside of the outer portion 11, that is, the inner portion 12, can be prevented.
  • the inner portion 12 is a honeycomb structure in which a plurality of plate-like support portions 24 extending in the radial direction of the motor shaft 10 are gathered. Therefore, it is possible to make the inner portion 12 a structure that can withstand the radial force acting when the rotor core 95 is press-fitted, for example, while making the support portion 24 as thin as possible so as to be lightweight.
  • the support portion 24 is thicker toward the inner side in the radial direction. In this manner, the bulk density of the inner portion 12 can be increased toward the inner side in the radial direction.
  • the motor shaft 30 includes an outer portion 11 and an inner portion 31.
  • the inner portion 31 is a honeycomb structure in which a plurality of plate-like support portions 32 formed in a spiral shape so as to extend in the axial direction while rotating around the axis AX.
  • the inner portion 31 is a honeycomb structure constituted by an assembly of a plurality of spiral hollow columns that extend in the axial direction while rotating around the axis AX.
  • the cross-sectional shape of the hollow column is a hexagon.
  • the air gap 33 is a spiral hole formed of a hollow portion inside the hollow column. In FIG. 5, for convenience, only one support portion 32 is indicated by a broken line.
  • the motor shaft 30 includes the thin cylindrical outer portion 11 and the inner portion 31 provided inside the outer portion 11.
  • the inner portion 31 is formed of the same material as that of the outer portion 11 and is integrally formed with the outer portion 11, and is a structure including a plurality of support portions 32 coupled to each other, and is defined between the plurality of support portions 32. It has a gap 33. Therefore, according to the motor shaft 30, as in the first embodiment, the weight can be reduced while ensuring the strength.
  • the inner portion 31 is a honeycomb structure in which a plurality of plate-like support portions 32 formed in a spiral shape so as to extend in the axial direction while rotating around the axis AX are gathered. Therefore, the strength against torsion of the motor shaft 30 is particularly increased.
  • the motor shaft 40 includes an outer portion 11 and an inner portion 41.
  • the inner portion 41 is a lattice structure formed by coupling a plurality of rod-shaped support portions 42 extending in the axial direction and a plurality of rod-shaped support portions 43 extending in a direction orthogonal to the axial direction.
  • the inner portion 41 is a structure configured by an assembly of a plurality of hollow cubes.
  • the support portions 42 and 43 extend in a direction that intersects the radial direction.
  • a gap 44 defined between the support portions 42 and 43 is one space.
  • the motor shaft 40 includes the thin-walled cylindrical outer portion 11 and the inner portion 41 provided inside the outer portion 11.
  • the inner portion 41 is formed of the same material as that of the outer portion 11 and is integrally formed with the outer portion 11, and is a structure including a plurality of support portions 42 and 43 that are coupled to each other, and the plurality of support portions 42 and 43. It has an air gap 44 defined between them. Therefore, according to the motor shaft 40, as in the first embodiment, the weight can be reduced while ensuring the strength.
  • the inner portion 41 is a lattice structure in which a plurality of support portions 42 and 43 are gathered.
  • the support portions 42 and 43 extend in a direction that intersects the radial direction. Therefore, for example, the strength against a radial force such as centrifugal force is particularly increased.
  • the motor shaft 50 includes an outer portion 51 and an inner portion 41.
  • One end portion 52 of the outer portion 51 has a through hole 53
  • the other end portion 54 has a through hole 55.
  • the through holes 53 and 55 penetrate along the axial center AX in the axial direction.
  • the gap 44 allows the through hole 53 and the through hole 55 to communicate with each other.
  • the gap 44 and the through holes 53 and 55 are used as a cooling passage for circulating the coolant. Therefore, the motor shaft 50 can be efficiently cooled.
  • the configuration of the motor shaft 50 other than the through holes 53 and 55 is the same as that of the third embodiment, and the same effect as that of the third embodiment can be obtained.
  • the motor shaft 60 includes an outer portion 11 and an inner portion 61.
  • the inner part 61 is a lattice structure in which a plurality of rod-like support parts 62 extending in an axial direction, a radial direction, and a direction intersecting with a virtual plane perpendicular to the axial direction are coupled to each other.
  • the inner part 61 is a structure made up of an assembly of a plurality of hollow hexahedrons arranged so that a pair of diagonal corners are arranged in the radial direction.
  • a gap 63 defined between the support portions 62 is one space.
  • the motor shaft 60 includes the thin-walled cylindrical outer portion 11 and the inner portion 61 provided inside the outer portion 11.
  • the inner portion 61 is formed of the same material as the outer portion 11 and is integrally formed with the outer portion 11, and is a structure including a plurality of support portions 62 coupled to each other, and is defined between the plurality of support portions 62. It has a gap 63. Therefore, according to the motor shaft 60, as in the first embodiment, the weight can be reduced while securing the strength.
  • the inner portion 61 is a lattice structure in which a plurality of support portions 62 are gathered.
  • the support portion 62 extends in the axial direction, the radial direction, and the direction intersecting the virtual plane perpendicular to the axial direction. Accordingly, the strength against axial and radial forces is particularly enhanced.
  • the motor shaft 70 includes an outer portion 71 and an inner portion 72 as shown in FIGS. 13 to 15.
  • a key groove 73 extending in the axial direction is formed on the outer wall of the outer portion 71.
  • a key 74 is fitted in the key groove 73.
  • the inner portion 72 is a structure in which a plurality of plate-like support portions 75 extending in a direction orthogonal to the extending direction of the key groove 73 are coupled to each other.
  • the inner portion 72 is a honeycomb structure constituted by an assembly of a plurality of hollow columns extending in a direction orthogonal to the extending direction.
  • the hollow pillar has a quadrangular cross-sectional shape. The hollow columns are arranged so that a pair of corners on a diagonal line of the cross section are aligned in the radial direction.
  • the air gap 76 is a polygonal hole constituted by a hollow portion inside the hollow column.
  • the motor shaft 70 includes the thin cylindrical outer portion 71 and the inner portion 72 provided inside the outer portion 71.
  • the inner portion 72 is formed of the same material as that of the outer portion 71 and is integrally formed with the outer portion 71, and is a structure including a plurality of support portions 75 coupled to each other, and is defined between the plurality of support portions 75. It has a gap 76. Therefore, according to the motor shaft 70, as in the first embodiment, the weight can be reduced while ensuring the strength.
  • the inner portion 72 is a honeycomb structure constituted by an assembly of a plurality of hollow columns extending in a direction orthogonal to the extending direction of the key groove 73.
  • the cross section of the hollow column is a quadrangle.
  • the hollow columns are arranged so that a pair of corners on a diagonal line of the cross section are aligned in the radial direction. Therefore, the strength against torsion of the motor shaft 70 is increased, and the strength against axial and radial forces is also increased.
  • the key groove 73 is formed on the outer wall of the outer portion 71 as in the present embodiment, the circumferential force acting on the side wall of the key groove 73 via the key 74 by the rotational force of the heavy rotor core. Therefore, when the motor shaft 70 is about to twist, the inner portion 72 works to suppress the twist.
  • the cylindrical part of the outer part of the motor shaft may not be stepped. Also, the stepped number of the outer cylindrical portion of the motor shaft may be three or more. Moreover, a part or all of the cylinder part of the outer side part of a motor shaft may be a taper shape.
  • a hole penetrating in the radial direction may be provided in the outer cylindrical portion.
  • the end of the motor shaft is not limited to a screw, and for example, a spline, a keyway or a gear may be formed. Further, a power transmission member other than the pulley may be fixed to the end of the motor shaft.
  • the space inside the inner part is a space.
  • Metal powder that has not been melted when the motor shaft is molded by a powder sintering method may be included in the gap.
  • the tool holder is formed by a 3D printer, a method other than the powder sintering method may be used.
  • the motor shaft is not limited to a synchronous motor but can be used for a motor such as a commutator motor or an induction motor. Furthermore, the motor shaft is not limited to one that generates a rotational force by electromagnetic force, and may be used for an ultrasonic motor or an electrostatic motor, for example.

Landscapes

  • Engineering & Computer Science (AREA)
  • Power Engineering (AREA)
  • General Engineering & Computer Science (AREA)
  • Manufacturing & Machinery (AREA)
  • Ocean & Marine Engineering (AREA)
  • Mechanical Engineering (AREA)
  • Iron Core Of Rotating Electric Machines (AREA)
  • Shafts, Cranks, Connecting Bars, And Related Bearings (AREA)
PCT/JP2016/086690 2015-12-17 2016-12-09 モータシャフト Ceased WO2017104560A1 (ja)

Applications Claiming Priority (2)

Application Number Priority Date Filing Date Title
JP2015-246220 2015-12-17
JP2015246220A JP6465014B2 (ja) 2015-12-17 2015-12-17 モータシャフト

Publications (1)

Publication Number Publication Date
WO2017104560A1 true WO2017104560A1 (ja) 2017-06-22

Family

ID=59056569

Family Applications (1)

Application Number Title Priority Date Filing Date
PCT/JP2016/086690 Ceased WO2017104560A1 (ja) 2015-12-17 2016-12-09 モータシャフト

Country Status (2)

Country Link
JP (1) JP6465014B2 (enExample)
WO (1) WO2017104560A1 (enExample)

Cited By (6)

* Cited by examiner, † Cited by third party
Publication number Priority date Publication date Assignee Title
CN107276329A (zh) * 2017-08-01 2017-10-20 安徽达来电机有限公司 一种电机结构
US20180175702A1 (en) * 2016-12-16 2018-06-21 Industrial Technology Research Institute Motor shaft system with a cooling function
WO2020188162A1 (fr) 2019-03-19 2020-09-24 Psa Automobiles Sa Arbre creux de rotor divise longitudinalement comportant au moins une ailette forgee s'etendant a l'interieur
EP3799264A1 (de) * 2019-09-30 2021-03-31 Siemens Aktiengesellschaft Antriebswelle einer dynamoelektrischen maschine und deren herstellungsverfahren
CN114198383A (zh) * 2022-01-15 2022-03-18 南昌航空大学 一种带蛛网状加强筋的空心轴
WO2023083412A1 (de) * 2021-11-12 2023-05-19 MTU Aero Engines AG Rotorwelle für einen elektromotor, anordnung für eine rotorwelle und verfahren zur fertigung einer anordnung für eine rotorwelle

Families Citing this family (5)

* Cited by examiner, † Cited by third party
Publication number Priority date Publication date Assignee Title
KR102531471B1 (ko) * 2017-09-22 2023-05-11 엘지이노텍 주식회사 모터
CN111108666B (zh) * 2017-09-22 2022-11-08 Lg伊诺特有限公司 电机
US11994141B2 (en) * 2021-09-10 2024-05-28 Hamilton Sundstrand Corporation Turbomachinery shaft with variable lattice densities
US11773746B2 (en) 2021-09-10 2023-10-03 Hamilton Sundstrand Corporation Turbomachinery rotor shroud with variable lattice densities
US11802488B2 (en) 2021-09-10 2023-10-31 Hamilton Sundstrand Corporation Turbomachinery seal plate with variable lattice densities

Citations (6)

* Cited by examiner, † Cited by third party
Publication number Priority date Publication date Assignee Title
JPS62818U (enExample) * 1985-06-18 1987-01-07
JPS6261961U (enExample) * 1985-10-09 1987-04-17
JPH06343245A (ja) * 1991-08-15 1994-12-13 Funchin U 管軸式電動機
JP2001316704A (ja) * 2000-05-09 2001-11-16 Hitachi Metals Ltd 押出成形焼結体
JP2006144607A (ja) * 2004-11-18 2006-06-08 Bay City Service Co Ltd 無整流子直流電動機型ポンプ
US20070021224A1 (en) * 2005-07-19 2007-01-25 Patrascu Dumitru F Propshafts with honeycomb core dampers

Family Cites Families (3)

* Cited by examiner, † Cited by third party
Publication number Priority date Publication date Assignee Title
JP2004129407A (ja) * 2002-10-03 2004-04-22 Nissan Motor Co Ltd 電動機の冷却構造
JP5598378B2 (ja) * 2011-02-28 2014-10-01 アイシン・エィ・ダブリュ株式会社 シャフト
JP2012235546A (ja) * 2011-04-28 2012-11-29 Nippon Soken Inc ロータおよび回転電機

Patent Citations (6)

* Cited by examiner, † Cited by third party
Publication number Priority date Publication date Assignee Title
JPS62818U (enExample) * 1985-06-18 1987-01-07
JPS6261961U (enExample) * 1985-10-09 1987-04-17
JPH06343245A (ja) * 1991-08-15 1994-12-13 Funchin U 管軸式電動機
JP2001316704A (ja) * 2000-05-09 2001-11-16 Hitachi Metals Ltd 押出成形焼結体
JP2006144607A (ja) * 2004-11-18 2006-06-08 Bay City Service Co Ltd 無整流子直流電動機型ポンプ
US20070021224A1 (en) * 2005-07-19 2007-01-25 Patrascu Dumitru F Propshafts with honeycomb core dampers

Cited By (10)

* Cited by examiner, † Cited by third party
Publication number Priority date Publication date Assignee Title
US20180175702A1 (en) * 2016-12-16 2018-06-21 Industrial Technology Research Institute Motor shaft system with a cooling function
CN107276329A (zh) * 2017-08-01 2017-10-20 安徽达来电机有限公司 一种电机结构
WO2020188162A1 (fr) 2019-03-19 2020-09-24 Psa Automobiles Sa Arbre creux de rotor divise longitudinalement comportant au moins une ailette forgee s'etendant a l'interieur
FR3094153A1 (fr) 2019-03-19 2020-09-25 Psa Automobiles Sa Arbre de rotor comportant des ailettes integrees forgees et procede de fabrication de l’arbre de rotor
EP3799264A1 (de) * 2019-09-30 2021-03-31 Siemens Aktiengesellschaft Antriebswelle einer dynamoelektrischen maschine und deren herstellungsverfahren
WO2021063745A1 (de) * 2019-09-30 2021-04-08 Siemens Aktiengesellschaft Antriebswelle einer dynamoelektrischen maschine und deren herstellungsverfahren
EP3799264B1 (de) 2019-09-30 2023-04-19 Siemens Aktiengesellschaft Antriebswelle einer dynamoelektrischen maschine
US12323009B2 (en) 2019-09-30 2025-06-03 Innomotics Gmbh Drive shaft of a dynamoelectrical machine and corresponding manufacturing method
WO2023083412A1 (de) * 2021-11-12 2023-05-19 MTU Aero Engines AG Rotorwelle für einen elektromotor, anordnung für eine rotorwelle und verfahren zur fertigung einer anordnung für eine rotorwelle
CN114198383A (zh) * 2022-01-15 2022-03-18 南昌航空大学 一种带蛛网状加强筋的空心轴

Also Published As

Publication number Publication date
JP2017112764A (ja) 2017-06-22
JP6465014B2 (ja) 2019-02-06

Similar Documents

Publication Publication Date Title
JP6465014B2 (ja) モータシャフト
US10873228B2 (en) Rotor of an electric machine
CA2894788C (en) Permanent magnet machine with segmented sleeve for magnets
US20210296946A1 (en) Motor Having Non-Circular Stator
US9768648B2 (en) Rotor for electric machine
JP5061806B2 (ja) アキシャルギャップ型回転電機
KR101819005B1 (ko) 모터
WO2017130295A1 (ja) 回転電機の回転子、回転電機及び回転電機の回転子部材
JP6419111B2 (ja) ロータ、回転電機及びロータの製造方法
US20190372411A1 (en) Rotor and motor using same
JP6826412B2 (ja) 同期リラクタンス型回転電機
JP2011205753A (ja) 電動機および電動機のロータの製造方法
CN207782532U (zh) 转子
JP6505345B1 (ja) 回転子部材、回転子及び回転電機
JP7080278B2 (ja) ロータ、ロータの製造方法及び回転電機
JP4678321B2 (ja) ロータの製造方法及び電動パワーステアリング用モータ
JP5193114B2 (ja) ロータおよびモータ
JP2011101513A (ja) モータユニットおよびモータユニットの製造方法
JP2009011051A (ja) モータ
CN103683594A (zh) 旋转电机
JP2019071764A (ja) ロータ、モータ及びロータの製造方法
JP2008109800A (ja) 回転子、リラクタンスモータ、回転子の製造方法及びリラクタンスモータの製造方法
CN105449938B (zh) 过盈配合结构和过盈配合方法
JP5344749B2 (ja) アキシャルギャップ型モータ及びそのロータ製造方法
KR101242468B1 (ko) 원통형 전자기식 모터용 코어 및 이를 이용한 원통형 전자기식 모터

Legal Events

Date Code Title Description
121 Ep: the epo has been informed by wipo that ep was designated in this application

Ref document number: 16875540

Country of ref document: EP

Kind code of ref document: A1

NENP Non-entry into the national phase

Ref country code: DE

122 Ep: pct application non-entry in european phase

Ref document number: 16875540

Country of ref document: EP

Kind code of ref document: A1