WO2017104512A1 - 積層不織布 - Google Patents

積層不織布 Download PDF

Info

Publication number
WO2017104512A1
WO2017104512A1 PCT/JP2016/086417 JP2016086417W WO2017104512A1 WO 2017104512 A1 WO2017104512 A1 WO 2017104512A1 JP 2016086417 W JP2016086417 W JP 2016086417W WO 2017104512 A1 WO2017104512 A1 WO 2017104512A1
Authority
WO
WIPO (PCT)
Prior art keywords
group
nonwoven fabric
laminated nonwoven
liquid film
less
Prior art date
Legal status (The legal status is an assumption and is not a legal conclusion. Google has not performed a legal analysis and makes no representation as to the accuracy of the status listed.)
Ceased
Application number
PCT/JP2016/086417
Other languages
English (en)
French (fr)
Japanese (ja)
Inventor
吉晃 蒲谷
祥一 種市
宙夫 安田
裕太 寒川
Current Assignee (The listed assignees may be inaccurate. Google has not performed a legal analysis and makes no representation or warranty as to the accuracy of the list.)
Kao Corp
Original Assignee
Kao Corp
Priority date (The priority date is an assumption and is not a legal conclusion. Google has not performed a legal analysis and makes no representation as to the accuracy of the date listed.)
Filing date
Publication date
Application filed by Kao Corp filed Critical Kao Corp
Priority to CN201680070285.3A priority Critical patent/CN108291360B/zh
Priority to RU2018125881A priority patent/RU2698821C1/ru
Publication of WO2017104512A1 publication Critical patent/WO2017104512A1/ja
Anticipated expiration legal-status Critical
Ceased legal-status Critical Current

Links

Images

Classifications

    • AHUMAN NECESSITIES
    • A61MEDICAL OR VETERINARY SCIENCE; HYGIENE
    • A61FFILTERS IMPLANTABLE INTO BLOOD VESSELS; PROSTHESES; DEVICES PROVIDING PATENCY TO, OR PREVENTING COLLAPSING OF, TUBULAR STRUCTURES OF THE BODY, e.g. STENTS; ORTHOPAEDIC, NURSING OR CONTRACEPTIVE DEVICES; FOMENTATION; TREATMENT OR PROTECTION OF EYES OR EARS; BANDAGES, DRESSINGS OR ABSORBENT PADS; FIRST-AID KITS
    • A61F13/00Bandages or dressings; Absorbent pads
    • A61F13/15Absorbent pads, e.g. sanitary towels, swabs or tampons for external or internal application to the body; Supporting or fastening means therefor; Tampon applicators
    • AHUMAN NECESSITIES
    • A61MEDICAL OR VETERINARY SCIENCE; HYGIENE
    • A61FFILTERS IMPLANTABLE INTO BLOOD VESSELS; PROSTHESES; DEVICES PROVIDING PATENCY TO, OR PREVENTING COLLAPSING OF, TUBULAR STRUCTURES OF THE BODY, e.g. STENTS; ORTHOPAEDIC, NURSING OR CONTRACEPTIVE DEVICES; FOMENTATION; TREATMENT OR PROTECTION OF EYES OR EARS; BANDAGES, DRESSINGS OR ABSORBENT PADS; FIRST-AID KITS
    • A61F13/00Bandages or dressings; Absorbent pads
    • A61F13/15Absorbent pads, e.g. sanitary towels, swabs or tampons for external or internal application to the body; Supporting or fastening means therefor; Tampon applicators
    • A61F13/51Absorbent pads, e.g. sanitary towels, swabs or tampons for external or internal application to the body; Supporting or fastening means therefor; Tampon applicators characterised by the outer layers of the pads
    • A61F13/511Topsheet, i.e. the permeable cover or layer facing the skin
    • AHUMAN NECESSITIES
    • A61MEDICAL OR VETERINARY SCIENCE; HYGIENE
    • A61LMETHODS OR APPARATUS FOR STERILISING MATERIALS OR OBJECTS IN GENERAL; DISINFECTION, STERILISATION OR DEODORISATION OF AIR; CHEMICAL ASPECTS OF BANDAGES, DRESSINGS, ABSORBENT PADS OR SURGICAL ARTICLES; MATERIALS FOR BANDAGES, DRESSINGS, ABSORBENT PADS OR SURGICAL ARTICLES
    • A61L15/00Chemical aspects of, or use of materials for, bandages, dressings or absorbent pads
    • A61L15/16Bandages, dressings or absorbent pads for physiological fluids such as urine or blood, e.g. sanitary towels, tampons
    • A61L15/20Bandages, dressings or absorbent pads for physiological fluids such as urine or blood, e.g. sanitary towels, tampons containing organic materials
    • AHUMAN NECESSITIES
    • A61MEDICAL OR VETERINARY SCIENCE; HYGIENE
    • A61LMETHODS OR APPARATUS FOR STERILISING MATERIALS OR OBJECTS IN GENERAL; DISINFECTION, STERILISATION OR DEODORISATION OF AIR; CHEMICAL ASPECTS OF BANDAGES, DRESSINGS, ABSORBENT PADS OR SURGICAL ARTICLES; MATERIALS FOR BANDAGES, DRESSINGS, ABSORBENT PADS OR SURGICAL ARTICLES
    • A61L15/00Chemical aspects of, or use of materials for, bandages, dressings or absorbent pads
    • A61L15/16Bandages, dressings or absorbent pads for physiological fluids such as urine or blood, e.g. sanitary towels, tampons
    • A61L15/22Bandages, dressings or absorbent pads for physiological fluids such as urine or blood, e.g. sanitary towels, tampons containing macromolecular materials
    • AHUMAN NECESSITIES
    • A61MEDICAL OR VETERINARY SCIENCE; HYGIENE
    • A61LMETHODS OR APPARATUS FOR STERILISING MATERIALS OR OBJECTS IN GENERAL; DISINFECTION, STERILISATION OR DEODORISATION OF AIR; CHEMICAL ASPECTS OF BANDAGES, DRESSINGS, ABSORBENT PADS OR SURGICAL ARTICLES; MATERIALS FOR BANDAGES, DRESSINGS, ABSORBENT PADS OR SURGICAL ARTICLES
    • A61L15/00Chemical aspects of, or use of materials for, bandages, dressings or absorbent pads
    • A61L15/16Bandages, dressings or absorbent pads for physiological fluids such as urine or blood, e.g. sanitary towels, tampons
    • A61L15/42Use of materials characterised by their function or physical properties
    • A61L15/48Surfactants
    • BPERFORMING OPERATIONS; TRANSPORTING
    • B32LAYERED PRODUCTS
    • B32BLAYERED PRODUCTS, i.e. PRODUCTS BUILT-UP OF STRATA OF FLAT OR NON-FLAT, e.g. CELLULAR OR HONEYCOMB, FORM
    • B32B5/00Layered products characterised by the non- homogeneity or physical structure, i.e. comprising a fibrous, filamentary, particulate or foam layer; Layered products characterised by having a layer differing constitutionally or physically in different parts
    • B32B5/22Layered products characterised by the non- homogeneity or physical structure, i.e. comprising a fibrous, filamentary, particulate or foam layer; Layered products characterised by having a layer differing constitutionally or physically in different parts characterised by the presence of two or more layers which are next to each other and are fibrous, filamentary, formed of particles or foamed
    • B32B5/24Layered products characterised by the non- homogeneity or physical structure, i.e. comprising a fibrous, filamentary, particulate or foam layer; Layered products characterised by having a layer differing constitutionally or physically in different parts characterised by the presence of two or more layers which are next to each other and are fibrous, filamentary, formed of particles or foamed one layer being a fibrous or filamentary layer
    • B32B5/26Layered products characterised by the non- homogeneity or physical structure, i.e. comprising a fibrous, filamentary, particulate or foam layer; Layered products characterised by having a layer differing constitutionally or physically in different parts characterised by the presence of two or more layers which are next to each other and are fibrous, filamentary, formed of particles or foamed one layer being a fibrous or filamentary layer another layer next to it also being fibrous or filamentary
    • DTEXTILES; PAPER
    • D04BRAIDING; LACE-MAKING; KNITTING; TRIMMINGS; NON-WOVEN FABRICS
    • D04HMAKING TEXTILE FABRICS, e.g. FROM FIBRES OR FILAMENTARY MATERIAL; FABRICS MADE BY SUCH PROCESSES OR APPARATUS, e.g. FELTS, NON-WOVEN FABRICS; COTTON-WOOL; WADDING ; NON-WOVEN FABRICS FROM STAPLE FIBRES, FILAMENTS OR YARNS, BONDED WITH AT LEAST ONE WEB-LIKE MATERIAL DURING THEIR CONSOLIDATION
    • D04H1/00Non-woven fabrics formed wholly or mainly of staple fibres or like relatively short fibres
    • D04H1/40Non-woven fabrics formed wholly or mainly of staple fibres or like relatively short fibres from fleeces or layers composed of fibres without existing or potential cohesive properties
    • D04H1/54Non-woven fabrics formed wholly or mainly of staple fibres or like relatively short fibres from fleeces or layers composed of fibres without existing or potential cohesive properties by welding together the fibres, e.g. by partially melting or dissolving
    • D04H1/559Non-woven fabrics formed wholly or mainly of staple fibres or like relatively short fibres from fleeces or layers composed of fibres without existing or potential cohesive properties by welding together the fibres, e.g. by partially melting or dissolving the fibres being within layered webs
    • DTEXTILES; PAPER
    • D06TREATMENT OF TEXTILES OR THE LIKE; LAUNDERING; FLEXIBLE MATERIALS NOT OTHERWISE PROVIDED FOR
    • D06MTREATMENT, NOT PROVIDED FOR ELSEWHERE IN CLASS D06, OF FIBRES, THREADS, YARNS, FABRICS, FEATHERS OR FIBROUS GOODS MADE FROM SUCH MATERIALS
    • D06M13/00Treating fibres, threads, yarns, fabrics or fibrous goods made from such materials, with non-macromolecular organic compounds; Such treatment combined with mechanical treatment
    • D06M13/10Treating fibres, threads, yarns, fabrics or fibrous goods made from such materials, with non-macromolecular organic compounds; Such treatment combined with mechanical treatment with compounds containing oxygen
    • D06M13/165Ethers
    • D06M13/17Polyoxyalkyleneglycol ethers
    • DTEXTILES; PAPER
    • D06TREATMENT OF TEXTILES OR THE LIKE; LAUNDERING; FLEXIBLE MATERIALS NOT OTHERWISE PROVIDED FOR
    • D06MTREATMENT, NOT PROVIDED FOR ELSEWHERE IN CLASS D06, OF FIBRES, THREADS, YARNS, FABRICS, FEATHERS OR FIBROUS GOODS MADE FROM SUCH MATERIALS
    • D06M13/00Treating fibres, threads, yarns, fabrics or fibrous goods made from such materials, with non-macromolecular organic compounds; Such treatment combined with mechanical treatment
    • D06M13/10Treating fibres, threads, yarns, fabrics or fibrous goods made from such materials, with non-macromolecular organic compounds; Such treatment combined with mechanical treatment with compounds containing oxygen
    • D06M13/224Esters of carboxylic acids; Esters of carbonic acid
    • DTEXTILES; PAPER
    • D06TREATMENT OF TEXTILES OR THE LIKE; LAUNDERING; FLEXIBLE MATERIALS NOT OTHERWISE PROVIDED FOR
    • D06MTREATMENT, NOT PROVIDED FOR ELSEWHERE IN CLASS D06, OF FIBRES, THREADS, YARNS, FABRICS, FEATHERS OR FIBROUS GOODS MADE FROM SUCH MATERIALS
    • D06M13/00Treating fibres, threads, yarns, fabrics or fibrous goods made from such materials, with non-macromolecular organic compounds; Such treatment combined with mechanical treatment
    • D06M13/244Treating fibres, threads, yarns, fabrics or fibrous goods made from such materials, with non-macromolecular organic compounds; Such treatment combined with mechanical treatment with compounds containing sulfur or phosphorus
    • D06M13/282Treating fibres, threads, yarns, fabrics or fibrous goods made from such materials, with non-macromolecular organic compounds; Such treatment combined with mechanical treatment with compounds containing sulfur or phosphorus with compounds containing phosphorus
    • D06M13/292Mono-, di- or triesters of phosphoric or phosphorous acids; Salts thereof
    • DTEXTILES; PAPER
    • D06TREATMENT OF TEXTILES OR THE LIKE; LAUNDERING; FLEXIBLE MATERIALS NOT OTHERWISE PROVIDED FOR
    • D06MTREATMENT, NOT PROVIDED FOR ELSEWHERE IN CLASS D06, OF FIBRES, THREADS, YARNS, FABRICS, FEATHERS OR FIBROUS GOODS MADE FROM SUCH MATERIALS
    • D06M15/00Treating fibres, threads, yarns, fabrics, or fibrous goods made from such materials, with macromolecular compounds; Such treatment combined with mechanical treatment
    • D06M15/19Treating fibres, threads, yarns, fabrics, or fibrous goods made from such materials, with macromolecular compounds; Such treatment combined with mechanical treatment with synthetic macromolecular compounds
    • D06M15/37Macromolecular compounds obtained otherwise than by reactions only involving carbon-to-carbon unsaturated bonds
    • D06M15/53Polyethers
    • DTEXTILES; PAPER
    • D06TREATMENT OF TEXTILES OR THE LIKE; LAUNDERING; FLEXIBLE MATERIALS NOT OTHERWISE PROVIDED FOR
    • D06MTREATMENT, NOT PROVIDED FOR ELSEWHERE IN CLASS D06, OF FIBRES, THREADS, YARNS, FABRICS, FEATHERS OR FIBROUS GOODS MADE FROM SUCH MATERIALS
    • D06M15/00Treating fibres, threads, yarns, fabrics, or fibrous goods made from such materials, with macromolecular compounds; Such treatment combined with mechanical treatment
    • D06M15/19Treating fibres, threads, yarns, fabrics, or fibrous goods made from such materials, with macromolecular compounds; Such treatment combined with mechanical treatment with synthetic macromolecular compounds
    • D06M15/37Macromolecular compounds obtained otherwise than by reactions only involving carbon-to-carbon unsaturated bonds
    • D06M15/643Macromolecular compounds obtained otherwise than by reactions only involving carbon-to-carbon unsaturated bonds containing silicon in the main chain
    • D06M15/647Macromolecular compounds obtained otherwise than by reactions only involving carbon-to-carbon unsaturated bonds containing silicon in the main chain containing polyether sequences

Definitions

  • the present invention relates to a laminated nonwoven fabric.
  • Nonwoven fabrics used for surface sheets of absorbent articles there are some which try to improve dry feeling by increasing the pulling power of the liquid with a hydrophilicity gradient (for example, Patent Document 1 and Patent Document 2).
  • Some of the topsheets contain a blood modifying agent to improve dry feeling. This blood modifying agent lowers the viscosity and surface tension of blood, stabilizes blood cells, makes it difficult to form a cash structure, and makes it easier for the absorber to absorb menstrual blood (for example, Patent Document 3).
  • the present invention is a laminated nonwoven fabric having two adjacent fiber layers, wherein one of the two layers has a higher hydrophilicity than the other fiber layer, and at least one of the fiber layers.
  • a laminated nonwoven fabric containing a liquid film cleaving agent is provided.
  • the present invention relates to a laminated nonwoven fabric that realizes a higher level of dry feeling by reducing the liquid film formed between fibers. Moreover, this invention relates to the laminated nonwoven fabric suitable for the surface sheet of the absorbent article which makes dry feeling and soft touch compatible at a high level.
  • the nonwoven fabric used for the surface sheet or the like there is a region where the distance between the fibers is narrow. Even if there is a space in the area that can pass excretory fluid (for example, urine and menstrual blood, also simply liquid), meniscus force between fibers, surface activity by plasma proteins, and blood surface viscosity are high. A stable liquid film is formed between the fibers, and the liquid tends to stay. Since this liquid film becomes a stable film between narrow fibers, once it occurs, it is difficult to eliminate even a blood modifying agent that stabilizes a hydrophilicity gradient or blood cells. For this reason, even a non-woven fabric using a conventional blood modifying agent or the like has not yet been sufficiently satisfactory in the dryness felt by the wearer.
  • excretory fluid for example, urine and menstrual blood, also simply liquid
  • the liquid to be absorbed is not limited to blood, and urine also has surface activity due to phospholipids, and a liquid film was formed in the same manner as described above, and the dryness was not yet satisfactory.
  • the laminated nonwoven fabric of the present invention realizes a higher level of dry feeling by reducing the liquid film formed between the fibers. Moreover, if the laminated nonwoven fabric of this invention is used, the absorptive article which can make dry feeling and soft touch compatible at a high level can be provided.
  • the laminated nonwoven fabric according to the present invention is a laminated nonwoven fabric having two adjacent layers, and one of the two layers is higher in hydrophilicity than the other fiber layer, and at least one of the fibers.
  • the layer contains a liquid film cleaving agent.
  • the laminated nonwoven fabric according to the present invention is a laminated nonwoven fabric having two adjacent fiber layers, and one of the two layers has a higher hydrophilicity than the other fiber layer, and at least Either one of the fiber layers contains a compound having a water solubility of 0 g or more and 0.025 g or less and an expansion coefficient of 16 mN / m or more for a liquid having a surface tension of 50 mN / m.
  • the laminated nonwoven fabric according to the present invention is a laminated nonwoven fabric having two adjacent fiber layers, and one of the two layers has a higher hydrophilicity than the other fiber layer, and at least In any one of the fiber layers, the water solubility is 0 g or more and 0.025 g or less, the expansion coefficient for a liquid having a surface tension of 50 mN / m is larger than 0 mN / m, and the interfacial tension for a liquid having a surface tension of 50 mN / m. Containing 20 mN / m or less of the compound.
  • a liquid film cleaving agent is a liquid, for example, a highly viscous liquid such as menstrual blood or excreted liquid such as urine touches the laminated nonwoven fabric to cleave the liquid film formed between the fibers of the nonwoven fabric or on the fiber surface. It means an agent that inhibits the formation of a liquid film, and has an action of cleaving the formed liquid film and an action of inhibiting the formation of the liquid film.
  • the cleaving of the liquid film is performed by the action of the liquid film cleaving agent to destabilize by pushing away a part of the liquid film layer. By the action of the liquid film cleaving agent, the liquid can easily pass through without staying in a narrow region between the fibers of the laminated nonwoven fabric.
  • Such a laminated nonwoven fabric can be used, for example, as a surface sheet for absorbent articles such as sanitary napkins, baby diapers, and adult diapers.
  • the liquid film cleaving agent used in the present invention has the property of disappearing the liquid film, and due to this property, the liquid film cleaving agent is a test solution or artificial urine mainly composed of plasma components (composition: urea 1). 940 mass%, sodium chloride 0.795 mass%, magnesium sulfate 0.110 mass%, calcium chloride 0.062 mass%, potassium sulfate 0.197 mass%, red No. 2 (dye) 0.010 mass%, water (Approx. 96.88% by mass) and polyoxyethylene lauryl ether (approx.
  • the liquid film disappearance effect here refers to the effect of inhibiting the liquid film formation of the structure and the formed structure of the structure in which air is held by the liquid film formed from the test liquid or artificial urine. It can be said that an agent that exhibits both of the effects of disappearing the body and that exhibits at least one of the effects has the property of exhibiting the effect of disappearing the liquid film.
  • the test solution is a liquid component extracted from defibrinated horse blood (manufactured by Nippon Biotest Co., Ltd.).
  • the defibrinated horse blood is separated into an upper layer and a lower layer. It is.
  • the upper layer mainly contains plasma components
  • the lower layer mainly contains blood cell components.
  • a transfer pipette manufactured by Nippon Micro Corporation
  • Whether or not a certain agent has the above-mentioned property of “disappearing the liquid film” depends on the occurrence of a structure in which air is trapped by the liquid film formed from the test solution or artificial urine to which the agent is applied. This is judged by the amount of the structure, that is, the liquid film when it is in an easy state. That is, the test solution or artificial urine is adjusted to a temperature of 25 ° C., and then 10 g is put into a screw tube (No. 5 body diameter 27 mm, total length 55 mm, manufactured by Maruemu Co., Ltd.) to obtain a standard sample.
  • a screw tube No. 5 body diameter 27 mm, total length 55 mm, manufactured by Maruemu Co., Ltd.
  • a measurement sample obtained by adding 0.01 g of an agent to be measured, which is adjusted in advance to 25 ° C., to the same sample as the standard sample is obtained.
  • the standard sample and the measurement sample are vigorously shaken twice in the vertical direction of the screw tube, and then quickly placed on a horizontal plane. By shaking the sample, the structure of the liquid layer (lower layer) without the structure and a large number of structures formed on the liquid layer (the lower layer) is formed inside the screw tube after shaking. Upper layer). After the elapse of 10 seconds immediately after shaking, the height of the structure layers of both samples (the height from the liquid surface of the liquid layer to the upper surface of the structure layer) is measured.
  • the agent to be measured has a liquid film cleavage effect.
  • the liquid film cleaving agent used in the present invention satisfies the above properties by a single compound that applies to the above properties, a plurality of combinations of single compounds that apply to the above properties, or a combination of a plurality of compounds (liquid membranes).
  • the compound applied to the fiber treatment agent in the nonwoven fabric contains a third component that does not meet the above definition, it is distinguished from the liquid film cleaving agent.
  • the “single compound” is a concept including compounds having the same composition formula but having different molecular weights due to different numbers of repeating units.
  • the liquid film cleaving agent is coated and contained on at least a part of the constituent fibers of the laminated nonwoven fabric.
  • the at least part to be coated is preferably a part that receives the most liquid.
  • the laminated nonwoven fabric of the present invention when used as a top sheet of an absorbent article such as a sanitary napkin, it is a region corresponding to the excretion part of the wearer that directly receives excretion fluid such as menstrual blood.
  • it is preferably contained in at least the layer that receives the liquid (the layer that is close to the skin in the absorbent article).
  • at least a liquid film cleaving agent is contained on the skin contact surface side that comes into contact with the wearer's skin.
  • the phrase that the laminated nonwoven fabric contains or contains a liquid film cleaving agent mainly means that it is adhered to the surface of the fiber.
  • the liquid film cleaving agent may be a liquid film cleaving agent that is encapsulated in the fiber or that is present inside the fiber by internal addition.
  • various commonly used methods can be employed without any particular limitation. For example, application by spraying, application by slot coater, application by roll transfer, immersion and the like can be mentioned. These treatments may be performed on the fibers before being made into a web, or after the fibers are made into a web by various methods.
  • the fiber having the liquid film cleaving agent attached to the surface is dried at a temperature sufficiently lower than the melting point of the fiber resin (for example, 120 ° C. or less) by, for example, a hot air blowing type dryer. Moreover, when attaching to a fiber using the said attachment method, it is performed using the solution containing the liquid film cleaving agent which melt
  • the liquid film cleaving agent according to the present invention needs to exist as a liquid when the liquid film cleaving agent touches body fluid in order to have the liquid film cleaving effect described later in the nonwoven fabric.
  • the melting point of the liquid film cleaving agent according to the present invention is preferably 40 ° C. or less, and more preferably 35 ° C. or less. Furthermore, the melting point of the liquid film cleaving agent according to the present invention is preferably ⁇ 220 ° C. or higher, more preferably ⁇ 180 ° C. or higher.
  • the liquid film cleaving agent acts as a driving force for breaking and destabilizing a fine and stable liquid film generated between narrow fibers.
  • the difference in hydrophilicity between adjacent fiber layers is changed from a fiber layer with low hydrophilicity to a fiber layer with high hydrophilicity before the liquid destabilized by rupturing is stabilized on the fiber surface again. Acts as a driving force for pulling out in one direction.
  • the liquid film cleaving agent prevents stable liquid film formation and pulls it back toward the higher hydrophilicity.
  • the driving force of both the hydrophilicity difference between the liquid film cleaving agent and the adjacent fiber layer cooperates to prevent the liquid from stabilizing between the fibers, and the liquid thickness in the laminated nonwoven fabric.
  • the liquid permeability which can respond quickly also to a new liquid receiving is provided. This also makes it possible to form a soft laminated nonwoven fabric using fine fibers while maintaining a high level of dryness.
  • the adjacent one of the fiber layers and the other fiber layer is not limited to the form in contact with the entire surface, but may have a form having a peeled portion.
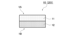
  • the laminated nonwoven fabric 10 of 1st Embodiment has two layers of the 1st fiber layer 11 by the side of the 1st surface 1A, and the 2nd fiber layer 12 by the side of the 2nd surface 1B adjacent to this as shown in FIG. .
  • the hydrophilicity of the second fiber layer 12 is higher than the hydrophilicity of the first fiber layer 11.
  • the gradient of the hydrophilicity which increases from the first fiber layer 11 to the second fiber layer 12 is formed in the thickness direction of the laminated nonwoven fabric 10 and acts as the above-described liquid pulling driving force.
  • the laminated nonwoven fabric 10 When the laminated nonwoven fabric 10 is applied as a top sheet of an absorbent article, it is preferable to use the second surface 1B side with higher hydrophilicity as the non-skin contact surface side.
  • the laminated nonwoven fabric 10 may have another layer in addition to the two layers.
  • the gradient of the hydrophilicity in the thickness direction of the laminated nonwoven fabric is opposite to the liquid receiving surface (for example, a skin contact surface in the case of a surface sheet such as a diaper) side (for example, the above-described surface). It means a state where the hydrophilicity on the non-skin contact surface) side of the topsheet is high.
  • This “gradient” broadly includes various modes in which there is a difference in hydrophilicity between the liquid receiving surface side and the opposite surface side, and may be a gradually increasing mode or a stepwise increasing mode. But you can.
  • At least one of the fiber layers has an expansion coefficient of 16 mN / m or more and a water solubility of 0 g or more and 0.025 g for a liquid having a surface tension of 50 mN / m.
  • a liquid film cleaving agent which is the following compound.
  • the liquid film cleaving agent may be in the first fiber layer 11 serving as a layer on the liquid receiving surface side, or in the second fiber layer 12 on the side of drawing the liquid from the first fiber layer 11.
  • the liquid film cleaving agent may be present in both the first fiber layer 11 and the second fiber layer 12.
  • At least the first fiber layer 11 has the liquid film cleaving agent because the liquid residue on the side close to the skin can be effectively prevented.
  • the liquid film cleaving agent is at least in the first fiber layer 11, the liquid film cleaving agent is further transferred to the second fiber layer 12 together with the liquid even after the liquid film is cleaved, and the liquid at that position. This is preferable because it can act as a membrane cleavage.
  • the “expansion coefficient with respect to a liquid having a surface tension of 50 mN / m” possessed by the liquid film cleaving agent refers to an expansion coefficient with respect to a liquid assuming the above-mentioned excretion liquid such as menstrual blood or urine.
  • the “expansion coefficient” is a value obtained based on the following formula (1) from a measurement value obtained by a measurement method described later in an environmental region at a temperature of 25 ° C. and a relative humidity (RH) of 65%.
  • the liquid film in Formula (1) means the liquid phase of "the liquid whose surface tension is 50 mN / m", the liquid of the state which stretched
  • stretched Includes both, also simply called liquid.
  • the surface tension of the formula (1) means the interfacial tension at the interface between the liquid film and the liquid film cleaving agent and the interfacial tension between the liquid phase and the liquid film cleaving agent. To do. This distinction applies to other descriptions in the present specification.
  • the expansion coefficient (S) of the liquid film cleaving agent increases as the surface tension ( ⁇ o ) of the liquid film cleaving agent decreases, and the interfacial tension of the liquid film cleaving agent with the liquid film It increases as ( ⁇ wo ) decreases.
  • the expansion coefficient is 16 mN / m or more
  • the liquid film cleaving agent has high mobility on the surface of the liquid film generated in a narrow region between fibers, that is, high diffusibility.
  • the expansion coefficient of the liquid film cleaving agent is more preferably 20 mN / m or more, further preferably 25 mN / m or more, and particularly preferably 30 mN / m or more.
  • the upper limit is not particularly limited, but when a liquid having a surface tension of 50 mN / m is used from the formula (1), a liquid having an upper limit of 50 mN / m and a surface tension of 60 mN / m was used. In this case, when a liquid having an upper limit of 60 mN / m and a surface tension of 70 mN / m is used, the surface tension of the liquid forming the liquid film becomes an upper limit, such as 70 mN / m. Therefore, in the present invention, from the viewpoint of using a liquid having a surface tension of 50 mN / m, it is 50 mN / m or less.
  • the “water solubility” of the liquid film cleaving agent is the dissolvable mass of the liquid film cleaving agent with respect to 100 g of deionized water. Based on the measurement method described below, the environment has a temperature of 25 ° C. and a relative humidity (RH) of 65%. A value measured in the region. When the water solubility is 0 g or more and 0.025 g or less, the liquid film cleaving agent is difficult to dissolve and forms an interface with the liquid film, thereby making the diffusibility more effective. From the same viewpoint, the water solubility of the liquid film cleaving agent is preferably 0.0025 g or less, more preferably 0.0017 g or less, and still more preferably less than 0.0001 g.
  • the water solubility is preferably as small as possible, and is 0 g or more. From the viewpoint of diffusibility into the liquid film, it is practical to set the water solubility to 1.0 ⁇ 10 ⁇ 9 g or more. In addition, it is thought that said water solubility is applicable also to the menstrual blood, urine, etc. which have a water
  • the surface tension ( ⁇ w ) of the liquid film (liquid having a surface tension of 50 mN / m), the surface tension ( ⁇ o ) of the liquid film cleaving agent, and the interfacial tension of the liquid film cleaving agent ( ⁇ wo )
  • the water solubility of the liquid film cleaving agent is measured by the following method.
  • the laminated nonwoven fabric to be measured is a member (for example, a surface sheet) incorporated in an absorbent article such as a sanitary product or a disposable diaper, the measurement is taken out as follows.
  • the member to be measured is carefully peeled off and taken out.
  • This extraction method is applied in the measurement related to the laminated nonwoven fabric of the present invention, such as measurement of the interfiber distance and the fineness described later.
  • a washing liquid such as hexane, methanol, ethanol, and the solvent used for the washing (including the liquid film cleaving agent). The washing solvent is dried and removed.
  • the mass of the substance taken out at this time is applied when calculating the content ratio (OPU) with respect to the fiber mass of the liquid film cleaving agent. If the amount of the extracted material is too small to measure the surface tension or interfacial tension, select an appropriate column and solvent according to the composition of the extracted material, and then fractionate each component by high performance liquid chromatography. Furthermore, the structure of each fraction is identified by performing MS measurement, NMR measurement, elemental analysis and the like for each fraction. When the liquid film cleaving agent contains a polymer compound, it becomes easier to identify the constituents by using a technique such as gel permeation chromatography (GPC) together.
  • GPC gel permeation chromatography
  • the substance is a commercial product, it is procured, and if it is not a commercial product, a sufficient amount is obtained by synthesis, and the surface tension and interfacial tension are measured.
  • the liquid film cleaving agent obtained as described above is a solid, the liquid film cleaving agent is heated to the melting point of the liquid film cleaving agent + 5 ° C. to cause a phase transition to the liquid. Perform measurement under the same conditions.
  • Measurement method of surface tension ( ⁇ w ) of liquid film (liquid) Measurement can be performed using a platinum plate by the plate method (Wilhelmy method) in an environmental region at a temperature of 25 ° C. and a relative humidity (RH) of 65%.
  • a measuring device at that time an automatic surface tension meter “CBVP-Z” (trade name, manufactured by Kyowa Interface Science Co., Ltd.) can be used.
  • a platinum plate having a purity of 99.9%, a size of 25 mm in width, and 10 mm in length is used.
  • liquid having a surface tension of 50 mN / m is a polyoxyethylene sorbitan monolaur, which is a nonionic surfactant, in deionized water using the above measurement method.
  • a solution adjusted to a surface tension of 50 ⁇ 1 mN / m by adding a rate (for example, trade name Leool Super TW-L120 manufactured by Kao Corporation) is used.
  • the interfacial tension when the drop is formed (at 0 second) is read.
  • the liquid film cleaving agent is heated to the melting point of the liquid film cleaving agent + 5 ° C. to cause a phase transition to the liquid, and the measurement is performed with the temperature condition.
  • the measurement is performed with the temperature condition.
  • the interfacial tension if the density difference between the liquid film cleaving agent and the liquid with a surface tension of 50 mN / m is very small, the viscosity is extremely high, or the interfacial tension value is below the pendant drop measurement limit, The interfacial tension measurement by the pendant drop method may be difficult.
  • the measurement can be performed by measuring by a spinning drop method in an environment region at a temperature of 25 ° C. and a relative humidity (RH) of 65%.
  • a spinning drop interfacial tensiometer manufactured by KURUSS, trade name SITE100
  • the interfacial tension when the drop shape is stabilized is read, and when the obtained liquid film cleaving agent is solid, it is heated to the melting point of the liquid film cleaving agent + 5 ° C. The phase is changed and the measurement is carried out with the temperature condition. Note that if the interfacial tension can be measured by both measuring devices, a smaller interfacial tension value is adopted as the measurement result.
  • dissolution means both monodisperse dissolution and micelle dispersion dissolution, and the amount of dissolution when floating, precipitation, precipitation, or cloudiness is observed is the water solubility. It becomes.
  • the liquid film cleaving agent of the present embodiment has the above expansion coefficient and water solubility, so that it spreads without dissolving on the surface of the liquid film and can displace the liquid film layer from the vicinity of the center of the liquid film. it can. As a result, the liquid film is destabilized and cleaved.
  • action of the liquid film cleaving agent in the laminated nonwoven fabric of this embodiment is demonstrated concretely with reference to FIG.
  • a highly viscous liquid such as menstrual blood or excreted liquid such as urine tends to stretch the liquid film 2.
  • the liquid film cleaving agent destabilizes and breaks the liquid film in the following manner, inhibits formation, and promotes drainage from the nonwoven fabric.
  • the liquid film cleaving agent 3 of the fiber 1 of the laminated nonwoven fabric moves on the surface of the liquid film 2 while maintaining the interface with the liquid film 2. .
  • FIGS. 3A1 and 3B1 the liquid film cleaving agent 3 of the fiber 1 of the laminated nonwoven fabric moves on the surface of the liquid film 2 while maintaining the interface with the liquid film 2. .
  • the liquid film cleaving agent 3 pushes away a part of the liquid film 2 and penetrates in the thickness direction, as shown in FIGS. 3 (A3) and (B3).
  • the liquid film 2 is gradually changed to a non-uniform and thin film.
  • the liquid film 2 is opened and cleaved so as to be repelled.
  • the cleaved menstrual fluid or the like becomes droplets and easily passes between the fibers of the laminated nonwoven fabric, and the remaining liquid is reduced.
  • action with respect to the liquid film of said liquid film cleaving agent is similarly demonstrated not only to the case with respect to the liquid film between fibers but with respect to the liquid film clinging to the fiber surface. That is, the liquid film cleaving agent can move over the liquid film clinging to the fiber surface and push away a part of the liquid film to cleave the liquid film. In addition, the liquid film cleaving agent can cleave the liquid film with respect to the liquid film clinging to the fiber surface without moving at the position attached to the fiber, and can inhibit the formation of the liquid film.
  • the liquid film cleaving agent according to the present invention does not perform liquid modification such as lowering the surface tension of the liquid film, but cleaves and inhibits the liquid film itself generated between the fibers or on the fiber surface.
  • liquid modification such as lowering the surface tension of the liquid film
  • the liquid residue of a laminated nonwoven fabric can be reduced.
  • the liquid stay between the fibers is suppressed, and a liquid permeation path to the absorber is secured. Thereby, the liquid permeability increases, the liquid flow on the sheet surface is suppressed, and the liquid absorption rate increases.
  • the liquid film cleaving agent preferably further has an interface tension of 20 mN / m or less with respect to a liquid having a surface tension of 50 mN / m. That is, it is preferable that the “interfacial tension ( ⁇ wo ) of the liquid film cleaving agent with respect to the liquid film”, which is one variable for determining the value of the expansion coefficient (S) in the above-described formula (1), is 20 mN / m or less.
  • the “interfacial tension with respect to a liquid having a surface tension of 50 mN / m” of the liquid film cleaving agent is more preferably 17 mN / m or less, further preferably 13 mN / m or less, still more preferably 10 mN / m or less, and 9 mN.
  • the lower limit is not particularly limited, and may be larger than 0 mN / m from the viewpoint of insolubility in the liquid film.
  • the expansion coefficient is 50.8 mN / m.
  • the surface tension of the target liquid is 30 mN / m
  • the surface tension of the liquid film cleaving agent is 21 mN / m
  • the interfacial tension is 0.2 mN / m
  • the expansion coefficient is 8.8 mN / m.
  • the larger the expansion coefficient the greater the liquid film cleavage effect.
  • the numerical value at the surface tension of 50 mN / m is defined.
  • the surface tension of the liquid film cleaving agent is preferably 32 mN / m or less, more preferably 30 mN / m or less, further preferably 25 mN / m or less, and particularly preferably 22 mN / m or less. Moreover, the said surface tension is so good that it is small, and the minimum is not specifically limited. From the viewpoint of durability of the liquid film cleaving agent, 1 mN / m or more is practical. By setting the surface tension of the liquid film cleaving agent to be in the above range or less, even when the surface tension of the target liquid that stretches the liquid film is lowered, the liquid film cleaving action can be effectively exhibited.
  • the laminated nonwoven fabric 20 has two layers of the first fiber layer 11 and the second fiber layer 12 adjacent thereto, like the laminated nonwoven fabric 10 of the first embodiment.
  • the hydrophilicity of the second fiber layer 12 is higher than the hydrophilicity of the first fiber layer 11.
  • a gradient of hydrophilicity that increases from the first fiber layer 11 to the second fiber layer 12 is formed in the thickness direction of the laminated nonwoven fabric 20.
  • the gradient of hydrophilicity here has the same meaning as in the first embodiment.
  • the laminated nonwoven fabric 20 when the first fiber layer 11 is a layer on the liquid receiving surface side, the gradient of the hydrophilicity is from the first fiber layer 11 to the second fiber layer 12. It acts as a driving force for drawing the liquid and contributes to the improvement of the liquid permeability of the laminated nonwoven fabric 10.
  • the laminated nonwoven fabric 10 may have another layer in addition to the two layers.
  • the laminated nonwoven fabric 20 has an expansion coefficient greater than 0 mN / m for a liquid having a surface tension of 50 mN / m in at least one of the fiber layers, that is, a positive value.
  • a liquid film cleaving agent which is a compound having a water solubility of 0 g or more and 0.025 g or less and an interfacial tension of 20 mN / m or less for a liquid having a surface tension of 50 mN / m.
  • the “interfacial tension with respect to a liquid having a surface tension of 50 mN / m” is 20 mN / m or less, it means that the diffusibility of the liquid film cleaving agent on the liquid film is increased as described above.
  • the expansion coefficient is relatively small such that the “expansion coefficient for a liquid having a surface tension of 50 mN / m” is less than 16 mN / m, a large amount of liquid film cleaving agent is removed from the fiber surface because of its high diffusibility.
  • extension coefficient for a liquid having a surface tension of 50 mN / m is defined in the first embodiment.
  • the measuring method is also the same.
  • the “interface tension with respect to a liquid having a surface tension of 50 mN / m” is preferably 17 mN / m or less, and 13 mN / m or less. Is more preferably 10 mN / m or less, still more preferably 9 mN / m or less, and particularly preferably 1 mN / m or less.
  • the lower limit is not particularly limited as in the first embodiment, and is practically larger than 0 mN / m from the viewpoint of not dissolving in a liquid film (a liquid having a surface tension of 50 mN / m). .
  • the “expansion coefficient for a liquid having a surface tension of 50 mN / m” is preferably 9 mN / m or more, more preferably 10 mN / m or more, from the viewpoint of making the action of the liquid film cleaving agent more effective. More preferably, it is 16 mN / m or more.
  • the upper limit is not particularly limited, but 50 mN / m or less is substantial from the viewpoint that the surface tension of the liquid forming the liquid film becomes the upper limit from the formula (1). Further, more preferable ranges of the surface tension and the water solubility of the liquid film cleaving agent are the same as those in the first embodiment.
  • the laminated nonwoven fabric of the first embodiment and the laminated nonwoven fabric of the second embodiment preferably further contain a phosphate ester type anionic surfactant in addition to the liquid film cleaving agent.
  • a phosphate ester type anionic surfactant in addition to the liquid film cleaving agent.
  • the content ratio of the liquid film cleaving agent to the phosphate ester type anionic surfactant is preferably 1: 1 to 19: 1, more preferably 2: 1 to 15: 1, and more preferably 3: 1 to 10 by mass ratio. : 1 is more preferable. In particular, the content ratio is preferably 5: 1 to 19: 1, more preferably 8: 1 to 16: 1, and even more preferably 11: 1 to 13: 1 in terms of mass ratio.
  • the phosphate ester type anionic surfactant is not particularly limited.
  • specific examples thereof include alkyl ether phosphates, dialkyl phosphates, and alkyl phosphates.
  • alkyl phosphate ester is preferable from the viewpoint of enhancing the affinity with the liquid film and at the same time imparting the workability of the laminated nonwoven fabric.
  • alkyl ether phosphates can be used without particular limitation.
  • polyoxyalkylene stearyl ether phosphate examples include unsaturated carbon chains such as oxyalkylene oleyl ether phosphates and polyoxyalkylene palmitoleyl ether phosphates, and those having side chains in these carbon chains. More preferably, it is a completely neutralized or partially neutralized salt of a mono- or dipolyoxyalkylene alkyl ether phosphate ester having 16 to 18 carbon chains.
  • Examples of the polyoxyalkylene include polyoxyethylene, polyoxypropylene, polyoxybutylene and those obtained by copolymerizing these constituent monomers.
  • Examples of the salt of alkyl ether phosphate include alkali metals such as sodium and potassium, ammonia, and various amines. Alkyl ether phosphates can be used singly or in combination of two or more. Specific examples of the alkyl phosphate ester include those having a saturated carbon chain such as stearyl phosphate ester, myristyl phosphate ester, lauryl phosphate ester, palmityl phosphate ester, oleyl phosphate ester, palmitoleyl phosphate ester, etc.
  • Examples include unsaturated carbon chains and those having side chains in these carbon chains. More preferably, it is a completely neutralized or partially neutralized salt of a mono- or dialkyl phosphate ester having 16 to 18 carbon chains.
  • alkyl phosphate ester salt include alkali metals such as sodium and potassium, ammonia, and various amines.
  • Alkyl phosphate ester can be used individually by 1 type or in mixture of 2 or more types.
  • liquid film cleaving agent in the first embodiment and the second embodiment will be described. These are not soluble in water or have poor water-solubility because they are in the specific numerical range described above, and act to cleave the liquid film.
  • surfactants used as conventional fiber treatment agents are practically water-soluble when used by dissolving in water, and are not the liquid film cleaving agent of the present invention. .
  • the liquid film cleaving agent in the first embodiment and the second embodiment is preferably a compound having a mass average molecular weight of 500 or more.
  • This mass average molecular weight greatly affects the viscosity of the liquid film cleaving agent.
  • the liquid film cleaving agent keeps the viscosity high so that it is difficult for the liquid to flow down when the liquid passes between the fibers, and the liquid film cleaving effect in the nonwoven fabric can be maintained.
  • the mass average molecular weight of the liquid film cleavage agent is more preferably 1000 or more, further preferably 1500 or more, and particularly preferably 2000 or more.
  • the viscosity for maintaining diffusibility 50000 or less is preferable, 20000 or less is more preferable, and 10,000 or less is further preferable.
  • the mass average molecular weight is measured using a gel permeation chromatograph (GPC) “CCPD” (trade name, manufactured by Tosoh Corporation). The measurement conditions are as follows. The calculated molecular weight is calculated with polystyrene. Separation column: GMHHR-H + GMHHR-H (cation) Eluent: L Farmin DM20 / CHCl3 Solvent flow rate: 1.0 ml / min Separation column temperature: 40 ° C
  • the liquid film cleaving agent in the first embodiment is preferably a compound having at least one structure selected from the group consisting of the following structures X, XY, and YXY, as will be described later.
  • Structure X is> C (A)- ⁇ C represents a carbon atom. ⁇ ,>, And-indicate a bond. The same applies hereinafter.
  • a hydrogen atom or —C (A) 3 , —C (A) 2 B, —C (A) (B) 2, —C (A) 2 —C (R 1 ) 3 , -C (R 1 ) 2 A, -C (R 1 ) 3 , -OSi (R 1 ) 3 , -OSi (R 1 ) 2 (R 2 ), -Si (R 1 ) 3 , -Si (R 1 ) 2 It has at least one group selected from the group consisting of (R 2 ).
  • R 1 and R 2 are each independently a hydrogen atom, an alkyl group (preferably having a carbon number of 1 to 20, preferably a methyl group, an ethyl group or a propyl group), an alkoxy group (having a carbon number of 1 to 20).
  • Preferred examples include various substituents such as a methoxy group and an ethoxy group, an aryl group (preferably having 6 to 20 carbon atoms, eg a phenyl group), and a halogen atom (eg a fluorine atom is preferred). Show.
  • a and B each independently represent a substituent containing an oxygen atom or a nitrogen atom, such as a hydroxyl group, a carboxylic acid group, an amino group, an amide group, an imino group, or a phenol group.
  • R 1 , R 2 , A, and B in the structure X may be the same as or different from each other.
  • a continuous bond between C (carbon atom) and Si is usually a single bond, but may include a double bond or a triple bond, and the bond between C and Si includes an ether group (- O-), amide group (—CONR A —: R A is a hydrogen atom or a monovalent group), ester group (—COO—), carbonyl group (—CO—), carbonate group (—OCOO—), etc. Groups may be included.
  • the number of one C and Si bonded to the other C or Si is 1 to 4, and a long-chain silicone chain (siloxane chain) or mixed chain is branched or has a radial structure. There may be cases.
  • Y represents a hydrophilic group having hydrophilicity including an atom selected from a hydrogen atom, a carbon atom, an oxygen atom, a nitrogen atom, a phosphorus atom, and a sulfur atom.
  • a polyoxyethylene (POE) group a polyoxyalkylene group, Propylene (POP) group is preferred
  • POP polyoxyethylene
  • sulfonic acid group sulfuric acid group
  • phosphoric acid group a polyoxyalkylene group
  • sulfobetaine group a polyoxyalkylene group
  • carbobetaine group a polyoxyalkylene group
  • phosphobetaine group a hydrophilic group
  • Y is plural, they may be the same or different. In structures XY and YXY, Y is attached to X or a terminal group of X.
  • the terminal group of X is bonded to Y by removing, for example, the same number of hydrogen atoms as the number of bonds to Y.
  • the hydrophilic groups Y, A, and B can be selected from the groups specifically described to satisfy the aforementioned expansion coefficient, water solubility, and interfacial tension.
  • the target liquid film cleavage effect is expressed.
  • the liquid film cleaving agent is preferably a compound in which the structure X is a siloxane structure. Furthermore, in the liquid film cleaving agent, as specific examples of the structures X, XY, and YXY, the structures represented by the following formulas (1) to (11) are arbitrarily combined from a siloxane chain. Is preferred. Furthermore, it is preferable from the viewpoint of the liquid film cleaving action that this compound has a mass average molecular weight in the above-mentioned range.
  • M 1 , L 1 , R 21 , and R 22 represent the following monovalent or polyvalent (divalent or higher) groups.
  • R 23 and R 24 represent the following monovalent or polyvalent (divalent or higher) group or a single bond.
  • M 1 is a group having a polyoxyethylene group, a polyoxypropylene group, a polyoxybutylene group, or a polyoxyalkylene group obtained by combining them, an erythritol group, a xylitol group, a sorbitol group, a glycerin group or an ethylene glycol group.
  • Hydrophilic groups having a plurality of hydroxyl groups hydrophilic groups formed by removing one hydrogen atom from the above compound having a plurality of hydroxyl groups such as erythritol), hydroxyl groups, carboxylic acid groups, mercapto groups, alkoxy groups (preferably having 1 to 20 carbon atoms) For example, a methoxy group is preferred), amino group, amide group, imino group, phenol group, sulfonic acid group, quaternary ammonium group, sulfobetaine group, hydroxysulfobetaine group, phosphobetaine group, imidazolium betaine group, carbobetaine.
  • M 1 is a polyvalent group
  • M 1 represents a group obtained by removing one or more hydrogen atoms from each of the above groups or functional groups.
  • L 1 is an ether group, an amino group (an amino group that can be taken as L 1 is represented by> NR C (R C is a hydrogen atom or a monovalent group)), an amide group, an ester group, a carbonyl group, The bonding group of a carbonate group is shown.
  • R 21 , R 22 , R 23 , and R 24 are each independently an alkyl group (preferably having 1 to 20 carbon atoms.
  • methyl group, ethyl group, propyl group, isopropyl group, butyl group, pentyl group, hexyl group) Group, heptyl group, 2-ethylhexyl group, nonyl group and decyl group are preferred
  • alkoxy group preferably having 1 to 20 carbon atoms, for example, preferably methoxy group and ethoxy group
  • aryl group having 6 to 6 carbon atoms.
  • R 20 is preferable, for example, a phenyl group is preferable), a fluoroalkyl group, an aralkyl group, a hydrocarbon group obtained by combining them, or a halogen atom (for example, a fluorine atom is preferable).
  • R ⁇ 22 > and R ⁇ 23 > are polyvalent groups
  • examples of the group that can be taken as R 22 or R 23 include an imino group that can be taken as R 32 in addition to the above groups, the hydrocarbon group, or the halogen atom. It is done.
  • the liquid film cleaving agent has a structure represented by any one of formulas (1), (2), (5) and (10) as X, and the end of X or the end of X and Y
  • a compound having a structure represented by any one of the above formulas other than these formulas is preferable.
  • X or a group consisting of X terminal and Y has a structure represented by any of the above formulas (2), (4), (5), (6), (8) and (9).
  • a compound composed of a siloxane chain having at least one is preferable.
  • organic surfactants that are silicone surfactants.
  • examples of the organic modified silicone modified with a reactive organic group include amino modified, epoxy modified, carboxy modified, diol modified, carbinol modified, (meth) acryl modified, mercapto modified, and phenol modified.
  • Organic modified silicones modified with non-reactive organic groups include polyether modified (including polyoxyalkylene modified), methylstyryl modified, long chain alkyl modified, higher fatty acid ester modified, higher alkoxy modified, higher fatty acid. Examples include modified and fluorine-modified ones.
  • the expansion coefficient exhibiting the above-mentioned liquid film cleavage action can be obtained.
  • the “long chain” refers to those having 12 or more carbon atoms, preferably 12 to 20 carbon atoms.
  • the term “higher” means that having 6 or more carbon atoms, preferably 6 to 20 carbon atoms.
  • a modified silicone having a structure in which a liquid film cleaving agent that is a modified silicone has at least one oxygen atom in a modified group such as polyoxyalkylene-modified silicone, epoxy-modified silicone, carbinol-modified silicone, and diol-modified silicone is preferable.
  • polyoxyalkylene-modified silicone is preferred. Since the polyoxyalkylene-modified silicone has a polysiloxane chain, it hardly penetrates into the inside of the fiber and tends to remain on the surface.
  • the addition of a hydrophilic polyoxyalkylene chain is preferable because the affinity with water is increased and the interfacial tension is low, so that the movement on the surface of the liquid film is likely to occur.
  • the movement on the surface of the liquid film described above easily occurs.
  • the polyoxyalkylene-modified silicone is subjected to hot melt processing such as embossing, it tends to remain on the fiber surface at that portion, and the liquid film cleavage action is difficult to reduce.
  • the liquid film cleaving action is sufficiently exhibited at the embossed portion where the liquid tends to accumulate, which is preferable.
  • polyoxyalkylene-modified silicone examples include those represented by the following formulas [I] to [IV]. Furthermore, the polyoxyalkylene-modified silicone preferably has a mass average molecular weight within the above-mentioned range from the viewpoint of the liquid film cleavage action.
  • R 31 is an alkyl group (preferably having 1 to 20 carbon atoms. For example, methyl group, ethyl group, propyl group, isopropyl group, butyl group, pentyl group, hexyl group, heptyl group, 2-ethyl-hexyl group, Nonyl group and decyl group are preferred).
  • R 32 represents a single bond or an alkylene group (preferably having a carbon number of 1 to 20, for example, a methylene group, an ethylene group, a propylene group or a butylene group is preferred), and preferably represents the alkylene group.
  • the plurality of R 31 and the plurality of R 32 may be the same as or different from each other.
  • M 11 represents a group having a polyoxyalkylene group, and a polyoxyalkylene group is preferable.
  • the polyoxyalkylene group include a polyoxyethylene group, a polyoxypropylene group, a polyoxybutylene group, or a copolymer of these constituent monomers.
  • m and n are each independently an integer of 1 or more. The symbols of these repeating units are determined separately in each of the formulas (I) to (IV), and do not necessarily indicate the same integer and may be different.
  • the polyoxyalkylene-modified silicone may have one or both modified groups of polyoxyethylene-modified and polyoxypropylene-modified.
  • a methyl group in the alkyl group R 31 of the silicone chain is not particularly limited, and examples thereof include those described in paragraphs [0006] and [0012] of JP-A No. 2002-161474. More specifically, polyoxyethylene (POE) polyoxypropylene (POP) modified silicone, polyoxyethylene (POE) modified silicone, polyoxypropylene (POP) modified silicone and the like can be mentioned.
  • Examples of the POE-modified silicone include POE (3) -modified dimethyl silicone added with 3 moles of POE.
  • Examples of the POP-modified silicone include POP (10) -modified dimethyl silicone, POP (12) -modified dimethyl silicone, POP (24) -modified dimethyl silicone to which POP is added at 10 mol, 12 mol, or 24 mol.
  • the expansion coefficient and water solubility of the first embodiment described above are, for example, the number of added moles of a polyoxyalkylene group (an oxyalkylene group that forms a polyoxyalkylene group with respect to 1 mole of the polyoxyalkylene-modified silicone). ), The following modification rate, and the like.
  • the surface tension and the interfacial tension can also be set within predetermined ranges in the same manner. From the above viewpoint, those having an addition mole number of the polyoxyalkylene group of 1 or more are preferable.
  • the number of added moles is more preferably 3 or more, and further preferably 5 or more.
  • the number of added moles is preferably 30 or less, more preferably 20 or less, and still more preferably 10 or less. If the modification rate of the modified silicone is too low, the hydrophilicity is impaired, so that it is preferably 5% or more, more preferably 10% or more, and even more preferably 20% or more.
  • the modification rate of the modified silicone is the ratio of the number of repeating units of the modified siloxane bonding portion to the total number of repeating units of the siloxane bonding portion in one molecule of the modified silicone. For example, (n / m + n) ⁇ 100% in the above formulas [I] and [IV], (2 / m) ⁇ 100% in the formula [II], and (1 / m) in the formula [III]. ⁇ 100%.
  • the modified groups are water-soluble polyoxyethylene groups, water-insoluble polyoxypropylene groups, and polyoxybutylene groups, respectively.
  • the molecular weight of the water-insoluble silicone chain By changing the molecular weight of the water-insoluble silicone chain, introducing an amino group, an epoxy group, a carboxy group, a hydroxyl group, a carbinol group, etc. in addition to the polyoxyalkylene modification as the modifying group, etc. Can be set within the range.
  • the polyalkylene-modified silicone used as the liquid film cleaving agent is preferably contained in an amount of 0.02% by mass or more and 5.0% by mass or less as a content ratio to the fiber mass (Oil Per Unit).
  • the content (OPU) of the polyalkylene-modified silicone is more preferably 1.0% by mass or less, and further preferably 0.40% by mass or less. By doing so, the laminated nonwoven fabric is not sticky and the tactile sensation is preferable.
  • the content ratio (OPU) is more preferably 0.04% by mass or more, and further preferably 0.10% by mass or more.
  • the liquid film cleaving agent in the second embodiment is preferably a compound having at least one structure selected from the group consisting of the following structures Z, ZY, and YZY.
  • the structure Z includes:> C (A)- ⁇ C: carbon atom>, -C (A) 2- , -C (A) (B)-,> C (A) -C (R 3 ) ⁇ ,> C Any basic structure of (R 3 ) —, —C (R 3 ) (R 4 ) —, —C (R 3 ) 2 —,> C ⁇ is repeated, or two or more are combined Represents a hydrocarbon chain of structure.
  • R 3 and R 4 are each independently a hydrogen atom or an alkyl group (preferably having 1 to 20 carbon atoms.
  • methyl group, ethyl group, propyl group, isopropyl group, butyl group, pentyl group, hexyl group, heptyl Group, 2-ethyl-hexyl group, nonyl group and decyl group are preferable
  • alkoxy group preferably having 1 to 20 carbon atoms, for example, methoxy group and ethoxy group are preferable
  • aryl group having 6 to 20 carbon atoms.
  • Preferred examples thereof include a phenyl group.
  • a and B each independently represent a substituent containing an oxygen atom or a nitrogen atom, such as a hydroxyl group, a carboxylic acid group, an amino group, an amide group, an imino group, or a phenol group.
  • R 3 , R 4 , A and B in the structure X they may be the same as or different from each other.
  • the bond between successive C (carbon atoms) is usually a single bond, but may include a double bond or a triple bond, and the bond between C includes an ether group, an amide group, an ester group.
  • a linking group such as a carbonyl group or a carbonate group may be contained.
  • Y represents a hydrophilic group having hydrophilicity including an atom selected from a hydrogen atom, a carbon atom, an oxygen atom, a nitrogen atom, a phosphorus atom, and a sulfur atom.
  • a hydroxyl group, a carboxylic acid group, an amino group, an amide group, an imino group, a phenol group; or a polyoxyalkylene group (the oxyalkylene group preferably has 1 to 4 carbon atoms.
  • a hydrophilic group such as a sulfonic acid group, a sulfuric acid group, a phosphoric acid group, a sulfobetaine group, a carbobetaine group, a phosphobetaine group, a quaternary ammonium group, an imidazolium betaine group, an epoxy group, a carbinol group, or a methacryl group;
  • Y When Y is plural, they may be the same or different.
  • Y is bonded to Z or a terminal group of Z.
  • the terminal group of Z is bonded to Y by removing, for example, the same number of hydrogen atoms as the number of bonds to Y.
  • the hydrophilic groups Y, A, and B can be selected from the groups specifically described to satisfy the aforementioned expansion coefficient, water solubility, and interfacial tension. Thus, the target liquid film cleavage effect is expressed.
  • the liquid film cleaving agent is preferably a compound in which the structures represented by the following formulas (12) to (25) are arbitrarily combined as specific examples of the structures Z, ZY, and YZY. . Furthermore, it is preferable from the viewpoint of the liquid film cleaving action that this compound has a mass average molecular weight in the above-mentioned range.
  • M 2 , L 2 , R 41 , R 42 , and R 43 represent the following monovalent or polyvalent groups (divalent or higher).
  • M 2 is a group having a polyoxyethylene group, a polyoxypropylene group, a polyoxybutylene group, or a polyoxyalkylene group in combination thereof, an erythritol group, a xylitol group, a sorbitol group, a glycerin group or an ethylene glycol group.
  • Hydrophilic groups having a plurality of hydroxyl groups, hydroxyl groups, carboxylic acid groups, mercapto groups, alkoxy groups (preferably having 1 to 20 carbon atoms, preferably methoxy groups), amino groups, amide groups, imino groups, phenol groups, sulfonic acids Group, quaternary ammonium group, sulfobetaine group, hydroxysulfobetaine group, phosphobetaine group, imidazolium betaine group, carbobetaine group, epoxy group, carbinol group, (meth) acryl group, or a functional group combining them. Show.
  • L 2 is an ether group, an amino group, an amide group, an ester group, a carbonyl group, a carbonate group, or a polyoxyethylene group, a polyoxypropylene group, a polyoxybutylene group, or a polyoxyalkylene group obtained by combining them.
  • the bonding group of is shown.
  • R 41 , R 42 , and R 43 are each independently a hydrogen atom or an alkyl group (preferably having 1 to 20 carbon atoms.
  • a methyl group, an ethyl group, a propyl group, an isopropyl group, a butyl group, a pentyl group, a hexyl group) , A heptyl group, a 2-ethylhexyl group, a nonyl group and a decyl group are preferable, an alkoxy group (preferably having 1 to 20 carbon atoms, for example, a methoxy group and an ethoxy group are preferable), an aryl group (having 6 to 20 carbon atoms).
  • a phenyl group is preferable), a fluoroalkyl group, an aralkyl group, a hydrocarbon group obtained by combining them, or various substituents composed of a halogen atom (for example, a fluorine atom is preferable).
  • R 42 is a polyvalent group
  • R 42 is the above-described substituent, further showing a group obtained by removing one or more hydrogen atoms.
  • another structure may be arbitrarily connected to the tip of the bond described in each structure, or a hydrogen atom may be introduced.
  • polyether compounds and nonionic surfactants can be mentioned.
  • a polyoxyalkylene glycol represented by the formula (VI) having a mass average molecular weight of 1000 or more steareth, behenez
  • PPG Examples include myristyl ether, PPG stearyl ether, and PPG behenyl ether.
  • the polyoxyalkylene alkyl ether is preferably lauryl ether to which POP is added in an amount of 3 mol to 24 mol, preferably 5 mol.
  • polypropylene glycol having a weight average molecular weight of 1000 to 10,000, preferably 3000, to which polypropylene glycol (PPG) is added in an amount of 17 to 180 mol, preferably about 50 mol, is preferable.
  • PPG polypropylene glycol
  • the measurement of said mass mean molecular weight can be performed with the measuring method mentioned above.
  • the polyether compound and the nonionic surfactant are preferably contained in an amount of 0.10% by mass to 5.0% by mass with respect to the fiber mass (Oil Per Unit).
  • the content ratio (OPU) of the polyether compound or nonionic surfactant is more preferably 1.0% by mass or less, and further preferably 0.40% by mass or less. By doing so, the non-woven fabric is not sticky and the tactile sensation is preferable. Further, from the viewpoint of sufficiently exerting the liquid film cleavage effect by the polyether compound or the nonionic surfactant, the content ratio (OPU) is more preferably 0.15% by mass or more, and further 0.20% by mass or more. preferable.
  • L 21 represents an ether group, an amino group, an amide group, an ester group, a carbonyl group, a carbonate group, a polyoxyethylene group, a polyoxypropylene group, a polyoxybutylene group, or a polyoxyalkylene group obtained by combining them
  • a linking group such as R 51 is a hydrogen atom, methyl group, ethyl group, propyl group, isopropyl group, butyl group, pentyl group, hexyl group, heptyl group, 2-ethylhexyl group, nonyl group, decyl group, methoxy group, ethoxy group, phenyl group , A fluoroalkyl group, an aralkyl group, a hydrocarbon group obtained by combining them, or various substituents composed of a fluorine atom.
  • A, b, m and n are each independently an integer of 1 or more.
  • the number of carbon atoms and the number of hydrogen atoms are determined independently in each of the formulas (V) and (VI), and do not necessarily indicate the same integer, and may be different.
  • “m” in — (C a H b O) m — is an integer of 1 or more.
  • the value of this repeating unit is determined independently in each of the formulas (V) and (VI), and does not necessarily indicate the same integer, and may be different.
  • the expansion coefficient, surface tension, and water solubility of the second embodiment described above can be set within a predetermined range, for example, depending on the number of moles of the polyoxyalkylene group in the polyether compound or nonionic surfactant.
  • the number of moles of the polyoxyalkylene group is preferably 1 or more and 70 or less. If it is less than 1, the interfacial tension is high, and the liquid film cleavage action is weakened. In this respect, the number of moles is more preferably 5 or more, and even more preferably 7 or more.
  • the added mole number is preferably 70 or less, more preferably 60 or less, and still more preferably 50 or less.
  • the entanglement of the molecular chain becomes moderately weak, and the diffusibility in the liquid film is excellent, which is preferable.
  • the expansion coefficient, surface tension, interfacial tension and water solubility described above are the same for water-soluble polyoxyethylene groups, water-insoluble polyoxypropylene groups and polyoxybutylene groups in polyether compounds and nonionic surfactants, respectively.
  • Use in combination change the chain length of the hydrocarbon chain, use a hydrocarbon chain having a branched chain, use a hydrocarbon chain having a double bond, benzene ring or naphthalene in the hydrocarbon chain It can be set within a predetermined range by using one having a ring or by appropriately combining the above.
  • hydrocarbon compounds having 5 or more carbon atoms can be mentioned.
  • the number of carbon atoms is preferably 100 or less, more preferably 50 or less, from the viewpoint that the liquid is more easily expanded to the liquid film surface.
  • This hydrocarbon compound excludes polyorganosiloxane, and is not limited to a straight chain, but may be a branched chain, and the chain is not particularly limited to saturated or unsaturated.
  • This hydrocarbon compound is preferably contained in an amount of 0.10% by mass to 5.0% by mass with respect to the fiber mass (Oil Per Unit).
  • the content ratio (OPU) of the hydrocarbon compound is preferably 1.0% by mass or less, more preferably 0.99% by mass or less, and further preferably 0.40% by mass or less. By doing so, the surface material is not sticky and the tactile sensation is preferable. Further, from the viewpoint of sufficiently exhibiting the liquid film cleavage effect by the hydrocarbon compound, the content ratio (OPU) is more preferably 0.15% by mass or more, and further preferably 0.20% by mass or more.
  • Hydrocarbon compounds include oils or fats, such as natural oils or natural fats. Specific examples include coconut oil, camellia oil, castor oil, coconut oil, corn oil, olive oil, sunflower oil, tall oil, and mixtures thereof. Moreover, the fatty acids as represented by Formula (VII), such as caprylic acid, capric acid, oleic acid, lauric acid, palmitic acid, stearic acid, myristic acid, behenic acid, and mixtures thereof, can be mentioned.
  • oils or fats such as natural oils or natural fats. Specific examples include coconut oil, camellia oil, castor oil, coconut oil, corn oil, olive oil, sunflower oil, tall oil, and mixtures thereof.
  • the fatty acids as represented by Formula (VII) such as caprylic acid, capric acid, oleic acid, lauric acid, palmitic acid, stearic acid, myristic acid, behenic acid, and mixtures thereof, can be mentioned.
  • n and n are each independently an integer of 1 or more.
  • C m H n is a hydrocarbon group of each of the above fatty acids.
  • linear or branched, saturated or unsaturated, substituted or unsubstituted polyhydric alcohol fatty acid esters or mixtures of polyhydric alcohol fatty acid esters as represented by formula (VIII-I) or (VIII-II)
  • examples thereof include glycerin fatty acid esters and pentaerythritol fatty acid esters, and specific examples include glyceryl tricaprylate, glyceryl tripalmitate, and mixtures thereof. Note that a mixture of glycerin fatty acid ester and pentaerythritol fatty acid ester typically contains some mono-, di-, and triesters.
  • glycerin fatty acid ester examples include glyceryl tricaprylate, a mixture of glyceryl tricapryate, and the like. Also, from the viewpoint of reducing the interfacial tension and obtaining a higher expansion coefficient, a polyhydric alcohol fatty acid ester having a polyoxyalkylene group introduced to such an extent that water insolubility can be maintained may be used.
  • m, m ′, m ′′, n, n ′, and n ′′ are each independently an integer of 1 or more.
  • the plurality of m and the plurality of n may be the same as or different from each other.
  • C m H n, C m 'H n' and C m '' H n '' are each a hydrocarbon group of each of the fatty acid.
  • fatty acids or fatty acid mixtures in which linear or branched, saturated or unsaturated fatty acids form esters with polyols having a large number of hydroxyl groups, and some of the hydroxyl groups remain unesterified are represented by the formula ( IX), a glycerin fatty acid ester, a sorbitan fatty acid ester, and a partially esterified product of pentaerythritol fatty acid ester represented by any one of formula (X) or formula (XI).
  • a mixture of partially esterified products such as glycerin fatty acid ester, sorbitan fatty acid ester, pentaerythritol fatty acid ester and the like typically contains some fully esterified compound.
  • m and n are each independently an integer of 1 or more.
  • the plurality of m and the plurality of n may be the same as or different from each other.
  • C m H n is a hydrocarbon group of each of the above fatty acids.
  • R 52 represents a linear or branched, saturated or unsaturated hydrocarbon group (an alkyl group, an alkenyl group, an alkynyl group, or the like) having 2 to 22 carbon atoms. Specific examples include 2-ethylhexyl group, lauryl group, myristyl group, palmityl group, stearyl group, behenyl group, oleyl group, linole group and the like.
  • m and n are each independently an integer of 1 or more.
  • the plurality of m and the plurality of n may be the same as or different from each other.
  • C m H n is a hydrocarbon group of each of the above fatty acids.
  • sterols can be mentioned.
  • Specific examples include cholesterol, sitosterol, stigmasterol, ergosterol, and mixtures thereof having a sterol structure of the formula (XII).
  • alcohols include lauryl alcohol, myristyl alcohol, cetyl alcohol, stearyl alcohol, cetostearyl alcohol, behenyl alcohol, and mixtures thereof as represented by formula (XIII).
  • n and n are each independently an integer of 1 or more.
  • C m H n is a hydrocarbon group of each of the above alcohol.
  • fatty acid ester examples include isopropyl myristate, isopropyl palmitate, cetylethylhexanoate, triethylhexanoin, octyldodecyl myristate, ethylhexyl palmitate, ethylhexyl stearate, butyl stearate represented by the formula (XIV). Rate, myristyl myristate, stearyl stearate, cholesteryl isostearate and mixtures thereof.
  • m and n are each independently an integer of 1 or more.
  • two C m H n may be the same or different.
  • C m H n -COO- of C m H n is a hydrocarbon group of each of the above fatty acids.
  • C m H n in —COOC m H n represents an alcohol-derived hydrocarbon group that forms an ester.
  • wax examples include ceresin, paraffin, petrolatum, mineral oil, liquid isoparaffin, and the like represented by the formula (XV).
  • n and n are each independently an integer of 1 or more.
  • the expansion coefficient, surface tension, water solubility, and interfacial tension of the second embodiment described above can maintain, for example, hydrophilic polyoxyethylene groups in water-insoluble in the above-described hydrocarbon compound having 5 or more carbon atoms.
  • liquid film cleaving agent in addition to the above-described liquid film cleaving agent, other components may be included as necessary. Moreover, you may use the liquid film cleaving agent of 1st Embodiment, and the liquid film cleaving agent of 2nd Embodiment combining both agents other than the form used separately. This also applies to the first compound and the second compound in the liquid film cleaving agent of the second embodiment.
  • the hydrophilicity of the first fiber layer 11 and the hydrophilicity of the second fiber layer 12 are both the hydrophilicity of the fibers constituting each fiber layer, and can be determined using the contact angle of deionized water to the constituent fibers as an index. it can.
  • the contact angle is an angle between the fibrous water droplet and the fiber surface, and a decrease in hydrophilicity is synonymous with an increase in contact angle. This contact angle can be obtained by the following measuring method.
  • the difference (W) between the contact angle of the first fiber layer 11 and the contact angle of the second fiber layer 12 is preferably 5 ° or more, more preferably 10 ° or more, and 15 ° from the viewpoint of the above-described liquid drawing-in property. The above is more preferable. Further, the larger the difference between the contact angle of the first fiber layer 11 and the contact angle of the second fiber layer 12, the better, but from the viewpoint of adjusting the hydrophilicity by adjusting the fiber treatment agent and the amount of adhesion. It is realistic to set it below the degree.
  • the contact angle (V1) of the first fiber layer 11 is preferably 75 ° or more, more preferably 80 ° or more, and 85 ° or more from the viewpoint of reducing the amount of liquid adhering to the skin as a layer on the liquid receiving surface side. Further preferred. Further, the contact angle (V1) of the first fiber layer 11 is preferably 100 degrees or less, more preferably 95 degrees or less, and still more preferably 90 degrees or less, from the viewpoint that the fiber layer absorbs the liquid without repelling. Specifically, the contact angle (V1) of the first fiber layer 11 is preferably 75 ° to 100 °, more preferably 80 ° to 95 °, and still more preferably 85 ° to 90 °.
  • the contact angle (V2) of the second fiber layer 12 is less than 75 degrees from the viewpoint of drawing out the liquid of the first fiber layer as a layer that is adjacent to the layer on the liquid receiving surface side and located on the surface opposite to the liquid receiving surface. Is preferable, 70 degrees or less is more preferable, and 65 degrees or less is still more preferable. Further, the contact angle (V2) of the second fiber layer 12 is preferably 20 degrees or more, more preferably 25 degrees or more, and further preferably 30 degrees or more from the viewpoint of transferring the liquid from the second fiber layer to the absorber pulp layer. preferable. Specifically, the contact angle (V1) of the first fiber layer 11 is preferably 20 degrees or more and less than 75 degrees, more preferably 25 degrees or more and 70 degrees or less, and further preferably 30 degrees or more and 65 degrees or less.
  • the contact angle (V1) of the first fiber layer 11 and the contact angle (V2) of the second fiber layer 12 satisfy the above-described difference (W) between the contact angles of both fiber layers.
  • Such a contact angle of the first fiber layer 11 and a contact angle of the second fiber layer 12 can be set by various methods usually used in nonwoven fabrics. For example, it can be set by adjusting the fiber treatment agent attached to the outermost surface of the fiber of each layer and the amount of attachment.
  • the fiber treatment agent also includes the liquid film cleaving agent described above.
  • the compounding quantity of the anionic surfactant which has a sulfonic acid group, a sulfuric acid group, and a phosphoric acid group which shows strong hydrophilicity in the fiber processing agent apply
  • coated to a lower layer side is increased.
  • it can be adjusted by increasing the amount of amphoteric surfactant such as water-soluble POA-modified silicone, hydroxysulfobetaine or carbobetaine in the fiber treatment agent applied to the lower layer side.
  • at least a part of the upper layer side is additionally coated with the following agent exhibiting water repellency, thereby making it weakly hydrophilic or water repellent and increasing the hydrophilicity gradient.
  • water repellent examples include liquid paraffin, petrolatum, silicone oil, animal and vegetable oils (olive oil, jojoba oil, safflower oil, squalane and squalene, etc.), fatty acid esters, fluorine-based surfactants, fluorine oil and the like.
  • the above contact angle can be measured by the following method. That is, a fiber is taken out from a predetermined part of the laminated nonwoven fabric, and the contact angle of water with the fiber is measured. As a measuring device, an automatic contact angle meter MCA-J manufactured by Kyowa Interface Science Co., Ltd. is used. Distilled water is used to measure the contact angle. The measurement is performed at a temperature of 25 ° C. and a relative humidity (RH) of 65%.
  • RH relative humidity
  • the amount of liquid ejected from an ink jet type water droplet ejection part (manufactured by Cluster Technology Co., Ltd., pulse injector CTC-25 having a pore diameter of 25 ⁇ m) is set to 20 picoliters, and a water droplet is dropped just above the fiber.
  • the state of dripping is recorded on a high-speed recording device connected to a horizontally installed camera.
  • the recording device is preferably a personal computer incorporating a high-speed capture device from the viewpoint of image analysis or image analysis later. In this measurement, an image is recorded every 17 msec.
  • the first image of water droplets landing on the fiber taken out from the laminated nonwoven fabric is attached software FAMAS (software version is 2.6.2, analysis method is droplet method, analysis method is ⁇ / 2 Method, image processing algorithm is non-reflective, image processing image mode is frame, threshold level is 200, and curvature correction is not performed).
  • FAMAS software version is 2.6.2, analysis method is droplet method, analysis method is ⁇ / 2 Method, image processing algorithm is non-reflective, image processing image mode is frame, threshold level is 200, and curvature correction is not performed).
  • the surface tension of the liquid film (liquid having a surface tension of 50 mN / m) ( The identification method described in the measurement method such as ⁇ w ) can be used.
  • the component of the liquid film cleaving agent is a compound having a siloxane chain as the main chain or a hydrocarbon compound having 1 to 20 carbon atoms
  • the content ratio (OPU) with respect to the fiber mass is obtained by the above-described analysis method. It can be determined by dividing the content of the liquid film cleaving agent by the mass of the fiber based on the mass of the material.
  • the laminated nonwoven fabric of the present invention has high liquid permeability regardless of the thickness of the fiber and the distance between the fibers.
  • the laminated nonwoven fabric of the present invention is particularly effective when thin fibers are used.
  • the distance between the fibers is reduced, and the narrow area between the fibers is increased.
  • the distance between fibers is 120 ⁇ m, and the formed liquid film area ratio is about 2.6%.
  • the distance between the fibers is 85 ⁇ m, and the liquid film area ratio is about 7.8%, which is about three times that of a normal nonwoven fabric.
  • the liquid film cleaving agent reliably cleaves the frequently occurring liquid film and reduces the liquid residue.
  • the liquid film area ratio is a liquid film area ratio calculated by image analysis from the surface of the laminated nonwoven fabric, and has a strong correlation with the liquid remaining state on the outermost surface of the surface material. Therefore, when the liquid film area ratio decreases, the liquid in the vicinity of the skin is removed, the comfort after excretion is increased, and the absorbent article is comfortable to wear after excretion.
  • the liquid remaining amount mentioned later means the liquid amount currently hold
  • the liquid membrane area ratio is reduced, the liquid that has been broken and destabilized increases, and the liquid is pulled in one direction from a fiber layer having a low hydrophilicity to a fiber layer having a high hydrophilicity.
  • the remaining liquid is reduced.
  • the whiteness of the surface is expressed as an L value described later.
  • the L value tends to decrease the remaining liquid amount and increase the numerical value due to the tearing of the liquid film on the surface, and whiteness tends to stand out visually.
  • the laminated nonwoven fabric containing the liquid film cleaving agent according to the present invention can reduce the liquid film area ratio and the remaining amount of liquid even if the fibers are thinned, and can increase the L value. It is possible to achieve a high level of touch and feel.
  • the laminated nonwoven fabric according to the present invention as a structural member such as a surface material of an absorbent article, a dry feeling is high at a portion touching the skin, and dirt due to body fluids is not noticeable due to visual whiteness. It is possible to provide an absorbent article that realizes a comfortable comfort that can reduce worries.
  • the distance between the fibers of the laminated nonwoven fabric is preferably 150 ⁇ m or less, and more preferably 90 ⁇ m or less, from the viewpoint of increasing the softness of the touch.
  • the lower limit is preferably 50 ⁇ m or more, and more preferably 70 ⁇ m or more, from the viewpoint of suppressing the liquid permeability from being impaired due to excessive narrowing between fibers. Specifically, 50 ⁇ m or more and 150 ⁇ m or less is preferable, and 70 ⁇ m or more and 90 ⁇ m or less is more preferable.
  • the fineness of the fiber is preferably 3.3 dtex or less, and more preferably 2.4 dtex or less.
  • the lower limit is preferably 0.5 dtex or more, and more preferably 1.0 dtex or more. Specifically, 0.5 dtex or more and 3.3 dtex or less are preferable, and 1.0 dtex or more and 2.4 dtex or less are more preferable.
  • the interfiber distance is obtained by measuring the thickness of the laminated nonwoven fabric to be measured as follows and applying it to the equation (2).
  • the laminated nonwoven fabric to be measured is cut into a longitudinal direction of 50 mm and a width direction of 50 mm to produce a cut piece of the laminated nonwoven fabric.
  • the thickness of this cut piece is measured with a pressure of 49 Pa.
  • the measurement environment is a temperature of 20 ⁇ 2 ° C., the relative humidity is 65 ⁇ 5%, and the measurement instrument is a microscope (VHX-1000 manufactured by Keyence Corporation).
  • an enlarged photograph of the cross section of the laminated nonwoven fabric is obtained. In the magnified picture, a photograph of a known size is taken at the same time.
  • a scale is matched with the enlarged photograph of the cross section of the laminated nonwoven fabric, and the thickness of the laminated nonwoven fabric is measured.
  • the above operation is performed three times, and the average value of the three times is defined as the thickness [mm] of the laminated nonwoven fabric in the dry state.
  • the boundary is determined from the fiber diameter, and the thickness is calculated.
  • the inter-fiber distance of the fibers constituting the laminated nonwoven fabric to be measured is determined by the following formula based on Wrotnowski's assumption. An expression based on the assumption of Wrotnowski is generally used when determining the inter-fiber distance of the fibers constituting the nonwoven fabric.
  • the interfiber distance A ( ⁇ m) is the thickness h (mm) of the laminated nonwoven fabric, the basis weight e (g / m 2 ), and the fiber diameter d ( ⁇ m) of the fibers constituting the laminated nonwoven fabric.
  • fiber density ⁇ (g / cm 3 ) the following equation (2) is obtained.
  • it calculates using the laminated nonwoven fabric thickness h (mm) of a convex part as a representative value.
  • the fiber diameter d ( ⁇ m) is measured using a scanning electron microscope (DSC6200, manufactured by Seiko Instruments Inc.), 10 fiber cross-sections, and the average value is defined as the fiber diameter.
  • the fiber density ⁇ (g / cm 3 ) is measured according to the measuring method of the density gradient tube method described in JIS L1015 chemical fiber staple test method using a density gradient tube.
  • the cross-sectional shape of the fiber is measured with an electron microscope or the like, and the cross-sectional area of the fiber (the cross-sectional area of each resin component in a fiber formed of a plurality of resins) is measured, and the resin is measured with a DSC (differential thermal analyzer). Is specified (in the case of multiple resins, the approximate component ratio is also), the specific gravity is determined, and the fineness is calculated.
  • the cross section is first observed and the cross sectional area is calculated. Then, by measuring with DSC, it is comprised from single component resin from melting
  • fibers constituting the laminated nonwoven fabric of the present invention those usually used for this type of article can be employed without any particular limitation.
  • various materials such as heat-fusible core-sheath composite fiber, heat-extensible fiber, non-heat-extensible fiber, heat-shrinkable fiber, non-heat-shrinkable fiber, three-dimensional crimped fiber, latent crimped fiber, hollow fiber, etc. Mention may be made of fibers.
  • a non-heat-extensible fiber and a non-heat-shrinkable fiber are heat-fusible.
  • the core-sheath type composite fiber may be a concentric core-sheath type, an eccentric core-sheath type, a side-by-side type, an irregular shape, or a concentric core-sheath type.
  • the liquid film cleaving agent, or the liquid film cleaving agent and the phosphate type anionic surfactant may be contained in the fiber in any step.
  • a fiber film cleaving agent or a mixture of a liquid film cleaving agent and a phosphoric acid type anionic surfactant may be blended and applied to a fiber spinning oil that is usually used for fiber spinning.
  • a liquid film cleaving agent or a mixture of a liquid film cleaving agent and a phosphoric acid type anionic surfactant may be blended and applied to the finishing oil.
  • a liquid film cleaving agent or a phosphate ester type anionic surfactant may be blended with a fiber treatment agent usually used in the production of nonwoven fabrics, and may be applied to the fibers, or may be applied after forming into a nonwoven fabric.
  • the laminated nonwoven fabric of the present invention has a hydrophilicity gradient and contains a liquid film cleaving agent or a phosphate ester type anionic surfactant, so that it can suppress liquid residue corresponding to various fiber structures. Excellent. Therefore, even when a large amount of liquid is applied to the laminated nonwoven fabric, a liquid passage between the fibers is always ensured and the liquid permeability is excellent. Thereby, various functions can be added to the laminated nonwoven fabric without being limited by the problem of interfiber distance and liquid film formation. For example, it may be composed of three or more layers. Moreover, the shape of a laminated nonwoven fabric may be flat, the one side or both sides may be uneven, and the basis weight or density of the fibers may be variously changed.
  • a liquid film cleaving agent may be contained in all the layers, and may be contained in one part. It is preferably contained in at least the layer on the side that directly receives the liquid.
  • a liquid film cleaving agent is contained in at least the layer on the skin contact surface side.
  • the liquid film cleaving agent is localized in the vicinity of at least some of the fiber entanglement points or the fiber fusion points.
  • the “localization” of the liquid film cleaving agent here is not a state in which the liquid film cleaving agent is evenly adhered to the entire surface of the fibers constituting the laminated nonwoven fabric, but near the fiber entanglement point or the fiber than the surface of each fiber. A state in which it is attached in the vicinity of the fusion point. Specifically, it can be defined that the concentration of the liquid film cleaving agent near the entanglement point or the fusion point is higher than the fiber surface (the fiber surface between the entanglement points or between the fusion points).
  • the liquid film cleaving agent present near the fiber entanglement point or near the fiber fusion point may be attached so as to partially cover the space between the fibers around the fiber entanglement point or fiber fusion point.
  • concentration of the liquid film cleaving agent near the confounding point or the fusion point the better.
  • the concentration varies depending on the type of liquid film cleaving agent used, the type of fiber used, the ratio of active ingredients when mixed with other agents, etc., but is not uniquely determined. It can be determined as appropriate from the standpoint of exhibiting. Due to the localization of the liquid film cleaving agent, the liquid film cleaving action is more easily expressed.
  • the vicinity of the fiber entanglement point or the vicinity of the fiber fusion point is a place where a liquid film is particularly likely to be formed. Therefore, the presence of more liquid film cleaving agent at that place makes it easier to act directly on the liquid film.
  • the localization of the liquid film cleaving agent is preferably generated at 30% or more near the fiber entanglement point or near the fiber fusion point of the entire laminated nonwoven fabric, more preferably 40% or more, More preferably, it occurs at 50% or more.
  • the laminated nonwoven fabrics where the distance between the fiber entanglement points or the fiber fusion points is relatively short, the space between the fibers is small and a liquid film is particularly likely to occur.
  • the liquid film cleaving agent is selectively localized near the fiber intersection or the fiber fusion point where the space between the fibers is small because the liquid film cleaving action is effectively exhibited.
  • the liquid film cleaving agent increases the coverage of a relatively small interfiber space and decreases the coverage of a relatively large interfiber space.
  • the “relatively small inter-fiber space” refers to an inter-fiber space having a fiber-to-fiber distance of 1/2 or less with respect to the inter-fiber distance determined by the above-described (inter-fiber distance measurement method).
  • the localized state of the liquid film cleaving agent can be confirmed by the following method.
  • the laminated nonwoven fabric is cut into 5 mm ⁇ 5 mm, and attached to the sample table using carbon tape.
  • the sample stage is placed in a scanning electron microscope (S4300SE / N, manufactured by Hitachi, Ltd.) in an undeposited state, and is brought to a low vacuum or a vacuum state. Since detection is performed using an annular backscattered electron detector (accessory), the larger the atomic number, the easier it is to emit backscattered electrons. Therefore, polyethylene (PE), polypropylene (PP), and polyester (PET) are mainly used.
  • PE polyethylene
  • PP polypropylene
  • PET polyester
  • the localization state can be confirmed by whiteness.
  • the whiteness increases as the atomic number increases or the amount of adhesion increases.
  • a method usually used for this type of article can be adopted.
  • a card method, an airlaid method, a spunbond method, or the like can be used as a method for forming a fiber web.
  • various commonly used non-woven fabric methods such as spunlace, needle punch, chemical bond, and dot embossing can be adopted.
  • an air-through nonwoven fabric and a spunbonded nonwoven fabric are preferable.
  • the “air-through nonwoven fabric” as used herein refers to a laminated nonwoven fabric manufactured through a process (air-through treatment) in which a fluid of 50 ° C.
  • the “spunbond nonwoven fabric” refers to a laminated nonwoven fabric manufactured by a spunbond method. This includes not only laminated nonwoven fabrics produced by this process alone, but also laminated nonwoven fabrics produced by adding this process to laminated nonwoven fabrics produced by other methods, or laminated nonwoven fabrics produced by performing some process after this process. Meaning. Further, the laminated nonwoven fabric of the present invention is not limited to those composed only of air-through nonwoven fabric or spunbond nonwoven fabric, but also includes air-through nonwoven fabric, and composites of fiber sheets and film materials such as spunbond nonwoven fabric and other nonwoven fabrics.
  • a method of immersing the raw material nonwoven fabric in a solution containing the liquid film cleaving agent can be mentioned.
  • the solution include a solution obtained by diluting a liquid film cleaving agent with a solvent (hereinafter, this solution is also referred to as a liquid film cleaving agent solution).
  • this solution is also referred to as a liquid film cleaving agent solution.
  • unit or the solution containing the said liquid film cleaving agent with respect to a raw material nonwoven fabric is mentioned.
  • a phosphate ester type anionic surfactant may be mixed in the solution containing the liquid film cleaving agent.
  • the content ratio of the liquid film cleaving agent and the phosphate ester type anionic surfactant is preferably as described above.
  • the solvent there can be used any solvent that can dissolve and disperse a liquid film cleaving agent having an extremely low water solubility in a solvent in an appropriate amount so that it can be easily applied to a non-woven fabric.
  • a raw material nonwoven fabric means the thing before apply
  • those used for the nonwoven fabric manufacturing method can be employed without any particular limitation.
  • application by spraying, application by slot coater, application by gravure method, flexo method, dipping method and the like can be mentioned.
  • a coating method is more preferable.
  • the flexo coating method is particularly preferable from the viewpoint of clarifying the localization of the liquid film cleaving agent.
  • a various nonwoven fabric can be especially used without a restriction
  • the fiber entanglement point is heat-sealed or thermocompression bonded, and the non-woven fabric obtained by thermally bonding fibers by air-through treatment or heat embossing as described above It is more preferable to use
  • the liquid film cleaving agent is preferably used as a solution obtained by diluting the liquid film cleaving agent with a solvent as described above when adhering to the raw material nonwoven fabric or fiber.
  • the solution containing the liquid film cleaving agent can be prepared as a separate solution separately as a fiber treatment agent.
  • the “fiber treatment agent” described here refers to a material in which an oily liquid film cleaving agent having extremely low water solubility is easily applied to a raw material nonwoven fabric or fiber.
  • the content ratio of the liquid film cleaving agent is preferably 50% by mass or less with respect to the mass of the fiber treatment agent.
  • the fiber treatment agent can be made into the state which emulsified stably the liquid film cleaving agent used as an oily component in a solvent.
  • the content ratio of the liquid film cleaving agent is more preferably 40% by mass or less, and further preferably 30% by mass or less with respect to the mass of the fiber treatment agent.
  • the content ratio of the liquid film cleaving agent is preferably 5% by mass or more, more preferably 15% by mass or more, and further preferably 25% by mass or more with respect to the mass of the fiber treatment agent from the viewpoint of expressing a sufficient liquid film cleavage effect.
  • the fiber processing agent containing a liquid film cleaving agent may contain another agent in the range which does not inhibit the effect
  • the phosphate ester type anionic surfactant described above may be included.
  • the content ratio of the liquid film cleaving agent and the phosphate ester type anionic surfactant is preferably as described above.
  • it may contain an antistatic agent or anti-friction agent used during fiber processing, a hydrophilic agent that imparts appropriate hydrophilicity to the laminated nonwoven fabric, an emulsifier that imparts emulsion stability, and the like.
  • the laminated nonwoven fabric of the present invention is configured to include thermoplastic fibers, has a first surface 1A and a second surface 1B located on the opposite side, and at least the first surface 1A protrudes toward the first surface 1A. And a concavo-convex laminated nonwoven fabric having concavo-convex portions having a plurality of convex portions and concave portions located between the convex portions. Also in this uneven laminated nonwoven fabric, as described above, it contains a liquid film cleaving agent, and the hydrophilicity of the fiber layer on the second surface 1B side adjacent thereto is higher than the fiber layer on the first surface 1A side. .
  • the laminated nonwoven fabric 100 shown in FIG. 4 includes an upper layer (first fiber layer) 101 and a lower surface (second surface) 1B (surface sheet) on the upper surface (first surface) 1A (skin contact surface when used as a surface sheet). 2 layers of the lower layer (second fiber layer) 102 on the non-skin contact surface) side.
  • embossing is performed in the thickness direction from the upper surface 1A, and the two layers are joined (the embossed part is referred to as an embossed recess (concave joint) 130).
  • the lower layer 102 is a layer in which heat shrinkage of the heat-shrinkable fiber is expressed.
  • the upper layer 101 is a layer containing a non-heat-shrinkable fiber, and the non-heat-shrinkable fiber is partially bonded by a concave bonding portion 130.
  • Non-heat-shrinkable fibers are not limited to those that do not shrink at all, but include those that shrink to such an extent that the heat-shrinkable fibers of the lower layer 102 are not hindered.
  • the laminated nonwoven fabric 100 can be manufactured, for example, by the materials and manufacturing methods described in paragraphs [0032] to [0048] of JP-A-2002-187228.
  • this production for example, after embossing the laminated body of the upper layer 101 and the lower layer 102 from the upper layer side 101, the heat-shrinkable fibers are thermally contracted by heat treatment. At this time, the embossed portions adjacent to each other are pulled by the contraction of the fibers, and the interval between the embossed portions is reduced. Due to this deformation, the fibers of the upper layer 101 protrude from the embossed concave portion 130 toward the upper surface 1 ⁇ / b> A to form a convex portion 140.
  • the upper layer is laminated in a state where the lower layer 120 in which heat shrinkage has developed is extended, and the above-described embossing is performed. Thereafter, when the extended state of the lower layer 102 is released, the upper layer 101 side rises to the upper surface 1A side, and the convex portion 140 is formed.
  • This embossing can be performed by a commonly used method such as heat embossing or ultrasonic embossing.
  • a joining method using an adhesive may be used.
  • the upper layer 101 is squeezed and joined to the lower layer side 102 in the embossed recess (concave joint) 130.
  • the embossed recesses 130 are formed in a dotted pattern in the planar direction of the laminated nonwoven fabric 100, and the portion surrounded by the embossed recesses 130 is the above-described convex portion 140 where the upper layer 101 is raised.
  • the convex portion 140 has a three-dimensional solid shape, for example, a dome shape.
  • the convex part 140 formed by the manufacturing method as described above has a fiber in a coarser state than the lower layer 102.
  • the inside of the convex portion 140 may be filled with fibers as shown in FIG.
  • the arrangement of the embossed recesses 130 and the projections 140 may be arbitrary, and may be a grid arrangement, for example.
  • Examples of the lattice arrangement include an arrangement in which a plurality of rows of a plurality of embossed concave portions 130 are arranged, and the embossed concave portions 130 in each row are shifted by an anti-pitch between adjacent rows.
  • the embossed recess 130 when viewed in a plan view, it may be a circle, an ellipse, a triangle, a rectangle, or other polygonal shapes, and can be arbitrarily set as appropriate.
  • the embossed recess 130 may have a linear shape in addition to the dot shape.
  • the laminated nonwoven fabric 100 has a concavo-convex surface having a convex portion 140 and an embossed concave portion 130 on the upper surface 1A side, the shape recoverability when stretched in the plane direction and the compressive deformability when compressed in the thickness direction. Excellent. Moreover, it becomes a comparatively bulky laminated nonwoven fabric by the protrusion of the fibers of the upper layer 101 as described above. Thereby, the user who touched the lamination nonwoven fabric 100 can feel a soft gentle touch.
  • the skin contact surface is an uneven surface having convex portions 140 and embossed concave portions 130.
  • the side is excellent in air permeability.
  • the laminated nonwoven fabric 100 has less liquid residue due to the cooperative action of the aforementioned hydrophilicity gradient and the liquid film cleaving agent or the liquid film cleaving agent and the phosphate ester type anionic surfactant. Thereby, the liquid permeability using the uneven
  • the laminated nonwoven fabric 100 is not limited to the two-layer structure of the upper layer 101 and the lower layer 102, and may have other layers.
  • a single layer or a plurality of layers may be disposed between the upper layer 101 and the lower layer 102, and a single layer or a plurality of layers may be disposed on the upper surface 1A side and the lower surface 1B side of the laminated nonwoven fabric 100.
  • This single layer or multiple layers may be a layer having heat-shrinkable fibers or a layer having non-heat-shrinkable fibers.
  • laminated nonwoven fabrics 200, 300, 400, 500, 600, and 700 are shown below.
  • the laminated nonwoven fabric 200 of the second embodiment has a two-layer structure having a hollow portion 210 as shown in FIG. Both layers contain thermoplastic fibers.
  • the laminated nonwoven fabric 200 has a joint 220 in which a first nonwoven fabric (first fiber layer) 201 and a second nonwoven fabric (second fiber layer) 202 are partially heat-sealed.
  • the first nonwoven fabric 201 protrudes in a direction away from the second nonwoven fabric, and has a large number of convex parts 230 having a hollow part 210 therein.
  • the joint portion 220 is a concave portion located between the adjacent convex portions 230 and constitutes the concave and convex portions of the first surface 1A together with the convex portion 230.
  • This laminated nonwoven fabric 200 can be formed by a commonly used method. For example, after the first nonwoven fabric 201 is formed in a concavo-convex shape by meshing two concavo-convex rolls, the second nonwoven fabric is bonded to obtain the laminated nonwoven fabric 200.
  • the laminated nonwoven fabric 200 When the laminated nonwoven fabric 200 is used, for example, by laminating the first surface 1A on the absorbent body as a surface sheet facing the skin contact surface side, liquid permeation from the first surface 1A side to the second surface 2B side is performed. Excellent in properties. Specifically, liquid permeation through the hollow portion 210 is performed. Moreover, a wearer's body pressure is added to the convex part 230, and the liquid in the convex part 230 transfers to the 2nd nonwoven fabric 202 directly. Thereby, there is little liquid residue in the 1st surface 1A side.
  • Such an action can be continuously exerted at a higher level by the above-described hydrophilicity gradient and the cooperative action of a liquid membrane cleaving agent or a liquid membrane cleaving agent and a phosphate ester type anionic surfactant. That is, even when used for a long time or when a large amount of liquid is discharged, the liquid permeation path is secured by rupturing the liquid film, so that the liquid permeability as described above can be sufficiently exhibited.
  • the laminated nonwoven fabric 300 of the third embodiment includes a first fiber layer 301 having a shape including thermoplastic fibers and uneven on both sides, and a second surface 1B side of the first fiber layer 301. And a second fiber layer 302 joined together.
  • the two layers are integrated so that the first surface 1A (the surface opposite to the surface on which the second fiber layer 302 is disposed) has a convex portion 310 and a concave concave portion 320, and surrounds the concave portion 320.
  • a plurality of convex portions 310 are arranged.
  • the convex portions 310 and the concave portions 320 are alternately and continuously arranged in different directions intersecting in plan view of the laminated nonwoven fabric.
  • the first surface 1A is used as the skin contact surface.
  • the laminated nonwoven fabric 300 is bulky and low in weight as a whole because the fiber web is shaped, formed into a nonwoven fabric, and both layers are joined by hot air treatment in an air-through process.
  • the fiber layers 301 and 302 are joined by thermal fusion of the fibers with hot air, a gap is formed between the fibers in the joint portion between the fiber layers, and the concave portion 320 serving as the joint portion is also present.
  • the liquid passing speed is fast.
  • the fiber density of the second fiber layer 302 is the fiber density of the other parts of the first fiber layer 301 and the second fiber layer 302 on the second surface 1B side of the top of the first protrusion 310 of the first fiber layer 301.
  • the first surface 1A side that is, the first fiber layer 301 side
  • the first surface 1A side is preferably the skin contact surface side.
  • a wall 350 is provided between the top of the convex portion 310 and the bottom of the concave portion 320 to connect the two portions.
  • the wall part 350 divides the space of the recessed part 320 and has an annular structure in the planar direction in the recessed part 320.
  • the fiber which comprises the wall part 350 has fiber orientation in the direction which connects the top part of the convex part 310, and the bottom part of the recessed part 320 in any point of a cyclic structure.
  • the liquid permeation path is always ensured by the cooperative action of the above-described hydrophilicity gradient and the liquid film cleaving agent or the liquid film cleaving agent and the phosphate type anionic surfactant. This widens the range of design for fiber diameter and fiber density.
  • an air-through process that performs a multi-stage hot air treatment on a fiber web while controlling the hot air temperature and the wind speed can be employed.
  • the production methods described in paragraphs [0042] to [0064] of JP2013-124428A can be used.
  • the laminated nonwoven fabric 400 of the fourth embodiment is composed of a first fiber layer 401 and a second fiber layer 402 containing thermoplastic fibers.
  • the second fiber layer 402 has a shape in which a plurality of semi-cylindrical convex portions 410 and concave portions 420 arranged along the side edges of the convex portions 410 are alternately arranged on the first surface 1A side.
  • a concave bottom portion 430 made of a nonwoven fabric fiber is disposed below the concave portion 420.
  • the concave bottom portion 430 has a fiber density lower than that of the convex portion 410.
  • the first fiber layer 401 is a layer partially laminated on the convex portion 410.
  • the laminated nonwoven fabric 400 When the laminated nonwoven fabric 400 is incorporated into an absorbent article as a surface sheet having the first surface 1A side as the skin contact surface side, the liquid received by the convex portion 410 easily moves to the concave portion 420, and the second surface 1B in the concave portion 430. Easy to move to the side. Thereby, there is little liquid residue and stickiness of skin is suppressed. Also in the laminated nonwoven fabric 400, the liquid permeation path is always secured by the above-described hydrophilicity gradient and the cooperative action of the liquid film cleaving agent or the liquid film cleaving agent and the phosphate ester type anionic surfactant. This widens the range of design for fiber diameter and fiber density.
  • Such a laminated non-woven fabric 400 can be formed by spraying a fluid such as hot air on the portion of the fiber web that forms the recess 420 and moving the fiber.
  • the nonwoven fabric sheet 30 may be bonded to a flat fiber layer to form a laminated nonwoven fabric, or may be a laminated nonwoven fabric laminated on an uneven fiber layer and integrated along the unevenness.
  • the nonwoven fabric sheet 30 has a concavo-convex structure in which streaky ridges 31 and ridges 32 extending in one direction (Y direction) are alternately arranged. Moreover, in the thickness direction of this nonwoven fabric sheet 30, the said concavo-convex structure can be divided into three equal parts of a top region 30A, a bottom region 30B, and a side region 30C located therebetween.
  • the nonwoven fabric sheet 30 has a plurality of heat fusion portions 35 at the intersections of the constituent fibers 34. Focusing on one constituent fiber 34, as shown in FIG. 9, the constituent fiber 34 is a large-diameter portion sandwiched between two small-diameter portions 36 having a small fiber diameter between adjacent fused portions 35. 37.
  • the changing point 38 from the small diameter portion 36 to the large diameter portion 37 is within a range of 1/3 of the interval T between the adjacent fusion portions 35 and 35 close to the fusion portion 35. It is preferably in the range (T1 and T3 in FIG. 9). Note that there may be a plurality of combinations of the small diameter portion 36 and the large diameter portion 37 sandwiched between the small diameter portion 36 and the interval T.
  • the configuration of the small-diameter portion 36 and the large-diameter portion 37 in such a constituent fiber is formed by drawing the fiber during the blade groove extending process for forming the convex strip portion 31 and the concave strip portion 32.
  • the fiber used at that time is preferably a fiber having a high degree of stretching.
  • the fiber obtained through the treatment step described in paragraph [0033] of JP-A-2010-168715 is changed by heating to change the crystalline state of the resin. Examples thereof include a heat-extensible fiber that extends.
  • the hydrophilicity of the small diameter portion is smaller than the hydrophilicity of the large diameter portion from the viewpoint of liquid permeability.
  • This difference in hydrophilicity can be formed by adding a stretchable component (hydrophobic component) to the fiber treatment agent attached to the fiber.
  • a stretchable component and a hydrophilic component are contained.
  • a stretchable component spreads in the stretched small-diameter portion 35 and a difference in hydrophilicity occurs between the large-diameter portion.
  • the hydrophilic component that hardly spreads remains, and the hydrophilicity becomes higher than that in the small-diameter portion.
  • the stretchable component examples include a silicone resin having a low glass transition point and a flexible molecular chain, and a polyorganosiloxane having a Si—O—Si chain as the main chain is preferably used as the silicone resin. It is done.
  • the nonwoven fabric sheet 30 preferably has a fiber density in the side wall region 30C lower than that in the top region 30A and the bottom region 30B, from the viewpoint of liquid permeability. Even in the laminated nonwoven fabric using the nonwoven fabric sheet 30, the liquid permeation path is always secured by the above-mentioned hydrophilicity gradient and the cooperative action of the liquid film cleaving agent or the liquid film cleaving agent and the phosphate type anionic surfactant. Is done. This widens the range of design for fiber diameter and fiber density.
  • the laminated nonwoven fabric 600 of the sixth embodiment has an uneven shape including heat-extensible fibers.
  • the 1st surface 1A side is uneven
  • the second surface 1B side is flat or has a very small degree of unevenness than the first surface 1A side.
  • the concave-convex shape on the first surface 1A side includes a plurality of convex portions 61 and a linear concave portion 620 surrounding the convex portions 61.
  • the recess 620 has a pressure-bonded portion where the constituent fibers of the laminated nonwoven fabric 600 are pressure-bonded or bonded, and the heat-extensible fiber is in a non-stretched state.
  • the convex portion 620 is a portion where the thermally stretchable fiber is thermally expanded and raised on the first surface 1A side. Therefore, the convex part 620 is a part where the fiber density is sparser and bulkier than the concave part 620. Moreover, the linear recessed part 620 is arrange
  • the convex part 610 which touches skin becomes bulky by the heat
  • the laminated nonwoven fabric 600 may have a single-layer structure or a multi-layer structure of two or more layers.
  • the layer on the second surface 1B side may not contain heat-extensible fibers or may have a lower content of heat-extensible fibers than the layer on the first surface 1A side having an uneven shape.
  • a liquid permeation path is always ensured by the action of the liquid film cleaving agent described above, or the liquid film cleaving agent and the phosphate ester type anionic surfactant. This widens the range of design for fiber diameter and fiber density.
  • Such a laminated nonwoven fabric 600 can be manufactured by the following method. First, a linear recess 620 is formed on the fiber web by heat embossing. At this time, in the recess 620, the heat-extensible fibers are fixed without being heat-heat-stretched by pressure bonding or fusion.
  • the constituent fibers of the laminated nonwoven fabric 600 may be a mixed cotton of the above-described heat-extensible fibers and non-heat-extensible heat-fusible fibers. Examples of these constituent fibers include those described in paragraphs [0013] and [0037] to [0040] of JP-A-2005-350836, and paragraphs [0012] and [0024] of JP-A-2011-127258. To [0046] can be used.
  • the laminated nonwoven fabric 700 of the seventh embodiment is a laminated nonwoven fabric composed of an upper layer 710 and a lower layer 720 containing thermoplastic fibers, as shown in FIG.
  • the upper layer 710 convex portions 730 and concave portions 740 are alternately arranged, and the concave portions 740 are open.
  • the fiber density of the concave portion 740 is set lower than the fiber density of the convex portion 730.
  • the region where the convex portion 730 and the concave portion 740 are alternately and repeatedly arranged may be in a part of the upper layer 710 or in the whole.
  • the region is a liquid receiving region (excretion portion) when the laminated nonwoven fabric 700 is used as the top sheet of the absorbent article. It is preferable to be in a portion that becomes a corresponding region).
  • the lower layer 720 has a substantially uniform fiber density. The lower layer 720 is laminated at least corresponding to a region where the convex portions 730 and the concave portions 740 of the upper layer 710 are alternately and repeatedly arranged.
  • the laminated nonwoven fabric 700 since the laminated nonwoven fabric 700 has the high fiber density of the convex part 730, it has a bulky cushioning property, and when it uses as a surface sheet of an absorbent article, it will become difficult to produce liquid return.
  • the nonwoven fabric 700 since the nonwoven fabric 700 has a low fiber density in the concave portion 740 and is in an open state, the nonwoven fabric 700 is excellent in liquid permeability, in particular, permeability to a highly viscous liquid. Also in the laminated nonwoven fabric 700, the liquid permeation path is always ensured by the action of the liquid film cleaving agent described above, or the liquid film cleaving agent and the phosphate ester type anionic surfactant. This widens the range of design for fiber diameter and fiber density.
  • Such a laminated nonwoven fabric 700 can be produced, for example, by the method described in JP-A-4-24263, page 6, lower left column, line 12 to page 8, upper right column, line 19.
  • the laminated nonwoven fabric of the present invention can be applied to various fields by taking advantage of its soft touch and reduction of liquid residue.
  • a top sheet, a second sheet (a sheet disposed between the top sheet and the absorbent body) in an absorbent article used to absorb liquid discharged from the body such as sanitary napkins, panty liners, disposable diapers, and incontinence pads ,
  • a back sheet, a leak-proof sheet, or a personal wipe sheet, a skin care sheet, and an objective wiper When using the laminated nonwoven fabric of this invention as a surface sheet or a second sheet of an absorbent article, it is preferable to use the 1st layer side of this laminated nonwoven fabric as a skin opposing surface side.
  • the basis weight of the web used for the production of the laminated nonwoven fabric of the present invention is selected in an appropriate range depending on the specific use of the intended laminated nonwoven fabric.
  • the basis weight of the finally obtained laminated nonwoven fabric is preferably 10 g / m 2 or more and 80 g / m 2 or less, particularly preferably 15 g / m 2 or more and 60 g / m 2 or less.
  • An absorbent article used for absorbing liquid discharged from the body typically includes a top sheet, a back sheet, and a liquid-retaining absorbent disposed between both sheets.
  • a top sheet materials usually used in the technical field can be used without particular limitation.
  • a fiber assembly made of a fiber material such as pulp fiber or a fiber assembly in which an absorbent polymer is held can be coated with a covering sheet such as tissue paper or nonwoven fabric.
  • a liquid-impermeable or water-repellent sheet such as a thermoplastic resin film or a laminate of the film and a nonwoven fabric can be used.
  • the back sheet may have water vapor permeability.
  • the absorbent article may further include various members according to specific uses of the absorbent article. Such members are known to those skilled in the art. For example, when applying an absorbent article to a disposable diaper or a sanitary napkin, a pair or two or more pairs of three-dimensional guards can be disposed on the left and right sides of the topsheet.
  • the present invention further discloses the following laminated nonwoven fabric, surface sheet for absorbent articles, and absorbent articles with respect to the embodiment described above.
  • the water solubility of the liquid film cleaving agent is preferably 0.0025 g or less, more preferably 0.0017 g or less, still more preferably less than 0.0001 g, and preferably 1.0 ⁇ 10 ⁇ 9 g or more, The laminated nonwoven fabric according to 1> or ⁇ 2>.
  • ⁇ 4> The laminated nonwoven fabric according to any one of ⁇ 1> to ⁇ 3>, wherein the liquid film cleaving agent has an expansion coefficient of 16 mN / m or more for a liquid having a surface tension of 50 mN / m.
  • the expansion coefficient of the liquid film cleaving agent or the compound is more preferably 20 mN / m or more, further preferably 25 mN / m or more, and particularly preferably 30 mN / m or more, any one of the above items ⁇ 1> to ⁇ 5>
  • the interfacial tension of the liquid film cleaving agent or the compound with respect to a liquid having a surface tension of 50 mN / m is preferably 20 mN / m or less, more preferably 17 mN / m or less, still more preferably 13 mN / m or less, and 10 mN / m or less.
  • liquid film cleaving agent or the compound is composed of a compound having at least one structure selected from the group consisting of the following structures X, XY, and YXY.
  • Structure X is> C (A)- ⁇ C represents a carbon atom. ⁇ ,>, And-indicate a bond. The same applies hereinafter.
  • a hydrogen atom or —C (A) 3 , —C (A) 2 B, —C (A) (B) 2, —C (A) 2 —C (R 1 ) 3 , -C (R 1 ) 2 A, -C (R 1 ) 3 , -OSi (R 1 ) 3 , -OSi (R 1 ) 2 (R 2 ), -Si (R 1 ) 3 , -Si (R 1 ) 2 It has at least one group selected from the group consisting of (R 2 ).
  • Each of R 1 and R 2 independently represents a hydrogen atom, an alkyl group, an alkoxy group, an aryl group, or a halogen atom.
  • a and B each independently represent a substituent containing an oxygen atom or a nitrogen atom.
  • R 1 , R 2 , A, and B in the structure X may be the same as or different from each other.
  • Y represents a hydrophilic group having hydrophilicity including an atom selected from a hydrogen atom, a carbon atom, an oxygen atom, a nitrogen atom, a phosphorus atom, and a sulfur atom.
  • Y is plural, they may be the same or different.
  • R 23 and R 24 represent the following monovalent or polyvalent (divalent or higher) group or a single bond.
  • M 1 is a polyoxyethylene group, a polyoxypropylene group, a polyoxybutylene group, or a group having a polyoxyalkylene group in combination thereof, an erythritol group, a xylitol group, a sorbitol group, a glycerin group or an ethylene glycol group, a hydroxyl group, Carboxylic acid group, mercapto group, alkoxy group, amino group, amide group, imino group, phenol group, sulfonic acid group, quaternary ammonium group, sulfobetaine group, hydroxysulfobetaine group, phosphobetaine group, imidazolium betaine group, carbo A betaine group, an epoxy group, a carbinol group, a (meth) acryl group, or a functional group combining them is shown.
  • M 1 When M 1 is a polyvalent group, M 1 represents a group obtained by removing one or more hydrogen atoms from each of the above groups or functional groups.
  • L 1 is an ether group, an amino group (an amino group that can be taken as L 1 is represented by> NR C (R C is a hydrogen atom or a monovalent group)), an amide group, an ester group, a carbonyl group, The bonding group of a carbonate group is shown.
  • R 21 , R 22 , R 23 , and R 24 each independently represent an alkyl group, an alkoxy group, an aryl group, a fluoroalkyl group, an aralkyl group, or a hydrocarbon group that combines them, or a halogen atom.
  • liquid film cleaving agent or the compound is preferably made of a modified silicone having a structure having at least one oxygen atom in the modified group, more preferably a polyoxyalkylene-modified silicone.
  • ⁇ 12> The laminated nonwoven fabric according to ⁇ 11>, wherein the polyoxyalkylene-modified silicone is represented by any of the following formulas [I] to [IV].
  • R 31 represents an alkyl group
  • R 32 represents a single bond or an alkylene group.
  • the plurality of R 31 and the plurality of R 32 may be the same as or different from each other.
  • M 11 represents a group having a polyoxyalkylene group.
  • the polyoxyalkylene group include a polyoxyethylene group, a polyoxypropylene group, a polyoxybutylene group, or a copolymer of these constituent monomers.
  • m and n are each independently an integer of 1 or more.
  • a laminated nonwoven fabric comprising a polyoxyalkylene-modified silicone having a structure represented by any of the following formulas [I] to [IV] and having a water solubility of from 0 g to 0.025 g.
  • R 31 represents an alkyl group
  • R 32 represents a single bond or an alkylene group.
  • the plurality of R 31 and the plurality of R 32 may be the same as or different from each other.
  • M 11 represents a group having a polyoxyalkylene group.
  • the polyoxyalkylene group include a polyoxyethylene group, a polyoxypropylene group, a polyoxybutylene group, or a copolymer of these constituent monomers.
  • m and n are each independently an integer of 1 or more. ⁇ 14> ⁇ 11, wherein the polyoxyalkylene-modified silicone is any of polyoxyethylene (POE) polyoxypropylene (POP) -modified silicone, polyoxyethylene (POE) -modified silicone, and polyoxypropylene (POP) -modified silicone.
  • the added mole number of the polyoxyalkylene group of the polyoxyalkylene-modified silicone is preferably 1 or more, more preferably 3 or more, still more preferably 5 or more, and the added mole number is preferably 30 or less, more preferably 20 or less,
  • the liquid film cleaving agent has a liquid film cleaving agent having an expansion coefficient larger than 0 mN / m for a liquid having a surface tension of 50 mN / m and an interfacial tension of 20 mN / m or less for a liquid having a surface tension of 50 mN / m.
  • the laminated nonwoven fabric according to any one of ⁇ 1> to ⁇ 3>.
  • the interfacial tension of the liquid film cleaving agent or the compound with respect to a liquid having a surface tension of 50 mN / m is preferably 17 mN / m or less, more preferably 13 mN / m or less, still more preferably 10 mN / m or less, and 9 mN / m or less. Is particularly preferable, 1 mN / m or less is particularly preferable, and the laminated nonwoven fabric according to ⁇ 16> or ⁇ 17>, which is greater than 0 mN / m.
  • the expansion coefficient of the liquid film cleaving agent or the compound with respect to a liquid having a surface tension of 50 mN / m is preferably 9 mN / m or more, more preferably 10 mN / m or more, still more preferably 16 mN / m or more, and 50 mN / m or less.
  • the structure Z includes:> C (A)- ⁇ C: carbon atom>, -C (A) 2- , -C (A) (B)-,> C (A) -C (R 3 ) ⁇ ,> C Any basic structure of (R 3 ) —, —C (R 3 ) (R 4 ) —, —C (R 3 ) 2 —,> C ⁇ is repeated, or two or more are combined Represents a hydrocarbon chain of structure.
  • R 3 and R 4 each independently represent a hydrogen atom, an alkyl group, an alkoxy group, an aryl group, a fluoroalkyl group, an aralkyl group, a hydrocarbon group obtained by combining them, or a fluorine atom.
  • a and B each independently represent a substituent containing an oxygen atom or a nitrogen atom.
  • Y represents a hydrophilic group having hydrophilicity including an atom selected from a hydrogen atom, a carbon atom, an oxygen atom, a nitrogen atom, a phosphorus atom, and a sulfur atom.
  • Y is plural, they may be the same or different.
  • Y is a hydroxyl group, a carboxylic acid group, an amino group, an amide group, an imino group or a phenol group; or a polyoxyalkylene group; or an erythritol group, a xylitol group, a sorbitol group, a glycerin group or an ethylene glycol group.
  • ⁇ 22> The laminated nonwoven fabric according to any one of ⁇ 16> to ⁇ 21>, wherein the liquid film cleaving agent or the compound is made of polyoxyalkylene alkyl ether or a hydrocarbon compound having 5 or more carbon atoms.
  • the liquid film cleaving agent or the compound is a polyoxyalkylene alkyl (POA) ether represented by any one of the following general formula [V] or a polyoxy having a molecular weight of 1000 or more represented by the following general formula [VI].
  • POA polyoxyalkylene alkyl
  • L 21 represents an ether group, an amino group, an amide group, an ester group, a carbonyl group, a carbonate group, a polyoxyethylene group, a polyoxypropylene group, a polyoxybutylene group, or a polyoxyalkylene group obtained by combining them. Show.
  • R 51 represents a hydrogen atom, methyl group, ethyl group, propyl group, isopropyl group, butyl group, pentyl group, hexyl group, heptyl group, 2-ethylhexyl group, nonyl group, decyl group, methoxy group, ethoxy group, phenyl group , A fluoroalkyl group, an aralkyl group, a hydrocarbon group combining them, or a substituent composed of a fluorine atom.
  • A, b, m and n are each independently an integer of 1 or more.
  • the number of carbon atoms and the number of hydrogen atoms are determined independently in each of the formulas (V) and (VI), and do not necessarily indicate the same integer and may be different.
  • “m” in — (C a H b O) m — is an integer of 1 or more.
  • the value of this repeating unit is determined independently in each of the formulas (V) and (VI), and does not necessarily indicate the same integer, and may be different.
  • the liquid film cleaving agent or the compound comprises a compound having a polyoxyalkylene group, and the number of moles of the polyoxyalkylene group is from 1 to 70, more preferably 5 or more, still more preferably 7 or more, and 70 or less.
  • the liquid film cleaving agent or the compound has an expansion coefficient of 9 mN / m or more for a liquid having a surface tension of 50 mN / m, a water solubility of 0 g or more and 0.025 g or less, and an interface for a liquid having a surface tension of 50 mN / m or less.
  • the laminated nonwoven fabric according to any one of ⁇ 16> to ⁇ 27>, wherein the tension is 9 mN / m or less and the surface tension is 32 mN / m or less.
  • the content ratio of the liquid film cleaving agent to the phosphate ester type anionic surfactant is preferably 1: 1 to 19: 1, more preferably 2: 1 to 15: 1, and more preferably 3: 1 to 3: 1.
  • phosphate ester type anionic surfactant is any one of an alkyl ether phosphate, a dialkyl phosphate, and an alkyl phosphate.
  • the phosphate ester type anionic surfactant is an alkyl phosphate ester, and the alkyl phosphate ester has a saturated carbon chain of stearyl phosphate ester, myristyl phosphate ester, lauryl phosphate ester, or palmityl phosphate ester.
  • the laminate according to any one of the above items ⁇ 29> to ⁇ 31> which is any one of those having an unsaturated carbon chain of oleyl phosphate ester or palmitoleyl phosphate ester and a side chain in these carbon chains Non-woven fabric.
  • the surface tension of the liquid film cleaving agent is preferably 32 mN / m or less, more preferably 30 mN / m or less, further preferably 25 mN / m or less, particularly preferably 22 mN / m or less, and preferably 1 mN / m or more, ⁇
  • the liquid film cleaving agent has a mass average molecular weight of 500 or more, more preferably 1000 or more, further preferably 1500 or more, particularly preferably 2000 or more, preferably 50000 or less, more preferably 20000 or less, still more preferably 10,000 or less.
  • the melting point of the liquid film cleaving agent is preferably 40 ° C. or less, more preferably 35 ° C. or less, and the melting point is preferably ⁇ 220 ° C. or more, more preferably ⁇ 180 ° C. or more.
  • the difference in contact angle between the fibers of each layer is preferably 5 degrees or more, more preferably 10 degrees or more, further preferably 15 degrees or more, and preferably 90 degrees or less, ⁇ 1> to The laminated nonwoven fabric according to any one of ⁇ 35>.
  • the fiber contact angle of one fiber layer is preferably 75 ° or more, more preferably 80 ° or more, still more preferably 85 ° or more, and preferably 100 ° or less, 95 °
  • the contact angle of the fibers of the other fiber layer is preferably 20 degrees or more, more preferably 25 degrees or more, further preferably 30 degrees or more, preferably less than 75 degrees, and 70 degrees or less.
  • the laminated nonwoven fabric according to any one of ⁇ 1> to ⁇ 38>, wherein the distance between the fibers of the laminated nonwoven fabric is preferably 150 ⁇ m or less, more preferably 90 ⁇ m or less, preferably 50 ⁇ m or more, and more preferably 70 ⁇ m or more.
  • the fineness of the fibers of the laminated nonwoven fabric is preferably 3.3 dtex or less, more preferably 2.4 dtex or less, preferably 0.5 dtex or more, more preferably 1.0 dtex or more, any one of the above items ⁇ 1> to ⁇ 39>
  • ⁇ 41> The laminated nonwoven fabric according to any one of the above ⁇ 1> to ⁇ 40>, comprising a thermoplastic fiber, having a first surface and a second surface located on the opposite side, at least The laminated nonwoven fabric which has the unevenness
  • a top sheet for absorbent articles wherein the laminated nonwoven fabric according to any one of the above items ⁇ 1> to ⁇ 41> is used with a surface having a higher hydrophilicity as a non-skin contact surface side.
  • the surface sheet for absorbent articles according to ⁇ 42> wherein the surface sheet has at least two layers,
  • the topsheet has a plurality of concave joints that squeeze in the thickness direction from the skin contact surface side to join the layers,
  • the layer on the non-skin contact surface side of the topsheet is a layer formed by heat shrinking heat-shrinkable fibers,
  • the layer on the skin contact surface side of the surface sheet has non-heat-shrinkable fibers partially bonded at the bonding portion, and protrudes toward the skin contact surface side in a region between the concave bonding portions.
  • the surface sheet for absorbent articles which has a part and makes the uneven surface of a laminated nonwoven fabric.
  • ⁇ 44> It is a top sheet for absorbent articles as described in ⁇ 42> above, and has a two-layer structure comprising a first nonwoven fabric on the skin contact surface side and a second nonwoven fabric on the non-skin contact surface side, which has a hollow portion. Yes, both layers contain thermoplastic fibers, The first nonwoven fabric and the second nonwoven fabric have a joint part that is partially heat-sealed, and in the non-joint part surrounded by the joint part, the first nonwoven fabric projects in a direction away from the second nonwoven fabric.
  • a large number of convex portions having the hollow portion are formed inside, and the joint portion is a concave portion located between adjacent convex portions, and constitutes concave and convex portions on the skin contact surface side together with the convex portion.
  • a surface sheet for absorbent articles is formed inside, and the joint portion is a concave portion located between adjacent convex portions, and constitutes concave and convex portions on the skin contact surface side together with the convex portion.
  • the top sheet for absorbent articles according to the above ⁇ 42> comprising a first fiber layer having a shape including thermoplastic fibers and uneven on both sides, and a surface on the non-skin contact surface side of the first fiber layer A second fiber layer bonded along the surface, and having a convex portion projecting on the skin contact surface side opposite to the surface on which the second fiber layer is disposed, and a depressed concave portion, A plurality of convex portions are arranged so as to surround, and the convex portions and the concave portions are alternately and continuously arranged in different directions intersecting in plan view of the topsheet. Surface sheet.
  • the surface sheet for absorbent articles according to the above ⁇ 42> comprising a first fiber layer and a second fiber layer containing thermoplastic fibers, wherein the second fiber layer is on the skin contact surface side, A semi-cylindrical convex portion and a plurality of concave portions arranged along the side edges of the convex portion are alternately arranged, and a concave bottom portion made of nonwoven fabric fibers is arranged below the concave portion.
  • the top sheet of the absorbent article has a fiber density lower than that of the convex portion, and the first fiber layer is a layer partially laminated in the shape of the convex portion.
  • ⁇ 47> One of the two layers of the topsheet has a concavo-convex structure in which streaky ridges and ridges extending in one direction are alternately arranged, and the one layer is composed of constituent fibers. When there is a plurality of heat fusion portions at the intersection and attention is paid to one of the constituent fibers, the constituent fibers are sandwiched between two small diameter portions having a small fiber diameter between the adjacent fusion portions.
  • the top sheet for absorbent articles according to any one of the above ⁇ 42> to ⁇ 46> which has a large diameter portion.
  • ⁇ 49> The absorbent article according to ⁇ 48>, wherein the absorbent article is a sanitary napkin.
  • Example 1 The concavo-convex laminated nonwoven fabric shown in FIG. 4 was produced by the method described above.
  • the obtained laminated nonwoven fabric was used as the sample of Example 1.
  • Non-heat-shrinkable heat-fusible fibers having a fineness of 1.2 dtex were used for the upper layer (first fiber layer), and heat-shrinkable fibers having a fineness of 2.3 dtex were used for the lower layer (second fiber layer).
  • the distance between the fibers in the upper layer was 80 ⁇ m
  • the distance between the fibers in the lower layer was 60 ⁇ m.
  • the basic weight of the said laminated nonwoven fabric was 74 g / m ⁇ 2 >.
  • a compound that is a liquid film cleaving agent polypropylene glycol (anti-foaming agent No. 1 manufactured by Kao Corporation), X in structure X is composed of POP chains, and a polyoxypropylene group Those having a number of moles of 52 and a weight average molecular weight of 3000 were deposited.
  • the attachment was carried out in the state of a diluted solution in which the liquid film cleaving agent was dissolved in solute ethanol.
  • the content ratio (OPU) of the liquid film cleaving agent to the fiber mass was set to 0.4 mass%.
  • the expansion coefficient of the polypropylene glycol for a liquid having a surface tension of 50 mN / m was 16.3 mN / m, and the interfacial tension for a liquid having a surface tension of 50 mN / m was 1.0 mN / m.
  • the polypropylene glycol had a surface tension of 32.7 mN / m and a water solubility of less than 0.0001 g.
  • a liquid having a surface tension of 50 mN / m is obtained by adding polyoxyethylene sorbitan monolaurate, which is a nonionic surfactant, to 100 g of deionized water (trade name: Leool Super TW-L120, manufactured by Kao Corporation).
  • deionized water trade name: Leool Super TW-L120, manufactured by Kao Corporation.
  • ACURA825, manufactured by Socorex Isba SA was used.
  • the water solubility was measured by adding an agent every 0.0001 g.
  • the contact angle of the upper layer fiber was 67 degrees as measured by the contact angle measurement method described above.
  • the contact angle of the lower layer fiber was 64 degrees as measured in the same manner. Therefore, the difference in contact angle between the upper layer and the lower layer was 3 degrees.
  • Example 2 A laminated nonwoven fabric of Example 2 was produced in the same manner as in Example 1 except that the liquid film cleaving agent used in Example 1 was attached to the upper layer fibers instead of the lower layer.
  • the obtained laminated nonwoven fabric was used as the sample of Example 2. Therefore, in the upper layer, the content ratio (OPU) of the liquid film cleaving agent to the fiber mass was set to 0.4 mass%.
  • the liquid film cleaving agent was not attached to the lower fiber.
  • the contact angle of the upper layer fiber was 64 degrees as measured by the same method as in Example 1.
  • the contact angle of the lower layer fiber was 59 degrees as measured in the same manner. Therefore, the difference in contact angle between the upper layer and the lower layer was 5 degrees.
  • Example 3 As a liquid film cleaving agent, a polyoxyethylene (POE) modified dimethyl silicone (KF-6015 manufactured by Shin-Etsu Chemical Co., Ltd.), and a dimethyl silicone chain in which X in the structure XY is —Si (CH 3 ) 2 O—, Y is composed of a POE chain composed of — (C 2 H 4 O) —, the terminal group of the POE chain is a methyl group (CH 3 ), the modification rate is 20%, the polyoxyethylene addition mole number is 3, and the mass average
  • a laminated nonwoven fabric was produced in the same manner as in Example 2 except that a molecular weight of 4000 was used. The obtained laminated nonwoven fabric was used as a sample of Example 3.
  • the content ratio (OPU) of the liquid film cleaving agent to the fiber mass was set to 0.4 mass%.
  • the liquid film cleaving agent was not attached to the lower fiber.
  • the polyoxyethylene (POE) modified dimethyl silicone has an expansion coefficient of 28.8 mN / m for a liquid with a surface tension of 50 mN / m, and an interfacial tension for a liquid with a surface tension of 50 mN / m is 0.2 mN / m. Met.
  • the polyoxyethylene (POE) -modified dimethyl silicone had a surface tension of 21.0 mN / m and a water solubility of less than 0.0001 g.
  • the contact angle of the upper layer fiber was 100 degrees as measured by the same method as in Example 1.
  • the contact angle of the lower layer fiber was 59 degrees as measured in the same manner. Therefore, the difference in contact angle between the upper layer and the lower layer was 41 degrees.
  • Example 4 As a liquid film cleaving agent, tricaprylic acid / capric acid glyceride (Coconard MT manufactured by Kao Corporation), and Z in the structure ZY is * —O—CH (CH 2 O— *) 2 (* represents a bonding part).
  • Y is composed of a hydrocarbon chain of C 8 H 15 O— or C 10 H 19 O—, the fatty acid composition is composed of 82% caprylic acid and 18% capric acid, and has a mass average molecular weight of
  • a laminated nonwoven fabric was produced in the same manner as in Example 2 except that 550 was used. The obtained laminated nonwoven fabric was used as a sample of Example 4.
  • the content ratio (OPU) of the liquid film cleaving agent to the fiber mass was set to 0.4 mass%.
  • the liquid film cleaving agent was not attached to the lower fiber.
  • the above-mentioned tricaprylic acid / capric glyceride (Coconard MT manufactured by Kao Corporation) has an expansion coefficient of 8.8 mN / m for a liquid with a surface tension of 50 mN / m, and an interfacial tension for a liquid with a surface tension of 50 mN / m is 12. It was 3 mN / m.
  • the surface tension of the tricaprylic acid / capric acid glyceride (Coconard MT manufactured by Kao Corporation) was 28.9 mN / m, and the water solubility was less than 0.0001 g.
  • the contact angle of the upper layer fiber was 94 degrees as measured by the same method as in Example 1.
  • the contact angle of the lower layer fiber was 59 degrees as measured in the same manner. Therefore, the difference in contact angle between the upper layer and the lower layer was 35 degrees.
  • Example 5 As a liquid film cleaving agent, POP alkyl ether (anti-foaming agent No. 8 manufactured by Kao Corporation), where Z in structure ZY is a hydrocarbon chain composed of —CH 2 —, Y is — (C 3 H 6 O)
  • a laminated nonwoven fabric was produced in the same manner as in Example 2, except that a POP chain consisting of-and having a polyoxypropylene addition mole number of 5 and a mass average molecular weight of 500 was used.
  • the obtained laminated nonwoven fabric was used as a sample of Example 4. Therefore, in the upper layer, the content ratio (OPU) of the liquid film cleaving agent to the fiber mass was set to 0.4 mass%.
  • the liquid film cleaving agent was not attached to the lower fiber.
  • the expansion coefficient of the POP alkyl ether (anti-foaming agent No. 8 manufactured by Kao Corporation) for a liquid with a surface tension of 50 mN / m is 13.7 mN / m
  • the interfacial tension for a liquid with a surface tension of 50 mN / m is It was 5.9 mN / m.
  • the surface tension of the POP alkyl ether (antifoam No. 8 manufactured by Kao Corporation) was 30.4 mN / m, and the water solubility was less than 0.0001 g.
  • the contact angle of the upper layer fiber was 62 degrees as measured by the same method as in Example 1.
  • the contact angle of the lower layer fiber was 59 degrees as measured in the same manner. Therefore, the difference in contact angle between the upper layer and the lower layer was 3 degrees.
  • Example 6 As a liquid film cleaving agent, polyoxypropylene (POP) -modified dimethyl silicone (obtained by hydroxylating a silicone oil and a hydrocarbon compound), wherein X in structure XY is —Si (CH 3 ) 2 O— A dimethylsilicone chain, wherein Y is a POP chain consisting of — (C 3 H 6 O) —, the end group of the POP chain is a methyl group (CH 3 ), the number of added polyoxypropylenes is 3, and the weight average molecular weight A laminated nonwoven fabric was produced in the same manner as in Example 2 except that 4150 was used. The obtained laminated nonwoven fabric was used as a sample of Example 6.
  • POP polyoxypropylene
  • the content ratio (OPU) of the liquid film cleaving agent to the fiber mass was set to 0.4 mass%.
  • the liquid film cleaving agent was not attached to the lower fiber.
  • the polyoxypropylene (POP) modified dimethyl silicone has an expansion coefficient of 25.4 mN / m for a liquid having a surface tension of 50 mN / m, and an interfacial tension for a liquid having a surface tension of 50 mN / m is 3.6 mN / m. Met.
  • the polyoxypropylene (POP) -modified dimethyl silicone had a surface tension of 21.0 mN / m and a water solubility of less than 0.0001 g.
  • the contact angle of the upper layer fiber was 96 degrees as measured by the same method as in Example 1.
  • the contact angle of the lower layer fiber was 59 degrees as measured in the same manner. Therefore, the difference in contact angle between the upper layer and the lower layer was 37 degrees.
  • Example 7 As a liquid film cleaving agent, polyoxypropylene (POP) -modified dimethyl silicone (obtained by hydroxylating a silicone oil and a hydrocarbon compound), wherein X in structure XY is —Si (CH 3 ) 2 O— A dimethyl silicone chain consisting of a POP chain consisting of Y (-(C 3 H 6 O)-), the terminal group of the POP chain is a methyl group (CH 3 ), the number of added polyoxypropylenes is 10, and the weight average molecular weight A laminated nonwoven fabric was produced in the same manner as in Example 2 except that 4340 was used. The obtained laminated nonwoven fabric was used as the sample of Example 7.
  • POP polyoxypropylene
  • the content ratio (OPU) of the liquid film cleaving agent to the fiber mass was set to 0.4 mass%.
  • the liquid film cleaving agent was not attached to the lower fiber.
  • the polyoxypropylene (POP) modified dimethyl silicone has an expansion coefficient of 26.9 mN / m for a liquid having a surface tension of 50 mN / m, and an interfacial tension for a liquid having a surface tension of 50 mN / m is 1.6 mN / m. Met.
  • the polyoxypropylene (POP) -modified dimethyl silicone had a surface tension of 21.5 mN / m and a water solubility of 0.0002 g.
  • the contact angle of the upper layer fiber was 74 degrees as measured by the same method as in Example 1.
  • the contact angle of the lower layer fiber was 59 degrees as measured in the same manner. Therefore, the difference in contact angle between the upper layer and the lower layer was 15 degrees.
  • Example 8 The polyoxyethylene (POE) -modified dimethyl silicone used in Example 3 (KF-6015 manufactured by Shin-Etsu Chemical Co., Ltd.) as a liquid film forming agent with respect to the upper-layer fibers, the content ratio (OPU) to the fiber mass It was made to adhere at 0.4 mass%. Moreover, with respect to the fibers in the lower layer, the polypropylene glycol (antifoam No. 1 manufactured by Kao Corporation) used in Example 1 as a liquid film forming agent, the content ratio (OPU) 0.4 mass with respect to the fiber mass. %.
  • a laminated nonwoven fabric was produced in the same manner as in Example 1 except for the above. The obtained laminated nonwoven fabric was used as the sample of Example 8.
  • the contact angle of the upper layer fiber was 100 degrees as measured by the same method as in Example 1.
  • the contact angle of the lower layer fiber was 64 degrees as measured in the same manner. Therefore, the difference in contact angle between the upper layer and the lower layer was 36 degrees.
  • Comparative Example 1 A laminated nonwoven fabric was produced in the same manner as in Example 1 except that the upper and lower fibers were not attached with a liquid surface cleaving agent. The obtained laminated nonwoven fabric was used as a sample of Comparative Example 1. The contact angle of the upper layer fiber was 67 degrees as measured by the same method as in Example 1. On the other hand, the contact angle of the lower layer fiber was 59 degrees as measured in the same manner. Therefore, the difference in contact angle between the upper layer and the lower layer was 8 degrees.
  • Comparative Example 2 A laminated nonwoven fabric was prepared in the same manner as in Comparative Example 1 except that hydroxysulfobetaine (Amphitol 20HD manufactured by Kao Corporation), which is a strongly hydrophilic amphoteric surfactant, was used to make the lower layer fibers hydrophilic.
  • the obtained laminated nonwoven fabric was used as a sample of Comparative Example 2.
  • Hydroxysulfobetaine is a water-soluble amphoteric surfactant, has no interface with the liquid film, and has no expansibility, so there is no liquid film cleavage effect.
  • the contact angle of the upper layer fiber was 67 degrees as measured by the same method as in Example 1.
  • the contact angle of the lower layer fiber was 44 degrees as measured in the same manner. Therefore, the difference in contact angle between the upper layer and the lower layer was 23 degrees.
  • Comparative Example 3 Comparative Example, except that dimethyl silicone oil (KF-96A-100cs, manufactured by Shin-Etsu Chemical Co., Ltd.) as a surfactant was attached to the upper layer fiber at a content ratio (OPU) of 0.4% by mass with respect to the fiber mass.
  • a nonwoven fabric was prepared in the same manner as in Example 1. The obtained nonwoven fabric was used as a sample of Comparative Example 3.
  • the expansion coefficient of the dimethyl silicone oil for a liquid having a surface tension of 50 mN / m was 2.4 mN / m
  • the interfacial tension for a liquid having a surface tension of 50 mN / m was 26.6 mN / m.
  • the dimethyl silicone oil had a surface tension of 21.0 mN / m and a water solubility of 0.0001 g.
  • the contact angle of the upper fiber was 105 degrees as measured by the same method as in Example 1.
  • the contact angle of the lower layer fiber was 59 degrees as measured in the same manner. Therefore, the difference in contact angle between the upper layer and the lower layer was 46 degrees.
  • Example 4 Adhering to the upper and lower fibers, the polypropylene glycol (antifoam No. 1 manufactured by Kao Corporation) used in Example 1 as a liquid film cleaving agent at a content ratio (OPU) of 0.4% by mass with respect to the mass of the fiber.
  • OPU content ratio
  • a laminated nonwoven fabric was produced in the same manner as in Example 1 except for the above. The obtained laminated nonwoven fabric was used as a sample of Comparative Example 4.
  • the contact angle of the upper layer fiber was 64 degrees as measured by the same method as in Example 1.
  • the contact angle of the lower layer fiber was 64 degrees as measured in the same manner. Therefore, the difference in contact angle between the upper layer and the lower layer was 0 degree.
  • a high-viscosity part such as red blood cells
  • a low-viscosity part plasma remains as a supernatant.
  • the mixing ratio of the part was adjusted to 8.0 cP.
  • the acrylic plate is removed 60 seconds after injecting a total of 6.0 g of defibrinated horse blood.
  • the weight (W2) of the laminated nonwoven fabric sample was measured, and the difference (W2 ⁇ W1) from the weight (W1) of the laminated nonwoven fabric sample before pouring horse blood, which had been measured in advance, was calculated.
  • the above operation was performed 3 times, and the average value of the 3 times was defined as the remaining liquid amount (mg).
  • the liquid remaining amount is an index of how much the wearer's skin gets wet. The smaller the liquid remaining amount, the better the result.
  • L value About each laminated nonwoven fabric sample which evaluated the liquid residue using the above-mentioned defibrinated horse blood, the L value at the position where the defibrinated horse blood was introduced using a simple spectral color difference meter NF333 manufactured by Nippon Denshoku Industries Co., Ltd. It was measured. L value (lightness) indicates that the larger the value is, the closer the color is to white and the redness is less visible on the top sheet (laminated nonwoven fabric sample). That is, there is little liquid residue between fibers.
  • Example 1 the liquid film cleaving agent was attached to the fibers, and the contact angle of the lower layer was smaller than that of the upper layer (that is, the hydrophilicity was higher).
  • the liquid film area ratio was low, the surface whiteness was high, and the remaining amount of the surface material liquid was kept small. That is, the laminated nonwoven fabrics of Examples 1 to 8, which are specific examples of the present invention, showed excellent results in all of the liquid film area ratio, the surface whiteness, and the surface material liquid remaining amount.
  • Comparative Examples 1 and 2 were inferior to Examples 1 to 8 in all of the liquid film area ratio, the surface whiteness, and the remaining amount of the surface material liquid due to the absence of the liquid film cleaving agent.
  • Comparative Example 3 since the surfactant, which is not the liquid film cleaving agent defined in the present invention, is adhered to the fiber, the liquid film area ratio, the surface whiteness, and the surface material liquid remaining amount are all. It was inferior to Examples 1-8. Further, in Comparative Example 4, although there was a liquid film cleaving agent, the remaining amount of the surface material liquid was inferior to that of Examples 1 to 8 since there was no hydrophilicity gradient between the upper layer and the lower layer.
  • the liquid film cleaving agent breaks the liquid film between the fibers to reduce the liquid film area ratio and the surface whiteness, and the upper layer (first 1 It can be seen that the liquid remaining can be suppressed low by drawing the liquid from the fiber layer) to the lower layer (second fiber layer). That is, it turns out that the laminated nonwoven fabric of this invention implement
  • the laminated nonwoven fabric of the present invention should be a nonwoven fabric suitable for producing an absorbent article that achieves a sense of security and comfortable comfort while achieving both a dry feeling and a soft touch at a high level. I understand.

Landscapes

  • Health & Medical Sciences (AREA)
  • Engineering & Computer Science (AREA)
  • Textile Engineering (AREA)
  • Animal Behavior & Ethology (AREA)
  • Chemical & Material Sciences (AREA)
  • Epidemiology (AREA)
  • Veterinary Medicine (AREA)
  • Public Health (AREA)
  • General Health & Medical Sciences (AREA)
  • Life Sciences & Earth Sciences (AREA)
  • Vascular Medicine (AREA)
  • Chemical Kinetics & Catalysis (AREA)
  • Heart & Thoracic Surgery (AREA)
  • Biomedical Technology (AREA)
  • Hematology (AREA)
  • Materials Engineering (AREA)
  • Absorbent Articles And Supports Therefor (AREA)
  • Treatments For Attaching Organic Compounds To Fibrous Goods (AREA)
  • Laminated Bodies (AREA)
  • Nonwoven Fabrics (AREA)
PCT/JP2016/086417 2015-12-16 2016-12-07 積層不織布 Ceased WO2017104512A1 (ja)

Priority Applications (2)

Application Number Priority Date Filing Date Title
CN201680070285.3A CN108291360B (zh) 2015-12-16 2016-12-07 层叠无纺布
RU2018125881A RU2698821C1 (ru) 2015-12-16 2016-12-07 Ламинированный нетканый материал

Applications Claiming Priority (2)

Application Number Priority Date Filing Date Title
JP2015244862 2015-12-16
JP2015-244862 2015-12-16

Publications (1)

Publication Number Publication Date
WO2017104512A1 true WO2017104512A1 (ja) 2017-06-22

Family

ID=59056380

Family Applications (1)

Application Number Title Priority Date Filing Date
PCT/JP2016/086417 Ceased WO2017104512A1 (ja) 2015-12-16 2016-12-07 積層不織布

Country Status (5)

Country Link
JP (1) JP6330016B2 (enExample)
CN (1) CN108291360B (enExample)
RU (1) RU2698821C1 (enExample)
TW (1) TWI707670B (enExample)
WO (1) WO2017104512A1 (enExample)

Cited By (3)

* Cited by examiner, † Cited by third party
Publication number Priority date Publication date Assignee Title
WO2017209007A1 (ja) * 2016-05-31 2017-12-07 花王株式会社 不織布
CN110892108A (zh) * 2017-07-12 2020-03-17 三吉油脂株式会社 无纺布用纤维处理剂和使用了该无纺布用纤维处理剂的无纺布
WO2021237507A1 (en) 2020-05-27 2021-12-02 The Procter & Gamble Company Absorbent article with topsheet comprising cellulose-based fibers

Families Citing this family (7)

* Cited by examiner, † Cited by third party
Publication number Priority date Publication date Assignee Title
JP2019097931A (ja) * 2017-12-04 2019-06-24 花王株式会社 不織布
JP7025949B2 (ja) * 2018-02-15 2022-02-25 株式会社リブドゥコーポレーション 不織布シート、不織布シートの製造方法および使い捨て吸収性物品
WO2021142775A1 (en) * 2020-01-17 2021-07-22 The Procter & Gamble Company Absorbent articles comprising semi-hydrophilic compositions
RU198724U1 (ru) * 2020-02-26 2020-07-23 Общество с Ограниченной Ответственностью "Фабрика Нетканых Материалов "Весь Мир" Нетканый многослойный материал для матраса
US12202212B2 (en) * 2020-05-08 2025-01-21 Zuiko Corporation Method for manufacturing wearable article
CN116849929A (zh) * 2023-06-05 2023-10-10 东华大学 一种干爽型抗菌纸尿裤双层复合面层材料的制备方法
JP7413595B1 (ja) * 2023-08-04 2024-01-15 ユニ・チャーム株式会社 吸収性物品

Citations (9)

* Cited by examiner, † Cited by third party
Publication number Priority date Publication date Assignee Title
US20050245157A1 (en) * 2004-04-30 2005-11-03 Kimberly-Clark Worldwide, Inc. Nonwoven fabrics comprising strata with differing levels or combinations of additives and process of making the same
JP2007511620A (ja) * 2003-06-11 2007-05-10 キンバリー クラーク ワールドワイド インコーポレイテッド エラストマー性物品を形成するための組成物
JP2013063245A (ja) * 2011-03-31 2013-04-11 Unicharm Corp 吸収性物品
WO2014171388A1 (ja) * 2013-04-19 2014-10-23 花王株式会社 不織布及び繊維処理剤
JP2015113548A (ja) * 2013-12-12 2015-06-22 花王株式会社 不織布及び吸収性物品
JP2015127306A (ja) * 2013-12-27 2015-07-09 上野製薬株式会社 抗菌剤組成物
JP5809341B1 (ja) * 2014-09-29 2015-11-10 花王株式会社 積層不織布及びその製造方法
JP5894333B1 (ja) * 2014-10-17 2016-03-30 花王株式会社 不織布
WO2016098796A1 (ja) * 2014-12-17 2016-06-23 花王株式会社 液膜開裂剤

Family Cites Families (3)

* Cited by examiner, † Cited by third party
Publication number Priority date Publication date Assignee Title
US5258129A (en) * 1987-12-02 1993-11-02 Takemoto Yushi Kabushiki Kaisha Fluid-permeable agent for non-woven sheets of polyolefin fibers and method of application thereof
JPH09215706A (ja) * 1996-02-08 1997-08-19 Kao Corp 親水性不織布並びにそれを用いた吸収性物品
JP6092508B2 (ja) * 2011-09-30 2017-03-08 ユニ・チャーム株式会社 吸収性物品

Patent Citations (9)

* Cited by examiner, † Cited by third party
Publication number Priority date Publication date Assignee Title
JP2007511620A (ja) * 2003-06-11 2007-05-10 キンバリー クラーク ワールドワイド インコーポレイテッド エラストマー性物品を形成するための組成物
US20050245157A1 (en) * 2004-04-30 2005-11-03 Kimberly-Clark Worldwide, Inc. Nonwoven fabrics comprising strata with differing levels or combinations of additives and process of making the same
JP2013063245A (ja) * 2011-03-31 2013-04-11 Unicharm Corp 吸収性物品
WO2014171388A1 (ja) * 2013-04-19 2014-10-23 花王株式会社 不織布及び繊維処理剤
JP2015113548A (ja) * 2013-12-12 2015-06-22 花王株式会社 不織布及び吸収性物品
JP2015127306A (ja) * 2013-12-27 2015-07-09 上野製薬株式会社 抗菌剤組成物
JP5809341B1 (ja) * 2014-09-29 2015-11-10 花王株式会社 積層不織布及びその製造方法
JP5894333B1 (ja) * 2014-10-17 2016-03-30 花王株式会社 不織布
WO2016098796A1 (ja) * 2014-12-17 2016-06-23 花王株式会社 液膜開裂剤

Non-Patent Citations (1)

* Cited by examiner, † Cited by third party
Title
HANNOSEI·HI-HANNOSEI SILICONE OIL, September 2016 (2016-09-01), pages 7, Retrieved from the Internet <URL:https://www.silicone.jp/catalog/pdf/modified_j.pdf> [retrieved on 20170301] *

Cited By (5)

* Cited by examiner, † Cited by third party
Publication number Priority date Publication date Assignee Title
WO2017209007A1 (ja) * 2016-05-31 2017-12-07 花王株式会社 不織布
JP2017214696A (ja) * 2016-05-31 2017-12-07 花王株式会社 不織布
CN110892108A (zh) * 2017-07-12 2020-03-17 三吉油脂株式会社 无纺布用纤维处理剂和使用了该无纺布用纤维处理剂的无纺布
CN110892108B (zh) * 2017-07-12 2022-10-25 三吉油脂株式会社 无纺布用纤维处理剂和使用了该无纺布用纤维处理剂的无纺布
WO2021237507A1 (en) 2020-05-27 2021-12-02 The Procter & Gamble Company Absorbent article with topsheet comprising cellulose-based fibers

Also Published As

Publication number Publication date
CN108291360A (zh) 2018-07-17
JP6330016B2 (ja) 2018-05-23
RU2698821C1 (ru) 2019-08-30
TWI707670B (zh) 2020-10-21
JP2017110329A (ja) 2017-06-22
CN108291360B (zh) 2021-03-23
TW201726090A (zh) 2017-08-01

Similar Documents

Publication Publication Date Title
JP6051333B1 (ja) 液膜開裂剤
JP6330016B2 (ja) 積層不織布
JP6515133B2 (ja) 不織布
JP6310536B2 (ja) 不織布
JP6330083B2 (ja) 長繊維不織布
JP6329670B2 (ja) 不織布
JP6298560B2 (ja) 吸収性物品
JP6996875B2 (ja) 不織布
JP6366640B2 (ja) 不織布
JP6387148B2 (ja) 不織布
JP6329991B2 (ja) 吸収性物品

Legal Events

Date Code Title Description
121 Ep: the epo has been informed by wipo that ep was designated in this application

Ref document number: 16875492

Country of ref document: EP

Kind code of ref document: A1

NENP Non-entry into the national phase

Ref country code: DE

WWE Wipo information: entry into national phase

Ref document number: 2018125881

Country of ref document: RU

122 Ep: pct application non-entry in european phase

Ref document number: 16875492

Country of ref document: EP

Kind code of ref document: A1