WO2017038262A1 - A/d変換器 - Google Patents

A/d変換器 Download PDF

Info

Publication number
WO2017038262A1
WO2017038262A1 PCT/JP2016/070760 JP2016070760W WO2017038262A1 WO 2017038262 A1 WO2017038262 A1 WO 2017038262A1 JP 2016070760 W JP2016070760 W JP 2016070760W WO 2017038262 A1 WO2017038262 A1 WO 2017038262A1
Authority
WO
WIPO (PCT)
Prior art keywords
time
dac
conversion
converter
quantizer
Prior art date
Legal status (The legal status is an assumption and is not a legal conclusion. Google has not performed a legal analysis and makes no representation as to the accuracy of the status listed.)
Ceased
Application number
PCT/JP2016/070760
Other languages
English (en)
French (fr)
Japanese (ja)
Inventor
智裕 根塚
Current Assignee (The listed assignees may be inaccurate. Google has not performed a legal analysis and makes no representation or warranty as to the accuracy of the list.)
Denso Corp
Original Assignee
Denso Corp
Priority date (The priority date is an assumption and is not a legal conclusion. Google has not performed a legal analysis and makes no representation as to the accuracy of the date listed.)
Filing date
Publication date
Application filed by Denso Corp filed Critical Denso Corp
Priority to US15/739,206 priority Critical patent/US10158369B2/en
Priority to CN201680046653.0A priority patent/CN107925415B/zh
Publication of WO2017038262A1 publication Critical patent/WO2017038262A1/ja
Anticipated expiration legal-status Critical
Ceased legal-status Critical Current

Links

Images

Classifications

    • HELECTRICITY
    • H03ELECTRONIC CIRCUITRY
    • H03MCODING; DECODING; CODE CONVERSION IN GENERAL
    • H03M1/00Analogue/digital conversion; Digital/analogue conversion
    • H03M1/12Analogue/digital converters
    • H03M1/124Sampling or signal conditioning arrangements specially adapted for A/D converters
    • H03M1/1245Details of sampling arrangements or methods
    • HELECTRICITY
    • H03ELECTRONIC CIRCUITRY
    • H03MCODING; DECODING; CODE CONVERSION IN GENERAL
    • H03M1/00Analogue/digital conversion; Digital/analogue conversion
    • H03M1/12Analogue/digital converters
    • H03M1/14Conversion in steps with each step involving the same or a different conversion means and delivering more than one bit
    • H03M1/145Conversion in steps with each step involving the same or a different conversion means and delivering more than one bit the steps being performed sequentially in series-connected stages
    • HELECTRICITY
    • H03ELECTRONIC CIRCUITRY
    • H03MCODING; DECODING; CODE CONVERSION IN GENERAL
    • H03M1/00Analogue/digital conversion; Digital/analogue conversion
    • H03M1/12Analogue/digital converters
    • H03M1/50Analogue/digital converters with intermediate conversion to time interval
    • H03M1/52Input signal integrated with linear return to datum
    • HELECTRICITY
    • H03ELECTRONIC CIRCUITRY
    • H03MCODING; DECODING; CODE CONVERSION IN GENERAL
    • H03M3/00Conversion of analogue values to or from differential modulation
    • H03M3/30Delta-sigma modulation
    • H03M3/39Structural details of delta-sigma modulators, e.g. incremental delta-sigma modulators
    • H03M3/436Structural details of delta-sigma modulators, e.g. incremental delta-sigma modulators characterised by the order of the loop filter, e.g. error feedback type
    • H03M3/438Structural details of delta-sigma modulators, e.g. incremental delta-sigma modulators characterised by the order of the loop filter, e.g. error feedback type the modulator having a higher order loop filter in the feedforward path
    • H03M3/454Structural details of delta-sigma modulators, e.g. incremental delta-sigma modulators characterised by the order of the loop filter, e.g. error feedback type the modulator having a higher order loop filter in the feedforward path with distributed feedback, i.e. with feedback paths from the quantiser output to more than one filter stage
    • HELECTRICITY
    • H03ELECTRONIC CIRCUITRY
    • H03MCODING; DECODING; CODE CONVERSION IN GENERAL
    • H03M1/00Analogue/digital conversion; Digital/analogue conversion
    • H03M1/12Analogue/digital converters
    • H03M1/34Analogue value compared with reference values
    • H03M1/38Analogue value compared with reference values sequentially only, e.g. successive approximation type
    • H03M1/46Analogue value compared with reference values sequentially only, e.g. successive approximation type with digital/analogue converter for supplying reference values to converter
    • HELECTRICITY
    • H03ELECTRONIC CIRCUITRY
    • H03MCODING; DECODING; CODE CONVERSION IN GENERAL
    • H03M1/00Analogue/digital conversion; Digital/analogue conversion
    • H03M1/12Analogue/digital converters
    • H03M1/34Analogue value compared with reference values
    • H03M1/38Analogue value compared with reference values sequentially only, e.g. successive approximation type
    • H03M1/46Analogue value compared with reference values sequentially only, e.g. successive approximation type with digital/analogue converter for supplying reference values to converter
    • H03M1/466Analogue value compared with reference values sequentially only, e.g. successive approximation type with digital/analogue converter for supplying reference values to converter using switched capacitors
    • HELECTRICITY
    • H03ELECTRONIC CIRCUITRY
    • H03MCODING; DECODING; CODE CONVERSION IN GENERAL
    • H03M1/00Analogue/digital conversion; Digital/analogue conversion
    • H03M1/12Analogue/digital converters
    • H03M1/50Analogue/digital converters with intermediate conversion to time interval
    • H03M1/54Input signal sampled and held with linear return to datum

Definitions

  • This disclosure relates to an A / D converter that can realize high-speed and high-precision A / D conversion with a simple configuration.
  • a successive approximation (SAR) type ADC described in Patent Document 1 is provided with an A / D conversion in order to reduce non-linearity errors in A / D conversion caused by errors in capacitance values of capacitive elements constituting the ADC.
  • SAR successive approximation
  • Patent Document 2 and Non-Patent Document 1 are delta-sigma A / D converters that achieve high accuracy using delta-sigma ( ⁇ ) modulation.
  • the A / D converter described in Patent Document 3 is an incremental delta (incremental ⁇ ) type A / D converter in which the amount of feedback by the analog quantizer is variable.
  • trimming that measures an element error, stores a correction value according to the element error, and corrects the A / D conversion result based on the correction value. Widely used. However, in order to realize trimming, a storage element for storing correction values and a correction mechanism for executing correction based on the stored correction values are additionally required.
  • oversampling is necessary for high accuracy, but oversampling is performed at a frequency one to two digits higher than the desired signal band. Sampling is generally performed, and the operating frequency of the circuit often determines the conversion speed. Also, if the input signal source before the A / D converter does not have the low output impedance required to perform high-speed oversampling, a high-speed buffer is required, so the buffer operating frequency is converted. Often, the speed is limited. When oversampling is performed and high-order ⁇ modulation is used for speeding up and high accuracy, the result of filtering the input signal at a plurality of different sampling times is A / Output as D conversion result. Therefore, for example, it is not suitable for an application in which the device is controlled using only the magnitude of the input signal at a specific time.
  • a / D converter As in the delta sigma type A / D converter described in Patent Document 2, a combination of a delta sigma type A / D converter and a Nyquist A / D converter makes it possible to achieve both high speed and high accuracy.
  • a / D converter is also known. In such an A / D converter, the upper bits (MSBs) of the A / D conversion result are generated by ⁇ modulation, and the lower bits (LSBs) of the A / D conversion result are generated by the Nyquist A / D converter. As a result, high accuracy and high speed are achieved.
  • the A / D converter is similar to the delta-sigma A / D converter that does not combine the above Nyquist A / D converter. There are problems that the operating frequency of the upstream buffer of the converter becomes high and that the A / D conversion result of the input signal at a specific time cannot be obtained.
  • Patent Document 3 proposes an incremental delta (incremental ⁇ ) type A / D converter based on delta modulation in order to solve the problems of the delta sigma type A / D converter.
  • the delta modulation used for the A / D conversion has a problem that the number of cycles required for the A / D conversion increases exponentially as the resolution increases. Therefore, in order to speed up A / D conversion by reducing the number of cycles, a DAC using a plurality of reference voltages having different sizes is used for feedback. That is, the number of cycles required for A / D conversion is reduced by combining and executing coarse resolution delta modulation with a large reference voltage and fine resolution delta modulation with a small reference voltage.
  • the sampling capacity and the integration capacity of the integrator are Since it is configured using another capacitive element, it is necessary to increase the capacitance value of the sampling capacitor in order to reduce thermal noise during sampling. Furthermore, if the capacitance value of the sampling capacitor is increased to reduce thermal noise, the capacitance value of the integration capacitor of the integrator is increased according to the size of the sampling capacitor in order to avoid saturation of the output signal amplitude of the integrator. When it is realized on an integrated circuit, a large area is required.
  • the area and power consumption of the operational amplifier constituting the integrator are increased in order to reduce the influence of thermal noise and flicker noise generated during the transfer. There is a need to reduce noise.
  • An object of the present disclosure is to provide a Nyquist A / D converter that can realize high-speed and high-precision A / D conversion with a simple configuration.
  • An A / D converter includes an operational amplifier including a first input terminal and an output terminal, and an integration capacitor inserted between the first input terminal and the output terminal of the operational amplifier.
  • a quantizer that outputs a quantization result obtained by quantizing the output signal of the operational amplifier, and a DAC voltage connected to the first input terminal of the operational amplifier for subtracting the charge accumulated in the integration capacitor
  • a D / A converter (DAC) that is determined based on
  • the integrator has a feedback switch that turns on and off the connection between the integration capacitor and the output terminal of the operational amplifier.
  • An analog signal as an input signal is input between the integration capacitor and the feedback switch.
  • the integration capacitor samples an analog signal.
  • a quantizer performs quantization based on the output of the operational amplifier.
  • the DAC converts the analog signal into a digital value by sequentially subtracting the charge accumulated in the integration capacitor based on the quantization result.
  • an analog signal as an input signal is held in the integrating capacitor in the integrator by one sampling, and A / D conversion is performed based on the electric charge held by the sampling, so no oversampling is required. . That is, it is possible to configure a Nyquist A / D converter that performs A / D conversion on an input signal at a specific time. Further, since oversampling is not required, the operating frequency of the circuit is not limited by the operating frequency of the preceding buffer, and high-speed A / D conversion can be realized.
  • a DAC is configured using one capacitor, and the DAC is configured to be driven by substantially one reference voltage, thereby suppressing A / D conversion errors caused by characteristic variations of components. it can. Therefore, in a SAR type A / D converter in which a DAC used for A / D conversion is composed of a plurality of capacitors, it is possible to perform high operations without performing operations such as trimming and dithering that are often performed for high accuracy. Accurate A / D conversion can be realized. Further, unlike the patent document 3, the DAC is not driven using a plurality of reference voltages, and therefore, an A / D conversion nonlinearity error caused by an error of a circuit that generates the reference voltage does not occur.
  • the integration capacitor and the sampling capacitor are different as in the delta-sigma type A / D converter disclosed in Patent Document 2 and Non-Patent Document 1, and Patent Document 3, respectively.
  • an A / D converter composed of a capacitor it is not necessary to transfer signal charges between the sampling capacitor and the integrating capacitor after sampling.
  • no thermal noise is generated due to the reset of the integration capacitor. For this reason, high-speed and low-noise A / D conversion can be realized.
  • a / D conversion can be realized at low cost.
  • a SAR type A / D converter that requires a large number of elements as shown in Patent Document 1 and a high-order ⁇ modulation that requires a plurality of integrators for speeding up as shown in Non-Patent Document 1.
  • a / D conversion can be realized with a simple configuration as compared to the A / D converter used. Therefore, a Nyquist A / D converter that can realize high-speed and high-precision A / D conversion with a simple configuration is provided.
  • FIG. 1 is a circuit diagram showing a schematic configuration of the A / D converter according to the first embodiment.
  • FIG. 2 is a timing chart showing an A / D conversion operation in the first embodiment.
  • FIG. 3 is a timing chart showing an A / D conversion operation in the A / D converter of the first modification.
  • FIG. 4 is a circuit diagram illustrating a schematic configuration of the A / D converter according to the second embodiment.
  • FIG. 5 is a timing chart showing an A / D conversion operation in the second embodiment.
  • FIG. 6 is a timing chart showing an A / D conversion operation in the A / D converter of Modification 2.
  • FIG. 1 is a circuit diagram showing a schematic configuration of the A / D converter according to the first embodiment.
  • FIG. 2 is a timing chart showing an A / D conversion operation in the first embodiment.
  • FIG. 3 is a timing chart showing an A / D conversion operation in the A / D converter of the first modification.
  • FIG. 4 is a circuit diagram illustrating
  • FIG. 7 is a circuit diagram showing a configuration of a quantizer in Modification 3.
  • FIG. 8 is a timing chart showing an A / D conversion operation in the A / D converter of Modification 3.
  • FIG. 9 is a timing chart showing an A / D conversion operation in the A / D converter of the fourth modification.
  • FIG. 10 is a timing chart showing an A / D conversion operation in the A / D converter of the modification 5.
  • FIG. 11 is a circuit diagram illustrating a schematic configuration of an A / D converter according to the third embodiment.
  • FIG. 12 is a timing chart showing an A / D conversion operation in the third embodiment.
  • FIG. 13 is a circuit diagram illustrating a schematic configuration of the A / D converter according to the fourth embodiment.
  • FIG. 14 is a timing chart showing an A / D conversion operation in the fourth embodiment.
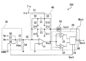
  • the A / D converter 100 includes an integrator 10, a quantizer 20, and a D / A converter 30 (hereinafter referred to as DAC 30).
  • the input signal (Vin) is an analog signal
  • the signal (Dout) output from the A / D converter 100 is a digital signal.
  • the D / A converter is a digital-to-analog converter and is also called a DAC.
  • the integrator 10 includes an operational amplifier 11, an integration capacitor C1, and a feedback switch S3.
  • the integration capacitor C ⁇ b> 1 is inserted between the inverting input terminal and the output terminal of the operational amplifier 11.
  • the feedback switch S3 is inserted between the integration capacitor C1 and the output terminal of the operational amplifier 11. That is, the integration capacitor C1 and the feedback switch S3 are connected in series with each other and are disposed between the inverting input terminal and the output terminal of the operational amplifier 11.
  • the non-inverting input terminal of the operational amplifier 11 is connected to the analog ground level (AGND).
  • AGND is a reference potential of the entire A / D converter 100 and is not necessarily 0V.
  • the 1st input terminal as described in a claim corresponds to the inverting input terminal in this embodiment.
  • the inverting input terminal of the operational amplifier 11 can be connected to AGND via the switch S2.
  • the input terminal Tin of the A / D converter 100 is connected between the integration capacitor C1 and the feedback switch S3 via the switch S1.
  • the switch S1 and the switch S2 By turning on the switch S1 and the switch S2 while the feedback switch S3 is turned off, charges based on the magnitude of the input signal Vin are accumulated in the integration capacitor C1. That is, the input signal Vin is sampled in the integration capacitor C1.
  • the potential of the input analog signal is referred to as the input signal Vin or simply Vin
  • the potential of the output terminal of the operational amplifier 11 is referred to as the output voltage Vout or simply Vout.
  • the feedback switch S3 When the switch S1 and the switch S2 are turned off and the feedback switch S3 is turned on, the output voltage Vout of the operational amplifier 11 and the potential at one end on the input side of Vin in the integration capacitor C1 become equal.
  • the feedback switch S3 may be simply referred to as a switch S3.
  • the quantizer 20 receives the output of the integrator 10, that is, the output voltage Vout of the operational amplifier 11, and outputs Qout which is a result of quantizing the output voltage Vout. That is, the quantizer 20 quantizes the analog value Vout and converts it into a quantization result Qout that is a digital value. Further, the quantizer 20 outputs Dout that is a result of A / D conversion of the input signal Vin.
  • the quantizer 20 includes a comparator 21 and a logic circuit 24.
  • the output voltage Vout of the operational amplifier 11 is input to the non-inverting input terminal, and AGND is input to the inverting input terminal.
  • the output of the comparator 21 is input to the logic circuit 24.
  • the logic circuit 24 outputs the quantization result Qout to the DAC 30 based on the output of the comparator 21 and outputs the A / D conversion result Dout.
  • the quantization result described in the claims corresponds to Qout.
  • the logic circuit 24 outputs 1 as the quantization result Qout when Vout ⁇ AGND.
  • Vout ⁇ AGND ⁇ 1 is output as Qout. That is, the quantizer 20 in the present embodiment is a 1-bit quantizer.
  • the logic circuit 24 sequentially integrates Qout each time quantization is performed by the quantizer 20 during the A / D conversion process, and generates an A / D conversion result Dout. More specific operation of the quantizer 20 will be described in detail later.
  • the DAC 30 is a D / A converter, and determines the amount of charge that the DAC 30 subtracts from the integration capacitor C1 based on the quantization result Qout output from the quantizer 20.
  • the DAC 30 has a DAC capacity C2.
  • a voltage source for generating AGND and a reference voltage is connected to one end of the DAC capacitor C2 via switches S6 to S8.
  • AGND is connected to one end of the DAC capacitor C2 via the switch S6,
  • Vm is connected via the switch S7, and
  • Vp is connected via the switch S8.
  • the potential at one end of the DAC capacitor C2 is equal to any one of Vp, Vm, and AGND selected exclusively by the switches S6 to S8.
  • the potential at one end of the DAC capacitor C2 may be referred to as a DAC voltage Vdac.
  • one end on the inverting input terminal side of the operational amplifier 11 in the DAC capacitor C2 can be connected to AGND via the switch S4.
  • the DAC capacitor C2 is connected to the inverting input terminal of the operational amplifier 11 through the switch S5. That is, the DAC 30 is connected to the integrator 10 via the switch S5.
  • the charge based on the reference voltage selected by the switch S7 or the switch S8 is accumulated in the DAC capacitor C2 by turning off the switch S5 and turning on the switch S4. Further, in a state where charges are accumulated in the DAC capacitor C2, the switch S4 is turned off and the switch S5 is turned on, so that the DAC capacitor C2 is connected to the integrator 10, the switch S7 and the switch S8 are turned off, and the switch By turning on S6, the charge accumulated in the DAC capacitor C2 is transferred to the integration capacitor C1. That is, the charge accumulated in the integration capacitor C1 is subtracted by the DAC 30.
  • AGND is also connected to the DAC capacitor C2 via the switch S6.
  • the charge accumulated in the DAC capacitor C2 is determined based on the potential difference between Vp-AGND or Vm-AGND.
  • AGND is 0 V
  • the charge accumulated in the DAC capacitor C2 is determined by the magnitude of Vp or Vm, and AGND is not used as a reference voltage for substantial D / A conversion.
  • FIG. 2 is a timing chart showing the operation of the A / D converter 100.
  • the period before time t1 corresponds to a sampling period, and the period after time t1 corresponds to an A / D conversion period.
  • both terminals of the DAC capacitor C2 are connected to AGND, respectively.
  • the DAC capacitor C2 is in a state where no charge is accumulated, and is in a so-called reset state. Note that the DAC capacitor C2 is not necessarily required to perform a reset operation because charges are accumulated based on the value of the quantization result Qout after time t1.
  • Vout is a value larger than AGND that is the threshold voltage of the comparator 21 constituting the quantizer 20 from time t1 to time t3.
  • the switch S4 is turned off and the switch S5 is turned on, and the switch S7 is turned off and the switch S6 is turned on.
  • the operation from time t2 to time t4 is one cycle related to the first charge subtraction from the integration capacitor C1.
  • one cycle related to subtraction similar to that from time t2 to time t4 may be referred to as a subtraction cycle.
  • the operational amplifier 11 From time t3 to time t5, the operational amplifier 11 performs the remaining A / D conversion generated as a result of the first subtraction performed by the DAC 30 from the initial Vout from time t1 to time t3 corresponding to the result of sampling the input signal Vin. The difference is output as Vout.
  • Vout, Qout, and Dout are shown to change and stabilize immediately at time t3. However, in actual operation, they are accompanied by operations of an integrator, a switch, a quantizer, and the like. Due to the delay, a certain time is required until the quantization result is stably determined after Vout starts to change at time t3.
  • the operation from time t1 to time t3 and from time t3 to time t5 is one cycle related to quantization by the quantizer 20.
  • one cycle related to the same quantization may be referred to as a quantization cycle.
  • a resolution of 3 bits (9 gradations) of A / D conversion is obtained by 8 cycles of quantization up to time t13 and 7 cycles of subtraction.
  • the A / D conversion may be terminated at time t13.
  • the subtraction and the quantization are further performed for each cycle to make the A / D conversion resolution 4 bits (16 gradations). Is working.
  • the ninth quantization which is the last quantization, is executed.
  • the value of Dout becomes the final A / D conversion result of the input signal Vin.
  • the charge subtraction from the integration capacitor C1 and the quantization by the quantizer 20 are executed for a predetermined number of cycles at which a desired resolution can be obtained regardless of the level of the input signal Vin.
  • the desired resolution of the A / D converter 100 is N bits, 2N-1 cycles are required for charge subtraction, and 2N-1 + 1 cycles are required for quantization.
  • the A / D converter 100 is configured such that the integration capacitor C1 is disconnected from the output terminal of the operational amplifier 11 during sampling and the input signal Vin can be input to the integration capacitor C1, resetting of the integration capacitor C1 is unnecessary.
  • the effects of thermal noise and flicker noise are accumulated in resetting the integration capacitor, sampling in the sampling capacitor, and transferring signal charges from the sampling capacitor to the integration capacitor.
  • the integration capacitor is not used so as not to saturate the output signal of the integrator.
  • the sampling capacity needs almost the same capacity value.
  • the sampling capacitor is unnecessary, and the area of the capacitive element that requires a relatively large area when realized as a semiconductor integrated circuit is approximately halved. Can be reduced.
  • the A / D converter 100 is a Nyquist A / D converter that performs one A / D conversion for one sampling. For this reason, a general delta-sigma A / D converter that requires oversampling does not require a high-speed buffer that is often required in the preceding stage. Therefore, there is little restriction on the conversion frequency due to the sampling speed, and high-speed and high-precision A / D conversion can be realized.
  • a / D conversion can be realized with a simple configuration as compared with a SAR type A / D converter using many capacitive elements and a higher-order delta-sigma type A / D converter using a plurality of integrators. it can.
  • the subtraction of a predetermined number of cycles according to the desired A / D conversion resolution is performed without depending on the level of the input signal Vin. That is, even if the output voltage Vout of the operational amplifier 11 exceeds once from the side larger than AGND by the subtraction or decreases from the side smaller than AGND to the larger side, the subtraction is continued until the predetermined number of cycles is reached.
  • the magnitude of the A / D conversion error caused by the offset of the operational amplifier depends on the level of the input signal. Therefore, a non-linearity error may occur in A / D conversion.
  • the A / D converter 100 executes the same number of subtractions without depending on the input level. For this reason, there is no dependency on the input level of the A / D conversion error caused by the offset of the operational amplifier 11 or the like. That is, highly accurate A / D conversion with few nonlinear errors can be realized.
  • Modification 1 When adopting the two-level DAC 30 as described in the first embodiment, in addition to the method of subtracting charges using the potential difference between Vp and AGND or the potential difference between Vm and AGND as in the first embodiment. A method of subtracting using the potential difference between Vp and Vm can also be adopted.
  • the operations of the switches S6 to S8 are changed with respect to the first embodiment. Specifically, the switch S6 is maintained in the OFF state from time t2 to time t14 including the period of the subtraction cycle, and either the switch S7 or the switch S8 is exclusive according to the output Qout of the quantizer 20 Thus, the switch is turned on in the first half of the subtraction cycle, and in the second half of the subtraction cycle, the on and off of the switches S7 and S8 are controlled so as to be reversed from the first half of the subtraction cycle.
  • the charge is transferred from the DAC capacitor C2 to the integration capacitor C1, and a voltage corresponding to the residual of A / D conversion is output as the output voltage Vout of the operational amplifier 11.
  • the DAC 30 in the present modification is not used for subtraction involving the change in Vout by the DAC 30 because the switch S6 is maintained in the OFF state from time t2 to time t14 as compared to the first embodiment. For this reason, in the case where the present modification is implemented with a single-ended circuit configuration, even if an error occurs between the intermediate potential between Vp and Vm and the potential of AGND, it is caused by subtraction of charges from the integration capacitor C1. A / D conversion offset error does not occur. That is, the demand for the accuracy of the power source that generates Vp, Vm, and AGND can be relaxed compared to the first embodiment.
  • the A / D converter 200 includes an integrator 10, a quantizer 20, and a D / A converter 30 (hereinafter referred to as DAC 30).
  • the input signal (Vin) is an analog signal
  • the signal (Dout) output from the A / D converter 200 is a digital signal.
  • the A / D converter 200 in the present embodiment is different from the A / D converter 100 in the first embodiment in the configuration of the quantizer 20. Since the integrator 10 has the same configuration as that of the first embodiment, detailed description thereof is omitted.
  • the DAC 30 is different from the first embodiment in the specification of the input signal, that is, the DAC voltage Vdac corresponding to the output Qout of the quantizer 20. This will be described in detail below.
  • the quantizer 20 in this embodiment receives the output of the integrator 10, that is, the output voltage Vout of the operational amplifier 11, and outputs Qout that is the result of quantizing the Vout. That is, the quantizer 20 quantizes the analog value Vout and converts it into a quantization result Qout that is a digital value. Further, the quantizer 20 outputs Dout that is a result of A / D conversion of the input signal Vin.
  • the quantizer 20 includes a first comparator 22, a second comparator 23, and a logic circuit 24.
  • the output voltage Vout of the operational amplifier 11 is input to the non-inverting input terminal, and the threshold voltage V1 is input to the inverting input terminal.
  • the second comparator 23 receives the output voltage Vout of the operational amplifier 11 at the non-inverting input terminal and the threshold voltage V2 at the inverting input terminal.
  • the threshold voltage V1 is higher than AGND, and the threshold voltage V2 is lower than AGND. That is, each voltage has a relationship of V2 ⁇ AGND ⁇ V1.
  • the outputs of the comparators 22 and 23 are input to the logic circuit 24, respectively. Based on the outputs of the comparators 22 and 23, the logic circuit 24 outputs a quantization result Qout to the DAC 30 and outputs a digital signal Dout as an A / D conversion result.
  • the logic circuit 24 outputs 1 as the quantization result Qout when Vout> V1.
  • V2 ⁇ Vout ⁇ V1, 0 is output as Qout.
  • Vout ⁇ V2, ⁇ 1 is output as Qout. That is, the quantizer 20 in the present embodiment is a 1.5-bit quantizer.
  • the logic circuit 24 sequentially integrates Qout each time quantization is performed by the quantizer 20 during the A / D conversion process, and generates an A / D conversion result Dout. The specific operation of the quantizer 20 will be described in detail later.
  • the DAC 30 is a D / A converter, and determines the amount of charge that the DAC 30 subtracts from the integration capacitor C1 based on the quantization result Qout output from the quantizer 20.
  • This DAC 30 has, as reference voltages, a three-level D / A having an analog ground level AGND, a high level Vp set to a potential higher than AGND, and a low level Vm set to a potential lower than AGND. It is a converter.
  • FIG. 5 is a timing chart showing the operation of the A / D converter 200.
  • the period before time t15 corresponds to a sampling period, and the period after time t15 corresponds to an A / D conversion period.
  • the switch S1 and the switch S2 are turned off and the switch S3 is turned on, whereby the output voltage Vout of the operational amplifier 11 becomes the same voltage value as Vin, and Vin is held in the integration capacitor C1.
  • Vout is larger than the threshold voltage V1 of the first comparator 22 constituting the quantizer 20.
  • the switch S4 is turned off and the switch S5 is turned on, and the switch S7 is turned off and the switch S6 is turned on.
  • the operational amplifier 11 From the time t17 to the time t19, the operational amplifier 11 performs the remaining A / D conversion generated as a result of performing the first subtraction by the DAC 30 from the initial Vout at the time t15 to the time t17 corresponding to the result of sampling the input signal Vin. The difference is output as Vout.
  • the A / D converter 200 in the present embodiment also has the same effect as that of the first embodiment.
  • the quantizer 20 in this embodiment functions as a 1.5-bit quantizer, a quantization cycle corresponding to the last quantization cycle shown in FIG. 2 is required as the first embodiment.
  • a / D conversion with a resolution of 4 bits (17 gradations) can be realized by quantization of 8 cycles.
  • Modification 2 When adopting the three-level DAC 30 as described in the second embodiment, a method of subtracting using a potential difference between Vp-AGND or Vm-AGND during the A / D conversion period as in the second embodiment, a method of subtracting by using a potential difference between Vp-Vm or Vm-Vp can be employed as in the first modification.
  • the operations of the switches S6 to S8 are changed with respect to the second embodiment. Specifically, at time t16, the switch S6 is turned off and the switch S7 is turned on. At time t17, the switch S7 is turned off, and the switch S8 is turned on while maintaining the off state of the switch S6.
  • a corresponding voltage is output as the output voltage Vout of the operational amplifier 11.
  • the DAC 30 in the present modification is not used for subtraction involving change in Vout by the DAC 30 because the switch S6 is maintained in the OFF state from time t16 to time t22 as compared to the second embodiment.
  • AGND is connected to the DAC capacitor C2 via the switch S6, but no substantial subtraction is performed.
  • the present modification is implemented with a single-ended circuit configuration, even if an error occurs between the intermediate potential between Vp and Vm and the potential of AGND, the error at the time of subtracting the charge from the integration capacitor C1
  • the resulting offset error or nonlinearity error of A / D conversion does not occur. That is, the demand for the accuracy of the power source that generates Vp, Vm, and AGND can be relaxed compared to the second embodiment.
  • Modification 3 In the second embodiment and the second modification, a mode has been described in which the quantizer 20 is configured by two comparators 22 and 23 to realize 1.5-bit quantization. On the other hand, in this modification, a mode will be described in which the threshold voltage of the comparators 22 and 23 is made variable so that the resolution of the quantizer is switched between 1.5 bits and 1 bit.
  • the threshold voltage input to the first comparator 22 can be changed in three ways: V1, V3, and V5. Further, the threshold voltage input to the second comparator 23 can be changed in two ways, V2 and V4. Specifically, as shown in FIG. 7, resistors R1 to R6 are connected in series in the order of R1 to R6 from the higher potential between the high level Vp and the low level Vm. The point potential can be input to the comparators 22 and 23 as a threshold voltage.
  • each of the resistors R1 to R6 is set so that the voltage V3 is generated at the midpoint between the resistors R1 and R2, and is set so that the voltage V1 is generated at the midpoint between the resistors R2 and R3.
  • the voltage V5 is set at the midpoint between the resistors R3 and R4, and the voltage V2 is set at the midpoint between the resistors R4 and R5.
  • the resistor R5 and the resistor The voltage V4 is set to be generated at the midpoint of R6.
  • the voltage V3 can be input to the inverting input terminal of the first comparator 22 via the switch S21, the voltage V1 can be input via the switch S22, and the voltage V5 can be input via the switch S23.
  • the voltage V2 can be input to the inverting input terminal of the second comparator 23 via the switch S24, and the voltage V4 can be input via the switch S25.
  • the quantizer 20 in the present modification can set five types of V1 to V5 as threshold voltages of the comparators 22 and 23, but the operation of the present modification is configured to use only three types. Examples of setting five types of voltages will be described in Modifications 4 and 5 described later.
  • the operation up to time t25 is the same as that of the second embodiment, except that subtraction based on Qout immediately before time t25 is executed. That is, the difference is that 2N-1 cycles of subtraction are executed when the resolution of A / D conversion in the period up to time t25 is N bits. Since the other points are the same operation, the description thereof is omitted.
  • the threshold voltage in the quantizer 20 is set to V1 and V2. That is, the switch S22 and the switch S24 are turned on, and the switches S21, S23, and S25 are turned off. Thereby, the quantizer 20 in the present modification functions as a 1.5-bit quantizer until time t25. In FIG. 8, this A / D conversion period is described as 1.5-bit MODE (1.5-bit mode).
  • the switch S22 in the quantizer 20 shown in FIG. 7 is turned off, and the switch S23 is turned on.
  • the threshold voltage input to the second comparator 23 is maintained at V2, but the logic circuit 24 in this modification is set to ignore the comparison result of Vout and V2. That is, after time t25, the quantizer 20 in this modification functions as a 1-bit quantizer that uses only the first comparator 22 whose threshold voltage is AGND.
  • the last quantization is executed by the quantizer 20 whose resolution is set to 1 bit. Since one threshold voltage V5 used for the last quantization is exactly between the two threshold voltages V1 and V2 used for the quantization before time t25, the resolution of the A / D conversion is set to 1 bit by the last quantization. Can be increased by minutes. For this reason, the logic circuit 24 calculates Dout immediately before time t25 by a factor of 2, and then adds the 1-bit quantization result Qout.
  • a / D conversion with a resolution of 5 bits (32 gradations) is performed by quantization of 9 cycles and subtraction of 8 cycles.
  • the desired resolution of the A / D converter is N bits
  • subtraction of charge requires 2N-2 cycles and quantization requires 2N-2 + 1 cycles.
  • the number of cycles necessary to obtain the same resolution as that of the second modification is substantially halved.
  • Modification 4 In the third modification, the mode in which the resolution of the A / D converter is improved by changing the resolution using three types of threshold voltages in the quantizer 20 shown in FIG. 7 has been described. In the present modification, a mode in which the resolution is further improved by changing the resolution of the quantizer 20 using five types of threshold voltages in the quantizer 20 shown in FIG. 7 will be described.
  • the threshold voltage of the first comparator 22 in the quantizer 20 is set to V3, and the threshold voltage of the second comparator 23 is set to V4. That is, the switch S21 and the switch S25 are turned on, and the switches S22 to S24 are turned off. That is, between time t26 and time t31, the difference between the two threshold voltages is set larger than that in the second embodiment.
  • the switch S6 is turned off and the switch S7 is turned on as in the second modification.
  • the switch S7 is turned off, and the switch S8 is turned on while maintaining the off state of the switch S6.
  • the switch S21 is turned off and the switch S22 is turned on. That is, the threshold voltage of the first comparator 22 of the quantizer 20 is switched from V3 to V1.
  • the switch S25 is turned off and the switch S24 is turned on. That is, the threshold voltage of the second comparator 23 of the quantizer 20 is switched from V4 to V2.
  • Vout does not change between time t32 and time t34, but subtraction is performed in a state where the DAC voltage Vdac is set to AGND as in the second modification.
  • a / D conversion resolution 4 bits (17 gradations) of A / D conversion resolution can be obtained by time t35 when quantization of 5 cycles is completed.
  • the quantization until obtaining the same A / D conversion result Dout as in the second embodiment is 5 cycles, which is more than the 8 cycles in the second embodiment.
  • the quantizer 20 is operated in the 1-bit mode after the time t35 and the last quantization is executed in the same manner as the time t25 and after in the modification 3.
  • Dout 9 which is the final A / D conversion result of the input signal Vin is obtained.
  • the resolution of A / D conversion is 5 bits (32 gradations) by 6 cycles of quantization and 5 cycles of subtraction. If the desired resolution of the A / D converter is N bits, charge subtraction requires 2N-3 + 1 cycles and quantization requires 2N-3 + 2 cycles. Therefore, when the resolution N is high, the number of cycles required to obtain the same resolution as in the third modification can be reduced to approximately half. Further, by reducing the number of subtraction cycles, it is possible to reduce the influence of thermal noise and flicker noise that increase due to the execution of subtraction on the A / D conversion result.
  • the quantizer 20 in the present modification functions as a 1.5-bit quantizer, although the two threshold voltages of the quantizer 20 are changed at time t33 in the period from time t26 to time t35, respectively. is doing. Further, after time t35, it functions as a 1-bit quantizer with a threshold voltage of AGND.
  • the quantizer 20 of the A / D converter 200 uses the quantization result Qout of each half-quantization cycle by changing the threshold voltage for each half-quantization cycle during one-cycle quantization. To control the DAC 30. That is, a 1.5-bit quantizer 20 is used to perform five-level quantization in one quantization cycle, thereby realizing a substantially 2.5-bit quantizer.
  • the threshold voltage of the first comparator 22 is V3 and the threshold voltage of the second comparator 23 is V4, and in the second half of the quantization cycle, the first comparator The threshold voltage of 22 is set to V1, the threshold voltage of the second comparator 23 is set to V2, and two quantizations are executed within one quantization cycle.
  • the DAC 30 performs control using each of two quantization results in one quantization cycle.
  • the DAC voltage Vdac for driving the DAC 30 is determined based on the total value of Qout in one quantization cycle. Specifically, if the total value of two quantization results Qout in one quantization cycle is 2, subtraction is performed with the potential difference between the first half and the second half of one subtraction cycle of the DAC voltage Vdac as Vp ⁇ Vm. Similarly, if the total value of Qout is 1, the potential difference is Vp ⁇ AGND, if the total value of Qout is ⁇ 1, the potential difference is Vm ⁇ AGND, and if the total value of Qout is ⁇ 2, the potential difference is Vm ⁇ AGND. Subtraction is performed as Vp. If the total value of Qout is 0, the DAC voltage Vdac is set to AGND and substantially no subtraction is performed.
  • the total value of Qout is 2, Vout> V3 and Vout> V1, and in the subtraction cycle between time t40 and time t42, subtraction by the potential difference Vp ⁇ Vm. Is executed.
  • the DAC voltage Vdac in the first half of the subtraction cycle is determined from only Qout in the second half of the quantization cycle, and the second half of the quantization cycle.
  • the DAC 30 may be operated by determining the DAC voltage Vdac in the second half of the subtraction cycle from only Qout.
  • the total value 2 of the two Qouts from time t37 to time t39 is reflected in the subtraction in the subtraction cycle from time t38 to time t40. That is, in the subtraction cycle from time t38 to time t40, the switches S6 to S8 are controlled based on Qout obtained between time t37 and time t39, and the subtraction is executed.
  • the resolution of 5-bit (32 gradations) A / D conversion is obtained by 5 quantization cycles and 4 subtraction cycles. If the desired resolution of the A / D converter is N bits, charge subtraction requires 2N-3 cycles and quantization requires 2N-3 + 1 cycles. Therefore, when the desired resolution N is high, the number of cycles required to obtain the same resolution as that of the third modification can be reduced to almost half. Further, similarly to the fourth modification, it is possible to reduce the influence of thermal noise and flicker noise that increase due to execution of subtraction.
  • the A / D converter 300 in this embodiment is configured to execute a part of the quantization in the A / D conversion process by an A / D converter different from the quantizer 20.
  • an A / D converter different from the quantizer 20 is referred to as a secondary ADC 50.
  • the secondary ADC is also referred to as a secondary analog-to-digital converter or another ADC.
  • the A / D converter 300 in this embodiment includes a sub ADC 50 and an adder 60 in addition to the integrator 40, the quantizer 20, and the DAC 30. Since the DAC 30 is the same as that of the fifth modification of the second embodiment, a detailed description thereof is omitted. Also, in FIG. 11, the detailed configuration is omitted for the sake of simplification, but the quantizer 20 uses the variable threshold voltage shown in FIG. 7 as in the fifth modification of the second embodiment. It is.
  • the integrator 40 has an integration capacitor C1 and an amplification capacitor C3, which are connected in parallel between the inverting input terminal and the output terminal of the operational amplifier 11.
  • the integration capacitor C1 has one end connected to the inverting input terminal of the operational amplifier 11 via the switch S9 and the other end connected to the output terminal of the operational amplifier 11 via the switch S3.
  • the middle point of the integrating capacitor C1 and the switch S9 is connected to AGND via the switch S2, and the middle point of the integrating capacitor C1 and the switch S3 is connected to AGND via the switch S10.
  • the amplification capacitor C3 has one end connected to the inverting input terminal of the operational amplifier 11 via the switch S14 and the other end connected to the output terminal of the operational amplifier 11 via the switch S12.
  • the middle point of the amplification capacitor C3 and the switch S14 is connected to AGND via the switch S13, and the middle point of the amplification capacitor C3 and the switch S12 is connected to AGND via the switch S11.
  • the input terminal Tin is connected to the middle point of the integration capacitor C1 and the switch S3 via the switch S1.
  • the functions of the switches S2 and S3 are the same as those of the switches S2 and S3 in the second embodiment, respectively.
  • the secondary ADC 50 is connected to the output terminal of the operational amplifier 11 in parallel with the quantizer 20.
  • the digital output Lout of the secondary ADC 50 is input to the adder 60 together with the digital output Mout of the quantizer 20.
  • the adder 60 adds Mout output from the quantizer 20 and Lout output from the sub ADC 50 to obtain a final digital output Dout.
  • a generally known A / D converter can be adopted as the secondary ADC 50.
  • the switches S1, S2, S4, S6, S11, and S13 are turned on, and the switches S3, S5, S7, S8, S9, S10, S12, and S14 are turned off. Since the switch S3 is off, the integration capacitor C1 and the output terminal of the operational amplifier 11 are electrically separated from each other. Since the switches S1 and S2 are on, the input signal Vin is sampled by the integration capacitor C1. Further, since the switches S11 and S13 are turned on and the switches S12 and S14 are turned off, the amplification capacitor C3 is electrically separated from the operational amplifier 11, and both ends thereof are connected to AGND. As a result, the amplification capacitor C3 is in a state where no charge is accumulated.
  • both terminals of the DAC capacitor C2 are connected to AGND, respectively. As a result, the DAC capacitor C2 is in a state where no charge is accumulated.
  • the resolution of A / D conversion obtained in Mout is 4 bits (17 gradations), and the upper 4 bits of the A / D conversion result Dout of this embodiment are converted by the quantizer 20 to A / D D-converted.
  • the switches S3, S11, and S13 are turned off, and the switches S10, S12, and S14 are turned on and the last subtraction is performed. Thereby, all charges corresponding to the residual of A / D conversion are transferred to the amplification capacitor C3.
  • the sub ADC 50 After time t49, the sub ADC 50 performs A / D conversion on the amplified residual Vout output from the operational amplifier 11.
  • the final A / D conversion result Mout corresponding to the upper 4 bits by the quantizer 20 and the A / D conversion result Lout corresponding to the lower 4 bits by the sub ADC 50 are added to obtain the final A An 8-bit resolution is obtained for the / D conversion result Dout.
  • the sub ADC 50 performs A / D conversion of lower bits using the residual of the A / D conversion related to the previous A / D conversion as an input. Has been. That is, the A / D conversion of the lower bits related to the previous A / D conversion and the sampling of the input signal Vin related to the next A / D conversion are performed in parallel.
  • the A / D converter 300 includes a sub ADC 50 that performs A / D conversion of lower bits. For this reason, the resolution of the A / D conversion of the upper bits by the quantizer 20 whose number of cycles exponentially increases with increasing resolution is reduced, and the number of cycles required for A / D conversion is greatly reduced. can do.
  • the A / D converter 300 in the present embodiment has an amplification capacitor C3 as a separate body from the integration capacitor C1. For this reason, during the operation of the A / D conversion of the lower bits by the sub ADC 50, the sampling for the next A / D conversion can be executed in parallel by separating the integration capacitor C1 from the operational amplifier 11. Further, since the secondary ADC 50 is not used for the next A / D conversion even in the A / D conversion period of the higher bit related to the next A / D conversion after time t51, the previous ADC is used by using the secondary ADC 50. A / D conversion of lower bits related to / D conversion can be executed. For this reason, it is easy to secure the processing time of the sampling of the input signal Vin and the A / D conversion of the lower bits by the sub ADC 50, and the overall throughput of the A / D conversion can be improved.
  • a general A / D converter can be used for the secondary ADC 50.
  • a Nyquist A / D converter that performs A / D conversion by sampling once to increase the conversion speed is used as the secondary ADC 50, the entire A / D conversion is not required without requiring high-precision techniques such as trimming.
  • a / D conversion of lower bits up to about 10 to 12 bits can be assigned to the sub ADC 50 while maintaining the conversion accuracy. Therefore, in the present embodiment, the number of A / D conversion cycles of the upper bits by the quantizer 20 is significantly reduced while suppressing an increase in A / D conversion error caused by the conversion accuracy of the sub ADC 50. As a result, the speed of A / D conversion can be greatly improved.
  • the non-linearity error of A / D conversion caused by the ratio accuracy between the DAC capacitor C2 and the amplification capacitor C3 can be reduced by increasing the resolution of the A / D conversion of the upper bits by the quantizer 20. Therefore, by assigning a resolution that is sufficiently smaller than the accuracy corresponding to the resolution assigned to the sub ADC 50 to the A / D conversion of the upper bits, the nonlinearity error of the A / D conversion of the upper bits is reduced. The influence on the accuracy of the entire A / D conversion can be sufficiently reduced.
  • the resolution of the entire A / D conversion is 16 bits
  • a resolution of 10 to 12 bits is assigned to the sub ADC 50 for the A / D conversion of the lower bits, and 4 for the A / D conversion of the upper bits by the quantizer 20. Allocate a resolution of ⁇ 6 bits.
  • the A / D converter 400 in this embodiment includes an integrator 70, a quantizer 20, a DAC 30, a secondary ADC 50, and an adder 60. Since the DAC 30 is the same as that of each of the above-described embodiments and modifications, detailed description thereof is omitted.
  • the quantizer 20 is the same as that in the third embodiment.
  • the integrator 70 in this embodiment has a switch S10 in addition to the integrator 10 in the second embodiment.
  • the switch S10 is interposed between the integration capacitor C1, the midpoint of the switch S3, and AGND. Since the switch S10 has the same operation and function as the switch S10 in the third embodiment, it is denoted by the same reference numerals as in the third embodiment.
  • the output terminal of the operational amplifier 11 in the integrator 70, the switches S6 to S8 in the DAC 30, and the midpoint of the DAC capacitor C2 are connected via the switch S15. It is connected. Therefore, by turning on the switches S5, S10, and S15 after turning off the switches S1 to S4 and the switches S6 to S8, the charge of the integration capacitor C1 can be transferred to the DAC capacitor C2.
  • the A / D converter 400 in this embodiment has the same configuration as the A / D converter 300 in the third embodiment except for the integrator 70 and the switch S15.
  • the switch S4 is turned off and the switch S5 is turned on, and the final subtraction is executed.
  • the switch S5 is turned off, the switch S4 is turned on, and the switch S6 is turned on, so that the charge of the DAC capacitor C2 is reset.
  • the switch S6 is turned off and the switches S10 and S15 are turned on.
  • the A / D conversion residual amplification is performed simultaneously with the final subtraction.
  • the residual amplification is performed using the DAC capacitor C2 used for the subtraction.
  • the charge of the DAC capacitor C2 is reset, and the amplification of the residual is started after time t55.
  • the amplified residual of A / D conversion is transferred to the sub ADC 50.
  • the transferred residual is A / D converted by the sub ADC 50 after time t55.
  • the switches S10 and S15 are turned off and the switch S6 is turned on.
  • the switch S1 and the switch S2 are turned on while the switch S3 is in an off state, sampling for the next A / D conversion is started using the integration capacitor C1 as before time t52.
  • time t57 is a period of A / D conversion of the upper bits by the quantizer 20 related to the next A / D conversion
  • the operation of the A / D converter 400 is the same as the period from the time t52 to the time t56. is there.
  • the secondary ADC 50 is not used for the next A / D conversion executed after time t56. That is, in the period from time t56 to time t59, the lower bit A / D conversion related to the previous A / D conversion, the sampling of the input signal Vin related to the next A / D conversion, and the upper bit A / D conversion are performed.
  • the D conversion is executed in parallel.
  • the A / D converter 400 in this embodiment includes a sub ADC 50 that performs A / D conversion of lower bits. For this reason, as in the third embodiment, the number of cycles required for A / D conversion of the upper bits by the quantizer 20 can be reduced.
  • the A / D converter 400 when the transfer of the residual of the A / D conversion to the sub ADC 50 is completed, the A / D of the lower bits by the sub ADC 50 as in the third embodiment. In parallel with the conversion, the sampling for the next A / D conversion and the A / D conversion of the upper bits can be performed. Therefore, the throughput of A / D conversion can be improved.
  • the DAC capacitor C2 of the present embodiment is configured so as to also function as the amplification capacitor C3 of the third embodiment. For this reason, the number of necessary capacitive elements can be reduced, and non-linearity errors in A / D conversion due to the ratio accuracy of the capacitance value between the DAC capacitor C2 and the amplification capacitor C3 do not occur.
  • a / D conversion with a predetermined number of bits such as 4 bits or 8 bits has been described as an example.
  • the A / D converters 100 to 400 may have any number of bits. It is applicable to.
  • each switch operates so as to reset the DAC capacitor C2 or the amplification capacitor C3 during the sampling period of the input signal Vin is described. Any design can be made without departing from the gist of the present disclosure.
  • the single-ended operational amplifier 11 is used as an amplifier has been described for the sake of simplicity.
  • the A / D converters 100 to 400 are configured using a differential operational amplifier instead of the single-ended operational amplifier. You can also

Landscapes

  • Engineering & Computer Science (AREA)
  • Theoretical Computer Science (AREA)
  • Analogue/Digital Conversion (AREA)
  • Compression, Expansion, Code Conversion, And Decoders (AREA)
PCT/JP2016/070760 2015-09-03 2016-07-14 A/d変換器 Ceased WO2017038262A1 (ja)

Priority Applications (2)

Application Number Priority Date Filing Date Title
US15/739,206 US10158369B2 (en) 2015-09-03 2016-07-14 A/D converter
CN201680046653.0A CN107925415B (zh) 2015-09-03 2016-07-14 A/d转换器

Applications Claiming Priority (2)

Application Number Priority Date Filing Date Title
JP2015173922A JP6436022B2 (ja) 2015-09-03 2015-09-03 A/d変換器
JP2015-173922 2015-09-03

Publications (1)

Publication Number Publication Date
WO2017038262A1 true WO2017038262A1 (ja) 2017-03-09

Family

ID=58187284

Family Applications (1)

Application Number Title Priority Date Filing Date
PCT/JP2016/070760 Ceased WO2017038262A1 (ja) 2015-09-03 2016-07-14 A/d変換器

Country Status (4)

Country Link
US (1) US10158369B2 (enExample)
JP (1) JP6436022B2 (enExample)
CN (1) CN107925415B (enExample)
WO (1) WO2017038262A1 (enExample)

Families Citing this family (21)

* Cited by examiner, † Cited by third party
Publication number Priority date Publication date Assignee Title
KR102764007B1 (ko) 2017-01-26 2025-02-06 삼성디스플레이 주식회사 표시 장치
JP7197365B2 (ja) * 2017-03-31 2022-12-27 テレディン ダルサ ビーブイ 電荷パケットを用いたアナログ-デジタル変換器
CN107493105B (zh) * 2017-07-20 2020-07-14 北京控制工程研究所 一种陀螺力矩电流高分辨率转换电路
JP7073727B2 (ja) * 2018-01-11 2022-05-24 株式会社デンソー A/d変換器
CN109191401A (zh) * 2018-08-30 2019-01-11 西安电子科技大学 一种基于并联残差网络模型的红外图像非均匀性校正方法
JP7199924B2 (ja) * 2018-11-12 2023-01-06 株式会社ジャパンディスプレイ センサ装置
JP7124653B2 (ja) * 2018-11-13 2022-08-24 株式会社デンソー Δς変調器、δς変調型a/d変換器およびインクリメンタルδς変調型a/d変換器
JP7176369B2 (ja) * 2018-11-20 2022-11-22 株式会社デンソー A/d変換器
JP6694090B1 (ja) * 2019-03-01 2020-05-13 力晶積成電子製造股▲ふん▼有限公司Powerchip Semiconductor Manufacturing Corporation Da変換回路、不良ビット数検出回路及び不揮発性半導体記憶装置
JP2020188454A (ja) * 2019-05-07 2020-11-19 旭化成エレクトロニクス株式会社 逐次比較型ad変換器及びパイプライン型ad変換器
EP3783798B1 (en) * 2019-08-22 2025-05-14 ams International AG Current to digital converter circuit, optical front end circuit, computed tomography apparatus and method
JP7306174B2 (ja) * 2019-09-09 2023-07-11 株式会社デンソー A/d変換装置
JP7338422B2 (ja) * 2019-11-21 2023-09-05 株式会社デンソー A/d変換器
CN111865317A (zh) * 2020-08-29 2020-10-30 深圳市爱协生科技有限公司 一种混合型sar-adc电路及其设计方法
CN114285415A (zh) * 2020-09-28 2022-04-05 上海复旦微电子集团股份有限公司 模数转换装置
CN112564710B (zh) * 2020-12-14 2023-04-18 峰岧科技(上海)有限公司 模数转换方法、装置、电路及计算机可读存储介质
CN113542642B (zh) * 2021-07-06 2022-10-11 天津大学 局部产生子数模转换器参考电压的模数转换器
TWI807939B (zh) * 2022-07-27 2023-07-01 茂達電子股份有限公司 具有電壓反向機制的光感測器
CN115955247A (zh) * 2023-01-13 2023-04-11 思瑞浦微电子科技(苏州)股份有限公司 无源噪声整形量化器、sigma-delta调制器及信号处理方法
CN119698764A (zh) * 2023-02-15 2025-03-25 华为技术有限公司 模数转换电路及其控制方法、终端
CN119995607B (zh) * 2023-11-13 2025-11-14 圣邦微电子(北京)股份有限公司 Sigma-Delta模数转换器及其量化电路

Citations (5)

* Cited by examiner, † Cited by third party
Publication number Priority date Publication date Assignee Title
JPS62265820A (ja) * 1986-05-14 1987-11-18 Hitachi Ltd A/d変換回路
JPH01164121A (ja) * 1987-09-25 1989-06-28 Honeywell Inc アナログーデジタル変換器装置
JPH02246622A (ja) * 1989-03-20 1990-10-02 Sony Corp 多重積分型a/d変換装置
JPH05218874A (ja) * 1991-09-27 1993-08-27 Hewlett Packard Co <Hp> アナログ・ディジタル変換器及びアナログ・ディジタル変換方法
JP2009177266A (ja) * 2008-01-22 2009-08-06 Riniaseru Design:Kk スイッチトキャパシタ増幅回路

Family Cites Families (25)

* Cited by examiner, † Cited by third party
Publication number Priority date Publication date Assignee Title
US5101206A (en) 1989-12-05 1992-03-31 Hewlett-Packard Company Integrating analog to digital converter
IE901815A1 (en) 1990-05-21 1991-12-04 Univ Cork An analog to digital converter
SE9403736L (sv) 1994-11-01 1996-02-19 Foersvarets Forskningsanstalt Analog-till-digitalomvandlare och sensoranordning innefattande sådan
FR2738426B1 (fr) 1995-08-29 1998-02-13 Univ Neuchatel Dispositif de traitement numerique d'un signal analogique devant etre restitue sous forme analogique
US6243034B1 (en) 1998-10-29 2001-06-05 National Instruments Corporation Integrating analog to digital converter with improved resolution
US6366231B1 (en) * 2000-04-10 2002-04-02 General Electric Company Integrate and fold analog-to-digital converter with saturation prevention
DE60113442T2 (de) 2001-10-31 2006-01-26 Freescale Semiconductors, Inc., Austin Inkrementaler Delta Analog-Digital-Wandler
US7068202B2 (en) * 2003-12-31 2006-06-27 Conexant Systems, Inc. Architecture for an algorithmic analog-to-digital converter
US6784823B1 (en) 2003-12-31 2004-08-31 Winbond Electronics Corp. Rail to rail dual slope ADC
JP2006303671A (ja) * 2005-04-18 2006-11-02 Digian Technology Inc 積分器およびそれを使用する巡回型ad変換装置
JP4662826B2 (ja) * 2005-08-05 2011-03-30 三洋電機株式会社 スイッチ制御回路、δς変調回路、及びδς変調型adコンバータ
US7598896B2 (en) * 2005-09-07 2009-10-06 National University Corporation Shizuoka University A/D converter with noise cancel function
US7893859B2 (en) * 2006-06-08 2011-02-22 National University Corporation Shizuoka University Converter circuit, analog/digital converter, and method for generating digital signals corresponding to analog signals
US7504977B2 (en) * 2007-04-23 2009-03-17 Texas Instruments Incorporated Hybrid delta-sigma/SAR analog to digital converter and methods for using such
KR101565967B1 (ko) 2008-04-21 2015-11-06 삼성전자주식회사 시그마-델타 아날로그-디지털 변환 방법과 그 장치
US8232905B2 (en) 2009-11-19 2012-07-31 Linear Technology Corporation Sequentially configured analog to digital converter
US8264393B2 (en) * 2010-07-09 2012-09-11 Freescale Semiconductor, Inc. Current reduction in a single stage cyclic analog to digital converter with variable resolution
US8378872B2 (en) * 2011-03-31 2013-02-19 Rosemount Inc. Dynamically adjusted A/D resolution
US8451051B2 (en) * 2011-10-04 2013-05-28 Issc Technologies Corp. Dual mode sigma delta analog to digital converter and circuit using the same
CN103138762B (zh) 2011-11-30 2016-04-27 禾瑞亚科技股份有限公司 多阶取样保持电路
US8917196B2 (en) * 2012-01-24 2014-12-23 Asahi Kasei Microdevices Corporation Sampling circuit, A/D converter, D/A converter, and CODEC
US8810443B2 (en) 2012-04-20 2014-08-19 Linear Technology Corporation Analog-to-digital converter system and method
WO2014101172A1 (zh) * 2012-12-31 2014-07-03 香港中国模拟技术有限公司 一种流水线型模数转换器
JP2014146893A (ja) 2013-01-28 2014-08-14 Mitsubishi Electric Corp マルチビットδς変調器およびそれを用いたマルチビットa/d変換器
TWI595471B (zh) * 2013-03-26 2017-08-11 精工愛普生股份有限公司 放大電路、源極驅動器、光電裝置及電子機器

Patent Citations (5)

* Cited by examiner, † Cited by third party
Publication number Priority date Publication date Assignee Title
JPS62265820A (ja) * 1986-05-14 1987-11-18 Hitachi Ltd A/d変換回路
JPH01164121A (ja) * 1987-09-25 1989-06-28 Honeywell Inc アナログーデジタル変換器装置
JPH02246622A (ja) * 1989-03-20 1990-10-02 Sony Corp 多重積分型a/d変換装置
JPH05218874A (ja) * 1991-09-27 1993-08-27 Hewlett Packard Co <Hp> アナログ・ディジタル変換器及びアナログ・ディジタル変換方法
JP2009177266A (ja) * 2008-01-22 2009-08-06 Riniaseru Design:Kk スイッチトキャパシタ増幅回路

Also Published As

Publication number Publication date
CN107925415A (zh) 2018-04-17
CN107925415B (zh) 2021-12-07
US10158369B2 (en) 2018-12-18
US20180212616A1 (en) 2018-07-26
JP2017050776A (ja) 2017-03-09
JP6436022B2 (ja) 2018-12-12

Similar Documents

Publication Publication Date Title
JP6436022B2 (ja) A/d変換器
US9385740B2 (en) SAR ADC and method thereof
US9871534B2 (en) Analog-to-digital converter with embedded noise-shaped truncation, embedded noise-shaped segmentation and/or embedded excess loop delay compensation
US6271782B1 (en) Delta-sigma A/D converter
US8947285B2 (en) ADC with noise-shaping SAR
US20190363731A1 (en) Delta-sigma modulator, delta-sigma a/d converter, and incremental delta-sigma a/d converter
CN115801003B (zh) 一种多步模数转换器及其实现方法
JPH08125541A (ja) デルタシグマ変調器
US10432214B2 (en) Apparatus for applying different transfer functions to code segments of multi-bit output code that are sequentially determined and output by multi-bit quantizer and associated delta-sigma modulator
JP2015103820A (ja) アナログ/ディジタル変換器及びアナログ/ディジタル変換方法
US10804920B2 (en) A/D converter
US10374626B2 (en) Interleaving quantizer in continuous-time delta-sigma modulator for quantization level increment
US20150200682A1 (en) Analog-to-digital conversion apparatus
KR102441025B1 (ko) 반도체 장치 및 그 동작 방법
US9685974B1 (en) Switched capacitor circuit
US10484003B2 (en) A/D converter
WO2017208635A1 (ja) A/d変換器
US12063053B2 (en) Analog-to-digital converter
US20240356560A1 (en) Analog-to-digital converter and operating method thereof
Larsson et al. A background calibration scheme for pipelined ADCs including non-linear operational amplifier gain and reference error correction
JP2022105889A (ja) Ad変換回路
CN109936371B (zh) 连续渐近暂存器式量化器与连续时间三角积分调变器
WO2025052915A1 (ja) 比較回路およびハイブリッド型adコンバータ
WO2025052905A1 (ja) 比較回路、ハイブリッド型adコンバータ、および量子化器
WO2025052955A1 (ja) 比較回路

Legal Events

Date Code Title Description
121 Ep: the epo has been informed by wipo that ep was designated in this application

Ref document number: 16841294

Country of ref document: EP

Kind code of ref document: A1

WWE Wipo information: entry into national phase

Ref document number: 15739206

Country of ref document: US

NENP Non-entry into the national phase

Ref country code: DE

122 Ep: pct application non-entry in european phase

Ref document number: 16841294

Country of ref document: EP

Kind code of ref document: A1