WO2017026243A1 - 車両の駆動装置 - Google Patents

車両の駆動装置 Download PDF

Info

Publication number
WO2017026243A1
WO2017026243A1 PCT/JP2016/071497 JP2016071497W WO2017026243A1 WO 2017026243 A1 WO2017026243 A1 WO 2017026243A1 JP 2016071497 W JP2016071497 W JP 2016071497W WO 2017026243 A1 WO2017026243 A1 WO 2017026243A1
Authority
WO
WIPO (PCT)
Prior art keywords
vehicle
drive device
speed reducer
engine
vehicle drive
Prior art date
Legal status (The legal status is an assumption and is not a legal conclusion. Google has not performed a legal analysis and makes no representation as to the accuracy of the status listed.)
Ceased
Application number
PCT/JP2016/071497
Other languages
English (en)
French (fr)
Japanese (ja)
Inventor
知志 眞貝
佐藤 卓
卓郎 中岡
武雄 前川
啓次 近藤
Current Assignee (The listed assignees may be inaccurate. Google has not performed a legal analysis and makes no representation or warranty as to the accuracy of the list.)
Denso Corp
Original Assignee
Denso Corp
Priority date (The priority date is an assumption and is not a legal conclusion. Google has not performed a legal analysis and makes no representation as to the accuracy of the date listed.)
Filing date
Publication date
Application filed by Denso Corp filed Critical Denso Corp
Priority to CN201680045684.4A priority Critical patent/CN107921858A/zh
Priority to DE112016003613.2T priority patent/DE112016003613T5/de
Priority to US15/748,561 priority patent/US11180017B2/en
Publication of WO2017026243A1 publication Critical patent/WO2017026243A1/ja
Anticipated expiration legal-status Critical
Ceased legal-status Critical Current

Links

Images

Classifications

    • BPERFORMING OPERATIONS; TRANSPORTING
    • B60VEHICLES IN GENERAL
    • B60KARRANGEMENT OR MOUNTING OF PROPULSION UNITS OR OF TRANSMISSIONS IN VEHICLES; ARRANGEMENT OR MOUNTING OF PLURAL DIVERSE PRIME-MOVERS IN VEHICLES; AUXILIARY DRIVES FOR VEHICLES; INSTRUMENTATION OR DASHBOARDS FOR VEHICLES; ARRANGEMENTS IN CONNECTION WITH COOLING, AIR INTAKE, GAS EXHAUST OR FUEL SUPPLY OF PROPULSION UNITS IN VEHICLES
    • B60K6/00Arrangement or mounting of plural diverse prime-movers for mutual or common propulsion, e.g. hybrid propulsion systems comprising electric motors and internal combustion engines
    • B60K6/20Arrangement or mounting of plural diverse prime-movers for mutual or common propulsion, e.g. hybrid propulsion systems comprising electric motors and internal combustion engines the prime-movers consisting of electric motors and internal combustion engines, e.g. HEVs
    • B60K6/22Arrangement or mounting of plural diverse prime-movers for mutual or common propulsion, e.g. hybrid propulsion systems comprising electric motors and internal combustion engines the prime-movers consisting of electric motors and internal combustion engines, e.g. HEVs characterised by apparatus, components or means specially adapted for HEVs
    • B60K6/40Arrangement or mounting of plural diverse prime-movers for mutual or common propulsion, e.g. hybrid propulsion systems comprising electric motors and internal combustion engines the prime-movers consisting of electric motors and internal combustion engines, e.g. HEVs characterised by apparatus, components or means specially adapted for HEVs characterised by the assembly or relative disposition of components
    • B60K6/405Housings
    • BPERFORMING OPERATIONS; TRANSPORTING
    • B60VEHICLES IN GENERAL
    • B60KARRANGEMENT OR MOUNTING OF PROPULSION UNITS OR OF TRANSMISSIONS IN VEHICLES; ARRANGEMENT OR MOUNTING OF PLURAL DIVERSE PRIME-MOVERS IN VEHICLES; AUXILIARY DRIVES FOR VEHICLES; INSTRUMENTATION OR DASHBOARDS FOR VEHICLES; ARRANGEMENTS IN CONNECTION WITH COOLING, AIR INTAKE, GAS EXHAUST OR FUEL SUPPLY OF PROPULSION UNITS IN VEHICLES
    • B60K1/00Arrangement or mounting of electrical propulsion units
    • BPERFORMING OPERATIONS; TRANSPORTING
    • B60VEHICLES IN GENERAL
    • B60KARRANGEMENT OR MOUNTING OF PROPULSION UNITS OR OF TRANSMISSIONS IN VEHICLES; ARRANGEMENT OR MOUNTING OF PLURAL DIVERSE PRIME-MOVERS IN VEHICLES; AUXILIARY DRIVES FOR VEHICLES; INSTRUMENTATION OR DASHBOARDS FOR VEHICLES; ARRANGEMENTS IN CONNECTION WITH COOLING, AIR INTAKE, GAS EXHAUST OR FUEL SUPPLY OF PROPULSION UNITS IN VEHICLES
    • B60K1/00Arrangement or mounting of electrical propulsion units
    • B60K1/02Arrangement or mounting of electrical propulsion units comprising more than one electric motor
    • BPERFORMING OPERATIONS; TRANSPORTING
    • B60VEHICLES IN GENERAL
    • B60KARRANGEMENT OR MOUNTING OF PROPULSION UNITS OR OF TRANSMISSIONS IN VEHICLES; ARRANGEMENT OR MOUNTING OF PLURAL DIVERSE PRIME-MOVERS IN VEHICLES; AUXILIARY DRIVES FOR VEHICLES; INSTRUMENTATION OR DASHBOARDS FOR VEHICLES; ARRANGEMENTS IN CONNECTION WITH COOLING, AIR INTAKE, GAS EXHAUST OR FUEL SUPPLY OF PROPULSION UNITS IN VEHICLES
    • B60K17/00Arrangement or mounting of transmissions in vehicles
    • B60K17/02Arrangement or mounting of transmissions in vehicles characterised by arrangement, location, or kind of clutch
    • BPERFORMING OPERATIONS; TRANSPORTING
    • B60VEHICLES IN GENERAL
    • B60KARRANGEMENT OR MOUNTING OF PROPULSION UNITS OR OF TRANSMISSIONS IN VEHICLES; ARRANGEMENT OR MOUNTING OF PLURAL DIVERSE PRIME-MOVERS IN VEHICLES; AUXILIARY DRIVES FOR VEHICLES; INSTRUMENTATION OR DASHBOARDS FOR VEHICLES; ARRANGEMENTS IN CONNECTION WITH COOLING, AIR INTAKE, GAS EXHAUST OR FUEL SUPPLY OF PROPULSION UNITS IN VEHICLES
    • B60K17/00Arrangement or mounting of transmissions in vehicles
    • B60K17/04Arrangement or mounting of transmissions in vehicles characterised by arrangement, location or kind of gearing
    • BPERFORMING OPERATIONS; TRANSPORTING
    • B60VEHICLES IN GENERAL
    • B60KARRANGEMENT OR MOUNTING OF PROPULSION UNITS OR OF TRANSMISSIONS IN VEHICLES; ARRANGEMENT OR MOUNTING OF PLURAL DIVERSE PRIME-MOVERS IN VEHICLES; AUXILIARY DRIVES FOR VEHICLES; INSTRUMENTATION OR DASHBOARDS FOR VEHICLES; ARRANGEMENTS IN CONNECTION WITH COOLING, AIR INTAKE, GAS EXHAUST OR FUEL SUPPLY OF PROPULSION UNITS IN VEHICLES
    • B60K6/00Arrangement or mounting of plural diverse prime-movers for mutual or common propulsion, e.g. hybrid propulsion systems comprising electric motors and internal combustion engines
    • B60K6/20Arrangement or mounting of plural diverse prime-movers for mutual or common propulsion, e.g. hybrid propulsion systems comprising electric motors and internal combustion engines the prime-movers consisting of electric motors and internal combustion engines, e.g. HEVs
    • B60K6/22Arrangement or mounting of plural diverse prime-movers for mutual or common propulsion, e.g. hybrid propulsion systems comprising electric motors and internal combustion engines the prime-movers consisting of electric motors and internal combustion engines, e.g. HEVs characterised by apparatus, components or means specially adapted for HEVs
    • B60K6/26Arrangement or mounting of plural diverse prime-movers for mutual or common propulsion, e.g. hybrid propulsion systems comprising electric motors and internal combustion engines the prime-movers consisting of electric motors and internal combustion engines, e.g. HEVs characterised by apparatus, components or means specially adapted for HEVs characterised by the motors or the generators
    • BPERFORMING OPERATIONS; TRANSPORTING
    • B60VEHICLES IN GENERAL
    • B60KARRANGEMENT OR MOUNTING OF PROPULSION UNITS OR OF TRANSMISSIONS IN VEHICLES; ARRANGEMENT OR MOUNTING OF PLURAL DIVERSE PRIME-MOVERS IN VEHICLES; AUXILIARY DRIVES FOR VEHICLES; INSTRUMENTATION OR DASHBOARDS FOR VEHICLES; ARRANGEMENTS IN CONNECTION WITH COOLING, AIR INTAKE, GAS EXHAUST OR FUEL SUPPLY OF PROPULSION UNITS IN VEHICLES
    • B60K6/00Arrangement or mounting of plural diverse prime-movers for mutual or common propulsion, e.g. hybrid propulsion systems comprising electric motors and internal combustion engines
    • B60K6/20Arrangement or mounting of plural diverse prime-movers for mutual or common propulsion, e.g. hybrid propulsion systems comprising electric motors and internal combustion engines the prime-movers consisting of electric motors and internal combustion engines, e.g. HEVs
    • B60K6/22Arrangement or mounting of plural diverse prime-movers for mutual or common propulsion, e.g. hybrid propulsion systems comprising electric motors and internal combustion engines the prime-movers consisting of electric motors and internal combustion engines, e.g. HEVs characterised by apparatus, components or means specially adapted for HEVs
    • B60K6/38Arrangement or mounting of plural diverse prime-movers for mutual or common propulsion, e.g. hybrid propulsion systems comprising electric motors and internal combustion engines the prime-movers consisting of electric motors and internal combustion engines, e.g. HEVs characterised by apparatus, components or means specially adapted for HEVs characterised by the driveline clutches
    • B60K6/387Actuated clutches, i.e. clutches engaged or disengaged by electric, hydraulic or mechanical actuating means
    • BPERFORMING OPERATIONS; TRANSPORTING
    • B60VEHICLES IN GENERAL
    • B60KARRANGEMENT OR MOUNTING OF PROPULSION UNITS OR OF TRANSMISSIONS IN VEHICLES; ARRANGEMENT OR MOUNTING OF PLURAL DIVERSE PRIME-MOVERS IN VEHICLES; AUXILIARY DRIVES FOR VEHICLES; INSTRUMENTATION OR DASHBOARDS FOR VEHICLES; ARRANGEMENTS IN CONNECTION WITH COOLING, AIR INTAKE, GAS EXHAUST OR FUEL SUPPLY OF PROPULSION UNITS IN VEHICLES
    • B60K6/00Arrangement or mounting of plural diverse prime-movers for mutual or common propulsion, e.g. hybrid propulsion systems comprising electric motors and internal combustion engines
    • B60K6/20Arrangement or mounting of plural diverse prime-movers for mutual or common propulsion, e.g. hybrid propulsion systems comprising electric motors and internal combustion engines the prime-movers consisting of electric motors and internal combustion engines, e.g. HEVs
    • B60K6/22Arrangement or mounting of plural diverse prime-movers for mutual or common propulsion, e.g. hybrid propulsion systems comprising electric motors and internal combustion engines the prime-movers consisting of electric motors and internal combustion engines, e.g. HEVs characterised by apparatus, components or means specially adapted for HEVs
    • B60K6/40Arrangement or mounting of plural diverse prime-movers for mutual or common propulsion, e.g. hybrid propulsion systems comprising electric motors and internal combustion engines the prime-movers consisting of electric motors and internal combustion engines, e.g. HEVs characterised by apparatus, components or means specially adapted for HEVs characterised by the assembly or relative disposition of components
    • BPERFORMING OPERATIONS; TRANSPORTING
    • B60VEHICLES IN GENERAL
    • B60KARRANGEMENT OR MOUNTING OF PROPULSION UNITS OR OF TRANSMISSIONS IN VEHICLES; ARRANGEMENT OR MOUNTING OF PLURAL DIVERSE PRIME-MOVERS IN VEHICLES; AUXILIARY DRIVES FOR VEHICLES; INSTRUMENTATION OR DASHBOARDS FOR VEHICLES; ARRANGEMENTS IN CONNECTION WITH COOLING, AIR INTAKE, GAS EXHAUST OR FUEL SUPPLY OF PROPULSION UNITS IN VEHICLES
    • B60K6/00Arrangement or mounting of plural diverse prime-movers for mutual or common propulsion, e.g. hybrid propulsion systems comprising electric motors and internal combustion engines
    • B60K6/20Arrangement or mounting of plural diverse prime-movers for mutual or common propulsion, e.g. hybrid propulsion systems comprising electric motors and internal combustion engines the prime-movers consisting of electric motors and internal combustion engines, e.g. HEVs
    • B60K6/42Arrangement or mounting of plural diverse prime-movers for mutual or common propulsion, e.g. hybrid propulsion systems comprising electric motors and internal combustion engines the prime-movers consisting of electric motors and internal combustion engines, e.g. HEVs characterised by the architecture of the hybrid electric vehicle
    • B60K6/44Series-parallel type
    • B60K6/448Electrical distribution type
    • BPERFORMING OPERATIONS; TRANSPORTING
    • B60VEHICLES IN GENERAL
    • B60KARRANGEMENT OR MOUNTING OF PROPULSION UNITS OR OF TRANSMISSIONS IN VEHICLES; ARRANGEMENT OR MOUNTING OF PLURAL DIVERSE PRIME-MOVERS IN VEHICLES; AUXILIARY DRIVES FOR VEHICLES; INSTRUMENTATION OR DASHBOARDS FOR VEHICLES; ARRANGEMENTS IN CONNECTION WITH COOLING, AIR INTAKE, GAS EXHAUST OR FUEL SUPPLY OF PROPULSION UNITS IN VEHICLES
    • B60K6/00Arrangement or mounting of plural diverse prime-movers for mutual or common propulsion, e.g. hybrid propulsion systems comprising electric motors and internal combustion engines
    • B60K6/20Arrangement or mounting of plural diverse prime-movers for mutual or common propulsion, e.g. hybrid propulsion systems comprising electric motors and internal combustion engines the prime-movers consisting of electric motors and internal combustion engines, e.g. HEVs
    • B60K6/42Arrangement or mounting of plural diverse prime-movers for mutual or common propulsion, e.g. hybrid propulsion systems comprising electric motors and internal combustion engines the prime-movers consisting of electric motors and internal combustion engines, e.g. HEVs characterised by the architecture of the hybrid electric vehicle
    • B60K6/48Parallel type
    • BPERFORMING OPERATIONS; TRANSPORTING
    • B60VEHICLES IN GENERAL
    • B60KARRANGEMENT OR MOUNTING OF PROPULSION UNITS OR OF TRANSMISSIONS IN VEHICLES; ARRANGEMENT OR MOUNTING OF PLURAL DIVERSE PRIME-MOVERS IN VEHICLES; AUXILIARY DRIVES FOR VEHICLES; INSTRUMENTATION OR DASHBOARDS FOR VEHICLES; ARRANGEMENTS IN CONNECTION WITH COOLING, AIR INTAKE, GAS EXHAUST OR FUEL SUPPLY OF PROPULSION UNITS IN VEHICLES
    • B60K6/00Arrangement or mounting of plural diverse prime-movers for mutual or common propulsion, e.g. hybrid propulsion systems comprising electric motors and internal combustion engines
    • B60K6/20Arrangement or mounting of plural diverse prime-movers for mutual or common propulsion, e.g. hybrid propulsion systems comprising electric motors and internal combustion engines the prime-movers consisting of electric motors and internal combustion engines, e.g. HEVs
    • B60K6/50Architecture of the driveline characterised by arrangement or kind of transmission units
    • B60K6/52Driving a plurality of drive axles, e.g. four-wheel drive
    • BPERFORMING OPERATIONS; TRANSPORTING
    • B60VEHICLES IN GENERAL
    • B60LPROPULSION OF ELECTRICALLY-PROPELLED VEHICLES; SUPPLYING ELECTRIC POWER FOR AUXILIARY EQUIPMENT OF ELECTRICALLY-PROPELLED VEHICLES; ELECTRODYNAMIC BRAKE SYSTEMS FOR VEHICLES IN GENERAL; MAGNETIC SUSPENSION OR LEVITATION FOR VEHICLES; MONITORING OPERATING VARIABLES OF ELECTRICALLY-PROPELLED VEHICLES; ELECTRIC SAFETY DEVICES FOR ELECTRICALLY-PROPELLED VEHICLES
    • B60L15/00Methods, circuits, or devices for controlling the traction-motor speed of electrically-propelled vehicles
    • B60L15/20Methods, circuits, or devices for controlling the traction-motor speed of electrically-propelled vehicles for control of the vehicle or its driving motor to achieve a desired performance, e.g. speed, torque, programmed variation of speed
    • BPERFORMING OPERATIONS; TRANSPORTING
    • B60VEHICLES IN GENERAL
    • B60LPROPULSION OF ELECTRICALLY-PROPELLED VEHICLES; SUPPLYING ELECTRIC POWER FOR AUXILIARY EQUIPMENT OF ELECTRICALLY-PROPELLED VEHICLES; ELECTRODYNAMIC BRAKE SYSTEMS FOR VEHICLES IN GENERAL; MAGNETIC SUSPENSION OR LEVITATION FOR VEHICLES; MONITORING OPERATING VARIABLES OF ELECTRICALLY-PROPELLED VEHICLES; ELECTRIC SAFETY DEVICES FOR ELECTRICALLY-PROPELLED VEHICLES
    • B60L15/00Methods, circuits, or devices for controlling the traction-motor speed of electrically-propelled vehicles
    • B60L15/20Methods, circuits, or devices for controlling the traction-motor speed of electrically-propelled vehicles for control of the vehicle or its driving motor to achieve a desired performance, e.g. speed, torque, programmed variation of speed
    • B60L15/2054Methods, circuits, or devices for controlling the traction-motor speed of electrically-propelled vehicles for control of the vehicle or its driving motor to achieve a desired performance, e.g. speed, torque, programmed variation of speed by controlling transmissions or clutches
    • BPERFORMING OPERATIONS; TRANSPORTING
    • B60VEHICLES IN GENERAL
    • B60LPROPULSION OF ELECTRICALLY-PROPELLED VEHICLES; SUPPLYING ELECTRIC POWER FOR AUXILIARY EQUIPMENT OF ELECTRICALLY-PROPELLED VEHICLES; ELECTRODYNAMIC BRAKE SYSTEMS FOR VEHICLES IN GENERAL; MAGNETIC SUSPENSION OR LEVITATION FOR VEHICLES; MONITORING OPERATING VARIABLES OF ELECTRICALLY-PROPELLED VEHICLES; ELECTRIC SAFETY DEVICES FOR ELECTRICALLY-PROPELLED VEHICLES
    • B60L15/00Methods, circuits, or devices for controlling the traction-motor speed of electrically-propelled vehicles
    • B60L15/20Methods, circuits, or devices for controlling the traction-motor speed of electrically-propelled vehicles for control of the vehicle or its driving motor to achieve a desired performance, e.g. speed, torque, programmed variation of speed
    • B60L15/22Methods, circuits, or devices for controlling the traction-motor speed of electrically-propelled vehicles for control of the vehicle or its driving motor to achieve a desired performance, e.g. speed, torque, programmed variation of speed with sequential operation of interdependent switches, e.g. relays, contactors, programme drum
    • BPERFORMING OPERATIONS; TRANSPORTING
    • B60VEHICLES IN GENERAL
    • B60LPROPULSION OF ELECTRICALLY-PROPELLED VEHICLES; SUPPLYING ELECTRIC POWER FOR AUXILIARY EQUIPMENT OF ELECTRICALLY-PROPELLED VEHICLES; ELECTRODYNAMIC BRAKE SYSTEMS FOR VEHICLES IN GENERAL; MAGNETIC SUSPENSION OR LEVITATION FOR VEHICLES; MONITORING OPERATING VARIABLES OF ELECTRICALLY-PROPELLED VEHICLES; ELECTRIC SAFETY DEVICES FOR ELECTRICALLY-PROPELLED VEHICLES
    • B60L50/00Electric propulsion with power supplied within the vehicle
    • B60L50/10Electric propulsion with power supplied within the vehicle using propulsion power supplied by engine-driven generators, e.g. generators driven by combustion engines
    • B60L50/15Electric propulsion with power supplied within the vehicle using propulsion power supplied by engine-driven generators, e.g. generators driven by combustion engines with additional electric power supply
    • BPERFORMING OPERATIONS; TRANSPORTING
    • B60VEHICLES IN GENERAL
    • B60LPROPULSION OF ELECTRICALLY-PROPELLED VEHICLES; SUPPLYING ELECTRIC POWER FOR AUXILIARY EQUIPMENT OF ELECTRICALLY-PROPELLED VEHICLES; ELECTRODYNAMIC BRAKE SYSTEMS FOR VEHICLES IN GENERAL; MAGNETIC SUSPENSION OR LEVITATION FOR VEHICLES; MONITORING OPERATING VARIABLES OF ELECTRICALLY-PROPELLED VEHICLES; ELECTRIC SAFETY DEVICES FOR ELECTRICALLY-PROPELLED VEHICLES
    • B60L50/00Electric propulsion with power supplied within the vehicle
    • B60L50/10Electric propulsion with power supplied within the vehicle using propulsion power supplied by engine-driven generators, e.g. generators driven by combustion engines
    • B60L50/16Electric propulsion with power supplied within the vehicle using propulsion power supplied by engine-driven generators, e.g. generators driven by combustion engines with provision for separate direct mechanical propulsion
    • BPERFORMING OPERATIONS; TRANSPORTING
    • B60VEHICLES IN GENERAL
    • B60LPROPULSION OF ELECTRICALLY-PROPELLED VEHICLES; SUPPLYING ELECTRIC POWER FOR AUXILIARY EQUIPMENT OF ELECTRICALLY-PROPELLED VEHICLES; ELECTRODYNAMIC BRAKE SYSTEMS FOR VEHICLES IN GENERAL; MAGNETIC SUSPENSION OR LEVITATION FOR VEHICLES; MONITORING OPERATING VARIABLES OF ELECTRICALLY-PROPELLED VEHICLES; ELECTRIC SAFETY DEVICES FOR ELECTRICALLY-PROPELLED VEHICLES
    • B60L9/00Electric propulsion with power supply external to the vehicle
    • B60L9/16Electric propulsion with power supply external to the vehicle using AC induction motors
    • B60L9/18Electric propulsion with power supply external to the vehicle using AC induction motors fed from DC supply lines
    • BPERFORMING OPERATIONS; TRANSPORTING
    • B60VEHICLES IN GENERAL
    • B60KARRANGEMENT OR MOUNTING OF PROPULSION UNITS OR OF TRANSMISSIONS IN VEHICLES; ARRANGEMENT OR MOUNTING OF PLURAL DIVERSE PRIME-MOVERS IN VEHICLES; AUXILIARY DRIVES FOR VEHICLES; INSTRUMENTATION OR DASHBOARDS FOR VEHICLES; ARRANGEMENTS IN CONNECTION WITH COOLING, AIR INTAKE, GAS EXHAUST OR FUEL SUPPLY OF PROPULSION UNITS IN VEHICLES
    • B60K1/00Arrangement or mounting of electrical propulsion units
    • B60K1/04Arrangement or mounting of electrical propulsion units of the electric storage means for propulsion
    • BPERFORMING OPERATIONS; TRANSPORTING
    • B60VEHICLES IN GENERAL
    • B60KARRANGEMENT OR MOUNTING OF PROPULSION UNITS OR OF TRANSMISSIONS IN VEHICLES; ARRANGEMENT OR MOUNTING OF PLURAL DIVERSE PRIME-MOVERS IN VEHICLES; AUXILIARY DRIVES FOR VEHICLES; INSTRUMENTATION OR DASHBOARDS FOR VEHICLES; ARRANGEMENTS IN CONNECTION WITH COOLING, AIR INTAKE, GAS EXHAUST OR FUEL SUPPLY OF PROPULSION UNITS IN VEHICLES
    • B60K17/00Arrangement or mounting of transmissions in vehicles
    • B60K17/04Arrangement or mounting of transmissions in vehicles characterised by arrangement, location or kind of gearing
    • B60K17/16Arrangement or mounting of transmissions in vehicles characterised by arrangement, location or kind of gearing of differential gearing
    • BPERFORMING OPERATIONS; TRANSPORTING
    • B60VEHICLES IN GENERAL
    • B60KARRANGEMENT OR MOUNTING OF PROPULSION UNITS OR OF TRANSMISSIONS IN VEHICLES; ARRANGEMENT OR MOUNTING OF PLURAL DIVERSE PRIME-MOVERS IN VEHICLES; AUXILIARY DRIVES FOR VEHICLES; INSTRUMENTATION OR DASHBOARDS FOR VEHICLES; ARRANGEMENTS IN CONNECTION WITH COOLING, AIR INTAKE, GAS EXHAUST OR FUEL SUPPLY OF PROPULSION UNITS IN VEHICLES
    • B60K6/00Arrangement or mounting of plural diverse prime-movers for mutual or common propulsion, e.g. hybrid propulsion systems comprising electric motors and internal combustion engines
    • B60K6/20Arrangement or mounting of plural diverse prime-movers for mutual or common propulsion, e.g. hybrid propulsion systems comprising electric motors and internal combustion engines the prime-movers consisting of electric motors and internal combustion engines, e.g. HEVs
    • B60K6/42Arrangement or mounting of plural diverse prime-movers for mutual or common propulsion, e.g. hybrid propulsion systems comprising electric motors and internal combustion engines the prime-movers consisting of electric motors and internal combustion engines, e.g. HEVs characterised by the architecture of the hybrid electric vehicle
    • B60K6/48Parallel type
    • B60K2006/4808Electric machine connected or connectable to gearbox output shaft
    • BPERFORMING OPERATIONS; TRANSPORTING
    • B60VEHICLES IN GENERAL
    • B60KARRANGEMENT OR MOUNTING OF PROPULSION UNITS OR OF TRANSMISSIONS IN VEHICLES; ARRANGEMENT OR MOUNTING OF PLURAL DIVERSE PRIME-MOVERS IN VEHICLES; AUXILIARY DRIVES FOR VEHICLES; INSTRUMENTATION OR DASHBOARDS FOR VEHICLES; ARRANGEMENTS IN CONNECTION WITH COOLING, AIR INTAKE, GAS EXHAUST OR FUEL SUPPLY OF PROPULSION UNITS IN VEHICLES
    • B60K6/00Arrangement or mounting of plural diverse prime-movers for mutual or common propulsion, e.g. hybrid propulsion systems comprising electric motors and internal combustion engines
    • B60K6/20Arrangement or mounting of plural diverse prime-movers for mutual or common propulsion, e.g. hybrid propulsion systems comprising electric motors and internal combustion engines the prime-movers consisting of electric motors and internal combustion engines, e.g. HEVs
    • B60K6/42Arrangement or mounting of plural diverse prime-movers for mutual or common propulsion, e.g. hybrid propulsion systems comprising electric motors and internal combustion engines the prime-movers consisting of electric motors and internal combustion engines, e.g. HEVs characterised by the architecture of the hybrid electric vehicle
    • B60K6/48Parallel type
    • B60K2006/4833Step up or reduction gearing driving generator, e.g. to operate generator in most efficient speed range
    • BPERFORMING OPERATIONS; TRANSPORTING
    • B60VEHICLES IN GENERAL
    • B60KARRANGEMENT OR MOUNTING OF PROPULSION UNITS OR OF TRANSMISSIONS IN VEHICLES; ARRANGEMENT OR MOUNTING OF PLURAL DIVERSE PRIME-MOVERS IN VEHICLES; AUXILIARY DRIVES FOR VEHICLES; INSTRUMENTATION OR DASHBOARDS FOR VEHICLES; ARRANGEMENTS IN CONNECTION WITH COOLING, AIR INTAKE, GAS EXHAUST OR FUEL SUPPLY OF PROPULSION UNITS IN VEHICLES
    • B60K6/00Arrangement or mounting of plural diverse prime-movers for mutual or common propulsion, e.g. hybrid propulsion systems comprising electric motors and internal combustion engines
    • B60K6/20Arrangement or mounting of plural diverse prime-movers for mutual or common propulsion, e.g. hybrid propulsion systems comprising electric motors and internal combustion engines the prime-movers consisting of electric motors and internal combustion engines, e.g. HEVs
    • B60K6/50Architecture of the driveline characterised by arrangement or kind of transmission units
    • B60K6/54Transmission for changing ratio
    • BPERFORMING OPERATIONS; TRANSPORTING
    • B60VEHICLES IN GENERAL
    • B60KARRANGEMENT OR MOUNTING OF PROPULSION UNITS OR OF TRANSMISSIONS IN VEHICLES; ARRANGEMENT OR MOUNTING OF PLURAL DIVERSE PRIME-MOVERS IN VEHICLES; AUXILIARY DRIVES FOR VEHICLES; INSTRUMENTATION OR DASHBOARDS FOR VEHICLES; ARRANGEMENTS IN CONNECTION WITH COOLING, AIR INTAKE, GAS EXHAUST OR FUEL SUPPLY OF PROPULSION UNITS IN VEHICLES
    • B60K6/00Arrangement or mounting of plural diverse prime-movers for mutual or common propulsion, e.g. hybrid propulsion systems comprising electric motors and internal combustion engines
    • B60K6/20Arrangement or mounting of plural diverse prime-movers for mutual or common propulsion, e.g. hybrid propulsion systems comprising electric motors and internal combustion engines the prime-movers consisting of electric motors and internal combustion engines, e.g. HEVs
    • B60K6/50Architecture of the driveline characterised by arrangement or kind of transmission units
    • B60K6/54Transmission for changing ratio
    • B60K6/543Transmission for changing ratio the transmission being a continuously variable transmission
    • BPERFORMING OPERATIONS; TRANSPORTING
    • B60VEHICLES IN GENERAL
    • B60KARRANGEMENT OR MOUNTING OF PROPULSION UNITS OR OF TRANSMISSIONS IN VEHICLES; ARRANGEMENT OR MOUNTING OF PLURAL DIVERSE PRIME-MOVERS IN VEHICLES; AUXILIARY DRIVES FOR VEHICLES; INSTRUMENTATION OR DASHBOARDS FOR VEHICLES; ARRANGEMENTS IN CONNECTION WITH COOLING, AIR INTAKE, GAS EXHAUST OR FUEL SUPPLY OF PROPULSION UNITS IN VEHICLES
    • B60K6/00Arrangement or mounting of plural diverse prime-movers for mutual or common propulsion, e.g. hybrid propulsion systems comprising electric motors and internal combustion engines
    • B60K6/20Arrangement or mounting of plural diverse prime-movers for mutual or common propulsion, e.g. hybrid propulsion systems comprising electric motors and internal combustion engines the prime-movers consisting of electric motors and internal combustion engines, e.g. HEVs
    • B60K6/50Architecture of the driveline characterised by arrangement or kind of transmission units
    • B60K6/54Transmission for changing ratio
    • B60K6/547Transmission for changing ratio the transmission being a stepped gearing
    • BPERFORMING OPERATIONS; TRANSPORTING
    • B60VEHICLES IN GENERAL
    • B60LPROPULSION OF ELECTRICALLY-PROPELLED VEHICLES; SUPPLYING ELECTRIC POWER FOR AUXILIARY EQUIPMENT OF ELECTRICALLY-PROPELLED VEHICLES; ELECTRODYNAMIC BRAKE SYSTEMS FOR VEHICLES IN GENERAL; MAGNETIC SUSPENSION OR LEVITATION FOR VEHICLES; MONITORING OPERATING VARIABLES OF ELECTRICALLY-PROPELLED VEHICLES; ELECTRIC SAFETY DEVICES FOR ELECTRICALLY-PROPELLED VEHICLES
    • B60L2220/00Electrical machine types; Structures or applications thereof
    • B60L2220/40Electrical machine applications
    • B60L2220/42Electrical machine applications with use of more than one motor
    • BPERFORMING OPERATIONS; TRANSPORTING
    • B60VEHICLES IN GENERAL
    • B60LPROPULSION OF ELECTRICALLY-PROPELLED VEHICLES; SUPPLYING ELECTRIC POWER FOR AUXILIARY EQUIPMENT OF ELECTRICALLY-PROPELLED VEHICLES; ELECTRODYNAMIC BRAKE SYSTEMS FOR VEHICLES IN GENERAL; MAGNETIC SUSPENSION OR LEVITATION FOR VEHICLES; MONITORING OPERATING VARIABLES OF ELECTRICALLY-PROPELLED VEHICLES; ELECTRIC SAFETY DEVICES FOR ELECTRICALLY-PROPELLED VEHICLES
    • B60L2260/00Operating Modes
    • B60L2260/20Drive modes; Transition between modes
    • B60L2260/28Four wheel or all wheel drive
    • YGENERAL TAGGING OF NEW TECHNOLOGICAL DEVELOPMENTS; GENERAL TAGGING OF CROSS-SECTIONAL TECHNOLOGIES SPANNING OVER SEVERAL SECTIONS OF THE IPC; TECHNICAL SUBJECTS COVERED BY FORMER USPC CROSS-REFERENCE ART COLLECTIONS [XRACs] AND DIGESTS
    • Y02TECHNOLOGIES OR APPLICATIONS FOR MITIGATION OR ADAPTATION AGAINST CLIMATE CHANGE
    • Y02TCLIMATE CHANGE MITIGATION TECHNOLOGIES RELATED TO TRANSPORTATION
    • Y02T10/00Road transport of goods or passengers
    • Y02T10/60Other road transportation technologies with climate change mitigation effect
    • Y02T10/62Hybrid vehicles
    • YGENERAL TAGGING OF NEW TECHNOLOGICAL DEVELOPMENTS; GENERAL TAGGING OF CROSS-SECTIONAL TECHNOLOGIES SPANNING OVER SEVERAL SECTIONS OF THE IPC; TECHNICAL SUBJECTS COVERED BY FORMER USPC CROSS-REFERENCE ART COLLECTIONS [XRACs] AND DIGESTS
    • Y02TECHNOLOGIES OR APPLICATIONS FOR MITIGATION OR ADAPTATION AGAINST CLIMATE CHANGE
    • Y02TCLIMATE CHANGE MITIGATION TECHNOLOGIES RELATED TO TRANSPORTATION
    • Y02T10/00Road transport of goods or passengers
    • Y02T10/60Other road transportation technologies with climate change mitigation effect
    • Y02T10/64Electric machine technologies in electromobility
    • YGENERAL TAGGING OF NEW TECHNOLOGICAL DEVELOPMENTS; GENERAL TAGGING OF CROSS-SECTIONAL TECHNOLOGIES SPANNING OVER SEVERAL SECTIONS OF THE IPC; TECHNICAL SUBJECTS COVERED BY FORMER USPC CROSS-REFERENCE ART COLLECTIONS [XRACs] AND DIGESTS
    • Y02TECHNOLOGIES OR APPLICATIONS FOR MITIGATION OR ADAPTATION AGAINST CLIMATE CHANGE
    • Y02TCLIMATE CHANGE MITIGATION TECHNOLOGIES RELATED TO TRANSPORTATION
    • Y02T10/00Road transport of goods or passengers
    • Y02T10/60Other road transportation technologies with climate change mitigation effect
    • Y02T10/7072Electromobility specific charging systems or methods for batteries, ultracapacitors, supercapacitors or double-layer capacitors
    • YGENERAL TAGGING OF NEW TECHNOLOGICAL DEVELOPMENTS; GENERAL TAGGING OF CROSS-SECTIONAL TECHNOLOGIES SPANNING OVER SEVERAL SECTIONS OF THE IPC; TECHNICAL SUBJECTS COVERED BY FORMER USPC CROSS-REFERENCE ART COLLECTIONS [XRACs] AND DIGESTS
    • Y02TECHNOLOGIES OR APPLICATIONS FOR MITIGATION OR ADAPTATION AGAINST CLIMATE CHANGE
    • Y02TCLIMATE CHANGE MITIGATION TECHNOLOGIES RELATED TO TRANSPORTATION
    • Y02T10/00Road transport of goods or passengers
    • Y02T10/60Other road transportation technologies with climate change mitigation effect
    • Y02T10/72Electric energy management in electromobility

Definitions

  • the present disclosure relates to a vehicle drive device including an engine and a motor generator as a power source of the vehicle.
  • a hybrid vehicle equipped with an engine and a motor generator (hereinafter referred to as “MG”) as a power source of the vehicle has attracted attention because of the social demand for low fuel consumption and low exhaust emissions.
  • MG motor generator
  • Such a hybrid vehicle includes, for example, one described in Patent Document 1 (Japanese Patent No. 3350314).
  • a transmission is connected to an engine via a clutch, a drive shaft of a wheel is connected to an output shaft of the transmission via a differential gear (differential gear mechanism), and four rings are connected to a ring gear of the differential gear.
  • An object of the present disclosure is to provide a vehicle drive device that can realize EV traveling even with a small MG and can easily secure a space for mounting the MG.
  • a first aspect of the present disclosure includes an engine serving as a power source of a vehicle and a transmission connected to the engine, and an axial direction of an output shaft of the engine is a lateral direction of the vehicle.
  • a motor generator hereinafter referred to as “MG”
  • MG motor generator
  • the shaft is connected so that power can be transmitted.
  • the power of the MG can be transmitted to the wheel drive shaft via the speed reducer, so that even a small MG can generate the shaft torque necessary for EV travel, which is an important function of the hybrid vehicle.
  • a certain EV traveling can be realized.
  • the engine power can be transmitted to the drive shaft via the transmission, so that the engine power can be sufficiently self-running (self-running). Even under a high load such as towing, the driving force equivalent to or higher than that of the engine car as a base can be exhibited. Since the MG is located outside the engine room (that is, near the center of the vehicle body), even if a collision accident occurs, the damage to the MG is reduced and the MG is prevented from being exposed to the outside of the vehicle. Can also be reduced.
  • the amount of heat generation tends to increase particularly in the case of a small MG.
  • the driving of the MG needs to be limited.
  • the liquid refrigerant in the MG case so as not to circulate outside the MG. If it does in this way, the heat inside MG can be efficiently conducted to a case via a refrigerant, can be emitted outside MG, and MG can be cooled effectively. As a result, overheating of the MG can be prevented, and the MG can be driven for a higher load and longer time. In addition, since the refrigerant scattered and filled in the MG case also promotes cooling of the stator and the rotor, a high cooling effect can be obtained at low cost without providing a complicated flow path in the MG case. .
  • the refrigerant can be supplied as lubricating oil to the bearing required when the MG rotates at a high speed, the mechanical life of the MG can be extended while enhancing the cooling effect of the MG. Furthermore, the vibration associated with the rotation of the MG can be attenuated to improve quietness.
  • the stator winding of the MG may be a segment type winding formed by joining a plurality of conductor segments.
  • an appropriate gap is formed between the windings of the stator winding (that is, between the conductor segments), and the refrigerant easily enters the gap, so that the stator winding and the case through the refrigerant The heat transfer efficiency between the two can be improved.
  • an insulating material as the refrigerant. In this way, even when a failure occurs in the insulating coating of the energized component in the MG case or when the energized component is damaged, a short circuit through the refrigerant in the MG case can be prevented.
  • the refrigerant is stored in the MG case up to a position where at least the outer peripheral portion bottom surface side of the MG is immersed.
  • the rotation of the rotor causes the refrigerant to be scraped up and mixed with the air, reducing the shear resistance when the rotating rotor and the refrigerant are in contact with each other, thereby reducing the rotation resistance of the rotor.
  • MG efficiency can be improved.
  • the foamed refrigerant mixed with air can reach every corner of the MG case, and the entire surface of the case can be used for heat transfer and heat dissipation. An excellent cooling effect can be obtained by applying to the end portion, the neutral point, and the lead wire.
  • a heat dissipating solid is disposed so as to contact at least the coil end portion of the stator winding of the MG and the inner surface of the case. Also good.
  • the heat of the coil end portion of the stator winding of the MG can be efficiently conducted to the case through the solid and released to the outside of the MG, and the MG can be effectively cooled. it can.
  • overheating of the MG can be prevented, and the MG can be driven for a higher load and longer time.
  • the coil end portion of the stator winding can be held in a solid state, it is possible to prevent the coil end portion from vibrating due to excitation and generating noise. Furthermore, it is possible to prevent the coil end portion and its insulating coating from being damaged by the vibration of the engine or the vehicle body.
  • the stator winding of the MG is preferably a segment type winding formed by joining a plurality of conductor segments.
  • an appropriate gap is formed between the windings of the stator winding (that is, between the conductor segments), and the liquid material can easily enter the gap during molding of the solid, so that fixing via the solid is possible.
  • the heat transfer efficiency between the child winding and the case can be improved.
  • an insulating material as a solid. In this way, even when a failure occurs in the insulating film at the coil end portion, it is possible to prevent a short circuit through the solid in the MG case.
  • the insulation between the coil end portion and the case is enhanced by the presence of the insulating solid, the distance between the coil end portion and the case can be reduced, and the heat dissipation effect to the case can be enhanced.
  • MG can be reduced in size.
  • the solid is preferably arranged so as not to contact the rotating member of the MG. By doing so, it is possible to prevent the rotational resistance of the MG from increasing.
  • the battery includes a battery mounted on the vehicle, an inverter that drives the MG, and a boost converter that boosts the voltage of the battery and makes the input voltage of the inverter higher than the voltage of the battery. It is good also as a structure. In this way, since the MG can be driven at a high voltage higher than the battery voltage, the efficiency of the MG at the high speed range of the vehicle (that is, the high rotation speed range of the MG) can be improved, and the fuel consumption can be further improved Can be improved. In addition, the amount of battery mounted can be minimized, and an increase in vehicle weight and cost can be suppressed.
  • the maximum torque Tmax, the maximum output Pmax, and the overall reduction ratio GRtotal may be set so that the radius Rtyre satisfies the relationship of the following formula (1) and the following formula (2).
  • At least the upper side of the MG and the speed reducer is housed in a floor tunnel formed in the floor panel of the vehicle, and the lowermost surfaces of the MG and the speed reducer include the floor panel and the assembly parts. You may make it set the outer diameter of MG and a reduction gear so that it may be located above the lowermost surface of a vehicle. In this way, it is possible to mount the MG and the speed reducer using the existing floor tunnel with almost no change in the vehicle body structure of the base engine car.
  • the MG and the speed reducer are located above the lowermost surface of the vehicle including the floor panel and the assembly parts (except for parts premised on deformation such as resin and rubber), the MG and the speed reducer And contact with the road surface can be avoided.
  • a clutch may be provided between the output shaft of the speed reducer and the power transmission system.
  • the energy loss due to the rotation of the MG and the reduction gear that is, the energy loss due to the rotational load of the MG and the reduction gear
  • the clutch by disengaging the clutch when the MG fails, the engine can continue to run on its own.
  • the system since it is not necessary to make the maximum speed of the reduction gear or MG correspond to the maximum speed of the vehicle, the system can be configured at a lower cost.
  • the MG and the speed reducer are provided so as to drive one of the front wheel and the rear wheel of the vehicle, and the front wheel and the rear wheel of the vehicle are separated from the MG and the speed reducer. You may make it provide MG and a reduction gear for driving the other of these. In this way, since the vehicle can be driven by four wheels, the running performance and stability on rough roads and slippery road surfaces can be improved. Moreover, since the power required for EV traveling can be shared by the two front and rear MGs, power consumption can be reduced by efficiently using the two MGs depending on the vehicle speed and acceleration.
  • FIG. 1 is a diagram illustrating a schematic configuration of a hybrid vehicle drive system according to a first embodiment.
  • FIG. 2 is a cross-sectional view taken along the line AA in FIG.
  • FIG. 3 is a cross-sectional view illustrating a schematic configuration of the MG of the first embodiment.
  • FIG. 4 is a diagram illustrating the stator winding in the first embodiment.
  • FIG. 5 is a block diagram illustrating a schematic configuration of the MG drive system in the first embodiment.
  • FIG. 6 is a cross-sectional view illustrating a schematic configuration of the MG of the second embodiment.
  • FIG. 7 is a diagram showing a schematic configuration of a hybrid vehicle drive system according to the third embodiment (part 1).
  • FIG. 8 is a diagram illustrating a schematic configuration of a hybrid vehicle drive system according to the third embodiment (part 2).
  • FIG. 9 is a diagram illustrating a schematic configuration of a hybrid vehicle drive system according to the fourth embodiment (part 1).
  • FIG. 10 is a diagram illustrating a schematic configuration of a hybrid vehicle drive system according to the fourth embodiment (part 2).
  • Example 1 A first embodiment will be described with reference to FIGS. First, a schematic configuration of a hybrid vehicle drive system will be described with reference to FIGS. 1 and 2.
  • an engine 11 serving as a power source for the vehicle and a transmission 12 connected to the engine 11 are mounted on the front side of the vehicle.
  • the transmission 12 is a mechanical transmission, and may be a stepped transmission that switches a gear stage step by step from a plurality of gear stages, or a CVT (continuously variable transmission) that performs a stepless change. It may be.
  • the engine 11 and the transmission 12 are arranged horizontally so that the axial direction of the output shaft (crankshaft) of the engine 11 is the left-right direction of the vehicle.
  • the power of the output shaft of the engine 11 is transmitted to the transmission 12, and the power of the output shaft of the transmission 12 is transmitted to the drive shaft 14 of the front wheels 15 (wheels) via the differential gear mechanism 13 and the like. Yes.
  • a small-diameter motor generator (hereinafter referred to as “MG”) 16 serving as a power source for the vehicle and a small-diameter speed reducer 17 connected to the MG 16 are mounted behind the engine 11 and the transmission 12. .
  • the MG 16 and the speed reducer 17 are arranged outside the engine room in which the engine 11 and the transmission 12 are housed (for example, behind the dash panel 18 that partitions the engine room and the vehicle compartment).
  • the MG 16 and the speed reducer 17 are arranged vertically so that the axial direction of the output shaft is the front-rear direction of the vehicle, and the ring gear 19 of the differential gear mechanism 13 (the gear to which the power of the output shaft of the transmission 12 is input). ) Is connected to the output shaft of the speed reducer 17 via a transfer 20 for a four-wheel drive vehicle.
  • the power of the output shaft of the MG 16 is transmitted to the speed reducer 17, and the power of the output shaft of the speed reducer 17 is transmitted to the drive shaft 14 of the front wheel 15 via the transfer 20, the differential gear mechanism 13, and the like. It has become.
  • a floor tunnel 22 extending in the front-rear direction of the vehicle is formed on the floor panel 21 of the vehicle, and the MG 16 and the speed reducer 17 are arranged along the floor tunnel 22. At least the upper side (preferably the whole) of the MG 16 and the speed reducer 17 is accommodated in the floor tunnel 22, and the bottom surfaces of the MG 16 and the speed reducer 17 are assembled parts such as the floor panel 21 and the exhaust pipe 23 (however, resin or The outer diameters of the MG 16 and the speed reducer 17 are set so as to be positioned above the lowermost surface of the vehicle including the parts that are assumed to be deformed such as rubber).
  • the travel mode is switched, for example, between an engine travel mode, an HV travel mode, and an EV travel mode.
  • the engine travel mode is a mode in which the engine travel is performed in which the front wheel 15 is driven by only the power of the engine 11 of the engine 11 and the MG 16 to travel the vehicle.
  • the HV traveling mode is a mode in which HV traveling is performed in which the vehicle is driven by driving the front wheels 15 with both the power of the engine 11 and the power of the MG 16.
  • the EV traveling mode is a mode in which EV traveling (including EV starting in which the vehicle is started only by the power of MG16) is driven by driving the front wheels 15 only by the power of MG16 of the engine 11 and MG16.
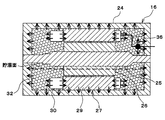
  • the stator 27 includes a stator core 29 having a plurality of slots 28 (see FIG. 4) in the circumferential direction, and a stator winding 30 composed of a plurality of phase windings wound around the stator core 29. ing.
  • the stator winding 30 includes a plurality of substantially U-shaped conductor segments 31 inserted in a predetermined pattern from one side of the slot 28 and a conductor segment extending from the other side of the slot 28. This is a segment type winding formed by joining the tip portions of 31 in a predetermined pattern.
  • the liquid refrigerant 32 is sealed in the case 24 of the MG 16 so as not to circulate outside the MG 16. Thereby, as indicated by an arrow in FIG. 3, the heat inside the MG 16 can be conducted to the case 24 via the refrigerant 32 and released to the outside of the MG 16. Further, as indicated by a broken line in FIG. 3, the refrigerant 32 is placed in the case 24 of the MG 16 up to a position (for example, a position slightly lower than the rotating shaft 25) where at least the outer peripheral portion bottom surface side of the rotor 26 is immersed in the state where the MG 16 is stopped. Is stored. Thus, when the MG 16 rotates, the refrigerant 32 is scraped up by the rotation of the rotor 26 and mixed with the air, so that the bubble-like refrigerant 32 reaches every corner in the case 24 of the MG 16.
  • a position for example, a position slightly lower than the rotating shaft 25
  • the refrigerant 32 is an insulating liquid, and for example, lubricating oil for automobiles such as ATF (hydraulic oil for automatic transmission) is used.
  • lubricating oil for automobiles such as ATF (hydraulic oil for automatic transmission)
  • ATF hydroaulic oil for automatic transmission
  • a lubricating oil for automobiles is often added with an antifoaming agent that suppresses foaming in order to exert a sufficient lubricating action.
  • a state in which the lubricating oil is mixed with air is used. Therefore, the addition amount of the antifoaming agent may be adjusted with the addition amount within the range where the antifoaming agent is not added or desired foaming occurs.
  • a battery 33 mounted on the vehicle and an inverter 35 for driving the MG 16 are connected via a boost converter 34, and the MG 16 exchanges power with the battery 33 via the boost converter 34 and the inverter 35.
  • the battery 33 is a direct current power source including a secondary battery.
  • Boost converter 34 boosts the DC voltage of battery 33 to make the input voltage of inverter 35 higher than the DC voltage of battery 33.
  • Inverter 35 converts the DC voltage boosted by boost converter 34 into an AC voltage, and drives MG 16.
  • the MG 16 can be driven at a higher voltage than the voltage of the battery 33, the efficiency of the MG 16 in the high speed range of the vehicle (that is, the high rotation range of the MG 16) can be improved, and the fuel consumption can be further improved. Can be made. In addition, the amount of the battery 33 mounted can be minimized, and an increase in vehicle weight and cost can be suppressed.
  • the maximum torque TmaxT of MG16, the overall reduction ratio GRtotal, the vehicle weight IW, and the tire radius Rtyre of the front wheel 15 of the vehicle satisfy the relationship of the following equation (1):
  • the maximum torque Tmax and the overall reduction ratio GRtotal of MG16 are set.
  • the overall reduction ratio GRtotal is a reduction ratio determined by the reduction ratio of the reduction gear 17 and the final reduction ratio (for example, the reduction ratio in the transfer 20).
  • the above equation (1) is a condition for making the starting torque larger than a predetermined lower limit torque when performing the EV starting to start the vehicle only with the power of the MG 16.
  • the lower limit torque is set based on the required start torque at NEDC having the smallest required start torque among JC08, NEDC, LA # 4, US06, and WLTP, which defines a travel pattern for measuring fuel consumption and exhaust gas. Has been. Therefore, by setting the maximum torque Tmax of the MG 16 and the overall reduction ratio GRtotal (the reduction ratio of the reducer 17) so as to satisfy the relationship of the above expression (1), the EV starts at a practical acceleration as a hybrid vehicle. Can do.
  • the maximum output Pmax of the MG 16 is set so that the maximum output Pmax of the MG 16 and the vehicle weight IW satisfy the relationship of the following equation (2).
  • the above equation (2) is a condition for making the regenerative power (generated power) larger than the predetermined lower limit power when performing regenerative power generation with the MG 16 when the vehicle is decelerated.
  • the lower limit power is set based on the regenerative power in JC08 having the smallest regenerative power among JC08, NEDC, LA # 4, US06, and WLTP. Therefore, by setting the maximum output Pmax of the MG 16 so as to satisfy the relationship of the above expression (2), the regenerative power when performing regenerative power generation with the MG 16 when the vehicle is decelerated can be brought to a practical level as a hybrid vehicle. it can.
  • the MG 16 and the speed reducer 17 are disposed outside the engine room in which the engine 11 and the transmission 12 are accommodated.
  • the output shaft of the speed reducer 17 is connected to the ring gear 19 of the differential gear mechanism 13 (the gear to which the power of the output shaft of the transmission 12 is input) via the transfer 20.
  • the power of the MG 16 can be transmitted to the drive shaft 14 of the front wheel 15 via the speed reducer 17, so that even the small MG 16 can generate the shaft torque (torque of the drive shaft 14) necessary for EV travel.
  • EV traveling which is an important function of the hybrid vehicle, can be realized.
  • MG 16 even when a drive system of MG 16 (for example, MG 16, boost converter 34, inverter 35, etc.) fails, the power of engine 11 can be transmitted to drive shaft 14 via transmission 12.
  • the power of 11 can sufficiently run (self-running).
  • the load such as traction is high, the driving force equivalent to or higher than that of the engine vehicle as a base can be exhibited.
  • the MG 16 since the MG 16 is disposed outside the engine room (that is, near the center of the vehicle body), even when a collision accident or the like occurs, damage to the MG 16 is reduced and the MG 16 is prevented from being exposed outside the vehicle. The possibility of an electric shock accident can also be reduced.
  • the upper sides of the MG 16 and the speed reducer 17 are accommodated in a floor tunnel 22 formed on the floor panel 21 of the vehicle, and the lowermost surfaces of the MG 16 and the speed reducer 17 are lower than the lowermost surface of the vehicle.
  • the outer diameters of the MG 16 and the speed reducer 17 are set so as to be positioned above.
  • the MG 16 and the speed reducer 17 can be mounted using the existing floor tunnel 22 with almost no change in the vehicle body structure of the engine vehicle as a base.
  • the lowermost surfaces of the MG 16 and the speed reducer 17 are located above the lowermost surface of the vehicle, the contact between the MG 16 and the speed reducer 17 and the road surface can be avoided.
  • the liquid refrigerant 32 is sealed in the case 24 of the MG 16 so as not to circulate outside the MG 16.
  • the heat inside the MG 16 can be efficiently conducted to the case 24 via the refrigerant 32 and released to the outside of the MG 16, and the MG 16 can be effectively cooled.
  • overheating of the MG 16 can be prevented, and the MG 16 can be driven for a longer time and with a higher load.
  • the refrigerant 32 scattered and filled in the case 24 of the MG 16 also promotes cooling of the stator 27 and the rotor 26, a high cooling effect can be achieved at low cost without providing a complicated flow path in the case 24 of the MG 16. Can be obtained.
  • the refrigerant 32 can be supplied as lubricating oil to a bearing required when the MG 16 rotates at a high speed, the mechanical life of the MG 16 can be extended while enhancing the cooling effect of the MG 16. Furthermore, the vibration associated with the rotation of the MG 16 can be attenuated to improve quietness.
  • stator winding 30 of the MG 16 a segment type winding formed by joining a plurality of substantially U-shaped conductor segments 31 in a predetermined pattern is used. Thereby, an appropriate gap is formed between the windings of the stator winding 30 (that is, between the conductor segments 31), and the refrigerant 32 easily enters the gap, so that the stator winding 30 via the refrigerant 32 and The efficiency of heat transfer with the case 24 can be improved.
  • an insulating material is used as the refrigerant 32.
  • the refrigerant 32 is stored in the case 24 of the MG 16 up to a position where at least the outer peripheral portion bottom surface side of the rotor 26 is immersed. Accordingly, the rotation of the rotor 26 causes the refrigerant 32 to be scraped up and mixed with air, thereby reducing the shear resistance when the rotating rotor 26 and the refrigerant 32 come into contact with each other, thereby reducing the rotation resistance of the rotor 26. And the efficiency of the MG 16 can be improved. Further, the foam-like refrigerant 32 mixed with air spreads to every corner in the case 24 of the MG 16 so that the entire surface of the case 24 can be used to the maximum for heat transfer and heat dissipation.
  • Example 2 An excellent cooling effect can be obtained by engaging the coil end portion of the stator winding 30 (the portion protruding from the axial end surface of the stator core 29), the neutral point, and the lead wire 36.
  • Example 2 Next, Example 2 will be described with reference to FIG. However, parts that are substantially the same as those in the first embodiment are denoted by the same reference numerals, and description thereof is omitted or simplified, and parts different from those in the first embodiment are mainly described.
  • heat radiation solids 37 are provided on both sides in the axial direction of the stator core 29 in the case 24 of the MG 16.
  • the solid 37 is disposed so as to be in contact with at least the coil end portion of the stator winding 30 (the portion protruding from the axial end surface of the stator core 29) and the inner surface (inner peripheral surface and axial inner surface) of the case 24.
  • the heat of the coil end portion of the stator winding 30 of the MG 16 is conducted to the case 24 via the solid 37 and can be released to the outside of the MG 16.
  • the solid 37 is formed in a substantially cylindrical shape with an insulating resin or the like, and is disposed so as not to contact the rotating shaft 25 and the rotor 26 which are rotating members of the MG 16.
  • the heat dissipating solid 27 is disposed in the case 24 of the MG 16 so as to be in contact with at least the coil end portion of the stator winding 30 and the inner surface of the case 24.
  • the heat of the coil end portion of the stator winding 30 of the MG 16 can be efficiently conducted to the case 24 via the solid 37 and released to the outside of the MG 16, and the MG 16 can be effectively cooled. it can.
  • overheating of the MG 16 can be prevented, and the MG 16 can be driven for a longer time and with a higher load.
  • coil 30 can be hold
  • stator winding 30 of the MG 16 a segment type winding formed by joining a plurality of substantially U-shaped conductor segments 31 in a predetermined pattern is used.
  • an appropriate gap is formed between the windings of the stator winding 30 (that is, between the conductor segments 31). Therefore, the material of the liquid solid 37 easily enters the gap during molding, so that the solid 37 Is filled in the gap, and the heat transfer efficiency between the stator winding 30 and the case 24 via the solid 37 can be improved.
  • an insulating material is used as the solid 37.
  • the insulation between the coil end portion and the case 24 is enhanced by the presence of the insulating solid 37, the distance between the coil end portion and the case 24 (for example, an axial interval) can be reduced. The heat dissipation effect can be enhanced, and the MG 16 can be downsized.
  • Example 3 will be described with reference to FIGS. However, parts that are substantially the same as those in the first embodiment are denoted by the same reference numerals, and description thereof is omitted or simplified, and parts different from those in the first embodiment are mainly described.
  • a clutch 38 for interrupting power transmission is provided between the output shaft of the speed reducer 17 and the transfer 20.
  • the clutch 38 may be a hydraulically driven plate clutch, an electromagnetically driven electromagnetic clutch, a mechanical dog clutch, or the like.
  • the clutch 38 is provided separately from the speed reducer 17 (that is, provided outside the case of the speed reducer 17).
  • the clutch 38 is provided between the output shaft of the speed reducer 17 and the transfer 20.
  • the clutch 38 is disengaged as necessary (for example, the clutch 38 is disengaged in the engine running mode), so that the energy loss due to the rotation of the MG 16 and the reduction gear 17 (that is, the energy loss due to the rotational load of the MG 16 and the reduction gear 17) Can be eliminated, and fuel consumption can be improved.
  • the engine 11 can continue to run independently by disconnecting the clutch 17 when the MG 16 fails. Further, since it is not necessary to correspond to the maximum rotational speed of the speed reducer 17 or MG 16 up to the maximum speed of the vehicle, the system can be configured at a lower cost.
  • Example 4 Next, Example 4 will be described with reference to FIGS. 9 and 10. However, parts that are substantially the same as those in the first and third embodiments are denoted by the same reference numerals, and description thereof is omitted or simplified, and parts that are different from the first and third embodiments are mainly described.
  • the drive system for driving the front wheels has the same configuration as that of the first embodiment (see FIG. 1 and the like), but a drive system for driving the rear wheels is further added. ing. Specifically, a small-diameter MG39 and a small-diameter speed reducer 40 connected to the MG39 are mounted on the rear side of the vehicle. The MG 39 and the speed reducer 40 are arranged vertically so that the axial direction of the output shaft is the front-rear direction of the vehicle. The power of the output shaft of the MG 39 is transmitted to the speed reducer 40, and the power of the output shaft of the speed reducer 40 is transmitted to the drive shaft 42 of the rear wheels 43 (wheels) via the differential gear mechanism 41 and the like. Yes.
  • the rear wheel drive MG 39 and the speed reducer 40 are arranged along the floor tunnel 22 in the same manner as the front wheel drive MG 16 and the speed reducer 17, and at least the upper side of the MG 39 and the speed reducer 40 in the floor tunnel 22 (
  • the outer diameters of the MG 39 and the speed reducer 40 are set so that the lowermost surfaces of the MG 39 and the speed reducer 40 are positioned higher than the lowermost surface of the vehicle.
  • a liquid refrigerant may be enclosed in the case of MG39 (or a solid for heat dissipation is disposed).
  • a clutch 38 is provided between the output shaft of the speed reducer 17 of the drive system for driving the front wheels and the transfer 20, and the output shaft of the reducer 40 of the drive system for driving the rear wheels and the differential.
  • the clutch 44 may be provided between the gear mechanism 41 and the gear mechanism 41. Alternatively, either one of the clutch 38 and the clutch 44 may be omitted.
  • the rear wheel drive MG 39 and the speed reducer 40 are provided separately from the front wheel drive MG 16 and the speed reducer 17.
  • the vehicle can be driven by four wheels, it is possible to improve running performance and stability on rough roads and slippery road surfaces.
  • the power required for EV traveling can be shared by the two front and rear MGs 16 and 39, depending on the vehicle speed and acceleration, the two MGs 16 and 39 can be used efficiently to reduce power consumption.
  • the MG 16 and the speed reducer 17 are arranged outside the engine room in which the engine 11 and the transmission 12 are housed.
  • the present invention is not limited to this. It is good also as a structure which arrange
  • the output shaft of the speed reducer 17 is connected via the transfer 20 for an existing four-wheel drive vehicle.
  • the present invention is not limited to this. It is good also as a structure which connects the output shaft of the reduction gear 17 via a mechanism.
  • the present disclosure is applied to the drive system for driving the front wheels.
  • the present disclosure is not limited to this, and the present disclosure may be applied to the drive system for driving the rear wheels.
  • it is good also as a structure (that is, the structure which replaced the drive system for front-wheel drive and the drive system for rear-wheel drive) which reversed front and back.

Landscapes

  • Engineering & Computer Science (AREA)
  • Transportation (AREA)
  • Mechanical Engineering (AREA)
  • Chemical & Material Sciences (AREA)
  • Combustion & Propulsion (AREA)
  • Power Engineering (AREA)
  • Life Sciences & Earth Sciences (AREA)
  • Sustainable Development (AREA)
  • Sustainable Energy (AREA)
  • Electric Propulsion And Braking For Vehicles (AREA)
  • Hybrid Electric Vehicles (AREA)
  • Arrangement Of Transmissions (AREA)
  • Arrangement Or Mounting Of Propulsion Units For Vehicles (AREA)
PCT/JP2016/071497 2015-08-07 2016-07-22 車両の駆動装置 Ceased WO2017026243A1 (ja)

Priority Applications (3)

Application Number Priority Date Filing Date Title
CN201680045684.4A CN107921858A (zh) 2015-08-07 2016-07-22 汽车驱动装置
DE112016003613.2T DE112016003613T5 (de) 2015-08-07 2016-07-22 Gerät zum Antreiben eines Fahrzeugs
US15/748,561 US11180017B2 (en) 2015-08-07 2016-07-22 Device for driving vehicle

Applications Claiming Priority (2)

Application Number Priority Date Filing Date Title
JP2015156830A JP6390547B2 (ja) 2015-08-07 2015-08-07 車両の駆動装置
JP2015-156830 2015-08-07

Publications (1)

Publication Number Publication Date
WO2017026243A1 true WO2017026243A1 (ja) 2017-02-16

Family

ID=57983144

Family Applications (1)

Application Number Title Priority Date Filing Date
PCT/JP2016/071497 Ceased WO2017026243A1 (ja) 2015-08-07 2016-07-22 車両の駆動装置

Country Status (5)

Country Link
US (1) US11180017B2 (enExample)
JP (1) JP6390547B2 (enExample)
CN (1) CN107921858A (enExample)
DE (1) DE112016003613T5 (enExample)
WO (1) WO2017026243A1 (enExample)

Families Citing this family (4)

* Cited by examiner, † Cited by third party
Publication number Priority date Publication date Assignee Title
JP6724091B2 (ja) * 2018-09-06 2020-07-15 本田技研工業株式会社 ハイブリッド車両
JP7590117B2 (ja) * 2020-03-06 2024-11-26 トヨタ自動車株式会社 車両ユニット搭載構造
CN120697522A (zh) * 2020-11-27 2025-09-26 华为数字能源技术有限公司 电驱动总成及电动车
EP4663443A1 (en) * 2024-06-12 2025-12-17 Toyota Jidosha Kabushiki Kaisha Mechatronic unit and electric vehicle

Citations (6)

* Cited by examiner, † Cited by third party
Publication number Priority date Publication date Assignee Title
JP2005306137A (ja) * 2004-04-20 2005-11-04 Tochigi Fuji Ind Co Ltd ハイブリッド車両
JP2008193821A (ja) * 2007-02-06 2008-08-21 Tamagawa Seiki Co Ltd ステータ構造
JP2009274512A (ja) * 2008-05-13 2009-11-26 Mazda Motor Corp ハイブリッド車両の制御装置
JP2010098851A (ja) * 2008-10-16 2010-04-30 Toyota Motor Corp 電動車両
JP2012222983A (ja) * 2011-04-11 2012-11-12 Hitachi Automotive Systems Ltd 固定子および回転電機
WO2014097781A1 (ja) * 2012-12-21 2014-06-26 日産自動車株式会社 ハイブリッド車両の駆動装置

Family Cites Families (18)

* Cited by examiner, † Cited by third party
Publication number Priority date Publication date Assignee Title
US5173425A (en) * 1989-08-04 1992-12-22 Amgen Inc. Enhancement of naphthalene dioxygenase activity during microbial indigo production
US5589743A (en) * 1995-03-03 1996-12-31 General Electric Company Integrated cranking inverter and boost converter for a series hybrid drive system
JP3350314B2 (ja) 1995-09-29 2002-11-25 富士重工業株式会社 ハイブリッド自動車の駆動装置
JP3673863B2 (ja) 1997-09-30 2005-07-20 富士重工業株式会社 ハイブリッド自動車の駆動装置
JP4450957B2 (ja) 1999-10-05 2010-04-14 アイシン・エィ・ダブリュ株式会社 ドライブユニットの潤滑装置
JP4636651B2 (ja) * 2000-04-07 2011-02-23 Gknドライブラインジャパン株式会社 動力伝達装置
JP3946950B2 (ja) 2000-10-17 2007-07-18 三菱電機株式会社 車両用交流発電機
JP2002160540A (ja) 2000-11-28 2002-06-04 Aisin Seiki Co Ltd ハイブリッド車用駆動装置
JP3891062B2 (ja) 2002-07-12 2007-03-07 株式会社デンソー コイルエンド接触冷却型回転電機
US7256510B2 (en) * 2005-12-23 2007-08-14 General Motors Corportion Hybrid electro-mechanical transmission with single motor/generator and method of control
EP2156530A4 (en) * 2007-03-30 2013-01-02 Univ Michigan HYBRID ENERGY SYSTEM FOR VEHICLES
JP2011037296A (ja) 2009-08-06 2011-02-24 Mazda Motor Corp 車両用駆動装置の構成方法
JP5431871B2 (ja) 2009-10-30 2014-03-05 富士重工業株式会社 ハイブリッド車両の車両構造
US9242544B2 (en) * 2011-09-23 2016-01-26 Kanzaki Kokyukoki Mfg. Co., Ltd. Vehicle with electric transaxle
DE112012004494T5 (de) * 2011-10-27 2014-07-17 Toyota Jidosha Kabushiki Kaisha Segmentspule, Verfahren zur Herstellung der Segmentspule und Stator mit der Segmentspule
JP6396660B2 (ja) 2014-02-24 2018-09-26 伊那食品工業株式会社 発酵乳製品の製造方法及び発酵乳製品
JP2015196413A (ja) 2014-03-31 2015-11-09 スズキ株式会社 ハイブリッド四輪駆動車
JP6249115B1 (ja) * 2017-02-09 2017-12-20 トヨタ自動車株式会社 車両

Patent Citations (6)

* Cited by examiner, † Cited by third party
Publication number Priority date Publication date Assignee Title
JP2005306137A (ja) * 2004-04-20 2005-11-04 Tochigi Fuji Ind Co Ltd ハイブリッド車両
JP2008193821A (ja) * 2007-02-06 2008-08-21 Tamagawa Seiki Co Ltd ステータ構造
JP2009274512A (ja) * 2008-05-13 2009-11-26 Mazda Motor Corp ハイブリッド車両の制御装置
JP2010098851A (ja) * 2008-10-16 2010-04-30 Toyota Motor Corp 電動車両
JP2012222983A (ja) * 2011-04-11 2012-11-12 Hitachi Automotive Systems Ltd 固定子および回転電機
WO2014097781A1 (ja) * 2012-12-21 2014-06-26 日産自動車株式会社 ハイブリッド車両の駆動装置

Also Published As

Publication number Publication date
US11180017B2 (en) 2021-11-23
CN107921858A (zh) 2018-04-17
JP2017035920A (ja) 2017-02-16
JP6390547B2 (ja) 2018-09-19
DE112016003613T5 (de) 2018-05-03
US20180215248A1 (en) 2018-08-02

Similar Documents

Publication Publication Date Title
JP7056845B2 (ja) 全幅がより短い高トルクかつ高出力密度の駆動システム
CN105209280B (zh) 车辆用驱动装置
CN204451974U (zh) 电动车的集成驱动组件
JP3536837B2 (ja) ハイブリッド車両用駆動装置
JP2017036026A (ja) 車両の駆動装置
US11440414B2 (en) Electric vehicle
EP2247460B1 (en) Hybrid vehicle powertrain
CN109228843B (zh) 具有两个电动机的动力系统
CN103085648A (zh) 用于提高电动模式性能的混合动力车的系统
JP6390547B2 (ja) 車両の駆動装置
JP6662359B2 (ja) ハイブリッド車両の駆動力制御装置
JP2019089407A (ja) ハイブリッド車両の駆動力制御装置
RU2733308C2 (ru) Компактное приводное устройство для самодвижущихся рельсовых транспортных средств
JP2008256075A (ja) 動力伝達装置
WO2019202945A1 (ja) モータユニット
US10843576B2 (en) Electric vehicle
JP2004232560A (ja) 内燃機関用補機駆動装置
JP2007161111A (ja) 車両の駆動装置
JP7119900B2 (ja) 車両用冷却装置
WO2017026242A1 (ja) 車両の駆動装置
JP6995439B2 (ja) ハイブリッド車の冷却装置
JP4038469B2 (ja) ハイブリッド車両の車両構造
US20210320544A1 (en) Cooling device for on-vehicle rotating electrical machine
JPWO2019082257A1 (ja) 四輪駆動車の動力伝達装置
JP2009261072A (ja) 車両用電動機

Legal Events

Date Code Title Description
121 Ep: the epo has been informed by wipo that ep was designated in this application

Ref document number: 16834940

Country of ref document: EP

Kind code of ref document: A1

WWE Wipo information: entry into national phase

Ref document number: 15748561

Country of ref document: US

WWE Wipo information: entry into national phase

Ref document number: 112016003613

Country of ref document: DE

122 Ep: pct application non-entry in european phase

Ref document number: 16834940

Country of ref document: EP

Kind code of ref document: A1