WO2017022440A1 - 異常検出装置 - Google Patents

異常検出装置 Download PDF

Info

Publication number
WO2017022440A1
WO2017022440A1 PCT/JP2016/070767 JP2016070767W WO2017022440A1 WO 2017022440 A1 WO2017022440 A1 WO 2017022440A1 JP 2016070767 W JP2016070767 W JP 2016070767W WO 2017022440 A1 WO2017022440 A1 WO 2017022440A1
Authority
WO
WIPO (PCT)
Prior art keywords
load
state
switching element
connection terminal
abnormality detection
Prior art date
Legal status (The legal status is an assumption and is not a legal conclusion. Google has not performed a legal analysis and makes no representation as to the accuracy of the status listed.)
Ceased
Application number
PCT/JP2016/070767
Other languages
English (en)
French (fr)
Japanese (ja)
Inventor
みゆき 西田
Current Assignee (The listed assignees may be inaccurate. Google has not performed a legal analysis and makes no representation or warranty as to the accuracy of the list.)
Denso Corp
Original Assignee
Denso Corp
Priority date (The priority date is an assumption and is not a legal conclusion. Google has not performed a legal analysis and makes no representation as to the accuracy of the date listed.)
Filing date
Publication date
Application filed by Denso Corp filed Critical Denso Corp
Priority to US15/741,836 priority Critical patent/US10195991B2/en
Publication of WO2017022440A1 publication Critical patent/WO2017022440A1/ja
Anticipated expiration legal-status Critical
Ceased legal-status Critical Current

Links

Images

Classifications

    • BPERFORMING OPERATIONS; TRANSPORTING
    • B60VEHICLES IN GENERAL
    • B60QARRANGEMENT OF SIGNALLING OR LIGHTING DEVICES, THE MOUNTING OR SUPPORTING THEREOF OR CIRCUITS THEREFOR, FOR VEHICLES IN GENERAL
    • B60Q11/00Arrangement of monitoring devices for devices provided for in groups B60Q1/00 - B60Q9/00
    • B60Q11/005Arrangement of monitoring devices for devices provided for in groups B60Q1/00 - B60Q9/00 for lighting devices, e.g. indicating if lamps are burning or not
    • HELECTRICITY
    • H05ELECTRIC TECHNIQUES NOT OTHERWISE PROVIDED FOR
    • H05BELECTRIC HEATING; ELECTRIC LIGHT SOURCES NOT OTHERWISE PROVIDED FOR; CIRCUIT ARRANGEMENTS FOR ELECTRIC LIGHT SOURCES, IN GENERAL
    • H05B45/00Circuit arrangements for operating light-emitting diodes [LED]
    • H05B45/30Driver circuits
    • H05B45/395Linear regulators
    • HELECTRICITY
    • H05ELECTRIC TECHNIQUES NOT OTHERWISE PROVIDED FOR
    • H05BELECTRIC HEATING; ELECTRIC LIGHT SOURCES NOT OTHERWISE PROVIDED FOR; CIRCUIT ARRANGEMENTS FOR ELECTRIC LIGHT SOURCES, IN GENERAL
    • H05B47/00Circuit arrangements for operating light sources in general, i.e. where the type of light source is not relevant
    • H05B47/10Controlling the light source
    • BPERFORMING OPERATIONS; TRANSPORTING
    • B60VEHICLES IN GENERAL
    • B60QARRANGEMENT OF SIGNALLING OR LIGHTING DEVICES, THE MOUNTING OR SUPPORTING THEREOF OR CIRCUITS THEREFOR, FOR VEHICLES IN GENERAL
    • B60Q2300/00Indexing codes for automatically adjustable headlamps or automatically dimmable headlamps
    • B60Q2300/05Special features for controlling or switching of the light beam
    • BPERFORMING OPERATIONS; TRANSPORTING
    • B60VEHICLES IN GENERAL
    • B60QARRANGEMENT OF SIGNALLING OR LIGHTING DEVICES, THE MOUNTING OR SUPPORTING THEREOF OR CIRCUITS THEREFOR, FOR VEHICLES IN GENERAL
    • B60Q2300/00Indexing codes for automatically adjustable headlamps or automatically dimmable headlamps
    • B60Q2300/10Indexing codes relating to particular vehicle conditions
    • B60Q2300/14Other vehicle conditions
    • B60Q2300/146Abnormalities, e.g. fail-safe
    • HELECTRICITY
    • H05ELECTRIC TECHNIQUES NOT OTHERWISE PROVIDED FOR
    • H05BELECTRIC HEATING; ELECTRIC LIGHT SOURCES NOT OTHERWISE PROVIDED FOR; CIRCUIT ARRANGEMENTS FOR ELECTRIC LIGHT SOURCES, IN GENERAL
    • H05B45/00Circuit arrangements for operating light-emitting diodes [LED]
    • H05B45/50Circuit arrangements for operating light-emitting diodes [LED] responsive to malfunctions or undesirable behaviour of LEDs; responsive to LED life; Protective circuits
    • YGENERAL TAGGING OF NEW TECHNOLOGICAL DEVELOPMENTS; GENERAL TAGGING OF CROSS-SECTIONAL TECHNOLOGIES SPANNING OVER SEVERAL SECTIONS OF THE IPC; TECHNICAL SUBJECTS COVERED BY FORMER USPC CROSS-REFERENCE ART COLLECTIONS [XRACs] AND DIGESTS
    • Y02TECHNOLOGIES OR APPLICATIONS FOR MITIGATION OR ADAPTATION AGAINST CLIMATE CHANGE
    • Y02BCLIMATE CHANGE MITIGATION TECHNOLOGIES RELATED TO BUILDINGS, e.g. HOUSING, HOUSE APPLIANCES OR RELATED END-USER APPLICATIONS
    • Y02B20/00Energy efficient lighting technologies, e.g. halogen lamps or gas discharge lamps
    • Y02B20/30Semiconductor lamps, e.g. solid state lamps [SSL] light emitting diodes [LED] or organic LED [OLED]
    • YGENERAL TAGGING OF NEW TECHNOLOGICAL DEVELOPMENTS; GENERAL TAGGING OF CROSS-SECTIONAL TECHNOLOGIES SPANNING OVER SEVERAL SECTIONS OF THE IPC; TECHNICAL SUBJECTS COVERED BY FORMER USPC CROSS-REFERENCE ART COLLECTIONS [XRACs] AND DIGESTS
    • Y02TECHNOLOGIES OR APPLICATIONS FOR MITIGATION OR ADAPTATION AGAINST CLIMATE CHANGE
    • Y02BCLIMATE CHANGE MITIGATION TECHNOLOGIES RELATED TO BUILDINGS, e.g. HOUSING, HOUSE APPLIANCES OR RELATED END-USER APPLICATIONS
    • Y02B20/00Energy efficient lighting technologies, e.g. halogen lamps or gas discharge lamps
    • Y02B20/40Control techniques providing energy savings, e.g. smart controller or presence detection

Definitions

  • This disclosure relates to an abnormality detection device that detects an abnormality of a load.
  • LEDs Light emitting diodes
  • loads for vehicle lighting devices.
  • an LED disconnection detection device As a device for detecting a failure such as an LED disconnection, an LED disconnection detection device has been devised that supplies a pulse signal having a pulse width that does not light the LED to the LED to detect the presence or absence of the LED disconnection ( Patent Document 1).
  • an abnormality detection device for the LED lighting unit has been devised that performs an abnormality determination of the LED lighting unit before the LED lighting unit is lit (see Patent Document 2).
  • JP 2010-105590 A Japanese Patent Laying-Open No. 2015-044423 JP 2014-216765 A
  • an IPD Intelligent Power Device
  • an IPD Intelligent Power Device
  • the pulse width is controlled so as not to turn on the LED. For example, even if it is operated at a frequency of 200 Hz and a pulse width of 250 ⁇ s (duty ratio 5%), it is clearly understood that the LED is turned on. Considering the charging time, CPU processing cycle, etc., this detection method is not practical.
  • Patent Document 2 even if the LED lighting unit is turned on by the abnormality detection current, if the first detection time elapses, the light is turned on immediately based on the lighting instruction. In other words, the user does not feel uncomfortable. However, in recent years, depending on the load, it is required to isolate a failure state based on laws and regulations, and it is necessary to separate three states: a ground fault that is short-circuited to ground, a power fault that is short-circuited to a power source, and a disconnection. In Patent Document 2, there is no disclosure about state separation. Further, current is consumed when detecting an abnormality of the LED.
  • Patent Document 3 when the LED is turned on for original illumination or the like, it is determined whether or not there is a disconnection or a power fault. Therefore, even if the LED is turned on by a pull-up circuit when there is no disconnection, the user feels uncomfortable. None remember. However, it is effective in a configuration including a pull-up circuit and a pull-up switching element for adjusting illuminance in addition to the driving switching element, but it is difficult to apply to a device that does not include these circuits and elements. Further, current is consumed when detecting an abnormality of the LED.
  • This disclosure is intended to provide an abnormality detection device that can easily identify the failure state of a load such as an LED and can perform this isolation without the user's knowledge.
  • the abnormality detection device includes a load connected to the load connection terminal, one of which is connected to the load connection terminal, and switching between an on state and an off state to supply power to the load and A first switching element that switches off, a control unit that switches an on state or an off state of the first switching element, a detection unit that outputs a signal based on a comparison between a voltage of a load connection terminal and a predetermined reference voltage; An acquisition unit that acquires a signal from the detection unit, and after the control unit switches the first switching element from the ON state to the OFF state, the acquisition unit outputs an abnormality detection signal that is a signal of a predetermined level in advance. And a determination unit that determines that the load state is abnormal when continuously acquired beyond a predetermined first determination time.
  • an abnormality of the load is determined after the power supply to the load is cut off, so that the load does not operate (lights up if the LED is used) and is not noticed by the user. Also, no current is consumed when detecting a load abnormality.
  • the figure which shows the structure of an abnormality detection apparatus (Example 1).
  • the figure which shows the output signal from the detection part at the time of abnormality (Example 1).
  • the flowchart explaining the abnormality determination process (Example 1).
  • 6 is a timing chart for explaining abnormality determination (Example 1).
  • the figure which shows the structure of an abnormality detection apparatus (Example 2).
  • the flowchart explaining the abnormality determination process (Example 2).
  • 9 is a timing chart for explaining abnormality determination (Example 2).
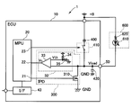
  • the abnormality detection device 1 includes an ECU 10 and a load 60 connected between a load connection terminal 50 of the ECU 10 and a ground (GND).
  • GND ground
  • the ECU 10 is a well-known MPU 20 (control unit, determination unit), an IPD 30 connected between the MPU 20 and the load connection terminal 50, and a switch 41 (first switch) connected between the load connection terminal 50 and the ground (GND). Two switching elements), a constant current circuit 40 (current supply unit), a surge absorbing capacitor 42 connected between the load connection terminal 50 and GND, and an interface circuit for performing communication with other devices. / F43 is provided.
  • the MPU 20 includes a known arithmetic unit, peripheral circuits such as an A / D converter and a signal input / output circuit, a memory, and the like. And the various functions of ECU10 are implement
  • the IPD 30 includes a transistor 31 (first switching element), which is a well-known FET, and a detection unit 32, for example.
  • the transistor 31 is connected between the power supply (+ B) and the load connection terminal 50. And based on the control command output from the port 21 of MPU20, an on / off state is switched and drive control of the load 60 is performed (PWM control may be sufficient).
  • the detection unit 32 includes a known comparator 33.
  • the comparator 33 receives Vth, which is a reference voltage generated by dividing the power supply voltage by the resistors 34 and 35, and Vload, which is the voltage of the load connection terminal 50.
  • the comparator 33 outputs Vc, which is a comparison result between Vth and Vload, to the port 22 (acquisition unit) of the MPU 20.
  • the IPD 30 may be an integrated circuit or a discrete configuration.
  • the switch 41 may be either a transistor or a relay.
  • the switch 41 switches the on / off state based on a control command output from the port 23 of the MPU 20.
  • the constant current circuit 40 any of known circuits using constant current diodes, transistors, or operational amplifiers may be used.
  • the constant of the constant current circuit 40 is determined so that current flows from the capacitor 42 toward the constant current circuit 40.
  • the load 60 includes a well-known LED (light emitting diode) 61 and a resistor 62 for limiting the current flowing through the LED 61.
  • the load 60 is not limited to the LED, and may be a motor, a solenoid, or a switch circuit.
  • FIG. 2 shows the state of the output signal (Vc) from the detection unit 32 (comparator 33) when the load 60 is abnormal. Note that it is assumed that the transistor 31 is off. Further, when Vload> Vth, Vc becomes H level.
  • Step 1 When the switch 41 is in the off state (Step 1) and the load 60 is in a power fault (shorted with the power supply), Vload is the same as the voltage of the power supply (+ B). Therefore, Vc becomes H level.
  • the load 60 When the load 60 is disconnected, the load connection terminal 50 is in a floating state, but Vload is the same as the voltage across the capacitor 42, that is, the voltage of the power supply (+ B). Therefore, Vc becomes H level.
  • the state where Vc is at the H level corresponds to the abnormality detection signal. Details of the above state will be described later. Further, the H level of Vc is, for example, the same level as the power supply voltage applied to the comparator 33.
  • the L level of Vc is, for example, 0V.
  • FIG. 3 shows an abnormality determination process executed by the MPU 20 at a predetermined timing. First, it is determined whether or not an output stop instruction for switching the transistor 31 from the on state to the off state has been issued. When the output stop instruction is issued (S11: Yes), the timer is started (S12). Next, the state of the port 22 is monitored, and the value of Vc output from the comparator 33 is acquired (S13). The acquired Vc is A / D converted and used for subsequent processing.
  • T1 is set to a value larger than the time required for Vc to change from the H level to the L level when the transistor 31 is turned off while the load 60 is operating normally.
  • Vc the value of Vc output from the comparator 33 is acquired (S19). This is performed until the value of the timer exceeds T2 (second determination time) which is a predetermined time. That is, the value of Vc is sampled during T2.
  • the control unit Corresponds to a configuration in which the second switching element is turned on, and the determination unit determines the content of the load abnormality based on the state of the signal acquired by the acquisition unit when the second switching element is in the on state.
  • this configuration can be realized by a combination of common circuits without using expensive devices and circuits. Further, this is an operation after some abnormality is detected, and the user does not feel uncomfortable.
  • T2 is set so that it can be determined whether or not the value of Vc has changed. For example, the time is longer than the time required to discharge all the charges accumulated in the capacitor 42.
  • the above-mentioned configuration is, “When the time when the acquisition unit continuously acquires the abnormality detection signal after the control unit turns on the second switching element is less than the second determination time, the load is disconnected.
  • This configuration corresponds to a configuration of “determining”, and with this configuration, it is possible to determine whether or not the load is disconnected in a device including a high-side driver circuit.
  • the above configuration is “when the time when the acquisition unit continues to acquire the abnormality detection signal after the second switching element is turned on exceeds a predetermined second determination time, the load is in a fault. It is possible to determine whether or not the load has a power fault with an apparatus including a high-side driver circuit.
  • FIG. 4 shows the state of the Vload, Vc, and constant current circuit 40 when the transistor 31 is turned from the ON state (ON) to the OFF state (OFF) based on the control command of the MPU 20 from the port 21.
  • the timing chart represented about each of a state (at the time of normal time, a disconnection, and a power fault) is shown.
  • Vload changes from the voltage (BATT) of the power supply (+ B) to 0 V until at least the time corresponding to the above-described T1 elapses. It changes from level to L level.
  • the state is the same as that at the time of disconnection until T1 elapses after the transistor 31 is turned off from the on state (the state of Step 1 of the power fault in FIG. 2).
  • Vload maintains BATT even if T2 elapses after the output of the constant current circuit 40 is started. Therefore, Vc also maintains the H level state (the state of Step 2 of the skyline in FIG. 2). Thereby, when the time corresponding to T2 has elapsed after the output of the constant current circuit 40 is started, if Vc is at the H level, it can be determined that there is a power fault.
  • Example 2 will be described with reference to FIGS.
  • symbol is provided about the component which performs the function similar to FIG. 1, what is necessary is just to make a rating and a constant suitable for a present Example.
  • the abnormality detection device 1 includes the ECU 10 and a load 600 connected between the load connection terminal 50 of the ECU 10 and the power source (+ B).
  • the ECU 10 is a well-known MPU 20 (control unit, determination unit), an IPD 300 connected between the MPU 20 and the load connection terminal 50, a switch 410 (first operation) connected between the power source (+ B) and the load connection terminal 50. Two switching elements), a constant current circuit 400 (current supply unit), a surge absorbing capacitor 420 connected between the load connection terminal 50 and the ground (GND), and an interface circuit for communicating with other devices.
  • the I / F 43 is provided.
  • the configurations of the MPU 20 and the I / F 43 are the same as those in FIG.
  • the IPD 300 includes a transistor 310 (first switching element) and a detection unit 32.
  • the transistor 310 is connected between the load connection terminal 50 and GND. And based on the control command output from the port 21 of MPU20, an on / off state is switched and drive control of the load 600 is performed (PWM control may be sufficient).
  • the detection unit 32 includes a known comparator 33.
  • the comparator 33 receives Vth, which is a reference voltage generated by dividing the power supply voltage by the resistors 34 and 35, and Vload, which is the voltage of the load connection terminal 50.
  • the comparator 33 outputs Vc, which is a comparison result between Vth and Vload, to the port 22 (acquisition unit) of the MPU 20.
  • the transistor 310 performs an on / off operation on the GND side of the load 600.
  • the configuration of FIG. 5 indicates that “the load (600) is connected between the power supply and the load connection terminal, and the first switching element (310) is connected between the load connection terminal and the ground (GND).
  • the second switching element (410) and the current supply unit (400) are connected between the power source and the load connection terminal ”.
  • the IPD 300 is connected to the low-side driver as shown in FIG. It is possible to isolate a load abnormality with the apparatus used as the above.
  • the configuration of the switch 410 and the constant current circuit 400 is the same as that of the switch 41 and the constant current circuit 40 of FIG.
  • a constant of the constant current circuit 400 is determined so that a current flows from the constant current circuit 400 toward the capacitor 420.
  • the load 600 includes a well-known LED (light emitting diode) 610 and a resistor 620 for limiting the current flowing through the LED 610.
  • the load 600 is not limited to the LED, and may be a motor, a solenoid, or a switch circuit.
  • FIG. 6 shows the state of the output signal (Vc) from the detection unit 32 (comparator 33) when the load 600 is abnormal. Note that it is a precondition that the transistor 310 is off. Further, when Vload ⁇ Vth, Vc becomes H level.
  • Step 2 When the switch 410 is in the on state (Step 2), if the load 600 is grounded, Vc maintains the H level. When the load 600 is disconnected, the electric charge is accumulated in the capacitor 420, and Vload becomes the same as the voltage of the power supply (+ B). Therefore, Vc changes to the L level. Thereby, it can be determined whether it is a ground fault or a disconnection.
  • the state where Vc is at the H level corresponds to the abnormality detection signal. Details of the above state will be described later. Further, the H level of Vc is, for example, the same level as the power supply voltage applied to the comparator 33.
  • the L level of Vc is, for example, 0V.
  • FIG. 7 shows an abnormality determination process executed by the MPU 20 at a predetermined timing.
  • the processing of S31 to S33 is the same as S11 to S13 of FIG.
  • S34 it is determined whether or not the output of the comparator 33 is abnormal. That is, even when the transistor 310 is turned off, when Vc is at the H level as in Step 1 of FIG. When Vc is at the L level (S34: No), it is determined that the output of the comparator 33 is normal, and this process ends.
  • T10 is set to a value larger than the time required for Vc to change from the H level to the L level when the transistor 310 is turned off while the load 600 is operating normally.
  • a control command is output from the port 23 so that the switch 410 is turned on.
  • the constant current circuit 400 is connected to the load connection terminal 50, and current output is started (S37).
  • a current path such as the power source (+ B), the constant current circuit 400, the switch 410, the capacitor 420, and GND is formed.
  • the timer is restarted (S38).
  • the value of Vc output from the comparator 33 is acquired (S39). This is performed until the value of the timer exceeds T20 (second determination time) which is a predetermined time. That is, the value of Vc is sampled during T20.
  • the above-mentioned configuration includes the “current supply unit (400) connected to the load connection terminal via the second switching element (410), and when the determination unit determines that the load state is abnormal, the control unit Corresponds to a configuration in which the second switching element is turned on, and the determination unit determines the content of the load abnormality based on the state of the signal acquired by the acquisition unit when the second switching element is in the on state.
  • this configuration can be realized by a combination of common circuits without using expensive devices and circuits. Further, this is an operation after some abnormality is detected, and the user does not feel uncomfortable.
  • T20 is set so that it can be determined whether or not the value of Vc has changed. For example, it is longer than the time required to charge the capacitor 420 to the abnormality determination threshold.
  • the above-mentioned configuration is, “When the time when the acquisition unit continuously acquires the abnormality detection signal after the control unit turns on the second switching element is less than the second determination time, the load is disconnected.
  • This configuration corresponds to the configuration of “determining”, and with this configuration, it is possible to determine whether or not the load is disconnected in any of the low-side type driver circuits.
  • the above-described configuration is “when the time when the acquisition unit continuously acquires the abnormality detection signal after the second switching element is turned on exceeds a predetermined second determination time, the load is grounded. It is possible to determine whether or not the load is grounded by a device including a low-side driver circuit.
  • FIG. 8 shows the state of Vload, Vc, and constant current circuit 400 when the transistor 310 is turned off from the on state based on the control command of the MPU 20 from the port 21, and the state of the load 600 (disconnected when normal).
  • the timing chart showing each of the time and the time of earth fault) is shown.
  • Vload changes from 0 V to the voltage (BATT) of the power supply (+ B) at least until the time corresponding to the above-described T10 has elapsed. It changes from level to L level.
  • Vload remains 0 V even after T10 elapses, so Vc also remains at the H level (disconnected Step 1 state in FIG. 6).
  • Vc changes to the L level (disconnected Step 2 state in FIG. 6).
  • the state is the same as that at the time of disconnection until T10 elapses after the transistor 310 is turned off from the on state (the state of Step 1 of the ground fault in FIG. 6).
  • Vload maintains 0V. Therefore, Vc also maintains the H level state (the state of the ground fault Step 2 in FIG. 6).

Landscapes

  • Engineering & Computer Science (AREA)
  • Mechanical Engineering (AREA)
  • Circuit Arrangement For Electric Light Sources In General (AREA)
  • Electronic Switches (AREA)
PCT/JP2016/070767 2015-07-31 2016-07-14 異常検出装置 Ceased WO2017022440A1 (ja)

Priority Applications (1)

Application Number Priority Date Filing Date Title
US15/741,836 US10195991B2 (en) 2015-07-31 2016-07-14 Abnormality detection device

Applications Claiming Priority (2)

Application Number Priority Date Filing Date Title
JP2015-151907 2015-07-31
JP2015151907A JP6390916B2 (ja) 2015-07-31 2015-07-31 異常検出装置

Publications (1)

Publication Number Publication Date
WO2017022440A1 true WO2017022440A1 (ja) 2017-02-09

Family

ID=57942852

Family Applications (1)

Application Number Title Priority Date Filing Date
PCT/JP2016/070767 Ceased WO2017022440A1 (ja) 2015-07-31 2016-07-14 異常検出装置

Country Status (3)

Country Link
US (1) US10195991B2 (enExample)
JP (1) JP6390916B2 (enExample)
WO (1) WO2017022440A1 (enExample)

Families Citing this family (7)

* Cited by examiner, † Cited by third party
Publication number Priority date Publication date Assignee Title
JP6390916B2 (ja) * 2015-07-31 2018-09-19 株式会社デンソー 異常検出装置
KR101957485B1 (ko) * 2017-11-02 2019-03-12 현대오트론 주식회사 로우 사이드 구동 ic 고장진단 장치 및 방법
JP7119654B2 (ja) * 2018-07-02 2022-08-17 株式会社デンソー 負荷駆動装置
KR102100861B1 (ko) * 2018-12-06 2020-04-21 현대오트론 주식회사 로우 사이드 구동 ic 고장진단 장치 및 방법
JP7219333B2 (ja) * 2019-03-13 2023-02-07 日立Astemo株式会社 負荷駆動装置、エンジンシステム
JP7645671B2 (ja) * 2020-03-23 2025-03-14 古河電気工業株式会社 発光素子の故障判定装置、発光装置及び発光素子の故障判定方法
JP7527999B2 (ja) * 2021-02-15 2024-08-05 本田技研工業株式会社 電力供給回路

Citations (2)

* Cited by examiner, † Cited by third party
Publication number Priority date Publication date Assignee Title
JP2008092277A (ja) * 2006-10-02 2008-04-17 Hitachi Ltd 負荷駆動回路
JP2015076363A (ja) * 2013-10-11 2015-04-20 アルパイン株式会社 バックライトの異常検出装置および異常検出システム

Family Cites Families (10)

* Cited by examiner, † Cited by third party
Publication number Priority date Publication date Assignee Title
DE10115279A1 (de) * 2000-03-31 2001-10-18 Toshiba Lighting & Technology Entladungslampenlicht und Leuchteinrichtung hierfür
JP2006279866A (ja) * 2005-03-30 2006-10-12 Fujitsu Ten Ltd 負荷駆動装置
JP5200864B2 (ja) 2008-10-31 2013-06-05 三菱自動車工業株式会社 Led断線検出装置
KR101142280B1 (ko) * 2010-11-18 2012-05-07 주식회사 그라운드 Tn-c 공통접지를 이용한 낙뢰방호장치
JP5708817B2 (ja) * 2011-09-29 2015-04-30 富士電機株式会社 負荷駆動回路
JP6291720B2 (ja) * 2013-04-24 2018-03-14 株式会社デンソー Led異常検出装置
JP6124010B2 (ja) * 2013-08-26 2017-05-10 株式会社デンソー 電子制御装置
JP6119510B2 (ja) 2013-08-27 2017-04-26 株式会社デンソー Led点灯部の異常検出装置
JP6390916B2 (ja) * 2015-07-31 2018-09-19 株式会社デンソー 異常検出装置
JP6391608B2 (ja) * 2016-02-10 2018-09-19 株式会社デンソーテン 異常検知装置及び異常検知方法

Patent Citations (2)

* Cited by examiner, † Cited by third party
Publication number Priority date Publication date Assignee Title
JP2008092277A (ja) * 2006-10-02 2008-04-17 Hitachi Ltd 負荷駆動回路
JP2015076363A (ja) * 2013-10-11 2015-04-20 アルパイン株式会社 バックライトの異常検出装置および異常検出システム

Also Published As

Publication number Publication date
US10195991B2 (en) 2019-02-05
JP2017033741A (ja) 2017-02-09
JP6390916B2 (ja) 2018-09-19
US20180194283A1 (en) 2018-07-12

Similar Documents

Publication Publication Date Title
JP6390916B2 (ja) 異常検出装置
US10048305B2 (en) Semiconductor abnormality detection circuit
US20080247108A1 (en) Load drive device
JP4229656B2 (ja) 電流制限回路およびそれを備えた出力回路
US11329474B2 (en) Switching controller with adaptive overheating protection
WO2014125756A1 (ja) 電力供給装置
JP4829143B2 (ja) 温度検出回路
JP2006105603A (ja) 過電流検知方法および検知回路
US20080310068A1 (en) Control circuit of semiconductor device having over-heat protecting function
US9444446B2 (en) Switching control circuit for target switching element
CA2927030C (en) Led driver circuit
JP6488930B2 (ja) 電子制御装置
JP6291720B2 (ja) Led異常検出装置
JP6387888B2 (ja) 誘導性負荷駆動装置
JP6365384B2 (ja) サージ保護回路
JP6240587B2 (ja) 断線検出装置および断線検出方法
JP6870555B2 (ja) 監視装置
JP2017124748A (ja) 負荷駆動装置
KR102322659B1 (ko) 스위칭 레귤레이터
JP4205072B2 (ja) 電源供給装置
JP6939289B2 (ja) 負荷駆動回路
JP5530306B2 (ja) 過電流検出装置
JP2002067792A (ja) ヘッドランプHi制御における負荷ラインショート検出装置
KR102027214B1 (ko) 정전압-정전류 컨버터를 구비한 조명 센서등의 전압 스파이크 해소형 전원 제어 장치
JP2019186880A (ja) 負荷駆動装置

Legal Events

Date Code Title Description
121 Ep: the epo has been informed by wipo that ep was designated in this application

Ref document number: 16832719

Country of ref document: EP

Kind code of ref document: A1

NENP Non-entry into the national phase

Ref country code: DE

122 Ep: pct application non-entry in european phase

Ref document number: 16832719

Country of ref document: EP

Kind code of ref document: A1