WO2017017916A1 - 温度センサ - Google Patents

温度センサ Download PDF

Info

Publication number
WO2017017916A1
WO2017017916A1 PCT/JP2016/003272 JP2016003272W WO2017017916A1 WO 2017017916 A1 WO2017017916 A1 WO 2017017916A1 JP 2016003272 W JP2016003272 W JP 2016003272W WO 2017017916 A1 WO2017017916 A1 WO 2017017916A1
Authority
WO
WIPO (PCT)
Prior art keywords
pair
lead frames
insulating film
temperature sensor
thin film
Prior art date
Legal status (The legal status is an assumption and is not a legal conclusion. Google has not performed a legal analysis and makes no representation as to the accuracy of the status listed.)
Ceased
Application number
PCT/JP2016/003272
Other languages
English (en)
French (fr)
Japanese (ja)
Inventor
長友 憲昭
文夫 松本
均 稲葉
一太 竹島
山口 邦生
寛 田中
Current Assignee (The listed assignees may be inaccurate. Google has not performed a legal analysis and makes no representation or warranty as to the accuracy of the list.)
Mitsubishi Materials Corp
Original Assignee
Mitsubishi Materials Corp
Priority date (The priority date is an assumption and is not a legal conclusion. Google has not performed a legal analysis and makes no representation as to the accuracy of the date listed.)
Filing date
Publication date
Application filed by Mitsubishi Materials Corp filed Critical Mitsubishi Materials Corp
Priority to US15/748,202 priority Critical patent/US20180217007A1/en
Priority to CN201680044835.4A priority patent/CN107923801A/zh
Publication of WO2017017916A1 publication Critical patent/WO2017017916A1/ja
Anticipated expiration legal-status Critical
Ceased legal-status Critical Current

Links

Images

Classifications

    • GPHYSICS
    • G01MEASURING; TESTING
    • G01KMEASURING TEMPERATURE; MEASURING QUANTITY OF HEAT; THERMALLY-SENSITIVE ELEMENTS NOT OTHERWISE PROVIDED FOR
    • G01K7/00Measuring temperature based on the use of electric or magnetic elements directly sensitive to heat ; Power supply therefor, e.g. using thermoelectric elements
    • G01K7/16Measuring temperature based on the use of electric or magnetic elements directly sensitive to heat ; Power supply therefor, e.g. using thermoelectric elements using resistive elements
    • G01K7/22Measuring temperature based on the use of electric or magnetic elements directly sensitive to heat ; Power supply therefor, e.g. using thermoelectric elements using resistive elements the element being a non-linear resistance, e.g. thermistor
    • G01K7/223Measuring temperature based on the use of electric or magnetic elements directly sensitive to heat ; Power supply therefor, e.g. using thermoelectric elements using resistive elements the element being a non-linear resistance, e.g. thermistor characterised by the shape of the resistive element
    • GPHYSICS
    • G01MEASURING; TESTING
    • G01KMEASURING TEMPERATURE; MEASURING QUANTITY OF HEAT; THERMALLY-SENSITIVE ELEMENTS NOT OTHERWISE PROVIDED FOR
    • G01K1/00Details of thermometers not specially adapted for particular types of thermometer
    • G01K1/08Protective devices, e.g. casings
    • G01K1/12Protective devices, e.g. casings for preventing damage due to heat overloading
    • GPHYSICS
    • G03PHOTOGRAPHY; CINEMATOGRAPHY; ANALOGOUS TECHNIQUES USING WAVES OTHER THAN OPTICAL WAVES; ELECTROGRAPHY; HOLOGRAPHY
    • G03GELECTROGRAPHY; ELECTROPHOTOGRAPHY; MAGNETOGRAPHY
    • G03G15/00Apparatus for electrographic processes using a charge pattern
    • G03G15/20Apparatus for electrographic processes using a charge pattern for fixing, e.g. by using heat
    • G03G15/2003Apparatus for electrographic processes using a charge pattern for fixing, e.g. by using heat using heat
    • G03G15/2014Apparatus for electrographic processes using a charge pattern for fixing, e.g. by using heat using heat using contact heat
    • G03G15/2039Apparatus for electrographic processes using a charge pattern for fixing, e.g. by using heat using heat using contact heat with means for controlling the fixing temperature

Definitions

  • the present invention relates to a temperature sensor suitable for measuring the temperature of a heating roller of a copying machine, a printer or the like and having excellent responsiveness.
  • a heating sensor used in a copying machine or a printer is provided with a temperature sensor in contact with the heating roller in order to measure its temperature.
  • a temperature sensor for example, in Patent Document 1, a pair of lead frames, a thermal element disposed and connected between the lead frames, and a holding portion formed at an end portion of the pair of lead frames. And a temperature sensor having a protective tape (thin film sheet) that is provided on one side of the lead frame and the thermal element and is brought into contact with the heating roller.
  • Patent Document 1 a thin film thermistor in which a heat sensitive film is formed on one surface of an insulating substrate such as alumina is employed in addition to a bead thermistor and a chip thermistor as a heat sensitive element.
  • Patent Document 2 discloses a temperature sensor including a pair of lead frames, a sensor unit connected to the pair of lead frames, and an insulating holding unit fixed to the pair of lead frames to hold the lead frame. Has been proposed.
  • the sensor unit has an insulating film, a thin film thermistor portion patterned with the thermistor material on the surface of the insulating film, and a plurality of comb portions above and below the thin film thermistor portion.
  • a thin film thermistor portion is extended and bonded to the surface of the film, and is connected to a pair of pattern electrodes.
  • the present invention has been made in view of the above-described problems, and an object of the present invention is to provide a temperature sensor that is less likely to be scratched and has good responsiveness when temperature measurement is performed by contacting the measurement object.
  • the temperature sensor according to the first aspect of the invention includes a pair of lead frames, a sensor unit connected to the pair of lead frames, and an insulating property that is fixed to the pair of lead frames and holds the pair of lead frames. And a thin film thermistor portion patterned with a thermistor material on the upper surface of the insulating film, and the thin film thermistor.
  • a pair of comb-shaped electrodes that have a plurality of comb portions on at least one of the upper and lower portions and are patterned to face each other, one end of which is connected to the pair of comb-shaped electrodes and the other end of the pair
  • a pair of pattern electrodes connected to the lead frame and patterned on the top surface of the insulating film
  • the pair of lead frames and the sensor unit A pair of insulating protective tapes bonded to each other with the upper and lower sides sandwiched from each other, and both side portions of the insulating film are in the vicinity and inside of the outer corners disposed on the bonding surface side of the pair of lead frames. It is arranged, The both sides of a pair of said protective tape are bent toward the upper surface side on the outer side from the both sides of the said insulating film, It is characterized by the above-mentioned.
  • both sides of the insulating film are arranged near and inside the outer corners arranged on the bonding surface side of the pair of lead frames, and both sides of the pair of protective tape are insulated. Since the film is bent outward from both sides of the film toward the upper surface, the measurement object is hardly damaged and good responsiveness is obtained. That is, there is a step near the outer corner due to both sides of the insulating film arranged inside the outer corner of the lead frame, and this step creates a slight gap between the protective tape and the lead frame. When the lower surface of the protective tape is brought into contact with the measurement object, the portion where the outer corner portion is arranged is difficult to hit the measurement object, and scratches are hardly generated.
  • both sides of the protective tape are bent from the inside with respect to the outer corners of the pair of lead frames due to the narrow insulating film and the step, thereby reducing the contact surface with the measurement object and improving the response. .
  • the insulating film has a narrow width arranged on the inner side of the outer corner portion of the lead frame, the heat capacity is small and good responsiveness can be obtained.
  • both sides of the protective tape are bent toward the upper surface, both sides of the protective tape do not come into contact with the measurement object, and the measurement object can be prevented from being damaged by the both sides of the protection tape.
  • the temperature sensor according to a second invention is the temperature sensor according to the first invention, wherein the protective tape on the upper surface side is bonded to the protective tape on the lower surface side in a state where a tensile force is applied from both side portions toward the central portion. It is characterized by being. That is, in this temperature sensor, the upper surface side protective tape is bonded to the lower surface side protective tape with a tensile force applied from both sides to the center portion, so that the upper surface side protective tape has a tensile force. Thus, the bonded upper and lower protective tapes are bent upward on the outer sides of both sides of the insulating film, and the shape is maintained.
  • the temperature sensor according to a third aspect of the present invention is the temperature sensor according to the first or second aspect, wherein the distal ends of the pair of lead frames are connected to the pattern electrode at the distal end side of the thin film thermistor portion, and the proximal end It is characterized by having a shape that is wider inside than the side.
  • the distal ends of the pair of lead frames are connected to the pattern electrode on the distal end side of the thin film thermistor portion, and are wider on the inside than the proximal end side.
  • the adhesion area with the insulating film disposed on the inner side of the outer corner portion and having a smaller adhesion area can be increased with a wide tip portion, and the sensor portion can be held flat and stably.
  • the tip portion of the lead frame is arranged on the tip side of the thin film thermistor portion and is connected to the pattern electrode, so that the region of the thin film thermistor portion is not narrowed even if the tip portion is widened inward.
  • the present invention has the following effects. That is, according to the temperature sensor of the present invention, the both sides of the insulating film are arranged in the vicinity and inside of the outer corners arranged on the bonding surface side of the pair of lead frames, and both sides of the pair of protective tapes. However, since it is bent toward the upper surface side from the both sides of the insulating film, the measurement object is hardly damaged and good responsiveness is obtained. Therefore, the temperature sensor of the present invention is suitable for measuring the temperature of a heating roller of a copying machine, a printer, or the like because it can suppress damage even when pressed against an object to be measured and has high responsiveness. .
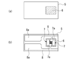
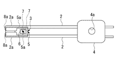
  • FIG. 1A is a plan view showing a temperature sensor according to an embodiment of the present invention, and FIG. In this embodiment, it is a top view which shows a sensor part. In this embodiment, it is the top view (a) which shows a thin film thermistor part formation process, and the top view (b) which shows an electrode formation process. In this embodiment, it is a top view which shows a lead frame joining process. It is sectional drawing which shows the prior art example of the temperature sensor which concerns on this invention.
  • FIGS. 1 to 4 Note that in some of the drawings used for the following description, the scale is appropriately changed as necessary to make each part recognizable or easily recognizable.
  • the temperature sensor 1 includes a pair of lead frames 2, a sensor unit 3 connected to the pair of lead frames 2, and a pair of lead frames fixed to the pair of lead frames 2. And an insulating holding portion 4 that holds 2.
  • the sensor unit 3 includes an insulating film 5 having a pair of lead frames 2 bonded to the upper surface, a thin film thermistor unit 6 patterned with the thermistor material on the upper surface of the insulating film 5, and an upper surface of the thin film thermistor unit 6.
  • a pair of comb-shaped electrodes 7 having a plurality of comb portions 7 a and patterned to face each other, one end connected to the pair of comb-shaped electrodes 7 and the other end connected to the pair of lead frames 2.
  • a pair of pattern electrodes 8 patterned on the upper surface of the insulating film 5 and a pair of insulating protective tapes 9A and 9B bonded to each other with the pair of lead frames 2 and the sensor portion 3 sandwiched from above and below are provided. ing.
  • Both side portions 5 a of the insulating film 5 are disposed in the vicinity and inside of the outer corner portion 2 b disposed on the bonding surface side of the pair of lead frames 2. That is, the width of the insulating film 5 is set slightly smaller than the distance between the outer corners 2 b of the pair of lead frames 2. Further, both side portions 9a of the pair of protective tapes 9A and 9B are bent outward from the both side portions 5a of the insulating film 5 toward the upper surface side. That is, the pair of protective tapes 9 ⁇ / b> A and 9 ⁇ / b> B is set wider than the pair of lead frames 2, and is bent in a valley fold along both side portions 5 a of the insulating film 5. Note that the bent state is maintained by adhering the protective tape 9A on the upper surface side to the protective tape 9B on the lower surface side in a state where a pulling force is applied from both side portions toward the central portion.
  • the distal end portions 2a of the pair of lead frames 2 are connected to the pattern electrode 8 on the distal end side with respect to the thin film thermistor portion 6, and have a shape wider on the inside than the proximal end side.
  • a wide pad portion 8 a corresponding to the tip portion 2 a of the lead frame 2 is formed on the tip side of the pair of pattern electrodes 8.
  • a pair of lead frames 2 are bonded to these pad portions 8a by an adhesive such as a solder material or a conductive resin adhesive, or resistance welding.
  • an insulating protective film 10 that covers the pattern electrode 8, the thin film thermistor portion 6, and the comb electrode 7 excluding the pad portion 8 a is formed on the insulating film 5.
  • the insulating film 5 has a substantially rectangular shape, and is formed in a belt shape with a polyimide resin sheet having a thickness of 7.5 to 125 ⁇ m, for example.
  • the insulating film 5 can be made of PET: polyethylene terephthalate, PEN: polyethylene naphthalate, or the like, but a polyimide film is desirable for measuring the temperature of the heating roller because the maximum use temperature is as high as 230 ° C.
  • the thin film thermistor portion 6 is disposed on the base end side of the insulating film 5 and is formed of, for example, a TiAlN thermistor material.
  • the pattern electrode 8 and the comb-shaped electrode 7 are formed on the thin film thermistor section 6 with a thickness of 5 to 100 nm of Cr or NiCr and a noble metal such as Au on the thickness of 50 to 1000 nm. And an electrode layer formed.
  • the pair of comb-shaped electrodes 7 has a comb-shaped pattern in which the comb portions 7a are alternately arranged so as to face each other.
  • the comb portion 7 a extends along the extending direction of the insulating film 5. That is, when the back surface side of the insulating film 5 is pressed against a rotating heating roller to measure the temperature, the insulating film 5 is curved with a curvature in the extending direction of the insulating film 5. Also, bending stress is applied in the same direction. At this time, since the comb portion 7a extends in the same direction, the thin film thermistor portion 6 is reinforced, and generation of cracks can be suppressed.
  • the protective film 10 is an insulating resin film or the like, for example, a polyimide film having a thickness of 20 ⁇ m is employed.
  • the protective tapes 9A and 9B are made of a fluorocarbon resin such as Teflon (registered trademark).
  • the holding portion 4 has a mounting hole 4a.
  • the manufacturing method of the temperature sensor 1 of the present embodiment includes a thin film thermistor portion forming step of patterning the thin film thermistor portion 6 on the surface of the insulating film 5 and a pair of comb electrodes 7 facing each other on the thin film thermistor portion 6.
  • Ti x Al y is used by reactive sputtering in a nitrogen-containing atmosphere using a Ti—Al alloy sputtering target on an insulating film 5 of polyimide film having a thickness of 50 ⁇ m.
  • the sputtering conditions at that time were an ultimate vacuum of 5 ⁇ 10 ⁇ 6 Pa, a sputtering gas pressure of 0.4 Pa, a target input power (output) of 200 W, and a nitrogen gas fraction of 20 in a mixed gas atmosphere of Ar gas + nitrogen gas. %.
  • a resist solution is applied onto the formed thermistor film by a spin coater, pre-baked at 110 ° C. for 1 minute 30 seconds, exposed to light with an exposure device, and unnecessary portions are removed with a developer, and further at 150 ° C. for 5 minutes. Patterning is performed by post-baking. Thereafter, the thermistor film unnecessary Ti x Al y N z by wet etching in a commercial Ti etchant, as shown in FIG. 3 (a), to a thin film thermistor portion 6 of a desired shape on the resist stripping.
  • a 20-nm-thick Cr film bonding layer is formed on the thin film thermistor portion 6 and the insulating film 5 by sputtering. Further, an Au film electrode layer is formed to a thickness of 200 nm on this bonding layer by sputtering.
  • pre-baking is performed at 110 ° C. for 1 minute and 30 seconds, and after exposure with an exposure apparatus, unnecessary portions are removed with a developer, and at 150 ° C. Patterning is performed by post-baking for 5 minutes. Thereafter, unnecessary electrode portions are wet-etched in the order of a commercially available Au etchant and a Cr etchant, and as shown in FIG. 3B, desired comb electrodes 7 and pattern electrodes 8 are formed by resist stripping. .
  • a polyimide varnish is applied to a predetermined portion on the surface of the insulating film 5 by a printing method and cured at 180 ° C. for 30 minutes to form a polyimide protective film 10 having a thickness of 20 ⁇ m.
  • Ni plating is applied to a region to be the pad portion 8a, and a pair of pad portions 8a is formed as shown in FIG.
  • a plurality of sensor units 3 are manufactured simultaneously, a plurality of thin film thermistor units 6, comb electrodes 7, pattern electrodes 8, protective films 10 and pad units 8a are formed on a large sheet of insulating film 5 as described above. After that, each sensor unit 3 is cut from the large sheet.
  • the tip end portion 2a of the lead frame 2 is bonded to the pair of pad portions 8a by resistance welding.
  • the sensor part 3 and the lead frame 2 are sandwiched from above and below by a pair of protective tapes 9A and 9B, and the adhesive surfaces of the side parts 9a of the pair of protective tapes 9A and 9B are pressed and bonded.
  • the protective tape 9A on the upper surface side is bonded to the protective tape 9B on the lower surface side in a state where a tensile force from both side portions toward the central portion is applied.
  • the lower surface side protective tape 9B is pulled inward by the upper surface side protective tape 9A, so that both side portions 9a of the pair of protective tapes 9A and 9B are insulated.
  • the temperature sensor 1 is manufactured by bending from both side portions 5a of the film 5 toward the upper surface side on the outside.
  • the both side portions 5a of the insulating film 5 are disposed in the vicinity and inside of the outer corner portion 2b disposed on the bonding surface side of the pair of lead frames 2, and a pair of protections. Since both side portions 9a of the tapes 9A and 9B are bent outward from the both side portions 5a of the insulating film 5 toward the upper surface side, the outer corner portions 2b of the lead frame 2 are difficult to come into contact with the object to be measured. Good responsiveness is obtained by the insulating film 5 having a narrow width.
  • a step is formed in the vicinity of the outer corner 2b by both side portions 5a of the insulating film 5 disposed in the vicinity of the outer corner 2b of the lead frame 2, and the protective tapes 9A and 9B and the lead frame are bent outside the step.
  • a portion where the outer corner portion 2b is arranged is difficult to hit the measurement object. Scratches are unlikely to occur.
  • both sides 9a of the protective tapes 9A and 9B are bent from the inner side than the outer corners 2b of the pair of lead frames 2 by the narrow insulating film 5 and the step, and the contact surface with the object to be measured is small. Responsiveness is improved. Furthermore, since the insulating film 5 has a narrow width arranged on the inner side of the outer corner 2b of the lead frame 2, the heat capacity is small and good responsiveness can be obtained.
  • both side portions of the pair of protective tapes 9A and 9B are bent toward the upper surface side, both side portions 9a of the pair of protective tapes 9A and 9B do not contact the measurement object, and the pair of protective tapes 9A and 9B It is possible to prevent the measurement object from being damaged by the side portions 9a of 9B.
  • the upper surface side protective tape 9A is bonded to the lower surface side protective tape 9B in a state where a tensile force is applied from both side portions 9a to the central portion, the upper surface side protective tape 9A is The upper and lower protective tapes 9 ⁇ / b> A and 9 ⁇ / b> B are bent upward on the outer sides of the both side portions 5 a of the insulating film 5, and the shape is maintained.
  • the distal end portions 2a of the pair of lead frames 2 are connected to the pattern electrode 8 on the distal end side with respect to the thin film thermistor portion 6, and have a shape wider on the inside than the proximal end side,
  • the sensor 3 can be held flat and stably by increasing the adhesion area with the insulating film 5 disposed on the inner side of the outer corner 2b and having a smaller adhesion area with the wide tip 5a.
  • the distal end portion 2a of the lead frame 2 is disposed on the distal end side of the thin film thermistor portion 6 and connected to the pattern electrode 8, so that the region of the thin film thermistor portion 6 is narrowed even if the distal end portion 2a is widened inward. There is nothing.
  • SYMBOLS 1 Temperature sensor, 2 ... Lead frame, 2b ... Outer corner part of lead frame, 3 ... Sensor part, 4 ... Holding part, 5 ... Insulating film, 5a ... Both sides of insulating film, 6 ... Thin film thermistor part, 7 ... Comb electrode, 7a ... Comb, 8 ... Pattern electrode, 9A, 9B ... Protection tape, 9a ... Both sides of protection tape

Landscapes

  • Physics & Mathematics (AREA)
  • General Physics & Mathematics (AREA)
  • Nonlinear Science (AREA)
  • Measuring Temperature Or Quantity Of Heat (AREA)
  • Thermistors And Varistors (AREA)
PCT/JP2016/003272 2015-07-30 2016-07-11 温度センサ Ceased WO2017017916A1 (ja)

Priority Applications (2)

Application Number Priority Date Filing Date Title
US15/748,202 US20180217007A1 (en) 2015-07-30 2016-07-11 Temperature sensor
CN201680044835.4A CN107923801A (zh) 2015-07-30 2016-07-11 温度传感器

Applications Claiming Priority (2)

Application Number Priority Date Filing Date Title
JP2015-150529 2015-07-30
JP2015150529A JP6617909B2 (ja) 2015-07-30 2015-07-30 温度センサ

Publications (1)

Publication Number Publication Date
WO2017017916A1 true WO2017017916A1 (ja) 2017-02-02

Family

ID=57884337

Family Applications (1)

Application Number Title Priority Date Filing Date
PCT/JP2016/003272 Ceased WO2017017916A1 (ja) 2015-07-30 2016-07-11 温度センサ

Country Status (4)

Country Link
US (1) US20180217007A1 (enExample)
JP (1) JP6617909B2 (enExample)
CN (1) CN107923801A (enExample)
WO (1) WO2017017916A1 (enExample)

Families Citing this family (3)

* Cited by examiner, † Cited by third party
Publication number Priority date Publication date Assignee Title
DE102018113726A1 (de) * 2018-06-08 2019-12-12 Endress + Hauser Flowtec Ag Messgerät
JP7293734B2 (ja) * 2019-03-06 2023-06-20 株式会社リコー 定着装置及び画像形成装置
JP2021047241A (ja) * 2019-09-17 2021-03-25 富士ゼロックス株式会社 定着装置及び画像形成装置

Citations (4)

* Cited by examiner, † Cited by third party
Publication number Priority date Publication date Assignee Title
JPH0519929U (ja) * 1991-07-04 1993-03-12 石塚電子株式会社 温度センサ
JP2008058226A (ja) * 2006-09-01 2008-03-13 Canon Inc 温度検知装置及び加熱装置
WO2014148186A1 (ja) * 2013-03-21 2014-09-25 三菱マテリアル株式会社 温度センサ
JP2014182086A (ja) * 2013-03-21 2014-09-29 Mitsubishi Materials Corp 温度センサ

Family Cites Families (2)

* Cited by examiner, † Cited by third party
Publication number Priority date Publication date Assignee Title
JP5896157B2 (ja) * 2012-09-06 2016-03-30 三菱マテリアル株式会社 温度センサ
JP6011285B2 (ja) * 2012-12-03 2016-10-19 三菱マテリアル株式会社 温度センサ

Patent Citations (4)

* Cited by examiner, † Cited by third party
Publication number Priority date Publication date Assignee Title
JPH0519929U (ja) * 1991-07-04 1993-03-12 石塚電子株式会社 温度センサ
JP2008058226A (ja) * 2006-09-01 2008-03-13 Canon Inc 温度検知装置及び加熱装置
WO2014148186A1 (ja) * 2013-03-21 2014-09-25 三菱マテリアル株式会社 温度センサ
JP2014182086A (ja) * 2013-03-21 2014-09-29 Mitsubishi Materials Corp 温度センサ

Also Published As

Publication number Publication date
US20180217007A1 (en) 2018-08-02
JP2017032336A (ja) 2017-02-09
CN107923801A (zh) 2018-04-17
JP6617909B2 (ja) 2019-12-11

Similar Documents

Publication Publication Date Title
JP5928829B2 (ja) 温度センサ
WO2014038719A1 (ja) 温度センサ
JP2011196711A (ja) 薄膜サーミスタセンサ
JP6617909B2 (ja) 温度センサ
JP6603991B2 (ja) 温度センサ
JP6256690B2 (ja) 非接触温度センサ
JP6052614B2 (ja) 温度センサ
JP6583073B2 (ja) 温度センサ
JP6684435B2 (ja) 温度センサ
JP2017026415A (ja) 温度センサ
JP6641770B2 (ja) 温度センサ
JP2017053782A (ja) 温度センサ
JP5652082B2 (ja) 温度センサ付き電解コンデンサ
JP6410048B2 (ja) 温度センサ
WO2017081832A1 (ja) 温度センサ及びその製造方法
JP6460376B2 (ja) 温度センサ及びその製造方法
JP6772843B2 (ja) 温度センサ
JPH11354302A (ja) 薄膜抵抗素子
JP2016090262A (ja) 温度センサ及びその製造方法
JP6410024B2 (ja) 温度センサ
JP6422007B2 (ja) 非接触温度センサ
JP2018132497A (ja) 温度センサ
JP2017096719A (ja) 温度センサ及びその製造方法
JP6052609B2 (ja) 温度センサ
JP2017161331A (ja) 温度センサ及びその製造方法

Legal Events

Date Code Title Description
121 Ep: the epo has been informed by wipo that ep was designated in this application

Ref document number: 16830024

Country of ref document: EP

Kind code of ref document: A1

WWE Wipo information: entry into national phase

Ref document number: 15748202

Country of ref document: US

NENP Non-entry into the national phase

Ref country code: DE

122 Ep: pct application non-entry in european phase

Ref document number: 16830024

Country of ref document: EP

Kind code of ref document: A1