WO2016170741A1 - Vibrator, vibration-type driving device, image forming apparatus, robot, and pan head - Google Patents

Vibrator, vibration-type driving device, image forming apparatus, robot, and pan head Download PDF

Info

Publication number
WO2016170741A1
WO2016170741A1 PCT/JP2016/001851 JP2016001851W WO2016170741A1 WO 2016170741 A1 WO2016170741 A1 WO 2016170741A1 JP 2016001851 W JP2016001851 W JP 2016001851W WO 2016170741 A1 WO2016170741 A1 WO 2016170741A1
Authority
WO
WIPO (PCT)
Prior art keywords
protrusion
vibrating member
vibrator
vibrating
vibrator according
Prior art date
Legal status (The legal status is an assumption and is not a legal conclusion. Google has not performed a legal analysis and makes no representation as to the accuracy of the status listed.)
Ceased
Application number
PCT/JP2016/001851
Other languages
English (en)
French (fr)
Inventor
Takao Mori
Yoshiharu Irei
Masaaki UDAGAWA
Yu Takahashi
Takayuki Tsukimoto
Hiroyuki Seki
Satoshi Tsuchiya
Current Assignee (The listed assignees may be inaccurate. Google has not performed a legal analysis and makes no representation or warranty as to the accuracy of the list.)
Canon Inc
Original Assignee
Canon Inc
Priority date (The priority date is an assumption and is not a legal conclusion. Google has not performed a legal analysis and makes no representation as to the accuracy of the date listed.)
Filing date
Publication date
Application filed by Canon Inc filed Critical Canon Inc
Priority to US15/566,175 priority Critical patent/US10899004B2/en
Publication of WO2016170741A1 publication Critical patent/WO2016170741A1/en
Anticipated expiration legal-status Critical
Ceased legal-status Critical Current

Links

Images

Classifications

    • BPERFORMING OPERATIONS; TRANSPORTING
    • B25HAND TOOLS; PORTABLE POWER-DRIVEN TOOLS; MANIPULATORS
    • B25JMANIPULATORS; CHAMBERS PROVIDED WITH MANIPULATION DEVICES
    • B25J9/00Programme-controlled manipulators
    • B25J9/10Programme-controlled manipulators characterised by positioning means for manipulator elements
    • B25J9/12Programme-controlled manipulators characterised by positioning means for manipulator elements electric
    • B25J9/126Rotary actuators
    • GPHYSICS
    • G03PHOTOGRAPHY; CINEMATOGRAPHY; ANALOGOUS TECHNIQUES USING WAVES OTHER THAN OPTICAL WAVES; ELECTROGRAPHY; HOLOGRAPHY
    • G03GELECTROGRAPHY; ELECTROPHOTOGRAPHY; MAGNETOGRAPHY
    • G03G15/00Apparatus for electrographic processes using a charge pattern
    • G03G15/14Apparatus for electrographic processes using a charge pattern for transferring a pattern to a second base
    • G03G15/16Apparatus for electrographic processes using a charge pattern for transferring a pattern to a second base of a toner pattern, e.g. a powder pattern, e.g. magnetic transfer
    • G03G15/1605Apparatus for electrographic processes using a charge pattern for transferring a pattern to a second base of a toner pattern, e.g. a powder pattern, e.g. magnetic transfer using at least one intermediate support
    • G03G15/1615Apparatus for electrographic processes using a charge pattern for transferring a pattern to a second base of a toner pattern, e.g. a powder pattern, e.g. magnetic transfer using at least one intermediate support relating to the driving mechanism for the intermediate support, e.g. gears, couplings, belt tensioning
    • GPHYSICS
    • G03PHOTOGRAPHY; CINEMATOGRAPHY; ANALOGOUS TECHNIQUES USING WAVES OTHER THAN OPTICAL WAVES; ELECTROGRAPHY; HOLOGRAPHY
    • G03GELECTROGRAPHY; ELECTROPHOTOGRAPHY; MAGNETOGRAPHY
    • G03G15/00Apparatus for electrographic processes using a charge pattern
    • G03G15/75Details relating to xerographic drum, band or plate, e.g. replacing, testing
    • G03G15/757Drive mechanisms for photosensitive medium, e.g. gears
    • GPHYSICS
    • G03PHOTOGRAPHY; CINEMATOGRAPHY; ANALOGOUS TECHNIQUES USING WAVES OTHER THAN OPTICAL WAVES; ELECTROGRAPHY; HOLOGRAPHY
    • G03GELECTROGRAPHY; ELECTROPHOTOGRAPHY; MAGNETOGRAPHY
    • G03G21/00Arrangements not provided for by groups G03G13/00 - G03G19/00, e.g. cleaning, elimination of residual charge
    • G03G21/16Mechanical means for facilitating the maintenance of the apparatus, e.g. modular arrangements
    • G03G21/1642Mechanical means for facilitating the maintenance of the apparatus, e.g. modular arrangements for connecting the different parts of the apparatus
    • G03G21/1647Mechanical connection means
    • HELECTRICITY
    • H02GENERATION; CONVERSION OR DISTRIBUTION OF ELECTRIC POWER
    • H02NELECTRIC MACHINES NOT OTHERWISE PROVIDED FOR
    • H02N2/00Electric machines in general using piezoelectric effect, electrostriction or magnetostriction
    • H02N2/0005Electric machines in general using piezoelectric effect, electrostriction or magnetostriction producing non-specific motion; Details common to machines covered by H02N2/02 - H02N2/16
    • H02N2/001Driving devices, e.g. vibrators
    • H02N2/0015Driving devices, e.g. vibrators using only bending modes
    • HELECTRICITY
    • H02GENERATION; CONVERSION OR DISTRIBUTION OF ELECTRIC POWER
    • H02NELECTRIC MACHINES NOT OTHERWISE PROVIDED FOR
    • H02N2/00Electric machines in general using piezoelectric effect, electrostriction or magnetostriction
    • H02N2/0005Electric machines in general using piezoelectric effect, electrostriction or magnetostriction producing non-specific motion; Details common to machines covered by H02N2/02 - H02N2/16
    • H02N2/005Mechanical details, e.g. housings
    • H02N2/0065Friction interface
    • HELECTRICITY
    • H02GENERATION; CONVERSION OR DISTRIBUTION OF ELECTRIC POWER
    • H02NELECTRIC MACHINES NOT OTHERWISE PROVIDED FOR
    • H02N2/00Electric machines in general using piezoelectric effect, electrostriction or magnetostriction
    • H02N2/10Electric machines in general using piezoelectric effect, electrostriction or magnetostriction producing rotary motion, e.g. rotary motors
    • H02N2/16Electric machines in general using piezoelectric effect, electrostriction or magnetostriction producing rotary motion, e.g. rotary motors using travelling waves, i.e. Rayleigh surface waves
    • H02N2/163Motors with ring stator
    • HELECTRICITY
    • H02GENERATION; CONVERSION OR DISTRIBUTION OF ELECTRIC POWER
    • H02NELECTRIC MACHINES NOT OTHERWISE PROVIDED FOR
    • H02N2/00Electric machines in general using piezoelectric effect, electrostriction or magnetostriction
    • H02N2/22Methods relating to manufacturing, e.g. assembling, calibration
    • GPHYSICS
    • G03PHOTOGRAPHY; CINEMATOGRAPHY; ANALOGOUS TECHNIQUES USING WAVES OTHER THAN OPTICAL WAVES; ELECTROGRAPHY; HOLOGRAPHY
    • G03BAPPARATUS OR ARRANGEMENTS FOR TAKING PHOTOGRAPHS OR FOR PROJECTING OR VIEWING THEM; APPARATUS OR ARRANGEMENTS EMPLOYING ANALOGOUS TECHNIQUES USING WAVES OTHER THAN OPTICAL WAVES; ACCESSORIES THEREFOR
    • G03B17/00Details of cameras or camera bodies; Accessories therefor
    • G03B17/56Accessories
    • G03B17/561Support related camera accessories
    • GPHYSICS
    • G03PHOTOGRAPHY; CINEMATOGRAPHY; ANALOGOUS TECHNIQUES USING WAVES OTHER THAN OPTICAL WAVES; ELECTROGRAPHY; HOLOGRAPHY
    • G03GELECTROGRAPHY; ELECTROPHOTOGRAPHY; MAGNETOGRAPHY
    • G03G2221/00Processes not provided for by group G03G2215/00, e.g. cleaning or residual charge elimination
    • G03G2221/16Mechanical means for facilitating the maintenance of the apparatus, e.g. modular arrangements and complete machine concepts
    • G03G2221/1651Mechanical means for facilitating the maintenance of the apparatus, e.g. modular arrangements and complete machine concepts for connecting the different parts
    • G03G2221/1657Mechanical means for facilitating the maintenance of the apparatus, e.g. modular arrangements and complete machine concepts for connecting the different parts transmitting mechanical drive power

Definitions

  • the present invention relates to a vibrator that is preferably used in a vibration-type driving device, which is, for example, a so-called vibration-wave motor that is driven by a frictional force generated as a result of bringing a movable member into contact with such a vibrator, and relates to a vibration-type driving device that includes the vibrator, an image forming apparatus, a robot, and a pan head that includes an imaging apparatus and a sensor.
  • a vibration-type driving device which is, for example, a so-called vibration-wave motor that is driven by a frictional force generated as a result of bringing a movable member into contact with such a vibrator
  • a vibration-type driving device that includes the vibrator, an image forming apparatus, a robot, and a pan head that includes an imaging apparatus and a sensor.
  • vibration-wave motors have characteristics to rotate at a low speed, to generate a high torque, and the like, such a vibration-wave motor has been put to practical use as, for example, an autofocus drive motor in a photographing lens of a single-lens reflex camera, and in recent years, there has been a need for a further improvement in productivity and a further reduction in the manufacturing costs.
  • a vibration-wave motor including a vibrating member that forms a vibrator and that is manufactured by using press working, which is a method of processing plate materials.
  • PTL 1 discloses a vibration-wave driving device that includes a vibrator, which is formed by press working, and a contact member, which comes into contact with and applies pressure to the vibrator via a pressing unit, and that has a configuration in which the vibrator and the contact member are caused to move relative to each other.
  • a vibrating member has a circular plate-like shape and includes, as driving portions thereof, a plurality of first projecting portions and a plurality of second projecting portions on each of which bending has been performed in such a manner that the first projecting portions and the second projecting portions project toward different sides with respect to a neutral plane of vibration generated in the vibrating member, the neutral plane serving as the boundary between the first projecting portions and the second projecting portions.
  • Each of the first and second projecting portions comes into contact with one of a first contact member and a second contact member, which are disposed on the two surface sides of a vibrator, such that the vibrator and the contact members are caused to move relative to each other.
  • vibration-wave motors there is a need for vibration-wave motors to be manufactured at low manufacturing costs and to be able to generate a high torque.
  • a motor pressing force which is a pressing force between a vibrator and a contact member, and a frictional force generated in a friction surface need to be increased.
  • a contact pressure generated in a contact portion is increased, and as a result, the durability of a vibration-type driving device will deteriorate.
  • a mechanism that increases the area of a friction surface is required.
  • the area of a contact surface is the total area of all the friction surfaces of projections of a vibrator, and in PTL 1 and PTL 2, since projecting portions are formed on both the front and rear surfaces of the vibrating member, which is formed of a single plate material, a sufficiently large contact area may not be obtained.
  • the vibrating member is formed of a thin plate, when a high motor pressing force is applied by a high torque motor, the vibrating member elastically deforms due to the motor pressing force and a frictional force, so that a sufficient driving force may not be transmitted to the contact member.
  • an aspect of the present invention relates to a vibrator including a first vibrating member that has a first surface and a second surface, which is opposite to the first surface, a second vibrating member that has a third surface and a fourth surface, which is opposite to the third surface, and an electric-mechanical energy conversion element that is fixed to the first vibrating member.
  • the first vibrating member includes a first protrusion protruding from the first surface in a direction having a first direction component perpendicular to the first surface.
  • the second vibrating member includes a second protrusion protruding from the third surface in a direction having a second direction component, which is opposite to the first direction component.
  • the first protrusion and the second protrusion each have a hollow structure, and the first vibrating member and the second vibrating member are disposed in such a manner that the second surface and the fourth surface face each other.
  • a vibration-type driving device that can at least generate a high torque or that can at least have a high durability or a vibration-type driving device that can generate a high torque and that has a high durability can be provided.
  • Fig. 1 is a perspective view illustrating an example of a vibrator according to a first embodiment of the present invention.
  • Fig. 2 is a diagram illustrating an example of a vibration-type driving device according to the present invention.
  • Fig. 3 is a sectional view illustrating an example of a vibrating portion according to the first embodiment of the present invention.
  • Fig. 4 is a diagram illustrating an exemplary method of manufacturing the vibrating portion.
  • Fig. 5 is a sectional view illustrating an example of the vibrator that additionally includes an intermediate ring.
  • Fig. 6 is a diagram illustrating an exemplary configuration for reducing unevenness in the bending rigidity of the vibrator.
  • Fig. 1 is a perspective view illustrating an example of a vibrator according to a first embodiment of the present invention.
  • Fig. 2 is a diagram illustrating an example of a vibration-type driving device according to the present invention.
  • Fig. 3 is a sectional view illustrating an example of a vibrating portion according
  • FIG. 7 is a diagram illustrating another exemplary configuration for reducing the unevenness in the bending rigidity of the vibrator.
  • Fig. 8 is a perspective view of a vibrator according to a modification of the first embodiment.
  • Fig. 9 is a sectional view of the vibrator according to the modification of the first embodiment.
  • Fig. 10 is a sectional view illustrating an example of a vibrator that additionally includes a support member.
  • Fig. 11 is a diagram illustrating an application of a vibrator according to a third embodiment.
  • Fig. 12 is a diagram illustrating another application of the vibrator according to the third embodiment.
  • Fig. 13 is a diagram illustrating another application of the vibrator according to the third embodiment.
  • Fig. 14 is a diagram illustrating another application of the vibrator according to the third embodiment.
  • Fig. 15A is a diagram illustrating another application of the vibrator according to the third embodiment.
  • Fig. 15B is a diagram illustrating another application of the vibrator according to
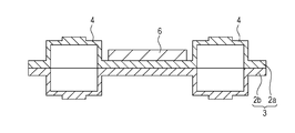
  • FIG. 1 is a perspective view of a vibrator 1.
  • the vibrator 1 includes a vibrating portion 3 that includes a plurality of vibrating members 2a and 2b and a piezoelectric element 6, which is an electric-mechanical energy conversion element.
  • the vibrating portion 3 and the piezoelectric element 6 each have a ring-like shape.
  • Each of the vibrating members 2a and 2b includes protrusions 4 each having a cylindrical shape.
  • Each of the protrusions 4 has a friction surface fs at an end thereof, and the protrusions 4 are disposed with an interval therebetween in a driving direction (circumferential direction).
  • the term "cylindrical shape” denotes cylindrical shapes whose cross sections perpendicular to a height direction are a circular shape, an elliptical shape, a polygonal shape, and a polygonal shape with rounded corners.
  • Contact members are each disposed above the friction surfaces fs of the protrusions 4 of the vibrating member 2a or above the friction surfaces fs of the protrusions 4 of the vibrating member 2b, and a pressing mechanism applies a pressing force in a direction normal to the friction surfaces fs to the vibrator 1 and the contact members.
  • a vibration-type driving device 30 includes the vibrator 1, driven members 31 that are driven by the vibrator 1, pressing members 32 that apply a pressing force to the vibrator 1 and the driven members 31, and a shaft 33 extending through the centers of the vibrator 1 and the driven members 31.
  • Fig. 2 illustrates the vibration-type driving device 30 that includes plate springs, which are examples of the pressing members 32.
  • the driven members 31 come into contact with and apply pressure to the protrusions 4 and are driven by, for example, elliptical motion of the protrusions 4 generated as a result of applying an alternating-current voltage to an electrode of the vibrator 1. Accordingly, relative positions of the protrusions 4 and contact portions of the driven members 31 change in the driving direction.
  • the driving direction is a direction in which the driven members 31 are caused to move relative to the vibrator 1 as a result of being driven by the vibrator 1, and in the first embodiment, the driving direction refers to a direction ⁇ (circumferential direction) illustrated in Fig. 1.
  • Fig. 3 is a diagram illustrating the cross section of the vibrating portion 3 illustrated in Fig. 1 in an enlarged manner for describing the details of the vibrator 1.
  • the vibrating portion 3 includes two vibrating members 2, which are a first vibrating member 2a and a second vibrating member 2b, and the first vibrating member 2a and the second vibrating member 2b are superposed with each other in such a manner that a second surface of the first vibrating member 2a that is opposite to a first surface of the first vibrating member 2a, the first surface having the protrusions 4 formed thereon, and a fourth surface of the second vibrating member 2b that is opposite to a third surface of the second vibrating member 2b, the third surface having the protrusions 4 formed thereon, face each other.
  • the vibrator 1 has the following configuration.
  • the vibrator 1 includes the first vibrating member 2a, the second vibrating member 2b, and the piezoelectric element 6, which is an electric-mechanical energy conversion element and which is fixed to the first vibrating member 2a.
  • the first vibrating member 2a has the first surface on which first protrusions 4 are formed and the second surface that is opposite to the first surface
  • the second vibrating member 2b has the third surface on which second protrusions 4 are formed and the fourth surface that is opposite to the third surface.
  • the first protrusions 4 protrude from the first surface in a direction having a direction component (positive Z direction in Fig.
  • first vibrating member 2a and the second vibrating member 2b are joined together in such a manner that the second surface and the fourth surface face each other.
  • the piezoelectric element 6 is disposed at a position further toward an inner periphery side than the protrusions 4, and bending vibration having a plurality of peaks in the circumferential direction is generated in the vibrating portion 3 as a result of applying an alternating-current signal to an electrode pattern (not illustrated).
  • This bending vibration generates a very small elliptical motion of the vibrating portion 3 and causes the contact members to move relative to the vibrating portion 3.
  • the protrusions 4 increase the amplitude of the elliptical motion, and as the heights of the protrusions 4 are larger, a vibration-type driving device capable of producing a higher rotational driving force can be obtained.
  • the vibrator 1 has a configuration in which an output power can be extracted from contact surfaces of the protrusions 4 located on the top surface of the vibrator 1 and contact surfaces of the protrusions 4 located on the bottom surface of the vibrator 1.
  • the load on each of the contact surfaces decreases, so that the durability of the vibration-type driving device 30 can be improved.
  • the protrusions 4 are formed on only one surface of each of the vibrating members 2, compared with the case where protrusions are formed on the two surfaces of one vibrating member, a dense arrangement of protrusions can be realized, and this configuration is advantageous for the improvement in the durability of the vibration-type driving device 30.
  • the vibrating members 2 and the protrusions 4 can be integrally formed by press working. More specifically, a member having a certain width in a radial direction, which is a ring-shaped plate member in the first embodiment, is prepared, and drawing is performed on the member in a thickness direction of the member so as to form the protrusions 4 each of which has a height larger than a plate thickness of the original member (material).
  • Each of the protrusions 4 can be formed so as to have a hollow structure by the above processing method, and this hollow structure allows the protrusions 4 to be easily formed high.
  • Each of the end portions of the protrusions 4 has a thin-plate-shaped spring structure and has flexibility in a direction in which a pressing force is applied. Deformation amounts of the contact surfaces fs in the direction normal to the contact surfaces fs due to the motor pressing force are mainly determined by the thicknesses of the peripheral portions of the contact surfaces fs.
  • the entire volume of the material forming the protrusions 4 is equal to a volume Vt of a portion of the original plate member, the portion having been punched out.
  • the thicknesses of the end portions need to be increased, and thus, a method of pushing away the material forming the inner surfaces of side walls of the protrusions 4 by scraping the inner surfaces was devised.
  • the side surfaces are formed so as to be thin, and the extra material obtained by forming the side surfaces thin is moved to the end portions, that is to say, the end portions are formed so as to be thick.
  • the protrusions 4 having a large height have a function of increasing the amplitude of feed motion.
  • a sufficient volume of the material forming the side surfaces may be ensured by increasing the thickness of the original member.
  • a thick stainless steel ring plate having a predetermined width in a radial direction thereof and a thickness of 2 mm is prepared, and the protrusions 4 each having a height of 3 mm or more are formed by performing drawing on the thick stainless steel ring plate in the thickness direction of the thick stainless steel ring plate.
  • a designer may set the dimensions of the protrusions 4 in accordance with the specification of a motor and then set the thickness of a member required for manufacturing the protrusions 4 by press working.
  • the vibrating portion 3 includes the two vibrating members 2, and the vibrating members 2 are superposed with each other in such a manner that the second surface of the first vibrating member 2a that is opposite to the first surface on which the protrusions 4 are formed, and the fourth surface of the second vibrating member 2b that is opposite to the third surface on which the protrusions 4 are formed face each other.
  • a large area of a boundary portion between the vibrating members 2 can be joined together.
  • the smaller the internal damping the higher the performance of the vibration-type driving device 30, and thus, the two vibrating members 2 are joined together by solid-phase bonding.
  • the position of a joint portion of the members and the position of a neutral plane of bending vibration generated in the vibrating portion 3 substantially match each other.
  • This structure keeps deformation that occurs at an interface between the vibrating members 2 small and suppresses an increase in the internal damping.
  • the method of joining the vibrating members 2 together need not always be solid-phase bonding, and liquid phase bonding, such as brazing or soldering, and chemical bonding using an adhesive or the like, each of which has a lower cost than solid-phase bonding, may be employed depending on the application. Even in the case where one of these methods is employed, the vibrating members 2 can be used as portions of the vibrator 1 without causing a significant deterioration in the vibration characteristic of the vibrator 1.
  • an intermediate ring 8 that is used for adjusting the thickness of the vibrating portion 3 can be additionally provided as illustrated in Fig. 5.
  • the joint portion is located at a position spaced away from the vibration neutral plane by a distance that is half the thickness of the ring 8, which is interposed between the vibrating members 2, and thus, there is a possibility that the deformation that occurs in the joint portion will be increased, which in turn leads to an adverse effect on the vibration characteristic of the vibrator 1.
  • the thickness of the intermediate ring 8 may be half the thickness of one of the vibrating members 2 or less.
  • the intermediate ring 8 can be used as a portion of the vibrator 1 without causing a significant deterioration in the vibration characteristic of the vibrator 1.
  • the thickness of the vibrating portion 3 of the vibrator 1 may be adjusted by uniformly scraping off the second surface and the fourth surface of the vibrating members 2, which are to be joined together, by using a surface grinder.
  • the first vibrating member 2a includes the plurality of protrusions 4 including a first protrusion 4a and a third protrusion 4c that is adjacent to the first protrusion 4a.
  • the second vibrating member 2b includes the plurality of protrusions 4 including a second protrusion 4b and a fourth protrusion 4d that is adjacent to the second protrusion 4b.
  • Each of the plurality of protrusions 4 has a hollow structure
  • the first protrusion 4a and the third protrusion 4c each include a wall portion projecting in a direction having a first direction component (positive Z direction) and a contact portion positioned at an end thereof.
  • the second protrusion 4b and the fourth protrusion 4d each include a wall portion projecting in a direction having a second direction component (negative Z direction), which is opposite to the first direction component, and a contact portion positioned at an end thereof.
  • each of the vibrating members 2 there is a difference in bending rigidity to bending vibration used for driving between the positions at which the protrusions are formed and the positions at which the protrusions are not formed.
  • first and second vibrating members 2a and 2b are superposed with each other, if the positions of the protrusions 4 of the first vibrating member 2a are superposed with the positions of the protrusions 4 of the second vibrating member 2b, unevenness in the rigidity in the driving direction is more likely to be generated.
  • the rigidity of the vibrating portion 3 can be averaged.
  • the second protrusion 4b may be located at a position between the first protrusion 4a and the third protrusion 4c in the direction ⁇ , or the second protrusion 4b may be located at a position at which the second protrusion 4b is superposed with the first protrusion 4a and the third protrusion 4c in the direction ⁇ as illustrated in Fig. 6.
  • the unevenness in the rigidity can be reduced by a method using a portion that can be formed during a process of performing press working on the vibrating members 2. For example, notch-shaped portions 7 such as those illustrated in Fig.
  • cutout portions whose effect of reducing the unevenness in the rigidity have been confirmed during a designing process, or the like may be additionally formed in portions of the vibrating members 2, the portions having high rigidity, and thus, a simple design of the vibrating members 2 and an inexpensive change in the manufacturing process can be measures for reducing the unevenness in the rigidity.
  • portions of the protrusions 4 of the first vibrating member 2a are superposed with portions of the protrusions 4 of the second vibrating member 2b in a pressing direction, which is a direction perpendicular to the first surface and is the positive Z direction or the negative Z direction in Fig. 6 and Fig. 7.
  • a pressing direction which is a direction perpendicular to the first surface and is the positive Z direction or the negative Z direction in Fig. 6 and Fig. 7.
  • the protrusions 4 of the vibrator 1 are formed by press working, a low-cost vibration-type driving device that includes a low-cost vibrator can be provided.
  • the vibrator 1 is formed by stacking the vibrating members 2 one on top of the other, the vibrator 1 can have high static rigidity and can transmit, from the friction surface fs to the contact members, a driving force that is required in order to generate a high torque.
  • a vibrator that has a complex shape and includes protrusions formed on the two surfaces thereof can be provided at a low cost.
  • a low-cost high-power vibrator having a high durability can be realized.
  • the present invention is not limited to this, and for example, the vibrating portion 3 and the piezoelectric element 6 may each have a rectangular shape as illustrated in Fig. 8 and Fig. 9.
  • Fig. 10 is a sectional view illustrating a vibrator according to a second embodiment of the present invention.
  • the main configuration of the vibrator is the same as that illustrated in Fig. 1.
  • the difference from the first embodiment is that a support plate 5 having a thin-plate-like shape, which is a support member, is interposed between two vibrating members 2a and 2b, so that a flange portion that serves as a support portion extends from the vibrator in the radial direction.
  • the support plate 5 includes a cylinder portion that is formed by performing drawing on a flat circular plate, which has been punched out by press working. Since the support plate 5 and the vibrating members 2a and 2b are joined together in such a manner as to be superposed with one another, the thickness of the vibrating portion 3 is the sum of the thicknesses of the two vibrating members 2a and 2b and the thickness of the support plate 5.
  • the support plate 5 before joining the support plate 5 and the vibrating members 2a and 2b together, the support plate 5 can be formed into any shape beforehand by punching, bending, or the like, which is a type of press working. Consequently, the range of the variations in the method of fixing the vibrator onto another component can be increased depending on the shape of the support portion.
  • the flange extending from the vibrator may be disposed on the inner-diameter side of the support plate 5 or may be disposed on the outer-diameter side of the support plate 5.
  • the vibrator 1 does not have a supporting structure, and thus, in order to mount the vibrator 1 in the vibration-type driving device 30 in practice, a supporting structure needs to be attached to a side surface of the vibrator 1 by welding or the like.
  • a supporting structure needs to be attached to a side surface of the vibrator 1 by welding or the like.
  • the reliability of a portion in which the vibrator 1 and the supporting structure are welded together and the accuracy with which the supporting structure is attached to the vibrator 1 are low and that unevenness in the rigidity in the circumferential direction is likely to be generated.
  • the second embodiment by sandwiching a flat circular plate between vibrating members and simultaneously joining the top and bottom surfaces of the flat circular plate to the corresponding vibrating members, the advantageous effects obtained in the first embodiment can be obtained, and in addition, problems related to welding can be solved.
  • the support plate 5 is a low-cost component formed by punching out a plate material by a simple press working, the influence of the support plate 5 on the manufacturing costs of the vibrator is small.
  • the method of joining the support plate 5 and the vibrating members 2a and 2b together may be solid-phase bonding as in the first embodiment, liquid phase bonding, such as brazing or soldering, and chemical bonding using an adhesive or the like, each of which has a lower cost than solid-phase bonding, may be employed depending on the application. Even in the case where one of these methods is employed, the support plate 5 can be used as a portion of the vibrator without causing a significant deterioration in the vibration characteristic of the vibrator.
  • a supporting structure of a vibration-type driving device is required to have functional properties of receiving a motor pressing force in an axial direction so as to support a vibrator and of having high torsional rigidity against a torque, which is generated.
  • the axial rigidity of the support plate 5 will be described first. A force in a direction opposite to the axial direction is applied to the top and bottom surfaces of the vibrating portion 3 illustrated in Fig. 10 as a motor pressing force in the second embodiment.
  • the support plate 5 it is not necessary for the support plate 5 to have an axial rigidity that is as high as the axial rigidity of a support of a vibrator configured to receive, by one surface thereof, a motor pressing force, which is nearly equal to the motor pressing force received by the support plate 5.
  • the support plate 5 may be a thin plate.
  • the diameter of the support plate 5 and a length H of a cylinder portion illustrated in Fig. 10 are dominant in terms of torsional rigidity, and consequently, the influence of the plate thickness of the support plate 5 on the torsional rigidity is relatively small.
  • a sufficient torsional rigidity can be obtained.
  • a joint portion in which the support plate 5 and the vibrating member 2a are joined together and a joint portion in which the support plate 5 and the vibrating member 2b are joined together are located at positions each of which is spaced away from a vibration neutral plane by a distance that is half the thickness of the support plate 5, which is interposed between the vibrating members 2a and 2b, and thus, there is a possibility that the deformation that occurs in the joint portions will be increased, which in turn leads to an adverse effect on the vibration characteristic of the vibrator.
  • the thickness of the support plate 5 may be half the thickness of one of the vibrating members 2a and 2b or less.
  • the support plate 5 can be used as a portion of the vibrator without causing a significant deterioration in the vibration characteristic of the vibrator.
  • a vibration-type driving device that includes the vibrator that has been described in the first embodiment or the second embodiment can be used as a vibration-type driving device that is mounted in the apparatus.
  • Fig. 11 is a perspective view of a robot that is provided with vibration-type driving devices, and Fig. 11 illustrates a horizontal articulated robot 10, which is a type of industrial robot, as an example.
  • the vibration-type driving devices are built into arm joint portions 11 and a hand portion 12.
  • the arm joint portions 11 are disposed between arms 20 and connected to the arms 20.
  • the hand portion 12 includes a holding portion 21 and a hand joint portion 22 that is disposed between the holding portion 21 and one of the arms 20, and the hand joint portion 22 is connected to the holding portion 21 and the arm 20.
  • the vibration-type driving devices can be included in the arm joint portions 11 and the hand joint portion 22.
  • a motor output power that can realize a low rotational speed and a high torque is required for bending an arm joint portion of a robot or causing a hand portion to perform a holding operation, and thus, such a vibration-type driving device may be used.
  • Fig. 12 is a sectional side view illustrating an internal structure of a color image forming apparatus that is provided with vibration-type driving devices, and Fig. 12 illustrates an image processing apparatus 200 that includes four image forming units Pa, Pb, Pc, and Pd as an example.
  • the image forming units Pa to Pd have substantially the same configuration and respectively have photosensitive drums 201a, 201b, 201c, and 201d, each of which is an image bearing member that is driven so as to rotate.
  • Chargers 202a, 202b, 202c, and 202d are respectively disposed around the photosensitive drums 201a to 201d and uniformly charge the corresponding photosensitive drums 201a to 201d.
  • a developing unit 203a, a charger 204a, and a cleaning unit 205a are arranged around the photosensitive drum 201a in this order in a rotation direction of the photosensitive drum 201a.
  • a developing unit 203b, a charger 204b, and a cleaning unit 205b are arranged around the photosensitive drum 201b in this order in a rotation direction of the photosensitive drum 201b.
  • a developing unit 203c, a charger 204c, and a cleaning unit 205c are arranged around the photosensitive drum 201c in this order in a rotation direction of the photosensitive drum 201c.
  • a developing unit 203d, a charger 204d, and a cleaning unit 205d are arranged around the photosensitive drum 201d in this order in a rotation direction of the photosensitive drum 201d.
  • the developing units 203a, 203b, 203c, and 203d are configured to develop electrostatic latent images formed on the corresponding photosensitive drums 201a to 201d.
  • Each of the chargers 204a, 204b, 204c, and 204d, which are used in a transfer process, is configured to transfer a visible image, which has been developed, onto one of transfer members 230.
  • Each of the cleaning units 205a, 205b, 205c, and 205d is configured to remove toner that remains on a corresponding one of the photosensitive drums 201a to 201d.
  • Exposure apparatuses 206a, 206b, 206c, and 206d are respectively disposed above the photosensitive drums 201a to 201d.
  • a transport belt 225 is driven by a driving roller 223 so as to move in the direction of arrow A illustrated in Fig. 12 and serves as a transport unit that holds one of the transfer members 230, which are fed by a feeding unit 210, and that sequentially transports the transfer members 230 toward the image forming units Pa to Pd.
  • vibration-type driving devices are used as drive motors that cause the photosensitive drums 201a to 201d to rotate.
  • another vibration-type driving device is used as a drive motor that causes the driving roller 223, which is used for driving the transport belt 225, to rotate.
  • Fig. 13 illustrates a configuration in which a vibration-type driving device is used for driving a photosensitive drum.
  • a vibration-type driving device 13 can be directly connected to a drive shaft 14 of a photosensitive drum 15.
  • a speed reducing unit such as a gear that has been required in the related art. Consequently, the probability of the occurrence of color misregistration can be reduced, and print quality can be improved.
  • Fig. 14 illustrates a configuration in which a vibration-type driving device is used for driving a transport belt.
  • the vibration-type driving device 13 can be directly connected to a drive shaft 14 of a driving roller 17.
  • print quality can be improved.
  • Fig. 15A and Fig. 15B are respectively a side view and a front view each illustrating a pan head of an imaging apparatus, such as, for example, a surveillance camera, the pan head being provided with a vibration-type driving device.
  • a surveillance camera 60 which is an imaging apparatus, is installed on a stage 61, and the stage 61 is rotatably supported by a rotary table 62 disposed on a pan-head main body 63.
  • the rotary table 62 is configured to be capable of rotating about a rotation axis by a vibration-type driving device 64 that is disposed between the pan-head main body 63 and the rotary table 62.
  • a vibration-type driving device 64 that is disposed between the pan-head main body 63 and the rotary table 62.
  • the vibration-type driving device that has been described in the first embodiment or the second embodiment can be used as the vibration-type driving device 64.
  • a thin driving device can be used as illustrated in Figs. 15A and 15B.
  • a direct driving method can be used, and thus, it is not necessary to use a gear reducer. Accordingly, the size of the rotary table 62 can be reduced.

Landscapes

  • Engineering & Computer Science (AREA)
  • Physics & Mathematics (AREA)
  • General Physics & Mathematics (AREA)
  • Manufacturing & Machinery (AREA)
  • Robotics (AREA)
  • Mechanical Engineering (AREA)
  • General Electrical Machinery Utilizing Piezoelectricity, Electrostriction Or Magnetostriction (AREA)
  • Discharging, Photosensitive Material Shape In Electrophotography (AREA)
  • Accessories Of Cameras (AREA)
  • Electrophotography Configuration And Component (AREA)
  • Electrostatic Charge, Transfer And Separation In Electrography (AREA)
  • Manipulator (AREA)
PCT/JP2016/001851 2015-04-24 2016-03-30 Vibrator, vibration-type driving device, image forming apparatus, robot, and pan head Ceased WO2016170741A1 (en)

Priority Applications (1)

Application Number Priority Date Filing Date Title
US15/566,175 US10899004B2 (en) 2015-04-24 2016-03-30 Vibrator, vibration-type driving device, image forming apparatus, robot, and pan head

Applications Claiming Priority (2)

Application Number Priority Date Filing Date Title
JP2015-089580 2015-04-24
JP2015089580A JP6602041B2 (ja) 2015-04-24 2015-04-24 振動体、振動型駆動装置、画像形成装置、ロボット、及び雲台装置

Publications (1)

Publication Number Publication Date
WO2016170741A1 true WO2016170741A1 (en) 2016-10-27

Family

ID=57143824

Family Applications (1)

Application Number Title Priority Date Filing Date
PCT/JP2016/001851 Ceased WO2016170741A1 (en) 2015-04-24 2016-03-30 Vibrator, vibration-type driving device, image forming apparatus, robot, and pan head

Country Status (3)

Country Link
US (1) US10899004B2 (enExample)
JP (1) JP6602041B2 (enExample)
WO (1) WO2016170741A1 (enExample)

Families Citing this family (4)

* Cited by examiner, † Cited by third party
Publication number Priority date Publication date Assignee Title
JP7476021B2 (ja) * 2020-07-27 2024-04-30 キヤノン株式会社 振動型アクチュエータ、雲台、および電子機器
JP7483547B2 (ja) * 2020-08-05 2024-05-15 キヤノン株式会社 振動型アクチュエータ、雲台、および電子機器
CN112492175B (zh) * 2020-12-08 2022-06-10 维沃移动通信有限公司 摄像模组
JP7654424B2 (ja) * 2021-03-08 2025-04-01 キヤノン株式会社 振動型アクチュエータ及びそれを有する雲台、電子機器

Citations (4)

* Cited by examiner, † Cited by third party
Publication number Priority date Publication date Assignee Title
JPH0767363A (ja) * 1993-08-23 1995-03-10 Toyota Central Res & Dev Lab Inc 超音波モータのステータ
JP2000350481A (ja) * 1999-06-04 2000-12-15 Canon Inc 振動波駆動装置および事務機
JP4350208B2 (ja) * 1999-06-17 2009-10-21 キヤノン株式会社 振動波駆動装置
US20110241488A1 (en) * 2010-04-06 2011-10-06 Canon Kabushiki Kaisha Vibration type actuator, vibrator, and vibrator manufacturing method

Family Cites Families (2)

* Cited by examiner, † Cited by third party
Publication number Priority date Publication date Assignee Title
JPH08298792A (ja) 1995-04-26 1996-11-12 Canon Inc 振動波駆動装置
JP4874610B2 (ja) * 2005-09-16 2012-02-15 Hoya株式会社 超音波モータ

Patent Citations (4)

* Cited by examiner, † Cited by third party
Publication number Priority date Publication date Assignee Title
JPH0767363A (ja) * 1993-08-23 1995-03-10 Toyota Central Res & Dev Lab Inc 超音波モータのステータ
JP2000350481A (ja) * 1999-06-04 2000-12-15 Canon Inc 振動波駆動装置および事務機
JP4350208B2 (ja) * 1999-06-17 2009-10-21 キヤノン株式会社 振動波駆動装置
US20110241488A1 (en) * 2010-04-06 2011-10-06 Canon Kabushiki Kaisha Vibration type actuator, vibrator, and vibrator manufacturing method

Also Published As

Publication number Publication date
US10899004B2 (en) 2021-01-26
JP2016208732A (ja) 2016-12-08
JP6602041B2 (ja) 2019-11-06
US20180093375A1 (en) 2018-04-05

Similar Documents

Publication Publication Date Title
JP6866128B2 (ja) 振動型アクチュエータの駆動方法、振動型駆動装置及び機械装置
WO2016170741A1 (en) Vibrator, vibration-type driving device, image forming apparatus, robot, and pan head
US20150280615A1 (en) Ultrasonic motor and lens apparatus including the same
USRE49143E1 (en) Image forming apparatus
US9494906B2 (en) Driving force transmission device and image forming apparatus using the same
JP6652289B2 (ja) 振動型駆動装置、ロボット、画像形成装置及び撮像装置
US9836010B2 (en) Vibration-type driving apparatus, robot, and image forming apparatus
JPH09230654A (ja) 画像形成装置
JP2015203130A (ja) 弾性体の製造方法、振動型アクチュエータ及び画像形成装置
US9188931B2 (en) Vibration type driving apparatus and image forming apparatus
US7697868B2 (en) Color image forming apparatus and image forming unit thereof
CN107153338B (zh) 驱动传递机构和具备该驱动传递机构的图像形成装置
JP6436800B2 (ja) 振動型駆動装置に用いられる弾性体の製造方法、振動型駆動装置、ロボット及び撮像装置
JP2013054170A (ja) 駆動伝達装置及び画像形成装置
JP2005192276A (ja) 振動型アクチュエータ及び振動型アクチュエータを用いた装置
JP2010148160A (ja) 振動波モータ用の負荷トルク変動装置及び画像形成装置
JP7331209B2 (ja) 振動型駆動装置、振動型駆動装置の制御方法、プログラム、ロボット、撮像装置の雲台及び画像形成装置
JP2002161945A (ja) 回転体の駆動機構及び画像形成装置
US7483651B2 (en) Drive device used in image forming device
JP2007271858A (ja) 画像形成装置に用いられる駆動装置
JP2003084521A (ja) 画像形成装置
KR100230335B1 (ko) 인쇄장치
JP2005223994A (ja) 振動型アクチュエータ及び画像処理装置
JP6060063B2 (ja) 画像形成装置
JP2019146349A (ja) 振動型アクチュエータ及び電子機器

Legal Events

Date Code Title Description
121 Ep: the epo has been informed by wipo that ep was designated in this application

Ref document number: 16782769

Country of ref document: EP

Kind code of ref document: A1

WWE Wipo information: entry into national phase

Ref document number: 15566175

Country of ref document: US

NENP Non-entry into the national phase

Ref country code: DE

122 Ep: pct application non-entry in european phase

Ref document number: 16782769

Country of ref document: EP

Kind code of ref document: A1